Главная // Актуальные документы // ГОСТ (Государственный стандарт)СПРАВКА
Источник публикации
М.: Стандартинформ, 2008
Примечание к документу
Документ включен в
Перечень международных и региональных (межгосударственных) стандартов, а в случае их отсутствия - национальных (государственных) стандартов, в результате применения которых на добровольной основе обеспечивается соблюдение требований технического
регламента Таможенного союза "О безопасности колесных транспортных средств" (ТР ТС 018/2011), и в
Перечень международных и региональных (межгосударственных) стандартов, а в случае их отсутствия - национальных (государственных) стандартов, содержащих правила и методы исследований (испытаний) и измерений, в том числе правила отбора образцов, необходимые для применения и исполнения требований технического
регламента Таможенного союза "О безопасности колесных транспортных средств" (ТР ТС 018/2011) и осуществления оценки соответствия объектов технического регулирования (
Решение Коллегии Евразийской экономической комиссии от 25.12.2018 N 219).
Документ включен в
Перечень документов в области стандартизации, в результате применения которых на добровольной основе обеспечивается соблюдение требований технического
регламента "О безопасности колесных транспортных средств" (
Приказ Росстандарта от 14.03.2014 N 335).
Документ был включен в
Перечень стандартов, в результате применения которых на добровольной основе обеспечивается соблюдение требований технического
регламента Таможенного союза "О безопасности колесных транспортных средств", и в
Перечень стандартов, содержащих правила и методы исследований (испытаний) и измерений, в том числе правила отбора образцов, необходимые для применения и исполнения требований технического
регламента Таможенного союза "О безопасности колесных транспортных средств" и осуществления оценки соответствия объектов технического регулирования (
Решение Комиссии Таможенного союза от 09.12.2011 N 877).
Документ включен в
Перечень документов в области стандартизации, содержащих правила и методы исследований (испытаний) и измерений, в том числе правила отбора образцов, необходимые для применения и исполнения технического
регламента о безопасности колесных транспортных средств, а также для осуществления оценки соответствия (
Распоряжение Правительства РФ от 12.10.2010 N 1750-р).
Документ включен в
Перечень национальных стандартов, в результате применения которых на добровольной основе обеспечивается соблюдение требований технического
регламента "О безопасности колесных транспортных средств" (
Приказ Росстандарта от 20.08.2010 N 3109).
С 01.07.2003 до вступления в силу технических регламентов акты федеральных органов исполнительной власти в сфере технического регулирования носят рекомендательный характер и подлежат обязательному исполнению только в части, соответствующей целям, указанным в
п. 1 ст. 46 Федерального закона от 27.12.2002 N 184-ФЗ.
Ограничение срока действия снято по Протоколу N 4-93 Межгосударственного совета по стандартизации, метрологии и сертификации ("ИУС", N 4, 1994).
Документ
введен в действие с 01.07.1975.
Взамен ГОСТ 10409-63.
Название документа
"ГОСТ 10409-74 (ИСО 4107-95). Межгосударственный стандарт. Колеса автомобильные с разборным ободом. Основные размеры. Общие технические требования"
(утв. и введен в действие Постановлением Госстандарта СССР от 20.09.1974 N 2202)
(ред. от 17.11.1999)
"ГОСТ 10409-74 (ИСО 4107-95). Межгосударственный стандарт. Колеса автомобильные с разборным ободом. Основные размеры. Общие технические требования"
(утв. и введен в действие Постановлением Госстандарта СССР от 20.09.1974 N 2202)
(ред. от 17.11.1999)
Утвержден и введен в действие
Постановлением Государственного
комитета стандартов
Совета Министров СССР
от 20 сентября 1974 г. N 2202
МЕЖГОСУДАРСТВЕННЫЙ СТАНДАРТ
КОЛЕСА АВТОМОБИЛЬНЫЕ С РАЗБОРНЫМ ОБОДОМ
ОСНОВНЫЕ РАЗМЕРЫ. ОБЩИЕ ТЕХНИЧЕСКИЕ ТРЕБОВАНИЯ
Automotive wheels with sectional rims. Basic
dimensions. General technical requirements
ГОСТ 10409-74
(ИСО 4107-95)
| | Список изменяющих документов (в ред. Изменения N 1, утв. в январе 1984 г., Изменения N 2, утв. в декабре 1985 г., Изменения N 3, утв. в июне 1988 г., Изменения N 4, утв. в июне 1989 г., Госстандарта России от 17.11.1999 N 415-ст) | |
MKC 43.040.50
Дата введения
1 июля 1975 года
1. РАЗРАБОТАН И ВНЕСЕН Министерством автомобильного и сельскохозяйственного машиностроения СССР
2. УТВЕРЖДЕН И ВВЕДЕН В ДЕЙСТВИЕ ПОСТАНОВЛЕНИЕМ Государственного комитета стандартов Совета Министров СССР от 20.09.74 N 2202
Изменение N 5 принято Межгосударственным советом по стандартизации, метрологии и сертификации (протокол N 15 от 28.05.99)
За принятие изменения проголосовали:
Наименование государства | Наименование национального органа по стандартизации |
Азербайджанская Республика | Азгосстандарт |
Республика Армения | Армгосстандарт |
Республика Беларусь | Госстандарт Беларуси |
Грузия | Грузстандарт |
Республика Казахстан | Госстандарт Республики Казахстан |
Киргизская Республика | Киргизстандарт |
Республика Молдова | Молдовастандарт |
Российская Федерация | Госстандарт России |
Республика Таджикистан | Таджикгосстандарт |
Туркменистан | Главная государственная инспекция Туркменистана |
Республика Узбекистан | Узгосстандарт |
Украина | Госстандарт Украины |
3. Стандарт полностью соответствует СТ СЭВ 3731-88 и СТ СЭВ 4932-84
4. Стандарт полностью соответствует международному стандарту ИСО 4107-79
5. ВЗАМЕН ГОСТ 10409-63
6. ССЫЛОЧНЫЕ НОРМАТИВНО-ТЕХНИЧЕСКИЕ ДОКУМЕНТЫ
Обозначение НТД, на который дана ссылка | Номер пункта |
| |
| |
ГОСТ 7593-80 | |
| |
--------------------------------
7. Ограничение срока действия снято по протоколу N 4-93 Межгосударственного совета по стандартизации, метрологии и сертификации (ИУС 4-94)
8. ИЗДАНИЕ (декабрь 2002 г.) с Изменениями N 1, 2, 3, 4, 5, утвержденными в январе 1984 г., декабре 1985 г., июне 1988 г., июне 1989 г., ноябре 1999 г. (ИУС 5-84, 4-86, 11-88, 11-89, 2-2000)
Переиздание (по состоянию на март 2008 г.).
Настоящий стандарт распространяется на дисковые и бездисковые колеса с разборным ободом с коническими 5°-ными полками для камерных пневматических шин постоянного давления по
ГОСТ 5513, предназначенных для грузовых автомобилей, автобусов, троллейбусов, автомобильных прицепов и полуприцепов, а также для шин по ГОСТ 8430 подъемно-транспортных и строительно-дорожных машин в части основных размеров ободьев.
Транспортные средства и строительно-дорожные машины, производство которых начато до 01.01.90, допускается изготовлять с дисками колес, центрируемыми по фаскам крепежных отверстий в соответствии с
приложением.
(Измененная редакция, Изм. N 4, 5).
1. ОСНОВНЫЕ РАЗМЕРЫ ОБОДЬЕВ И ЭЛЕМЕНТОВ КРЕПЛЕНИЯ КОЛЕС
1.1. Основные размеры ободьев должны соответствовать указанным на
черт. 1 и в
табл. 1,
2:
Размеры в миллиметрах
Номинальная ширина обода, дюймы | A | G +/- 1,2 | R2 +/- 2,5 | B, не менее |
Номин. | Пред. откл. |
5,0 | 127,0 | +/- 2,5 | 27,9 | 14,0 | 16,5 |
5,5 | 139,7 | 30,5 | 15,2 | 17,8 |
6,0 | 152,4 | 33,0 | 16,5 | 19,1 (18,0) |
6,5 | 165,1 | 35,6 | 17,8 | 20,4 |
7,0 | 177,8 | 36,8 38,1 | 18,4 19,0 | 21,0 21,6 |
7,5 | 190,5 | +/- 3,0 | (38,1) 40,6 | (19,0) 20,3 | (21,6) 22,9 |
8,0 | 203,2 | 43,2 | 21,6 | 24,2 |
8,5 | 215,9 | +/- 3,5 | 45,7 (43,2) | 22,9 (21,6) | 25,4 (24,2) |
9,0 | 228,6 | 48,3 | 24,1 | 26,7 |
10,0 | 254,0 | +/- 4,7 | (43,2) 50,8 | (21,6) 25,4 | (24,2) 28,0 |
Примечание. Размеры, приведенные в скобках, для нового проектирования не применять.
Размеры в миллиметрах
Условное обозначение номинального диаметра обода | D | D1 | Длина окружности  +/- 1,2 | D2 |
15 | 387,4 | 386,01 | 1212,7 | 381,0 |
20 | 514,4 | 513,01 | 1611,7 | 508,0 |
24 | 616,0 | 614,61 | 1930,9 | 609,6 |
(Измененная редакция, Изм. N 1 - 5).
1.2. Размер обода по ширине посадочной полки по стороны съемного бортового кольца должен соответствовать указанному на
черт. 2.
--------------------------------
<*> Уменьшение размера по согласованию с шинной промышленностью.
(Измененная редакция, Изм. N 1).
1.3. Условное обозначение ободьев - по отраслевой нормативно-технической документации (НТД).
(Измененная редакция, Изм. N 4).
1.4. Расположение и размеры вентильного отверстия в основании обода колеса должны соответствовать указанным на
черт. 3.
1 - бортовая часть основания обода; 2 - торец замочной части
основания обода
(Измененная редакция, Изм. N 1, 3).
1.5. При креплении дисковых и бездисковых колес к ступице расстояние между осями сдвоенных колес
b2 должно соответствовать указанному на
черт. 4 и в
табл. 3. При креплении одинарного дискового колеса вылет диска должен быть равен
b2/2.
Для колес, применяемых только как одинарные, допускается уменьшение вылета диска.
Номинальная ширина обода, дюймы | b2, мм +/- 3 | Условное обозначение монтируемых шин |
5,0 | 228 | 180 - 508 |
| 200 - 508 |
5,5 | 238 | 200 - 508 |
254 | |
6,0 | 260 | 220 - 508; 220 - 508Р |
| 240 - 508 <*>, 240 - 508Р <*>, 240 - 381 |
6,5 | 284 | 240 - 508 |
304 | 240 - 508Р |
7,0 | 310 | 260 - 508, 260 - 381, 260 - 508Р |
324 | 260 - 508, 260 - 381, 260 - 508Р, 280 - 508Р |
7,5 | 324 | 280 - 508, 280 - 508Р |
330 |
8,0 | 334 | 300 - 508, 280 - 508Р |
| |
8,5 | 370 | 320 - 508, 300 - 508Р, 320 - 508Р <*> |
| 300 - 508Р, 320 - 508 <*> |
| 300 - 508 |
9,0 | 388 | 320 - 508Р |
--------------------------------
<*> Допускается применять в технически обоснованных случаях по согласованию с шинной промышленностью.
(Измененная редакция, Изм. N 1 - 5).
1.6. (Исключен, Изм. N 4).
1.7. (Исключен, Изм. N 3).
1.8. (Исключен, Изм. N 4).
1.9. (Исключен, Изм. N 2).
1.10. Размеры замочной части обода (типоразмеров от 7,0 до 8,5), определяющие их посадку на ступицу для бездисковых колес, должны выбираться в соответствии с
черт. 10 и
табл. 5.
A/2 - размер от центра основания обода до бортовой закраины;
E - размер от центра основания обода до торца замочной
части; C - размер для построения посадочного конуса
--------------------------------
<*> Черт. 5 - 7.
(Исключены, Изм. N 4). Черт. 8, 9.
(Исключены, Изм. N 2).
Размеры в миллиметрах
Условное обозначение обода | Внутренний диаметр бурта замочной части D7 | Внутренний диаметр посадочной поверхности D8, не менее | C | E |
7,0 - 15 | 345 | 363 | 47 | 111,5 |
7,0 - 20 | 472 | 490 |
7,5 - 20 | 470 | 48 | 116,0 |
8,0 - 20 | 489 | 50 | 125,0 |
8,5 - 20 | 131,5 |
(Измененная редакция, Изм. N 1 - 3, 5).
1.11, 1.12.
(Исключены, Изм. N 4).
1.13. Присоединительные размеры крепления одинарных и сдвоенных дисковых колес на ступице с центрированием дисков по центральному отверстию должны соответствовать указанным на
черт. 14 и в
табл. 6а.
--------------------------------
<*> Черт. 11 - 13.
(Исключены, Изм. N 4).
Размеры в миллиметрах
Номинальная ширина обода, дюймы | Диаметр расположения осей крепежных отверстий D12 | Диаметр крепежного отверстия D13 + 1,0 | Диаметр центрального отверстия D14 + 0,2 | Диаметр привалочной плоскости диска D15, не менее | Внутренний посадочный диаметр ступицы Dl6 - 0,2 | Наружный посадочный диаметр ступицы D17 - 5,0 | Число крепежных отверстий |
5,0 | 205,0 | 21,0 | 161,0 | 255,0 | 160,8 | 250,0 | 6 |
5,5; 6,0; 6,5 | 222,25 | 24,0 | 160,0 | 275,0 | 159,8 | 270,0 |
6,0; 6,5; 7,0; 7,5; 8,0 | 275,0 | 221,0 | 325,0 | 220,8 | 320,0 | 8 |
7,0; 7,5; 8,0; 8,5; 9,0; 10,0 | 285,75 | 26,0 | 220,0 | 345,0 | 219,8 | 340,0 | 10 |
335,0 | 281,0 | 390,0 | 280,8 | 385,0 |
Примечание. Допускалось до 1 января 1994 г. по согласованию с потребителем предельное отклонение диаметра D14 плюс 0,6 мм.
(Измененная редакция, Изм. N 2 - 5).
2. ТЕХНИЧЕСКИЕ ТРЕБОВАНИЯ
2.1. Колеса должны изготовляться в соответствии с требованиями настоящего стандарта по рабочим чертежам и технической документации, утвержденным в установленном порядке.
2.2. На посадочной для бортов шин поверхности обода не допускаются выступы сварного шва, выбоины и другие неровности размером более 0,5 мм. Бортовое и замочное кольца не должны иметь острых кромок, обращенных к борту шины.
(Измененная редакция, Изм. N 1).
2.3. На вентильном отверстии острые кромки со стороны, обращенной к шине, и заусенцы с противоположной стороны не допускаются.
(Измененная редакция, Изм. N 2).
2.4. Крепежные отверстия дисков колес должны быть равномерно расположены по окружности. Смещение осей отверстий и фасок от номинального положения по окружности не должно превышать допуска на диаметр расположения крепежных отверстий.
2.5. Биение обода на участках, прилегающих к шине, не должно превышать указанного в
табл. 7.
Условное обозначение обода | Допускаемое биение, мм |
радиальное | осевое |
От 5,0 - 15 до 6,5 - 20 включ. | 2,5 | 2,0 |
От 7,0 - 15 до 7,0 - 20 включ. | 2,5 |
От 7,5 - 15 до 8,5 - 20 включ. | 3,0 |
От 9,0 - 20 до 10,0 - 24 включ. | 5,0 | 5,0 |
Примечание. Допускаемое биение ободьев в сборе с диском устанавливается в технической документации, утвержденной в установленном порядке.
(Измененная редакция, Изм. N 1, 2 - 4).
2.6. Окраска колес - по ГОСТ 7593.
2.7. Ресурс колес - не менее ресурса транспортного средства.
2.6, 2.7. (Введены дополнительно, Изм. N 1).
3а.1. (Исключен, Изм. N 3).
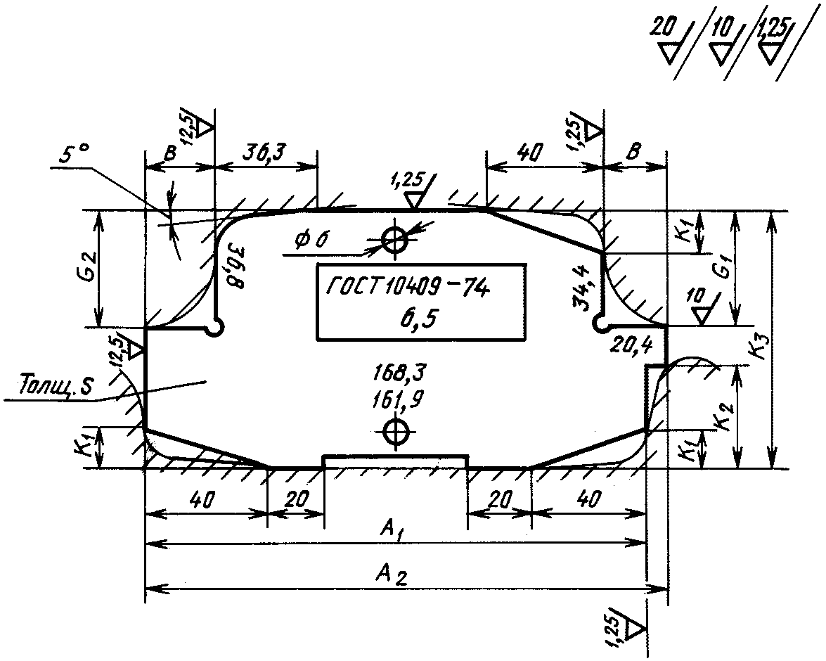
3а.2. Контроль профиля обода следует проводить шаблонами, размеры которых приведены на
черт. 15 и в
табл. 8.
Размеры в миллиметрах
Номинальная ширина обода, дюймы | A1 + 0,1 | A2 - 0,1 | B + 0,1 | G1 + 0,1 | G2 - 0,1 | K1 | K2 | K3 |
5,0 | 123,8 | 130,2 | 16,5 | 26,7 | 29,1 | 10,5 | 25,0 | 65,0 |
5,5 | 136,5 | 142,9 | 17,8 | 29,3 | 31,7 | 29,0 | 70,0 |
6,0 | 149,2 | 155,6 | 19,1 | 31,8 | 34,2 | 31,0 | 75,0 |
6,5 | 161,9 | 168,3 | (18,0) | 12,5 |
20,4 | 34,4 | 36,8 | 33,0 | 80,0 |
7,0 | 174,6 | 181,0 | 21,0 | 35,6 | 38,0 | 34,0 | 85,0 |
21,6 | 36,9 | 39,3 | 35,0 |
7,5 | 187,3 | 193,7 | (21,6) 22,9 | (36,9) 39,4 | (39,3) 41,8 | (35,0) 37,0 | (85,0) 90,0 |
24,2 | 42,0 | 44,4 | 40,0 | 95,0 |
8,0 | 200,0 | 206,4 |
8,5 | 212,3 | 219,5 |
25,4 | 44,5 | 46,9 | 42,0 | 100,0 |
9,0 | 225,0 | 232,2 | 26,7 | 47,1 | 49,5 | 45,0 | 110,0 |
(24,2) | (42,0) | (44,4) | (40,0) | (95,0) |
10,0 | 249,3 | 258,7 |
28,0 | 19,6 | 52,0 | 47,0 | 115,0 |
Примечание. Размеры, приведенные в скобках, для нового проектирования не применять.
Допускается контроль каждого размера профиля обода проводить разными шаблонами.
На шаблоне должны быть указаны:
- условное обозначение профиля обода;
- обозначение стандарта;
- размеры профиля обода
A1,
A2,
B,
G1 и
G2 по примеру, указанному для профиля обода 6,5 (см.
черт. 15).
Размеры A1 и A2 контролируют только у разъемных по радиусу ободьев с неотъемными бортовыми закраинами.
(Измененная редакция, Изм. N 1, 3, 4).
3а.3. Контроль длины окружности посадочной полки обода следует проводить со стороны бортовой части основания обода шариковой рулеткой, настроенной по контрольному кольцу диаметром
D1 в соответствии с
черт. 1 и
табл. 2.
Допускается применять плоскую рулетку.
3а.4. Проверку на соответствие требованиям
пп. 1.2,
1.4,
1.5,
1.10 и
1.11 проводят универсальными средствами измерений.
3а.3, 3а.4. (Введены дополнительно, Изм. N 1).
3а.5. Проверку на соответствие требованиям
п. 2.5 следует проводить на участках основания обода, указанных на
черт. 16, относительно базовых поверхностей, по которым производится установка колес на ступицу транспортного средства.
Допускается контроль осевого биения проводить с внешней стороны бортовой закраины, исключая зону сварного шва с длиной дуги по 50 мм в обе стороны от сварного шва.
(Измененная редакция, Изм. N 4).
3. МАРКИРОВКА, УПАКОВКА И ТРАНСПОРТИРОВАНИЕ
3.1. Колеса и детали, входящие в него, должны иметь маркировку, выполненную шрифтом высотой не менее 5 мм и содержащую следующие данные:
- наименование или товарный знак предприятия-изготовителя;
- условное обозначение обода;
- год и месяц выпуска.
3.2. (Исключен, Изм. N 1).
3.3. Колеса допускается перевозить транспортом любого вида.
3.4. Консервация при длительном хранении неокрашенных колес - по
ГОСТ 9.014.
(Измененная редакция, Изм. N 1).
4.1. Предприятие-изготовитель гарантирует соответствие ободьев колес требованиям настоящего стандарта при соблюдении условий эксплуатации, транспортирования и хранения.
(Измененная редакция, Изм. N 1).
4.2. Гарантийный срок эксплуатации ободьев колес - 36 мес при пробеге не более 80000 км со дня ввода в эксплуатацию.
(Измененная редакция, Изм. N 2).
Справочное
ОСНОВНЫЕ РАЗМЕРЫ ДИСКОВ КОЛЕС, ЦЕНТРИРУЕМЫХ ПО ФАСКАМ
КРЕПЕЖНЫХ ОТВЕРСТИЙ
1. Присоединительные размеры дисков одинарных и сдвоенных колес и ступиц должны соответствовать указанным на
чертеже и в
таблице.
2. Размеры крепежных отверстий в дисках колес должны соответствовать указанным на
чертеже.
Размеры в миллиметрах
Номинальная ширина обода, дюймы | Диаметр расположения осей крепежных отверстий D3 | Диаметр центральных отверстий дисков D4 + 0,8 | Внутренний посадочный диаметр ступицы D5, не более | Наружный посадочный диаметр ступицы D6, не более | Число крепежных отверстий |
Номин. | Пред. откл. |
5,0; 5,5 | 222,25 | +/- 0,15 | 163 | 159 | 270 | 6 |
6,0 | 222,25 | +/- 0,15 | 163 | 160 | 270 | 6 |
275,00 | +/- 0,20 | 214 | 210 | 345 | 8 |
6,5 | 222,25 | +/- 0,15 | 163 | 160 | 272 | 6 |
275,00 | +/- 0,20 | 214 | 210 | 345 | 8 |
7,0 | 275,00 | +/- 0,20 | 214 | 210 | 325 | 8 |
| 222 | 218 | 10 |
335,00 | 272 | 268 | 385 |
7,5 | 275,00 | +/- 0,20 | 214 | 210 | 345 | 8 |
335,00 | 272 | 268 | 385 | 10 |
8,0 | 275,00 | +/- 0,20 | 214 | 210 | 345 | 8 |
335,00 | 272 | 268 | 385 | 10 |
8,5 | | +/- 0,20 | 222 | 218 | 345 | 10 |
335,00 | 272 | 268 | 385 |
9,0 | | +/- 0,20 | 222 | 218 | 345 | 10 |
335,00 | 272 | 268 | 385 |
--------------------------------
<*> Не допускается применять для вновь проектируемых автомобилей.
Примечание. Диаметр привалочной плоскости D18 определяют из условия D18 >= D6 + 5 мм.
ПРИЛОЖЕНИЕ. (Измененная редакция, Изм. N 3 - 5).
ПРИМЕЧАНИЕ ФГУП "СТАНДАРТИНФОРМ"
Указанный в
разделе "Информационные данные" к ГОСТ 10409-74 (ИСО 4107-95) ГОСТ 8430-85 заменен на
ГОСТ 8430-2003.