Главная // Актуальные документы // ГОСТ (Государственный стандарт)
СПРАВКА
Источник публикации
М.: Стандартинформ, 2013
Примечание к документу
Документ и его отдельные положения включены в Перечень международных и региональных (межгосударственных) стандартов (п. п. 539, 1036), а в случае их отсутствия - национальных (государственных) стандартов, в результате применения которых на добровольной основе обеспечивается соблюдение требований технического регламента Таможенного союза "О безопасности машин и оборудования" (ТР ТС 010/2011) и в Перечень международных и региональных (межгосударственных) стандартов (п. п. 503, 919), а в случае их отсутствия - национальных (государственных) стандартов, содержащих правила и методы исследований (испытаний) и измерений, в том числе правила отбора образцов, необходимые для применения и исполнения требований технического регламента Таможенного союза "О безопасности машин и оборудования" (ТР ТС 010/2011) и осуществления оценки соответствия объектов технического регулирования (Решение Коллегии Евразийской экономической комиссии от 09.03.2021 N 28).

Отдельные положения данного документа включены в Перечень стандартов, в результате применения которых на добровольной основе обеспечивается соблюдение требований технического регламента Таможенного союза "О безопасности машин и оборудования" (ТР ТС 010/2011) и в Перечень стандартов, содержащих правила и методы исследований (испытаний) и измерений, в том числе правила отбора образцов, необходимые для применения и исполнения требований технического регламента Таможенного союза "О безопасности машин и оборудования" (ТР ТС 010/2011) и осуществления оценки (подтверждения) соответствия продукции (Решение Комиссии Таможенного союза от 18.10.2011 N 823).

Документ введен в действие с 1 января 2014 года.
Название документа
"ГОСТ 31836-2012. Межгосударственный стандарт. Центрифуги промышленные. Требования безопасности. Методы испытаний"
(введен в действие Приказом Росстандарта от 21.11.2012 N 993-ст)

"ГОСТ 31836-2012. Межгосударственный стандарт. Центрифуги промышленные. Требования безопасности. Методы испытаний"
(введен в действие Приказом Росстандарта от 21.11.2012 N 993-ст)


Содержание


Введен в действие
Приказом Федерального
агентства по техническому
регулированию и метрологии
от 21 ноября 2012 г. N 993-ст
МЕЖГОСУДАРСТВЕННЫЙ СТАНДАРТ
ЦЕНТРИФУГИ ПРОМЫШЛЕННЫЕ
ТРЕБОВАНИЯ БЕЗОПАСНОСТИ. МЕТОДЫ ИСПЫТАНИЙ
Industrial centrifuges. Safety requirements. Test methods
(ISO 10816-1:1995, NEQ)
ГОСТ 31836-2012
МКС 71.120.99
Дата введения
1 января 2014 года
Предисловие
Цели, основные принципы и основной порядок проведения работ по межгосударственной стандартизации установлены ГОСТ 1.0-92 "Межгосударственная система стандартизации. Основные положения" и ГОСТ 1.2-2009 "Межгосударственная система стандартизации. Стандарты межгосударственные, правила и рекомендации по межгосударственной стандартизации. Правила разработки, принятия, применения, обновления и отмены".
Сведения о стандарте
1. Подготовлен Федеральным государственным унитарным предприятием "Всероссийский научно-исследовательский институт стандартизации и сертификации в машиностроении" (ВНИИНМАШ).
2. Внесен Федеральным агентством по техническому регулированию и метрологии (Росстандарт).
3. Принят Межгосударственным советом по стандартизации, метрологии и сертификации (Протокол от 15 ноября 2012 г. N 42).
За принятие стандарта проголосовали:
Краткое наименование страны по МК (ИСО 3166) 004-97
Код страны по МК (ИСО 3166) 004-97
Сокращенное наименование национального органа по стандартизации
Беларусь
BY
Госстандарт Республики Беларусь
Казахстан
KZ
Госстандарт Республики Казахстан
Кыргызстан
KG
Кыргызстандарт
Российская Федерация
RU
Росстандарт
Таджикистан
TJ
Таджикстандарт
Узбекистан
UZ
Узстандарт
Украина
UA
Минэкономразвития Украины
4. Приказом Федерального агентства по техническому регулированию и метрологии от 21 ноября 2012 г. N 993-ст межгосударственный стандарт ГОСТ 31836-2012 введен в действие в качестве национального стандарта Российской Федерации с 1 января 2014 г.
5. Настоящий стандарт соответствует международному стандарту ISO 10816-1:1995 Mechanical vibration - Evaluation of machine vibration by measurements on non-rotating parts - Part 1: General guidelines (Вибрация механическая. Оценка вибрации машин посредством измерений на невращающихся частях. Часть 1. Общие руководящие указания) в части предпочтительных диапазонов интенсивности вибрации.
Степень соответствия - неэквивалентная (NEQ).
Стандарт подготовлен на основе применения ГОСТ Р 51931-2002.
Информация об изменениях к настоящему стандарту публикуется в ежегодном информационном указателе "Национальные стандарты" (по состоянию на 1 января текущего года), а текст изменений и поправок - в ежемесячном информационном указателе "Национальные стандарты". В случае пересмотра (замены) или отмены настоящего стандарта соответствующее уведомление будет опубликовано в ежемесячном информационном указателе "Национальные стандарты". Соответствующая информация, уведомление и тексты размещаются также в информационной системе общего пользования - на официальном сайте Федерального агентства по техническому регулированию и метрологии в сети Интернет.
1. Область применения
Настоящий стандарт распространяется на промышленные центрифуги непрерывного и периодического действия всех типов, предназначенные для разделения жидких неоднородных систем (суспензий, эмульсий), отжима жидкой фазы из различных материалов в поле центробежных сил в химической, нефтехимической, целлюлозно-бумажной, пищевой, медицинской и других отраслях промышленности, а также для очистки коммунальных и промышленных стоков в очистных сооружениях.
Стандарт не распространяется на центрифуги для обработки материалов типа взрывчатых веществ, бытового назначения, экспериментальные и лабораторные.
Стандарт устанавливает общие требования безопасности промышленных центрифуг и методы испытаний.
2. Нормативные ссылки
В настоящем стандарте использованы ссылки на следующие межгосударственные стандарты:
ГОСТ 12.1.003-83 Система стандартов безопасности труда. Шум. Общие требования безопасности
ГОСТ 12.1.010-76 Система стандартов безопасности труда. Взрывобезопасность. Общие требования
ГОСТ 12.1.012-2004 Система стандартов безопасности труда. Вибрационная безопасность. Общие требования
ГОСТ 12.1.019-79 <*> Система стандартов безопасности труда. Электробезопасность. Общие требования и номенклатура видов защиты
--------------------------------
<*> На территории Российской Федерации действует ГОСТ Р 12.1.019-2009.
ГОСТ 12.1.030-81 Система стандартов безопасности труда. Электробезопасность. Защитное заземление, зануление
ГОСТ 12.2.003-91 Система стандартов безопасности труда. Оборудование производственное. Общие требования безопасности
ГОСТ 12.2.007.0-75 Система стандартов безопасности труда. Изделия электротехнические. Общие требования безопасности
ГОСТ 12.2.062-81 Система стандартов безопасности труда. Оборудование производственное. Ограждения защитные
ГОСТ ИСО 8041-2006 Вибрация. Воздействие вибрации на человека. Средства измерений
ГОСТ 16504-81 Система государственных испытаний продукции. Испытания и контроль качества продукции. Основные термины и определения
ГОСТ 21130-75 Изделия электротехнические. Зажимы заземляющие и знаки заземления. Конструкции и размеры
ГОСТ 28705-90 Центрифуги промышленные. Технические требования.
Примечание. При пользовании настоящим стандартом целесообразно проверить действие ссылочных стандартов в информационной системе общего пользования - на официальном сайте Федерального агентства по техническому регулированию и метрологии в сети Интернет или по ежегодному информационному указателю "Национальные стандарты", который опубликован по состоянию на 1 января текущего года, и по выпускам ежемесячного информационного указателя "Национальные стандарты" за текущий год. Если ссылочный стандарт заменен (изменен), то при пользовании настоящим стандартом следует руководствоваться заменяющим (измененным) стандартом. Если ссылочный стандарт отменен без замены, то положение, в котором дана ссылка на него, применяется в части, не затрагивающей эту ссылку.
Применение на добровольной основе раздела 3 обеспечивает соблюдение требований технического регламента Таможенного союза "О безопасности машин и оборудования" (ТР ТС 010/2011) (Решение Комиссии Таможенного союза от 18.10.2011 N 823).
3. Требования безопасности
3.1. Центрифуги должны отвечать требованиям безопасности по ГОСТ 12.2.003 в течение всего срока службы (ресурса) как в случае автономного использования, так и в составе технических комплексов.
3.2. Срок службы (ресурс) должен быть указан в нормативной и эксплуатационной документации.
3.3. Основными источниками опасности для обслуживающего персонала при работе центрифуги являются:
- вращающиеся части;
- динамические нагрузки в узлах и деталях;
- электрический ток и заряды статического электричества;
- свойства центрифугируемых продуктов (пожаро- и взрывоопасность, токсичность);
- температура поверхностей отдельных узлов и элементов.
3.4. Материалы, применяемые для изготовления центрифуг, должны обеспечивать их расчетную прочность в течение срока службы (ресурса) с учетом рабочих условий: температуры, состава и характера среды (коррозионной активности, эрозионного воздействия и т.д.). Для центрифуг, эксплуатирующихся в условиях взрыво- и пожароопасных производств, в сборочных единицах, в которых возможно соударение и трение деталей, должны использоваться материалы, не вызывающие при взаимодействии образования искр.
3.5. Требования к конструкции центрифуг и их изготовлению (сварке, механической обработке, сборке, балансировке) и монтажу, при выполнении которых обеспечивается безопасная эксплуатация, должны соответствовать ГОСТ 28705.
3.6. Все вращающиеся или движущиеся части центрифуг, если они являются источниками опасности, должны иметь защитные ограждения в соответствии с ГОСТ 12.2.062. Защитные ограждения должны быть окрашены по национальным стандартам <*> государств, упомянутых в предисловии как проголосовавших за принятие межгосударственного стандарта.
--------------------------------
<*> На территории Российской Федерации действует ГОСТ Р 12.4.026-2001.
3.7. Среднеквадратические значения виброскорости на подшипниковых опорах, при которых эксплуатация центрифуг должна быть прекращена, с учетом поправочных коэффициентов, зависящих от конструктивных особенностей центрифуг, не должны превышать для центрифуг всех типов (кроме трубчатых) 45 мм/с, а для трубчатых центрифуг - 11,2 мм/с. Допустимые амплитуды виброперемещений фундаментов и перекрытий в рабочих зонах производственных помещений при эксплуатации центрифуг должны соответствовать требованиям ГОСТ 12.1.012.
3.8. Шумовые характеристики центрифуг должны соответствовать ГОСТ 12.1.003. При необходимости должны осуществляться мероприятия в соответствии с ГОСТ 12.1.003 по снижению уровня шума до значений, не превышающих допустимых для рабочих зон в производственных помещениях и на территории предприятий.
3.9. Электрооборудование центрифуг и пультов управления (при их наличии в конструкции) должно соответствовать ГОСТ 12.1.019, ГОСТ 12.2.007.0 и [1], а при использовании центрифуг в условии взрыво- и пожароопасных производств, кроме того, соответствовать классу помещений согласно [1].
Центрифуги и пульты управления должны быть заземлены в соответствии с [1], ГОСТ 12.1.030, ГОСТ 21130. Значение электрического сопротивления заземляющего устройства должно соответствовать требованиям раздела 4 ГОСТ 12.1.030.
3.10. Центрифуги, обрабатывающие взрыво- и пожароопасные вещества по [2] <**>, должны соответствовать ГОСТ 12.1.010 и [3], иметь герметизированное исполнение и эксплуатироваться с подачей инертного газа в рабочие полости при избыточном давлении не менее 1,5·10-3 МПа.
--------------------------------
<**> На территории Российской Федерации действует ГОСТ Р 51330.11-99 (МЭК 60079-12-78).
3.11. Пуск герметизированных центрифуг должен осуществляться только после проверки их герметичности и продувки рабочих полостей и приемных емкостей инертным газом в количестве не менее трехкратного объема.
3.12. Температура на рукоятках и органах управления центрифуг не должна превышать 45 °C. На поверхности центрифуг температурой свыше 45 °C должны быть нанесены сигнальные цвета и знаки безопасности по национальным стандартам <*> государств, упомянутых в предисловии как проголосовавших за принятие межгосударственного стандарта.
3.13. Системы автоматического управления и противоаварийной защиты центрифуг должны обеспечивать безопасную эксплуатацию, при этом в зависимости от типа и конструкции центрифуг должны выполняться следующие требования.
3.13.1. Невозможность включения главного привода центрифуги:
- при открытой крышке кожуха (для центрифуг периодического действия);
- при заторможенном роторе (для центрифуг с тормозом);
- при отсутствии подачи смазки (для центрифуг с централизованной системой смазки);
- при введенном в ротор выгрузочном устройстве механизма выгрузки (для центрифуг периодического действия);
- при отсутствии в кожухе минимального давления инертного газа (для центрифуг герметизированного исполнения).
3.13.2. Отключение главного привода:
- при падении давления в маслосистеме ниже допустимого;
- при перегрузке планетарного редуктора (для шнековых центрифуг);
- при внезапном срабатывании механизма движения выгрузочного устройства и введении выгрузочного устройства в ротор до того, как ротор достигнет пониженной частоты вращения для выгрузки (для подвесных и маятниковых центрифуг);
- при превышении допустимого значения вибрации ротора или других узлов в характерных точках.
3.14. На шкалах контрольно-измерительных приборов должны быть нанесены метки, указывающие предельно допустимые параметры.
3.15. На станине или корпусе центрифуги должна быть нанесена стрелка, указывающая направление вращения ротора, окрашенная в красный цвет национальным стандартам <*> государств, упомянутых в предисловии как проголосовавших за принятие межгосударственного стандарта.
3.16. При ремонте центрифуг их электрическое силовое оборудование должно быть отключено, а на пусковом устройстве и в местах включения электрического питания должны быть вывешены предупреждающие знаки в соответствии с требованиями национальных стандартов <*> государств, упомянутых в предисловии как проголосовавших за принятие межгосударственного стандарта.
--------------------------------
<*> На территории Российской Федерации действует ГОСТ Р 12.4.026-2001.
3.17. Дополнительные меры и требования по обеспечению безопасности при эксплуатации центрифуг в условиях конкретного производства могут быть назначены потребителем или органами надзора и вносятся в руководство по эксплуатации.
Раздел 4 содержит правила и методы исследований (испытаний) измерений, в том числе правила отбора образцов, необходимые для применения и исполнения требований технического регламента Таможенного союза "О безопасности машин и оборудования" (ТР ТС 010/2011) и осуществления оценки (подтверждения) соответствия продукции (Решение Комиссии Таможенного союза от 18.10.2011 N 823).
4. Методы испытаний
4.1. Испытания проводят для определения следующих показателей центрифуг:
- назначения - по таблице 1;
- надежности (наработка на отказ, ресурс до капитального ремонта);
- безопасности (в соответствии с требованиями раздела 3).
Таблица 1
Тип центрифуги
Показатели назначения
общие
дополнительные
Центрифуги:
осадительные и фильтрующие со шнековой выгрузкой осадка
Внутренний диаметр ротора (для конических и цилиндрических - наибольший; для многокаскадных - диаметр каждого каскада), мм
Длина ротора, мм
осадительные и фильтрующие с ручной, ножевой, гравитационной и контейнерной выгрузкой осадка (горизонтальные, подвесные, маятниковые, вертикальные, на жесткой опоре, трубчатые)
Средняя потребляемая мощность (для центрифуг периодического действия - средняя за цикл), кВт
Частота вращения ротора максимальная, рад/с (об/мин)
Объем ротора, дм3
Масса загружаемого продукта, кг
фильтрующие с поршневой выгрузкой осадка
Длина ротора (для многокаскадных - длина каждого каскада), мм Толщина слоя осадка, мм
фильтрующие с вибрационной выгрузкой осадка
Амплитуда осевых колебаний ротора, об/мин (Гц)
4.2. Необходимость и последовательность проведения испытаний по определению отдельных показателей и характеристик устанавливают в технических условиях и программах и методиках испытаний, разработанных на конкретные типы центрифуг и утвержденных в установленном порядке.
Виды испытаний по - ГОСТ 16504.
4.3. Определение показателей надежности должно осуществляться на основании анализа эксплуатационных данных и результатов обследования работы центрифуг в производственных условиях.
4.4. Испытания на холостом ходу включают:
- внешний осмотр испытуемого оборудования, проверку монтажа ограждений механизмов и других устройств, обеспечивающих безопасность испытаний;
- опробование всех приводов и механизмов;
- проверку заземления, правильность присоединения электросиловых кабелей и коммутационных проводов;
- проверку работоспособности контрольно-измерительной и аварийно-блокировочной систем автоматического управления;
- определение шумовых и вибрационных характеристик;
- проверку герметичности соединений центрифуг, газоходов, трубопроводов.
4.5. Средства измерений и оборудование
4.5.1. Испытательные стенды должны обеспечивать проведение испытаний в объеме, предусмотренном настоящим стандартом и программой-методикой.
4.5.2. Измерительные средства, с помощью которых определяют результаты испытаний, должны применяться в условиях, установленных в эксплуатационной документации на эти средства, и иметь действующие клейма или документы о поверке.
4.5.3. Средства измерений, используемые при испытаниях, должны иметь класс точности измерений не менее (или погрешность не более) указанных в таблице 2.
Таблица 2
Измеряемый параметр
Класс точности или погрешность средств измерения
Температура, °C
1,0
Частота вращения, рад/с (об/мин)
1,5
Потребляемая мощность, кВт
2,5
Масса, кг
Не более 5%
Геометрические параметры, мм
Не более 5%
Шум, дБА
По [4] <*>
Вибрация, мм/с
Давление, МПа (кПа)
1,0
Электрическое сопротивление, Ом
1,5
--------------------------------
<*> На территории Российской Федерации действует ГОСТ Р 51402-99 (ИСО 3746-95).
4.5.4. Погрешность прямых измерений следует определять по допустимым погрешностям измерительных приборов, устанавливаемым классом точности прибора.
4.6. Измерение параметров и характеристик
4.6.1. Частоту вращения ротора контролируют тахометром (механическим, магнитоиндукционным, электронным, стробоскопическим).
4.6.2. Потребляемую мощность центрифуги определяют электроизмерительными комплектами или ваттметрами, выбираемыми в зависимости от мощности применяемого электродвигателя.
4.6.3. Температуру поверхностей органов управления измеряют техническими термометрами, манометрическими термометрами, термометрами сопротивления, термоэлектрическими преобразователями.
Термочувствительная часть измерительных приборов устанавливается непосредственно на измеряемую поверхность.
4.7. Контроль вибрационных характеристик - по ГОСТ 12.1.012.
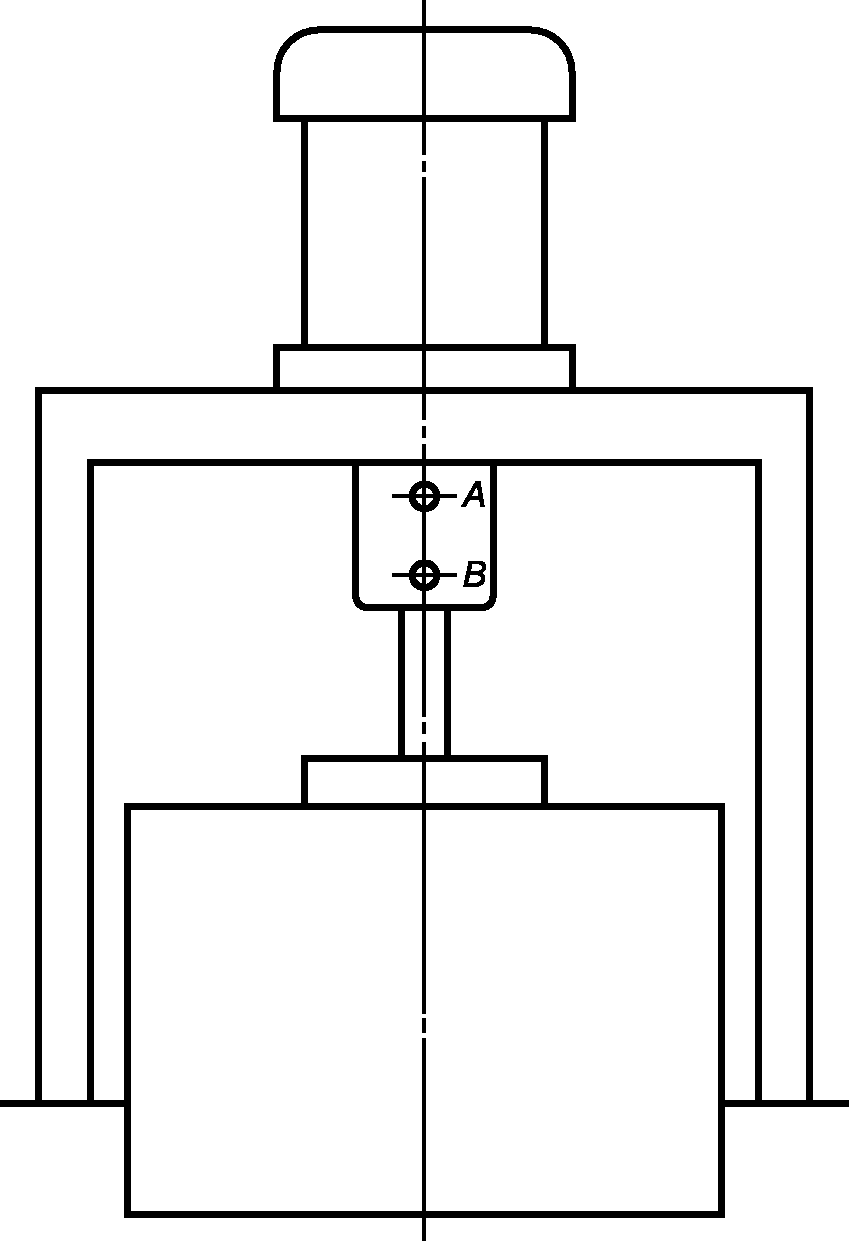
4.8. Места установки вибропреобразователей (А, Б) для основных типов центрифуг приведены в Приложении А.
4.9. Шумовую характеристику устанавливают по [4] <*>.
--------------------------------
<*> На территории Российской Федерации действует ГОСТ Р 51402-99 (ИСО 3746-95).
4.10. Испытания центрифуг на герметичность проводят в статике манометрическим методом при давлении, указанном в нормативном документе на конкретный тип центрифуги (но не менее 1,5·10-3 МПа). Для измерения давления следует применять напоромеры, тягонапоромеры.
4.11. Наличие защитных ограждений, указательных знаков и меток на центрифуге устанавливают внешним осмотром.
4.12. Соответствие электрооборудования центрифуг условиям взрывопожароопасных производств устанавливают визуальным контролем маркировки взрывозащиты и проверкой документов на электрооборудование, проведением необходимых экспертиз и испытаний.
4.13. Сопротивление заземляющего устройства измеряют омметрами.
4.14. Для контроля геометрических параметров следует применять металлические измерительные рулетки, измерительные линейки.
4.15. Массу загружаемого продукта измеряют на платформенных весах или при помощи динамометров общего назначения.
4.16. Амплитуду осевых колебаний ротора устанавливают по технической документации на центрифугу.
4.17. Проверку основных деталей центрифуг на наличие дефектов, снижающих их прочность, проводят методами неразрушающего контроля (цветная дефектоскопия, ультразвуковая дефектоскопия).
4.18. Контроль в части выполнения требований к материалам, конструкции, качеству изготовления и монтажа проводят на соответствие нормативной и эксплуатационной документации.
4.19. Контроль системы автоматического управления и противоаварийной защиты осуществляют приведением в действие блокировок по давлению, частоте вращения, вибрации, потребляемой мощности и другим заложенным в систему параметрам.
4.20. При назначении дополнительных требований по безопасности при эксплуатации центрифуг в условиях конкретного производства должны быть определены методы контроля, позволяющие подтвердить выполнение этих требований.
4.21. Оформление результатов испытаний
4.21.1. Результаты испытаний (приемочных, приемо-сдаточных, периодических, квалификационных, сертификационных) оформляют протоколом и актом испытаний.
4.21.2. Протокол испытаний должен включать следующее:
- наименование и краткое описание объекта испытаний;
- вид проводимых испытаний, цели и задачи испытаний;
- содержание испытаний с указанием разделов испытаний, перечень контрольно-измерительных приборов с указанием класса их точности;
- результаты испытаний;
- выводы по результатам испытаний.
4.21.3. Результаты приемо-сдаточных испытаний должны быть отражены в паспорте изделия.
Приложение А
(обязательное)
ТОЧКИ ИЗМЕРЕНИЯ ВИБРАЦИИ ДЛЯ ОСНОВНЫХ ТИПОВ ЦЕНТРИФУГ
Рисунок 1. Точки измерения вибрации для центрифуг
с горизонтальным расположением ротора между опорами
Рисунок 2. Точки измерения вибрации для центрифуг
с горизонтальным консольным ротором
Рисунок 3. Точки измерения вибрации для подвесных центрифуг
Рисунок 4. Точки измерения вибрации для центрифуг
с вертикальным консольным ротором
Рисунок 5. Точки измерения вибрации
для маятниковых центрифуг
Рисунок 6. Точки измерения вибрации для трубчатых центрифуг
Приложение Б
(справочное)
[1]
ПУЭ <*>
Правила устройства электроустановок
--------------------------------
<*> Действуют на территории Российской Федерации.
[2]
IEC 60079-12:1978
Electrical apparatus for explosive gas atmospheres - Part 12: Classification of mixtures of gases or vapours with air according to their maximum experimental safe gaps and minimum igniting currents (Электрооборудование взрывозащищенное. Часть 12. Классификация смесей газов и паров с воздухом по безопасным экспериментальным максимальным зазорам и минимальным воспламеняющим токам)
[3]
Общие правила взрывоопасности для взрыво-, пожароопасных, химических, нефтехимических и нефтеперерабатывающих производств
[4]
ISO 3746:1995
Acoustics - Determination of sound power levels of noise using sound pressure - Survey method using an enveloping measurement surface over a reflecting plane (Акустика. Определение уровня звуковой мощности источников шума по звуковому давлению. Контрольный метод с использованием огибающей поверхности измерения над плоскостью отражения).