Главная // Актуальные документы // ГОСТ (Государственный стандарт)СПРАВКА
Источник публикации
М.: Стандартинформ, 2013
Примечание к документу
Отдельные положения данного документа включены в
Перечень международных и региональных (межгосударственных) стандартов, а в случае их отсутствия - национальных (государственных) стандартов, в результате применения которых на добровольной основе обеспечивается соблюдение требований технического
регламента Таможенного союза "О безопасности машин и оборудования" (ТР ТС 010/2011) и в
Перечень международных и региональных (межгосударственных) стандартов, а в случае их отсутствия - национальных (государственных) стандартов, содержащих правила и методы исследований (испытаний) и измерений, в том числе правила отбора образцов, необходимые для применения и исполнения требований технического
регламента Таможенного союза "О безопасности машин и оборудования" (ТР ТС 010/2011) и осуществления оценки соответствия объектов технического регулирования (
Решение Коллегии Евразийской экономической комиссии от 09.03.2021 N 28).
Документ
введен в действие с 1 января 2014 года.
Название документа
"ГОСТ 31742-2012. Межгосударственный стандарт. Пилы бензиномоторные цепные. Требования безопасности. Методы испытаний"
(введен в действие Приказом Росстандарта от 22.11.2012 N 1025-ст)
"ГОСТ 31742-2012. Межгосударственный стандарт. Пилы бензиномоторные цепные. Требования безопасности. Методы испытаний"
(введен в действие Приказом Росстандарта от 22.11.2012 N 1025-ст)
агентства по техническому
регулированию и метрологии
от 22 ноября 2012 г. N 1025-ст
МЕЖГОСУДАРСТВЕННЫЙ СТАНДАРТ
ПИЛЫ БЕНЗИНОМОТОРНЫЕ ЦЕПНЫЕ
ТРЕБОВАНИЯ БЕЗОПАСНОСТИ. МЕТОДЫ ИСПЫТАНИЙ
Gasoline chain saws. Safety requirement.
Methods of testing
(ISO 10726:1992, NEQ)
(ISO 11681-1:1996, NEQ)
(EN 608:1994, NEQ)
ГОСТ 31742-2012
Дата введения
1 января 2014 года
Цели, основные принципы и порядок проведения работ по межгосударственной стандартизации установлены
ГОСТ 1.0-92 "Межгосударственная система стандартизации. Основные положения" и
ГОСТ 1.2-2009 "Межгосударственная система стандартизации. Стандарты межгосударственные, правила и рекомендации по межгосударственной стандартизации. Правила разработки, принятия, применения, обновления и отмены".
1. Подготовлен Федеральным государственным унитарным предприятием "Всероссийский научно-исследовательский институт стандартизации и сертификации в машиностроении" (ВНИИНМАШ).
2. Внесен Федеральным агентством по техническому регулированию и метрологии (Росстандарт).
3. Принят Межгосударственным советом по стандартизации, метрологии и сертификации (Протокол от 15 ноября 2012 г. N 42).
За принятие проголосовали:
Краткое наименование страны по МК (ИСО 3166) 004-97 | Код страны по МК (ИСО 3166) 004-97 | Сокращенное наименование национального органа по стандартизации |
Армения | AM | Минэкономики Республики Армения |
Беларусь | BY | Госстандарт Республики Беларусь |
Казахстан | KZ | Госстандарт Республики Казахстан |
Киргизия | KG | Кыргызстандарт |
Россия | RU | Росстандарт |
Таджикистан | TJ | Таджикстандарт |
4. Настоящий стандарт соответствует следующим международным и европейским стандартам:
- ISO 10726:1992. Portable chain-saws - Chain catcher - Dimensions and mechanical strength (Пилы цепные портативные. Цепеуловитель. Размеры и механическая прочность);
- ISO 11681-1:1996. Machinery for forestry - Portable chain-saws - Safety requirements and testing - Part 1: Chain-saws for normal forest work (Машины для лесного хозяйства. Пилы цепные портативные. Требования безопасности и методы испытаний. Часть 1. Цепные пилы для обычной работы в лесу);
- EN 608:1994. Machinery for agriculture and forestry. Portable chain-saws. Safety requirements and testing (Машины для сельского и лесного хозяйства. Портативные цепные пилы. Требования безопасности и методы испытаний).
Степень соответствия - неэквивалентная (NEQ).
5.
Приказом Федерального агентства по техническому регулированию и метрологии от 22 ноября 2012 г. N 1025-ст межгосударственный стандарт ГОСТ 31742-2012 введен в действие в качестве национального стандарта Российской Федерации с 1 января 2014 г.
6. Введен впервые.
Информация об изменениях к настоящему стандарту публикуется в ежегодном информационном указателе "Национальные стандарты", а текст изменений и поправок - в ежемесячном информационном указателе "Национальные стандарты". В случае пересмотра (замены) или отмены настоящего стандарта соответствующее уведомление будет опубликовано в ежемесячном информационном указателе "Национальные стандарты". Соответствующая информация, уведомление и тексты размещаются также в информационной системе общего пользования - на официальном сайте Федерального агентства по техническому регулированию и метрологии в сети Интернет.
Настоящий стандарт распространяется на бензиномоторные цепные пилы (далее - бензопилы) и устанавливает требования безопасности и методы испытаний бензопил.
Термины и определения - по национальным стандартам государств, упомянутых в предисловии как проголосовавших за принятие настоящего стандарта <*>.
--------------------------------
<*> На территории Российской Федерации действует ГОСТ Р 50692-94.
В настоящем стандарте использованы ссылки на следующие стандарты:
ГОСТ 12.1.005-88 Система стандартов безопасности труда. Общие санитарно-гигиенические требования к воздуху рабочей зоны
ГОСТ 12.1.012-2004 Система стандартов безопасности труда. Вибрационная безопасность. Общие требования
ГОСТ 30411-2001 (ИСО 6535:1991) Машины для лесного хозяйства. Пилы бензиномоторные цепные. Тормоз пильной цепи. Методы испытаний
ГОСТ 30723-2001 (ИСО 6533:1993, ИСО 6534:1992) Машины для лесного хозяйства. Пилы бензиномоторные цепные. Защитные устройства передней и задней рукояток. Размеры и прочность
ГОСТ 30725-2001 (ИСО 7915:1991) Машины для лесного хозяйства. Пилы бензиномоторные цепные. Определение прочности рукояток
ГОСТ ИСО 7914-92 Машины для лесного хозяйства. Пилы цепные переносные. Минимальные клиренсы и размеры рукояток.
Примечание. При пользовании настоящим стандартом целесообразно проверить действие ссылочных стандартов в информационной системе общего пользования - на официальном сайте Федерального агентства по техническому регулированию и метрологии в сети Интернет или по ежегодному информационному указателю "Национальные стандарты", который опубликован по состоянию на 1 января текущего года, и по выпускам ежемесячного информационного указателя "Национальный стандарты" за текущий год. Если ссылочный стандарт заменен (изменен), то при пользовании настоящим стандартом следует руководствоваться заменяющим (измененным) стандартом. Если ссылочный стандарт отменен без замены, то положение, в котором дана ссылка на него, применяется в части, не затрагивающей эту ссылку.
3. Требования безопасности
3.1. Рукоятки. Размеры и прочность
3.1.1. Конструкция рукояток бензопил должна обеспечивать возможность управления бензопилой обеими руками оператора в защитных рукавицах или перчатках и контроля работы бензопилы в эксплуатационных условиях. Рукоятки управления должны захватываться руками полностью. Надежность захвата обеспечивается соответствующей формой рукоятки управления (сечение и диаметр) и поверхностью (оплетенной или с покрытием).
Поверхности рукояток (покрытия) должны иметь коэффициент теплопроводности не более 0,5 Вт/(м·К). При изготовлении поверхности рукояток из неметаллических материалов (резина, полимеры) испытания на теплопроводность не проводят.
3.1.2. Минимальные клиренсы и размеры рукояток - по ГОСТ ИСО 7914.
3.1.3. Прочность низкорасположенных рукояток проверяют по
ГОСТ 30725.
Допускается при испытаниях крепление бензопилы за шпильки крепления пильной шины.
3.1.4. Удобная поза оператора при спиливании дерева обеспечивается высокорасположенными рукоятками по 3.1.5.
3.1.5. Размеры бензопил с высокорасположенными рукоятками должны соответствовать
рисунку 1 и
таблице 1.
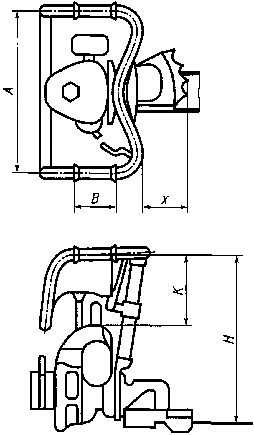
Рисунок 1. Размеры высокорасположенных рукояток
Наименование параметра | Значение размеров, мм |
Расстояние между продольными осями рукояток <1> A | 370 - 490 |
Минимальная длина рукоятки с теплоизоляционным покрытием B | 105 |
Минимальный периметр поперечного сечения рукоятки | 65 |
Расстояние от нижней плоскости <1> пильной шины до центра рукояток H | 370 - 490 |
Минимальное расстояние от верхней части корпуса двигателя до нижней кромки средней части рукоятки K | 100 |
Минимальное расстояние от передней кромки руля до выступающей части зубчатого упора X | 55 |
<1> Рекомендуемый размер. |
3.1.6. Бензопилы с высокорасположенными рукоятками должны выдерживать нагрузку 200 Н, прикладываемую поочередно в шести направлениях ортогональной системы координат к середине каждой рукоятки бензопилы, закрепленной за пильную шину в положении "Валка".
Время действия прикладываемой нагрузки - не менее 15 с.
После проведения испытаний бензопила с высокорасположенными рукоятками не должна иметь деформаций и разрушений, а размеры ее до и после испытаний не должны отличаться более чем на 10 мм.
3.1.7. Повреждение системы виброгашения не должно препятствовать оператору остановить бензопилу с помощью средств управления.
3.2. Защита рук оператора бензопил с низкорасположенными рукоятками. Размеры и прочность
3.2.1. Защитное устройство на передней рукоятке
Бензопилы с низкорасположенными рукоятками должны иметь защитное устройство, расположенное перед передней рукояткой и защищающее руку оператора от возможного контакта с пильной цепью.
Размеры защитного устройства передней рукоятки должны соответствовать
ГОСТ 30723.
3.2.2. Защитное устройство на задней рукоятке
Защитное устройство бензопилы с низкорасположенными рукоятками должно обеспечивать защиту руки оператора вдоль правой стороны нижней части задней рукоятки и выступать не менее чем на 30 мм от боковой плоскости рукоятки управления со стороны пильной шины, и иметь длину не менее 100 мм.
3.2.3. Прочность защитных устройств передней и задней рукояток бензопилы определяют по
ГОСТ 30723. Допускаются другие способы удара, обеспечивающие место и направление удара с энергией в соответствии с
ГОСТ 30723.
Бензопила в сборе с основными пильными шиной и цепью, рекомендуемыми изготовителем, должна быть сбалансирована.
Сбалансированность бензопилы с низкорасположенными рукоятками - по национальным стандартам государств, упомянутых в предисловии как проголосовавших за принятие настоящего стандарта <*>.
--------------------------------
<*> На территории Российской Федерации действует ГОСТ Р 50634-93.
Допускается вывешивание бензопилы на передней рукоятке, в том числе используя горизонтальную опорную площадку шириной не менее 80 мм.
Сбалансированность бензопилы с высокорасположенными рукоятками проверяют при установке ее на плоской горизонтальной поверхности. При этом шина не должна касаться горизонтальной поверхности. При поднятии бензопилы за середину рукоятки шина должна занимать горизонтальное положение или приводиться в это положение восстанавливающим моментом не более 9 Н·м с приложением усилия к концу пильной шины.
3.4. Защита от травм при отскоке. Усилие срабатывания тормоза пильной цепи, время торможения
Для защиты от травм при отскоке бензопилы с низкорасположенными рукоятками должны быть оснащены тормозом пильной цепи, приводимым в действие как вручную с помощью защитного устройства передней рукоятки, так и автоматически в случае отскока.
Время торможения, усилие срабатывания тормоза и методы их определения - по
ГОСТ 30411.
Бензопила с низкорасположенными рукоятками должна быть оборудована цепеуловителем для предотвращения травм оператора в случае разрыва пильной цепи.
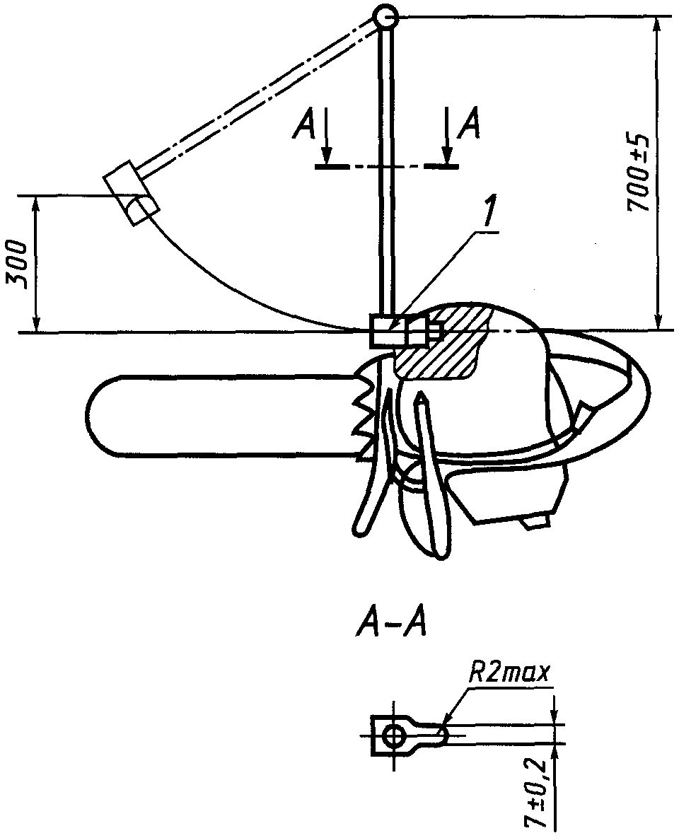
Цепеуловитель должен быть расположен по возможности дальше от передней части бензопилы и должен выступать не менее чем на 5 мм относительно плоскости, проходящей через центр паза пильной шины (рисунок 2).
Рисунок 2. Расположение цепеуловителя
Проверку прочности цепеуловителя проводят по методике, изложенной в
Приложении А.
Бензопила должна иметь зубчатый упор или место для его установки на корпусе бензопилы.
3.7. Устройство для отвода опилок
Бензопила должна быть оборудована устройством, направляющим поток опилок в сторону от оператора при работе.
3.8. Кожух пильного аппарата
Пильный аппарат бензопилы с низкорасположенными рукоятками в целях безопасности при переносе бензопилы или соприкасании с цепью в нерабочем состоянии должен иметь защитный кожух, закрывающий его таким образом, чтобы незакрытым оставалась часть не более 100 мм до передней части корпуса бензопилы или основания зубчатого упора.
3.9. Ограничения по уровню звука
Уровень звука бензопилы на рабочем месте оператора не должен на всех режимах превышать 105 дБА, а для бензопил с рабочим объемом до 40 см3 - 102 дБА.
Безопасность труда при данных требованиях к шуму должна быть обеспечена применением средств индивидуальной защиты органов слуха от шума и защиты временем (режимов организации труда).
3.10. Ограничения по уровню вибрации
Параметры вибрации на рукоятках управления бензопил должны соответствовать
ГОСТ 12.1.012 и национальным стандартам государств, упомянутых в предисловии как проголосовавших за принятие настоящего стандарта <*>.
--------------------------------
3.11. Рычаг управления газом бензопил с низкорасположенными рукоятками
Бензопила с низкорасположенными рукоятками должна быть оснащена подпружиненным рычагом управления газом, который автоматически возвращается в положение холостого хода.
Рычаг управления газом должен быть расположен таким образом, чтобы он легко нажимался и отпускался рукой, одетой в защитную рукавицу или перчатку, без ослабления при этом рукоятки. Механизм управления газом должен быть выполнен таким образом, чтобы усилие, равное сухой массе бензопилы без пильных шины и цепи, приложенное к задней рукоятке в любом направлении, не приводило к увеличению частоты вращения вала двигателя, вызывающей движение пильной цепи.
3.12. Переключатель зажигания
В конструкции бензопил должен быть предусмотрен переключатель зажигания, который останавливает двигатель кратковременным нажатием руки оператора. Переключатель должен быть расположен таким образом, чтобы оператор мог им воспользоваться, работая в защитных рукавицах или перчатках и держа бензопилу двумя руками. Назначение и способ работы переключателя должны быть четко и надежно обозначены. Цвет переключателя должен контрастировать с общей окраской бензопилы.
Примечание. Требования для бензопил с высокорасположенными рукоятками вводятся для моделей, разработанных после 1 января 1999 г.
3.13. Защита от контакта с деталями, находящимися под высоким напряжением
Все детали двигателя, находящиеся под высоким напряжением, должны быть изолированы во избежание поражения током.
В бензопилах должно быть предусмотрено автоматическое отключение пильной цепи при работе на холостом ходу.
Муфта сцепления должна обеспечивать работу двигателя бензопилы без движения пильной цепи при оборотах, составляющих 1,1 от оборотов холостого хода двигателя.
3.15. Регулирование карбюратора. Маркировка
Регулировочные винты карбюратора должны иметь ясную и несмываемую маркировку, и способ регулирования должен содержаться в Руководстве по эксплуатации.
3.16. Защита от контакта с нагревающимися деталями
В бензопилах с низкорасположенными рукоятками нагревающиеся детали (глушитель, цилиндр) должны находиться не ближе 80 мм от боковой поверхности передней рукоятки, а глушитель должен быть ограничен для предотвращения прямого контакта с ним.
В конструкции глушителя должно быть предусмотрено искрогасящее устройство.
3.17. Выхлопные газы. Направление выхлопа
Выпускное отверстие в глушителе должно быть расположено так, чтобы выхлопные газы направлялись в сторону от лица оператора при работе.
Бензопилы должны быть обеспечены автоматическим смазочным устройством пильной цепи.
3.19. Топливный и масляный баки
3.19.1. Крышки топливного и масляного баков должны иметь устройство, предотвращающее их потерю.
3.19.2. Диаметр заливного отверстия топливного бака должен быть не менее 20 мм, диаметр заливного отверстия масляного бака - не менее 15 мм.
3.19.3. Каждая крышка (пробка) или корпус бензопилы возле отверстий под заливку топлива и масла должны быть четко маркированы.
3.19.4. Крышки не должны быть взаимозаменяемыми. Конструкция крышки (пробки) должна быть такой, чтобы не было появления утечки при нахождении бензопилы в любом рабочем положении и при транспортировании.
3.20. Ограничения по концентрации оксида углерода в зоне дыхания оператора
Концентрация оксида углерода в зоне дыхания оператора при работе бензопилой должна соответствовать
ГОСТ 12.1.005.
Испытания и обработку результатов измерений следует проводить по национальным стандартам государств, упомянутых в предисловии как проголосовавших за принятие настоящего стандарта <*>.
Нормы напряженности поля радиопомех при работе двигателя бензопилы, требования к измерительной аппаратуре, месту проведения испытаний - по национальным стандартам государств, упомянутых в предисловии как проголосовавших за принятие настоящего стандарта <**>.
Испытания и обработку результатов измерений следует проводить по национальным стандартам государств, упомянутых в предисловии как проголосовавших за принятие настоящего стандарта <*>.
--------------------------------
<*> На территории Российской Федерации действуют рекомендации Р 50-601-42-94.
3.22. Требования к Руководству по эксплуатации
Требования к Руководству по эксплуатации изложены в
Приложении Г. Руководство по эксплуатации бензопилы должно быть изложено на русском языке.
4.1. Методы испытаний бензопил с низкорасположенными рукоятками управления приведены в таблице 2 и
Приложениях А -
В.
Номер пункта требований безопасности | Метод испытаний |
Осмотр (визуальный) | Функциональные испытания | Измерения |
| + | - | - |
| + | - | + |
| + | - | + |
| - | + | + |
| + | - | + |
| + | - | - |
| + | + | - |
| + | - | + |
| - | - | + |
| - | - | + |
| + | + | + |
| + | + | - |
| + | - | - |
| - | + | + |
| + | - | - |
| + | - | + |
| + | + | - |
| + | + | - |
| + | + | + |
| - | + | + |
| - | + | + |
4.2. Методы испытаний бензопил с высокорасположенными рукоятками управления приведены в таблице 3 и
Приложениях Б,
В.
Номер пункта требований безопасности | Метод испытаний |
Осмотр (визуальный) | Функциональные испытания | Измерения |
| + | - | - |
| - | - | + |
| + | - | - |
| - | + | - |
| - | - | + |
| - | - | + |
| - | + | + |
| + | - | - |
| + | - | - |
| - | + | - |
| + | - | - |
| + | - | - |
| + | + | - |
| + | + | - |
| + | + | + |
| - | + | + |
| - | + | + |
Примечание. В
таблицах 2 и
3 знак "+" означает обязательность контроля требования указанным методом, знак "-" означает, что требование контролю указанным методом не подлежит.
4.3. Проверку отдельных требований безопасности при работе бензопилы в режимах холостого хода, полной нагрузки и разгона (функциональные испытания) допускается совмещать с измерениями шума и вибрации.
(обязательное)
ИСПЫТАНИЙ ЦЕПЕУЛОВИТЕЛЯ БЕНЗОПИЛЫ НА МЕХАНИЧЕСКУЮ ПРОЧНОСТЬ
А.1. Назначение и область применения
Методика устанавливает порядок проведения испытаний цепеуловителя бензопилы на механическую прочность.
А.2. Испытательное оборудование
А.2.1. Приспособление для зажима бензопилы за пильную шину или за шпильки ее крепления, обеспечивающее возможность закрепления бензопилы рукоятками вертикально вниз.
А.2.2. Маятниковый молоток, имеющий стальную головку с плоской ударной поверхностью шириной (7 +/- 0,2) мм.
Длина рукоятки между точкой опоры и центром головки молотка должна быть (700 +/- 5) мм (рисунок А.1).
1 - центр тяжести
Рисунок А.1. Маятниковый молоток
Приведенная масса маятникового молотка должна составлять (2,5 +/- 0,1) кг.
А.2.3. Маятниковый молоток должен быть расположен относительно зажимного приспособления так, чтобы траектория движения его центра тяжести находилась в плоскости продольного сечения шины, проходящей через середину направляющего паза.
А.3. Проведение испытаний
А.3.1. Испытываемая пила закрепляется в приспособлении за пильную шину или за шпильки ее крепления таким образом, чтобы маятниковый молоток при падении, находясь в крайнем нижнем положении, мог ударить выступающей головкой по цепеуловителю.
А.3.2. Молоток должен быть поднят на высоту 300 мм относительно оси цепеуловителя, проходящей через центр тяжести его поперечного сечения и параллельной продольной оси направляющей шины, после чего он должен быть опущен для нанесения удара по цепеуловителю.
Испытания повторяют 5 раз.
А.4. Требования к механической прочности цепеуловителя
После проведенных испытаний цепеуловитель не должен выступать менее чем на 5 мм относительно плоскости, проходящей через центр паза шины, а его крепление и корпус пилы не должны иметь разрывов и трещин.
(обязательное)
ИСПЫТАНИЙ ПО ОПРЕДЕЛЕНИЮ УРОВНЯ ЗВУКА БЕНЗОПИЛЫ
НА РАБОЧЕМ МЕСТЕ ОПЕРАТОРА
Б.1. Назначение и область применения
Методика устанавливает порядок измерения звука бензиномоторной пилы на рабочем месте оператора, работающего с ней.
Б.2. Измеряемые величины
Б.2.1. Измеряемой величиной является уровень звука в децибелах по шкале А (дБА) с временной характеристикой S шумомера.
Б.2.2. Измерения по спектру в октавных полосах со средними геометрическими частотами в диапазоне от 63 до 8000 Гц проводят факультативно в случае необходимости проведения исследований.
Б.3. Акустика окружающей среды
Б.3.1. Открытое пространство
Место проведения испытаний должно быть открытым пространством радиусом не менее 10 м. Большие отражающие поверхности высотой более 2 м должны быть расположены не ближе 20 м. Ни один человек не должен приближаться к оператору ближе чем на 2 м.
Поверхность в центре места проведения испытаний должна обладать хорошим звукопоглощением.
Б.3.2. Закрытое пространство
| | ИС МЕГАНОРМ: примечание. В официальном тексте документа, видимо, допущена опечатка: пункт 3.1 отсутствует. Возможно, имеется в виду пункт Б.3.1. | |
Измерения допускается проводить в закрытом помещении, в котором усиление звука не будет превышать на 1 дБ уровень при измерении в открытом пространстве по
3.1.
Б.3.3. Фоновый шум
В месте установки микрофона фоновый шум, включая шум ветра, должен быть, по крайней мере, на 10 дБ ниже измеряемых уровней звука при испытаниях.
Б.3.4. Условия окружающей среды
Диапазон температур окружающей среды при испытаниях должен составлять от минус 10 °C до плюс 30 °C, а скорость ветра должна быть не более 5 м/с.
Б.4. Подготовка бензопилы к работе и требования к древесине
Измерения проводят на бензопиле серийного производства со стандартными пильной шиной и цепью, рекомендованными изготовителем. Перед началом испытаний бензопила должна быть обкатана, а карбюратор отрегулирован согласно Руководству по эксплуатации бензопилы с достижением максимальной производительности пиления.
Для распиловки применяется свежесрубленная или увлажненная древесина в виде бревна, поперечная форма которого приведена на рисунке Б.1.
Рисунок Б.1. Форма бревна для бензопил
с низкорасположенными рукоятками
Толщина распиливаемого бревна A должна соответствовать таблице Б.1.
Рабочий объем двигателя, см3 | Рабочая длина пильного аппарата, м | Толщина бревна A, % рабочей длины |
До 44 | 0,25 - 0,35 | 75 +/- 5 |
От 45 до 69 | 0,30 - 0,40 | 75 +/-5 |
От 70 до 89 | 0,40 - 0,50 | 75 +/- 5 |
Св. 90 | Св. 0,50 | 75 +/- 5 |
Допускается в случае несоответствия рабочей длины пильного аппарата значениям, приведенным в
таблице Б.1, применять рекомендованный изготовителем пильный аппарат без изменений. Для бензопил с низкорасположенными рукоятками распиливаемый образец бревна закрепляют горизонтально на высоте 0,6 м от его продольной оси до поверхности земли.
Для бензопил с высокорасположенными рукоятками распиливаемый образец бревна закрепляют вертикально и пиление проводят на высоте 0,4 - 0,7 м от поверхности земли.
Б.5. Измерительная аппаратура
Б.5.1. Для измерения используют шумомеры 1-го и 2-го классов.
Б.5.2. Допускается использовать в измерительном тракте магнитофон и другие регистрирующие приборы, при этом суммарная погрешность измерений не должна превышать +/- 1,5 дБ.
Б.5.3. До и после каждой серии измерений необходимо проводить калибровку измерительного тракта. Для калибровки используют акустический калибратор с точностью +/- 0,5 дБ.
Б.5.4. Для контроля режима работы двигателя бензопилы должен быть использован тахометр с точностью +/- 2,5%. Тахометр не должен влиять на работу бензопилы.
Б.6. Расположение микрофона
При измерении уровня звука бензопилы с низкорасположенными рукоятками при непосредственном участии в испытаниях оператора микрофон должен быть закреплен на каске оператора на уровне его бровей и направлен на бензопилу. Микрофон должен быть расположен не ближе 30 мм от головы оператора со стороны, где регистрируется наивысший уровень звука. Кратчайшее расстояние от микрофона до передней рукоятки бензопилы должно быть как можно ближе к 0,7 м.
При измерении звука бензопилы с использованием вместо оператора механического устройства для удержания бензопилы в рабочих условиях микрофон устанавливают над серединой передней рукоятки на расстоянии 0,7 м и направляют на нее.
При измерении уровня звука бензопилы с высокорасположенными рукоятками при участии оператора и без него расстояние от микрофона до ближайшей передней части рукоятки должно быть 0,7 м.
Б.7. Проведение испытаний
Уровень звука бензопилы измеряют в трех режимах:
Б.7.1. Режим холостого хода
В этом режиме бензопила работает с отключенным пильным аппаратом при рекомендованной изготовителем частоте вращения вала двигателя, бензопилу при этом удерживают за обе рукоятки.
Б.7.2. Режим полной нагрузки
Режим полной нагрузки осуществляется при пилении древесины с полностью открытой дроссельной заслонкой карбюратора и частотой вращения вала двигателя, соответствующей максимальной мощности, с точностью +/- 2,5%. Пиление проводится параллельным способом без зубчатого упора бензопилами с низкорасположенными рукоятками и веерным способом с применением зубчатого упора бензопилами с высокорасположенными рукоятками.
Б.7.3. Режим разгона
Измерения проводят при частоте вращения вала двигателя, соответствующей 133% этой частоты при максимальной мощности двигателя. Если у двигателя существует ограничение по частоте вращения ниже указанного, то измерение проводят при максимально возможной частоте вращения. Бензопилу удерживают за обе рукоятки. Бензопилы с высокорасположенными рукоятками в режиме разгона не испытывают.
Б.7.4. На каждом режиме уровень звука измеряют четыре раза, если разброс измеренных значений не превышает 3 дБ. При невыполнении этого условия измерения повторяют до тех пор, пока четыре последовательных результата не будут отличаться менее чем на 3 дБ.
Б.7.5. Уровень звука измеряют в момент, когда пильная шина горизонтальна и находится в нижней трети поперечного сечения распиливаемого бревна.
Б.8. Представление результатов измерений
Б.8.1. За результат измерений уровня звука принимают их среднее значение из четырех контрольных измерений.
Б.8.2. Результаты испытаний оформляют протоколом, содержащим:
- описание бензопилы (рабочий объем двигателя, изготовитель, модель бензопилы, серийный номер, рабочая длина пильного аппарата), режим работы, породу и толщину распиливаемого бревна;
- акустические условия окружающей среды;
- контрольно-измерительные приборы и сведения о их поверке;
- расположение микрофона;
- уровень помех;
- результаты измерений и их среднее значение;
- дату и место проведения испытаний;
- Ф.И.О. испытателей.
(обязательное)
ИСПЫТАНИЙ ПО ОПРЕДЕЛЕНИЮ УРОВНЯ ВИБРАЦИИ
НА РУКОЯТКАХ БЕНЗОПИЛЫ
В.1. Назначение и область применения
Методика устанавливает порядок измерения виброускорения (ускорения) на каждой рукоятке бензопилы, воспринимаемого оператором.
В.2. Измеряемые величины
В.2.1. Измерению подлежат ортогональные корректированные значения виброускорения или взвешенное суммарное ускорение (ВСУ) в соответствии с измерительным трактом, приведенным на рисунке В.1. Ускорение по трем ортогональным направлениям воспринимается акселерометрами и преобразовывается в форму общего вибрационного значения взвешенного суммарного ускорения.
1 - фильтр полосовый; 2 - корректированное значение;
3 - среднеквадратическое значение
Рисунок В.1. Взвешенное суммарное ускорение
Математически

,

,

представляют собой среднее квадратическое ускорение по каждому направлению.
Фильтры должны иметь характеристики, представленные в таблице В.1.
Таблица В.1
Октавные полосы со средними геометрическими частотами, Гц | Поправочные коэффициенты по виброускорению  | Коррекция виброускорения, дБ |
31,5 | 0,5 | -6 |
63 | 0,25 | -12 |
125 | 0,125 | -18 |
250 | 0,063 | -24 |
500 | 0,0315 | -30 |
1000 | 0,016 | -36 |
где

- значение ускорения в i-й октавной полосе, м/с2;
n - число октавных полос.
Значения ускорения по трем направлениям измеряют одновременно.
В.2.2. Масса акселерометра
Общая масса акселерометра, позволяющего зафиксировать ускорение в одном направлении, не должна превышать 50 г, включая узел крепления к рукоятке.
В.2.3. Установка акселерометров
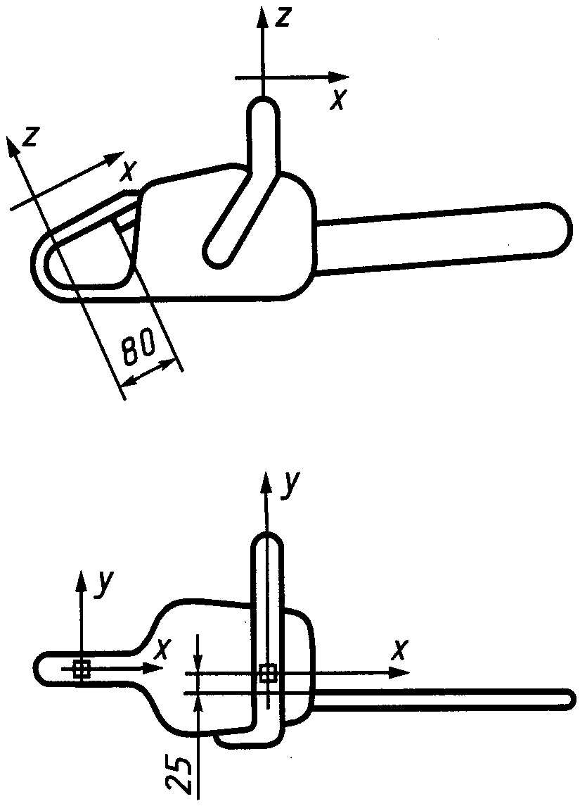
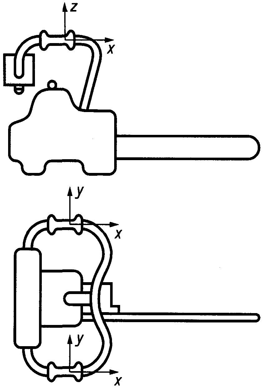
Акселерометры устанавливают на рукоятках бензопилы в соответствии с рисунками В.2 и
В.3. Если размер 80 мм на рисунке В.2 не может быть выдержан, то следует разместить акселерометр на заднем конце рукоятки.
Рисунок В.2. Расположение акселерометра на бензопилах
с низкорасположенными рукоятками
Рисунок В.3. Расположение акселерометра на бензопилах
с высокорасположенными рукоятками
В.3. Измерительная аппаратура
В.3.1. Погрешность измерительного тракта не должна быть более 10% в измеряемом частотном диапазоне от 5 до 1400 Гц.
В.3.2. Электрические помехи не должны превышать 5% максимальных измеренных значений.
В.3.3. Для контроля режима работы двигателя бензопилы должен быть использован тахометр с точностью +/- 2,5%. Тахометр не должен влиять на работу бензопилы.
В.4. Проведение испытаний
Вибрацию на рукоятках бензопилы измеряют в трех режимах.
В.4.1. Режим холостого хода
В этом режиме бензопила работает на холостом ходу двигателя с отключенным пильным аппаратом при частоте вращения вала двигателя, рекомендованной изготовителем, бензопилу при этом удерживают за обе рукоятки.
В.4.2. Режим полной нагрузки
Режим полной нагрузки бензопил с низкорасположенными рукоятками осуществляется при пилении древесины частотой вращения вала двигателя, соответствующей максимальной мощности, а бензопил с высокорасположенными рукоятками - частотой вращения вала, соответствующей 0,9 частоты при максимальной мощности двигателя, с точностью +/- 2,5%.
Пиление проводят параллельным способом без зубчатого упора бензопилами с низкорасположенными рукоятками и веерным способом с применением зубчатого упора бензопилами с высокорасположенными рукоятками.
В.4.3. Режим разгона
Измерения проводят при частоте вращения вала двигателя, соответствующей 133% частоты при максимальной мощности двигателя. Если у двигателя существует ограничение по частоте вращения вала, которое ниже указанного, то измерение проводят при максимально возможной частоте вращения вала. Бензопилу удерживают за обе рукоятки. Бензопилы с высокорасположенными рукоятками в режиме разгона не испытывают.
В.4.4. Время каждого измерения - не менее 2 с.
| | ИС МЕГАНОРМ: примечание. В официальном тексте документа, видимо, допущена опечатка: пункт 4.4 отсутствует. Возможно, имеется в виду пункт В.4.4. | |
В.4.5. Число повторных измерений должно быть не менее пяти по 4.4.
В.4.6. Требования к бензопиле и древесине
Вибрацию следует измерять на бензопиле серийного производства со стандартными пильными шиной и цепью, рекомендованными изготовителем. Перед началом испытаний бензопила должна быть обкатана, а карбюратор отрегулирован согласно руководству по эксплуатации бензопилы с достижением максимальной производительности пиления.
Для распиловки применяют свежесрубленную или увлажненную древесину в виде бревна, поперечная форма которого приведена на рисунке В.4.
Рисунок В.4. Форма бревна для бензопил
с низкорасположенными рукоятками
Толщина распиливаемого бревна A приведена в таблице В.2.
Рабочий объем двигателя, см3 | Рабочая длина пильного аппарата, м | Толщина бревна A, % рабочей длины |
До 44 | 0,25 - 0,35 | 75 +/- 5 |
От 45 до 69 | 0,3 - 0,4 | 75 +/- 5 |
" 70 " 89 | 0,4 - 0,5 | 75 +/- 5 |
" 90 и более | Св. 0,5 | 75 +/- 5 |
Допускается в случае несоответствия рабочей длины пильного аппарата требованиям
таблицы В.2 применять рекомендованный изготовителем пильный аппарат.
Для бензопил с низкорасположенными рукоятками распиливаемый образец бревна закрепляют горизонтально на высоте 0,6 м от его продольной оси до поверхности земли.
Для бензопил с высокорасположенными рукоятками распиливаемый образец бревна закрепляют вертикально и пиление проводят на высоте 0,4 - 0,7 м от поверхности земли.
Бензопилы с высокорасположенными рукоятками следует испытывать при моделировании операции "валка". При отсутствии возможности моделирования операции "валка" допускается проведение испытаний в режиме "раскряжевка" с внесением поправки в полученные значения 3 - 6 дБ.
В.4.7. Требования к управлению бензопилой
Сила сжатия рукояток бензопилы должна быть достаточной для управления бензопилой в нормальных условиях ее эксплуатации. Допускается при измерении уровня вибрации использовать вместо оператора механические устройства для удержания бензопилы. При этом должна быть обеспечена сходимость результатов измерений.
В.5. Представление результатов испытаний
В.5.1. Результаты испытаний оформляют протоколом, содержащим:
- описание бензопилы (рабочий объем двигателя, изготовитель, модель бензопилы, серийный номер, рабочая длина пильного аппарата);
- режимы работы, породу и толщину распиливаемого бревна;
- метод испытаний;
- таблицу с данными испытаний;
- место и дату проведения испытаний;
- Ф.И.О. испытателей.
(рекомендуемое)
К "РУКОВОДСТВУ ПО ЭКСПЛУАТАЦИИ БЕНЗОПИЛЫ"
Г.1. Общие требования
Г.1.1. В "Руководстве по эксплуатации бензиномоторной бензопилы" (далее - Руководство) должны быть приведены положения и информация по всем аспектам деятельности оператора (пользователя), позволяющие обеспечить безопасность его работы, а также надежную, безотказную работу бензопилы в целом и каждого из составляющих ее элементов, включая вопросы использования защитных средств и оборудования и безопасной технологии выполнения работ.
При этом следует учитывать, что бензопила может быть использована неподготовленным оператором (пользователем).
Г.1.2. Текст Руководства должен быть кратким, точным, логически последовательным и содержать необходимую и достаточную информацию о правилах и порядке работы с бензопилой даже для неподготовленного пользователя.
Для полноты восприятия текст должен быть снабжен соответствующими рисунками, схемами, фотографиями.
Г.1.3. На титульном листе Руководства должно быть указание:
"ВНИМАНИЕ! Бензопила имеет повышенный уровень шума и вибрации. Внимательно изучите руководство по эксплуатации. Рекомендуется работа с применением средств индивидуальной защиты и защитой временем в соответствии с санитарными нормами. Выписка из санитарных норм является неотъемлемой частью Руководства".
Г.2. Состав и содержание руководства
Г.2.1. Введение
Должно содержать следующую информацию:
Настоящее Руководство содержит краткое техническое описание устройства,
правил эксплуатации и технического обслуживания бензопилы _________________
_____________________________________.
наименование и обозначение бензопилы
Для обеспечения безопасности не следует пользоваться бензопилой до изучения Руководства.
Гарантийные обязательства заводом выполняются только при соблюдении правил эксплуатации и технического обслуживания, изложенных в настоящем Руководстве.
Г.2.2. Назначение
Дается полная информация, для каких целей и видов работ может быть использована бензопила. Должны быть указаны запрещенные виды использования.
Например:
"Бензопила предназначена для валки и раскряжевки деревьев, заготовки и распиловки дров и выполнения других работ. Не применять при работе в закрытых помещениях".
Г.2.3. Технические данные и комплектность поставки
Должны быть приведены следующие данные:
- основные характеристики бензопилы в сборе;
- характеристики двигателя;
- основные данные по регулировке, уходу, подготовке к работе, техническому обслуживанию и контролю;
- заправочные емкости и эксплуатационные материалы;
- состав изделия, описание, характеристики, идентификация и номенклатура составных частей, включая устройства безопасности, объяснения их функционирования, основные правила работы с ними, в том числе использования необходимых защитных средств;
- уровень звукового давления (звуковой мощности), в целях защиты слуха приводятся рекомендации по использованию защитных средств (на основе анализа спектра в октавных полосах);
- уровень вибрации на рукоятках бензопилы и рекомендации по уменьшению ее вредного воздействия;
- комплектность поставки (состав комплекта запасных частей, инструмента, защитных средств).
Г.2.4. Требования по эксплуатации
Г.2.4.1. Требования безопасности должны быть изложены:
- при транспортировании бензопилы;
- при заправке ее горючим;
- при подготовке к запуску и проведении запуска;
- при работе бензопилой, включая пильный аппарат;
- требования по предотвращению отскока;
- указания по применению средств индивидуальной защиты и защите временем.
Должны быть приведены и объяснены символы и знаки безопасности, применяемые при маркировке бензопилы.
Г.2.4.2. Предэксплуатационная подготовка новой бензопилы
Следует указать порядок действий по:
- расконсервации;
- сборке после извлечения ее из упаковки (при необходимости);
- начальному регулированию, приработке (обкатке) и контролю.
Г.2.4.3. Подготовка к работе
Следует указать порядок действий по:
- приготовлению топливной смеси;
- проверке крепежа;
- заправке топливом и маслом, с правилами обеспечения пожарной безопасности;
- подготовке пильных цепей к работе (в т.ч. техника заточки зубьев цепи и регулирование ее натяжения), с указанием правил защиты рук оператора и техники безопасной работы;
- регулярным контрольным испытаниям тормоза цепи.
Г.2.4.4. Порядок работы бензопилой
Приводятся рабочие инструкции по обычной процедуре, включая использование средств защиты, при возникновении нетипичных (в т.ч. опасных) ситуаций и возможности избежать их при выполнении обычных типовых работ.
Следует привести следующие данные:
- общие требования по обеспечению длительной работоспособности и высокой производительности бензопилы (рекомендации по использованию топлива и смазочных материалов, своевременном профилактическом обслуживании, запрещенные действия при эксплуатации, необходимость соблюдения требований безопасности на всех этапах работы);
- требования к переноске и хранению бензопилы;
- особенности пуска и остановки двигателя при эксплуатации в зимних условиях;
- приемы работы при валке и раскряжевке деревьев, при заготовке и распиловке дров и других работах, безопасные технологии работ;
- регулировочные работы (регулирование двигателя на холостых оборотах и на максимальную производительность пиления, натяжение пильной цепи и другие);
- соблюдение требований безопасности при передвижении с бензопилой;
- соблюдение требований безопасности в начале и при окончании работы;
- чистка и уход за бензопилой до отправки на хранение.
Г.2.4.5. Техническое обслуживание и ремонт
Должна быть дана информация о периодичности и порядке проведения технического обслуживания и ремонта, в т.ч. замены отдельных сборочных единиц и деталей для поддержания бензопилы в постоянной технической исправности и продления срока ее службы. Должны быть приведены перечень возможных неисправностей, их причины и способы устранения. Для лучшего усвоения материала раздел Руководства должен быть снабжен рисунками и схемами.
Г.2.4.6. В Руководстве следует привести адреса мастерских гарантийного ремонта (при их наличии) и адрес завода-изготовителя.