Главная // Актуальные документы // ГОСТ (Государственный стандарт)СПРАВКА
Источник публикации
М.: Издательство стандартов, 2002
Примечание к документу
Отдельные положения данного документа включены в
Перечень стандартов, в результате применения которых на добровольной основе обеспечивается соблюдение требований технического
регламента Таможенного союза "О безопасности машин и оборудования" (ТР ТС 010/2011) и в
Перечень стандартов, содержащих правила и методы исследований (испытаний) и измерений, в том числе правила отбора образцов, необходимые для применения и исполнения требований технического
регламента Таможенного союза "О безопасности машин и оборудования" (ТР ТС 010/2011) и осуществления оценки (подтверждения) соответствия продукции (
Решение комиссии Таможенного союза от 18.10.2011 N 823).
Документ включен в
Перечень национальных стандартов, в результате применения которых на добровольной основе обеспечивается соблюдение требований технического
регламента "О безопасности машин и оборудования", утв. Постановлением Правительства РФ от 15.09.2009 N 753 (
Приказ Росстандарта от 20.08.2010 N 3108).
С 01.07.2003 до вступления в силу технических регламентов акты федеральных органов исполнительной власти в сфере технического регулирования носят рекомендательный характер и подлежат обязательному исполнению только в части, соответствующей целям, указанным в
п. 1 ст. 46 Федерального закона от 27.12.2002 N 184-ФЗ.
Документ
введен в действие с 01.07.2002.
Взамен ГОСТ ИСО 6533-95 и ГОСТ ИСО 6534-95.
Название документа
"ГОСТ 30723-2001 (ИСО 6533-93, ИСО 6534-92). Межгосударственный стандарт. Машины для лесного хозяйства. Пилы бензиномоторные цепные. Защитные устройства передней и задней рукояток. Размеры и прочность"
(введен в действие Постановлением Госстандарта России от 10.12.2001 N 517-ст)
"ГОСТ 30723-2001 (ИСО 6533-93, ИСО 6534-92). Межгосударственный стандарт. Машины для лесного хозяйства. Пилы бензиномоторные цепные. Защитные устройства передней и задней рукояток. Размеры и прочность"
(введен в действие Постановлением Госстандарта России от 10.12.2001 N 517-ст)
Введен в действие
комитета Российской Федерации
по стандартизации и метрологии
от 10 декабря 2001 г. N 517-ст
МЕЖГОСУДАРСТВЕННЫЙ СТАНДАРТ
МАШИНЫ ДЛЯ ЛЕСНОГО ХОЗЯЙСТВА
ПИЛЫ БЕНЗИНОМОТОРНЫЕ ЦЕПНЫЕ.
ЗАЩИТНЫЕ УСТРОЙСТВА ПЕРЕДНЕЙ И ЗАДНЕЙ РУКОЯТОК
РАЗМЕРЫ И ПРОЧНОСТЬ
Forestry machinery. Gasoline chain saws. Protection
at front and rear handles. Dimensions and strength
ГОСТ 30723-2001
(ИСО 6533-93, ИСО 6534-92)
Дата введения
1 июля 2002 года
1 РАЗРАБОТАН Межгосударственным комитетом по стандартизации МТК 287 "Ручное портативное механизированное оборудование для лесной промышленности и лесного хозяйства"
ВНЕСЕН Госстандартом России
2 ПРИНЯТ Межгосударственным Советом по стандартизации, метрологии и сертификации (протокол N 19 от 24 мая 2001 г.)
За принятие проголосовали:
Наименование государства | Наименование национального органа по стандартизации |
Азербайджанская Республика | Азгосстандарт |
Республика Армения | Армгосстандарт |
Республика Беларусь | Госстандарт Республики Беларусь |
Республика Казахстан | Госстандарт Республики Казахстан |
Кыргызская Республика | Кыргызстандарт |
Российская Федерация | Госстандарт России |
Республика Таджикистан | Таджикстандарт |
Туркменистан | Главгосслужба "Туркменстандартлары" |
Республика Узбекистан | Узгосстандарт |
Украина | Госстандарт Украины |
3 Настоящий стандарт представляет собой полный аутентичный текст международных стандартов ИСО 6533:1993 "Машины для лесного хозяйства. Переносные цепные пилы. Защитное устройство передней рукоятки. Размеры", ИСО 6534:1992 "Портативные цепные пилы. Защитные устройства рукояток. Механическая прочность" и ИСО 11681-1:1996 "Машины для лесного хозяйства. Ручные цепные пилы. Требования безопасности и испытания" в части, касающейся размеров и прочности защитного устройства задней рукоятки
4
Постановлением Государственного комитета Российской Федерации по стандартизации и метрологии от 10 декабря 2001 г. N 517-ст межгосударственный стандарт ГОСТ 30723-2001 (ИСО 6533-93, ИСО 6534-92) введен в действие непосредственно в качестве государственного стандарта Российской Федерации с 1 июля 2002 г.
5 ВЗАМЕН ГОСТ ИСО 6533-95 и ГОСТ ИСО 6534-95
Настоящий стандарт распространяется на пилы бензиномоторные цепные с низкорасположенными рукоятками, применяемые в лесной промышленности, лесном хозяйстве и для бытовых нужд, и устанавливает размеры и клиренсы защитных устройств передней и задней рукояток (далее - защитные устройства) бензиномоторных пил, а также методы их испытаний на прочность.
Защитные устройства должны обеспечивать безопасность оператора в случае возникновения аварийной ситуации (например при отскоке пилы, обрыве пильной цепи и т.п.).
Требования настоящего стандарта являются обязательными.
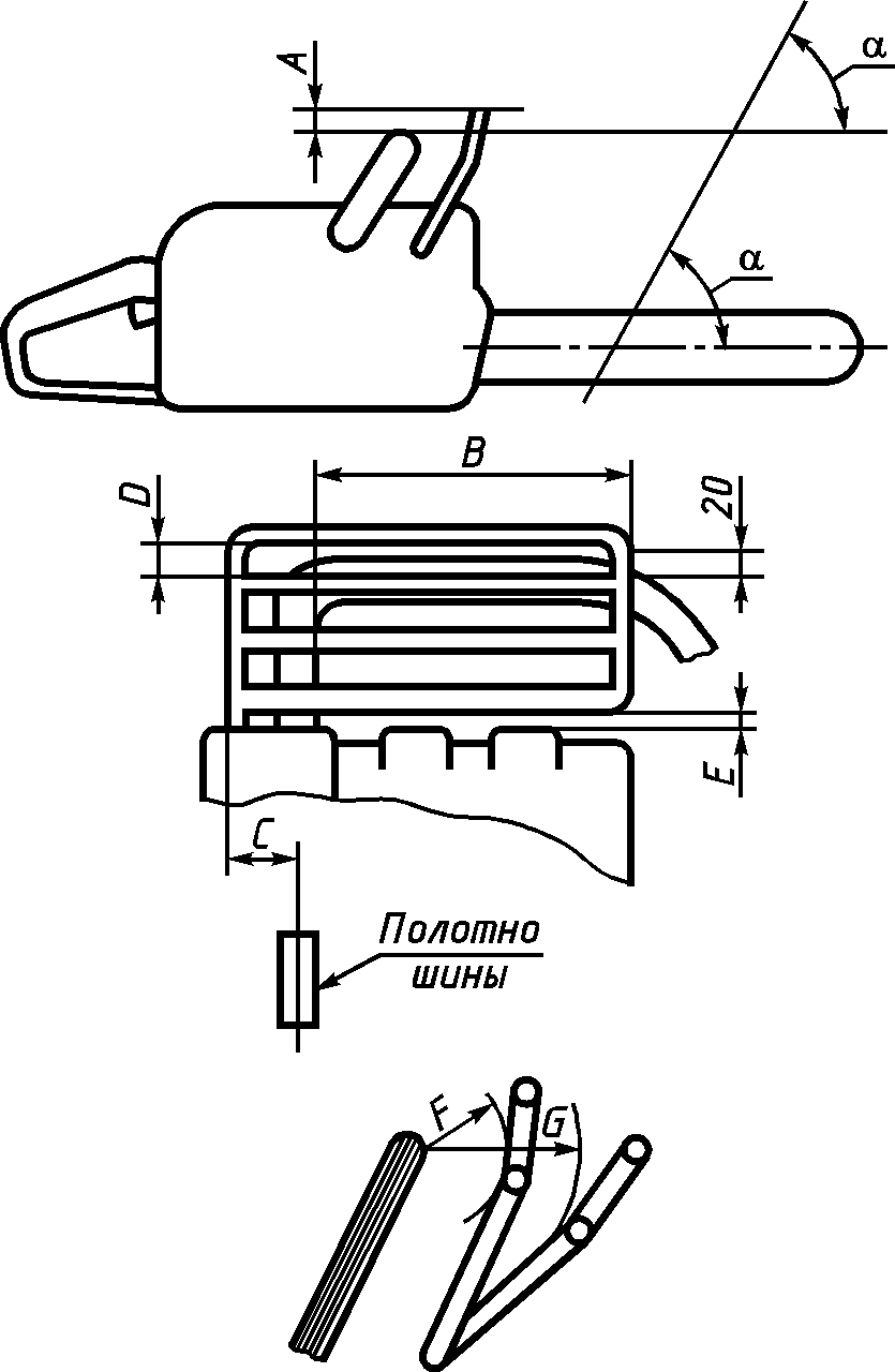
2.1 Размеры защитного устройства передней рукоятки
Бензиномоторные пилы с низкорасположенными рукоятками должны иметь защитное устройство, расположенное перед передней рукояткой и защищающее руку оператора от контакта с пильной цепью.
Размеры защитного устройства передней рукоятки и расстояние от устройства до корпуса бензопилы должны соответствовать указанным в таблице 1 и на
рисунке 1.
Таблица 1
Обозначение размера | Вид размера и клиренса | Размер, мм |
A | Минимальное превышение защитного устройства над передней рукояткой <1>: | |
до включения защитного устройства | 20 |
после включения защитного устройства | 0 |
B | Минимальная рабочая длина защитного устройства <2>, <3> | 100 |
C | Минимальное расстояние от внешней поверхности правой части защитного устройства до оси направляющего паза пильной цепи | 0 |
D | Максимальная высота окна <4>, <5> | 55 |
E | Максимальный клиренс между нижней кромкой защитного устройства и ближайшим выступом корпуса пилы <4>, <5> | 55 |
F | Клиренс между любыми частями защитного устройства до его включения и передней рукояткой: | |
минимальный | 40 |
максимальный | 70 |
G | Максимальный клиренс между любыми частями защитного устройства после его включения и передней рукояткой | 100 |
<1> Измерение проводят перпендикулярно к горизонтальной плоскости, параллельно осевой линии направляющей шины. <2> Измерение проводят от правой внутренней поверхности передней рукоятки. <3> Минимальную рабочую длину защитного устройства измеряют в его наиболее удаленной от передней рукоятки точке на высоте 20 мм. <4> Размер установлен с целью предотвращения прохождения руки через защитное устройство. <5> Измерение размера D проводят при помощи цилиндрического калибра диаметром 55 мм и длиной 82 мм, который размещают параллельно защитному устройству и перемещают вперед с усилием 30 Н. Калибр не должен проходить насквозь через окно. При измерении размера калибр должен быть установлен между нижней кромкой защитного устройства и ближайшей к нему частью корпуса пилы в любом месте на длине 100 мм. |

Рисунок 1 - Размеры защитного устройства передней рукоятки
Перед измерениями направляющая шина должна быть установлена в рабочее положение и жестко закреплена на корпусе бензопилы.
Если защитное устройство передней рукоятки представляет собой рычаг тормозного устройства, то перед измерением размеров
A и
G, приведенных в
таблице 1, к середине верхней части защитного устройства необходимо приложить усилие 10 Н под углом 45° в направлении вперед и вниз.
2.2 Размеры защитного устройства задней рукоятки
Защитное устройство должно выступать не менее чем на 30 мм в сторону направляющей шины пильной цепи. Длина защитного устройства должна быть не менее 100 мм (рисунок 2).
Рисунок 2 - Размеры защитного устройства задней рукоятки
| | Применение на добровольной основе разд. 3 обеспечивает соблюдение требований технического регламента Таможенного союза "О безопасности машин и оборудования" (ТР ТС 010/2011) (Решение комиссии Таможенного союза от 18.10.2011 N 823). | |
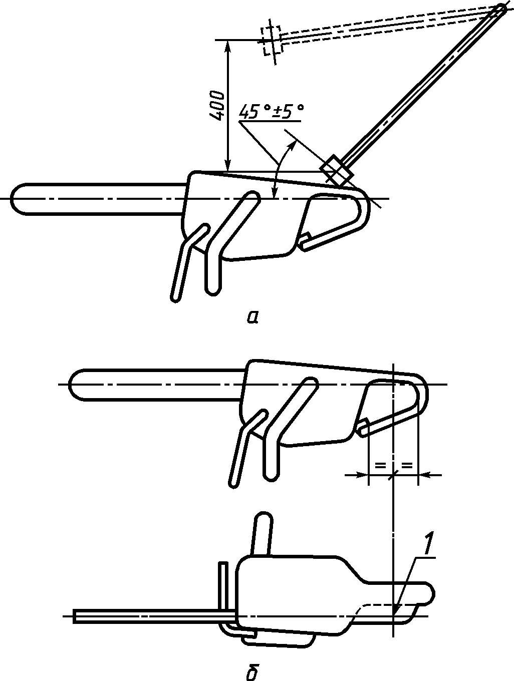
3 Динамические испытания защитных устройств на прочность
Перед испытаниями бензопилу жестко закрепляют за пильную шину. Если защитное устройство передней рукоятки является частью тормоза пильной цепи, то оно должно быть установлено в положение торможения.
В процессе испытаний по защитному устройству наносят удары стальным молотком, имеющим размеры, указанные на рисунке 3, подвешенным на штанге с плечом длиной (700 +/- 5) мм, что является расстоянием между осью шарнирного соединения и центром молотка. Ось штанги должна совпадать с осью молотка.
Рисунок 3 - Размеры молотка
3.1 Маятник должен передавать энергию (10 +/- 0,3) Дж с высоты падения молотка 400 мм и (5 +/- 0,2) Дж - с высоты падения 200 мм. Приведенная масса маятника - 2,5 кг.
Испытания проводят при температурах плюс (40 +/- 2) °C и минус (25 +/- 2) °C.
3.2 Динамические испытания защитного устройства передней рукоятки
Молоток поднимают на высоту 400 мм над защитным устройством и отпускают таким образом, чтобы удар пришелся по центру верхней части защитного устройства. Траектория движения молотка должна проходить через точку удара B под углом 45° +/- 5° вперед и вниз к оси пильной шины (рисунок 4).
Рисунок 4 - Динамические испытания защитного устройства
передней рукоятки
3.3 Динамические испытания защитного устройства задней рукоятки
Молоток поднимают на высоту 400 мм над защитным устройством и отпускают таким образом, чтобы удар пришелся в точку пересечения плоскости, проходящей через ось паза пильной шины, и плоскости, перпендикулярной к плоскости шины, и расположенной на одинаковом расстоянии от заднего торца рычага управления дроссельной заслонкой и внутренней поверхности рукоятки, противоположной рычагу (
рисунок 5 б). Траектория движения молотка должна проходить через точку удара под углом 45° +/- 5° к оси пильной шины (
рисунок 5 а).
1 - точка удара
Рисунок 5 - Динамические испытания защитного устройства
задней рукоятки
3.4 Испытания на прочность защитных устройств
Испытания проводят при температуре окружающей среды (20 +/- 5) °C. Молоток поднимают на высоту 200 мм над защитным устройством и опускают таким образом, чтобы траектория движения молотка проходила через точку удара под углом 45° +/- 5° к оси пильной шины.
Это испытание проводят не менее 25 раз для каждого защитного устройства.
3.5 При испытаниях защитные устройства не должны ломаться и на них не должны появляться трещины.
При испытаниях защитные устройства не должны прогибаться (отклоняться) настолько, чтобы молоток двигался, минуя их.
УДК 621.933.843:006.354 | | | |
Ключевые слова: бензиномоторная пила, низкорасположенные рукоятки, защитные устройства, безопасность оператора, размеры и клиренсы, динамические испытания, траектория движения молотка, точка удара, испытания на прочность |