Главная // Актуальные документы // ГОСТ (Государственный стандарт)СПРАВКА
Источник публикации
М.: Стандартинформ, 2013
Примечание к документу
Текст данного документа приведен с учетом
поправки, опубликованной в "ИУС", N 2, 2023.
Документ
введен в действие с 01.07.2013.
Название документа
"ГОСТ 31722-2012. Межгосударственный стандарт. Изделия кондитерские. Методы определения содержания молочного жира в шоколадных изделиях"
(введен в действие Приказом Росстандарта от 29.11.2012 N 1677-ст)
"ГОСТ 31722-2012. Межгосударственный стандарт. Изделия кондитерские. Методы определения содержания молочного жира в шоколадных изделиях"
(введен в действие Приказом Росстандарта от 29.11.2012 N 1677-ст)
Введен в действие
по техническому регулированию
и метрологии
от 29 ноября 2012 г. N 1677-ст
МЕЖГОСУДАРСТВЕННЫЙ СТАНДАРТ
ИЗДЕЛИЯ КОНДИТЕРСКИЕ
МЕТОДЫ ОПРЕДЕЛЕНИЯ СОДЕРЖАНИЯ МОЛОЧНОГО ЖИРА
В ШОКОЛАДНЫХ ИЗДЕЛИЯХ
Confectionery. Methods of determination the contain
of milk fat in chocolate products
ГОСТ 31722-2012
Дата введения
1 июля 2013 года
Цели, основные принципы и основной порядок проведения работ по межгосударственной стандартизации установлены
ГОСТ 1.0-92 "Межгосударственная система стандартизации. Основные положения" и
ГОСТ 1.2-2009 "Межгосударственная система стандартизации. Стандарты межгосударственные, правила и рекомендации по межгосударственной стандартизации. Правила разработки, принятия, применения, обновления и отмены".
1. Подготовлен Государственным научным учреждением Научно-исследовательским институтом кондитерской промышленности Российской академии сельскохозяйственных наук (ГНУ НИИ КП Россельхозакадемии).
2. Внесен Федеральным агентством по техническому регулированию и метрологии.
3. Принят Межгосударственным советом по стандартизации, метрологии и сертификации (Протокол от 15 ноября 2012 г. N 42).
За принятие проголосовали:
Краткое наименование страны по МК (ИСО 3166) 004-97 | Код страны по МК (ИСО 3166) 004-97 | Сокращенное наименование национального органа по стандартизации |
Беларусь | BY | Госстандарт Республики Беларусь |
Кыргызстан | KG | Кыргызстандарт |
Молдова | MD | Молдова-Стандарт |
Российская Федерация | RU | Росстандарт |
Таджикистан | TJ | Таджикстандарт |
Туркмения | TM | Главгосслужба "Туркменстандартлары" |
Узбекистан | UZ | Узстандарт |
4.
Приказом Федерального агентства по техническому регулированию и метрологии от 29 ноября 2012 г. N 1677-ст межгосударственный стандарт ГОСТ 31722-2012 введен в действие в качестве национального стандарта Российской Федерации с 1 июля 2013 г.
6. Введен впервые.
Информация о введении в действие (прекращении действия) настоящего стандарта публикуется в ежемесячно издаваемом указателе "Национальные стандарты".
Информация об изменениях к настоящему стандарту публикуется в ежегодно издаваемом информационном указателе "Национальные стандарты", а текст изменений и поправок - в ежемесячно издаваемых информационных указателях "Национальные стандарты". В случае пересмотра или отмены настоящего стандарта соответствующая информация будет опубликована в ежемесячно издаваемом информационном указателе "Национальные стандарты".
Настоящий стандарт распространяется на кондитерские изделия: шоколад и отделяемую составную часть шоколада в шоколаде с начинкой и шоколадных изделиях (далее - шоколад) с добавлением молока и (или) продуктов его переработки и устанавливает следующие методы определения массовой доли молочного жира в диапазонах измерений от 0% до 50%:
- метод отгонки летучих кислот;
- метод газожидкостной хроматографии (арбитражный).
В настоящем стандарте использованы нормативные ссылки на следующие стандарты:
ГОСТ ИСО 5725-6-2003 Точность (правильность и прецизионность) методов и результатов измерений. Часть 6. Использование значений точности на практике
ГОСТ 12.1.007-76 Система стандартов безопасности труда. Вредные вещества. Классификация и общие требования безопасности
ГОСТ 12.1.018-93 Система стандартов безопасности труда. Пожаровзрывобезопасность статического электричества. Общие требования
ГОСТ 12.1.019-79 Система стандартов безопасности труда. Электробезопасность. Общие требования и номенклатура видов защиты
ГОСТ 1770-74 Посуда мерная лабораторная стеклянная. Цилиндры, мензурки, колбы, пробирки. Общие технические условия
ГОСТ 5899-85 Изделия кондитерские. Методы определения массовой доли жира
ГОСТ 5904-82 Изделия кондитерские. Правила приемки, методы отбора и подготовки проб
ГОСТ 12026-76 Бумага фильтровальная лабораторная. Технические условия
ГОСТ 14919-83 Электроплиты, электроплитки и жарочные электрошкафы бытовые. Общие технические условия
ГОСТ 18300-87 Спирт этиловый ректификованный технический. Технические условия
ГОСТ 21400-75 Стекло химико-лабораторное. Технические требования. Методы испытаний
ГОСТ 25336-82 Посуда и оборудование лабораторные стеклянные. Типы, основные параметры и размеры
ГОСТ 31663-2012 Масла растительные и жиры животные. Определение методом газовой хроматографии массовой доли метиловых эфиров жирных кислот
ГОСТ 31665-2012 Масла растительные и жиры животные. Получение метиловых эфиров жирных кислот
Примечание. При пользовании настоящим стандартом целесообразно проверить действие ссылочных стандартов по указателю "Национальные стандарты", составленному по состоянию на 1 января текущего года, и по соответствующим информационным указателям, опубликованным в текущем году. Если ссылочный стандарт заменен (изменен), то при пользовании настоящим стандартом следует руководствоваться заменяющим (измененным) стандартом. Если ссылочный стандарт отменен без замены, то положение, в котором дана ссылка на него, применяется в части, не затрагивающей эту ссылку.
3. УСЛОВИЯ ПРОВЕДЕНИЯ ИЗМЕРЕНИЙ
При подготовке и проведении измерений должны быть соблюдены следующие условия:
- температура окружающего воздуха ......... (18 +/- 5) °C;
4 5
- атмосферное давление .................... 9,33 · 10 - 1,07 · 10 Па;
- влажность воздуха ....................... не более 75%;
- напряжение в сети ....................... (220 +/- 10) В.
4. ТРЕБОВАНИЯ БЕЗОПАСНОСТИ
При выполнении измерений необходимо соблюдать требования безопасности при работе с химическими реактивами по
ГОСТ 12.1.007, пожаробезопасности по
ГОСТ 12.1.018, электробезопасности по
ГОСТ 12.1.019, а также требования, изложенные в технических документах на применяемые средства измерений и вспомогательное оборудование.
5. ТРЕБОВАНИЯ К КВАЛИФИКАЦИИ ОПЕРАТОРА
К выполнению измерений и обработке результатов допускается специалист, имеющий опыт работы в химической лаборатории, освоивший методы и прошедший инструктаж по технике безопасности при работе с вредными веществами и пожарной безопасности.
6. ОТБОР И ПОДГОТОВКА ПРОБ
Отбор и подготовка проб для проведения измерений - по
ГОСТ 5904.
7. МЕТОД ОТГОНКИ ЛЕТУЧИХ КИСЛОТ
7.1. Сущность метода
Метод основан на выделении молочного жира из анализируемого образца шоколада с добавлением молока и (или) продуктов его переработки после проведения гидролиза, отгонки летучих кислот и титровании водорастворимых летучих кислот раствором щелочи.
7.2. Средства измерений, вспомогательное оборудование, реактивы и материалы
При определении массовой доли молочного жира используют следующее оборудование, реактивы и материалы:
Весы лабораторные по
ГОСТ 24104 с пределами допускаемой абсолютной погрешности однократного взвешивания +/- 0,2 мг.
Плитка электрическая закрытого типа, обеспечивающая нагрев в диапазоне температуры от 120 °C до 200 °C по
ГОСТ 14919.
Стекло химико-лабораторное (палочки) по
ГОСТ 21400.
Шкаф сушильный электрический с терморегулятором, обеспечивающий поддержание температуры (100 +/- 2) °C.
Центрифуга лабораторная с числом оборотов в минуту не менее 3000 и центрифужными термостойкими пробирками с крышками вместимостью 50 см3.
pH-метр, позволяющий проводить измерения pH в диапазоне от 3,0 с до 8,0 с пределами допускаемой абсолютной погрешности +/- 0,05.
Баня водяная, обеспечивающая температуру до 100 °C с погрешностью поддержания температуры +/- 2 °C.
Петролейный эфир по нормативным документам, действующим на территории государства, принявшего стандарт.
Какао-масло по нормативным документам, действующим на территории государства, принявшего стандарт.
Жир молочный по нормативным документам, действующим на территории государства, принявшего стандарт.
Спирт этиловый технический по
ГОСТ 17299 или спирт этиловый ректификованный технический по
ГОСТ 18300.
Допускается применение других средств измерений и вспомогательного оборудования с метрологическими и техническими характеристиками и реактивов по качеству не ниже указанных.
7.3. Подготовка к выполнению измерений
7.3.1. Приготовление растворов
7.3.1.1. Приготовление раствора калия гидроокиси с молярной концентрацией c (KOH) = 0,1 моль/дм3
В мерную колбу вместимостью 1000 см3 помещают 5,6 г калия гидроокиси KOH. Добавляют 300 - 400 см3 дистиллированной воды и перемешивают до полного растворения. Объем раствора доводят до метки дистиллированной водой и перемешивают.
7.3.1.2. Приготовление раствора серной кислоты массовой долей 10%
В мерную колбу вместимостью 1000 см3 помещают 400 - 500 см3 дистиллированной воды, медленно и осторожно при перемешивании приливают 55 см3 концентрированной серной кислоты с плотностью 1,84 г/см3. Объем раствора доводят до метки дистиллированной водой и перемешивают.
7.3.2. Приготовление градуировочных смесей
Для приготовления градуировочных смесей - "жир молочный + какао-масло" - используют жир молочный в диапазоне массовых долей от 0% до 40% включительно - с шагом 5%, в диапазоне массовых долей свыше 40% до 100% включительно - с шагом 10% и какао-масло.
7.3.3. Анализ градуировочных смесей
5,0 г каждой приготовленной смеси вносят в колбы вместимостью 250 см3 для проведения гидролиза. Добавляют в каждую колбу 3,1 г гидроокиси калия KOH, 3,1 см3 дистиллированной воды, 20 см3 этилового спирта и термостатируют на кипящей водяной бане с обратным холодильником в течение 20 мин.
Количественно переносят полученные смеси, используя 90 см3 дистиллированной воды, в колбы для отгонки летучих кислот вместимостью 250 см3 и добавляют в каждую колбу по 25 см3 серной кислоты массовой долей 10%. При этом pH полученных смесей не должен превышать 4,0 - 4,5.
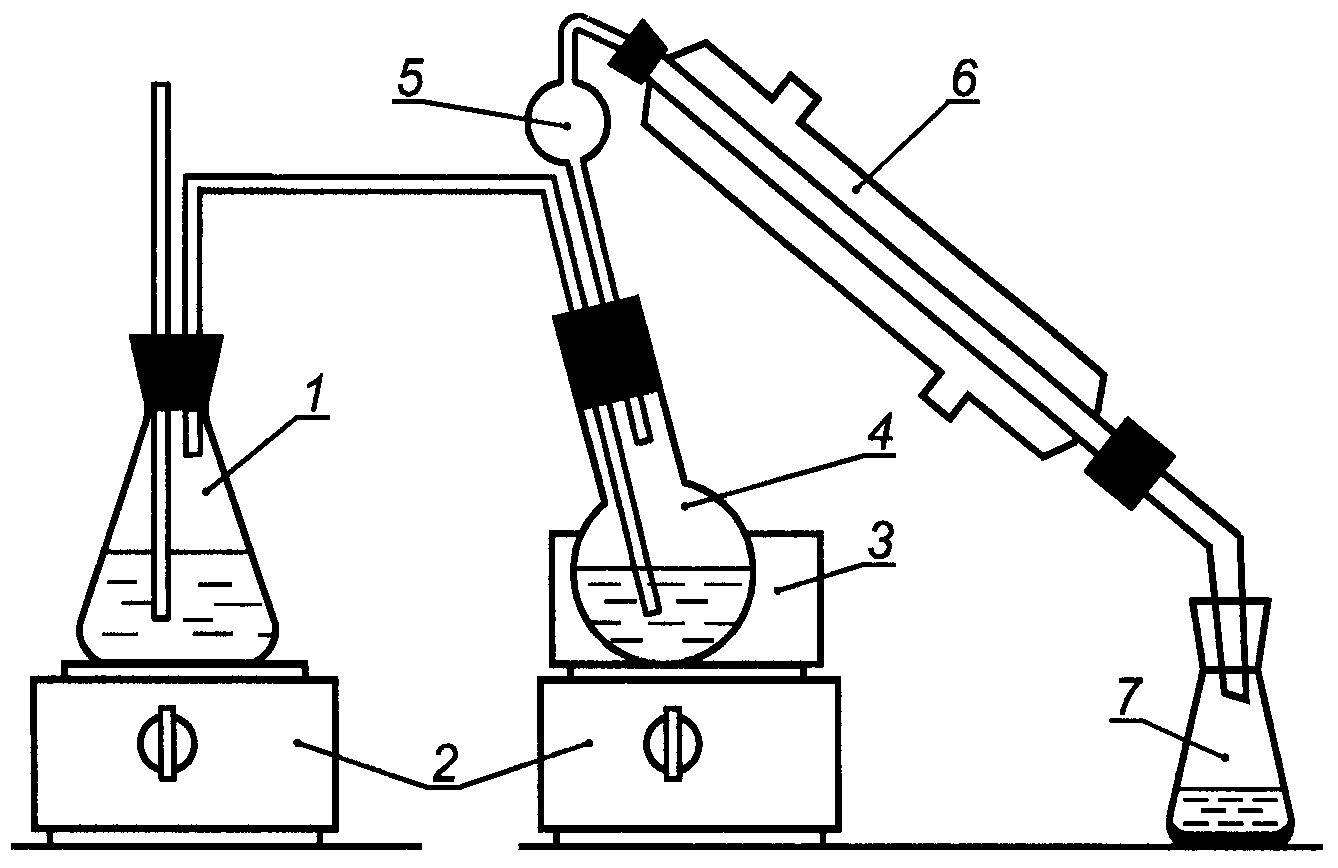
Затем проводят отгонку низкомолекулярных летучих жирных кислот с водяным паром. Схема установки для перегонки с водяным паром летучих низкомолекулярных водорастворимых жирных кислот приведена на
рисунке 1.
1 - колба коническая вместимостью 500 см3 для получения водяного пара; 2 - плитка электрическая с регуляторами нагрева; 3 - баня с насыщенным раствором хлористого натрия; 4 - колба с исследуемым гидролизатом жира; 5 - каплеуловитель; 6 - холодильник; 7 - приемная колба для дистиллята (колба коническая вместимостью 250 см3)
Рисунок 1. Схема лабораторной установки для перегонки
с водяным паром
Объем дистиллята в колбе составляет 110 см3. Далее дистиллят фильтруют и 100 см3 полученного фильтрата титруют раствором гидроокиси калия с KOH молярной концентрацией 0,1 моль/дм3.
Измерения проводят не менее двух раз, принимая за окончательный результат измерений среднеарифметическое значение.
7.3.4. Построение градуировочного графика
По результатам титрования строят градуировочный график, откладывая по оси абсцисс значения массовой доли молочного жира в градуировочных смесях по 7.3.2, а по оси ординат - среднеарифметические значения объемов раствора гидроокиси калия (KOH) с молярной концентрацией 0,1 моль/дм3 (0,1 Н), затраченных на титрование растворов летучих растворимых жирных кислот.
7.4. Выполнение измерений
7.4.1. Навеску подготовленной пробы массой 20 - 30 г помещают в центрифужную пробирку и заливают петролейным эфиром в количестве 30 - 35 см3, тщательно перемешивают стеклянной палочкой и центрифугируют при 3000 об/мин в течение 10 мин. Надосадочную жидкость сливают в приемную колбу вместимостью 250 см3. Процедуру повторяют три раза.
7.4.2. Петролейный эфир выпаривают на водяной бане при температуре 70 °C - 80 °C, жир высушивают в сушильном шкафу при температуре (100 +/- 2) °C до постоянного веса.
7.4.3. Навеску полученного жира массой 5 г анализируют по
7.3.3. По объему раствора KOH молярной концентрацией 0,1 моль/дм3, затраченного на титрование раствора летучих растворимых жирных кислот, по градуировочному графику определяют массовую долю молочного жира M в общем количестве выделенного жира.
7.5. Обработка результатов измерений
7.5.1. Массовую долю молочного жира в шоколаде с добавлением молока и (или) продуктов его переработки X, %, вычисляют по формуле
где Y - массовая доля жира в шоколаде, определяемая по
ГОСТ 5899, %.
M - массовая доля молочного жира в общем количестве выделенного жира, определяемая по градуировочному графику, %.
Вычисления проводят до второго десятичного знака с последующим округлением до первого десятичного знака.
За окончательный результат определения массовой доли молочного жира принимают среднеарифметическое двух параллельных определений, округленное до первого десятичного знака, если выполняется условие приемлемости (по ГОСТ ИСО 5725-6):
где

и

- результаты двух параллельных определений, %;
r - предел повторяемости (сходимости) двух параллельных определений, приведенный в таблице 1, %.
Диапазон измерений массовой доли, % | Предел повторяемости (сходимости) r при n = 2, P = 0,95, % | Предел воспроизводимости R при m = 2, P = 0,95, % | Показатель точности (границы абсолютной погрешности)  , при P = 0,95 |
От 0 до 50 включ. | 0,6 | 0,9 | 0,7 |
7.5.2. Результат определения массовой доли молочного жира представляют в виде:

при P = 0,95,
где

- среднеарифметическое значение двух параллельных определений массовой доли молочного жира, %;

- значение абсолютной погрешности определения массовой доли молочного жира, приведенное в
таблице 1, %.
8. МЕТОД ГАЗОЖИДКОСТНОЙ ХРОМАТОГРАФИИ
8.1. Сущность метода
Метод основан на определении массовой доли низкомолекулярных жирных кислот (масляной, капроновой и др.) методом газожидкостной хроматографии.
8.2. Средства измерений, вспомогательное оборудование, реактивы и материалы
Средства измерений, вспомогательное оборудование, реактивы и материалы по
ГОСТ 31663 и
ГОСТ 31665 со следующим дополнением.
Весы лабораторные по
ГОСТ 24104 с пределами допускаемой абсолютной погрешности однократного взвешивания +/- 0,2 мг.
Шкаф сушильный электрический с терморегулятором, обеспечивающий поддержание температуры (100 +/- 2) °C.
Центрифуга лабораторная с числом оборотов не менее 3000 и центрифужными термостойкими пробирками с крышками вместимостью 50 см3.
Петролейный эфир по нормативным документам, действующим на территории государства, принявшего стандарт.
Стекло химико-лабораторное (палочки) по
ГОСТ 21400.
Допускается применение других средств измерений и вспомогательного оборудования с метрологическими и техническими характеристиками и реактивов по качеству не ниже указанных.
8.3. Проведение измерений
Навеску подготовленной пробы образца массой 20 - 30 г помещают в центрифужную пробирку и заливают петролейным эфиром в количестве 30 - 35 см3, тщательно перемешивают стеклянной палочкой и центрифугируют при 3000 об/мин в течение 10 мин. Надосадочную жидкость сливают в приемную колбу вместимостью 250 см3. Операцию повторяют два раза.
Петролейный эфир выпаривают на водяной бане при температуре 70 °C - 80 °C, жир высушивают в сушильном шкафу при температуре (100 +/- 2) °C до постоянного веса. Полученный жир используют для получения метиловых эфиров жирных кислот по
ГОСТ 31665.
Анализ метиловых эфиров жирных кислот проводят по
ГОСТ 31663 с программированием температуры от 50 °C до 270 °C со скоростью повышения температуры 5 °C в минуту, температура инжектора 240 °C - 270 °C.
8.4. Обработка результатов
8.4.1. Массовую долю метилового эфира масляной кислоты

, при отсутствии программного обеспечения определяют по
ГОСТ 31663.
Массовую долю молочного жира M, % в исследуемом жире вычисляют по формуле
где

- массовая доля метилового эфира масляной (или капроновой при работе с насадочными колонками) кислоты, определяемая по
ГОСТ 31663, %;

для масляной кислоты;

для капроновой кислоты.
Массовую долю молочного жира в шоколаде с добавлением молока и (или) продуктов его переработки X, %, вычисляют по формуле
где Y - массовая доля жира в шоколаде по
ГОСТ 5899, %;
M - массовая доля молочного жира в общем жире, %.
Вычисления проводят до второго десятичного знака с последующим округлением до первого десятичного знака.
За окончательный результат определения массовой доли молочного жира принимают среднеарифметическое двух параллельных определений, округленное до первого десятичного знака, если выполняется условие приемлемости:
где

и

- результаты двух параллельных определений, %;
r - предел повторяемости (сходимости) двух параллельных определений, приведенный в таблице 2, %.
Диапазон измерений массовой доли, % | Предел повторяемости (сходимости) r при n = 2, P = 0,95, % | Предел воспроизводимости R при m = 2, P = 0,95, % | Показатель точности (границы абсолютной погрешности)  , при P = 0,95 |
От 0 до 50 включ. | 0,5 | 0,8 | 0,6 |
8.4.2. Результат определения массовой доли молочного жира представляют в виде:

при P = 0,95,
где

- среднеарифметическое значение двух параллельных определений массовой доли молочного жира, %;

- значение абсолютной погрешности определения массовой доли молочного жира, приведенное в
таблице 2, %.