Главная // Актуальные документы // ГОСТ (Государственный стандарт)СПРАВКА
Источник публикации
М.: Стандартинформ, 2016
Примечание к документу
Документ включен в
Перечень международных и региональных (межгосударственных) стандартов, а в случае их отсутствия - национальных (государственных) стандартов, содержащих правила и методы исследований (испытаний) и измерений, в том числе правила отбора образцов, необходимые для применения и исполнения требований технического
регламента Таможенного союза "О безопасности машин и оборудования" (ТР ТС 010/2011) и осуществления оценки соответствия объектов технического регулирования (
Решение Коллегии Евразийской экономической комиссии от 09.03.2021 N 28).
Документ
введен в действие с 01.05.2017.
Название документа
"ГОСТ ISO 7096-2016. Межгосударственный стандарт. Машины землеройные. Лабораторная оценка вибрации сиденья оператора"
(введен в действие Приказом Росстандарта от 30.09.2016 N 1256-ст)
"ГОСТ ISO 7096-2016. Межгосударственный стандарт. Машины землеройные. Лабораторная оценка вибрации сиденья оператора"
(введен в действие Приказом Росстандарта от 30.09.2016 N 1256-ст)
агентства по техническому
регулированию и метрологии
от 30 сентября 2016 г. N 1256-ст
МЕЖГОСУДАРСТВЕННЫЙ СТАНДАРТ
МАШИНЫ ЗЕМЛЕРОЙНЫЕ
ЛАБОРАТОРНАЯ ОЦЕНКА ВИБРАЦИИ СИДЕНЬЯ ОПЕРАТОРА
Earth-moving machinery. Laboratory evaluation of operator
seat vibration
(ISO 7096:2000, UDT)
ГОСТ ISO 7096-2016
Дата введения
1 мая 2017 года
Цели, основные принципы и основной порядок проведения работ по межгосударственной стандартизации установлены
ГОСТ 1.0-2015 "Межгосударственная система стандартизации. Основные положения" и
ГОСТ 1.2-2015 "Межгосударственная система стандартизации. Стандарты межгосударственные, правила и рекомендации по межгосударственной стандартизации. Правила разработки, принятия, обновления и отмены"
1 ПОДГОТОВЛЕН Обществом с ограниченной ответственностью "ИЦ "ЦНИП СДМ" (ООО "ИЦ "ЦНИП СДМ") на основе собственного аутентичного перевода на русский язык международного стандарта, указанного в
пункте 5
2 ВНЕСЕН Межгосударственным Техническим комитетом по стандартизации МТК 267 "Строительно-дорожные машины и оборудование"
3 ПРИНЯТ Межгосударственным советом по стандартизации, метрологии и сертификации (протокол от 29 февраля 2016 г. N 85-П)
За принятие проголосовали:
Краткое наименование страны по МК (ИСО 3166) 004-97 | Код страны по МК (ИСО 3166) 004-97 | Сокращенное наименование национального органа по стандартизации |
Армения | AM | Минэкономики Республики Армения |
Беларусь | BY | Госстандарт Республики Беларусь |
Киргизия | KG | Кыргызстандарт |
Молдова | MD | Молдова-Стандарт |
Россия | RU | Росстандарт |
Таджикистан | TJ | Таджикстандарт |
4
Приказом Федерального агентства по техническому регулированию и метрологии от 30 сентября 2016 г. N 1256-ст межгосударственный стандарт ГОСТ ISO 7096-2016 введен в действие в качестве национального стандарта Российской Федерации с 1 мая 2017 г.
5 Настоящий стандарт идентичен международному стандарту ISO 7096:2000 "Машины землеройные. Лабораторная оценка вибрации сиденья оператора" ("Earth-moving machinery - Laboratory evaluation of operator seat vibration", IDT).
Сведения о соответствии ссылочных международных стандартов межгосударственным стандартам приведены в дополнительном
приложении ДА
6 Настоящий стандарт может быть использован при ежегодной актуализации перечня стандартов, содержащих правила и методы исследований (испытаний), а также стандартов, в результате применения которых на добровольной основе обеспечивается соблюдение требований технического
регламента Таможенного союза "О безопасности машин и оборудования"
7 ВВЕДЕН ВПЕРВЫЕ
Информация об изменениях к настоящему стандарту публикуется в ежегодном информационном указателе "Национальные стандарты" (по состоянию на 1 января текущего года), а текст изменений и поправок - в ежемесячном информационном указателе "Национальные стандарты". В случае пересмотра (замены) или отмены настоящего стандарта соответствующее уведомление будет опубликовано в ежемесячном информационном указателе "Национальные стандарты". Соответствующая информация, уведомление и тексты размещаются также в информационной системе общего пользования - на официальном сайте Федерального агентства по техническому регулированию и метрологии в сети Интернет (www.gost.ru)
1.1 Настоящий стандарт устанавливает в соответствии с ISO 10326-1 лабораторный метод измерения и оценки эффективности подвески сиденья в снижении вертикальной общей вибрации, передаваемой на оператора землеройных машин на частотах между 1 и 20 Гц. Настоящий стандарт определяет критерии приемки для применения сидений на различных машинах.
1.2 Настоящий стандарт применим к сиденьям оператора, используемым на землеройных машинах, определенных в ISO 6165.
1.3 Настоящий стандарт устанавливает входные спектральные классы, требуемые для нижеперечисленных землеройных машин. Каждый класс определяет группу машин со сходными вибрационными характеристиками:
- землевозы с жесткой рамой эксплуатационной массой более 4500 кг
<1>;
- землевозы с шарнирно-сочлененной рамой;
- скреперы без подвески осей или рамы
<2>;
- колесные погрузчики эксплуатационной массой более 4500 кг
<1>;
- грейдеры;
- колесные бульдозеры;
- уплотнители грунта (колесного типа);
- экскаваторы-погрузчики;
- гусеничные погрузчики;
- гусеничный бульдозер эксплуатационной массой не выше 50 000 кг
<1>,
<3>;
- мини-самосвалы эксплуатационной массой не выше 4500 кг
<1>;
- мини-погрузчики эксплуатационной массой не выше 4500 кг
<1>;
- погрузчики с бортовым поворотом эксплуатационной массой не выше 4500 кг <1>.
--------------------------------
<2> Для тракторных скреперов могут быть использованы сиденья с подвеской либо без подвески, или имеющие подвеску с повышенным демпфированием.
<3> Для гусеничных бульдозеров, эксплуатационной массой более чем 50 000 кг, требования к эффективности сиденья соответственно обеспечиваются типом подушки сиденья.
1.4 Нижеперечисленные машины во время работы передают на сиденье на частотах между 1 и 20 Гц достаточно низкую воздействующую вертикальную вибрацию, так что эти сиденья не требуют подвески для ослабления передаваемой вибрации:
- экскаваторы, в том числе шагающие и канатные экскаваторы
<4>;
- траншеекопатели;
- уплотняющие машины;
- невибрационные катки;
- дорожные фрезы;
- трубоукладчики;
- отделочные машины;
- вибрационные катки.
--------------------------------
<4> Для экскаваторов преобладающей является вибрация в продольном направлении (
X).
1.5 Испытания и критерии, определенные в настоящем стандарте, предназначены для сидений оператора, используемых в землеройных машинах обычных конструкций.
Примечание - Для машин с конструктивными особенностями, которые приводят к существенно отличающимся вибрационным характеристикам, могут применять другие испытания.
1.6 Не распространяется на вибрацию, которая воздействует на оператора не через сиденье, например воспринимаемая стопами ног от платформы, от педалей управления или кистями рук от рулевого колеса.
В настоящем стандарте использованы нормативные ссылки на следующие международные стандарты, для недатированных ссылок применяют последнее издание ссылочного документа:
ISO 2041:1990 Vibration and shock - Vocabulary (Вибрация и удар. Словарь)
ISO 2631-1:1997 Mechanical vibration and shock - Evaluation of human exposure to whole-body vibration - Part 1: General requirements (Вибрация и удар. Оценка воздействия на человека общей вибрации. Часть 1: Общие требования)
ISO 6016:1998 Earth-moving machinery - Methods of measuring the masses of whole machines, their equipment and components (Машины землеройные. Методы измерения масс машин в целом, их рабочего оборудования и узлов)
ISO 6165 Earth-moving machinery - Basic types - Identification and terms and definitions (Машины землеройные. Классификация. Термины и определения)
ISO 8041:1990 Human response to vibration - Measuring instrumentation (Чувствительность человека к вибрации. Приборы для измерения)
ISO 10326-1:1992 Mechanical vibration - Laboratory method for evaluating vehicle seat vibration - Part 1: Basic requirements (Вибрация. Лабораторный метод оценки вибрации сиденья транспортного средства. Часть 1: Основные требования)
ISO 13090-1:1998 Mechanical vibration and shock - Guidance on safety aspects of tests and experiments with people - Part 1: Exposure to whole-body mechanical vibration and repeated shock (Механическая вибрация и удар. Руководство по мерам безопасности при проведении испытаний и экспериментов с участием людей. Часть 1. Воздействие общей механической вибрации и повторяющихся ударов)
3. Термины, определения, обозначения и сокращения
3.1. Термины и определения
Для целей настоящего стандарта, термины и определения приведены в ISO 2041, а также применяются нижеперечисленные:
3.1.1 общая вибрация (whole-body vibration): Вибрация, целиком передаваемая на тело через ягодицы сидящего оператора.
3.1.2 входной спектральный класс (input spectral class): Машины, имеющие сходные характеристики транспортно-технологической вибрации в точке крепления сидения, сгруппированные в силу однообразий механических характеристик.
3.1.3
эксплуатационная масса (operating mass): Масса базовой машины и оператора (75 кг), стандартного и, если предусмотрено изготовителем, порожнего навесного оборудования, с полностью заправленными топливными баками и жидкостными системами до уровней, установленных заводом-изготовителем. [ISO 6016:1998, 3.2.1] |
3.1.4 сиденье оператора (operator seat): Та часть машины, которая предусмотрена для поддерживания ягодиц и спины сидящего оператора, включая любую систему подвески и другие предусмотренные механизмы (например, для регулировки положения сиденья).
3.1.5 частотный анализ (frequency analysis): Процесс получения количественной характеристики амплитуды вибрации как функции частоты.
3.1.6 период измерения (measuring period): Отрезок времени, в течение которого получают данные для анализа вибрации.
3.2. Обозначения и сокращения
Для целей настоящего стандарта применяются следующие обозначения и сокращения:
aP(fr) - некорректированное среднеквадратичное значение (RMS) измеренного вертикального ускорения на платформе на резонансной частоте.

,

- некоррелированные среднеквадратичные значения (RMS) заданного вертикального ускорения на платформе под сиденьем (см.
рисунок 3) между частотами
f1 и
f2, или
f3 и
f4.
aP12, aP34 - некоррелированные среднеквадратичные значения (RMS) измеренного вертикального ускорения на платформе между частотами f1 и f2, или f3 и f4.
aS(fr) - некорректированное среднеквадратичное значение (RMS) измеренного вертикального ускорения на диске, установленном на сидении на резонансной частоте.

,

- корректированные по частоте среднеквадратичные (RMS) заданного значения вертикального ускорения на платформе между частотами
f1 и
f2, или
f3 и
f4.
awP12 - корректированное по частоте среднеквадратичное значение (RMS) измеренного вертикального ускорения на платформе между частотами f1 и f2.
awS12 - корректированное по частоте среднеквадратичное значение (RMS) измеренного вертикального ускорения на диске, установленном на сидении, между частотами f1 и f2.
Be - разрешающая способность по полосе пропускания, Гц.
f - частота, Гц.
fr - резонансная частота.
GP(f) - измеренная спектральная плотность мощности (PSD) вертикальной вибрации на платформе (основание сиденья).

- заданная спектральная плотность мощности (PSD) вертикальной вибрации на платформе (основание сиденья).

- нижний предел заданной спектральной плотности мощности вертикальной вибрации на платформе (основании сиденья).

- верхний предел заданной спектральной плотности мощности вертикальной вибрации на платформе (основании сиденья).
H(fr) - коэффициент передачи на резонансе.
PSD - спектральная плотность мощности, выраженная в квадрате ускорения на единицу полосы пропускания (м/с2)2/Гц.
SEAT - коэффициент передачи сиденья.
Ts - время выборки.
4.1 Лабораторно моделируемая вертикальная вибрация машины, задаваемая входным спектральным классом, основана на характерных измеренных данных, полученных от машин в тяжелых, но типичных рабочих условиях. Для машин внутри класса этот входной спектральный класс представляет собой показательную огибающую, которая измерена при тяжелых условиях.
4.2 Для оценки сиденья применяются два критерия:
a) коэффициент передачи сиденья SEAT в соответствии с ISO 10326-1, 9.1, но с частотной коррекцией в соответствии с ISO 2631-1;
b) максимальный коэффициент передачи при испытаниях на демпфирование в соответствии с ISO 10326-1, 9.2.
4.3 Средства измерений должны быть в соответствии с ISO 8041 (прибор тип 1) и ISO 10326-1, разделы 4 и 5. Частотная коррекция должна включать применение ограничительных полосовых фильтров и быть в соответствии с ISO 2631-1.
4.4 Меры безопасности должны быть в соответствии с требованиями ISO 13090-1.
При динамических испытаниях, для того чтобы проверить ограничение хода подвески, должны быть в наличии все упругие ограничители или устройства, стандартно применяемые в модификациях выпускаемых сидений.
5. Условия и процедура испытания
Условия испытаний и процедура испытания должны быть в соответствии с требованиями ISO 10326-1, разделы 7 и 8.
5.1. Моделирование вибрации
См. ISO 10326-1, раздел 5.
Платформа с размерами, приблизительно соответствующими размерам рабочей площадки оператора землеройной машины, должна быть установлена на вибростенде, способном генерировать вибрацию вдоль вертикальной оси (см.
рисунок 1).
Примечание - В случае классов EM 1 и EM 2 вибратор должен быть способен моделировать синусоидальную вибрацию, имеющую амплитуду смещения, по крайней мере 7,5 см с частотой 2 Гц (см.
5.4.1).
Испытуемое сиденье оператора должно быть представителем серийно выпускаемых моделей в отношении конструктивных, статических и вибрационных характеристик, а также других особенностей, которые могут повлиять на результат вибрационных испытаний. Перед испытанием подвеска сиденья должна быть приработана в условиях, предусмотренных заводом-изготовителем. Если производитель не заявляет такие условия, то сиденье должно быть приработано в течение 5000 циклов, с последующими измерениями в течение 1000 циклов.
Для этих целей сиденье должно быть нагружено инерционной массой 75 кг и подкорректировано до массы, соответствующей инструкциям изготовителя. Сиденье и подвеска должны быть установлены на платформе вибростенда, а синусоидальная воздействующая вибрация с частотой, близкой к собственной частоте подвески, должна быть приложена к платформе. Эта воздействующая вибрация должна иметь достаточное наибольшее пиковое виброперемещение, для того чтобы вызвать перемещение подвески сиденья примерно на 75% своего хода. Добиться этого возможно при наибольшем пиковом виброперемещении платформы, составляющем примерно 40% хода подвески сиденья. Следует проявлять осторожность, чтобы гарантировать отсутствие перегрева амортизатора подвески во время обкатки, для чего допустимо принудительное охлаждение.
Сиденье считается прошедшим приработку, если значение коэффициента передачи в вертикальном направлении остается в пределах допуска 5% для трех последовательных измерений при условиях, упомянутых выше. Временной интервал между двумя измерениями должен быть полчаса или 1000 циклов (в зависимости от того, что меньше), каждый раз с приработанным сиденьем.
Сиденье должно быть отрегулировано под массу испытателя в соответствии с инструкциями изготовителя.
С сиденьями, у которых ход подвески не зависит от регулировки сиденья по высоте или массе испытателя, испытания должны быть проведены с регулировкой сиденья по центру хода подвески.
С сиденьями, у которых ход подвески зависит от регулировки сиденья по высоте или весу испытателя, испытания должны быть проведены с регулировкой в самом нижнем положении, обеспечивающем полный рабочий ход подвески, как установлено изготовителем сиденья.
Если наклон спинки регулируется, то она должна быть установлена приблизительно вертикально, с небольшим наклоном назад [приблизительно (10° +/- 5°)].
5.3. Испытатель и его положение
Испытания с моделируемой воздействующей вибрацией должны быть выполнены с участием двух испытателей. Легкий по весу испытатель должен иметь общую массу от 52 до 55 кг, из которых не более 5 кг приходится на утяжеляющий пояс вокруг талии. Тяжелый по весу испытатель должен иметь общую массу от 98 до 103 кг, из которых не более 8 кг может приходиться на утяжеляющий пояс вокруг талии.
Каждый испытатель должен принять естественную вертикальную позу на сиденье и сохранять ее на протяжении всего испытания (см.
рисунок 1).
Различия в позе испытателя могут быть причиной разницы в 10% между результатами испытаний. По этой причине были заданы на
рисунке 1 рекомендованные углы в коленях и лодыжках.
5.4. Воздействующая вибрация
5.4.1 Испытания с моделируемой воздействующей вибрацией для оценки коэффициента передачи сиденья SEAT
Для землеройных машин с целью определения коэффициента передачи сиденья SEAT настоящий стандарт устанавливает воздействующую вибрацию в девяти входных спектральных классах (EM 1 через EM 9).
В соответствии с 9.1.2 ISO 10326-1 коэффициент передачи сиденья SEAT вычисляется как
SEAT = awS12/awP12.
Для вычисления коэффициента SEAT, определяемого в соответствии с 8.1 ISO 10326-1, используют моделируемую воздействующую вибрацию, при этом частотная коррекция должна быть в соответствии с ISO 2631-1. Испытательное воздействие для каждого класса определяется спектральной плотностью мощности

вертикального (по оси
Z) ускорения вибрирующей платформы и некорректированными среднеквадратичными вертикальными ускорениями на этой платформе

.
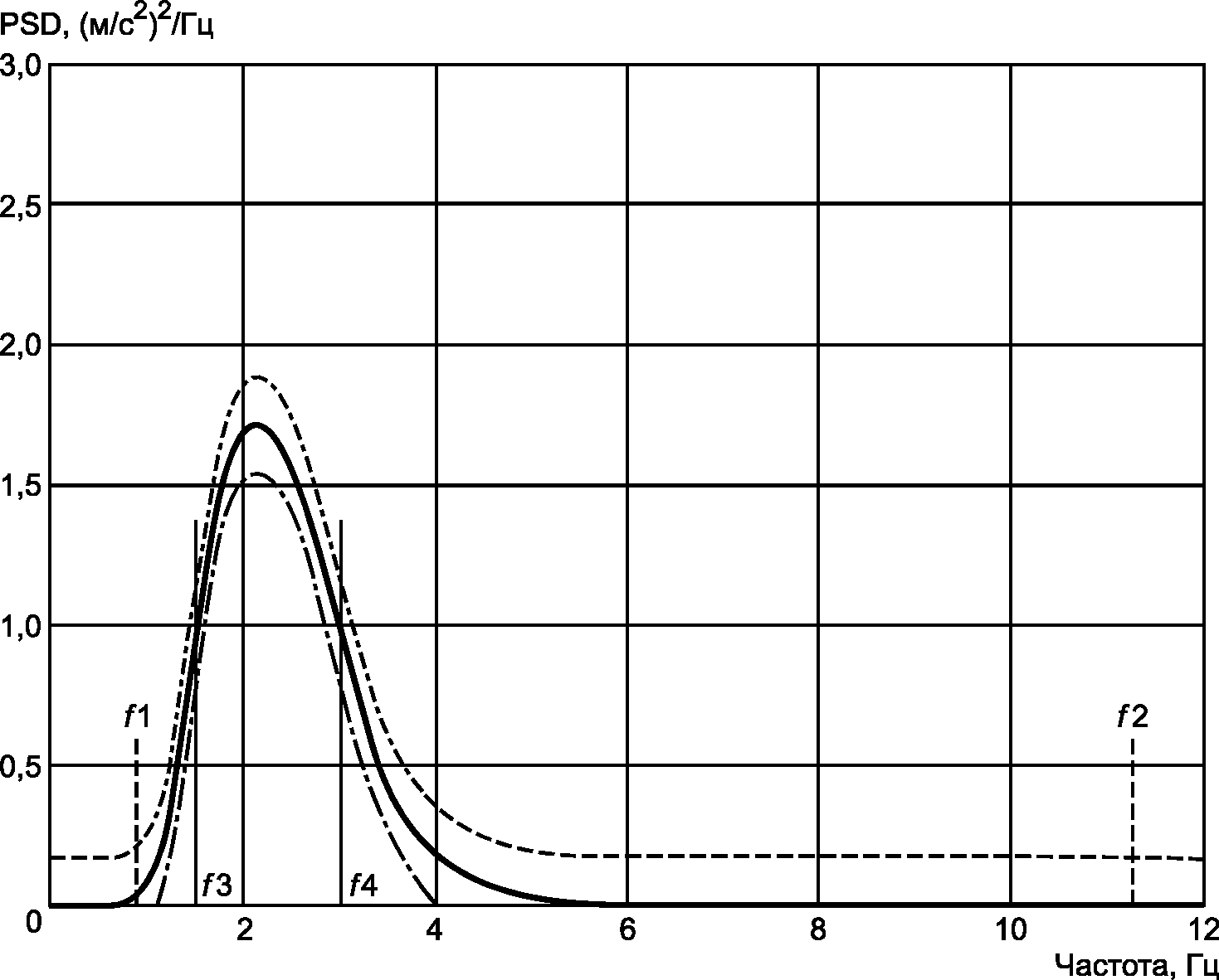
Вибрационные характеристики для каждого входного спектрального класса EM 1 - EM 9 показаны на
рисунках 2 -
10 соответственно. Уравнения для кривых спектральной плотности мощности ускорения представлены в
таблице 2. Кривые, определяемые этими уравнениями, являются заданными значениями вибрации, которая будет возникать на основании сиденья при испытаниях с моделируемой входной вибрацией по
5.5.2.
Воздействующая вибрация должна быть определена (рассчитана) без учета участков, лежащих вне диапазона частот (f1, f2).
Таблица 4 далее определяет входные испытательные значения для фактической входной испытательной PSD на основании сиденья.
Должно быть проведено по три испытания с каждым испытателем и для каждой воздействующей вибрации в соответствии с 9.1 ISO 10326-1.
Результативная продолжительность каждого испытания должна быть не менее 180 с.
Если ни одно из значений коэффициента SEAT, относящихся к одной конкретной конфигурации испытаний, не имеет отклонение более +/- 5% от среднеарифметического значения, то с точки зрения повторяемости три испытания, упомянутые выше, считаются действительными. В противном случае должны быть проведены серии из этих трех испытаний до удовлетворения указанному требованию.
Время выборки Ts и разрешающая способность Be должны удовлетворять нижеследующему:
2·Be·Ts > 140
Be < 0,5 Гц.
Примечание 1 - Класс EM 7 также используется для испытаний сидений сельскохозяйственных колесных тракторов класса I (см. ISO 5007).
Примечание 2 - Для получения требуемой PSD и среднеквадратичных характеристик на основании сиденья могут быть использованы для моделируемой испытательной воздействующей вибрации различные средства, включая двойные интеграторы, генераторы аналоговых сигналов и фильтры, а также генераторы цифровых сигналов с цифро-аналоговыми преобразователями.
5.4.2 Испытания для оценки демпфирования
Сиденье должно быть загружено инерционной массой 75 кг, а затем приведено в состояние синусоидальной вибрации в диапазоне от 0,5 до 2-кратного значения ожидаемой резонансной частоты подвески. Инертная масса, в случае необходимости, должна быть надежно закреплена на сиденье с целью предотвращения перемещения ее на нем или от падения с него.
Для того чтобы определить резонансную частоту, частотный диапазон должен быть исследован либо линейной частотной разверткой, либо с максимальным шагом 0,05 Гц. При любом способе частота должна изменяться от более низкой частоты (равной 0,5 ожидаемого значения резонансной частоты подвески) к верхней частоте (равной двукратному значению ожидаемой резонансной частоты подвески) и назад к нижней частоте. Частотное сканирование должно быть проведено в течение отрезка времени не менее 80 с при постоянном наибольшем пиковом виброперемещении платформы, равным 40% от полного хода подвески, указанного изготовителем сиденья, или 50 мм, в зависимости от того, что меньше.
Оценку демпфирования и расчет коэффициента передачи H(fr) в резонансе должны выполнять в соответствии с 9.2 ISO 10326-1.
Во всех случаях само испытание демпфирования на частоте резонанса должно быть выполнено с наибольшим пиковым виброперемещением платформы, составляющим 40% от полного хода подвески, даже если 40%-ное значение превысит 50 мм.
На резонансной частоте подвески сиденья кресла нужно проводить только одно измерение.
5.5. Допуски на воздействующую вибрацию
См. в 8.1 ISO 10326-1.
Входное воздействие на сиденье, как это определено в
5.4.1, может быть создано на стенде только приближенным способом.
Для того чтобы быть достоверными, входные испытания должны соответствовать нижеперечисленным требованиям.
5.5.1 Функция распределения
При условии, что значения ускорения на платформе должны отбираться с частотой как минимум 50 точечных данных в секунду и распределяться на амплитудные ячейки, не превышающие 20% от общего количества достоверных значений RMS ускорения, плотность распределения вероятности должна быть в пределах +/- 20% от идеальной Гауссовской функции между +/- 200% абсолютных достоверных значений RMS ускорения, исключая данные, превышающие +/- 350% абсолютных достоверных значений ускорения. Здесь под абсолютным достоверным значением RMS ускорения понимают значение

, указанное в
таблице 4.
5.5.2 Спектральная плотность мощности и значения RMS
Спектральная плотность мощности ускорения, измеренная на платформе, считается соответствующей

, при условии:
a) для f1 <= f <= f

,
где
если

если


;
b)

;
c)

.
Допуски на
GP(
f) показаны на
рисунках 2 -
10. Форма

определяется значениями и фильтрами, которые изложены в
таблице 2. Значения для
f1,
f2,
f3,
f4,

,

и

приведены в
таблице 4.
Сиденье, указанное для конкретного входного спектрального класса, должно соответствовать коэффициентам SEAT, приведенным в таблице 1.
Таблица 1
Коэффициент передачи сиденья по входным спектральным классам
Входной спектральный класс | Коэффициент SEAT |
EM 1 | < 1,1 |
EM 2 | < 0,9 |
EM 3 | < 1,0 |
EM 4 | < 1,1 |
EM 5 | < 0,7 |
EM 6 | < 0,7 |
EM 7 | < 0,6 |
EM 8 | < 0,8 |
EM 9 | < 0,9 |
Примечание - Хорошие (с точки зрения защиты от вибрации) сиденья вызывают небольшое увеличение вибрации в диапазоне низких частот, тогда как вибрации в более высоком диапазоне частот, в зависимости от системы подвески, значительно сокращаются. Испытания PSD для входных спектральных классов EM 1 и EM 4 ограничены низкочастотным диапазоном. Низкочастотный диапазон имеет большое значение из-за ударных нагрузок, которые требуют высокой эффективности демпфирования. Это приводит к коэффициентам SEAT, близким и чуть выше 1, при испытаниях эффективности сиденья.
6.2. Эффективность демпфирования
Коэффициент передачи на резонансе H(fr) = aS(fr)/aP(fr) вдоль вертикальной оси должен быть менее чем:
- 1,5 - для входных спектральных классов EM 1, EM 2, EM 3, EM 4 и EM 6;
- 2,0 - для входных спектральных классов EM 5, EM 7, EM 8 и EM 9.
Сиденья должны быть идентифицированы с использованием постоянной маркировки в хорошо видимом месте. Эта маркировка должна содержать следующую информацию:
- наименование изготовителя или его логотип;
- тип (например, номер модели);
- входной спектральный класс (или классы) (например, EM 1, EM 2 и т.д.) с последующим текстом: "в соответствии с ISO 7096".
Протокол испытаний должен содержать всю информацию, необходимую для понимания, интерпретации и использования результатов, полученных от применения настоящего стандарта.
Результаты сравнивают с приемочными критериями для сиденья и отражают в формах протоколов, приведенных на
рисунках 11 и
12.
Протокол испытаний должен содержать следующее:
a) наименование и адрес изготовителя сиденья;
b) модель сиденья, производственный и серийный номер;
c) дату испытания;
d) подробности приработки;
e) тип используемого диска - полужесткий, жесткий;
f) входной спектральный класс вибрации;
g) передаваемая вибрация на человека при испытаниях с моделированной воздействующей вибрацией:
- вибрацию на платформе awP12,
- вибрацию на диске сиденья awS12,
- масса испытателя, кг,
- коэффициент SEAT,
- рассчитанный коэффициент передачи на резонансе и частоту резонанса,
- фамилию лица ответственного за испытания,
- данные об испытательной лаборатории,
- место нанесения маркировки (см.
7).
Таблица 2
Задание входных спектральных классов
Входной спектральный класс | |
EM 1 | 2,82(HP24)2(LP24)2 |
EM 2 | 2,72(HP24)2(LP24)2 |
EM3 | 1,93(HP24)2(LP24)2 |
EM 4 | 0,60(HP24)2(LP24)2 |
EM 5 | 1,11(HP24)2(LP6)2 |
EM 6 | 0,79(HP12)2(LP12)2 |
EM 7 | 9,25(HP48)2(LP48)2 |
EM 8 | 1,45(HP24)2(LP12)2 |
EM 9 | 2,10(HP24)2(LP12)2 |
(LP6) = 1/(1 + S) (LP12) = 1/(1 + 1,414S + S2) (LP24) = 1/(1 + 2,613S + 3,414S2 + 2,613S3 + S4) (LP48) = 1/(1 + 5,126S + 13,137S2 + 21,846S3 + 25,688S4 + 21,846S5 + 13,137S6 + 5,126S7 + S8) (HP12) = S2/(1 + 1,414S + S2) (HP24) = S4/(1 + 2,613S + 3,414S2 + 2,613S3 + S4) (HP48) = S8/(1 + 5,126S + 13,137S2 + 21,846S3 + 25,688S4 + 21,846S5 + 13,137S6 + 5,126S7 + S8), где S = j f/ fс,  ; f - частота, Гц. fс - частота среза фильтра, Гц, как указано в таблице 3. |
Примечание - HP и LP обозначают фильтры Баттерворта, соответственно, верхних и нижних частот. |
Таблица 3
Входные спектральные классы | Частота среза фильтра fс, Гц |
Обозначения фильтров |
(LP6) | (LP12) | (LP24) | (LP48) | (HP12) | (HP24) | (HP48) |
EM 1 | - | - | 2,5 Гц | - | - | 1,5 Гц | - |
EM 2, EM 3, EM 4 | - | - | 3,0 Гц | - | - | 1,5 Гц | - |
EM 5 | 3,5 Гц | - | - | - | - | 1,5 Гц | - |
EM 6 | - | 9,0 Гц | - | - | 6,5 Гц | - | - |
EM 7 | - | - | - | 3,5 Гц | - | - | 3,0 Гц |
EM 8 | - | 3,0 Гц | - | - | - | 3,0 Гц | - |
EM 9 | - | 4,0 Гц | - | - | - | 3,5 Гц | - |
Примечание - HP и LP обозначают фильтры Баттерворта, соответственно, верхних и нижних частот. Число в обозначении фильтра указывает спад характеристики в децибелах на октаву. Приведенная выше таблица полностью определяет полосовой фильтр в показателях частоты среза и крутизны спада. |
Таблица 4
Характеристики моделируемой воздействующей вибрации
для различных типов машин
Тип машины | Входной спектральный класс | Заданная PSD вертикальной вибрации на платформе  (м/с 2) 2/Гц макс. | Частотный диапазон f1 - f2 | Частотный диапазон f3 - f4 |
f1 и f2, Гц | Некорректированные заданные значения RMS ускорения на платформе  , м/с 2 | Корректированные заданные RMS значения ускорения на платформе  , м/с 2 | f3 и f4, Гц | Некорректированные заданные значения RMS ускорения на платформе  , м/с 2 | Корректированные заданные RMS значения ускорения на платформе  , м/с 2 |
Землевоз с шарнирно-сочлененной или жесткой рамой > 4500 кг <a> | EM 1 | 2,21 | f1 = 0,89 f2 = 11,22 | 1,71 | 1,02 | f3 = 1,50 f4 = 2,50 | 1,39 | 0,75 |
Скрепер без подвески осей или рамы <b> | EM 2 | 2,41 | f1 = 0,89 f2 = 11,22 | 2,05 | 1,34 | f3 = 1,50 f4 = 3,00 | 1,75 | 1,04 |
Колесный погрузчик > 4500 кг <a> | EM 3 | 1,71 | f1 = 0,89 f2 = 11,22 | 1,73 | 1,13 | f3 = 1,50 f4 = 3,00 | 1,48 | 0,87 |
Грейдер | EM 4 | 0,53 | f1 = 0,89 f2 = 11,22 | 0,96 | 0,63 | f3 = 1,50 f4 = 3,00 | 0,82 | 0,49 |
Колесный бульдозер, уплотнитель грунта (колесного типа), экскаватор-погрузчик | EM 5 | 0,77 | f1 = 0,89 f2 = 17,78 | 1,94 | 1,68 | f3 = 1,50 f4 = 5,00 | 1,42 | 1,11 |
Гусеничный погрузчик, гусеничный бульдозер <c> <= 50 000 кг <a> | EM 6 | 0,34 | f1 = 0,89 f2 = 17,78 | 1,65 | 1,61 | f3 = 5,00 f4 = 12,00 | 1,39 | 1,42 |
Мини-самосвал <= 4 500 кг <a> | EM 7 | 5,55 | f1 = 0,89 f2 = 11,22 | 2,26 | 1,89 | f3 = 2,90 f4 = 3,60 | 1,82 | 1,51 |
Мини-погрузчик <= 4 500 кг <a> | EM 8 | 0,40 | f1 = 0,89 f2 = 17,78 | 1,05 | 1,96 | f3 = 2,50 f4 = 5,00 | 0,87 | 0,77 |
Погрузчики с бортовым поворотом <= 4 500 кг <a> | EM 9 | 0,78 | f1 = 0,89 f2 = 17,78 | 1,63 | 1,59 | f3 = 3,00 f4 = 6,00 | 1,33 | 1,31 |
Примечание - Данные значения получены на основе комплексных аналитических функций частотной коррекции (с учетом полосовой фильтрации), установленных в ISO 2631-1, приложение D, для шага по частоте  . Использование другого шага дискретизации или приближенных функций частотной коррекции приведет к несколько отличным результатам. |
<a> Эксплуатационная масса (см. ISO 6016). <b> Для скрепера с подвеской может быть использовано сиденье без подвески, с подвеской или с подвеской с высоким демпфированием. <c> Для гусеничных бульдозеров, массой более 50 000 кг, требования к эффективности сиденья соответствующим образом обеспечивается типом подушки сиденья. |

1 - спинка сиденья; 2 - подушка сиденья; 3 - диск
с закрепленным акселерометром на подушке сиденья S;
4 - подвеска сиденья; 5 - платформа; 6 - акселерометр,
установленный на поверхности платформы P; 7 - основание
сиденья
Должны быть приняты меры для регулировки углов в коленях и в лодыжках
Рисунок 1 - Положение испытателя
Рисунок 2 - PSD для входного спектрального класса EM 1
(землевоз с шарнирно-сочлененной или жесткой
рамой > 4 500 кг)
Рисунок 3 - PSD для входного спектрального класса EM 2
(скрепер без подвески осей или рамы)
Рисунок 4 - PSD для входного спектрального класса EM 3
(колесный погрузчик > 4 500 кг)
Рисунок 5 - PSD для входного спектрального класса EM 4
(грейдер)
Рисунок 6 - PSD для входного спектрального класса EM 5
[колесный бульдозер, уплотнитель грунта (колесного типа),
экскаватор-погрузчик]
Рисунок 7 - PSD для входного спектрального класса EM 6
(гусеничный землевоз, гусеничный погрузчик, гусеничный
бульдозер <= 50 000 кг)
Рисунок 8 - PSD для входного спектрального класса EM 7
(мини-самосвал <= 4 500 кг)
Рисунок 9 - PSD для входного спектрального класса EM 8
(мини-погрузчик <= 4 500 кг)
Рисунок 10 - PSD для входного спектрального класса EM 9
(погрузчик с бортовым поворотом <= 4 500 кг)
Испытуемое сиденье .................................... Входной спектральный класс ............................  = ...............................................   = ..............................................  |
Обозначения | | aP12, м/с2 | awP12, м/с2 | awS12, м/с2 | SEAT |
Легкий оператор ........................ кг Добавленная масса ........................ кг | 1-е испытание | | | | |
2-е испытание | | | | |
3-е испытание | | | | |
Среднеарифметическое значение | | | | |
Тяжелый оператор ......................... кг Добавленная масса ......................... кг | 1-е испытание | | | | |
2-е испытание | | | | |
3-е испытание | | | | |
Среднеарифметическое значение | | | | |
Требование, предъявленное к коэффициенту SEAT для спектрального класса ... выполнено: да/нет |
Рисунок 11 - Форма протокола испытаний для оценки
рассчитанного коэффициента передачи H(fr) (испытания
на демпфирования, вертикальная ось)
Испытуемое сиденье .................................... Наибольшее пиковое виброперемещение платформы ......... мм  .................................................. Гц  ..............................................   ..............................................   .................................... |
Рассчитанный коэффициент передачи, не более | Входной спектральный класс |
1,5 | EM 1, EM 2, EM 3, EM 4, EM 6 |
2,0 | EM 5, EM 7, EM 8, EM 9 |
Протокол испытаний может быть дополнен графиком передаточной функции. |
Рисунок 12 - Форма протокола испытаний с моделируемой
воздействующей вибрацией для оценки коэффициента SEAT
(вертикальная ось)
(справочное)
СВЕДЕНИЯ О СООТВЕТСТВИИ МЕЖДУНАРОДНЫХ СТАНДАРТОВ
ССЫЛОЧНЫМ МЕЖГОСУДАРСТВЕННЫМ СТАНДАРТАМ
Таблица ДА.1
Обозначение и наименование ссылочного международного стандарта | Степень соответствия | Обозначение и наименование соответствующего межгосударственного стандарта |
ISO 2041:1990 Вибрация и удар. Словарь | - | |
ISO 2631-1:1997 Вибрация и удар. Оценка воздействия на человека общей вибрации. Часть 1. Общие требования | MOD | ГОСТ 31191.1-2004 Вибрация и удар. Измерение общей вибрации и оценка ее воздействия на человека. Часть 1. Общие требования |
ISO 6016:1998 Машины землеройные. Методы измерения масс машин в целом, их рабочего оборудования и узлов | IDT | ГОСТ 27922-88 Машины землеройные. Методы измерения масс машин в целом, рабочего оборудования и составных частей |
ISO 6165 Машины землеройные. Классификация. Термины и определения | - | |
ISO 8041:1990 Чувствительность человека к вибрации. Приборы для измерения | IDT | |
ISO 10326-1:1992 Вибрация. Лабораторный метод оценки вибрации сиденья транспортного средства. Часть 1. Основные требования | - | |
ISO 13090-1:1998 Механическая вибрация и удар. Руководство по мерам безопасности при проведении испытаний и экспериментов с участием людей. Часть 1. Воздействие общей механической вибрации и повторяющихся ударов | MOD | ГОСТ 31194.1-2004 Вибрация и удар. Меры безопасности при проведении испытаний и экспериментов с участием людей. Общие требования |
<*> Соответствующий межгосударственный стандарт отсутствует. До его утверждения рекомендуется использовать перевод на русский язык данного международного стандарта. Перевод данного международного стандарта находится в Федеральном информационном фонде технических регламентов и стандартов. Примечание - В настоящей таблице использованы следующие условные обозначения степени соответствия стандартов: - MOD - модифицированные стандарты; - IDT - идентичные стандарты. |