Главная // Актуальные документы // ГОСТ (Государственный стандарт)
СПРАВКА
Источник публикации
М.: Стандартинформ, 2015
Примечание к документу
Документ введен в действие с 1 января 2017 года.
Название документа
"ГОСТ ISO 7051-2014. Межгосударственный стандарт. Винты самонарезающие с полупотайной головкой и крестообразным шлицем"
(введен в действие Приказом Росстандарта от 10.06.2015 N 611-ст)

"ГОСТ ISO 7051-2014. Межгосударственный стандарт. Винты самонарезающие с полупотайной головкой и крестообразным шлицем"
(введен в действие Приказом Росстандарта от 10.06.2015 N 611-ст)


Содержание


Введен в действие
Приказом Федерального
агентства по техническому
регулированию и метрологии
от 10 июня 2015 г. N 611-ст
МЕЖГОСУДАРСТВЕННЫЙ СТАНДАРТ
ВИНТЫ САМОНАРЕЗАЮЩИЕ С ПОЛУПОТАЙНОЙ ГОЛОВКОЙ
И КРЕСТООБРАЗНЫМ ШЛИЦЕМ
Cross-recessed countersunk head tapping screws
(ISO 7051:2011, IDT)
ГОСТ ISO 7051-2014
МКС 21.060.10
Дата введения
1 января 2017 года
Предисловие
Цели, основные принципы и основной порядок проведения работ по межгосударственной стандартизации установлены ГОСТ 1.0-92 "Межгосударственная система стандартизации. Основные положения" и ГОСТ 1.2-2009 "Межгосударственная система стандартизации. Стандарты межгосударственные, правила и рекомендации по межгосударственной стандартизации. Правила разработки, принятия, применения, обновления и отмены"
Сведения о стандарте
1 ПОДГОТОВЛЕН Федеральным государственным унитарным предприятием "Всероссийский научно-исследовательский институт стандартизации и сертификации в машиностроении" (ВНИИНМАШ) на основе собственного аутентичного перевода на русский язык англоязычной версии стандарта, указанного в пункте 5
2 ВНЕСЕН Техническим комитетом по стандартизации ТК 229 "Крепежные изделия"
3 ПРИНЯТ Межгосударственным советом по стандартизации, метрологии и сертификации (протокол от 20 октября 2014 г. N 71-П)
За принятие проголосовали:
Краткое наименование страны по
МК (ИСО 3166) 004-97
Код страны по
МК (ИСО 3166) 004-97
Сокращенное наименование национального органа по стандартизации
Азербайджан
AZ
Азстандарт
Армения
AM
Минэкономики Республики Армения
Беларусь
BY
Госстандарт Республики Беларусь
Грузия
GE
Грузстандарт
Казахстан
KZ
Госстандарт Республики Казахстан
Киргизия
KG
Кыргызстандарт
Молдова
MD
Молдова-Стандарт
Россия
RU
Росстандарт
Таджикистан
TJ
Таджикстандарт
Туркменистан
TM
Главгосслужба "Туркменстандартлары"
Узбекистан
UZ
Узстандарт
Украина
UA
Минэкономразвития Украины
4 Приказом Федерального агентства по техническому регулированию и метрологии от 10 июня 2015 г. N 611-ст межгосударственный стандарт ГОСТ ISO 7051-2014 введен в действие в качестве национального стандарта Российской Федерации с 1 января 2017 г.
5 Настоящий стандарт идентичен международному стандарту ISO 7051:2011 Cross-recessed countersunk (oval) head tapping screws (Винты самонарезающие с полупотайной головкой (овальной) и крестообразным шлицем).
Международный стандарт разработан подкомитетом ISO/ТС 2/SC 13 "Крепежные изделия с неметрической резьбой" технического комитета по стандартизации ISO/ТС 2 "Крепежные изделия" Международной организации по стандартизации (ISO).
Перевод с английского языка (en).
Сведения о соответствии межгосударственных стандартов ссылочным международным стандартам приведены в дополнительном приложении ДА.
Степень соответствия - идентичная (IDT)
6 ВВЕДЕН ВПЕРВЫЕ
Информация об изменениях к настоящему стандарту публикуется в ежегодном информационном указателе "Национальные стандарты", а текст изменений и поправок - в ежемесячном информационном указателях "Национальные стандарты". В случае пересмотра (замены) или отмены настоящего стандарта соответствующее уведомление будет опубликовано в ежемесячном информационном указателе "Национальные стандарты". Соответствующая информация, уведомление и тексты размещаются также в информационной системе общего пользования - на официальном сайте Федерального агентства по техническому регулированию и метрологии в сети Интернет
1. Область применения
Настоящий стандарт устанавливает характеристики самонарезающих винтов с полупотайной головкой и крестообразным шлицем с резьбой от ST 2,2 до ST 9,5 включительно.
2. Нормативные ссылки
Для применения настоящего стандарта необходимы следующие ссылочные документы. Для датированных ссылок применяют только указанное издание ссылочного документа.
ISO 225:2010 Fasteners - Bolts, screws, studs and nuts - Symbols and descriptions of dimensions (Изделия крепежные. Болты, винты, шпильки и гайки. Символы и обозначения размеров)
ISO 1478:1999 Tapping screws thread (Резьба самонарезающих винтов)
ISO 2702:2011 Heat-treated steel tapping screws - Mechanical properties (Винты самонарезающие стальные термообработанные. Механические свойства)
ISO 3269:2000 Fasteners - Acceptance inspection (Изделия крепежные. Приемочный контроль)
ISO 3506-4:2009 Mechanical properties of corrosion-resistant stainless steel fasteners - Part 4: Tapping screws (Механические свойства крепежных изделий из коррозионно-стойкой нержавеющей стали. Часть 4. Самонарезающие винты)
ISO 4042:1999 Fasteners - Electroplated coatings (Изделия крепежные. Электролитические покрытия)
ISO 4757:1983 Cross recesses for screws (Шлицы крестообразные для винтов)
ISO 4759-1:2000 Tolerances for fasteners - Part 1: Bolts, screws, studs and nuts - Product grades A, B and C (Изделия крепежные. Допуски. Часть 1. Болты, винты, шпильки и гайки. Классы точности A, B и C)
ISO 7721:1983 Countersunk head screws - Head configuration and gauging (Винты с потайной головкой. Конструкция головки и калибры для контроля)
ISO 7721-2:1990 Countersunk flat head screws - Part 2: Penetration depth of cross recesses (Винты с потайной головкой. Часть 2. Глубина вхождения крестообразного шлица)
ISO 8992:2005 Fasteners - General requirements for bolts, screws, studs and nuts (Изделия крепежные. Общие требования для болтов, винтов, шпилек и гаек)
ISO 10683:2000 Fasteners - Non-electrolytically applied zinc flake coatings (Изделия крепежные. Неэлектролитические цинк-ламельные покрытия)
ISO 16048:2003 Passivation of corrosion-resistant stainless-steel fasteners (Пассивация крепежных изделий из коррозионно-стойкой нержавеющей стали)
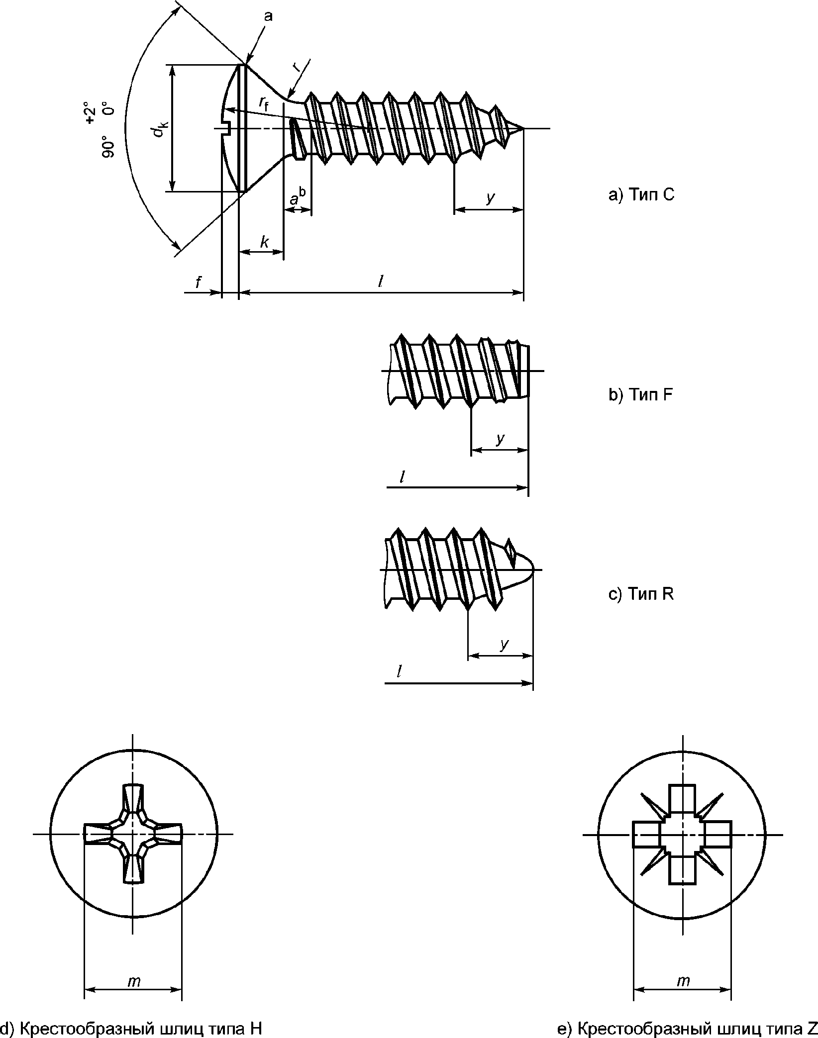
3. Размеры
Размеры винтов указаны на рисунке 1 и в таблице 1.
Символы и обозначения размеров по ISO 225.
--------------------------------
<a> Кромка скругленная или прямая.
<b> Размер a измеряют от головки до первого полного витка резьбы.
Рисунок 1 - Винт самонарезающий с полупотайной головкой
и крестообразным шлицем
Таблица 1
Размеры
В миллиметрах
4. Технические требования и ссылочные стандарты
Технические требования в соответствии с таблицей 2.
Таблица 2
Технические требования и ссылочные стандарты
Материал
Сталь, в соответствии с ISO 2702
Коррозионно-стойкая сталь
Общие требования
ISO 8992
Резьба
ISO 1478
Крестообразный шлиц
ISO 4757, ISO 7721-2
Механические свойства
Марка стали/класс твердости
-
А2-20Н, А4-20Н, А5-20Н
Обозначение стандарта
ISO 2702
ISO 3506-4
Допуски
Класс точности
A
Обозначение стандарта
ISO 4759-1
Отделка - покрытие
Без отделки/покрытия
Требования к электролитическим покрытиям по ISO 4042
Требования к неэлектролитическим цинк-ламельным покрытиям по ISO 10683
Дополнительные требования, другая отделка или другие покрытия должны быть согласованы между поставщиком и заказчиком.
Требования к пассивации по ISO 16048
Приемка
Приемочный контроль по ISO 3269
5. Обозначение
Пример 1 - Винт самонарезающий с полупотайной головкой и крестообразным шлицем с размером резьбы ST3,5, номинальной длиной l = 16 мм, изготовленный из стали (St) в соответствии с ISO 2702, со скругленным концом (тип R) и крестообразным шлицем типа Z обозначают следующим образом:
Винт самонарезающий ГОСТ ISO 7051-ST3,5 x 16-St-R-Z
Пример 2 - Винт самонарезающий с полупотайной головкой и крестообразным шлицем с размером резьбы ST3,5, номинальной длиной l = 16 мм, изготовленный из коррозионно-стойкой стали (А4-20Н) в соответствии с ISO 3506-4, со скругленным концом (тип R) и крестообразным шлицем типа H обозначают следующим образом:
Винт самонарезающий ГОСТ ISO 7051-ST3,5 x 16-А4-20Н-R-H
Приложение ДА
(справочное)
СВЕДЕНИЯ О СООТВЕТСТВИИ МЕЖГОСУДАРСТВЕННЫХ СТАНДАРТОВ
ССЫЛОЧНЫМ МЕЖДУНАРОДНЫМ СТАНДАРТАМ
Таблица ДА.1
Сведения о соответствии межгосударственных стандартов
ссылочным международным стандартам
Обозначение ссылочного международного стандарта
Степень соответствия
Обозначение и наименование межгосударственного стандарта
ISO 225:2010 Изделия крепежные. Болты, винты, шпильки и гайки. Символы и обозначения размеров
-
ISO 1478:1999 Резьба самонарезающих винтов
IDT
ГОСТ ISO 1478 <1> Резьба самонарезающих винтов
ISO 2702:2011 Винты самонарезающие, стальные, термообработанные. Механические свойства
IDT
ГОСТ ISO 2702 <2> Винты самонарезающие стальные термообработанные. Механические свойства
ISO 3269:2000 Изделия крепежные. Приемочный контроль
IDT
ГОСТ ISO 3269 <3> Изделия крепежные. Приемочный контроль
ISO 3506-4:2009 Механические свойства крепежных изделий из коррозионно-стойкой нержавеющей стали. Часть 4. Самонарезающие винты
IDT
ГОСТ ISO 3506-4-2014 Механические свойства крепежных изделий из коррозионно-стойкой нержавеющей стали. Часть 4. Самонарезающие винты
ISO 4042:1999 Изделия крепежные. Электролитические покрытия
IDT
ГОСТ ISO 4042 <4> Изделия крепежные. Электролитические покрытия
ISO 4757:1983 Шлицы крестообразные для винтов
NEQ
ГОСТ 10753-86 Шлицы крестообразные для винтов и шурупов. Размеры и методы контроля
ISO 4759-1:2000 Изделия крепежные. Допуски. Часть 1. Болты, винты, шпильки и гайки. Классы точности A, B и C
IDT
ГОСТ ISO 4759-1 <5> Изделия крепежные. Допуски. Часть 1. Болты, винты, шпильки и гайки. Классы точности A, B и C
ISO 7721:1983 Винты с потайной головкой. Конструкция головки и калибры для контроля
-
ISO 7721-2:1990 Винты с потайной головкой. Часть 2. Глубина вхождения крестообразного шлица
-
ISO 8992:2005 Изделия крепежные. Общие требования для болтов, винтов, шпилек и гаек
IDT
ГОСТ ISO 8992 <8> Изделия крепежные. Общие требования для болтов, винтов, шпилек и гаек
--------------------------------
ИС МЕГАНОРМ: примечание.
ГОСТ Р ИСО 1478-93 утратил силу с 1 января 2018 года в связи с введением в действие ГОСТ ISO 1478-2015 (Приказ Росстандарта от 25.05.2016 N 397-ст).
<1> Межгосударственный стандарт в процессе разработки. На территории Российской Федерации действует ГОСТ Р ИСО 1478-93 (ISO 1478:1993, IDT).
<2> Межгосударственный стандарт в процессе разработки. На территории Российской Федерации действует ГОСТ Р ИСО 2702-2009 (ISO 2702:1992, IDT).
<3> Межгосударственный стандарт в процессе разработки. На территории Российской Федерации действует ГОСТ Р ИСО 3269-2009 (ISO 3269:2000, IDT).
<4> Межгосударственный стандарт в процессе разработки. На территории Российской Федерации действует ГОСТ Р ИСО 4042-2009 (ISO 4042:1999, IDT).
<5> Межгосударственный стандарт в процессе разработки. На территории Российской Федерации действует ГОСТ Р ИСО 4759-3-2009 (ISO 4759-3:2000, IDT).
<6> На территории Российской Федерации действует ГОСТ Р ИСО 7721-2011 (ISO 7721:1983, IDT).
<7> На территории Российской Федерации действует ГОСТ Р ИСО 7721-2-2011 (ISO 7721-2:1990, IDT).
<8> Межгосударственный стандарт в процессе разработки. На территории Российской Федерации действует ГОСТ Р ИСО 8992-2011 (ISO 8992:2005, IDT).
Окончание таблицы ДА.1
Обозначение ссылочного международного стандарта
Степень соответствия
Обозначение и наименование межгосударственного стандарта
ISO 10683:2000 Изделия крепежные. Неэлектролитические цинк-ламельные покрытия
-
ISO 16048:2003 Пассивация крепежных изделий из коррозионно-стойкой нержавеющей стали
IDT
ГОСТ ISO 16048-2014 Пассивация крепежных изделий из коррозионно-стойкой нержавеющей стали
<*> Соответствующий межгосударственный стандарт отсутствует. До его принятия рекомендуется использовать перевод на русский язык данного международного стандарта или гармонизированный с ним национальный (государственный) стандарт страны, на территории которой применяется настоящий стандарт. Информация о наличии перевода данного международного стандарта в национальном фонде стандартов или в ином месте, а также информация о действии на территории страны соответствующего национального (государственного) стандарта может быть приведена в национальных информационных данных, дополняющих настоящий стандарт.
Примечание - В настоящей таблице использованы следующие условные обозначения степени соответствия:
- IDT - идентичные стандарты;
- NEQ - неэквивалентные стандарты.
--------------------------------
<1> На территории Российской Федерации действует ГОСТ Р ИСО 10683-2013 (ИСО 10683:2000, IDT).