Главная // Актуальные документы // ГОСТ (Государственный стандарт)СПРАВКА
Источник публикации
М.: Стандартинформ, 2016
Примечание к документу
Документ включен в
Перечень международных и региональных (межгосударственных) стандартов, а в случае их отсутствия - национальных (государственных) стандартов, содержащих правила и методы исследований (испытаний) и измерений, в том числе правила отбора образцов, необходимые для применения и исполнения требований технического
регламента Таможенного союза "О безопасности низковольтного оборудования" (ТР ТС 004/2011) и осуществления оценки соответствия объектов технического регулирования (
Решение Коллегии Евразийской экономической комиссии от 11.05.2023 N 55).
Документ включен в
Перечень стандартов, содержащих правила и методы исследований (испытаний) и измерений, в том числе правила отбора образцов, необходимые для применения и исполнения требований технического
регламента Таможенного союза "О безопасности низковольтного оборудования" (ТР ТС 004/2011) и осуществления оценки (подтверждения) соответствия продукции (
Решение Комиссии Таможенного союза от 16.08.2011 N 768).
Текст данного документа приведен с учетом
поправки, опубликованной в "ИУС", N 7, 2019.
Документ
введен в действие с 1 июля 2017 года.
Взамен ГОСТ IEC 60811-3-1-2011 в части раздела 8 "Испытание изоляции и оболочек под давлением при высокой температуре".
Название документа
"ГОСТ IEC 60811-508-2015. Межгосударственный стандарт. Кабели электрические и волоконно-оптические. Методы испытаний неметаллических материалов. Часть 508. Механические испытания. Испытание изоляции и оболочек под давлением при высокой температуре"
(введен в действие Приказом Росстандарта от 30.09.2016 N 1289-ст)
"ГОСТ IEC 60811-508-2015. Межгосударственный стандарт. Кабели электрические и волоконно-оптические. Методы испытаний неметаллических материалов. Часть 508. Механические испытания. Испытание изоляции и оболочек под давлением при высокой температуре"
(введен в действие Приказом Росстандарта от 30.09.2016 N 1289-ст)
агентства по техническому
регулированию и метрологии
от 30 сентября 2016 г. N 1289-ст
МЕЖГОСУДАРСТВЕННЫЙ СТАНДАРТ
КАБЕЛИ ЭЛЕКТРИЧЕСКИЕ И ВОЛОКОННО-ОПТИЧЕСКИЕ
МЕТОДЫ ИСПЫТАНИЙ НЕМЕТАЛЛИЧЕСКИХ МАТЕРИАЛОВ
ЧАСТЬ 508
МЕХАНИЧЕСКИЕ ИСПЫТАНИЯ. ИСПЫТАНИЕ ИЗОЛЯЦИИ И ОБОЛОЧЕК
ПОД ДАВЛЕНИЕМ ПРИ ВЫСОКОЙ ТЕМПЕРАТУРЕ
Electric and optical fibre cables. Test methods
for non-metallic materials. Part 508. Mechanical tests.
Pressure test at high temperature for insulation
and sheaths
(IEC 60811-508:2012, IDT)
ГОСТ IEC 60811-508-2015
Дата введения
1 июля 2017 года
Цели, основные принципы и основной порядок проведения работ по межгосударственной стандартизации установлены в
ГОСТ 1.0-2015 "Межгосударственная система стандартизации. Основные положения" и
ГОСТ 1.2-2015 "Межгосударственная система стандартизации. Стандарты межгосударственные, правила и рекомендации по межгосударственной стандартизации. Правила разработки, принятия, обновления и отмены"
1 ПОДГОТОВЛЕН Открытым акционерным обществом "Всероссийский научно-исследовательский, проектно-конструкторский и технологический институт кабельной промышленности" (ОАО "ВНИИКП") на основе собственного перевода на русский язык англоязычной версии стандарта, указанного в
пункте 5
2 ВНЕСЕН Межгосударственным техническим комитетом по стандартизации МТК 46 "Кабельные изделия"
3 ПРИНЯТ Межгосударственным советом по стандартизации, метрологии и сертификации (протокол от 27 октября 2015 г. N 81-П)
За принятие проголосовали:
Краткое наименование страны по МК (ИСО 3166) 004-97 | Код страны по МК (ИСО 3166) 004-97 | Сокращенное наименование национального органа по стандартизации |
Армения | AM | Минэкономики Республики Армения |
Беларусь | BY | Госстандарт Республики Беларусь |
Казахстан | KZ | Госстандарт Республики Казахстан |
Киргизия | KG | Кыргызстандарт |
Россия | RU | Росстандарт |
Таджикистан | TJ | Таджикстандарт |
4
Приказом Федерального агентства по техническому регулированию и метрологии от 30 сентября 2016 г. N 1289-ст межгосударственный стандарт ГОСТ IEC 60811-508-2015 введен в действие в качестве национального стандарта Российской Федерации с 1 июля 2017 г.
5 Настоящий стандарт идентичен международному стандарту IEC 60811-508:2012 "Кабели электрические и волоконно-оптические. Методы испытаний неметаллических материалов. Часть 508. Механические испытания. Испытание изоляции и оболочек под давлением при высокой температуре" ("Electric and optical fibre cables - Test methods for non-metallic materials - Part 508: Mechanical tests - Pressure test at high temperature for insulation and sheaths", IDT).
Международный стандарт IEC 60811-508:2012 разработан Техническим комитетом TC 20 "Электрические кабели" Международной электротехнической комиссии (IEC).
Международный стандарт IEC 60811-508:2012 отменяет и заменяет раздел 8 IEC 60811-3-1:1985.
Официальные экземпляры международного стандарта, на основе которого подготовлен настоящий межгосударственный стандарт, и международных стандартов, на которые даны ссылки, имеются в Федеральном информационном фонде стандартов.
При применении настоящего стандарта рекомендуется использовать вместо ссылочных международных стандартов соответствующие им межгосударственные стандарты, сведения о которых приведены в дополнительном
приложении ДА
6 ВЗАМЕН ГОСТ IEC 60811-3-1-2011 в части раздела 8 "Испытание изоляции и оболочек под давлением при высокой температуре"
7 Некоторые элементы настоящего стандарта могут быть объектом патентного права. IEC не несет ответственность за установление подлинности каких-либо или всех таких патентных прав
Информация об изменениях к настоящему стандарту публикуется в ежегодном информационном указателе "Национальные стандарты", а текст изменений и поправок - в ежемесячном информационном указателе "Национальные стандарты". В случае пересмотра (замены) или отмены настоящего стандарта соответствующее уведомление будет опубликовано в ежемесячном информационном указателе "Национальные стандарты". Соответствующая информация, уведомление и тексты размещаются также в информационной системе общего пользования - на официальном сайте Федерального агентства по техническому регулированию и метрологии в сети Интернет (www.gost.ru)
В стандартах серии IEC 60811 приведены методы испытаний неметаллических материалов кабелей всех типов. На данные методы испытаний ссылаются стандарты, устанавливающие требования к конструкции и материалам кабелей.
Примечания
1 Неметаллические материалы обычно используют в кабелях для изоляции, оболочки, подложки, заполнения или лент.
2 Данные методы испытаний считаются основными, они разработаны и используются в течение многих лет в основном для материалов кабелей, предназначенных для передачи электроэнергии. Также они приняты и широко используются для других кабелей, в частности для волоконно-оптических кабелей, кабелей связи, управления, судовых кабелей и кабелей для береговых установок.
Настоящий стандарт устанавливает метод испытаний термопластичных материалов изоляции и оболочек под давлением при высокой температуре.
Примечание 1 - Настоящий метод предназначен главным образом для термопластичных материалов, но может использоваться для сшитых материалов в случае особого требования в стандарте или технических условиях на кабели конкретных типов.
Примечание 2 - Настоящий метод испытаний не рекомендован для образцов толщиной менее 0,7 мм.
Для применения настоящего стандарта необходимы следующие ссылочные документы. Для датированных ссылок применяют только указанное издание ссылочного документа, для недатированных ссылок применяют последнее издание ссылочного документа (включая все его изменения):
IEC 60811-100:2012 Electric and optical fibre cables - Test methods for non-metallic materials - Part 100: General (Кабели электрические и волоконно-оптические. Методы испытаний неметаллических материалов. Часть 100. Общие положения)
IEC 60811-201 Electric and optical fibre cables - Test methods for non-metallic materials - Part 201: General tests - Measurement of insulation thickness (Кабели электрические и волоконно-оптические. Методы испытаний неметаллических материалов. Часть 201. Общие испытания. Измерение толщины изоляции)
IEC 60811-202 Electric and optical fibre cables - Test methods for non-metallic materials - Part 202: General tests - Measurement of thickness of non-metallic sheaths (Кабели электрические и волоконно-оптические. Методы испытаний неметаллических материалов. Часть 202. Общие испытания. Измерение толщины неметаллической оболочки)
В настоящем стандарте применены термины по IEC 60811-100.
Настоящий стандарт следует применять вместе с IEC 60811-100.
В настоящем стандарте приведен метод испытаний под давлением при высокой температуре, которые проводят на композициях изоляции и оболочки.
Все испытания следует проводить не ранее чем через 16 ч после экструзии композиций изоляции или оболочки.
4.2. Испытательное оборудование
Испытание проводят в термостате. В термостате должна быть естественная циркуляция воздуха.
Примечание 1 - Принудительной или непрерывной циркуляции воздуха не требуется. Термостаты, оснащенные перемешивающими механизмами, могут вызывать вибрацию.
В термостат не должно входить устройств, способных вызывать вибрацию, а также открытых нагревательных элементов. Температура воздуха должна непрерывно поддерживаться на уровне, указанном в стандарте или технических условиях на кабели конкретных типов. Термостат должен быть способен функционировать с предельным отклонением +/- 2 К от установленной температуры испытаний.
Примечание 2 - Крайне важно обеспечить управление изменением температуры в пределах +/- 2 К. Особенно это важно, если испытуемый материал является термопластичным, имеющим точное значение температуры плавления (например, некоторые полимеры этилена), т.к. небольшое превышение температуры над установленным значением может привести к значительному увеличению глубины продавливания.
При функционировании термостата его располагают в положении, при котором отсутствует вибрация.
4.2.2 Устройство для продавливания образца
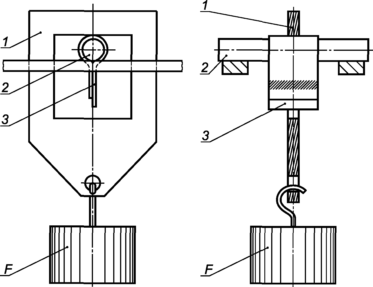
Используют устройство, указанное на рисунке 1. Оно состоит из прямоугольного ножа с режущей кромкой шириной (0,70 +/- 0,01) мм, который надавливает на образец под воздействием приложенной силы.
1 - испытательная рамка; 2 - образец;
3a, 3b, 3c - опоры; 4 - груз
Рисунок 1 - Устройство для продавливания образца
4.3.1 Отбор и подготовка образцов
От каждой жилы, предназначенной для испытания, отбирают отрезок от 250 до 500 мм. От него отбирают три рядом расположенных образца длиной от 50 до 100 мм.
С каждого образца жилы механическим способом удаляют все покрытия, включая электропроводящий слой. В соответствии с типом кабеля испытуемый образец может иметь круглое, плоское или секторное сечение и длину (45 +/- 5) мм.
Жилы двух- или многожильных плоских кабелей без оболочки не разделяют, за исключением случая, когда площадь поперечного сечения отдельной токопроводящей жилы более или равна 10 мм2. В этом случае испытывают образец, отобранный от изоляции отдельной жилы.
Минимальная толщина испытуемой изоляции должна быть 0,7 мм.
Примечание - Можно испытывать изоляцию и меньшей толщиной (до 0,4 мм) при определенных обстоятельствах, но делать это не рекомендуется. Если испытания проводят на образцах толщиной менее 0,7 мм, то это указывают в протоколе испытаний.
4.3.2 Проведение испытания
4.3.2.1 Крепление испытуемых образцов
Окончательный вид испытуемый образец приобретает в соответствии с
4.3.1.
Круглые жилы располагают так, как показано на
рисунке 1 (3
a).
Плоский кабель без оболочки располагают на его плоской/главной стороне.
Секторные жилы располагают на опоре соответствующего типа, как показано на
рисунке 1 (3
b и 3
c).
Все образцы закрепляют на опоре таким образом, чтобы они не меняли своего положения во время испытания. Особое внимание следует уделить тому, чтобы образцы не изгибались под давлением ножа.
4.3.2.2 Приложение усилия
Усилие, рассчитанное в соответствии с
приложением A, прикладывают в направлении, перпендикулярном оси жилы.
Нож также должен быть перпендикулярен соответствующей оси.
4.3.2.3 Протокол в термостате
Нож с некоторым усилием помещают на неподвижный образец при температуре окружающей среды. Затем все устройство размещают в термостате при установленной температуре испытания.
Испытательное устройство с нагруженными испытательными образцами располагают таким образом, чтобы не было вибраций (см.
4.2.1).
Температура воздуха должна непрерывно поддерживаться на уровне значения, указанного в стандарте или технических условиях на кабели конкретных типов. В спорном случае температуру непрерывно контролируют во время испытания с помощью соответствующего измерительного устройства, установленного на том же уровне, что и испытуемый образец, и как можно ближе к одному из испытуемых образцов.
Примечание 1 - Важно, чтобы температура в любой момент времени не превышала верхний предел, указанный для испытания конкретного материала. Значения температуры ниже установленного нижнего предела допускаются в течение короткого промежутка времени после начала испытания. Такие короткие промежутки времени игнорируют.
Устройство удерживают в испытательном положении в течение времени, указанного в стандарте или технических условиях на кабели конкретных типов, или, если время там не указано, в течение следующего времени:
- 4 ч - для образцов, имеющих D <= 15 мм,
- 6 ч - для образцов, имеющих D > 15 мм.
После выдержки в течение установленного времени образец под нагрузкой быстро охлаждают. В термостате или вне термостата это можно осуществить опрыскиванием холодной водой в месте, где нож соприкасается с образцом.
Образец вынимают из испытательного устройства, когда он охладится до такой температуры, при которой не будет восстановления формы изоляции, после чего его полностью охлаждают погружением в холодную воду.
Сразу после охлаждения образец подготавливают для определения глубины отпечатка.
Токопроводящую жилу удаляют, чтобы образец принял форму трубки.
В направлении оси жилы и перпендикулярно отпечатку из образца вырезают тонкую полоску, как показано на рисунке 2.
1 - отпечаток; 2 - вырезанная тонкая полоска;
3 - вид вырезанной полоски под микроскопом;
4 - перекрестие микроскопа; 5 - глубина отпечатка
Рисунок 2 - Измерение глубины отпечатка
Полоску размещают под измерительным микроскопом или измерительным проектором, и перекрестие подводят к дну отпечатка и к наружной стороне образца, как показано на рисунке 2.
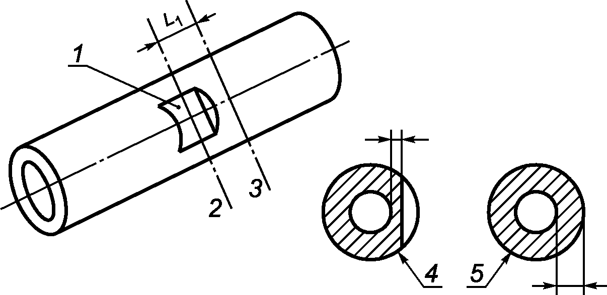
Небольшие образцы с наружным диаметром до 6 мм разрезают вдоль оси отпечатка и близко к нему, как показано на рисунке 3. Глубину отпечатка определяют как разницу между измерениями в сечениях 1 и 2, выполненными с помощью микроскопа.
1 - отпечаток; 2 - сечение 1; 3 - сечение 2;
4 - вид сечения 1 (позиция 2) под измерительным
микроскопом; 5 - вид сечения 2 (позиция 3)
под измерительным микроскопом; L1 - 3 - 5 мм
Рисунок 3 - Измерение глубины отпечатка
для небольших образцов
Все результаты измерений должны быть выражены в миллиметрах с точностью до второго десятичного знака после запятой.
Примечание - При измерении нужно учитывать, что некоторые факторы, например, термомеханические силы могут приводить к деформации верхней поверхности образца, задавая ошибочное положение верхней части вдавливания, и правильное значение глубины отпечатка может отличаться от измеренного непосредственно в точке вдавливания. Поэтому важно использовать значение толщины, измеренное до воздействия продавливающего устройства, как исходную величину. В случае очевидности деформации или какого-либо сомнения в результате значение глубины отпечатка должно быть соответствующим образом скорректировано, таким образом:
- если первоначальное значение толщины равно

, а после испытания наблюдаемое значение толщины становится равным

, тогда с целью проведения расчетов измеренное значение глубины отпечатка (назовем его
M) необходимо скорректировать путем вычитания величины, равной

;
- правильное значение глубины отпечатка, выраженное в процентах, определяют по формуле

(1)
4.3.2.6 Представление результатов
Значения глубины отпечатка, измеренные на трех образцах, взятых от каждой жилы или полоски, определяют в процентном отношении от толщины изоляции (измеренной в соответствии с
приложением A). Медианное значение этих трех значений регистрируют. Если вследствие испытания изменилась толщина, то используют формулу, указанную в примечании
4.3.2.5.
Для плоских кабелей медианным значением глубины отпечатка является среднее значение глубины отпечатков на всех жилах одного размера в испытуемой группе.
Примечание - При отсутствии какого-либо требования в стандарте или технических условиях на конкретное кабельное изделие используют рекомендацию, указанную в
приложении B.
4.4.1 Отбор и подготовка образцов
От каждой оболочки, предназначенной для испытания, отбирают отрезок длиной от 250 до 500 мм, с которого удаляют покрытия и все внутренние элементы конструкции (жилы, заполнитель, внутреннюю оболочку, броню и другие имеющиеся элементы).
От него отбирают три рядом расположенных образца длиной от 50 до 100 мм.
От каждого образца оболочки вырезают полоску шириной около одной трети длины периметра, но не более 20 мм, в направлении оси кабеля, если на оболочке нет выступов.
Если выступы на оболочке вызваны наличием пяти или менее жил, полоску вырезают в направлении выступов таким образом, чтобы на ней была, по меньшей мере, одна канавка, расположенная приблизительно по середине полоски по всей ее длине.
Если выступы на оболочке вызваны наличием более пяти жил, то полоску вырезают таким же способом и эти выступы удаляют с помощью шлифовки.
Примечание 1 - Устройство типа, указанного в IEC 60811-501 (приложение A), считается подходящим для шлифовки и обрезания выступов.
Если оболочка наложена непосредственно на концентрическую токопроводящую жилу, броню или металлический экран и поэтому имеет выступы, которые нельзя устранить шлифованием или срезать (если диаметр небольшой), то оболочку не снимают и в качестве образца используют отрезок кабеля.
Если меньшие стороны плоского кабеля имеют полностью круглую форму, данное испытание проводят на одной из меньших сторон. Для расчета давящей силы (см.
приложение A)
D является меньшим размером кабеля, и

является средней толщиной оболочки
e3, как показано на рисунке 4.
e1 - расстояние между группами жил; e2 - толщина оболочки;
e3 - средняя толщина оболочки; R - радиус, приблизительно
равный e2; D - меньший размер
Примечание 1 - На рисунке 4 показано, где взять образцы из оболочки плоского кабеля.
Рисунок 4 - Плоский кабель с плоской меньшей стороной
Если меньшие стороны являются плоскими или почти плоскими, как показано на рисунке 4, образец для испытаний готовят путем вырезания полоски из широкой стороны кабеля в направлении оси кабеля. На внутренней стороне только выступы удаляют путем шлифования или срезания. Ширина испытуемой полоски должна быть не менее 10 мм, но не более 20 мм. Толщину полоски измеряют в месте приложения давящей силы F.
Примечание 2 - Можно испытывать изоляцию и меньшей толщиной (до 0,4 мм) при определенных обстоятельствах, но делать это не рекомендуется. Если испытания проводят на образцах толщиной менее 0,7 мм, то это указывают в протоколе испытаний.
4.4.2 Проведение испытания
4.4.2.1 Крепление испытуемых образцов
Полоски располагают на металлической оправке, которая может быть наполовину срезана в направлении оси, для обеспечения их лучшей устойчивости.
Примечание - Металлический стержень или металлическая трубка подходят в качестве оправки.
Радиус оправки должен быть приблизительно равен половине внутреннего диаметра испытуемого образца.
Испытательное устройство, полоску и оправку располагают так, чтобы оправка поддерживала полоску, а нож прижимался к наружной стороне образца.
Испытательные образцы оболочек плоского кабеля располагают на оправке, как показано на рисунке 5, если меньшие стороны кабеля являются плоскими.
1 - нож оправки; 2 - оправка; 3 - закрепленный образец,
обернутый вокруг оправки; F - усилие
Рисунок 5 - Устройство для продавливания образца
для плоских кабелей с плоской меньшей стороной
Усилие должно быть приложено в направлении, перпендикулярном оси оправки (или кабеля, если используют отрезок целого кабеля), нож также должен быть перпендикулярен оси оправки или кабеля, если используют целый кабель.
Если меньшие стороны плоского кабеля являются плоскими или почти плоскими, как показано на
рисунке 4, то образец для испытаний (полоску) изгибают вокруг оправки, имеющей диаметр, приблизительно равный диаметру жилы кабеля; продольная ось полоски должна быть перпендикулярна оси оправки. Внутренняя поверхность полоски должна касаться оправки на дуге не менее 120° окружности оправки (см.
рисунок 5). Металлический нож испытательного устройства помещают в середину испытуемого образца.
Для плоских кабелей с плоской или почти плоской меньшей стороной

(в миллиметрах) является толщиной полоски в месте приложения усилия.
D (в миллиметрах) - это диаметр оправки плюс удвоенное значение

, как показано на
рисунке 5.
4.4.2.2 Приложение усилия
Усилие, рассчитанное в соответствии с
приложением A, прикладывают в направлении, перпендикулярном оси оправки (или кабеля, если используют отрезок целого кабеля).
Нож также должен быть перпендикулярен соответствующей оси.
4.4.2.3 Протокол в термостате
4.4.2.4 Охлаждение
4.4.2.5 Измерение
Глубину отпечатка измеряют на узкой полоске, отрезанной от образца, как указано в
4.3.2.5 и на
рисунке 2.
Для плоских кабелей, у которых меньшая сторона является плоской или почти плоской, глубина отпечатка должна соотноситься с первоначальным значением

, как указано в
4.4.2.1 и показано на
рисунке 5.
Примечание - При измерении нужно учитывать, что некоторые факторы, например, термомеханические силы могут приводить к деформации верхней поверхности образца, задавая ошибочное положение верхней части вдавливания и правильное значение глубины отпечатка может отличаться от измеренного непосредственно в точке вдавливания. Поэтому важно использовать значение толщины, измеренное до воздействия продавливающего устройства, как исходную величину. В случае очевидности деформации или какого-либо сомнения в результате значение глубины отпечатка должно быть соответствующим образом скорректировано, таким образом:
- если первоначальное значение толщины равно

, а после испытания наблюдаемое значение толщины становится равным

, тогда с целью проведения расчетов, измеренное значение глубины отпечатка (назовем его
M) необходимо скорректировать путем вычитания величины равной

;
- правильное значение глубины отпечатка, выраженное в процентах, определяют по формуле

(2)
4.4.2.6 Представление результатов в соответствии с
4.3.2.6.
Протокол испытаний должен соответствовать требованиям IEC 60811-100.
(обязательное)
Усилие F в ньютонах, с которым нож давит на образец, рассчитывают по формуле

(A.1)
где k - коэффициент, значение которого устанавливают в стандарте или технических условиях на кабели конкретных типов;

- значение толщины изоляции или оболочки, измеренное на испытуемом образце в соответствии с IEC 60811-201 (изоляция) или IEC 60811-202 (оболочка);
D - среднее значение наружного диаметра образца (изоляция) или диаметр оправки плюс удвоенное значение толщины (оболочка).
Если значение k не указано в стандарте или технических условиях на кабели конкретных типов, то его выбирают из таблицы A.1.
Таблица A.1
Общее значение для k
k | Изоляция | Оболочка |
0,6 | Для гибких кабелей и изолированных жил гибких кабелей | Для гибких кабелей |
Для изолированных жил с D <= 15 мм и кабелей стационарной прокладки | Для кабелей стационарной прокладки с D <= 15 мм |
0,7 | Для изолированных жил с D > 15 мм и секторных жил для кабелей стационарной прокладки | Для кабелей стационарной прокладки с D > 15 мм |
Усилие, прикладываемое к образцу плоского шнура без оболочки, должно быть в два раза больше величины, определяемой по приведенной формуле, где
D - среднее значение меньшего размера образца (см.
рисунок 4).
Толщину изоляции измеряют в тонкой части образца как можно ближе к намеченному месту углубления.
Для плоских кабелей без оболочки наружным диаметром изолированных жил является средний диаметр отдельных жил того же размера, не принимая в расчет жилы, имеющие меньший номинальный размер токопроводящей жилы.
Для секторных жил D является средним значением диаметра круглой части сектора, выраженным в миллиметрах с точностью до одного десятичного знака после запятой. Это значение определяют путем трех измерений длины окружности сердечника кабеля с помощью рулетки (измерения проводят в трех различных местах сердечника кабеля).
Для оболочки плоского кабеля D является меньшим наружным размером образца.
Если меньшие стороны плоского кабеля являются полностью круглыми по форме, то данное испытание проводят на одной из меньших сторон. Для расчета сжимающей силы (см. выше)
D является меньшим размером кабеля и

- средней толщиной оболочки
e3, как на
рисунке 4.
Для плоских кабелей, у которых меньшие стороны являются плоскими или почти плоскими,

(в миллиметрах) является толщиной полоски в месте приложения усилия.
D (в миллиметрах) равен диаметру оправки плюс двойное значение

, как на
рисунке 5.
Толщину оболочки подготовленного испытуемого образца измеряют как можно ближе к намеченному месту вдавливания любым подходящим методом.
Значения

и
D выражают в миллиметрах с точностью до двух десятичных знаков после запятой.
(справочное)
РЕКОМЕНДУЕМОЕ ТРЕБОВАНИЕ К ХАРАКТЕРИСТИКАМ
Как правило, требования к характеристикам изолированной токопроводящей жилы или кабеля конкретного типа или класса должны быть указаны в стандарте или технических условиях на кабели конкретных типов.
При отсутствии какого-либо из указанных требований для любого кабеля, испытываемого в соответствии с настоящим стандартом, рекомендуется принимать следующее значение:
- максимальное значение глубины отпечатка - 50%.
Примечание - Значение 50% неразделимо связано с принципом, лежащим в основе формулы, и является одинаковым для всех материалов. Жесткость условий испытания может быть изменена путем изменения только коэффициента k без изменения значения 50%.
(справочное)
СВЕДЕНИЯ О СООТВЕТСТВИИ ССЫЛОЧНЫХ МЕЖДУНАРОДНЫХ СТАНДАРТОВ
МЕЖГОСУДАРСТВЕННЫМ СТАНДАРТАМ
Таблица ДА.1
Обозначение ссылочного международного стандарта | Степень соответствия | Обозначение и наименование соответствующего межгосударственного стандарта |
IEC 60811-100:2012 | IDT | ГОСТ IEC 60811-100-2015 "Кабели электрические и волоконно-оптические. Методы испытаний неметаллических материалов. Часть 100. Общие положения" |
IEC 60811-201 | IDT | ГОСТ IEC 60811-201-2015 "Кабели электрические и волоконно-оптические. Методы испытаний неметаллических материалов. Часть 201. Общие испытания. Измерение толщины изоляции" |
IEC 60811-202 | IDT | ГОСТ IEC 60811-202-2015 "Кабели электрические и волоконно-оптические. Методы испытаний неметаллических материалов. Часть 202. Общие испытания. Измерение толщины неметаллической оболочки" |
Примечание - В настоящей таблице использовано следующее условное обозначение степени соответствия стандартов: - IDT - идентичные стандарты. |
IEC 60811-3-1:1998 | Common test methods for insulating and sheathing materials of electric cables - Part 3: Methods specific to PVC compounds - Section 1: Pressure test at high temperature - Tests for resistance to cracking (Общие методы испытаний материалов изоляции и оболочек электрических кабелей. Часть 3. Специальные методы испытаний поливинилхлоридных компаундов. Раздел 1. Испытание под давлением при высокой температуре. Испытания на стойкость к растрескиванию) (отменен) |
IEC 60811-203 | Electric and optical fibre cables - Test methods for non-metallic materials - Part 203: General tests - Measurement of overall dimensions (Кабели электрические и волоконно-оптические. Методы испытаний неметаллических материалов. Часть 203. Общие испытания. Измерение наружных размеров) |
IEC 60811-401 | Electric and optical fibre cables - Test methods for non-metallic materials - Part 401: Miscellaneous tests - Thermal ageing methods - Ageing in an air oven (Кабели электрические и волоконно-оптические. Методы испытаний неметаллических материалов. Часть 401. Разные испытания. Методы теплового старения. Старение в термостате) |
IEC 60811-501:2012 | Electric and optical fibre cables - Test methods for non-metallic materials - Part 501: Mechanical tests - Tests for determining the mechanical properties of insulating and sheathing compounds (Кабели электрические и волоконно-оптические. Методы испытаний неметаллических материалов. Часть 501. Механические испытания. Испытания для определения механических свойств композиций изоляции и оболочек) |