Главная // Актуальные документы // ГОСТ (Государственный стандарт)
СПРАВКА
Источник публикации
М.: Стандартинформ, 2015
Примечание к документу
Документ введен в действие с 1 октября 2015 года с правом досрочного применения.
Название документа
"ГОСТ 33141-2014. Межгосударственный стандарт. Дороги автомобильные общего пользования. Битумы нефтяные дорожные вязкие. Метод определения температур вспышки. Метод с применением открытого тигля Кливленда"
(введен в действие Приказом Росстандарта от 29.05.2015 N 527-ст)


"ГОСТ 33141-2014. Межгосударственный стандарт. Дороги автомобильные общего пользования. Битумы нефтяные дорожные вязкие. Метод определения температур вспышки. Метод с применением открытого тигля Кливленда"
(введен в действие Приказом Росстандарта от 29.05.2015 N 527-ст)


Содержание


Введен в действие
Приказом Федерального
агентства по техническому
регулированию и метрологии
от 29 мая 2015 г. N 527-ст
МЕЖГОСУДАРСТВЕННЫЙ СТАНДАРТ
ДОРОГИ АВТОМОБИЛЬНЫЕ ОБЩЕГО ПОЛЬЗОВАНИЯ
БИТУМЫ НЕФТЯНЫЕ ДОРОЖНЫЕ ВЯЗКИЕ
МЕТОД ОПРЕДЕЛЕНИЯ ТЕМПЕРАТУР ВСПЫШКИ
МЕТОД С ПРИМЕНЕНИЕМ ОТКРЫТОГО ТИГЛЯ КЛИВЛЕНДА
Automobile roads of general use. Viscous road petroleum
bitumens. Determination of flash points.
Cleveland open cup method
ГОСТ 33141-2014
МКС 93.080.020
Дата введения
1 октября 2015 года
с правом досрочного применения
Предисловие
Цели, основные принципы и основной порядок проведения работ по межгосударственной стандартизации установлены ГОСТ 1.0-92 "Межгосударственная система стандартизации. Основные положения" и ГОСТ 1.2-2009 "Межгосударственная система стандартизации. Стандарты межгосударственные, правила и рекомендации по межгосударственной стандартизации. Правила разработки, принятия, применения, обновления и отмены"
Сведения о стандарте
1 РАЗРАБОТАН Автономной некоммерческой организацией "Научно-исследовательский институт транспортно-строительного комплекса" (АНО "НИИ ТСК"), Межгосударственным техническим комитетом по стандартизации МТК 418 "Дорожное хозяйство"
2 ВНЕСЕН Федеральным агентством по техническому регулированию и метрологии (Росстандарт)
3 ПРИНЯТ Межгосударственным советом по стандартизации, метрологии и сертификации (протокол от 5 декабря 2014 г. N 46)
За принятие проголосовали:
Краткое наименование страны по МК (ИСО 3166) 004-97
Код страны по МК (ИСО 3166) 004-97
Сокращенное наименование национального органа по стандартизации
Азербайджан
AZ
Азстандарт
Армения
AM
Минэкономики Республики Армения
Беларусь
BY
Госстандарт Республики Беларусь
Казахстан
KZ
Госстандарт Республики Казахстан
Киргизия
KG
Кыргызстандарт
Россия
RU
Росстандарт
Таджикистан
TJ
Таджикстандарт
Узбекистан
UZ
Узстандарт
4 Приказом Федерального агентства по техническому регулированию и метрологии от 29 мая 2015 г. N 527-ст межгосударственный стандарт ГОСТ 33141-2014 введен в действие в качестве национального стандарта Российской Федерации с 1 октября 2015 г.
5 ВВЕДЕН ВПЕРВЫЕ
Информация об изменениях к настоящему стандарту публикуется в ежегодном информационном указателе "Национальные стандарты", а текст изменений и поправок - в ежемесячном информационном указателе "Национальные стандарты". В случае пересмотра (замены) или отмены настоящего стандарта соответствующее уведомление будет опубликовано в ежемесячном информационном указателе "Национальные стандарты". Соответствующая информация, уведомление и тексты размещаются также в информационной системе общего пользования - на официальном сайте Федерального агентства по техническому регулированию и метрологии в сети Интернет
1. Область применения
Настоящий стандарт распространяется на дорожные нефтяные битумы вязкие (далее - битумы), предназначенные в качестве вяжущего материала при строительстве, реконструкции и ремонте дорожных покрытий, и устанавливает определение температуры вспышки в открытом тигле по методу Кливленда.
2. Нормативные ссылки
В настоящем стандарте использованы нормативные ссылки на следующие межгосударственные стандарты:
ГОСТ 12.1.004-91 Система стандартов безопасности труда. Пожарная безопасность. Общие требования
ГОСТ 12.1.005-88 Система стандартов безопасности труда. Общие санитарно-гигиенические требования к воздуху рабочей зоны
ГОСТ 12.1.007-76 Система стандартов безопасности труда. Вредные вещества. Классификация и общие требования безопасности
ГОСТ 12.1.044-89 Система стандартов безопасности труда. Пожаровзрывоопасность веществ и материалов. Номенклатура показателей и методы их определения
ГОСТ 12.4.131-83 Халаты женские. Технические условия
ГОСТ 12.4.132-83 Халаты мужские. Технические условия
ГОСТ 427-75 Линейки измерительные металлические. Технические условия
ГОСТ 450-77 Кальций хлористый технический. Технические условия
ГОСТ 2517-2012 Нефть и нефтепродукты. Методы отбора проб
ГОСТ 4166-76 Реактивы. Натрий сернокислый. Технические условия
ГОСТ 4233-77 Реактивы. Натрий хлористый. Технические условия
ГОСТ 6318-77 Натрий сернокислый технический. Технические условия
ГОСТ 6709-72 Вода дистиллированная. Технические условия
ГОСТ 8505-80 Нефрас-C 50/170. Технические условия
ГОСТ 28846-90 Перчатки и рукавицы. Общие технические условия
ГОСТ 29227-91 Посуда лабораторная стеклянная. Пипетки градуированные. Часть 1. Общие требования
ГОСТ 33133-2014 Дороги автомобильные общего пользования. Битумы нефтяные дорожные вязкие. Технические требования.
Примечание - При пользовании настоящим стандартом целесообразно проверить действие ссылочных стандартов в информационной системе общего пользования - на официальном сайте Федерального агентства по техническому регулированию и метрологии в сети Интернет или по ежегодному информационному указателю "Национальные стандарты", который опубликован по состоянию на 1 января текущего года, и по выпускам ежемесячного информационного указателя "Национальные стандарты" за текущий год. Если ссылочный стандарт заменен (изменен), то при пользовании настоящим стандартом следует руководствоваться заменяющим (измененным) стандартом. Если ссылочный стандарт отменен без замены, то положение, в котором дана ссылка на него, применяется в части, не затрагивающей эту ссылку.
3. Термины и определения
3.1 В настоящем стандарте применены термины по ГОСТ 33133, а также следующий термин с соответствующим определением:
3.1.1 зажигательное устройство: Источник открытого огня, обеспечивающий поджог и воспламенение паров битума над его поверхностью.
4. Требования к средствам измерений, вспомогательным
устройствам, материалам и реактивам
4.1 При проведении испытания по определению температуры вспышки битума применяют следующие средства измерений, вспомогательные устройства, материалы и реактивы:
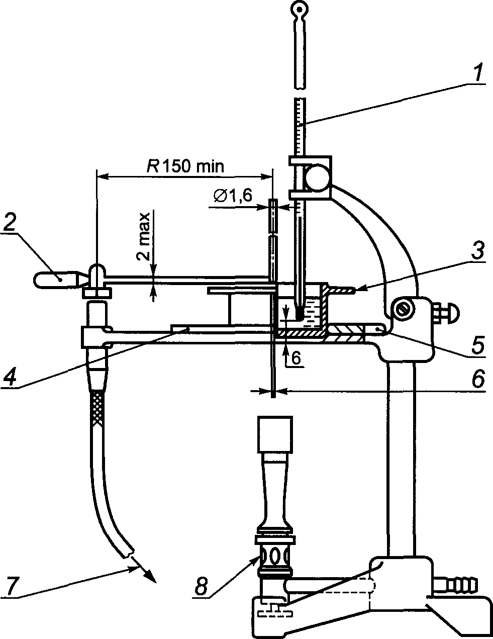
4.1.1 Аппарат для определения температуры вспышки в открытом тигле (см. рисунок 1), который содержит следующие основные элементы:
- термометр ртутный стержневой с диапазоном измерения температур от 0 °C до 360 °C, с ценой деления 1 °C и погрешностью измерения не более 2 °C, внешним диаметром стержня от 6 до 8 мм, или аналогичный прибор, позволяющий производить измерения в указанном диапазоне температур с требуемой точностью;
- приспособление для подачи пламени с выходным отверстием, имеющим диаметр 6 мм;
- тигель открытый в соответствии с рисунком 2;
- пластина нагревательная (пластина термостойкая) и устройство для нагрева пластины нагревательной (плита металлическая).
1 - термометр; 2 - приспособление для подачи пламени;
3 - открытый тигель; 4 - металлический держатель
приспособления для подачи пламени; 5 - нагревательная
пластина; 6 - сопло приспособления для подачи пламени;
7 - подача газа; 8 - устройство для нагрева
нагревательной пластины
Рисунок 1 - Схема аппарата для определения температуры
вспышки в открытом тигле
1 - открытый тигель; 2 - уровень заполнения тигля битумом
Рисунок 2 - Схема открытого тигля
1 - термостойкая пластина; 2 - металлическая пластина
Рисунок 3 - Схема устройства для нагрева (металлическая
плита) нагревательной пластины
4.1.2 Экран трехстворчатый, окрашенный с внутренней стороны черной краской, с секциями шириной (46 +/- 1) см и высотой (60 +/- 5) см или щит высотой от 55 до 65 см из листовой кровельной стали, окрашенный с внутренней стороны черной краской.
4.1.3 Секундомер с диапазоном измерения от 0 до 60 с с погрешностью не более 0,1 с.
4.1.4 Барометр ртутный или барометр-анероид с диапазоном измерения давления от 695 до 805 мм рт. ст. с ценой деления 1 мм рт. ст.
4.1.5 Щетка металлическая.
4.1.6 Бензин-растворитель с пределами выкипания от 50 °C до 170 °C или нефрас-C 50/170 - по ГОСТ 8505.
4.1.7 Осушающие реагенты (обезвоженные).
4.1.7.1 Натрий сернокислый безводный - по ГОСТ 4166.
4.1.7.2 Натрий сернокислый технический - по ГОСТ 6318.
4.1.7.3 Кальций хлористый технический - по ГОСТ 450.
4.1.7.4 Натрий хлористый - по ГОСТ 4233.
4.1.8 Вода дистиллированная - по ГОСТ 6709.
4.1.9 Пипетка - по ГОСТ 29227.
4.1.10 Палочка стеклянная или металлическая для перемешивания битума.
4.1.11 Линейка металлическая - по ГОСТ 427.
4.2 Допускается применять другие средства измерения, химические реактивы и испытательное оборудование (в том числе автоматическое с применением зажигательного устройства, использующего вместо открытого огня электрический разряд), способные обеспечить точность получаемых результатов и обладающие метрологическими характеристиками не хуже установленных настоящим стандартом.
5. Метод испытаний
Настоящий метод испытаний заключается в нагревании пробы битума в открытом тигле с установленной скоростью до тех пор, пока не произойдет вспышка паров битума над его поверхностью от зажигательного устройства.
6. Требования безопасности и охраны окружающей среды
6.1 Битумы относятся к 4-му классу опасности и являются малоопасными веществами по степени воздействия на организм человека.
6.2 При работе с битумом необходимо соблюдать требования техники безопасности, указанные в ГОСТ 12.1.007, и требования противопожарной безопасности в соответствии с ГОСТ 12.1.004.
6.3 Предельно допустимая концентрация паров углеводородов битумов в воздухе рабочей зоны производственных помещений - 300 мг/м3 в соответствии с ГОСТ 12.1.005.
6.4 При работе с битумами используют специальную защитную одежду - по ГОСТ 12.4.131 или ГОСТ 12.4.132. Для защиты рук используют перчатки по ГОСТ 28846.
6.5 Битумы согласно ГОСТ 12.1.044 относят к трудногорючим жидкостям.
6.6 Испытанный битум утилизируют в соответствии с рекомендациями предприятия-изготовителя, указанными в стандарте организации на материал.
7. Требования к условиям испытаний
При проведении испытаний должны соблюдать следующие условия для помещений, в которых проводят испытание битума:
- температура воздуха - (21 +/- 4) °C;
- относительная влажность воздуха - не более 80%.
8. Подготовка к выполнению испытаний
8.1 При подготовке к выполнению испытания проводят следующие мероприятия:
- отбор проб;
- подготовка образцов;
- подготовка и настройка оборудования к испытаниям.
8.1.1 Отбор проб
Отбор проб производят в соответствии с ГОСТ 2517.
8.1.2 Подготовка образцов
При подготовке образцов для испытания необходимо осуществить следующие операции:
- образец битума доводят до подвижного состояния и обезвоживают, сначала нагревая его в сушильном шкафу до температуры (105 +/- 5) °C, затем, не допуская локальных перегревов, доводят температуру битума при постоянном перемешивании стеклянной или металлической палочкой до температуры не ниже 120 °C и не выше 160 °C. Время нагревания битума при указанных условиях не должно превышать 50 мин.
Примечание - Температура в сушильном шкафу в момент нагрева образца не должна превышать 160 °C. Для того чтобы разогреть в течение заявленного времени образец объемом более 1 л, его рекомендуется сначала разделить на образцы объемом менее 1 л, например с помощью разогретого ножа;
- расплавленный до подвижного состояния и обезвоженный битум процеживают через сито и затем тщательно перемешивают стеклянной или металлической палочкой до полного удаления пузырьков воздуха.
8.1.3 Подготовка и настройка оборудования к измерениям
При подготовке и настройке оборудования в целях последующих измерений проводят следующие операции:
8.1.3.1 Аппарат устанавливают на горизонтальном столе в таком месте, где нет заметного движения воздуха и вспышка хорошо видна. Для защиты от движения воздуха аппарат с трех сторон окружают экраном или щитом в соответствии с 4.1.2. Перед проведением каждого испытания аппарат охлаждают.
8.1.3.2 Перед каждым испытанием тигель промывают растворителем. Углеродистые отложения удаляют металлической щеткой. Затем тигель промывают холодной дистиллированной водой и высушивают на открытом пламени или горячей электроплитке. Тигель охлаждают до температуры не менее чем на 56 °C ниже предполагаемой температуры вспышки и помещают его в аппарат.
8.1.3.3 В тигель помещают термометр в строго вертикальном положении таким образом, чтобы нижний конец термометра находился на расстоянии (6,0 +/- 0,5) мм от дна тигля и на равном расстоянии от центра и стенок тигля.
8.1.3.4 При подготовке и настройке оборудования к измерениям проводят также дополнительные действия, если они установлены руководством по эксплуатации данного испытательного оборудования.
9. Порядок выполнения испытаний
При выполнении измерения по определению температуры вспышки битума в открытом тигле необходимо осуществить следующие операции:
- измеряют атмосферное давление;
- тигель заполняют битумом таким образом, чтобы верхний мениск точно совпадал с меткой. При наполнении тигля выше метки избыток битума удаляют пипеткой или другим соответствующим приспособлением. Удаляют пузырьки воздуха с поверхности пробы. Не допускается смачивание стенок тигля выше уровня жидкости.
При попадании битума на внешние стенки тигля его освобождают от битума и обрабатывают в соответствии с 8.1.3.2;
- тигель с пробой нагревают пламенем газовой горелки или при помощи электрообогрева сначала со скоростью от 14 °C до 17 °C в 1 мин. Когда температура пробы будет приблизительно на 56 °C ниже предполагаемой температуры вспышки, скорость подогрева регулируют таким образом, чтобы при достижении 28 °C перед ожидаемой температурой вспышки битум нагревался со скоростью (5,5 +/- 0,5) °C в 1 мин;
- зажигают пламя зажигательного устройства и регулируют его таким образом, чтобы диаметр поперечника пламени был (4,0 +/- 0,8) мм;
- начиная с температуры не менее чем на 28 °C ниже предполагаемой температуры вспышки, каждый раз применяют зажигательное устройство при повышении температуры пробы на (2,0 +/- 0,5) °C. Пламя зажигательного устройства перемещают в горизонтальном направлении, не останавливаясь над краем тигля, и проводят им над центром тигля в одном направлении в течение 1 с. Середина пламени должна быть на расстоянии от верхнего края тигля не более чем 2 мм.
При последующем повышении температуры перемещают пламя зажигания в обратном направлении;
- за температуру вспышки принимают температуру, показываемую термометром при первой вспышке;
- появление ореола пламени в виде голубого круга, который иногда образуется вокруг пламени зажигания, не является вспышкой;
- при сомнениях в первой вспышке ее необходимо подтвердить фактом последующей вспышки через (2,0 +/- 0,5) °C.
10. Обработка результатов испытаний
10.1 Если барометрическое давление во время испытания ниже чем 101,3 кПа (760 мм рт. ст.), то температуру вспышки Tв необходимо рассчитать по формуле
Tв = T0 + 0,25·(101,3 - p), (1)
где T0 - температура вспышки, определенная при испытании битума при фактическом барометрическом давлении, °C;
p - фактическое барометрическое давление во время испытания битума, кПа.
10.2 За результат испытания принимают среднее арифметическое значение результатов двух определений, округленное до целого числа и выраженное в градусах Цельсия.
10.3 Сходимость метода
Два результата определения, полученные на одном и том же аппарате и пробе битума, признают достоверными (при доверительной вероятности 95%), если расхождение между ними не превышает 5 °C.
10.4 Воспроизводимость метода
Два результата испытания, полученные в двух разных лабораториях на одной и той же пробе битума, признают достоверными (при доверительной вероятности 95%), если расхождения между ними не превышают 16 °C.
11. Оформление результатов испытаний
Результат испытания оформляют в виде протокола, который должен содержать:
- идентификацию испытуемого образца по паспорту;
- дату проведения испытаний;
- дату отбора проб;
- название организации, проводившей испытания;
- ссылку на настоящий стандарт и отклонения от его требований;
- ссылку на акт отбора проб;
- информацию о применяемом испытательном оборудовании;
- температуру вспышки.
12. Контроль точности результатов измерений
Точность результатов измерений обеспечивают:
- путем соблюдения требований настоящего стандарта;
- проведением периодической оценки метрологических характеристик средств измерений;
- проведением периодической аттестации оборудования.
Лицо, проводящее измерения, должно быть ознакомлено с требованиями настоящего стандарта.