Главная // Актуальные документы // ГОСТ (Государственный стандарт)СПРАВКА
Источник публикации
М.: Стандартинформ, 2016
Примечание к документу
Документ включен в
Перечень стандартов, содержащих правила и методы исследований (испытаний) и измерений, в том числе правила отбора образцов, необходимые для применения и исполнения требований технического
регламента Таможенного союза "Безопасность автомобильных дорог" (ТР ТС 014/2011) и осуществления оценки соответствия объектов технического регулирования (
Решение Коллегии Евразийской экономической комиссии от 18.09.2012 N 159).
Документ
введен в действие с 1 октября 2015 года с правом досрочного применения.
Название документа
"ГОСТ 33139-2014. Межгосударственный стандарт. Дороги автомобильные общего пользования. Битумы нефтяные дорожные вязкие. Метод определения содержания твердого парафина"
(введен в действие Приказом Росстандарта от 29.05.2015 N 525-ст)
"ГОСТ 33139-2014. Межгосударственный стандарт. Дороги автомобильные общего пользования. Битумы нефтяные дорожные вязкие. Метод определения содержания твердого парафина"
(введен в действие Приказом Росстандарта от 29.05.2015 N 525-ст)
Введен в действие
агентства по техническому
регулированию и метрологии
от 29 мая 2015 г. N 525-ст
МЕЖГОСУДАРСТВЕННЫЙ СТАНДАРТ
ДОРОГИ АВТОМОБИЛЬНЫЕ ОБЩЕГО ПОЛЬЗОВАНИЯ
БИТУМЫ НЕФТЯНЫЕ ДОРОЖНЫЕ ВЯЗКИЕ
МЕТОД ОПРЕДЕЛЕНИЯ СОДЕРЖАНИЯ ТВЕРДОГО ПАРАФИНА
Automobile roads of general use. Viscous road petroleum
bitumens. Method for determination of solid paraffin
content
ГОСТ 33139-2014
МКС 93.080.020
Дата введения
1 октября 2015 года
с правом досрочного применения
Цели, основные принципы и основной порядок проведения работ по межгосударственной стандартизации установлены
ГОСТ 1.0-92 "Межгосударственная система стандартизации. Основные положения" и
ГОСТ 1.2-2009 "Межгосударственная система стандартизации. Стандарты межгосударственные, правила и рекомендации по межгосударственной стандартизации. Правила разработки, принятия, применения, обновления и отмены"
1 РАЗРАБОТАН Автономной некоммерческой организацией "Научно-исследовательский институт транспортно-строительного комплекса" (АНО "НИИТСК"), Межгосударственным техническим комитетом по стандартизации МТК 418 "Дорожное хозяйство"
2 ВНЕСЕН Федеральным агентством по техническому регулированию и метрологии (Росстандарт)
3 ПРИНЯТ Межгосударственным советом по стандартизации, метрологии и сертификации (протокол от 5 декабря 2014 г. N 46)
За принятие проголосовали:
Краткое наименование страны по МК (ИСО 3166) 004-97 | Код страны по МК (ИСО 3166) 004-97 | Сокращенное наименование национального органа по стандартизации |
Азербайджан | AZ | Азстандарт |
Армения | AM | Минэкономики Республики Армения |
Беларусь | BY | Госстандарт Республики Беларусь |
Казахстан | KZ | Госстандарт Республики Казахстан |
Киргизия | KG | Кыргызстандарт |
Россия | RU | Росстандарт |
Таджикистан | TJ | Таджикстандарт |
Узбекистан | UZ | Узстандарт |
4
Приказом Федерального агентства по техническому регулированию и метрологии от 29 мая 2015 г. N 525-ст межгосударственный стандарт ГОСТ 33139-2014 введен в действие в качестве национального стандарта Российской Федерации с 1 октября 2015 г.
5 ВВЕДЕН ВПЕРВЫЕ
Информация об изменениях к настоящему стандарту публикуется в ежегодном информационном указателе "Национальные стандарты", а текст изменений и поправок - в ежемесячном информационном указателе "Национальные стандарты". В случае пересмотра (замены) или отмены настоящего стандарта соответствующее уведомление будет опубликовано в ежемесячном информационном указателе "Национальные стандарты". Соответствующая информация, уведомление и тексты размещаются также в информационной системе общего пользования - на официальном сайте Федерального агентства по техническому регулированию и метрологии в сети Интернет
Настоящий стандарт распространяется на вязкие дорожные нефтяные битумы (далее - битумы), предназначенные в качестве вяжущего материала при строительстве, реконструкции и ремонте дорожных покрытий, и устанавливает два метода определения содержания твердого парафина.
Метод А - определение содержания твердого парафина в нефтяных вязких дорожных битумах методом экстрагирования.
Метод Б - определение содержания твердого парафина в нефтяных вязких дорожных битумах методом дистилляции.
В настоящем стандарте использованы нормативные ссылки на следующие межгосударственные стандарты:
ГОСТ 12.1.004-91 Система стандартов безопасности труда. Пожарная безопасность. Общие требования
ГОСТ 12.1.005-88 Система стандартов безопасности труда. Общие санитарно-гигиенические требования к воздуху рабочей зоны
ГОСТ 12.1.007-76 Система стандартов безопасности труда. Вредные вещества. Классификация и общие требования безопасности
ГОСТ 12.1.044-89 Система стандартов безопасности труда. Пожаровзрывоопасность веществ и материалов. Номенклатура показателей и методы их определения
ГОСТ 1770-74 Посуда мерная лабораторная стеклянная. Цилиндры, мензурки, колбы, пробирки. Общие технические условия
ГОСТ 6613-86 Сетки проволочные тканые с квадратными ячейками. Технические условия
ГОСТ 9147-80 Посуда и оборудование лабораторные фарфоровые. Технические условия
ГОСТ 13830-97 Соль поваренная пищевая. Общие технические условия <*>
--------------------------------
<*> На территории Российской Федерации действует
ГОСТ Р 51574 Соль поваренная пищевая. Технические условия.
--------------------------------
<**> На территории Российской Федерации действует
ГОСТ Р 53228-2008 Весы неавтоматического действия. Часть 1. Метрологические и технические требования. Испытания.
ГОСТ 25336-82 Посуда и оборудование лабораторные стеклянные. Типы, основные параметры и размеры
ГОСТ 33133-2014 Дороги автомобильные общего пользования. Битумы нефтяные дорожные вязкие. Технические требования
Примечание - При пользовании настоящим стандартом целесообразно проверить действие ссылочных стандартов в информационной системе общего пользования - на официальном сайте Федерального агентства по техническому регулированию и метрологии в сети Интернет или по ежегодному информационному указателю "Национальные стандарты", который опубликован по состоянию на 1 января текущего года, и по выпускам ежемесячного информационного указателя "Национальные стандарты" за текущий год. Если ссылочный стандарт заменен (изменен), то при пользовании настоящим стандартом следует руководствоваться заменяющим (измененным) стандартом. Если ссылочный стандарт отменен без замены, то положение, в котором дана ссылка на него, применяется в части, не затрагивающей эту ссылку.
В настоящем стандарте применены термины и определения по
ГОСТ 33133.
4. Требования к средствам измерений, вспомогательным устройствам, материалам и реактивам
4.1 При выполнении измерений по методу А применяют следующие средства измерений, вспомогательные устройства и реактивы:
- колонка адсорбционная высотой (700 +/- 10) мм и внутренним диаметром (30 +/- 2) мм, в верхней части колонки - шаровой резервуар внутренним диаметром (80 +/- 2) мм, в нижней части колонки - кран;
- колбы Кн-1-250 или Кн-2-250, Кн-1-500 или Кн-5-500 - по
ГОСТ 25336, стаканы Н-1-250 - по
ГОСТ 25336;
- цилиндры измерительные - по
ГОСТ 1770, вместимостью 100 и 500 см
3;
- колба с тубусом - по
ГОСТ 25336, вместимостью 500 см
3;
- чаши фарфоровые выпарительные - по
ГОСТ 9147;
- термометр ртутный стеклянный с диапазоном измерения от минус 30 °C до плюс 60 °C, ценой деления 1,0 °C или аналогичный прибор, позволяющий производить измерения в указанном диапазоне температур с требуемой точностью;
- палочка стеклянная;
- пластинка стеклянная;
- баня водяная;
- баня для охлаждения пробы битума и ацетон-толуольной смеси;
- воронка фильтрующая ВФ-1-32-ПОР 40 или ВФ-1-40-ПОР 40 - по
ГОСТ 25336;
- плитка электрическая с закрытой спиралью;
- шкаф сушильный с температурой нагрева (110 +/- 5) °C;
- печь муфельная с температурой нагрева (550 +/- 50) °C;
- сито металлическое с сеткой N 07 - по
ГОСТ 6613;
- газ инертный;
- растворитель [ацетон-толуольная смесь 1:2 (ацетон - по
ГОСТ 2603 (обезвоженный хлористым кальцием)) и толуол - по
ГОСТ 5789];
- окись алюминия активная для хроматографии - по
ГОСТ 8136;
- фильтры беззольные марки "белая лента" диаметром 150 - 180 мм;
- вата медицинская гигроскопическая;
- смесь охлаждающая: соль поваренная пищевая - по ГОСТ 13830 и лед мелкоистолченный (или снег);
- спирт этиловый-сырец - по
ГОСТ 131, или спирт этиловый технический - по
ГОСТ 17299, или спирт этиловый синтетический и углекислота твердая;
4.2 При выполнении измерений по методу Б применяют следующие средства измерений, вспомогательные устройства и реактивы:
- эфир диэтиловый безводный;
Примечание - Можно применять криостат с охлаждающим эффектом, эквивалентным двуокиси углерода твердой;
- лед, расколотый на мелкие гранулы;
- жидкость промывная из смеси спирт этиловый технический/эфир в пропорции 50/50%;
- шкаф сушильный с температурой нагрева (125 +/- 5) °C;
- термометр образцовый ртутный стержневой для измерения температуры в колбе, с диапазоном температур от минус 38 °C до плюс 50 °C, ценой деления 1,0 °C, внешним диаметром стержня (10,0 +/- 0,5) мм, или аналогичный прибор, позволяющий производить измерения в указанном диапазоне температур с требуемой точностью;
- термометр ртутный стержневой для бани, с диапазоном температур от минус 30 °C до плюс 50 °C, ценой деления 0,5 °C, внешним диаметром стержня (8,0 +/- 0,5) мм, или аналогичный прибор, позволяющий производить измерения в указанном диапазоне температур с требуемой точностью;
- колба перегонная, изображенная на рисунке 1;
Рисунок 1 - Перегонная колба
- кольцо защитное металлическое плоское с внутренним диаметром 18 мм и внешним диаметром 65 мм;
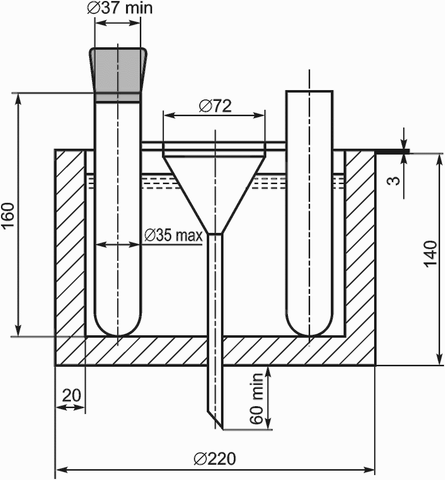
- пробирки, изображенные на рисунке 2, с пробкой из пробкового дерева и отверстием в пробке;
Рисунок 2 - Охлаждающая баня
- пробирки, изображенные на рисунке 2, с пробкой из пробкового дерева и усеченным отверстием в пробке;
- воронка в охлаждающей бане, изображенная на рисунке 2, диаметром (72 +/- 1) мм и длиной (200 +/- 2) мм;
- колба Эрленмейера с пробкой из пробкового дерева вместимостью 100 см3;
- колба для фильтрования под вакуумом вместимостью 50 см3;
- промывалка;
- чашки Петри диаметром (80 +/- 1) мм и высотой (15 +/- 1) мм;
- горелка лабораторная;
- шкаф сушильный с вентиляцией;
- кастрюля фарфоровая диаметром (80 +/- 1) мм;
- фильтр круглый для количественного анализа диаметром (110 +/- 2) мм;
- секундомер с ценой деления 0,1 с;
- пинцет;
- палочка стеклянная или металлическая для перемешивания битума.
Настоящий метод А заключается в предварительном осаждении изооктаном или гептаном асфальтенов из растворенного в толуоле битума, адсорбции смолистых веществ окисью алюминия и выделении парафинов из десорбированной фракции вымораживанием.
Настоящий метод Б заключается в получении твердого парафина в дистилляте, который был получен в процессе специфической перегонки.
6. Требования безопасности и охраны окружающей среды
6.1 Битумы относятся к 4-му классу опасности и являются малоопасными веществами по степени воздействия на организм человека.
6.2 При работе с битумом необходимо соблюдать требования техники безопасности, указанные в
ГОСТ 12.1.007, и требования противопожарной безопасности в соответствии с
ГОСТ 12.1.004.
6.3 Предельно допустимая концентрация паров углеводородов битумов в воздухе рабочей зоны производственных помещений - 300 мг/м
3 в соответствии с
ГОСТ 12.1.005.
6.5 Битумы согласно
ГОСТ 12.1.044 относятся к трудногорючим жидкостям.
6.6 Испытанный битум утилизируют в соответствии с рекомендациями завода-изготовителя, указанными в стандарте организации на материал.
7. Требования к условиям испытаний
При проведении испытаний должны соблюдать следующие условия для помещений, в которых производят испытание битума:
- температура воздуха (21 +/- 4) °C;
- относительная влажность воздуха не более 80%.
8. Подготовка к выполнению испытаний
8.1 При подготовке к выполнению испытания проводят следующие мероприятия:
8.1.1 Отбор проб
Отбор проб производят в соответствии с
ГОСТ 2517.
8.1.2 Подготовка образцов
8.1.2.1 При подготовке образцов по методу А для испытания необходимо осуществить следующие операции:
- окись алюминия прокаливают в муфельной печи в фарфоровых выпарительных чашах 12 ч при температуре (550 +/- 50) °C. Прокаленную окись алюминия хранят в эксикаторе.
Примечание - Отработанную окись алюминия повторно не используют из-за сложности регенерации;
- в нижнюю часть адсорбционной колонки помещают тампон из гигроскопической ваты и небольшими порциями насыпают (150 +/- 1) г окиси алюминия, прокаленной и охлажденной до температуры (21 +/- 4) °C;
- образец битума доводят до подвижного состояния и обезвоживают, сначала нагревая в сушильном шкафу до температуры (105 +/- 5) °C, затем, не допуская локальных перегревов, доводят температуру битума при постоянном перемешивании до температуры на (90 +/- 10) °C выше температуры размягчения, но не ниже 120 °C и не выше 160 °C. Время нагревания битума при указанных условиях не должно превышать 50 мин.
Примечание - Температура в сушильном шкафу в момент нагрева образца не должна превышать 160 °C. Для того чтобы разогреть за заявленное время образец объемом более 1 л, его рекомендуется сначала разделить на образцы объемом менее 1 л, например с помощью разогретого ножа.
Расплавленный до подвижного состояния и обезвоженный битум процеживают через сито и затем тщательно перемешивают до полного удаления пузырьков воздуха.
8.1.2.2 При подготовке образцов по методу Б для испытания необходимо осуществить следующие операции:
- образец битума доводят до подвижного состояния и обезвоживают, сначала нагревая в сушильном шкафу до температуры (105 +/- 5) °C, затем, не допуская локальных перегревов, доводят температуру битума при постоянном перемешивании до температуры на (90 +/- 10) °C выше температуры размягчения, но не ниже 120 °C и не выше 160 °C. Время нагревания битума при указанных условиях не должно превышать 50 мин.
Примечание - Температура в сушильном шкафу в момент нагрева образца не должна превышать 160 °C. Чтобы разогреть за заявленное время образец объемом более 1 л, его рекомендуется сначала разделить на образцы объемом менее 1 л, например с помощью разогретого ножа.
Расплавленный до подвижного состояния и обезвоженный битум процеживают через сито и затем тщательно перемешивают до полного удаления пузырьков воздуха;
- наливают (25 +/- 1) г битума в перегонную колбу и взвешивают с точностью до второго знака после запятой (mB).
8.1.3 Подготовка и настройка оборудования к измерениям
Включают весы и электрическую плитку согласно инструкции по эксплуатации.
9. Порядок выполнения испытаний
9.1 При выполнении испытания по методу А необходимо осуществить следующие операции:
9.1.1 В предварительно взвешенный стакан помещают пробу битума массой (5,0000 +/- 0,0002) г и растворяют в (7,5 +/- 2,5) см3 растворителя (толуола), нагревая колбу на водяной бане и перемешивая стеклянной палочкой до удаления всех комков. Применение открытого огня для нагрева не допускается.
9.1.2 Для осаждения асфальтенов к навеске битума прибавляют 40-кратное количество изооктана или гептана (взятое по объему к навеске битума) и накрывают стеклянной пластинкой.
9.1.3 Помещают стакан в темное место на 24 ч.
Отстоявшийся раствор осторожно, без перемешивания фильтруют через двойной фильтр "белая лента" в колбу, предварительно доведенную до постоянного веса (m2) в сушильном шкафу при температуре от 105 °C до 110 °C. Осадок переносят на фильтр, ополаскивая стакан, в котором был раствор, небольшим количеством растворителя в несколько приемов. Асфальтены на фильтре промывают подогретым до (50 +/- 5) °C растворителем до полного исчезновения масляного пятна на фильтровальной бумаге после испарения растворителя.
9.1.4 Из колбы с фильтратом на водяной бане отгоняют большую часть растворителя до получения (25 +/- 5) см3 концентрата (остатка) в колбе. При этом используют холодильник, дефлегматор и инертный газ.
9.1.5 В адсорбционную колонку, заполненную окисью алюминия, наливают (110 +/- 10) см3 растворителя для смачивания адсорбента. Когда окись алюминия полностью впитает растворитель, в колонку помещают концентрат фильтрата (остаток из колбы). Колбу, в которой находился фильтрат, промывают три раза по (15 +/- 5) см3 растворителя, который также наливают в колонку. Когда адсорбент впитает весь фильтрат, в колонку наливают (500 +/- 2) см3 растворителя, включая растворитель, израсходованный на промывку колбы из-под фильтрата.
Скорость истечения раствора поддерживают краном в нижней части колонки в пределах от 1,5 до 3 см3/мин.
9.1.6 От полученного десорбированного раствора из колбы на водяной бане отгоняют растворитель, используя холодильник, дефлегматор и инертный газ. Отгонка растворителя прекращается в тот момент, когда интервал между падениями капель с аллонжа составит более 15 с.
9.1.7 Остаток в колбе растворяют в (50 +/- 2) см3 ацетон-толуольной смеси при нагревании до (50 +/- 5) °C на водяной бане и перемешивая стеклянной палочкой. Полученный раствор охлаждают до температуры (21 +/- 4) °C, а затем колбу с раствором помещают на 1 ч в предварительно охлажденную до минус (20,0 +/- 0,5) °C баню.
В этой же бане охлаждают (60 +/- 2) см3 ацетон-толуольной смеси до минус (20,0 +/- 0,5) °C.
9.1.8 По истечении 1 ч охлажденный раствор продукта фильтруют при минус (20,0 +/- 0,5) °C через охлажденную до минус (20,0 +/- 0,5) °C воронку с фильтром из пористой стеклянной пластинки при помощи водоструйного насоса. Парафин со стенок колбы смывают на фильтр в несколько приемов охлажденной ацетон-толуольной смесью. Парафин на фильтре промывают оставшейся охлажденной смесью.
Время, затрачиваемое на фильтрацию раствора, не должно превышать 5 мин. Для ускорения фильтрации допускается использовать водоструйный насос.
9.1.9 После окончания фильтрования парафин с фильтра смывают толуолом, нагретым до (60 +/- 5) °C, в предварительно взвешенную коническую колбу. Толуол от парафина отгоняют на водяной бане, используя холодильник, дефлегматор и инертный газ. Отгонка растворителя прекращается в тот момент, когда интервал между падениями капель с аллонжа составит более 15 с.
9.1.10 Колбу с парафином доводят до постоянной массы в сушильном шкафу при температуре от 105 °C до 110 °C, охлаждают до температуры (21 +/- 4) °C в эксикаторе и взвешивают с погрешностью не более 0,0002 г (m1).
Примечание - Все операции с толуолом и ацетон-толуольной смесью необходимо проводить в вытяжном шкафу.
9.2 При выполнении испытания по методу Б необходимо осуществить следующие операции:
9.2.1 Погружают колбу Эрленмейера в воду со льдом на максимально возможную глубину. В колбу Эрленмейера вставляют нижнее наклонное окончание отводящей трубки (аллонжа) перегонной колбы на максимальную глубину. Накрывают перегонную колбу плоским металлическим защитным кольцом для предотвращения возможного горения пробковой крышки. Нагревают перегонную колбу на лабораторной газовой горелке с "мягким" пламенем таким образом, чтобы первая капля дистиллята упала через (3,5 +/- 0,5) мин (см. рисунок 3).
1 - колба Эрленмейера; 2 - аллонж; 3 - защитное кольцо;
4 - перегонная колба; 5 - емкость с водой и льдом;
6 - лабораторная газовая горелка
Рисунок 3 - Схема перегонки
Следует удостовериться в том, что пары, образуемые в процессе дистилляции, конденсируются в капли.
Необходимо отрегулировать скорость дистилляции таким образом, чтобы с аллонжа в приемник капало в течение 10 с от 10 до 20 капель. Интенсивность дистилляции должна остаться видимой и поддающейся проверке.
Нагрев колбы следует проводить в течение 14 мин с начала дистилляции или до тех пор, пока процесс дистилляции не замедлится и в течение 10 с не упадет ни одной капли. После этого нагрев продолжается еще 1 мин на полностью несветящемся пламени.
Дистилляция должна быть закончена в течение 15 мин, а конденсат, оставшийся на перегонной колбе после дистилляции, в колбу Эрленмейера не переносится.
Колбу Эрленмейера следует достать из воды и осторожно перемешать дистиллят, вращая колбу при легком нагреве.
9.2.2 Колбу Эрленмейера с дистиллятом охлаждают до температуры (21 +/- 4) °C и взвешивают дистиллят с точностью до 0,01 г (mD). В зависимости от содержания твердого парафина добавляют от 2 до 4 г дистиллята в пробирку с пробкой и взвешивают с точностью до 0,0005 г (mE).
Примечание - Если содержание твердого парафина не может быть заранее определено, начальная рекомендуемая масса дистиллята - 3 г.
9.2.3 Растворяют дистиллят в пробирке в (25 +/- 1) см3 эфира с добавлением (25 +/- 1) см3 этилового технического спирта.
9.2.4 Закрывают пробирку пробкой с вставленным в нее образцовым термометром таким образом, чтобы термометр был погружен в жидкость, и помещают пробирку в охлаждающую баню.
9.2.5 Жидкость бани охлаждают до температуры минус (20,0 +/- 0,5) °C при помощи добавления хорошо раздробленной твердой углекислоты или с помощью криостата.
9.2.6 Наливают (20 +/- 1) см3 промывной жидкости в пробирку с усеченным отверстием в пробке, охлаждают в охлаждающей бане до температуры минус (20,0 +/- 0,5) °C и поддерживают эту температуру до завершения фильтрации.
9.2.7 Круглый фильтр кладут в воронку, которая находится в охлаждающей бане, а нижняя часть вставлена в фильтровальную колбу, находящуюся ниже охлаждающей бани.
Суспензию с кристалликами, полученными при температуре минус (20,0 +/- 0,5) °C, быстро переносят на фильтр.
Пробирку из-под суспензии промывают охлажденной промывной жидкостью и снова выливают на фильтр.
Оставшуюся промывную жидкость снова охлаждают до температуры минус (20,0 +/- 0,5) °C и еще раз промывают кристаллики на фильтре. После этого процедуру повторяют.
Промывную жидкость следует разделить на одинаковые порции для трех промываний.
Фильтрацию должны осуществлять при вакууме.
9.2.8 После завершения фильтрации достают круглый фильтр при помощи пинцетов и кладут его на воронку, расположенную над заранее взвешенной с точностью до 0,0005 г испарительной чашкой Петри.
Растворяют твердый парафин, оставшийся на фильтре, осторожным разбрызгиванием нагретого уайт-спирита. Таким же образом растворяют остатки твердого парафина, оставшиеся на термометре и пробирке.
Смешивают фильтраты и испаряют в испарительной чаше над водяной баней. Для предотвращения вытекания жидкости через края испарение осуществляют на слабом воздушном потоке.
Остаток после испарения сушат в течение (15 +/- 1) мин при температуре (125 +/- 5) °C в сушильном шкафу и там же охлаждают.
Когда твердый парафин охладится, но не полностью застынет, добавляют около 15 мл ацетона.
9.2.9 Чашку с ацетоном и парафином слегка нагревают, при этом осторожно вращают испарительную чашу. Доливают потерянный в процессе испарения ацетон. Охлаждают раствор в водяной бане до температуры (15,0 +/- 0,5) °C.
9.2.10 После охлаждения кристаллики твердого парафина отфильтровывают через фильтр.
Испарительную чашу, термометр и фильтр промывают из промывающего устройства ацетоном в количестве (30 +/- 1) мл, температура которого (15,0 +/- 0,5) °C.
9.2.11 Полученные твердые парафины растворяют опрыскиванием на них нагретым уайт-спиритом и сливают их снова в ту же испарительную чашу, после чего испаряют уайт-спирит в слабом воздушном потоке над водяной баней.
Остаток твердых парафинов после испарения сушат в течение (15 +/- 1) мин при температуре (125 +/- 5) °C в сушильном шкафу, там же охлаждают и взвешивают на весах с точностью до 0,0005 г (mA).
Если конечная масса выходит за пределы (75 +/- 10) мг, то результат испытания не действителен и необходимо повторить испытание с соответственно скорректированной массой того же дистиллята.
Если начальная масса, которая должна дать конечную массу в пределах (75 +/- 10) мг, меньше 2 г или больше 4 г, это следует указать в протоколе испытания.
Примечание - Для охлаждения может быть использовано автоматическое охлаждающее устройство, что дает такие же результаты.
10. Обработка результатов испытаний
10.1 Содержание парафина X, %, по методу А вычисляют до третьего знака после запятой по формуле 1

(1)
где m1 - масса колбы с парафином, г;
m2 - масса колбы без парафина, г;
G3 - количество битума, взятое на анализ, г.
За результат испытания принимают среднее арифметическое результатов двух параллельных определений.
10.2 Содержание парафина X, %, по методу Б вычисляют по формуле 2

(2)
где mA - полученный чистый твердый парафин, г;
mB - масса исходной пробы битума, г;
mD - масса общего дистиллята после дистилляции битума, г;
mE - масса дистиллята, взятого для испытания, г.
10.3 Сходимость методов
Два результата определения, полученные одним исполнителем на одной и той же пробе битума и испытательном оборудовании, признаются достоверными (с 95%-ной доверительной вероятностью), если расхождение между ними не превышает 0,5%.
10.4 Воспроизводимость методов
Два результата определения, полученные в двух разных лабораториях, признаются достоверными (с 95%-ной доверительной вероятностью), если расхождение между ними не превышает 1,6%.
11. Оформление результатов испытаний
Результат испытания оформляют в виде протокола, который должен содержать:
- идентификацию испытуемого образца по паспорту;
- дату проведения испытаний;
- дату отбора проб;
- название организации, проводившей испытания;
- ссылку на настоящий стандарт и отклонения от его требований;
- ссылку на акт отбора проб;
- информацию о применяемом испытательном оборудовании;
- содержание твердого парафина.
12. Контроль точности результатов измерений
Точность результатов измерений обеспечивается:
- соблюдением требований настоящего стандарта;
- проведением периодической оценки метрологических характеристик средств измерений;
- проведением периодической аттестации оборудования.
Лицо, проводящее измерения, должно быть ознакомлено с требованиями настоящего стандарта.