Главная // Актуальные документы // ГОСТ (Государственный стандарт)
СПРАВКА
Источник публикации
М.: Стандартинформ, 2015
Примечание к документу
Документ введен в действие с 1 июля 2015 года.
Название документа
"ГОСТ 33125-2014. Межгосударственный стандарт. Устройства солнцезащитные. Технические условия"
(введен в действие Приказом Росстандарта от 12.12.2014 N 2042-ст)


"ГОСТ 33125-2014. Межгосударственный стандарт. Устройства солнцезащитные. Технические условия"
(введен в действие Приказом Росстандарта от 12.12.2014 N 2042-ст)


Содержание


Введен в действие
Приказом Федерального
агентства по техническому
регулированию и метрологии
от 12 декабря 2014 г. N 2042-ст
МЕЖГОСУДАРСТВЕННЫЙ СТАНДАРТ
УСТРОЙСТВА СОЛНЦЕЗАЩИТНЫЕ
ТЕХНИЧЕСКИЕ УСЛОВИЯ
Sun shading devices. Specifications
(EN 12216:2002, NEQ)
(EN 1932:2001, NEQ)
(EN 14501:2006, NEQ)
ГОСТ 33125-2014
Группа Ж32
МКС 91.060.50
Дата введения
1 июля 2015 года
Предисловие
Цели, основные принципы и основной порядок проведения работ по межгосударственной стандартизации установлены в ГОСТ 1.0-92 "Межгосударственная система стандартизации. Основные положения" и ГОСТ 1.2-2009 "Межгосударственная система стандартизации. Стандарты межгосударственные, правила и рекомендации по межгосударственной стандартизации. Правила разработки, принятия, применения, обновления и отмены"
Сведения о стандарте
1 РАЗРАБОТАН федеральным государственным бюджетным учреждением "Научно-исследовательский институт строительной физики Российской академии архитектуры и строительных наук" Министерства строительства и ЖКХ РФ при участии фирмы RENSON
2 ВНЕСЕН Техническим комитетом по стандартизации ТК 465 "Строительство"
3 ПРИНЯТ Межгосударственным советом по стандартизации, метрологии и сертификации (протокол от 5 декабря 2014 г. N 46-2014)
За принятие проголосовали:
Краткое наименование страны по МК (ИСО 3166) 004-97
Код страны по МК (ИСО 3166) 004-97
Сокращенное наименование национального органа по стандартизации
Азербайджан
AZ
Азстандарт
Армения
AM
Минэкономики Республики Армения
Казахстан
KZ
Госстандарт Республики Казахстан
Киргизия
KG
Кыргызстандарт
Россия
RU
Росстандарт
4 Приказом Федерального агентства по техническому регулированию и метрологии от 12 декабря 2014 г. N 2042-ст межгосударственный стандарт ГОСТ 33125-2014 введен в действие в качестве национального стандарта Российской Федерации с 01 июля 2015 г.
5 Настоящий стандарт разработан с учетом основных нормативных положений следующих европейских региональных стандартов:
- EN 12216:2002 Shutters, external blinds, internal blinds - Terminology, glossary and definitions (Ставни, наружные и внутренние жалюзи. Терминология, словари и определения) в части терминологии и определений;
- EN 1932:2001 External blinds and shutters - Resistance to wind loads - Method of testing (Ставни и жалюзи наружные. Стойкость к ветровым нагрузкам. Метод испытания) в части установления требований к ветровым нагрузкам;
- EN 14501:2006 Blinds and shutters - Thermal and visual comfort - Performance characteristics and classification (Ставни и жалюзи. Тепловой и зрительный комфорт. Характеристики технического обслуживания и классификация) в части установления требований к тепловому и визуальному комфорту.
Перевод с английского языка (en).
Степень соответствия - неэквивалентная (NEQ)
6 ВВЕДЕН ВПЕРВЫЕ
Информация об изменениях к настоящему стандарту публикуется в ежегодном информационном указателе "Национальные стандарты", а текст изменений и поправок - в ежемесячном информационном указателе "Национальные стандарты". В случае пересмотра (замены) или отмены настоящего стандарта соответствующее уведомление будет опубликовано в ежемесячном информационном указателе "Национальные стандарты". Соответствующая информация, уведомление и тексты размещаются также в информационной системе общего пользования - на официальном сайте Федерального агентства по техническому регулированию и метрологии в сети Интернет
1. Область применения
1.1 Настоящий стандарт устанавливает основные требования к солнцезащитным устройствам (СЗУ) при промышленном выпуске СЗУ, изготовленным с применением различных материалов, при их размещении на наружных ограждающих конструкциях в местах расположения окон и навесных светопрозрачных фасадных систем, и может быть использован при проектировании зданий в целом.
1.2 Требования настоящего стандарта распространяются на СЗУ, установленные таким образом, что в рабочем положении они обеспечивают нормируемое естественное освещение, защиту от прямых солнечных лучей в зоны помещений, где требуется обеспечение комфортных условий нахождения и проживания людей.
Для обеспечения нормативных требований по теплозащите, защите от солнечной радиации и естественному освещению в помещениях различного назначения настоящий стандарт определяет основные типы СЗУ по их местоположению, конструктивным особенностям, материалам изготовления и способам регулирования.
1.3 Настоящий стандарт не распространяется на СЗУ, устанавливаемые в межстекольном пространстве и внутри помещения, а также солнцезащитные стекла и пленки, устанавливаемые в оконные блоки.
2. Нормативные ссылки
В настоящем стандарте использованы нормативные ссылки на следующие межгосударственные стандарты:
ГОСТ 21519-2003 Блоки оконные из алюминиевых сплавов. Технические условия
ГОСТ 22233-2001 Профили прессованные из алюминиевых сплавов для светопрозрачных ограждающих конструкций. Технические условия
ГОСТ 23166-99 Блоки оконные. Общие технические условия
ГОСТ 24700-99 Блоки оконные деревянные со стеклопакетами. Технические условия
ГОСТ 26254-84 Здания и сооружения. Методы определения сопротивления теплопередаче ограждающих конструкций
ГОСТ 26602.1-99 Блоки оконные и дверные. Методы определения сопротивления теплопередаче
ГОСТ 26602.4-2012 Оконные и дверные блоки. Метод определения общего коэффициента пропускания света
ГОСТ 26602.5-2001 Блоки оконные и дверные. Методы определения сопротивления ветровой нагрузке
ГОСТ 30494-2011 Здания жилые и общественные. Параметры микроклимата в помещениях
ГОСТ 30674-99 Блоки оконные из поливинилхлоридных профилей. Технические условия
ГОСТ 31167-2009 Здания и сооружения. Методы определения воздухопроницаемости ограждающих конструкций в натурных условиях
Примечание - При пользовании настоящим стандартом целесообразно проверить действие ссылочных стандартов в информационной системе общего пользования - на официальном сайте Федерального агентства по техническому регулированию и метрологии в сети Интернет или по ежегодному информационному указателю "Национальные стандарты", который опубликован по состоянию на 1 января текущего года, и по выпускам ежемесячного информационного указателя "Национальные стандарты" за текущий год. Если ссылочный стандарт заменен (изменен), то при пользовании настоящим стандартом следует руководствоваться заменяющим (измененным) стандартом. Если ссылочный стандарт отменен без замены, то положение, в котором дана ссылка на него, применяется в части, не затрагивающей эту ссылку.
3. Термины и определения
В настоящем стандарте применены термины по ГОСТ 30494, ГОСТ 23166, а также следующие термины с соответствующими определениями:
3.1 жалюзи: Система связанных между собой горизонтальных или вертикальных пластин, устанавливаемых снаружи, внутри оконного блока или в межстекольном пространстве стеклопакета.
3.2 козырек: Регулируемая или стационарная пространственная конструкция, выполненная в виде сплошного навеса или системы горизонтально ориентированных ламелей из ткани, металла, других материалов, устанавливаемая над светопрозрачной конструкцией и предназначенная для защиты помещений от прямой солнечной радиации.
3.3 ламель: Деталь жалюзи, рольставней и ставни в виде пластины, выполненная из металла, пластмассы или иного материала.
3.4 маркиза: Регулируемая или стационарная пространственная конструкция, выполненная из ткани или металла, устанавливаемая над светопрозрачной конструкцией.
3.5 окно: Элемент стеновой или кровельной конструкции, предназначенный для сообщения внутренних помещений с окружающим пространством, естественного освещения помещений, их вентиляции, защиты от атмосферных, шумовых воздействий и состоящий из оконного проема с откосами, оконного блока, системы уплотнения монтажных швов, подоконной доски, деталей слива и облицовок.
3.6 оконный блок: Светопрозрачная конструкция, предназначенная для естественного освещения помещений, их вентиляции, защиты от атмосферных и шумовых воздействий, состоящая из сборочных единиц - коробки и створчатых элементов, может включать в себя встроенные системы проветривания и дополнительные элементы (жалюзи, ставни и пр.).
3.7 рольставни: Механическое или электромеханическое устройство, состоящее из полотна с концевым профилем, вала с элементами его установки и крепления, элементов подвеса полотна к валу, направляющих шин, привода и защитного короба.
3.8 ставни: Конструкции, изготовляемые из ламелей или пластин, устанавливаемые снаружи на окно для защиты от чрезмерной инсоляции, шума.
4. Классификация солнцезащитных устройств
и условные обозначения
4.1 Основными классификационными признаками СЗУ являются:
- тип СЗУ;
- место установки;
- метод регулирования;
- тип управления;
- уровень солнцезащиты;
- материал изготовления.
4.2 Возможна установка СЗУ:
- на стене по периметру оконного проема;
- снаружи на оконном блоке;
- снаружи на мансардном окне;
- комбинация некоторых из перечисленных мест установки.
В настоящем стандарте устанавливаются требования только к наружным СЗУ.
4.3 Основные методы регулирования затеняющих элементов СЗУ приведены на рисунке 1.
а) - скручивание экрана; б) - подъем-опускание ламелей;
в) - подъем-опускание экрана; г) - сдвигание элементов;
д), е) - поворот ламелей вокруг горизонтальной
и вертикальной осей; ж) - поворот затеняющих элементов;
и), к) - отклонение и частичное отклонение
затеняющего элемента
Рисунок 1 - Основные методы регулирования
затеняющих элементов СЗУ
4.4 Основные типы СЗУ по виду управления следующие:
- без управления (нерегулируемые, стационарные);
- с ручным управлением;
- с автоматическим управлением:
- поворотом ламелей;
- подъемом-опусканием устройства;
- по группам (фасадам);
- по температуре внешнего воздуха;
- другой тип управления.
СЗУ может иметь одновременно несколько видов управления.
Основные типы управления СЗУ приведены на рисунке 2.
а), в) - с помощью шнура; б) - с помощью ленты (1 - лента;
2 - стопор); г) - с помощью цепи; д) - с помощью шариков
на шнуре; ж), и) - с помощью ручек управления;
е), к) - с помощью штанг; л) - с помощью
пружинно-инерционного механизма;
м) - электрическое управление
Рисунок 2 - Основные типы управления СЗУ
4.5 Основные типы наружных СЗУ приведены на рисунках 3 - 11.
1 - тентовое покрытие; 2 - телескопические раздвижные
конструкции; 3 - вал для тентового покрытия и управляющее
устройство; 4 - концевой элемент
Рисунок 3 - Козырек с телескопическими
раздвижными элементами
1 - вал для тентового покрытия и управляющее устройство;
2 - телескопические раздвижные конструкции; 3 - крепление
к ограждающей конструкции; 4 - тентовое покрытие;
5 - концевой элемент
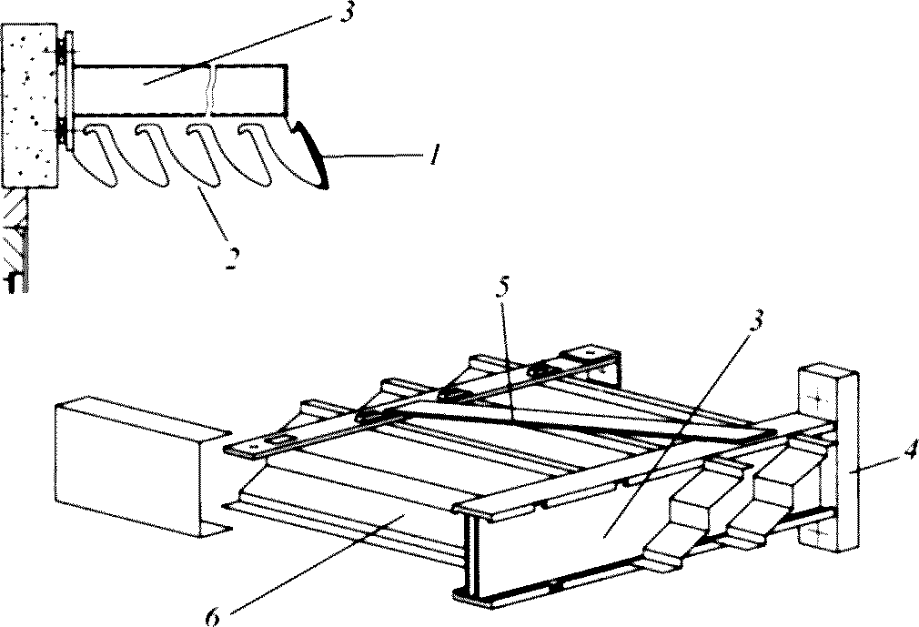
Рисунок 4 - Козырек с боковыми "гармошками"
а) - с электрическим управлением; б) - с управлением шнуром
(лентой); в) - стационарные; г) - с управлением штангой;
1 - пространственная силовая конструкция; 2 - элементы
управления; 3 - механизм управления; 4 - тентовое покрытие
Рисунок 5 - Различные варианты маркиз
1 - вал для наматывания устройства; 2 - механизм
управления; 3 - направляющий элемент; 4 - ламели;
5 - концевая ламель; 6 - тяги
Рисунок 6 - Горизонтальные регулируемые жалюзи
1 - ламели; 2 - элемент установки ламелей;
3 - механизм управления
Рисунок 7 - Горизонтальные регулируемые жалюзи
1 - ламели; 2 - элемент установки ламелей; 3 - направляющий
элемент; 4 - крепление к ограждающей конструкции;
5 - механизм управления; 6 - концевой элемент
Рисунок 8 - Горизонтальный козырек с регулируемыми ламелями
1 - светопроем; 2 - отлив окна; 3 - полотно ставни;
4 - элементы крепления к светопроему;
5 - запорное устройство
Рисунок 9 - Распашные ставни
1 - рольставни; 2 - оклад мансардного окна; 3 - мансардное
окно; 4 - коробка оконного блока; 5 - механизм управления
(открывания) окном; 6 - защитный короб для рольставни
и механизм управления
Рисунок 10 - Рольставни с частичным открыванием,
установленные на мансардном окне
1 - вал для наматывания устройства; 2 - направляющие;
3 - полотно солнцезащитного экрана
Рисунок 11 - Наружный солнцезащитный скручивающийся экран
4.6 Маркировка солнцезащитных устройств
Первый символ маркировки (место установки СЗУ):
Ф - устройство установлено на фасаде;
О - устройство установлено в оконную конструкцию;
М - устройство установлено на мансардное окно;
Второй символ маркировки (тип управления):
С - нерегулируемое (стационарное);
Р - с ручным управлением;
Д - автоматическое управление поворота ламелей;
Г - автоматическое управление подъема - опускания устройства;
У - автоматическое управление групп СЗУ по фасадам;
Т - автоматическое управление по температуре внешнего воздуха.
Третий символ маркировки (дополнительные опции):
Н - наличие защиты от насекомых;
Э - наличие специальных фотоэлектрических устройств в составе СЗУ.
Каждое изделие (упаковка изделий) должно маркироваться водостойкой краской или этикеткой с указанием марки изделия, даты его изготовления и (или) номера заказа, знака (штампа), подтверждающего приемку изделия техническим контролем. Изделия маркируются на нелицевой поверхности.
5. Технические требования к солнцезащитным устройствам
5.1 Общие требования к солнцезащитным устройствам
5.1.1 Наличие СЗУ, должно быть указано в проекте в соответствии с действующими нормативными документами и технической документацией.
5.1.2 СЗУ должны соответствовать требованиям настоящего стандарта, стандартов и технических условий на конкретные виды изделий и изготовляться по конструкторской и технологической документации, утвержденной в установленном порядке.
5.1.3 Размеры СЗУ и предельные отклонения от них устанавливаются в технических условиях на конкретные виды изделий. Предельные отклонения линейных наружных алюминиевых элементов установлены в п. 5.2.2.
5.1.4 СЗУ должны обеспечивать возможность обслуживания силами самих пользователей согласно прилагаемому руководству по обслуживанию. Ремонт электрических систем управления СЗУ должен обеспечиваться квалифицированным техническим персоналом.
5.1.5 Наружные части СЗУ должны быть изготовлены из атмосферостойких и коррозионно-стойких материалов.
5.1.6 Изделия должны быть безопасны в эксплуатации и обслуживании. Требования к безопасности изделий устанавливают в проектной документации на изделия.
5.2 Требования к материалам, из которых изготовляются солнцезащитные устройства
5.2.1 Материалы и комплектующие детали, применяемые для изготовления СЗУ, должны соответствовать требованиям стандартов, технических свидетельств, технических условий, утвержденных в установленном порядке, а также удовлетворять требованиям контрактов (договоров) на изготовление и поставку СЗУ.
5.2.2 Линейные элементы СЗУ из алюминиевого профиля изготовляются в соответствии с ГОСТ 22233. Они должны иметь следующие предельные отклонения длины, мм:
+/- 3,5 - при длине до 2000 мм включительно;
+/- 4,5 - при длине свыше 2000 до 5000 мм включительно;
+/- 6 - при длине свыше 5000 до 7000 мм включительно.
5.3 Требования к сопротивлению ветровой и снеговой нагрузке
5.3.1 Сопротивление ветровой нагрузке СЗУ назначают исходя из расчетной ветровой нагрузки, определяемой согласно действующим нормативным документам и технической документации. Значение расчетной ветровой нагрузки на вертикальные и горизонтальные СЗУ определяют также в соответствии с действующими нормативными документами и технической документацией.
5.3.2 Ветровой район и соответствующую скорость ветра для оценки сопротивления ветровой нагрузке определяют для места строительства в соответствии с действующими нормативными документами и технической документацией.
5.3.3 Класс сопротивления ветровой нагрузке элементов конструкции и СЗУ в целом определяют согласно таблице 1 и в соответствии с действующими нормативными документами и технической документации.
Таблица 1
Классы сопротивления ветровой нагрузке для СЗУ
КЛАСС СОПРОТИВЛЕНИЯ ВЕТРОВОЙ НАГРУЗКЕ
0
1
2
3
4
5
6
7
Ветровое давление
< 50 Па
50 Па
70 Па
100 Па
170 Па
270 Па
400 Па
> 400 Па
Скорость ветра
< 9,2 м/с
9,2 м/с
10,8 м/с
12,8 м/с
16,8 м/с
21,2 м/с
25,8 м/с
> 26 м/с
5.3.4 Для наружных СЗУ, устанавливаемых на здания, расположенные в ветровых районах 5 - 7 в соответствии с действующими нормативными документами и технической документацией, необходимо предусматривать возможность дополнительного укрепления или временного демонтажа элементов СЗУ в периоды максимальных ветровых нагрузок.
5.3.5 Устойчивость СЗУ к ветровым нагрузкам в соответствии с условиями согласно действующими нормативными документами и технической документацией определяют испытаниями по ГОСТ 26602.5 (для СЗУ, установленных на оконных блоках) или по сертифицированным в установленном порядке программным комплексам.
5.3.6 Устойчивость горизонтальных элементов конструкций наружных СЗУ к снеговым нагрузкам должна соответствовать требованиям действующих нормативных документов и технической документации.
5.3.7 Необходимо исключать возможность образования наледей на элементах конструкций наружных СЗУ, обеспечивая своевременную их очистку.
5.4 Требования к обеспечению теплового и зрительного комфорта
5.4.1 При оборудовании зданий СЗУ необходимо обеспечивать требуемые температурно-влажностные параметры микроклимата помещений, а также уровни естественной освещенности и светового комфорта в соответствии с ГОСТ 30494 и другими действующими нормативными документами.
5.4.2 Коэффициент общего пропускания света светопрозрачной конструкции с установленным СЗУ определяют согласно ГОСТ 26602.4 либо по сертифицированным в установленном порядке расчетным методам с учетом оптических характеристик светопрозрачного заполнения и геометрических характеристик непрозрачных частей СЗУ.
5.4.3 Коэффициент общего пропускания солнечной энергии (солнечный фактор) светопрозрачной части определяют по действующим нормативным документам и технической документации.
5.4.4 Приведенное сопротивление теплопередаче СЗУ, установленных на оконные блоки (ставни, рольставни, жалюзи и др.), определяют в соответствии с ГОСТ 26602.1, ГОСТ 26254 на основе подтвержденных характеристик прозрачной и непрозрачных частей светопрозрачной ограждающей конструкции и СЗУ либо по сертифицированным в установленном порядке расчетным методам. При испытаниях или расчетах должны быть заданы граничные условия, соответствующие климатическим условиям региона их применения:
- температура наиболее холодной пятидневки согласно действующим нормативным документам и технической документации;
- температурно-влажностные режимы в помещении согласно ГОСТ 30494 и другим действующим нормативным документам.
5.4.5 СЗУ классифицируют по уровню солнцезащиты (коэффициенту пропускания солнечной радиации) следующим образом:
- СЗУ с очень высоким уровнем солнцезащиты - коэффициент пропускания солнечной радиации от 0% до 20%;
- СЗУ с высоким уровнем солнцезащиты - коэффициент пропускания солнечной радиации от 21% до 40%;
- СЗУ со средним уровнем солнцезащиты - коэффициент пропускания солнечной радиации от 41% до 75%;
- СЗУ с низким уровнем солнцезащиты - коэффициент пропускания солнечной радиации от 76% до 100%.
СЗУ (за исключением стационарных) могут иметь различные уровни солнцезащиты в зависимости от положения затеняющих элементов.
СЗУ с высоким и очень высоким уровнем солнцезащиты рекомендуется использовать на южных и юго-западных фасадах зданий.
6. Уровень заводской готовности и комплектность
солнцезащитных устройств
6.1 СЗУ могут иметь полную заводскую готовность, а также могут поставляться в виде комплектов для сборки.
6.2 В случае поставки изделий неполной заводской готовности ответственность за качество готовых изделий устанавливается в договоре на поставку.
6.3 Комплектация изделий при их поставке потребителю должна соответствовать требованиям, установленным в договоре поставки. В комплект поставки должны входить документ о качестве (экспертное заключение/паспорт) и инструкция (руководство) по эксплуатации и обслуживанию изделий.
В случае поставки СЗУ в составе оконного блока документ о качестве и инструкция по эксплуатации СЗУ должны быть включены в документацию на оконный блок.
Поставка сборно-разборных изделий должна сопровождаться инструкцией по их сборке.
6.4 По требованию потребителя изготовитель должен предоставить типовую инструкцию по монтажу изделий (не распространяется на СЗУ в составе оконного блока).
7. Правила приемки
СЗУ должны быть приняты службой технического контроля предприятия-изготовителя на соответствие требованиям настоящего стандарта, стандартов на конкретные виды изделий, техническим условиям предприятия-изготовителя, а также требованиям, определенным в договоре на изготовление (поставку) изделий.
8. Методы контроля
8.1 Методы испытаний при входном контроле качества материалов и комплектующих деталей устанавливают в технической документации предприятия-изготовителя исходя из требований нормативных документов на соответствующие материалы и детали.
8.2 Методы испытаний при проведении производственного операционного контроля устанавливают в технологической документации (регламенте контроля качества).
8.3 Методы контроля качества изделий при приемочном контроле и контрольных приемо-сдаточных испытаниях устанавливают в стандартах на конкретные виды изделий.
8.4 Теплозащитные характеристики определяют в соответствии с ГОСТ 26602.1, ГОСТ 31167.
8.5 Светотехнические характеристики определяют в соответствии с ГОСТ 26602.4.
9. Упаковка, транспортирование и хранение
9.1 Упаковка изделий должна обеспечивать их сохранность при хранении, погрузочно-разгрузочных работах и транспортировании.
9.2 Хранение изделий должно осуществляться при температуре не ниже (10 +/- 1) °C и относительной влажности воздуха в помещении не выше (60 +/- 5)%.
9.3 Изделия транспортируют всеми видами транспорта в соответствии с правилами перевозки грузов, действующими на данном виде транспорта.
9.4 При хранении и транспортировании изделий должна быть обеспечена их защита от механических повреждений, воздействия атмосферных осадков и прямых солнечных лучей.
10. Общие требования к монтажу и эксплуатации
10.1 Требования к количеству СЗУ, их расположению по помещениям, схемы монтажа в стене или в окне устанавливают в проектной документации.
10.2 Монтаж СЗУ должен осуществляться специалистами, обладающими необходимой квалификацией. Окончание монтажных работ должно подтверждаться актом сдачи-приемки, оформленном в установленном порядке.
10.3 По требованию потребителя изготовитель СЗУ должен предоставить типовую инструкцию по их монтажу, содержащую:
- чертежи (схемы) монтажных узлов;
- перечень применяемых при монтаже изделий и материалов (с указанием сведений об их совместимости) и температурных режимов их применения;
- последовательность технологических операций по монтажу СЗУ.
11. Гарантии изготовителя
11.1 Изготовитель гарантирует соответствие СЗУ требованиям настоящего стандарта при соблюдении требований упаковки, транспортирования, хранения, эксплуатации и монтажа, а также области их применения согласно действующим нормативным документам.
11.2 Гарантийный срок хранения изделий - не менее одного года со дня отгрузки изделия изготовителем, но не более трех лет с даты изготовления.
11.3 Гарантийный срок службы (эксплуатации) СЗУ устанавливают в технической документации на изделия, но не менее пяти лет со дня отгрузки изделий изготовителем.
Гарантийный срок службы (эксплуатации) СЗУ, поставляемых в составе оконного блока, должен соответствовать требованиям ГОСТ 21519, ГОСТ 23166, ГОСТ 24700, ГОСТ 30674.