Главная // Актуальные документы // ГОСТ (Государственный стандарт)СПРАВКА
Источник публикации
М.: Стандартинформ, 2019
Примечание к документу
Документ включен в
Перечень международных и региональных (межгосударственных) стандартов, а в случае их отсутствия - национальных (государственных) стандартов, в результате применения которых на добровольной основе обеспечивается соблюдение требований технического
регламента Таможенного союза "О безопасности аппаратов, работающих на газообразном топливе" (ТР ТС 016/2011) и в
Перечень международных и региональных (межгосударственных) стандартов, а в случае их отсутствия - национальных (государственных) стандартов, содержащих правила и методы исследований (испытаний) и измерений, в том числе правила отбора образцов, необходимые для применения и исполнения требований технического
регламента Таможенного союза "О безопасности аппаратов, работающих на газообразном топливе" (ТР ТС 016/2011) и осуществления оценки соответствия объектов технического регулирования (
Решение Коллегии Евразийской экономической комиссии от 13.07.2021 N 86).
Документ
введен в действие с 01.01.2016.
Название документа
"ГОСТ 33010-2014 (EN 14438:2007). Межгосударственный стандарт. Вставки газовые для обогревания более чем одной комнаты. Требования и методы испытаний"
(введен в действие Приказом Росстандарта от 09.06.2015 N 584-ст)
"ГОСТ 33010-2014 (EN 14438:2007). Межгосударственный стандарт. Вставки газовые для обогревания более чем одной комнаты. Требования и методы испытаний"
(введен в действие Приказом Росстандарта от 09.06.2015 N 584-ст)
агентства по техническому
регулированию и метрологии
от 9 июня 2015 г. N 584-ст
МЕЖГОСУДАРСТВЕННЫЙ СТАНДАРТ
ВСТАВКИ ГАЗОВЫЕ ДЛЯ ОБОГРЕВАНИЯ БОЛЕЕ ЧЕМ ОДНОЙ КОМНАТЫ
ТРЕБОВАНИЯ И МЕТОДЫ ИСПЫТАНИЙ
Gas-fired insets for heating more than one room.
Requirements and test methods
(EN 14438:2007, MOD)
ГОСТ 33010-2014
(EN 14438:2007)
Дата введения
1 января 2016 года
Цели, основные принципы и общие правила проведения работ по межгосударственной стандартизации установлены
ГОСТ 1.0 "Межгосударственная система стандартизации. Основные положения" и
ГОСТ 1.2 "Межгосударственная система стандартизации. Стандарты межгосударственные, правила и рекомендации по межгосударственной стандартизации. Правила разработки, принятия, обновления и отмены"
1 ПОДГОТОВЛЕН Федеральным государственным унитарным предприятием "Всероссийский научно-исследовательский институт стандартизации и сертификации в машиностроении" (ВНИИНМАШ) на основе собственного перевода на русский язык англоязычной версии стандарта, указанного в
пункте 5
2 ВНЕСЕН Федеральным агентством по техническому регулированию и метрологии
3 ПРИНЯТ Межгосударственным советом по стандартизации, метрологии и сертификации по переписке (протокол от 20 октября 2014 г. N 71-П)
За принятие проголосовали:
Краткое наименование страны по МК (ИСО 3166) 004-97 | Код страны по МК (ИСО 3166) 004-97 | Сокращенное наименование национального органа по стандартизации |
Армения | AM | Минэкономики Республики Армения |
Беларусь | BY | Госстандарт Республики Беларусь |
Киргизия | KG | Кыргызстандарт |
Россия | RU | Росстандарт |
Таджикистан | TJ | Таджикстандарт |
Украина | UA | Минэкономразвития Украины |
4
Приказом Федерального агентства по техническому регулированию и метрологии от 9 июня 2015 г. N 584-ст межгосударственный стандарт ГОСТ 33010-2014 введен в действие в качестве национального стандарта Российской Федерации с 1 января 2016 г.
5 Настоящий стандарт является модифицированным по отношению к европейскому стандарту EN 14438:2007 "Газовые установки для обогревания больше одной комнаты" ("Gas-fired insets for heating more than one room", MOD) путем изменения отдельных фраз (слов, значений показателей, ссылок), которые выделены в тексте курсивом.
Наименование настоящего стандарта изменено относительно наименования указанного европейского стандарта для приведения в соответствие с ГОСТ 1.5
(подраздел 3.6)
6 ВВЕДЕН ВПЕРВЫЕ
7 ПЕРЕИЗДАНИЕ. Сентябрь 2019 г.
Информация о введении в действие (прекращении действия) настоящего стандарта и изменений к нему на территории указанных выше государств публикуется в указателях национальных стандартов, издаваемых в этих государствах, а также в сети Интернет на сайтах соответствующих национальных органов по стандартизации.
В случае пересмотра, изменения или отмены настоящего стандарта соответствующая информация будет опубликована на официальном интернет-сайте Межгосударственного совета по стандартизации, метрологии и сертификации в каталоге "Межгосударственные стандарты"
Настоящий стандарт устанавливает требования к конструкции, безопасности, маркировке, методам испытаний и рациональному использованию энергии нагревательных элементов на газообразном топливе, рассчитанных на обогрев нескольких помещений и в зависимости от назначения встроенных в обшивку из керамических или минеральных конструкционных материалов.
Настоящий стандарт следует применять совместно с
ГОСТ EN 613.
Настоящий стандарт распространяется на нагревательные элементы на газообразном топливе типа B11BS, которые:
- оборудованы атмосферной горелкой;
- устанавливаются непосредственно к дымоходу либо к устройству для вытяжки отводных газов;
- имеют номинальную теплопроизводительность не более 20 кВт (в пересчете на теплотворную способность).
Кроме того, настоящий стандарт должен применяться к нагревательным элементам, предназначенным для отопления нескольких помещений с имитацией каминного пламени.
Настоящий стандарт не распространяется на следующие изделия:
- устройства с открытой камерой сгорания по
[1];
- устройства с эффектом декоративного топлива по
[2];
- комнатные обогреватели конвекционного типа по
ГОСТ EN 613;
- приборы с каталитическим типом горения;
- приборы с механической подачей воздуха для горения и/или механической вытяжкой отводных газов по
[3];
- калориферы.
Настоящий стандарт применяется только к устройствам, предназначенным для испытаний типовых образцов.
В настоящем стандарте использованы нормативные ссылки на следующие межгосударственные стандарты:
ГОСТ ЕН 125 Устройства контроля пламени для газовых приборов. Термоэлектрические устройства контроля пламени. Общие технические требования и методы испытаний
Примечание - При пользовании настоящим стандартом целесообразно проверить действие ссылочных стандартов и классификаторов на официальном интернет-сайте Межгосударственного совета по стандартизации, метрологии и сертификации (www.easc.by) или по указателям национальных стандартов, издаваемым в государствах, указанных в предисловии, или на официальных сайтах соответствующих национальных органов по стандартизации. Если на документ дана недатированная ссылка, то следует использовать документ, действующий на текущий момент, с учетом всех внесенных в него изменений. Если заменен ссылочный документ, на который дана датированная ссылка, то следует использовать указанную версию этого документа. Если после принятия настоящего стандарта в ссылочный документ, на который дана датированная ссылка, внесено изменение, затрагивающее положение, на которое дана ссылка, то это положение применяется без учета данного изменения. Если ссылочный документ отменен без замены, то положение, в котором дана ссылка на него, применяется в части, не затрагивающей эту ссылку.
В настоящем стандарте применены термины по
ГОСТ EN 613, а также следующие термины с соответствующими определениями:
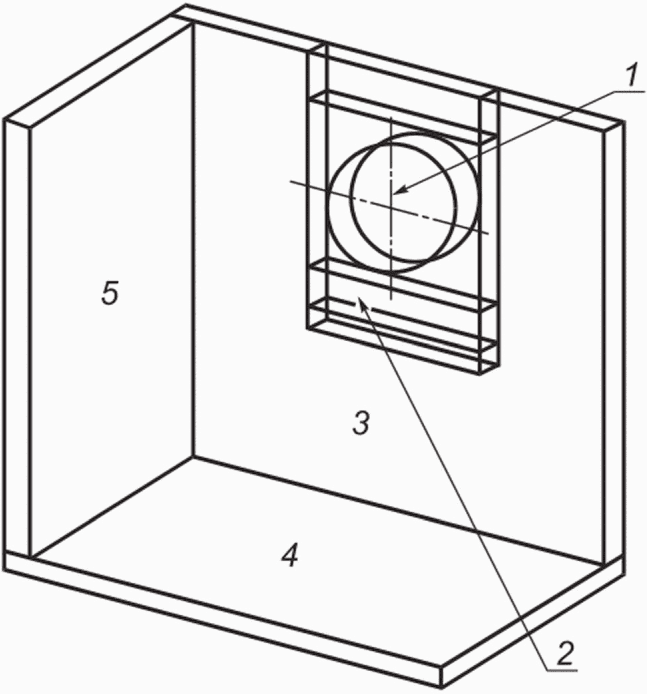
3.1
нагревательный элемент: Встроенная печь конвекционного типа, предназначенная для обогрева двух или более помещений (см.
рисунок 1).
1 - приточный воздух; 2 - исходящий нагретый конвекционный
воздух; 3 - расход воздуха; 4 - нагревательный элемент;
5 - опорный подшипник для нагревательного элемента;
6 - вытяжная труба; 7 - дымоход; 8 - топка (камера
сгорания); 9 - пол; 10 - изоляция; 11 - передняя дверца;
12 - дефлектор; 13 - отвод продуктов сгорания; 14 - передняя
панель устройства
Рисунок 1 - Схема установки
3.2 топка: Отсек, в котором установлен нагревательный элемент.
4 Классификация аппаратов
Классификация аппаратов по
ГОСТ EN 613-2010, раздел 4.
5 Конструкционные требования
Требования к конструкции по
ГОСТ EN 613-2010, раздел 5, включая следующие изменения:
5.1 Общие сведения
5.1.6.3 Встроенное оборудование
Нагревательные элементы должны поставляться в полностью смонтированном виде.
5.1.7 Подача воздуха для горения и отвод продуктов сгорания
5.1.7.1 Общие сведения
Нагревательный элемент должен относиться к типу B11BS. Устройство должно охватывать весь цикл горения, начиная от забора воздуха для горения в нагревательном элементе и до отвода продуктов сгорания из нагревательного элемента.
5.1.7.2 Подача воздуха для горения
Отверстия, через которые подается воздух для горения, должны иметь нерегулируемое сечение и должны быть сконструированы таким образом, чтобы удовлетворять требованиям по горению и устойчивости пламени.
5.1.7.3 Дефлектор
Нагревательный элемент должен иметь встроенный дефлектор.
Дефлектор должен иметь такую конструкцию, чтобы в случае утечки продуктов сгорания они попадали непосредственно в воздух помещения, а не в топку.
Отверстия дефлектора должны иметь нерегулируемое сечение.
5.1.8 Электрооборудование
Исполнение и конструкция нагревательного элемента должны исключать опасность поражения электрическим током. Нагревательные элементы должны соответствовать требованиям
[4], которые предусматривают защиту от поражения электрическим током.
Если нагревательный элемент оснащен электронными компонентами или электронной системой безопасности, они должны отвечать соответствующим требованиям
[5] по электромагнитной совместимости.
Если тип электрической защиты указан изготовителем на приборной табличке изделия, эти сведения должны соответствовать требованиям
[6], чтобы защищать людей от контакта с токопроводящими частями внутри корпуса изделия.
5.2.5 Устройство контроля пламени
5.2.5.1 Общие сведения
Нагревательный элемент должен быть оборудован устройством контроля пламени. Устройство контроля пламени должно следить за подачей газа на основную горелку и на запальную горелку (если имеется).
Устройство контроля пламени должно быть надежно закреплено относительно деталей, с которыми оно совместно работает.
В случае отказа датчика пламени нагревательный элемент должен оставаться в безопасности.
5.2.5.2 Нагревательные элементы с термоэлектрическим предохранителем зажигания
Устройства контроля пламени, чувствительные к изменениям температуры и в термоэлектрическом исполнении, должны соответствовать
ГОСТ ЕН 125.
5.2.5.3 Нагревательные элементы с автоматом горения
Нагревательные элементы, оборудованные автоматом горения, должны соответствовать
[5].
Изготовитель должен указать время безопасности (см.
ГОСТ EN 613-2010,
подпункт 6.10.2.2). Для нагревательных элементов с теплопроизводительностью более 10 кВт время безопасности не должно превышать 5 с; для всех нагревательных элементов с теплопроизводительностью до 10 кВт включительно время безопасности не должно превышать 10 с.
Примечание - Время безопасности ограничено, т.к. нагревательный элемент устанавливается в двойном кожухе.
При отрыве пламени во время эксплуатации нагревательного элемента устройство контроля пламени должно активировать неразмыкаемую блокировку; это не относится к нагревательным элементам с прямым зажиганием основной горелки, у которых:
a) попытка повторного зажигания осуществляется в течение 1 с;
b) либо единственная попытка повторного зажигания осуществляется в течение 10 с.
В случае неудачи повторного зажигания в течение двух часов должна активироваться постоянная блокировка.
Ошибочное (или не в правильной последовательности) нажатие кнопок, переключателей и т.д. не должно отрицательно сказываться на надежности работы автомата горения.
5.2.7 Автомат горения
Данный раздел включен последним абзацем в
5.2.5.3.
5.2.10 Устройства с ручным управлением
5.4 Устройства контроля пламени
Данный раздел перенесен в
5.2.5.
6 Эксплуатационные требования
Эксплуатационные требования по
ГОСТ EN 613-2010,
раздел 6, включая следующие изменения:
6.4.3 Температура пола
В инструкциях по монтажу изготовитель должен привести необходимые сведения по теплоизоляции стен и/или пола либо указать необходимые расстояния, чтобы температуры примыкающих стенок и/или пола из негорючих или горючих материалов соответствовали следующим требованиям.
6.4.3.1 Нагревательные элементы, установленные на поверхностях из негорючих материалов
Для нагревательных элементов, которые по инструкциям по монтажу изготовителя предназначены для установки на негорючих поверхностях или рядом с негорючими поверхностями, согласно условиям испытаний в
7.4.3 температура поверхности в каждой точке установки пола, на котором установлен нагревательный элемент, может превышать температуру воздуха в помещении не более чем на 80 °C.
6.4.3.2 Приборы, устанавливаемые на поверхностях/у поверхностей из горючих материалов
Для нагревательных элементов, которые по инструкциям по монтажу изготовителя предназначены для установки на поверхностях/у поверхностей из горючих материалов, согласно условиям испытаний в
7.4.3 температуры поверхности в каждой точке установки пола, на котором установлен нагревательный элемент, могут превышать температуру воздуха в помещении не более чем на 60 °C.
6.9 Устройство контроля продуктов сгорания
6.11 КПД
Если нагревательный элемент проходит испытания по
7.11, минимальный КПД при номинальной теплопроизводительности должен быть равен 89% (см.
ГОСТ EN 613-2010, пункт 7.11.2).
Методы испытаний по
ГОСТ EN 613-2010,
раздел 7, включая следующие изменения:
7.1.5.3 Схема испытаний
Нагревательный элемент должен устанавливаться в соответствии с указаниями изготовителя без установки в камере сгорания (требования
8.2.2.2 не учитываются).
7.4 Температуры различных компонентов нагревательного элемента
Для испытаний согласно 7.4.1 и
7.4.3 нагревательный элемент согласно инструкциям изготовителя устанавливается на испытательной установке, включая все конвекционные каналы; термостойкая обшивка заменяется на подходящий теплоизоляционный материал (см.
рисунки 2 -
6). Если изготовитель требует предусмотреть специальный теплоизоляционный материал или безопасное расстояние до горючих деталей пола или стенок, необходимо учитывать данное требование.
1 - осевая линия соединительного элемента; 2 - вставки;
3 - задняя стенка; 4 - пол испытательного угла;
5 - боковая стенка
Рисунок 2 - Вид спереди испытательного угла
с общим расположением боковых стенок и пола
1 - вид спереди; 2 - соединительная труба; 3 - расстояние
(150 +/- 5) мм до соединительной трубы, заполненное
изоляционным материалом; 4 - аналогично конструкции
Рисунок 3 - Узел закладных деталей для задней стенки
испытательного угла
Размеры в миллиметрах, с отклонением +/- 1 мм

- фанера, теплопроводность 0,15 Вт/м·К;

- деревянные брусья;

- изоляция (волокно или древесная масса), теплопроводность 0,04 Вт/м·К;
A - клей;
B - черная краска
Рисунок 4 - Конструкция испытательного угла в разрезе
Размеры в мм, с отклонением +/- 1 мм
Рисунок 5 - Вид спереди пола и стенок испытательного угла
с расположением точек измерения
Размеры в миллиметрах
1 - стенка испытательного угла
Рисунок 6 - Расположение термоэлемента в стенках
испытательного угла
Испытательная установка состоит из листа фанеры с теплопроводностью 0,15 Вт/м·К, а ее внутренние поверхности должны быть покрыты матовой черной краской (см.
рисунки 2 -
6). Термопары закладываются в каждый лист фанеры (стенки и пол) в центре квадратов стороной 100 мм (см.
рисунок 5); расположение этих термопар в стенках испытательного угла должно соответствовать
рисунку 6.
Расстояния между задней и боковыми поверхностями нагревательного элемента и стенками испытательного угла должны соответствовать минимальным расстояниям, указанным изготовителем, или, если возможно, расстояние до стенок должно быть жестко задано. Боковые листы по бокам нагревательного элемента должны быть размещены в местах максимальных температур.
Все измерения проводятся только после того, как установится постоянная разница между температурой поверхностей и температурой воздуха в помещении.
7.4.3 Температура пола и стенок
Для нагревательных элементов, предназначенных для монтажа с примыканием поверхности из горючего материала, изготовитель должен указать в инструкциях по монтажу тип эффективной защиты между нагревательным элементом и соседним полом, подставкой и стенками. Данное защитное устройство должно быть предоставлено испытательной лаборатории изготовителем.
Нагревательный элемент должен быть настроен и работать на стандартном испытательном газе при номинальной тепловой мощности по
ГОСТ EN 613-2010,
подпункт 7.1.3.2 до тех пор, пока не будет достигнуто равновесное состояние.
Испытание повторяется после выхода из строя имеющегося, если целесообразно, вентилятора.
7.9 Устройство контроля продуктов сгорания
Испытание проводят по
ГОСТ EN 613-2010,
пункт 7.1.1 со следующим изменением:
В качестве испытательного применяют устройство, описанное в
7.4.
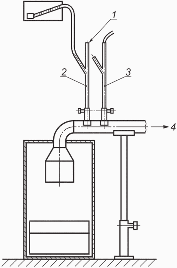
Для нагревательных элементов типа B
11BS отбор проб продуктов сгорания и измерение их температуры осуществляется в выходном патрубке (см.
рисунок 7) при давлении 10 Па с помощью измерительного зонда, показанного на
рисунке 8.
1 - закрытый верх; 2 - зонд для измерения давления; 3 - зонд
для измерения содержания CO2 и температуры продуктов
сгорания; 4 - выход к дымоходу
Рисунок 7 - Измерительный зонд
1 - подключение к измерительному прибору для измерения
содержания CO2 и температуры продуктов сгорания;
2 - подключение к откачивающему насосу; 3 - измерительный
зонд; 4 - термопара; 5 - защита для наконечника термопары
Рисунок 8 - Зонд для измерения CO
2 и температуры
продуктов сгорания
8 Маркировка и инструкции
8.1 Маркировка
8.2 Инструкции
Требования к инструкциям по
ГОСТ EN 613-2010,
подраздел 8.2 со следующими изменениями:
8.2.2 Технические инструкции по подключению и настройке
8.2.2.1 Пункты, относящиеся к установке и регулировке нагревательного элемента
Инструкции должны содержать следующие указания:
"Перед установкой проверить, соответствуют ли местные условия подключения (тип газа и давление) настройкам нагревательного элемента".
В дополнение к
ГОСТ EN 613-2010, пункт 8.1.1 требующая информация может включать технические инструкции и, если необходимо, указание о том, что нагревательный элемент может применяться для эксплуатации в других странах в дополнение к странам, указанным на нагревательном элементе
<1>. При наличии данного указания инструкции должны содержать предупреждение о необходимости внесения изменений в нагревательный элемент и его установку в целях обеспечения безопасной эксплуатации в этих странах. Данное предупреждение должно быть продублировано на всех государственных языках.
--------------------------------
<1> Страны непрямого назначения.
Инструкции должны указывать, где могут быть получены данные, инструкции и запчасти для безопасного использования нагревательного элемента в соответствующей стране.
Инструкции по подключению и регулировке, предназначенные для монтажников, должны быть приложены к нагревательному элементу и содержать:
- тип подключения и правила по установке страны, в которой должен устанавливаться нагревательный элемент (там, где существуют такие правила), а также размеры вытяжного патрубка для продуктов сгорания и вентиляции для подключения в странах, в которых соответствующие правила отсутствуют;
- способ крепления нагревательного элемента;
- расход газа в м3/ч в расчете на применяемый газ;
- для нагревательных элементов с настраиваемым газовым регулятором давление в сопле перед горелкой или позади задающего устройства (в зависимости от применяемого семейства или группы газов);
- разъяснение изготовителя о поверхности (поверхностях), выполняющей функцию рабочей (рабочих);
- минимальное расстояние между нагревательным элементом и любыми стенками и/или подставками, если это возможно;
- необходимые защитные меры для предотвращения перегрева пола, установочного места и стенок или указание о применении негорючих материалов для пола, установочного места и стенок вокруг нагревательного элемента.
Инструкции должны включать:
- все указания о работе и настройках, которые необходимо выполнить при переходе с одного газа на другой газ, а также маркировку форсунок для каждого типа газа, который может использоваться;
- необходимые указания по испытаниям дымохода;
- описание характеристик, возможностей и монтажа прибора, а также необходимые сведения по вводу в эксплуатацию и техническому обслуживанию.
Для нагревательных элементов, которые могут устанавливаться только на газовых установках с регулятором давления, инструкции должны включать следующее заявление:
"Нагревательный элемент предназначен для использования в газовых установках с регулятором давления".
Инструкции по устройству контроля продуктов сгорания должны содержать следующие указания:
a) запрещается настройка системы монтажной организацией;
b) запрещается отключение устройства контроля продуктов сгорания;
c) при замене устройства контроля продуктов сгорания или его частей могут использоваться только оригинальные запасные части завода-изготовителя.
8.2.2.2 Пункты, относящиеся к установке нагревательного элемента в камеру сгорания
Инструкции должны содержать следующее:
- расстояние между поверхностью отопительного прибора и стеной;
- информацию о расстояниях между нагревательным элементом и полом топки, между нагревательным элементом и верхней частью топки и вытяжной трубкой и верхней частью топки;
- информацию о защите стенок, состоящих из горючих материалов, имеющейся мебели (а также пристенной мебели) путем указания о применяемой теплоизоляции (теплоизоляционный материал, толщина изолирующего слоя, экранировка от теплового излучения и необходимые расстояния);
- сведения о необходимом поперечном сечении камеры сгорания;
- сведения о необходимом поперечном сечении отверстий для подачи конвекционного воздуха;
- сведения о необходимом минимальном поперечном сечении отверстий для подачи конвекционного воздуха, которое не должно оставаться перекрытым;
- сведения о необходимом поперечном сечении циркуляционного контура;
- указание об устойчивости нагревательного элемента;
- указание о линии подачи воздуха для горения;
- указание по установке газовых труб в камере сгорания;
- информацию о необходимом поперечном сечении передней дверцы, требующемся для беспрепятственного поступления воздуха для горения, достаточного отвода тепла, а в случае утечки отводных газов через дефлектор для быстрого выхода отводных газов в окружающую среду;
- указание по прокладке электрических кабелей в камере сгорания, если имеются соответствующие сведения об утечке продуктов сгорания, например тот факт, что дополнительный теплообменник в вытяжной системе не разрешен, вытяжная трубка к дымоходу должна быть как можно короче и иметь подъем в сторону дымохода.
8.2.3 Инструкции по эксплуатации и техническому обслуживанию
К нагревательному элементу должны быть приложены инструкции по эксплуатации и техническому обслуживанию.
Эти инструкции должны содержать все сведения, изложенные в простой и понятной форме, для безопасного и беспрепятственного использования нагревательного элемента. Данные инструкции могут быть изложены в отдельной брошюре или в отдельной части руководства по монтажу с возможностью отделения инструкции от остальной брошюры. Текст, где необходимо, должен быть дополнен чертежами или фотографиями.
Следует указать, что переналадка на другой тип газа должна осуществляться на месте монтажа установки. В инструкции в краткой форме должны быть описаны условия по монтажу в стране, в которой должен быть установлен нагревательный элемент (подключение, подача воздуха для горения, подача воздуха для конвекции).
Инструкции должны содержать указание, что работы по техническому обслуживанию должны проводиться регулярно и необходимо очищать вытяжные трубопроводы для нагревательных элементов типа B11BS согласно правилам, применимым в стране, в которой его предполагается установить.
Инструкции должны содержать:
- наименование и адрес изготовителя и дистрибьютора;
- торговую марку, обозначение типа, модель;
- меры, которые необходимо принимать при зажигании, очистке и техническом обслуживании;
- обозначение участков, предусмотренных изготовителем в качестве функциональных поверхностей;
- при необходимости указание, что после прекращения подачи питания предохранительные устройства должны быть разблокированы вручную;
- указания для зажигания, из которых однозначно следует, что при случайном или намеренно вызванном погасании пламени необходимо активировать устройство контроля пламени и только через 3 мин следует провести попытку повторного зажигания;
- подробные указания о надлежащей замене имитатора твердого топлива и его размещении, его замена должна быть предусмотрена пользователем, а также предупреждение об изменении его размещения или содержащихся в нем материалов;
- предупреждение о том, что нагревательный элемент не следует применять, если стеклянная дверца (или смотровое окно в дверце) имеет трещину, снята или открыта;
- при необходимости указания о безопасном использовании съемных ручек или применении специальных рабочих инструментов, поставляемых изготовителем;
- указание, что специальные инструменты после использования следует убирать;
- указание о том, что устройство контроля продуктов сгорания в случае прекращения вытяжки продуктов сгорания останавливает подачу газа;
- описание процедуры повторного включения;
- указание, что при повторном срабатывании устройства контроля продуктов сгорания следует обратиться за помощью к специалисту.
8.2.4 Дополнительные сведения
| | Open fronted gas-fired independend space heaters (Обогреватели газовые автономные с открытым очагом) |
| EN 509:2000 | Decorative fuel-effect gas appliances (Приборы газовые бытовые с декоративным оформлением топлива) |
| EN 1266:2003 | Independent gas-fired convection heaters incorporating a fan to assist transportation of combustion air and/or flue gases (Приборы отопительные газовые конвективные с встроенным вентилятором для переноса воздуха для горения и/или топочных газов) |
| EN 50165:1997 | Electrical equipment of non-electric appliances for household and similar purposes. Safety requirements (Электрооборудование неэлектрических приборов бытового и аналогичного назначения. Требования безопасности) |
| | Automatic gas burner control systems for gas burners and gas burning appliances with or without fans (Системы контроля автоматические газовых горелок и приборов с вентилятором или без него) |
| EN 60529:1992 | Specification for degrees of protection provided by enclosures (IP code) [Степени защиты, обеспечиваемой оболочками (код IP)] |
--------------------------------
<1> Заменен на EN 13278:2014.
<2> Заменен на EN 298:2012.
УДК 697.245:006.354 | |
Ключевые слова: газовый обогреватель, технические требования, безопасность, методы испытаний |