Главная // Актуальные документы // ГОСТ (Государственный стандарт)
СПРАВКА
Источник публикации
М.: Стандартинформ, 2016
Примечание к документу
Документ включен в Перечень стандартов (пункты 31, 131, 196), в результате применения которых на добровольной основе обеспечивается соблюдение требований технического регламента Таможенного союза "Безопасность автомобильных дорог" (ТР ТС 014/2011) (Решение Коллегии Евразийской экономической комиссии от 18.09.2012 N 159).

Документ введен в действие с 1 июня 2016 года с правом досрочного применения.
Название документа
"ГОСТ 32955-2014. Межгосударственный стандарт. Дороги автомобильные общего пользования. Лотки дорожные водоотводные. Технические требования"
(введен в действие Приказом Росстандарта от 09.09.2015 N 1294-ст)

"ГОСТ 32955-2014. Межгосударственный стандарт. Дороги автомобильные общего пользования. Лотки дорожные водоотводные. Технические требования"
(введен в действие Приказом Росстандарта от 09.09.2015 N 1294-ст)


Содержание


Введен в действие
Приказом Федерального
агентства по техническому
регулированию и метрологии
от 9 сентября 2015 г. N 1294-ст
МЕЖГОСУДАРСТВЕННЫЙ СТАНДАРТ
ДОРОГИ АВТОМОБИЛЬНЫЕ ОБЩЕГО ПОЛЬЗОВАНИЯ
ЛОТКИ ДОРОЖНЫЕ ВОДООТВОДНЫЕ
ТЕХНИЧЕСКИЕ ТРЕБОВАНИЯ
Automobile roads of general use. Drainage road trays.
Technical requirements
ГОСТ 32955-2014
МКС 93.080.30
Дата введения
1 июня 2016 года
С правом досрочного применения
Предисловие
Цели, основные принципы и основной порядок проведения работ по межгосударственной стандартизации установлены ГОСТ 1.0-92 "Межгосударственная система стандартизации. Основные положения" и ГОСТ 1.2-2009 "Межгосударственная система стандартизации. Стандарты межгосударственные, правила и рекомендации по межгосударственной стандартизации. Правила разработки, принятия, применения, обновления и отмены"
Сведения о стандарте
1 Разработан Обществом с ограниченной ответственностью "Прогресс Строй" (ООО "Прогресс Строй")
2 ВНЕСЕН Межгосударственным техническим комитетом по стандартизации МТК 418 "Дорожное хозяйство"
3 ПРИНЯТ Межгосударственным советом по стандартизации, метрологии и сертификации (протокол от 5 декабря 2014 г. N 46)
За принятие проголосовали:
Краткое наименование страны по МК (ИСО 3166) 004-97
Код страны по МК (ИСО 3166) 004-97
Сокращенное наименование национального органа по стандартизации
Армения
AM
Минэкономики Республики Армения
Беларусь
BY
Госстандарт Республики Беларусь
Казахстан
KZ
Госстандарт Республики Казахстан
Киргизия
KG
Кыргызстандарт
Россия
RU
Росстандарт
Узбекистан
UZ
Узгосстандарт
4 Приказом Федерального агентства по техническому регулированию и метрологии от 9 сентября 2015 г. N 1294-ст межгосударственный стандарт ГОСТ 32955-2014 введен в действие в качестве национального стандарта Российской Федерации с 1 июня 2016 г.
5 ВВЕДЕН ВПЕРВЫЕ
Информация об изменениях к настоящему стандарту публикуется в ежегодном информационном указателе "Национальные стандарты" (по состоянию на 1 января текущего года), а текст изменений и поправок - в ежемесячном информационном указателе "Национальные стандарты". В случае пересмотра (замены) или отмены настоящего стандарта соответствующее уведомление будет опубликовано в ежемесячном информационном указателе "Национальные стандарты". Соответствующая информация, уведомление и тексты размещаются также в информационной системе общего пользования - на официальном сайте Федерального агентства по техническому регулированию и метрологии в сети Интернет
1. Область применения
ИС МЕГАНОРМ: примечание.
Текст дан в соответствии с официальным текстом документа.
Настоящий стандарт распространяется на водоотводные дорожные лотки водоотводные шириной в свету до 1000 мм, в том числе на дорожные лотки, изготавливаемые на месте производства работ из монолитного бетона бетоноукладчиками со скользящей опалубкой (далее - лотки), монтируемые в зонах движения автомобильного транспорта и в пешеходных зонах для сбора и отвода воды с поверхности автомобильных дорог, а также пешеходных зон, и устанавливает технические требования к лоткам, их классификацию и требования к безопасности, маркировке, транспортированию и хранению.
Стандарт также устанавливает технические требования к ливнесточным решеткам (далее - решетки), закладным изделиям и другим деталям, интегрированным в сборные и монолитные конструкции лотков.
Требования настоящего стандарта распространяются также на элементы ливнесточных и пескоулавливающих колодцев, являющимися конструктивными элементами линейных водосточных систем.
Допускается применение водоотводных лотков на объектах благоустройства других территорий.
2. Нормативные ссылки
В настоящем стандарте использованы ссылки на следующие межгосударственные стандарты:
ГОСТ 977-88 Отливки стальные. Общие технические условия
ГОСТ 1412-85 Чугун с пластинчатым графитом для отливок. Марки
ГОСТ 5264-80 Ручная дуговая сварка. Соединения сварные. Основные типы, конструктивные элементы и размеры
ГОСТ 5582-75 Прокат тонколистовой коррозионно-стойкий, жаростойкий и жаропрочный. Технические условия
ГОСТ 5781-82 Сталь горячекатаная для армирования железобетонных конструкций. Технические условия
ГОСТ 6727-80 Проволока из низкоуглеродистой стали холоднотянутая для армирования железобетонных конструкций. Технические условия
ГОСТ 7293-85 Чугун с шаровидным графитом для отливок. Марки
ГОСТ 8267-93 Щебень и гравий из плотных горных пород для строительных работ. Технические условия
ГОСТ 8736-93 Песок для строительных работ. Технические условия
ГОСТ 10178-85 Портландцемент и шлакопортландцемент. Технические условия
ГОСТ 10884-94 Сталь арматурная термомеханически упрочненная для железобетонных конструкций. Технические условия
ГОСТ 10922-90 Арматурные и закладные изделия сварные, соединения сварные арматуры и закладных изделий железобетонных конструкций. Общие технические условия
ГОСТ 11534-75 Ручная дуговая сварка. Соединения сварные под острыми и тупыми углами. Основные типы, конструктивные элементы и размеры
ГОСТ 13015-2012 Изделия железобетонные и бетонные для строительства. Общие технические требования. Правила приемки, маркировки, транспортирования и хранения
ГОСТ 14192-96 Маркировка грузов
ГОСТ 14918-80 Сталь тонколистовая оцинкованная с непрерывных линий. Технические условия
ГОСТ 16523-97 Прокат тонколистовой из углеродистой стали качественной и обыкновенного качества общего назначения. Технические условия
ГОСТ 18105-2010 Бетоны. Правила контроля и оценки прочности
ГОСТ 19903-74 Прокат листовой горячекатаный. Сортамент
ГОСТ 19904-90 Прокат листовой холоднокатаный. Сортамент
ГОСТ 23279-85 Сетки арматурные сварные для железобетонных конструкций и изделий. Общие технические условия
ГОСТ 23732-2011 Вода для бетонов и строительных растворов. Технические условия
ГОСТ 26358-84 Отливки из чугуна. Общие технические условия
ГОСТ 26633-2012 Бетоны тяжелые и мелкозернистые. Технические требования
ГОСТ 26645-85 Отливки из металлов и сплавов. Допуски размеров, массы и припуски на механическую обработку
ГОСТ 30402-96 Материалы строительные. Метод испытания на воспламеняемость
ГОСТ 31108-2003 Цементы общестроительные. Технические условия
ГОСТ 32703-2014 Дороги автомобильные общего пользования. Щебень и гравий из горных пород. Технические требования
ГОСТ 32730-2014 Дороги автомобильные общего пользования. Песок дробленый. Технические требования
ИС МЕГАНОРМ: примечание.
В официальном тексте документа, видимо, допущена опечатка: ГОСТ 32823-2014 имеет название "Дороги автомобильные общего пользования. Песок шлаковый. Определение содержания глинистых частиц (метод набухания)".
ГОСТ 32823-2014 Дороги автомобильные общего пользования. Песок природный. Технические требования
ГОСТ 33174-2014 Дороги автомобильные общего пользования. Цемент. Технические требования
Примечание - При пользовании настоящим стандартом целесообразно проверить действие ссылочных стандартов в информационной системе общего пользования - на официальном сайте Федерального агентства по техническому регулированию и метрологии в сети Интернет или по ежегодному информационному указателю "Национальные стандарты", который опубликован по состоянию на 1 января текущего года, и по выпускам ежемесячного информационного указателя "Национальные стандарты" за текущий год. Если ссылочный стандарт заменен (изменен), то при пользовании настоящим стандартом следует руководствоваться заменяющим (измененным) стандартом. Если ссылочный стандарт отменен без замены, то приложение, в котором дана ссылка на него, применяется в части, не затрагивающей эту ссылку.
3. Термины и определения
В настоящем стандарте применены следующие термины с соответствующими определениями:
3.1 лоток (водоотводной, сточный): Сборная или монолитная конструкция, состоящая из конструктивных элементов, предназначенная для приема поверхностной воды по всей своей длине и направления ее далее в сток.
Примечание - В зависимости от проектного решения конструкция лотков может быть прямолинейной, криволинейной, радиусной или соединяемой под углом.
3.2 поверхностная вода: Вода, стекающая с проезжей части, обочины, тротуара, разделительной полосы автомобильной дороги, а также со зданий, сооружений или с поверхности земли.
3.3 решетка ливнесточная: Съемная часть коробчатого лотка, устанавливаемая в конструкцию лотка (ливнесточного колодца) для пропуска в него воды.
Примечание - Типовые конструкции решеток приведены на рисунке 1.
Рисунок 1 - Типовые конструкции водоприемных решеток
3.4 ливнесточный колодец: Бетонная камера различной глубины, предназначенная для подсоединения к системам ливневых стоков.
Примечание - Дождеприемники, как правило, используются в качестве точечного водоотвода.
3.5 пескоулавливающий колодец: Бетонная камера различной глубины, предназначенная для сбора песка и других твердых остатков, а также для подсоединения к системам ливневых стоков, имеющая те же конструктивные особенности, что и подсоединяемые к ней линейки лотков. Пескоуловитель изготавливают из одной или нескольких герметично соединяемых по вертикали частей.
3.6 мусоросборник (корзина): Извлекаемый конструктивный элемент сточного лотка или пескоулавливающего (ливнесточного) колодца, предназначенный для сбора и удаления твердых остатков.
3.7 номинальная ширина лотка: Ширина лотка в свету - конструктивный параметр, соответствующий максимальному целочисленному габаритному размеру лотка по горизонтали в миллиметрах.
3.8 опорная поверхность лотка: Поверхность, на которую монтируются усиливающая насадка, закладные детали или укладывается водоприемная решетка в лотке.
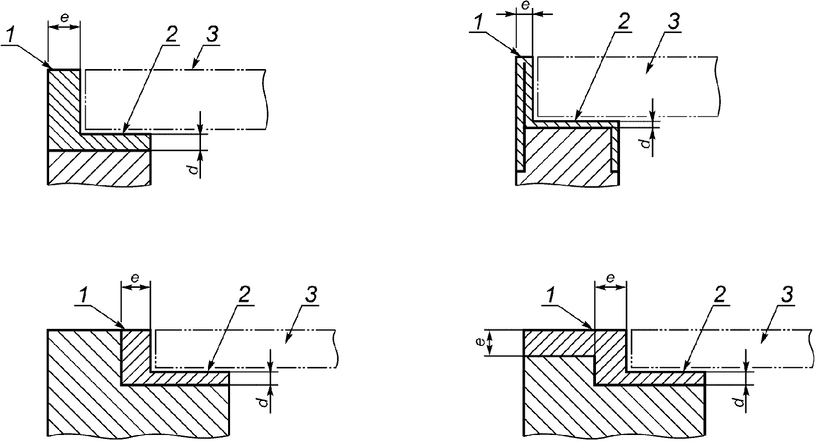
3.9 усиливающая насадка: Конструктивный элемент, изготовляемый из металла, предназначенный для защиты опорных и открытых поверхностей лотка от повреждений при движении по ним транспортных средств.
3.10 контактная поверхность: Поверхность усиливающей насадки или закладной детали, на которую укладывается водоприемная решетка в лотке.
Примечание - Типовые конструкции усиливающих насадок представлены на рисунке 2.
1 - усиливающая насадка; e - толщина вертикальной стенки
усиливающей насадки; 2 - контактная поверхность;
d - толщина листа под контактной поверхностью;
3 - водоприемная решетка
Рисунок 2 - Типовые конструкции усиливающих насадок
3.11 демпфирующая прокладка: Прокладка из упругого легко деформируемого материала, укладываемая на контактную поверхность насадки или прикрепляемая по контуру к нижней поверхности водоприемной решетки, служащая для обеспечения устойчивого положения решетки в лотке.
3.12 глубина посадки решетки: Размер, соблюдение которого обеспечивает правильное расположение (заподлицо с прилегающей поверхностью) решетки в лотке.
Примечание - Типовые примеры установки водоприемной решетки в лотке представлены на рисунке 3.
1 - поверхность прилегающего покрытия автомобильной дороги
или пешеходной зоны; 2 - водоприемная решетка;
3 - стенка лотка; a1, a2 - ширина щелей между корпусом
лотка и решеткой; CO - ширина просвета лотка;
A - глубина посадки решетки
Рисунок 3 - Типовые примеры установки водоприемной
решетки в лотке
3.13 площадь просвета лотка: Площадь свободной поверхности, расположенной между опорными стенками или кромками щелей (площадь верхней поверхности корпуса коробчатого лотка или площадь щели в щелевом лотке); в мм2 или см2.
Примечание - Примеры расчета площади просвета лотка представлены на рисунке 4.
Площадь просвета = CO·L, L = L1 + L2 + L3
Рисунок 4 - Примеры расчета площади просвета в лотках
3.14 ширина просвета: Расстояние между опорными стенками коробчатого лотка или между кромками щелей лотка (CO), в миллиметрах.
Примечание - Примеры определения ширины просвета лотков представлены на рисунках 3 и 4.
3.15 общая площадь просветов в корпусе щелевого лотка или в решетке: Общая площадь сечений всех щелей, а также отверстий в решетках или других отверстий для пропуска воды в щелевых лотках в пределах площади просвета, в мм2 или см2.
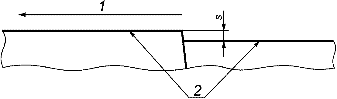
3.16 размер уступа в дне смежных лотков: Разность вертикальных отметок дна стыкуемых лотков, как это представлено на рисунке 5.
1 - направление водотока; 2 - поверхность дна лотков;
s - размер уступа в дне смежных лотков
Рисунок 5 - Схема определения размера уступа
в дне смежных лотков
3.17 испытательная нагрузка: Нагрузка, указываемая в кН, прилагаемая к элементу лотка или решетке при проведении испытаний нагружением.
3.18 предельная разрушающая нагрузка: Значение максимальной нагрузки, указываемое в кН, при достижении которого происходит разрушение изделия при проведении его испытаний нагружением.
3.19 полимербетон: Материал, получаемый путем смешивания полимерного вяжущего и заполнителей, структура которого формируется в процессе затвердевания вяжущего.
3.20 полимерные материалы: Неорганические и органические, аморфные и кристаллические вещества, состоящие из мономерных звеньев, соединенных в длинные макромолекулы химическими или координационными связями.
4. Классификация
4.1 В зависимости от способа изготовления лотки подразделяют:
- на предварительно изготовленные (заводского изготовления);
- монолитные (изготовленные на месте установки).
4.2 В зависимости от конструктивных параметров лотки подразделяют на следующие виды:
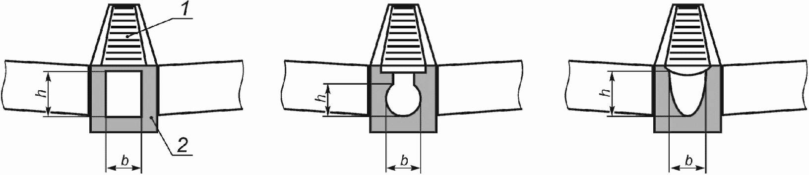
а) коробчатые - лотки с открытым верхом, состоящие из корпуса и водопропускной решетки. Типовые конструкции лотков представлены на рисунке 6;
1 - решетка; 2 - корпус лотка;
h, b - внутренние размеры (смачиваемый периметр)
Рисунок 6 - Типовые конструкции коробчатых лотков
б) щелевые - лотки закрытого профиля, имеющие в верхней части узкую сплошную или прерывистую щель для пропуска воды. Типовая конструкция лотка представлена на рисунке 7;
h, b - внутренние размеры (смачиваемый периметр)
Рисунок 7 - Типовая конструкция щелевого лотка
в) бордюрные щелевые - лотки закрытого профиля, имеющие узкую сплошную или прерывистую щель для пропуска воды. Типовые конструкции лотков представлены на рисунке 8;
h, b - внутренние размеры (смачиваемый периметр)
Рисунок 8 - Типовые конструкции бордюрных щелевых лотков
г) открытые - открытые вверх лотки, состоящие только из корпуса, или из корпуса и доборных стенок, увеличивающих возможный смачиваемый периметр. Типовые конструкции лотков представлены на рисунке 9.
h, b (b1, b2) - внутренние размеры (смачиваемый периметр)
Рисунок 9 - Типовые конструкции открытых лотков
4.3 По несущей способности лотки, в том числе ливнесточные и пескоулавливающие колодцы, и решетки в соответствии с их предполагаемым использованием подразделяют на классы, приведенные в таблице 1.
Таблица 1
Классы лотков
Класс нагрузки/Группа монтажа
Несущая способность (значение испытательной нагрузки), кН
Рекомендуемый тип лотков
A0 группа I
-
Типы 1, 2
A15 группа II
15
Типы 1, 3
B125 группа III
125
Типы 3, 4
C250 группа IV
250
Типы 3, 4
4.4 В зависимости воспринимаемых эксплуатационных нагрузок конструкции лотков подразделяют:
- на тип 1 - лоток, устанавливаемый без фундамента или обмуровки, воспринимающий в смонтированном состоянии вертикальные и горизонтальные нагрузки;
- тип 2 - лоток, устанавливаемый на фундамент или жесткое основание, воспринимающий в смонтированном состоянии вертикальные нагрузки;
- тип 3 - лоток, устанавливаемый на фундамент и/или в обмуровку, воспринимающий в смонтированном состоянии вертикальные и горизонтальные нагрузки;
- тип 4 - лоток, устанавливаемый на фундамент и в обмуровку на всю высоту лотка, параметры которых определяются расчетом, воспринимающий в смонтированном состоянии вертикальные и горизонтальные нагрузки.
Типовые примеры конструктивного исполнения фундамента и обмуровки лотков представлены на рисунке 10.
x, y и z - геометрические размеры несущего фундамента
и обмуровки
1 - постилающий слой; 2 - штучные элементы мощения;
3 - лоток; 4 - битумная мастика; 5 - дорожное покрытие;
6 - верхний слой основания; 7 - основание из бетона;
8 - подстилающий слой
Рисунок 10 - Типовые примеры конструктивного исполнения
фундамента и обмуровки лотков
4.5 Места установки лотков подразделяют на следующие группы монтажа:
- группа I - для неглубоких открытых лотков, монтируемых в кюветах автомобильных дорог, зонах благоустройства, не предназначенных для движения людей и транспорта;
- группа II - зоны движения, предназначенные для пользования пешеходами и велосипедистами; пешеходные дорожки, закрытые для движения транспорта;
- группа III - места стоянок автомобильного транспорта;
- группа IV - полосы движения автомобильного транспорта, укрепленные и разделительные полосы, островки безопасности, обочины автомобильных дорог.
4.6 Лотки обозначают марками, которые включают в себя буквенные обозначения вида лотка, цифровое обозначение основных номинальных размеров, в том числе внутренних размеров (длины, высоты и ширины, указываемых в скобках, или диаметра), выраженных в сантиметрах и разделенных точкой и знаком тире, а также буквенное и цифровое обозначение класса лотка, отделенное знаком тире.
Для указания вида лотков применяют следующие условные обозначения:
К - коробчатый лоток;
Щ - щелевой лоток;
БЩ - бордюрный щелевой лоток;
О - открытый лоток;
ОД - открытый лоток с доборными стенками;
П - прямоугольного внутреннего сечения;
U - U-образное внутреннее сечение;
КС - кольцевого внутреннего сечения;
ЛК - ливнесточный колодец;
ПК - пескоулавливающий колодец.
Примеры
1 КП 100.35(25).40(35)-A15 Лоток коробчатый прямоугольного внутреннего сечения длиной 1000 мм, шириной 350 мм и высотой 400 мм, в том числе шириной в свету 250 мм и высотой внутри 350 мм, класса по несущей способности A15.
2 ЩКС 200.60.60-Ф25-B130 Лоток щелевой кольцевого внутреннего сечения длиной 2000 мм, шириной 600 мм, высотой 600 мм, внутренним диаметром 250 мм, класса по несущей способности B130.
3 ПКП 80(60).50.80(60)-C250 Блок пескоулавливающего колодца прямоугольного внутреннего сечения длиной 800 мм, шириной 800 мм и высотой 500 мм, в том числе длиной внутри 600 мм и шириной в свету 600 мм, класса по несущей способности C250.
5. Технические требования
5.1 Общие положения
5.1.1 Лотки, ливнесточные и пескоулавливающие колодцы изготавливают из следующих материалов:
- тяжелого бетона (железобетона), удовлетворяющего требованиям ГОСТ 26633 или национальных стандартов, действующих на территории государств, проголосовавших за принятие стандарта, в том числе дисперсно армированного бетона;
- полимербетона.
5.1.2 Решетки лотков изготавливают из чугуна:
- с пластинчатым графитом;
- со сферическим графитом.
5.1.3 Лотки и решетки должны изготавливаться по рабочим чертежам, утвержденным в установленном порядке. Лотки изготавливают в формах, обеспечивающих соблюдение установленных настоящим стандартом требований к их качеству и точности изготовления.
5.1.4 Лотки и решетки, применяемые на автомобильных дорогах, должны быть стойкими к воздействию климатических факторов и агрессивных факторов внешней среды, обеспечивать восприятие эксплуатационных нагрузок стенками лотков и решеткой без разрушения и накопления деформаций в течение всего срока их службы.
5.1.5 При тепловлажностной обработке изделий из бетона (железобетона) следует соблюдать режимы твердения с температурой изотермической выдержки не более 60 °C и скоростью подъема температуры и охлаждения изделий не более 10 °C/ч.
5.2 Основные параметры и размеры
5.2.1 Форма и номинальные размеры лотков и решеток устанавливаются изготовителем по согласованию с потребителем.
Основные параметры формы и размеры должны обеспечивать соответствие лотков и решеток их назначению, а также надежность и безопасность их использования на автомобильных дорогах.
5.2.2 К основным размерам лотков относят их длину, ширину и высоту, параметры их внутреннего поперечного сечения (смачиваемого периметра), а также размеры щелей бортовых щелевых и щелевых лотков.
К основным размерам решеток относят их длину, ширину и толщину, а также размеры щелей и отверстий.
Как правило, внутренняя высота (глубина) лотка должна быть не менее его номинальной ширины (ширины в свету).
5.2.3 Соответствие лотков требованиям к их форме и размерам оценивают по величине отклонений действительных значений соответствующих показателей от их номинальных значений.
Значения действительных отклонений показателей внутренних размеров лотков от номинальных значений не должны превышать предельных значений, указанных в таблице 2.
Таблица 2
Геометрические размеры лотков и предельные отклонения
В миллиметрах
Наименование внутреннего размера
Предельное отклонение
Наружная высота лотка
до 500 включ.
Наружная высота лотка
св. 500
Длина:
до 1000 включ.
+/- 2
+/- 4
свыше 1000 до 4000 включ.
+/- 4
+/- 8
св. 4000
+/- 5
+/- 10
Ширина:
до 500 включ.
+/- 2
+/- 3
св. 500
+/- 3
+/- 5
Высота (диаметр):
до 200 включ.
+/- 2
+/- 3
св. 200
+/- 3
+/- 5
5.2.4 Погрешности изготовления изделий не должны превышать следующих значений:
а) отклонение толщины стенок - 1,5 мм;
б) отклонение от плоскостности торцевых граней - 2,0 мм;
в) отклонение от прямолинейности профиля верхней лицевой поверхности на длине 1000 мм - 1,5 мм;
г) отклонение от перпендикулярности торцевых и смежных граней при высоте изделия:
до 200 мм включ. - 1,5 мм;
св. 200 до 500 мм включ. - 2,5 мм;
св. 500 мм - 5,0 мм.
5.2.5 Значения действительных отклонений показателей внутренних размеров лотков, изготавливаемых на месте производства работ из монолитного бетона (железобетона), от номинальных значений не должны превышать предельных значений, указанных в таблице 2.
5.2.6 Отклонения внутренних размеров блоков ливнесточных или пескоулавливающих колодцев от номинальных не должны превышать следующих значений:
+/- 3 мм - при наружной высоте лотка до 500 мм включ.;
+/- 5 мм - при наружной высоте лотка св. 500 мм.
5.2.7 Ширина щели в щелевом лотке может составлять от 10 до 42 мм в зависимости от расположения ее оси по отношению к направлению движения автомобильного транспорта и устанавливается в соответствии с таблицей 3.
Таблица 3
Геометрические размеры щели в щелевом лотке
Направление оси щели
Геометрические размеры щели, мм
Ширина
Длина
От 0° до 45° включ. и св. 135° до 180° включ.
Св. 10 до 18 включ.
Без ограничений
Св. 18 до 32 включ.
Не более 170
От 45° до 135° включ.
Св. 10 до 42 включ.
Без ограничений
5.2.8 В бордюрном щелевом лотке параметры щели должны составлять:
- длина - не более 170 мм;
- ширина - не более 90 мм.
При этом ширина вертикальной проекции щели на горизонтальную плоскость не должна превышать 32 мм при угле скоса лицевой поверхности бордюра не более 20°.
5.2.9 Щели или другие отверстия в решетках должны быть равномерно распределены по всей ее площади. Площадь щелей или других отверстий должна составлять не менее 30% от ее чистой площади.
5.2.10 Параметры щелей в решетках, рассчитанных под классы нагрузок A15 и B125, должны составлять:
- при ширине от 8 до 18 мм включ. - длина щели не ограничивается;
- при ширине щели св. 18 до 25 мм включ. - длина щели не должна превышать 170 мм.
Параметры щелей в решетках, рассчитанных под класс нагрузки C250, в зависимости от расположения их осей по отношению к направлению движения автомобильного транспорта устанавливается в соответствии с таблицей 3.
5.3 Основные показатели и характеристики
5.3.1 К основным показателям, характеризующим качество лотков и решеток, а также конструкционных материалов из которых они изготовлены, относят:
- внешний вид и качество поверхности изделий;
- прочность и трещиностойкость изделий;
- прочность конструкционного материала на сжатие;
- прочность конструкционного материала на растяжение при изгибе;
- объем вовлеченного в бетонную смесь воздуха;
- морозостойкость конструкционного материала;
- водонепроницаемость конструкционного материала;
- водопоглощение конструкционного материала;
- истираемость конструкционного материала;
- толщину защитного слоя бетона над стальной арматурой;
- удельную эффективную активность естественных радионуклидов;
- форму и качество арматурных и закладных изделий, усиливающих насадок;
- марку арматурной стали, марки стали и чугуна закладных изделий и усиливающих насадок;
- марку чугуна решеток.
5.3.2 Внешний вид и качество поверхности изделий
5.3.2.1 Для лотков, изготовленных из бетона (железобетона, дисперсно армированного бетона), лицевая поверхность должна соответствовать категории не ниже А6, а нелицевые поверхности - категории не ниже А7 по ГОСТ 13015 или согласно требованиям национальных стандартов, действующих на территории государств, проголосовавших за принятие стандарта.
5.3.2.2 Допускается наличие на поверхности лотков отдельных дефектов в виде повреждений, за исключением лицевой поверхности:
- сколов на ребрах лотков глубиной до 10 мм при суммарной длине сколов не более 100 мм на одно изделие;
- поверхностных трещин шириной не более 0,1 мм при суммарной длине трещин не более 100 мм на одно изделие.
5.3.2.3 Наличие масляных и ржавых пятен на лицевой поверхности открытых, щелевых и бордюрных щелевых лотков не допускается.
5.3.2.4 Решетки и усиливающие насадки не должны иметь дефектов, снижающих их прочность.
На поверхности изделий допускается наличие раковин диаметром не более 10 мм и глубиной не более 3 мм, занимающих не более 5% поверхности изделий. Трещины не допускаются. На нижней опорной поверхности насадок и решеток допускается наличие шлаковых включений, занимающих не более 10% общей площади поверхности.
5.3.2.5 Допуски изделий в соответствии с ГОСТ 26645 должны соответствовать:
- не ниже 10 класса точности - по размерам;
- не ниже 11 класса точности - по массе.
5.3.2.6 Решетки должны плотно прилегать к контактной поверхности усиливающих насадок или закладных изделий. Допуск плоскостности опорной поверхности решетки не должен превышать 2 мм.
Решетки, рассчитанные на класс нагрузки C250, должны иметь демпфирующую прокладку, которую укладывают на контактную поверхность насадки или крепят к опорной поверхности решетки. Конструкцию, размеры прокладки и способы ее крепления определяет предприятие-изготовитель. Твердость демпфирующей прокладки должна быть не ниже 40 единиц по Шору.
5.3.3 Прочность и трещиностойкость изделий
5.3.3.1 Лотки должны соответствовать установленным настоящим стандартом требованиям по прочности, а изготовленные из железобетона - дополнительно и по трещиностойкости, и выдерживать при испытаниях контрольные нагрузки, указанные в таблице 1.
5.3.3.2 Контрольная ширина раскрытия трещин при испытании на трещиностойкость лотков, ливнесточных и пескоулавливающих колодцев, изготовленных из железобетона, не должна превышать 0,2 мм.
Появление трещин в корпусах изделий, изготовленных из бетона, в том числе дисперсно армированного бетона, и полимербетона при испытаниях на прочность не допускается.
5.3.3.3 Решетки должны выдерживать при испытаниях на прочность контрольные нагрузки, указанные в таблице 1, без образования трещин.
5.3.4 Прочность конструкционных материалов на сжатие и на растяжение при изгибе
5.3.4.1 Лотки, ливнесточные и пескоулавливающие колодцы изготавливают из бетона классов по прочности на сжатие и на растяжение при изгибе не ниже B30 и Btb4,0 соответственно.
Обмуровку и фундаменты лотков следует изготавливать из монолитного бетона класса по прочности на сжатие не ниже B25.
5.3.4.2 Значение нормируемой отпускной прочности бетонных и железобетонных изделий должно составлять не менее 90% от класса бетона по прочности на сжатие и на растяжение при изгибе.
5.3.4.3 Фактическая прочность бетона должна соответствовать требуемой прочности по ГОСТ 18105 в зависимости от показателей фактической однородности прочности бетона.
5.3.4.4 Полимербетон, применяемый для изготовления лотков, в возрасте 7 сут должен иметь следующие физико-механические показатели:
- предел прочности на сжатие - не менее 90 МПа;
- предел прочности при изгибе - не менее 22 МПа.
5.3.5 Морозостойкость конструкционных материалов
5.3.5.1 Морозостойкость бетона лотков, ливнесточных и пескоулавливающих колодцев, а также обмуровки лотков должна быть не ниже марки F200 при испытаниях вторым базовым методом.
5.3.5.2 Морозостойкость полимербетона лотков должна быть не ниже марки F200 при испытаниях вторым базовым методом.
5.3.6 Водонепроницаемость конструкционных материалов
5.3.6.1 Водонепроницаемость бетона лотков, ливнесточных и пескоулавливающих колодцев должна быть не ниже марки W8.
Водонепроницаемость бетона обмуровки лотков должна быть не ниже марки W6.
5.3.6.2 Водонепроницаемость полимербетона лотков должна быть не ниже марки W8.
5.3.7 Водопоглощение конструкционных материалов
5.3.7.1 Водопоглощение бетона лотков, ливнесточных и пескоулавливающих колодцев, а также обмуровки лотков не должно превышать 5% по массе.
Водопоглощение полимербетона не должно превышать 0,5% по массе.
5.3.8 Истираемость конструкционных материалов
Значение истираемости конструкционных материалов щелевых и бордюрных щелевых лотков, а также лотков, элементы конструкций которых подвергаются непосредственному воздействию колес автотранспортных средств и пешеходных нагрузок, не должно превышать 0,7 г/см2.
5.3.9 Толщина защитного слоя бетона над рабочей стальной арматурой
Толщина защитного слоя бетона над рабочей стальной арматурой для щелевых и бордюрных щелевых лотков должна быть не менее 30 мм, а для других изделий и обмуровки лотков - не менее 20 мм.
5.3.10 Удельная эффективная активность естественных радионуклидов
Значение показателя суммарной удельной эффективной активности для лотков и решеток, применяемых на автомобильных дорогах общего пользования в пределах территорий населенных пунктов и зон перспективной застройки не должно превышать 740 Бк/кг, а вне населенных пунктов - 1500 Бк/кг.
5.3.11 Форма и качество арматурных и закладных изделий, усиливающих насадок
5.3.11.1 Форма и размеры арматурных и закладных изделий и их положение в лотках и блоках ливнесточных и пескоулавливающих колодцев должны соответствовать рабочим чертежам, разработанным и утвержденным в установленном порядке.
Сварные арматурные и закладные изделия должны удовлетворять требованиям рабочих чертежей, ГОСТ 10922, ГОСТ 23279.
5.3.11.2 Закладные изделия и усиливающие насадки изготавливают в виде цельных отливок, штампованных, гнутых или сварных элементов.
Металлические отливки должны удовлетворять требованиям ГОСТ 977, ГОСТ 26358, ГОСТ 26645.
При изготовлении сварных закладных изделий и усиливающих насадок следует соблюдать требования ГОСТ 5264, ГОСТ 11534.
5.3.11.3 Закладные изделия, интегрированные в лотки в процессе их изготовления, должны быть соединены с ними при помощи анкеров в виде жесткого единого элемента.
5.3.11.4 Поверхность арматуры и закладных деталей, арматурных выпусков и соединительных деталей, имеющих непосредственный контакт с внешней средой, должна иметь антикоррозионное покрытие. Антикоррозионные покрытия должны соответствовать требованиям нормативных документов, действующих на территории государств, проголосовавших за принятие стандарта.
5.3.12 Марки арматурной стали, стали и чугуна для закладных изделий и усиливающих насадок
5.3.12.1 Для изготовления арматурных изделий, монтажно-стыковых и стыковых соединений применяют арматурные стали, указанные в рабочих чертежах. При этом арматурные стали должны удовлетворять следующим требованиям:
- стержневая арматурная сталь классов А-I, А-III, А-IV и А-V по ГОСТ 5781;
- термомеханически и термически упрочненная арматурная сталь классов Ат-IIIC, Ат-IVC, Ат-IV И Ат-V по ГОСТ 10884;
- арматурная проволока класса Вр-I по ГОСТ 6727.
Несвариваемая арматурная сталь классов Ат-IV и Ат-V должна применяться в виде цельных стержней мерной длины без сварных стыков.
5.3.12.2 Для изготовления закладных изделий и усиливающих насадок используют прокат и листовую сталь, указанные в рабочих чертежах.
Штампованные, гнутые и сварные закладные изделия и усиливающие насадки изготавливают из проката и листовой стали, удовлетворяющих требованиям ГОСТ 5582, ГОСТ 14918, ГОСТ 16523, ГОСТ 19903 и ГОСТ 19904.
5.3.12.3 Применение низкоуглеродистой конструкционной стали допускается при условии обеспечения ее достаточной коррозионной стойкости, которая достигается применением горячего цинкования.
5.3.12.4 Усиливающие насадки в виде отливок изготавливают из чугуна марки не ниже СЧ 20 по ГОСТ 1412, ГОСТ 7293.
5.3.13 Марка чугуна решеток
Решетки в виде отливок изготавливают из чугуна марки не ниже СЧ 20 по ГОСТ 1412, ГОСТ 7293.
5.4 Требования к материалам
5.4.1 Требования к материалам для приготовления бетонных смесей
5.4.1.1 Удобоукладываемость бетонных смесей должна соответствовать указанной в технологических регламентах на изготовление лотков и бетонной обмуровки.
5.4.1.2 Объем вовлеченного воздуха в бетонных смесях должен быть не менее установленного при подборе состава смеси и находиться в пределах от 5% до 7%.
5.4.1.3 Для приготовления бетонной смеси следует применять портландцемент для бетона покрытий и искусственных сооружений ЦЕМ I Н, ЦЕМ II/А-Ш Н классов прочности 32,5 - 52,5 по ГОСТ 33174.
Допускается использовать портландцемент ПЦ-Д0-Н и ПЦ-Д20-Н, содержащий добавку доменного гранулированного шлака не более 15% массы клинкера, марок 400 - 550 по ГОСТ 10178 или портландцемент ЦЕМ I Н и ЦЕМ II/А-Ш Н, содержащий добавку доменного гранулированного шлака не более 15% массы клинкера, классов прочности 32,5 - 52,5 по ГОСТ 31108. Содержание трехкальциевого алюмината в клинкере не должно превышать 8% по массе.
5.4.1.4 В качестве крупного заполнителя следует использовать щебень из плотных горных пород, соответствующий требованиям ГОСТ 32703. Допускается использовать щебень из плотных горных пород, удовлетворяющий требованиям ГОСТ 8267.
Максимальная крупность зерен щебня не должна превышать:
- 16 мм - по ГОСТ 32703;
- 20 мм - по ГОСТ 8267.
Марка щебня по дробимости должна быть не ниже 1200. Марка по морозостойкости - не ниже F200.
Содержание зерен слабых пород в щебне не должно превышать 5% по массе.
5.4.1.5 В качестве мелкого заполнителя следует использовать пески природные и дробленые, соответствующие требованиям ГОСТ 32823 и ГОСТ 32730, не ниже I класса или их смеси.
Допускается использовать пески природные и дробленые, удовлетворяющие требованиям ГОСТ 8736, не ниже I класса или их смеси.
5.4.1.6 Вода для приготовления бетонных смесей должна удовлетворять требованиям ГОСТ 23732.
5.4.1.7 В состав бетонной смеси следует вводить пластифицирующую и воздухововлекающую химические добавки. Химические добавки должны соответствовать требованиям нормативных документов, действующих на территории государств, проголосовавших за принятие стандарта.
5.4.1.8 Для повышения удельной ударной вязкости бетона и трещиностойкости изделий из бетона в состав бетонной смеси рекомендуется вводить фибру из искусственных, синтетических и природных волокон.
Фибра из искусственных волокон органического или минерального происхождения должна быть щелочестойкой, волокна должны иметь специальное покрытие, препятствующее их комкованию при накоплении на их поверхности статического электрического заряда в процессе перемешивания фибробетонной смеси.
Качество фибры должно соответствовать требованиям нормативных документов, действующих на территории государств, проголосовавших за принятие стандарта.
5.4.2 Требования к материалам для приготовления полимербетонной смеси
5.4.2.1 Для приготовления полимербетонных смесей следует применять следующие синтетические смолы:
- фурфуролацетоновые;
- ненасыщенные полиэфирные;
- фурано-эпоксидные;
- эфир метиловый метакриловой кислоты (мономер метилметакрилат).
В качестве отвердителей синтетических смол используют:
- бензолсульфокислоту - для фурфуролацетоновых смол;
- гидроперекись изопропилбензола - для полиэфирных смол;
- полиэтиленполиамин - для фурано-эпоксидных смол;
- систему, состоящую из технического димеланилина и перекиси бензоила - для метилметакрилата.
В качестве ускорителя твердения полиэфирных смол используют нафтенат кобальта.
Для снижения летучести метилметакрилата следует использовать нефтяной парафин.
5.4.2.2 В качестве пластифицирующих добавок следует применять катапин, алкамон, меламино-формальдегидную смолу и сульфированные нафталинформальдегидные соединения (пластификатор C-3).
5.4.2.3 В качестве крупного заполнителя следует использовать щебень из плотных горных пород, соответствующий требованиям ГОСТ 32703. Допускается использовать щебень из плотных горных пород, удовлетворяющий требованиям ГОСТ 8267.
Применять щебень из осадочных горных пород не допускается.
Максимальная крупность зерен щебня не должна превышать:
- 16 мм - по ГОСТ 32703;
- 20 мм - по ГОСТ 8267.
Для приготовления полимербетонной смеси применяют щебень фракции 8 - 16 мм по ГОСТ 32703 или фракции 10 - 20 мм по ГОСТ 8267.
Марка щебня по дробимости должна быть не ниже 1200. Марка по морозостойкости - не ниже F200.
Содержание зерен слабых пород в щебне не должно превышать 5% по массе.
Содержание пылевидных и глинистых частиц (мельче 0,063 мм) в щебне не должно превышать 0,5%.
5.4.2.4 В качестве мелкого заполнителя следует использовать пески природные и дробленые средней крупности или крупные, соответствующие требованиям ГОСТ 32823 и ГОСТ 32730, не ниже или их смеси.
Допускается использовать пески природные и дробленые средней крупности или крупные, удовлетворяющие требованиям ГОСТ 8736, или их смеси.
Содержание зерен мельче 0,125 мм в песке не должно превышать 2% по массе, а пылевидных и глинистых частиц (мельче 0,063 мм) - 0,5% по массе.
Пески природные и дробленые не должны содержать включений осадочного происхождения.
5.4.2.5 Влажность крупного и мелкого заполнителя не должна превышать 0,5% по массе.
5.4.2.6 В качестве наполнителя следует использовать андезитовую, кварцевую или диабазовую муку, маршалит и графитовый порошок.
Допускается использовать тонкомолотые щебень из плотных горных пород и кварцевый песок.
5.4.2.7 Значение удельной поверхности наполнителя должно находиться в пределах от 250 до 300 м2/кг.
Влажность наполнителя не должна превышать 1% по массе.
5.5 Маркировка
5.5.1 При поставке бортовых камней потребителю изготовитель (поставщик) обеспечивает их маркировку согласно ГОСТ 14192 и требованиям настоящего стандарта.
5.5.2 При маркировке лотков должны быть соблюдены нормы законодательства, действующего на территории государств, проголосовавших за принятие стандарта и устанавливающего порядок маркирования продукции информацией на государственном языке.
5.5.3 Маркировку следует наносить на упаковку изделий, а в случае ее отсутствия - на боковую поверхность не менее чем 10% количества поставляемых изделий в партии.
Нанесение маркировки на лицевую поверхность или основание лотков не допускается.
5.5.4 Маркировочные надписи должны содержать:
- указание вида, типа, класса нагрузки, группы монтажа и основных размеров изделия;
- обозначение настоящего стандарта;
- товарный знак или краткое наименование изготовителя;
- дату изготовления в формате: гг.мм.дд. (например, дату 4 марта 2015 года указывают: 15.03.04);
- массу изделия в тоннах;
- штамп технического контроля.
5.5.5 Маркировочные надписи должны быть видимыми при хранении, легко читаемыми и устойчивыми к погодным и механическим воздействиям.
Маркировочные надписи рекомендуется наносить несмываемой черной (или темной) краской.
5.5.6 В необходимых случаях допускается нанесение на поверхность изделий (за исключением лицевой поверхности) монтажных и манипуляционных знаков.
6. Правила приемки
6.1 Лотки должны быть приняты службой технического контроля предприятия-изготовителя. Приемку лотков осуществляют партиями в соответствии с требованиями ГОСТ 13015 или с национальными нормами, действующими на территории государств, проголосовавших за принятие стандарта. В состав партии включают изделия одного вида и класса, последовательно изготовленные предприятием по одной технологии в течение не более одних суток из материалов одного вида и качества.
При изготовлении лотков нерегулярно или в небольшом количестве, при условии обеспечения однородности качества продукции, в состав партии допускается включать изделия, изготовленные в течение нескольких суток, но не более одной недели.
6.2 Лотки принимают по результатам приемо-сдаточных и периодических испытаний. При периодических испытаниях сезонные остановки производства, подтвержденные документально, не включаются в период между испытаниями.
6.3 Лотки принимают:
- по результатам приемо-сдаточных испытаний - для изделий из бетона по показателям прочности (классу бетона по прочности на сжатие и отпускной прочности), объему вовлеченного воздуха, соответствия арматуры, арматурных и закладных изделий рабочим чертежам, прочности сварных соединений, точности геометрических параметров, толщине защитного слоя бетона до арматуры, ширины раскрытия трещин, качеству бетонных поверхностей и внешнего вида, наличию антикоррозионного покрытия на открытых поверхностях закладных изделий, правильности нанесения маркировки.
Для изделий из полимербетона - по показателям прочности на сжатие, соответствия арматурных и закладных изделий рабочим чертежам, прочности сварных соединений, точности геометрических параметров, ширины раскрытия трещин, качеству поверхностей и внешнего вида, наличию антикоррозионного покрытия на открытых поверхностях закладных изделий, правильности нанесения маркировки;
- по результатам периодических испытаний - для изделий из бетона по показателям прочности на растяжение при изгибе (классу бетона по прочности на растяжение при изгибе), морозостойкости, водонепроницаемости, водопоглощения, истираемости, удельной эффективной активности естественных радионуклидов.
Для изделий из полимербетона - по показателям прочности при изгибе, морозостойкости и водонепроницаемости, водопоглощения, истираемости, удельной эффективной активности естественных радионуклидов.
6.4 Испытания лотков нагружением на прочность и трещиностойкость (для лотков из железобетона) проводят перед началом их массового изготовления, при внесении в них конструктивных изменений, при изменении технологии изготовления и качества материалов, а также в процессе серийного производства в сроки, установленные в рабочих чертежах на изделия.
Испытания изделий нагружением в случае внесения в них конструктивных изменений и при изменении технологии изготовления могут не проводиться по согласованию с проектной организацией - разработчиком рабочих чертежей.
6.5 Испытания конструкционных материалов на прочность при изгибе, морозостойкость, водонепроницаемость и водопоглощение проводят при освоении производства изделий и в дальнейшем при изменении технологии изготовления, номинального состава материала, вида и качества материалов, но не реже:
- одного раза в 1 мес - прочности при изгибе;
- одного раза в 3 мес - водопоглощения;
- одного раза в 6 мес - морозостойкости, водонепроницаемости и истираемости.
6.6 Испытания по показателю удельной эффективной активности естественных радионуклидов в конструкционных материалах проводят при первичном подборе номинального состава материала, а также при изменении качества применяемых материалов, когда удельная эффективная активность естественных радионуклидов в новых материалах превышает соответствующие характеристики материалов, ранее применяемых.
6.7 Отпускную прочность бетона изделий определяют по истечении расчетного периода, устанавливаемого с учетом длительности хранения изделий после распалубки, или при отпуске потребителю.
6.8 Определение водопоглощения бетона лотков проводится после достижения отпускной прочности бетона.
6.9 Приемку изделий по показателям точности геометрических параметров, толщине защитного слоя бетона до арматуры, ширины раскрытия трещин, качества поверхностей и внешнего вида, наличия жировых и ржавых пятен на поверхностях изделий осуществляют по результатам одноступенчатого выборочного контроля в соответствии с ГОСТ 13015 или национальными стандартами, действующими на территории государств, проголосовавших за принятие стандартов.
6.10 Наличие жировых и ржавых пятен на поверхностях изделий, наличие монтажных петель и очистка их от наплывов бетона, наличие и правильность нанесения маркировки изделий устанавливают по результатам сплошного контроля.
6.11 Партия изделий, не принятая по результатам выборочного контроля, подлежит поштучной приемке. При этом приемка изделий должна проводиться по показателям, по которым партия не была принята.
6.12 Потребитель имеет право проводить контроль качества изделий по показателям, которые могут быть проверены на готовых изделиях, применяя при этом правила приемки, установленные настоящим стандартом.
6.13 Каждая принятая техническим контролем изготовителя партия лотков должна сопровождаться документом о качестве по ГОСТ 13015 или в соответствии с национальными стандартами, действующими на территории государств, проголосовавших за принятие стандартов.
6.14 В документе о качестве должны быть указаны:
- наименование и адрес изготовителя;
- номер и дата выдачи документа;
- номер партии;
- наименование, вид и класс изделий по несущей способности;
- количество изделий каждого вида и класса по несущей способности;
- дата изготовления изделий;
- класс бетона по прочности на сжатие (предел прочности на сжатие);
- класс бетона по прочности на растяжение при изгибе (предел прочности при изгибе);
- отпускная прочность бетона;
- марка по морозостойкости;
- марка по водонепроницаемости;
- удельная эффективная активность естественных радионуклидов Aэфф, Бк/кг;
- обозначение настоящего стандарта;
- гарантии изготовителя.
7. Требования безопасности и охраны окружающей среды
7.1 Лотки должны обеспечивать безопасность их использования на автомобильных дорогах в соответствии с законодательством государств, проголосовавших за принятие стандарта.
7.2 Лотки, устанавливаемые в зонах движения пешеходов, велосипедистов и автомобильного транспорта, не должны иметь острых углов и режущих кромок на лицевой поверхности.
7.3 Радиационная безопасность бортовых камней характеризуется показателем суммарной удельной эффективной активности естественных радионуклидов.
Значения показателя суммарной удельной эффективной активности естественных радионуклидов для лотков, применяемых на автомобильных дорогах в пределах территорий населенных пунктов и зон перспективной застройки не должны превышать 740 Бк/кг.
Значения показателя суммарной удельной эффективной активности естественных радионуклидов для лотков, используемых на автомобильных дорогах вне населенных пунктов, не должны превышать 1500 Бк/кг.
7.4 При необходимости в соответствии с национальными нормами, действующими на территории государств, проголосовавших за принятие стандарта, предельно допустимое значение удельной эффективной активности естественных радионуклидов применительно к лоткам может быть изменена в пределах норм, указанных в 7.3.
7.5 Конструкционные полимербетонные материалы для изготовления лотков должны быть несгораемыми или трудносгораемыми.
7.6 По воспламеняемости материалы лотков должны относиться к группе не ниже В3 по ГОСТ 30402.
8. Транспортирование и хранение
8.1 Лотки допускается перевозить всеми видами транспорта. При этом правила перевозки устанавливаются в соответствии с законодательством государств, проголосовавших за принятие стандарта, и требованиями документов, регулирующих транспортировку грузов.
Погрузку, разгрузку и крепление лотков при перевозке следует проводить в соответствии с требованиями технических условий погрузки и крепления грузов.
8.2 При погрузке лотков в транспортное средство следует соблюдать условия равномерности распределения нагрузки относительно его осей и обеспечения необходимого зазора между изделиями и бортами транспортного средства.
8.3 Транспортирование и хранение лотков, изготовленных из бетонов на цементном вяжущем, проводят в соответствии с требованиями настоящего стандарта, ГОСТ 13015 или в соответствии с национальными нормами, действующими на территории государств, проголосовавших за принятие стандарта.
8.4 При транспортировании лотков и погрузочно-разгрузочных работах запрещается:
- погрузка и транспортирование изделий навалом;
- разгрузка сбрасыванием;
- перемещение изделий волоком, без прокладок и катков;
- погрузка и транспортирование изделий, изготовленных из бетонов на цементном вяжущем, до достижения ими отпускной прочности.
При транспортировании изделия должны быть надежно закреплены и не должны подвергаться ударам и толчкам.
8.5 При транспортировании лотки должны быть обеспечены необходимой сопроводительной документацией.
8.6 Лотки следует хранить в складских условиях рассортированными по видам, типам и классам нагрузки в штабелях высотой не более 2 м при обеспечении их устойчивости и исключении возможности падения изделий.
Место (площадка) складирования лотков должно иметь твердую ровную поверхность с обеспеченным водоотводом.
8.7 При хранении в штабелях лотки следует укладывать на инвентарные подкладки и/или прокладки прямоугольного или трапецеидального сечения из дерева или других материалов, обеспечивающих сохранность изделий, толщиной не менее 30 мм и длиной, соответствующей размерам изделия. При этом в штабель следует укладывать изделия одного размера и формы, а прокладки располагать по высоте штабеля одну над другой. Если не установлены иные требования, расстояние от краев прокладок до торцов должно составлять порядка 25% номинальной длины изделия.
8.8 Условия хранения должны обеспечивать видимость маркировочных надписей и свободный доступ к изделиям, а также возможность складского контроля и применения средств механизации при погрузке изделий на транспортные средства.
8.9 При транспортировании, хранении лотков и при погрузочно-разгрузочных работах должны соблюдаться требования производственной безопасности и охраны труда.
9. Гарантии изготовителя
9.1 Изготовитель гарантирует соответствие поставляемых изделий требованиям настоящего стандарта при соблюдении правил транспортирования и хранения, установленных настоящим стандартом.
9.2 Изготовитель гарантирует в течение не менее 3 лет сохранность потребительских качеств изделий при соблюдении указаний по монтажу и применению, установленных проектной документацией, и эксплуатации линейных водосточных систем с использованием механизмов и инструмента, исключающих механические повреждения изделий.
Приложение А
(рекомендуемое)
УКАЗАНИЯ ПО ПРИМЕНЕНИЮ
А.1 Установку лотков проводят в соответствии с проектной документацией.
А.2 После установки конструкция из смонтированных лотков должна быть прочной и жесткой, выдерживать эксплуатационные нагрузки от воздействия транспортных средств и линейных температурных деформаций, обеспечивать прием и отвод поверхностных вод и быть водонепроницаемой.
Для обеспечения целостности конструкции лотков, в том числе и с бетонной обмуровкой, необходимо предусматривать поперечные швы расширения.
А.3 Если элементы (блоки) лотков изготавливают с продольным уклоном дна, то его значение должно составлять не менее 0,3%. При этом блоки лотков должны быть соответствующим образом замаркированы для обеспечения их последовательной сборки.
А.4 Смежные лотки следует стыковать таким образом, чтобы не образовывать сужения внутреннего сечения. Размер уступа в дне стыкуемых лотков не должен превышать 5,0 мм.
А.5 Если в конструкции лотков предусмотрены пескоулавливающие колодцы или мусоросборники, то их конструкция должна обеспечивать беспрепятственный сток и вентилирование, при условии их полного заполнения песком или другими предметами.
А.6 Стыки лотков, швы расширения, а также стыки лотков с прилегающим покрытием следует герметизировать.
Для герметизации стыков и швов используют материалы, обеспечивающие надежную работу лотков без нарушения их водонепроницаемости.
А.7 Глубина посадки решетки в конструкцию лотка должна быть не менее:
- 20 мм - для решеток класса A15;
- 25 мм - для решеток класса B125;
- 35 мм - для решеток класса C250.
А.8 Разность высот между верхней кромкой решетки и поверхностью лотка, выходящей на поверхность покрытия проезжей части, не должна превышать 1,0 мм.
А.9 Для ограничения горизонтального смещения решетки в лотке ширина щели между корпусом решетки и корпусом лотка (усиливающей насадки) не должна превышать 3 мм по периметру.
А.10 Угол открытия решеток, имеющих шарнирное крепление к корпусу лотка или усиливающей насадки, по отношению к поверхности покрытия должен составлять не менее 100°, если проектной документацией не установлены другие требования.
А.11 Конструкция системы линейного поверхностного водоотвода, изготовленная из лотков, должна быть ремонтопригодной и обеспечивать возможность:
- очистки от мусора лотков и пескоулавливающих колодцев, водовыпускных патрубков и отверстий, мусоросборников и отверстий решеток, а также удаления снежно-ледяных образований;
- периодического осмотра целостности ее отдельных частей, доборных элементов, соединительных узлов;
- замены поврежденных элементов;
- своевременного осмотра состояния антикоррозионного покрытия на ее элементах, ухода и восстановления поврежденных участков покрытия;
- очистки лотков следующими способами:
а) механическим, путем прочистки доступных мест и удаления мусора механизированным или ручным способом;
б) гидродинамическим, путем промывки системы струей воды под высоким давлением;
в) термическим или химическим, путем расплавления и удаления ледяных образований.