Главная // Актуальные документы // ГОСТ (Государственный стандарт)СПРАВКА
Источник публикации
М.: Стандартинформ, 2016
Примечание к документу
Документ включен в
Перечень стандартов, содержащих правила и методы исследований (испытаний) и измерений, в том числе правила отбора образцов, необходимые для применения и исполнения требований технического
регламента Таможенного союза "Безопасность автомобильных дорог" (ТР ТС 014/2011) и осуществления оценки соответствия объектов технического регулирования (
Решение Коллегии Евразийской экономической комиссии от 18.09.2012 N 159).
Документ
введен в действие с 1 декабря 2015 года с правом досрочного применения.
Название документа
"ГОСТ 32954-2014. Межгосударственный стандарт. Дороги автомобильные общего пользования. Знаки переменной информации. Методы контроля"
(введен в действие Приказом Росстандарта от 14.08.2015 N 1159-ст)
"ГОСТ 32954-2014. Межгосударственный стандарт. Дороги автомобильные общего пользования. Знаки переменной информации. Методы контроля"
(введен в действие Приказом Росстандарта от 14.08.2015 N 1159-ст)
Введен в действие
агентства по техническому
регулированию и метрологии
от 14 августа 2015 г. N 1159-ст
МЕЖГОСУДАРСТВЕННЫЙ СТАНДАРТ
ДОРОГИ АВТОМОБИЛЬНЫЕ ОБЩЕГО ПОЛЬЗОВАНИЯ
ЗНАКИ ПЕРЕМЕННОЙ ИНФОРМАЦИИ
МЕТОДЫ КОНТРОЛЯ
Automobile roads of general use. Variable message signs.
Methods of testing
ГОСТ 32954-2014
Дата введения
1 декабря 2015 года
с правом досрочного применения
Цели, основные принципы и основной порядок проведения работ по межгосударственной стандартизации установлены
ГОСТ 1.0-92 "Межгосударственная система стандартизации. Основные положения" и
ГОСТ 1.2-2009 "Межгосударственная система стандартизации. Стандарты межгосударственные, правила и рекомендации по межгосударственной стандартизации. Правила разработки, принятия, применения, обновления и отмены"
1 РАЗРАБОТАН Обществом с ограниченной ответственностью "Корпорация "Строй Инвест Проект М" и Обществом с ограниченной ответственностью "НПО "Транспорт"
2 ВНЕСЕН Межгосударственным техническим комитетом по стандартизации МТК 418 "Дорожное хозяйство"
3 ПРИНЯТ Межгосударственным советом по стандартизации, метрологии и сертификации (протокол от 5 декабря 2014 г. N 46)
За принятие проголосовали:
Краткое наименование страны по МК (ИСО 3166) 004-97 | Код страны по МК (ИСО 3166) 004-97 | Сокращенное наименование национального органа по стандартизации |
Азербайджан | AZ | Азстандарт |
Армения | AM | Минэкономики Республики Армения |
Грузия | GE | Грузстандарт |
Казахстан | KZ | Госстандарт Республики Казахстан |
Киргизия | KG | Кыргызстандарт |
Молдова | MD | Молдова-Стандарт |
Россия | RU | Росстандарт |
Таджикистан | TJ | Таджикстандарт |
Туркменистан | TM | Главгосслужба "Туркменстандартлары" |
Узбекистан | UZ | Узгосстандарт |
Украина | UA | Минэкономразвития Украины |
4
Приказом Федерального агентства по техническому регулированию и метрологии от 14 августа 2015 г. N 1159-ст межгосударственный стандарт ГОСТ 32954-2014 введен в действие в качестве национального стандарта Российской Федерации с 1 декабря 2015 г.
5 ВВЕДЕН ВПЕРВЫЕ
Информация об изменениях к настоящему стандарту публикуется в ежегодном информационном указателе "Национальные стандарты" (по состоянию на 1 января текущего года), а текст изменений и поправок - в ежемесячном информационном указателе "Национальные стандарты". В случае пересмотра (замены) или отмены настоящего стандарта соответствующее уведомление будет опубликовано в ежемесячном информационном указателе "Национальные стандарты". Соответствующая информация, уведомление и тексты размещаются также в информационной системе общего пользования - на официальном сайте Федерального агентства по техническому регулированию и метрологии в сети Интернет
Настоящий стандарт распространяется на знаки переменной информации и устанавливает методы их контроля.
В настоящем стандарте использованы нормативные ссылки на следующие межгосударственные стандарты и/или классификаторы:
ГОСТ 14254-96 (МЭК 529-89) Степени защиты, обеспечиваемые оболочками (код IP)
ГОСТ 30630.1.1-99 Методы испытаний на стойкость к механическим внешним воздействующим факторам машин, приборов и других технических изделий. Определение динамических характеристик конструкции
ГОСТ 30630.2.5-2013 Методы испытаний на стойкость к климатическим внешним воздействующим факторам машин, приборов и других технических изделий. Испытания на воздействие соляного тумана
ГОСТ 30630.2.6-2013 Методы испытаний на стойкость к климатическим внешним воздействующим факторам машин, приборов и других технических изделий. Испытания на воздействие воды
ГОСТ 30630.2.7-2013 Методы испытаний на стойкость к климатическим внешним воздействующим факторам машин, приборов и других технических изделий. Испытания на воздействие пыли (песка)
ГОСТ 30630.2.1-2013 Методы испытаний на стойкость к климатическим внешним воздействующим факторам машин, приборов и других технических изделий. Испытания на устойчивость к воздействию температуры
ГОСТ 30630.1.10-2013 Методы испытаний на стойкость к механическим внешним воздействующим факторам машин, приборов и других технических изделий. Удары по оболочке изделий
ГОСТ 32865-2014 Дороги автомобильные общего пользования. Знаки переменной информации. Технические требования
ГОСТ 32946-2014 Дороги автомобильные общего пользования. Дорожные знаки. Методы контроля
ГОСТ EN 50293-2012 Совместимость технических средств электромагнитная. Системы управления дорожным движением. Требования и методы испытаний
Примечание - При пользовании настоящим стандартом целесообразно проверить действие ссылочных стандартов в информационной системе общего пользования - на официальном сайте Федерального агентства по техническому регулированию и метрологии в сети Интернет или по ежегодному информационному указателю "Национальные стандарты", который опубликован по состоянию на 1 января текущего года, и по выпускам ежемесячного информационного указателя "Национальные стандарты" за текущий год. Если ссылочный стандарт заменен (изменен), то при пользовании настоящим стандартом следует руководствоваться заменяющим (измененным) стандартом. Если ссылочный стандарт отменен без замены, то положение, в котором дана ссылка на него, применяется в части, не затрагивающей эту ссылку.
В настоящем стандарте применены следующие термины с соответствующими определениями:
3.1 вертикальная плоскость отсчета: Вертикальная плоскость, проходящая через ось отсчета.
3.2 вертикальный угол испытаний: Угол между осью испытаний и горизонтальной плоскостью отсчета.
Примечание - Если ось испытаний расположена ниже горизонтальной плоскости отсчета, вертикальный угол испытаний определяют как отрицательный.
3.3 горизонтальная плоскость отсчета: Горизонтальная плоскость, проходящая через ось отсчета, когда знак ориентирован таким образом, что ось отсчета расположена горизонтально.
3.4 горизонтальный угол испытаний: Угол между осью испытаний и вертикальной плоскостью отсчета.
Примечание - Если ось испытаний расположена слева от вертикальной плоскости отсчета, горизонтальный угол испытаний определяют как отрицательный.
3.5 испытательный модуль: Устройство, аналогичное знаку переменной информации, укомплектованное всеми компонентами, которые входят в его состав, соответствующее требованиям
ГОСТ 32865 и изготовленное производителем для проведения испытаний на соответствие знака требованиям настоящего стандарта.
3.6 ось испытаний: Линия, проходящая через центр отсчета испытательного модуля и центр фотометрической головки яркомера.
3.7 ось отсчета: Ось, проходящая через центр отсчета испытательного модуля и расположенная перпендикулярно его передней поверхности, если производителем не установлено иначе.
3.8 центр отсчета: Точка, расположенная на испытательном модуле или рядом с ним, установленная производителем как центр устройства для определения его характеристик.
Примечание - Центр отсчета принадлежит вертикальной и горизонтальной плоскостям отсчета.
4.1 Знаки переменной информации (далее - ЗПИ), предназначенные для эксплуатации на автомобильных дорогах общего пользования, подлежат контролю показателей качества путем проведения испытаний на соответствие требованиям настоящего стандарта.
4.2 Испытания ЗПИ осуществляет предприятие-изготовитель. Для проведения испытаний допускается привлекать сторонние испытательные лаборатории, аккредитованные в установленном порядке.
4.3 Результаты испытаний заносят в протокол, форму которого определяет предприятие-изготовитель.
Протокол должен содержать следующие обязательные разделы:
- сведения об изготовителе (наименование организации и ее юридический адрес, модель ЗПИ, его номер и пр.);
- полные сведения об оборудовании для испытаний, условиях испытаний;
- результаты испытаний;
- специальные требования, способы их определения и результаты измерений.
4.4 Отдельные испытания ЗПИ, устанавливаемые настоящим стандартом, можно не проводить, если конструкция изделий или унифицированных узлов обеспечивает соответствие их требованиям
ГОСТ 32865. Соответствие этим требованиям должно быть указано в сопроводительной документации на изделия.
5. Методы контроля электромеханических знаков
переменной информации
5.1 Физические, электротехнические, фото- и колориметрические испытания ЗПИ проводят в соответствии с
ГОСТ 32946.
5.2 Проверку электромагнитной совместимости ЗПИ осуществляют в соответствии с требованиями
ГОСТ EN 50293.
5.3 Контроль динамических характеристик конструкции ЗПИ - по ГОСТ 30630.1.1.
5.4 Испытания оболочек электрооборудования на соответствие установленной степени защиты (класс IP) - по
ГОСТ 14254, ГОСТ 30630.2.6 и
ГОСТ 30630.2.7.
6. Методы контроля светотехнических знаков
переменной информации
6.1. Требования к испытательному модулю
6.1.1 Проверку соответствия ЗПИ требованиям настоящего стандарта проводят с помощью испытательного модуля.
6.1.2 Испытательный модуль изготовляют с учетом следующих требований:
- комплектация всеми компонентами, входящими в состав ЗПИ, характеристики которых контролируют при испытаниях;
- комплектация всеми вспомогательными техническими средствами, необходимыми для проверки комплекса характеристик знака;
- наличие контроллера управления, позволяющего проводить функциональную проверку изделий в режимах "все элементы включены/выключены" и "включен отдельный элемент" при соблюдении соответствующих условий по освещенности, необходимых для измерения фотометрических характеристик;
- наличие электрических разъемов для подключения устройств контроля значений каждой из светотехнических характеристик;
- наличие достаточного количества элементов на поверхности отображения, необходимого для демонстрации соответствия знака требованиям настоящего стандарта.
6.2. Размеры испытательного модуля
6.2.1 Максимальные размеры испытательного модуля по ширине, высоте и толщине должны быть не более 1350 x 1350 x 500 мм соответственно (см. рисунок 1 а, б). Если размеры изготавливаемого знака соответствуют указанным пределам, испытательный модуль может быть идентичен изготавливаемому знаку.
а, в - виды спереди; б - вид сбоку; 1 - ввод питания;
2 - ввод управления; w - ширина; h - высота; t - толщина.
Закрашенные прямоугольники являются эквивалентными
областями элементов и образуют область проверки
светотехнических характеристик
Рисунок 1 - Пример испытательного модуля
6.2.2 Минимальные размеры каждой области испытательного модуля, проверяемой на соответствие требованиям светотехнических характеристик, устанавливают по
6.7.
6.2.3 Испытательный модуль может иметь две или более области проверки светотехнических параметров с различным количеством элементов (см.
рисунок 1 в). Если для испытаний используют изготавливаемый знак, производитель должен указать область проверки параметров в соответствии с
6.7.2.
6.2.4 Расстояние между центрами элементов испытательного модуля должно соответствовать требованиям испытаний. Расстояния между элементами изготавливаемого знака не должно превышать +/- 10% расстояний между элементами испытательного модуля.
6.3. Проверка работоспособности испытательного модуля
6.3.1 Проверку работоспособности испытательного модуля следует проводить в следующей последовательности:
а) испытание на соответствие требованиям к электротехническим характеристикам;
б) испытание на стойкость к ударам;
в) испытание на стойкость к вибрации;
г) испытание на стойкость к коррозии;
д) проверка степени защиты, обеспечиваемой корпусом (класс IP);
е) испытание на стойкость к температурным воздействиям:
1) испытание на воздействие холода,
2) испытание на воздействие сухого тепла или солнечного излучения (испытание на солнечное излучение можно проводить вместо испытания на воздействие сухого тепла для класса Т1),
3) испытание на влагостойкость и пылестойкость,
4) испытание на изменение температуры (можно проводить вместо испытаний на воздействие холода и сухого тепла);
ж) испытание на электромагнитную совместимость;
и) испытание на соответствие фотометрических характеристик.
6.3.2 Функциональная проверка испытательного модуля заключается в поочередном включении (активации) и выключении всех элементов на поверхности отображения, при этом все элементы должны циклически переходить из одного состояния в другое.
6.3.3 При функциональной проверке каждый цикл "включение/выключение" должен состоять из включения элемента модуля не менее чем на 1 с и его выключения не менее чем на 1 с. Количество циклов при функциональной проверке - не менее 10.
6.3.4 Погрешность измерения параметров при проведении испытаний не должна превышать 5%, если иные требования не установлены в методах контроля.
6.3.5 Нормальные климатические условия для проведения испытаний: температура воздуха - от 15 °C до 35 °C, относительная влажность - от 25% до 75% и атмосферное давление - 84 - 107 кПа (630 - 800 мм рт. ст.).
6.4. Контроль электротехнических характеристик
6.4.1 Порядок проведения процедуры контроля электротехнических характеристик ЗПИ приведен в таблице 1. Испытание выполняют в нормальных климатических условиях.
Таблица 1
Испытания включения электропитания,
диапазона рабочего напряжения и временного падения
напряжения или перенапряжения
Шаг испытания | Режим электропитания | Измерения |
1 | Питание отсутствует | Отсутствие источника питания |
2 | Номинальный | Включение испытательного модуля, проверка отсутствия неполных или ложных сообщений на панели отображения |
3 | Номинальный | Функциональная проверка |
4 | Минимальный | Проверка отсутствия неполных или ложных сообщений на панели отображения, а также видимых повреждений ЗПИ |
5 | Падение напряжения до 50% от номинального, частота номинальная | Проверка отсутствия неполных или ложных сообщений на панели отображения, а также видимых повреждений ЗПИ |
6 | Номинальный | Проверка отсутствия неполных или ложных сообщений на панели отображения |
7 | Номинальный | Функциональная проверка |
8 | Максимальный | Проверка отсутствия неполных или ложных сообщений на панели отображения, а также видимых повреждений ЗПИ |
9 | Номинальный | Проверка отсутствия неполных или ложных сообщений на панели отображения |
10 | Номинальный | Функциональная проверка |
11 | Максимальное напряжение, определенное защитным устройством | Проверка отсутствия неполных или ложных сообщений на панели отображения, а также видимых повреждений ЗПИ |
12 | Номинальный | Проверка отсутствия неполных или ложных сообщений на панели отображения |
13 | Номинальный | Функциональная проверка |
Примечание - Шаги испытания с 11 по 13 проводят только в случае оснащенности знака встроенным устройством защиты. |
6.4.2 Параметры режима электропитания указаны в таблице 2. Номинальные значения напряжения и частоты электропитания должны соответствовать
ГОСТ 32946.
Таблица 2
Сочетания частот и напряжений
при электротехнических испытаниях
Режим электропитания | Частота | Напряжение |
Минимальный | Пониженная, -2% | Пониженное, -13% |
Номинальный | Номинальная | Номинальное |
Максимальный | Повышенная, +2% | Повышенное, +10% |
6.4.3 Испытательный модуль считают прошедшим электротехническое испытание, если колебания параметров электропитания не повлияли на работоспособность и качество функционирования ЗПИ.
6.4.4 Погрешность вольтметра для контроля электрического напряжения при проведении испытания не должна превышать +/- 1 В. Погрешность частотомера для контроля частоты электрического тока - не более +/- 0,1 Гц.
6.4.5 При проведении испытания допускается использовать многофункциональные измерители электротехнических характеристик.
6.5. Контроль стойкости к механическим и климатическим воздействиям
6.5.1 Испытания ЗПИ на стойкость к механическим и климатическим воздействиям проводят в соответствии с таблицами 3 -
8.
Таблица 3
Испытание на ударную нагрузку по ГОСТ "Методы испытаний
на стойкость к механическим внешним воздействующим факторам
машин, приборов и других технических изделий.
Удары по оболочке изделий"
Требования к процедуре испытания |
Сущность процедуры испытания | Испытания на ударные нагрузки проводят на горизонтально установленной лицевой панели испытательного модуля (отклонение от горизонтали не должно превышать 3°) путем сбрасывания на нее стального шарика диаметром (50 +/- 1) мм массой (0,51 +/- 0,01) кг с высоты (1,3 +/- 0,01) м для получения ударной энергии, равной (6,5 +/- 0,2) Н·м |
Начальные условия | Испытание модуля проводят в нормальных климатических условиях путем трех последовательных ударов в точку лицевой панели, обладающую наименьшей прочностью. Данную точку определяют представители испытательного стенда после совместных консультаций с изготовителем |
Промежуточные условия | Испытательный модуль охлаждается до температуры (-5 +/- 2) °C в климатической камере, аттестованной в установленном порядке, и выдерживается при данной температуре в течение не менее 3 ч. В период выдержки испытательный модуль подвергается трем одиночным ударам в точку лицевой панели испытательного модуля, обладающую наименьшей прочностью |
Окончательные измерения | После проведения испытания лицевая панель испытательного модуля (ее отдельные компоненты) не должна иметь следов повреждений и обязана отвечать всем требованиям ГОСТ 30630.1.10 и техническим условиям на изделие |
Примечание - Для проведения испытания на ударную нагрузку применяют установку, обеспечивающую свободное падение шарика с заданной высоты, или устройство, позволяющее сообщить шарику скорость, равную той, которую он приобретает в условиях свободного падения (допуск на скорость шарика не должен превышать +/- 1% скорости свободного падения). |
Таблица 4
Испытание на виброустойчивость по ГОСТ 30630.1.1
Требования к процедуре испытания |
Установка (монтаж) | Испытательный модуль при нормальных климатических условиях надежно закрепляют на вибростенде |
Исходные и контрольные точки | Исходную точку выбирают на вибростенде |
Диапазон частот | 10 - 200 Гц |
Уровни спектральной плотности ускорения сигналов | 0,02 g2/Гц Общее среднеквадратическое ускорение - (1,2 +/- 0,06) g |
Длительность испытания | Не менее 90 мин по каждой из трех осей |
Воспроизводимость | Низкая |
Состояние испытательного модуля при проведении испытания | Оборудование выключено |
Начальные и окончательные измерения | Контроль отсутствия видимых дефектов, функциональная проверка, контроль отсутствия неполных или ложных сообщений на панели отображения |
Таблица 5
Испытание на стойкость к коррозии
Требования к процедуре испытания |
Состояние испытательного модуля при проведении испытания | Оборудование выключено |
Средства испытания | Камера соляного тумана |
Начальные измерения | Контроль отсутствия видимых дефектов и функциональная проверка |
Длительность испытания | (240 +/- 1) ч |
Условия испытания | (35 +/- 2) °C, нейтральный соляной туман |
Обработка после испытания | Извлечение из камеры соляного тумана и выдерживание при температуре окружающего воздуха в лаборатории на протяжении не менее 2 ч, если иное не предусмотрено в технических условиях на изделие. Промывка в дистиллированной воде при температуре от 35 °C до 40 °C при полном погружении в воду и покачивании в течение не менее 1 мин с последующим высушиванием на воздухе в течение не менее 2 ч, но не более 24 ч (если это оговорено в технических условиях на изделие) |
Окончательные измерения | Визуальный осмотр, проверка соответствия ГОСТ 30630.2.5, а также техническим условиям на изделие в части оценки коррозионных поражений при их наличии, функциональная проверка |
Таблица 6
Испытание на влагонепроницаемость
Требования к процедуре испытания | Класс Р1 | Класс Р2 | Класс Р3 |
IP 45 | IP 55 | IP 66 |
Предельное воздействие | В соответствии с требованиями ГОСТ 14254 и ГОСТ 30630.2.6 |
Условия испытания | Нормальные климатические условия |
Начальные измерения | Контроль отсутствия видимых дефектов и функциональная проверка |
Сущность процедуры испытания | Обливание со всех возможных направлений струей воды. При этом особое внимание должны уделять разъемным и неразъемным соединениям или другим участкам корпуса ЗПИ, где наиболее вероятно проникновение влаги |
Промежуточные измерения | Оборудование включено, в течение испытания постоянно повторяют проведение функциональной проверки |
Окончательные измерения | Визуальный осмотр и проверка соответствия требованиям ГОСТ 14254 и ГОСТ 30630.2.6 для класса защиты Р1, Р2 или Р3 |
Таблица 7
Испытание на пыленепроницаемость
Требования к процедуре испытания | Класс Р1 | Класс Р2 | Класс Р3 |
IP 45 | IP 55 | IP 66 |
Предельное воздействие | |
Условия испытания | Нормальные климатические условия |
Начальные измерения | Отсутствуют | Контроль отсутствия видимых дефектов и функциональная проверка |
Состояние испытательного модуля при проведении испытания | Требования отсутствуют | Оборудование выключено |
Промежуточные измерения | Отсутствуют |
Окончательные измерения | Визуальный осмотр, проверка соответствия требованиям ГОСТ 14254 и ГОСТ 30630.2.7 для класса защиты Р1, Р2 или Р3, функциональная проверка |
Таблица 8
Требования к процедуре испытания | Класс Т1 | Класс Т2 | Класс Т3 |
|
Предварительные условия | Отсутствуют |
Состояние испытательного модуля при проведении испытания | Оборудование выключено вплоть до последнего часа испытания |
Температура при проведении испытания | (-15 +/- 2) °C | (-25 +/- 2) °C | (-40 +/- 2) °C |
Длительность испытания | (16 +/- 0,3) ч |
Измерения и/или нагрузка при проведении испытания | В течение последнего часа при температуре испытания и при повышении температуры постоянно повторяют функциональную проверку |
Восстановление нестандартного оборудования | Восстановление при температуре окружающего воздуха в лаборатории в течение времени, достаточного для достижения температурной стабильности, но не менее 1 ч |
Начальные и окончательные измерения | Контроль отсутствия видимых дефектов и функциональная проверка |
|
Предварительные условия | Отсутствуют |
Состояние испытательного модуля при проведении испытания | Оборудование включено |
Температура при проведении испытания | (+60 +/- 2) °C | (+55 +/- 2) °C | (+40 +/- 2) °C |
Длительность испытания | (16 +/- 0,3) ч |
Измерения и/или нагрузка при проведении испытания | Во время понижения температуры постоянно повторяют функциональную проверку |
Восстановление нестандартного оборудования | Восстановление при температуре воздуха в лаборатории |
Начальные и окончательные измерения | Контроль отсутствия видимых дефектов и функциональная проверка |
|
Температура воздуха | (+40 +/- 2) °C |
Количество циклов | Два цикла |
Состояние испытательного модуля во время проведения испытания | Оборудование включено |
Особенности установки (монтажа) | Отсутствуют |
Промежуточные измерения | Функциональную проверку постоянно повторяют в течение первых (3 +/- 0,1) ч каждого цикла, последнего часа каждого цикла при (+40 +/- 2) °C и в течение заключительного периода остывания в конце последнего цикла |
Условия восстановления | Восстановление при температуре воздуха в лаборатории |
Специальные меры предосторожности при удалении влаги с поверхности оборудования | Не принимают |
Начальные и окончательные измерения | Контроль отсутствия видимых дефектов и функциональная проверка |
|
Предварительные условия | Отсутствуют |
Состояние испытательного модуля во время проведения испытания | Оборудование включено |
Расположение испытательного модуля в пространстве | Оборудование имеет нормальное рабочее положение. Излучение направлено перпендикулярно лицевой панели изделия |
Особенность испытания | Данное испытание можно проводить в качестве альтернативы испытанию сухим теплом для класса Т1 |
Температура воздуха внутри помещения во время облучения | (+40 +/- 2) °C |
Максимальная допустимая скорость воздуха внутри помещения | Необходима нормальная циркуляция воздуха для поддержания стабильной температуры испытания |
Уровень влажности | Требования отсутствуют |
Продолжительность испытания | Один цикл |
Измерения и/или нагрузка при проведении испытания | Постоянно повторяют функциональную проверку в течение первых 3 ч испытания, последнего часа облучения и в период охлаждения |
Условия восстановления | Восстановление при температуре воздуха в лаборатории |
Начальные и окончательные измерения | Контроль отсутствия видимых дефектов и функциональная проверка |
|
Установка (монтаж) испытательного модуля, при отличии от номинальной | |
| | | |
Минимальное значение температуры | (-15 +/- 2) °C | (-25 +/- 2) °C | (-40 +/- 2) °C |
Максимальное значение температуры | (+60 +/- 2) °C | (+55 +/- 2) °C | (+40 +/- 2) °C |
Скорость изменения температуры | 1 - 2 °C/мин |
Количество циклов | Один цикл |
Состояние испытательного модуля во время проведения испытания | Оборудование выключено |
Длительность испытания | (16 +/- 0,3) ч |
Измерения при проведении испытания и их периодичность | Отсутствуют, если иное не предусмотрено в технических условиях на изделие |
Восстановление | Восстановление при температуре окружающего воздуха в лаборатории в течение как минимум 1 ч |
Начальные и окончательные измерения | Контроль отсутствия видимых дефектов и функциональная проверка |
Примечание - Испытание на температурное воздействие прямых солнечных лучей для класса Т1 проводят либо в процессе испытания на воздействие сухого тепла, либо - солнечного излучения. Испытание на воздействие сухого тепла и холода может быть заменено испытанием на изменение температуры. |
6.5.2 Погрешность микрометра или других средств измерений для определения диаметра шарика при испытании на ударную нагрузку не должна превышать +/- 0,1 мм; погрешность весов статического взвешивания для определения массы шарика - не более +/- 0,001 кг.
6.5.3 Погрешность средств измерений температуры не должна превышать +/- 0,3 °C, времени - +/- 5 с.
6.6. Контроль электромагнитной совместимости
Проверку испытательного модуля на электромагнитную совместимость проводят в соответствии с требованиями
ГОСТ EN 50293.
6.7. Контроль светотехнических характеристик
6.7.1 Общая информация
6.7.1.1 Измерение характеристик испытательного модуля выполняют относительно оси отсчета (см. рисунок 2).
1 - испытательный модуль; 2 - вертикальная плоскость
отсчета; 3 - горизонтальная плоскость отсчета;
4 - вертикальный угол испытаний; 5 - горизонтальный угол
испытаний; 6 - ось отсчета; 7 - ось испытаний;
8 - центр отсчета
Рисунок 2 - Схема контроля характеристик
испытательного модуля
6.7.1.2 Испытания проводят в нормальных климатических условиях.
6.7.1.3 Все оптические испытания повторяют для каждого цвета из тех, которые будут отображены на экране знака.
6.7.1.4 При подготовке и проведении испытаний должны быть приняты меры для правильного оптического выстраивания компонентов и поверхностей тестируемого и измерительного устройств, для того чтобы гарантировать репрезентативность результатов. Любые отклонения от нормального расположения должны регистрировать.
6.7.1.5 Оборудование, используемое для проведения испытаний, - яркомер с фотометрической головкой и солнечный имитатор.
6.7.1.6 Спектральная чувствительность яркомера должна соответствовать кривой

спектральной световой эффективности.
6.7.1.7 Яркомер должен быть аттестован и поверен в установленном порядке. Диапазоны измерений освещенности и яркости прибора должны соответствовать требованиям
ГОСТ 32865. Основная относительная погрешность измерений яркомера не должна превышать +/- 10%.
6.7.1.8 Светоотдача солнечного имитатора не должна изменяться более чем на +/- 2% в течение 15 мин.
6.7.1.9 При любых фотометрических измерениях должно быть исключено постороннее освещение.
6.7.1.10 Испытательный модуль считают прошедшим испытания, если все его светотехнические характеристики отвечают требованиям
ГОСТ 32865 для соответствующего класса параметров цвета, яркости La, коэффициента яркости LR и ширины светового пучка, а также однородности светового потока.
6.7.2 Порядок подготовки и проведения испытаний
6.7.2.1 Общая информация
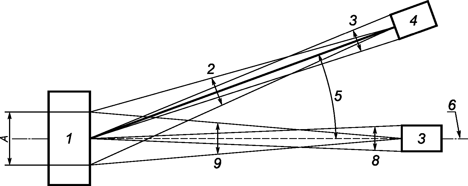
При измерении яркости знака солнечный имитатор и яркомер необходимо располагать таким образом, как показано на рисунке 3.
А - диаметр области измерения; 1 - испытательный модуль;
2 - не более 3°; 3 - не более 2°; 4 - солнечный имитатор;
5 - (10 +/- 0,1)° и (5 +/- 0,1)° для класса L3 (*);
6 - ось отсчета; 7 - яркомер; 8 - не более 5°;
9 - не более 3°
Рисунок 3 - Схема измерения яркости и коэффициента яркости
Диафрагма яркомера не должна быть открыта более чем на 3°.
Угол расхождения луча солнечного имитатора на контролируемом участке не должен превышать 3°.
Диафрагмы солнечного имитатора и яркомера, со стороны испытательного модуля, должны быть открыты не более чем на 2° и 0,5° соответственно.
Спектральный состав в солнечном имитаторе должен быть близок к спектру естественного дневного света и иметь цветовую температуру, коррелирующую с диапазоном от 5000 до 6500 К.
Солнечный имитатор совместно с измерителем оптического затухания должен быть способен создать нужный диапазон освещенности, равномерно распределяемой +/- 10% по поверхности измеряемого участка.
Измерение освещенности должны производить в центре координат, перпендикулярно к координатной оси.
6.7.2.2 Участок для проведения измерений коэффициента яркости
Контролируемый участок должен содержать элементы в форме регулярной матрицы.
Весь участок для проведения оптических испытаний должен быть целиком заполнен элементами.
Минимальный размер тестового участка - 100 x 100 мм, включая наружные размеры эквивалентных площадей элементов.
Контролируемый участок должен содержать не менее 25 элементов (размером 5 x 5).
Расстояния между элементами матрицы контролируемого участка должны быть постоянными во всех направлениях, но эти расстояния не обязательно должны быть одинаковыми.
Разделение элементов на контролируемом участке должно соответствовать разделению элементов реального знака.
Если испытательный модуль имеет размер элементов 5 x 5, то измерительная зона должна охватить собой крайние точки эквивалентных площадей пяти элементов в горизонтальном и в вертикальном направлениях (см. рисунок 4 а).
Sv - расстояние между элементами по вертикали;
Sh - расстояние между элементами по горизонтали;
A - диаметр области измерений, >= 100 мм.
Эквивалентные области элементов обозначены пунктиром
Рисунок 4 - Пример расположения элементов испытательного
модуля и положения участка измерений (окружности) яркомера:
а - матрица 5 x 5 (Sv = Sh); б - матрица 10 x 10 (Sv = Sh);
в - матрица 15 x 9 (Sv = 0,6Sh);
г - гексагональная сетка 5 x 5 (

)
Если в испытательном модуле использованы элементы размером более 5 x 5, то тогда измерительная зона должна представлять собой окружность диаметром не менее 100 мм (см. рисунок 4 б).
Если расстояния между элементами в горизонтальном и в вертикальном направлениях не одинаковые, то измерительная зона должна охватить собой крайние точки эквивалентных площадей пяти элементов в том направлении, где расстояние между элементами наиболее удаленное друг от друга (см.
рисунок 4 в).
Можно также использовать непрямоугольную решетку, если ее возможно привести к прямоугольной путем сдвига горизонтального или вертикального ряда элементов.
6.7.2.3 Измерение яркости и коэффициента яркости
Яркость контролируемого участка в условиях испытаний для автомобильных дорог должны измерять при наличии внешнего освещения, создаваемого солнечным имитатором, обеспечивающим освещенность участка на уровне 40000, 10000, 4000, 400, 40 и 4 лк.
Допускается измерение яркости с помощью случайно выбранного внешнего источника освещения, обеспечивающего освещенность участка на уровне от 4000 до 40000 лк.
Для ЗПИ, применяемых в туннелях, яркость контролируемого участка в условиях испытаний должны измерять при наличии внешнего освещения, создаваемого солнечным имитатором, обеспечивающим освещенность участка на уровне 400, 40 и 4 лк.
Измерения яркости должны осуществлять на испытательном модуле, находящемся в следующих состояниях:
- все элементы контролируемого участка включены;
- все элементы контролируемого участка выключены.
Коэффициент яркости LR вычисляют по формуле

(1)
где La - яркость знака во включенном состоянии при внешнем освещении, создаваемом солнечным имитатором;
Lb - яркость знака в выключенном состоянии при тех же условиях внешнего освещения.
Если испытательный модуль отрегулирован в соответствии с требованиями к коэффициенту яркости для уровня освещенности 400 (туннель) и 40000 лк, то измерение яркости проводят при включенных элементах испытательного модуля и выключенном солнечном имитаторе.
6.7.2.4 Углы испытаний
Измерения яркости, равномерности распределения яркости и координат цветности проводят для горизонтальных и вертикальных углов испытаний в соответствии с таблицами 9,
10 с погрешностью установки углов +/- 0,05°.
Таблица 9
Углы испытаний относительно оси отсчета
для измерения яркости и коэффициента яркости
В градусах
Класс ширины светового пучка | Солнечный имитатор | Яркомер |
Горизонтальный угол | Вертикальный угол, классы L1, L2, L3, L3 (*) | Вертикальный угол, класс L3 (*) | Горизонтальный угол | Вертикальный угол L1, L2, L3, L3 (*) |
B1 | 0 | +10 | +5 | 0 | 0 |
0 | +10 | +5 | -5 | 0 |
0 | +10 | +5 | +5 | 0 |
0 | +10 | +5 | 0 | -2,5 |
B2 | 0 | +10 | +5 | 0 | 0 |
0 | +10 | +5 | -7 | 0 |
0 | +10 | +5 | +7 | 0 |
0 | +10 | +5 | 0 | -2,5 |
B3 | 0 | +10 | +5 | 0 | 0 |
0 | +10 | +5 | -10 | 0 |
0 | +10 | +5 | +10 | 0 |
0 | +10 | +5 | 0 | -2,5 |
B4 | 0 | +10 | +5 | 0 | 0 |
0 | +10 | +5 | -10 | 0 |
0 | +10 | +5 | +10 | 0 |
0 | +10 | +5 | 0 | -2,5 |
B5 | 0 | +10 | +5 | 0 | 0 |
0 | +10 | +5 | -15 | 0 |
0 | +10 | +5 | +15 | 0 |
0 | +10 | +5 | 0 | -2,5 |
B6 | 0 | +10 | +5 | 0 | 0 |
0 | +10 | +5 | -15 | 0 |
0 | +10 | +5 | +15 | 0 |
0 | +10 | +5 | 0 | -2,5 |
B7 | 0 | +10 | +5 | 0 | 0 |
0 | +10 | +5 | -30 | 0 |
0 | +10 | +5 | +30 | 0 |
0 | +10 | +5 | 0 | -2,5 |
Таблица 10
Углы испытаний относительно оси отсчета
для измерения ширины светового пучка, равномерности
и координат цветности
В градусах
Класс ширины светового пучка | Фотометр |
Горизонтальный угол | Вертикальный угол |
B1 | 0 | 0 |
-5 | 0 |
+5 | 0 |
0 | -5 |
B2 | 0 | 0 |
-7 | 0 |
+7 | 0 |
0 | -5 |
B3 | 0 | 0 |
-10 | 0 |
+10 | 0 |
0 | -5 |
B4 | 0 | 0 |
-10 | 0 |
+10 | 0 |
0 | -10 |
B5 | 0 | 0 |
-15 | 0 |
+15 | 0 |
0 | -5 |
B6 | 0 | 0 |
-15 | 0 |
+15 | 0 |
0 | -10 |
B7 | 0 | 0 |
-30 | 0 |
+30 | 0 |
0 | -20 |
Горизонтальные углы для яркомера зависят от класса ширины светового пучка. Углы для солнечного имитатора аналогичны применяемым для классов ширины светового пучка.
6.7.2.5 Измерение ширины светового пучка
Измерения яркости должны повторять с шагом в 1° или менее в горизонтальной координатной плоскости, причем измеренный диапазон должен быть на 1° шире границ, заявленных контрольных углов по
таблице 9, в обе стороны и с шагом в 1° или менее, в вертикальной координатной плоскости, только в отрицательном направлении.
В пределах заданного класса ширины светового пучка значение яркости должно отклоняться не более чем на +/- 50% по сравнению со значением яркости, измеренной на координатной оси.
6.7.2.6 Расчет яркости
Необходимую яркость знака получают путем выбора соответствующего расстояния между элементами. Расстояние между элементами вычисляют при помощи следующего метода (см. рисунок 5).
Sh - расстояние между элементами по горизонтали, равное
ширине эквивалентной площади элемента; Sv - расстояние
между элементами по вертикали, равное эквивалентной
площади элемента; he и we - эквивалентная высота
и ширина матрицы
Заштрихованная область - эквивалентная площадь элемента
Рисунок 5 - Испытательный модуль с равномерной
ортогональной матрицей 5 x 8
Средняя яркость, кд/м2, модуля рассчитывают по формуле

(2)
где I - средняя интенсивность света отдельного элемента, кд.
Если интенсивность света и яркость известны, то из формулы (2) можно определить размер участка расфокусировки элемента (заштрихованный участок на рисунке 5, м2).
Интенсивность света отдельного элемента считается равномерно распределенной по его эквивалентной площади. Именно при такой яркости при наблюдении ЗПИ с определенного расстояния отдельные элементы неразличимы.
6.7.2.7 Однородность
Интенсивность свечения каждого отдельного элемента испытательного модуля должны измерять без внешнего освещения, создаваемого солнечным имитатором. Измерения должны проводить для яркости, соответствующей яркому внешнему освещению (40000 лк - для автомобильных дорог, 400 лк - для туннелей) и практически полному отсутствию видимости (менее или равно 4 лк).
Однородность светового потока измеряют по углам испытаний, указанным в
таблице 9.
6.7.2.8 Цвет
Все цветовые измерения следует проводить без использования солнечного имитатора.
Результаты испытания должны быть выражены в координатах цветности.
Спектр света, излучаемого испытательным модулем, должны измерять для уровня яркости, соответствующего яркому внешнему освещению (40000 лк - для автомобильных дорог, 400 лк - для туннелей) и условиям отсутствия видимости (менее или равно 4 лк).
Спектр света, излучаемого испытательным модулем, должны анализировать по углам, соответствующим классу ширины светового пучка (см.
таблицу 9).
Любая неоднородность цвета не должна создавать конкурирующих различий в предоставляемой информации.