Главная // Актуальные документы // ГОСТ (Государственный стандарт)СПРАВКА
Источник публикации
М.: Стандартинформ, 2014
Примечание к документу
Документ включен в Перечень международных и региональных (межгосударственных) стандартов, а в случае их отсутствия - национальных (государственных) стандартов, в результате применения которых на добровольной основе обеспечивается соблюдение требований технического
регламента Таможенного союза "О безопасности машин и оборудования" (ТР ТС 010/2011) и в Перечень международных и региональных (межгосударственных) стандартов, а в случае их отсутствия - национальных (государственных) стандартов, содержащих правила и методы исследований (испытаний) и измерений, в том числе правила отбора образцов, необходимые для применения и исполнения требований технического
регламента Таможенного союза "О безопасности машин и оборудования" (ТР ТС 010/2011) и осуществления оценки соответствия объектов технического регулирования (
Решение Коллегии Евразийской экономической комиссии от 09.03.2021 N 28).
Отдельные положения данного документа включены в
Перечень стандартов, в результате применения которых на добровольной основе обеспечивается соблюдение требований технического
регламента Таможенного союза "О безопасности машин и оборудования" (ТР ТС 010/2011) и в
Перечень стандартов, содержащих правила и методы исследований (испытаний) и измерений, в том числе правила отбора образцов, необходимые для применения и исполнения требований технического
регламента Таможенного союза "О безопасности машин и оборудования" (ТР ТС 010/2011) и осуществления оценки (подтверждения) соответствия продукции (
Решение комиссии Таможенного союза от 18.10.2011 N 823).
Текст данного документа приведен с учетом
поправки, опубликованной в "ИУС", N 7, 2019.
Документ
введен в действие с 01.01.2016.
Название документа
"ГОСТ EN 12042-2013. Межгосударственный стандарт. Машины и оборудование для пищевой промышленности. Машины тестоделительные автоматические. Требования по безопасности и гигиене"
(введен в действие Приказом Росстандарта от 09.07.2014 N 798-ст)
"ГОСТ EN 12042-2013. Межгосударственный стандарт. Машины и оборудование для пищевой промышленности. Машины тестоделительные автоматические. Требования по безопасности и гигиене"
(введен в действие Приказом Росстандарта от 09.07.2014 N 798-ст)
агентства по техническому
регулированию и метрологии
от 9 июля 2014 г. N 798-ст
МЕЖГОСУДАРСТВЕННЫЙ СТАНДАРТ
МАШИНЫ И ОБОРУДОВАНИЕ ДЛЯ ПИЩЕВОЙ ПРОМЫШЛЕННОСТИ
МАШИНЫ ТЕСТОДЕЛИТЕЛЬНЫЕ АВТОМАТИЧЕСКИЕ
ТРЕБОВАНИЯ ПО БЕЗОПАСНОСТИ И ГИГИЕНЕ
Food processing machinery and equipment. Automatic dividers.
Safety and hygiene requirements
(EN 12042:2005+A1:2010, IDT)
ГОСТ EN 12042-2013
Дата введения
1 января 2016 года
Цели, основные принципы и основной порядок проведения работ по межгосударственной стандартизации установлены
ГОСТ 1.0-92 "Межгосударственная система стандартизации. Основные положения" и
ГОСТ 1.2-2009 "Межгосударственная система стандартизации. Стандарты межгосударственные, правила и рекомендации по межгосударственной стандартизации. Правила разработки, принятия, применения, обновления и отмены"
1 ПОДГОТОВЛЕН Закрытым акционерным обществом "Корпорация "Российское продовольственное машиностроение" (ЗАО "Корпорация "Роспродмаш")
2 ВНЕСЕН Федеральным агентством по техническому регулированию и метрологии
3 ПРИНЯТ Межгосударственным советом по стандартизации, метрологии и сертификации (протокол от 14 ноября 2013 г. N 44-2013)
За принятие стандарта проголосовали:
Краткое наименование страны по МК (ИСО 3166) 004-97 | Код страны по МК (ИСО 3166) 004-97 | Сокращенное наименование национального органа по стандартизации |
Беларусь | BY | Госстандарт Республики Беларусь |
Казахстан | KZ | Госстандарт Республики Казахстан |
Россия | RU | Росстандарт |
Узбекистан | UZ | Узгосстандарт |
4 Настоящий стандарт идентичен европейскому региональному стандарту EN 12042:2005+A1:2010 Food processing machinery - Automatic dividers - Safety and hygiene requirements (Оборудование для пищевой промышленности. Машины тестоделительные автоматические. Требования безопасности и гигиены), включая его изменение A1:2010
Европейский стандарт разработан Европейским комитетом по стандартизации (CEN) в соответствии с мандатом, предоставленным Европейской комиссией и Европейской ассоциацией свободной торговли (EFTA), и реализует существенные требования безопасности
Директивы 2006/42/ЕС
Европейский стандарт, на основе которого подготовлен настоящий стандарт, реализует существенные требования безопасности директив ЕС, приведенные в
приложении ZA
Перевод с английского языка (en)
Официальные экземпляры европейского стандарта, на основе которого подготовлен настоящий межгосударственный стандарт, и европейских стандартов, на которые даны ссылки, имеются в ФГУП "Стандартинформ"
В
разделе "Нормативные ссылки" и тексте стандарта ссылки на европейские стандарты актуализированы
Сведения о соответствии межгосударственных стандартов ссылочным европейским стандартам приведены в дополнительном
приложении ДА
Степень соответствия - идентичная (IDT)
Наименование настоящего стандарта изменено относительно наименования европейского стандарта в связи с особенностями построения межгосударственной системы стандартизации
5
Приказом Федерального агентства по техническому регулированию и метрологии от 09 июля 2014 г. N 798-ст межгосударственный стандарт ГОСТ EN 12042-2013 введен в действие в качестве национального стандарта Российской Федерации с 1 января 2016 г.
6 ВВЕДЕН ВПЕРВЫЕ
Информация об изменениях к настоящему стандарту публикуется в ежегодном информационном указателе "Национальные стандарты", а текст изменений и поправок - в ежемесячном информационном указателе "Национальные стандарты". В случае пересмотра (замены) или отмены настоящего стандарта соответствующее уведомление будет опубликовано в ежемесячном информационном указателе "Национальные стандарты". Соответствующая информация, уведомление и тексты размещаются также в информационной системе общего пользования - на официальном сайте Федерального агентства по техническому регулированию и метрологии в сети Интернет
Настоящий стандарт согласно EN ISO 12100 относится к стандартам типа C.
Тестоделительные автоматические машины и связанные с ними рассматриваемые опасности, опасные ситуации и несчастные случаи приведены в
разделе 1 "Область применения" настоящего стандарта.
Если положения настоящего стандарта отличаются от тех, которые указаны в стандартах типа A и B, положения настоящего стандарта имеют предпочтение над положениями других стандартов, касающихся тестоделителей, спроектированных и изготовленных в соответствии с положениями настоящего стандарта.
1.1 Настоящий стандарт распространяется на проектирование и изготовление тестоделителей, работающих по объемному принципу и использующих один или более всасывающих и/или нагнетающих поршневых узлов. Настоящий стандарт не распространяется на тестоделители, работающие по весовому принципу.
Тестоделители используют в пищевой промышленности и на предприятиях общественного питания (кондитерских цехах, пекарнях и т.д.) для деления теста, предназначенного для выпечки хлеба и кондитерских изделий, на тестовые заготовки требуемой массы. Загрузка тестоделителей осуществляется вручную или автоматически.
В настоящем стандарте рассматриваются существенные опасности, опасные ситуации и несчастные случаи, связанные с установкой, регулировкой, эксплуатацией, очисткой, техническим обслуживанием, демонтажем, отключением и съемом отдельных узлов тестоделителей при их использовании по назначению и в прогнозируемых изготовителем условиях, возникающих при неправильной эксплуатации тестоделителя (см.
раздел 4).
В настоящем стандарте не учитывается возможность очистки тестоделителей водой под давлением.
1.2 Настоящий стандарт не распространяется на следующие тестоделители:
- на экспериментальные и находящиеся на стадии испытаний тестоделители, разрабатываемые изготовителем;
- на тестоделители с весовыми дозаторами;
- на тестоделители-посадчики;
- на ножевые и ленточные делители и другие типы тестоделителей, в которых работа делительного механизма основана на применении подвижного ножа;
- на подъемно-опрокидывающие машины
<1> и другие самостоятельные транспортирующие и загрузочные машины.
--------------------------------
1.3 Правила испытаний по шуму приведены в
приложении A для помощи изготовителям при измерении уровней шумов с целью декларирования шумовых характеристик.
1.4 Настоящий стандарт не применяется к тестоделителям, изготовленным до введения в действие настоящего стандарта.
Для применения настоящего стандарта необходимы следующие ссылочные документы. Для датированных ссылок применяют только указанное издание ссылочного документа. Для недатированных ссылок применяют последнее издание ссылочного документа (включая все его изменения).
EN 294:1992 Safety of machinery - Safety distances to prevent danger zones being reached by the upper limbs (Безопасные расстояния для предотвращения возникновения опасных зон, которые могут стать доступными для верхних конечностей)
EN 614-1:1995 Safety of machinery - Ergonomic design principles - Part 1: Terminology and general principles (Безопасность машин. Эргономические принципы конструирования. Часть 1. Термины, определения и общие принципы)
EN 619 Continous handling equipment and systems - Safety and EMC requirements for equipment for mechanical handling of unit loads (Системы и оборудование для непрерывной транспортировки. Требования по безопасности и электромагнитной совместимости к оборудованию для механической транспортировки грузовых единиц)
EN 953:1997 Safety of machinery - Guards - General requirements for design and construction of fixed and movable guards (Безопасность машин. Защитные ограждения. Общие требования к конструированию и изготовлению неподвижных и съемных защитных ограждений)
EN 954-1:1996 Safety of machinery - Safety related parts of control systems - Part 1: General principles for design (Безопасность машин. Элементы системы управления, связанные с безопасностью. Часть 1. Общие принципы конструирования)
EN 982 Safety of machinery - Safety requirements for fluid power systems and their components - Hydraulics (Безопасность машин. Требования по безопасности к гидравлическим системам и компонентам. Гидравлика)
EN 983 Safety of machinery - Safety requirements for fluid power systems and their components - Pneumatics (Безопасность оборудования. Требования по безопасности к гидравлическим системам и компонентам. Пневматика)
EN 1037 Safety of machinery - Safety requirements for fluid power systems and their components - Pneumatics; German version (Безопасность оборудования. Предотвращение несанкционированного пуска)
EN 1088:1995+A2:2009 Safety of machinery - Interlocking devices associated with guards - Principles for design and selection (Безопасность оборудования. Блокирующие устройства, связанные с защитными устройствами. Принципы конструирования и выбора)
EN 1672-2:2005+A1:2009 Food processing machinery - Common requirements - Part 2: Hygiene requirements (Оборудование пищевой промышленности. Основные положения. Часть 2. Гигиенические требования)
EN 1760-2 Safety of machinery - Pressure sensitive protective devices - Part 2: General principles for the design and testing of pressure sensitive edges and pressure sensitive bars (Безопасность оборудования. Защитные устройства, реагирующие на давление. Часть 2. Общие принципы конструирования и испытаний планок и штанг переключения)
EN 60204-1:2006 Safety of machinery - Electrical equipment of machines - Part 1: General requirements (Безопасность машин. Электрооборудование машин и механизмов. Часть 1. Общие требования)
EN 60529:1991 Degrees of protection provided by enclosures (Степени защиты, обеспечиваемые оболочками (код IP)
EN 61310-1 Safety of machinery. Indication, marking and actuating - Part 1: Requirements for visual, auditory and tactile signals (Безопасность оборудования. Показания, маркировка и приведение в действие. Часть 1. Требования к визуальным, звуковым и тактильным сигналам)
EN ISO 3743-1:1995 Acoustics - Determination of sound levels of noise sources - Engineering methods for small, movable sources in reverberant fields - Part 1: Comparison method for hard-walled test rooms (Шум машин. Определение уровня звуковой мощности источников шума по звуковому давлению. Технические методы для малых переносных источников шума в реверберационных полях в помещениях с жесткими стенами и в специальных реверберационных камерах. Часть 1. Сравнительный метод для помещений с жесткими стенами)
EN ISO 3744:1995 Acoustics - Determination of sound power levels of noise sources using sound pressure - Engineering method in an essentially free field over a reflecting plane (Акустика. Определение уровня звуковой мощности источников шума по звуковому давлению. Технический метод в существенно свободном звуковом поле над поверхностью)
EN ISO 4287 Geometrical Product Specifications (GPS) - Surface texture: Profile method - Terms, definitions and surface texture parameters (Геометрические характеристики изделий (GPS). Структура поверхности: профильный метод. Термины, определения и параметры структуры)
EN ISO 4871 Acoustics - Declaration and verification of noise emission values of machinery and equipment (Акустика. Декларация и проверка значений уровня шума машин и оборудования)
EN ISO 11201:1995 Acoustics - Noise emitted by machinery and equipment - Measurement of emission sound pressure levels at the work station and other specified positions - Engineering method in an essentially free field over a reflecting plane (Акустика. Шум, излучаемый машинами и оборудованием. Измерение уровней звукового давления излучения на рабочем месте и в других контрольных точках. Технический метод в существенно свободном звуковом поле над звукоотражающей поверхностью)
EN ISO 11688-1:1998 Acoustics - Recommended practice for the design of low-noise machinery and equipment - Part 1: Planning (Акустика - Практические рекомендации по проектированию машин и оборудования с уменьшенным уровнем производимого шума. Часть 1. Планирование)
EN ISO 12001 Acoustics - Noise emitted by machinery and equipment - Rules for the drafting and presentation of a noise test code (Акустика. Шум, издаваемый машинами и оборудованием. Правила подготовки и представления норм и правил определения шумов)
EN ISO 12100-1:2003 Safety of machinery - Basic concepts, general principles for design - Part 1: Basic terminology, methodology (Безопасность оборудования. Основные понятия, общие принципы конструирования. Часть 1. Основные термины, методика)
EN ISO 12100-2:2003 Safety of machinery - Basic concepts, general principles for design - Part 2: Technical principles (Безопасность оборудования. Основные понятия, общие принципы конструирования. Часть 2. Общие принципы конструирования)
EN ISO 13849-1:2008 Safety of machinery - Safety related parts of control systems - Part 1: General principles for design (Безопасность оборудования. Элементы систем управления, связанные с безопасностью. Часть 1: Общие принципы конструирования)
Примечание - При пользовании настоящим стандартом целесообразно проверить действие ссылочных стандартов в информационной системе общего пользования - на официальном сайте Федерального агентства по техническому регулированию и метрологии в сети Интернет или по ежегодному информационному указателю "Национальные стандарты", который опубликован по состоянию на 1 января текущего года, и по выпускам ежемесячного информационного указателя "Национальные стандарты" за текущий год. Если ссылочный стандарт заменен (изменен), то при пользовании настоящим стандартом следует руководствоваться заменяющим (измененным) стандартом. Если ссылочный стандарт отменен без замены, то положение, в котором дана ссылка на него, применяется в части, не затрагивающей эту ссылку.
3 Термины, определения и описание
3.1 Термины и определения
В настоящем стандарте применены термины по EN ISO 12100-1
<*>.
--------------------------------
<*> На территории Российской Федерации действует
ГОСТ Р ИСО 12100-1-2007 "Безопасность машин. Основные понятия, общие принципы конструирования. Часть 1: Основные термины, методика".
Тестоделители, на которые распространяется настоящий стандарт, состоят из следующих узлов, деталей и дополнительного оборудования (см.
рисунок 1):
1) загрузочный бункер;
2) вспомогательное устройство для подачи теста [дополнительное оборудование, см.
(рисунок 2)];
3) делительный механизм, работающий по объемному принципу, который может быть:
- барабанного и поршневого типа;
- с выталкивающим устройством;
- с вспомогательными механизмами;
4) мукопосыпатель тестовых заготовок (дополнительное оборудование);
5) один или более ленточных конвейеров, предназначенных для съема тестовых заготовок;
6) один или более приводов для работы делительного механизма и разгрузочных устройств;
7) различные дополнительные устройства (например, дозатор);
8) панель управления.
1 - загрузочный бункер; 2 - вспомогательное устройство
для подачи теста; 3 - делительный механизм;
4 - мукопосыпатель; 5 - ленточный конвейер; 6 - привод;
7 - дозатор; 8 - панель управления
Рисунок 1 - Основные узлы тестоделителя
Рисунок 2 - Примеры вспомогательных устройств
для подачи теста
| | Применение на добровольной основе разд. 4 обеспечивает соблюдение требований технического регламента Таможенного союза "О безопасности машин и оборудования" (ТР ТС 010/2011) (Решение Коллегии Евразийской экономической комиссии от 09.03.2021 N 28). | |
| | Применение на добровольной основе разд. 4 обеспечивает соблюдение требований технического регламента Таможенного союза "О безопасности машин и оборудования" (ТР ТС 010/2011) (Решение комиссии Таможенного союза от 18.10.2011 N 823). | |
4 Перечень существенных опасностей
Настоящий раздел содержит опасности, опасные ситуации и несчастные случаи, которые рассматриваются в настоящем стандарте, идентифицированные при оценке рисков как существенные для данного типа тестоделителей и которые требуют определенных действий для исключения или снижения риска.
Перед использованием настоящего стандарта необходимо провести оценку рисков тестоделителей для проверки возможного возникновения опасностей, перечисленных в настоящем разделе.
4.2 Механические опасности
К существенным механическим опасностям относят:
- раздавливание;
- порез;
- отрезание;
- затягивание;
- истирание;
- потерю устойчивости.
На
рисунке 3 представлены опасные зоны, связанные с механическими опасностями:
зона 1 - зона деления или зона загрузочного устройства, если она имеется, со стороны загрузочного бункера.
1 - зона 1; 2 - зона 2; 3 - зона 3; 4 - зона 4; 5 - зона 5
Рисунок 3 - Опасные зоны тестоделителя
Существенная опасность в зоне 1 - возможность пореза, раздавливания, отрезания;
зона 2 - доступ к делительному механизму и другим подвижным деталям со стороны разгрузочного отверстия/разгрузочного транспортера.
Существенная опасность в зоне 2 - возможность затягивания и раздавливания.
Примечание - В принципе это несущественная опасность делительного механизма барабанного и поршневого типа со стороны разгрузки;
зона 3 - лента разгрузочного транспортера, пространство между лентой и сбрасывающим валиком.
Существенная опасность в зоне 3 - возможность раздавливания;
зона 4 - приводные механизмы и другие подвижные компоненты, расположенные внутри тестоделителя.
Существенная опасность в зоне 4 - возможность раздавливания, удара, пореза, затягивания;
зона 5 - мукопосыпатель тестовых заготовок.
Существенная опасность в зоне 5 - возможность наматывания.
4.3 Электрические опасности
Опасность поражения электрическим током при прямом или косвенном контакте с токоведущими компонентами.
Опасность внешнего воздействия на электрооборудование (например, водой при очистке).
4.4 Опасность повышенного шума
Тестоделители являются источниками шума, который может приводить к устойчивой потере слуха из-за помех при голосовом общении и затрудненного восприятия акустических сигналов.
4.5 Опасность пылевыделения
При использовании мукопосыпателя тестовых заготовок операторы подвергаются воздействию пыли муки и других ингредиентов, которые могут быть опасны для здоровья, вызывая риниты, слезотечение и профессиональные заболевания, например астму.
4.6 Опасности, обусловленные несоблюдением гигиенических требований
Несоблюдение гигиенических требований может приводить к нежелательным изменениям пищевого продукта вследствие физического, химического и микробиологического его загрязнения и, следовательно, к появлению риска для здоровья оператора и потребителя.
4.7 Опасности, обусловленные несоблюдением эргономических требований
При эксплуатации, очистке и техническом обслуживании тестоделителей существует риск травмирования или приобретения хронического заболевания из-за принятия телом оператора неудобных положений.
4.8 Опасности, связанные с использованием в тестоделителе масла
Опасность поскользнуться в случае разлива масла из делительного механизма на пол вокруг тестоделителя.
4.9 Пневматическое и гидравлическое оборудование
При эксплуатации пневматического и гидравлического оборудования существуют опасности дробления, пореза, выброса деталей, взрыва и выброса жидкостей. Потенциальная энергия пневматических и гидравлических систем может приводить механизмы в движение неожиданно, даже если эти системы отключены от источников питания. Кроме того, гидравлическое и смазочное масла пневматического оборудования являются источником потенциальной опасности возгорания и загрязнения пищевых продуктов.
| | Применение на добровольной основе разд. 5 обеспечивает соблюдение требований технического регламента Таможенного союза "О безопасности машин и оборудования" (ТР ТС 010/2011) (Решение Коллегии Евразийской экономической комиссии от 09.03.2021 N 28). | |
| | Применение на добровольной основе разд. 5 обеспечивает соблюдение требований технического регламента Таможенного союза "О безопасности машин и оборудования" (ТР ТС 010/2011) (Решение комиссии Таможенного союза от 18.10.2011 N 823). | |
5 Требования безопасности, гигиены и/или меры защиты
Тестоделители должны соответствовать требованиям безопасности, гигиены и/или мерам защиты, изложенным в настоящем разделе.
Если неподвижные защитные ограждения или действующие в качестве таковых детали тестоделителя не закреплены постоянно, например, с помощью сварки, их крепежные элементы при снятии должны оставаться прикрепленными к ограждениям или тестоделителю.
5.2 Механические опасности
Защитные ограждения должны соответствовать требованиям EN 953
<*>. Блокирующие устройства должны соответствовать требованиям EN 953 (раздел 5) (защитное ограждение с блокировкой без фиксации закрытия) и EN 1088+A2 (разделы 5 и 6). Блокирующие устройства на откидывающихся бункерах и другом аналогичном оборудовании должны срабатывать при зазоре между подвижными и неподвижными деталями более 25 мм.
--------------------------------
<*> На территории Российской Федерации действует
ГОСТ Р 51342-99 "Безопасность машин. Съемные защитные устройства. Общие требования по конструированию и изготовлению неподвижных и перемещаемых съемных защитных устройств".
Если блокирующее устройство имеет подвижные детали, например концевые выключатели положения, они должны быть защищены от загрязнения тестом или сухими ингредиентами, например их расположением внутри корпуса тестоделителя. В противном случае, если применение любых защитных ограждений невозможно, могут быть использованы магнитные выключатели.
Связанные с безопасностью элементы систем управления должны соответствовать категории 1 согласно EN 954-1 (пункт 6.2.2) или иметь уровень "c", определенный в соответствии с EN ISO 13849-1.
Внешние стенки корпуса тестоделителя должны быть сконструированы так, чтобы исключать возможность оператору влезать на тестоделитель (например, вертикальными и гладкими).
При наличии складных заблокированных лестниц (ступенек) их конструкция должна обеспечивать постоянную активность блокирующего устройства или исключать возможность пользования лестницами (ступеньками) в сложенном состоянии.
5.2.2 Зона 1. Доступ в зону деления или к подающему устройству (при его наличии) через загрузочный бункер
5.2.2.1 Общие положения
Если для подачи ингредиентов в загрузочный бункер тестоделителя используют подъемные или подъемно-опрокидывающие машины (подъемник), доступ в опасную зону между подъемником и тестоделителем должен быть закрыт. Этого можно добиться установкой между подъемником и загрузочным бункером тестоделителя неподвижных и блокирующих защитных ограждений, размеры которых соответствуют приведенным в EN 294
<*> (таблица 2 или 4) конструкции из предохранительных планок с реакцией на давление вокруг верхней кромки загрузочного бункера или сочетанием обоих видов защиты.
--------------------------------
<*> На территории Российской Федерации действует
ГОСТ Р 51334-99 "Безопасность машин. Безопасные расстояния для предохранения верхних конечностей от попадания в опасную зону".
Кроме того, к бункеру должны быть прикреплены знаки (см.
рисунок 4), предупреждающие об опасности пореза внутри бункера.
Рисунок 4 - Предупреждающие знаки
К тестоделителям, у которых верхняя кромка загрузочного бункера расположена на высоте более 1,6 м, а также к тестоделителям, на которых установлены заблокированные лестницы (ступеньки) или рабочие площадки, следует применять следующие дополнительные требования (см.
5.2.2.4):
- обязательное наличие средств для наблюдения за уровнем теста в бункере, например проемов, закрытых прозрачным материалом, или одного или более зеркал на боковой стенке бункера;
- обязательное наличие конструктивных решений, позволяющих оператору проводить очистку, стоя на полу, например заблокированный откидывающийся бункер или съемные боковые панели бункера, в соответствии с EN 953.
5.2.2.2 Тестоделители с автоматизированной подачей
При работе тестоделителя доступ в опасную зону через загрузочный бункер должен быть закрыт неподвижными или блокирующими защитными ограждениями, размеры которых соответствуют указанным в EN 294 (таблица 4).
Если высота защитного ограждения составляет не менее 3 м, следует использовать принцип горизонтального расстояния от опасной зоны в соответствии с EN 294.
При установке промежуточного бункера он может выполнять функцию защитного ограждения.
5.2.2.3 Тестоделители с ручной подачей
Доступ к опасным зонам загрузочного бункера должен быть ограничен или закрыт одним из следующих способов:
a) установкой крышки с блокирующим устройством или защитного ограждения [см. EN ISO 12100-1 (пункт 3.25.4)], размеры и расположение которых должны соответствовать указанным в EN 294 (таблица 4). Если расстояние до опасной точки составляет не менее 850 мм, в установленной крышке допускается проем размером не более 180 x 180 мм, при этом рядом с проемом должны быть размещены предупреждающие знаки, размеры которых должны соответствовать EN 61310-1. Время останова после срабатывания блокирующего устройства должно быть не более 4 с, в противном случае защитное ограждение должно быть оборудовано блокирующим устройством с фиксацией закрытия;
b) установкой заблокированного удлиненного загрузочного бункера или "лебединой шеи" (см.
рисунок 5), размеры и положение которого должны соответствовать указанным в EN 294 (таблица 2). Конструкция такого бункера должна учитывать эргономические требования.
1 - опасная зона; a - высота опасной зоны; b - высота
защитной конструкции; c - горизонтальное расстояние
до опасной зоны
Рисунок 5 - Пример заблокированного удлиненного
загрузочного бункера
Время останова после срабатывания блокирующего устройства должно быть не более 4 с; в противном случае защитное ограждение должно быть оборудовано блокирующим устройством с фиксацией закрытия.
Для обеспечения возможности очистки удлиненного загрузочного желоба он должен быть откидывающимся и иметь блокирующее устройство;
c) установкой на безопасном расстоянии от верхней кромки загрузочного бункера конструкции из предохранительных планок с реакцией на давление (см.
рисунок 6), соответствующих требованиям EN 1760-2.
1 - конструкция из предохранительных планок с реакцией
на давление; 2 - рабочая площадка; 3 - опасная зона;
H2 >= 1600
D >= 550
A <= 50
S = H2 + E + D >= 2250,
где A - расстояние между нижней поверхностью конструкции из предохранительных планок с реакцией на давление и верхней кромкой загрузочного бункера;
D - минимальное расстояние от верхней кромки загрузочного бункера, заблокированного удлиненного загрузочного бункера или защитного ограждения до опасной зоны;
H2 - минимальная высота от пола до верхней кромки загрузочного бункера;
| | ИС МЕГАНОРМ: примечание. Текст дан в соответствии с официальным текстом документа. | |
H2 - минимальная высота от пола до верхней кромки загрузочного бункера;
h - высота, на которой расположена рабочая площадка
Рисунок 6 - Необходимые безопасные расстояния
при использовании конструкции из предохранительных планок
с реакцией на давление и заблокированной рабочей площадки
Конструкция из предохранительных планок не должна препятствовать загрузке тестоделителя тестом.
Время останова после срабатывания предохранительных планок должно быть не более 1 с.
Примечание - В настоящее время разрабатываются новые технические решения для обеспечения защиты загрузочного бункера. Одно из них - это световой барьер с функцией задержки отключения, размещенный на верхней кромке бункера. На основе разницы по времени длительности пересечения луча света тестом и рукой оператора устройство способно различать их, что позволяет добавлять тесто в тестоделитель во время его работы.
5.2.2.4 Дополнительные меры. Заблокированная лестница (ступенька) или рабочая площадка
Если опасные точки загрузочного бункера могут быть доступны с лестниц (ступенек) или рабочих площадок, находящихся от них на расстоянии
S, как определено на
рисунке 6, менее 2250 мм, лестницы (ступеньки) или рабочие площадки должны быть заблокированы. Блокирующие устройства должны останавливать тестоделитель и делать невозможным его пуск, если лестницы (ступеньки) или рабочие площадки находятся в рабочем положении или если на них находится оператор. После срабатывания блокирующего устройства тестоделитель, работающий вхолостую (без нагрузки), должен останавливаться в течение 4 с.
Блокирующее устройство лестницы (ступеньки) должно соответствовать требованиям
5.2.1, а связанные с безопасностью элементы системы управления должны соответствовать по меньшей мере категории 1 в соответствии с EN 954-1 (пункт 6.2.2) или иметь уровень "c", определенный в соответствии с EN ISO 13849-1.
Опорная поверхность лестницы (ступеньки) должна иметь ширину не менее 500 мм, длину - не менее 400 мм и высоту бортика, равную 15 мм. Если опорная поверхность расположена на высоте менее 500 мм от пола, то при ширине не менее 400 мм достаточна ее длина не менее 350 мм. Опорная поверхность не должна быть скользкой.
Рабочая площадка, расположенная на высоте не менее 500 мм, должна быть оборудована устройствами безопасности для предотвращения падения с нее. Промежуточные ступеньки и поручни должны быть установлены, если высота шага с лестницы (ступеньки) на лестницу (ступеньку) или на рабочую площадку составляет более 500 мм. Опорные поверхности ступенек должны быть достаточно большими и не должны быть скользкими, а также располагаться на одинаковых расстояниях одна от другой.
Опорная поверхность промежуточной ступеньки должна иметь ширину не менее 300 мм и длину - не менее 200 мм. Ступеньки лестниц должны иметь длину не менее 500 мм и ширину - не менее 80 мм. Лестница должна быть размещена под углом не более 70° к горизонтали.
Если высота h, на которой расположена рабочая площадка, составляет более 500 мм, должны быть дополнительно установлены одна или несколько промежуточных ступенек.
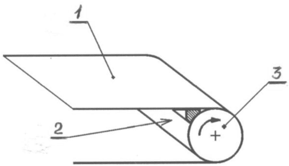
5.2.3 Зона 2. Доступ к делительному механизму и другим подвижным деталям со стороны разгрузочного отверстия/разгрузочного транспортера
Примечание - В принципе это несущественная опасность делительного механизма барабанного и поршневого типа со стороны разгрузки.
Доступ к опасным делительным механизмам и другим движущимся деталям со стороны разгрузочного отверстия должен быть закрыт:
- установкой неподвижного защитного ограждения с размерами, соответствующими EN 294 (таблица 4) или
- установкой в соответствии с EN 294 (таблица 4) безопасного расстояния применением съемного защитного ограждения с блокирующим устройством или
- установкой в соответствии с EN 294 (таблица 1) и
рисунком 7 безопасного расстояния путем применения съемного защитного ограждения с блокирующим устройством.
Таблица 1
Размеры защитного ограждения или туннеля
В миллиметрах
L | 35 | 40 | 45 | 50 | 55 | 60 | 65 | 70 | 80 | 135 | 150 |
D | 200 | 225 | 250 | 300 | 350 | 400 | 450 | 500 | 550 | 700 | 850 |
где L - расстояние от верхней ветви ленточного конвейера до верхней стенки туннеля; D - расстояние от внешней кромки туннеля до опасной точки делительного механизма |
1 - провисание середины ленты; 2 - максимальное
расстояние - 300 мм
Если защитное ограждение имеет отверстия или изготовлено из сетки, расстояние между предохранительными планками с реакцией на давление и сеткой должно соответствовать EN 294 (таблица 4).
5.2.4 Зона 3. Разгрузочный ленточный конвейер
Защита должна быть обеспечена безопасным расстоянием, а также теми расстояниями и размерами, которые приведены в EN 294 (таблица 4) или защита должна быть обеспечена в соответствии с EN 619.
Например, для предотвращения доступа к опасной зоне захвата должно быть установлено защитное ограждение (см.
рисунок 8, позиция 2).
1 - ленточный конвейер загрузки и разгрузки; 2 - защитное
ограждение опасной зоны захвата; 3 - вал
Рисунок 8 - Защитное ограждение опасной зоны захвата
Расстояние между нижней ветвью конвейерной ленты и неподвижными деталями тестоделителя должно быть не более 4 мм. Если это невозможно, доступ в опасную зону должен быть предотвращен установкой неподвижных или съемных защитных ограждений в соответствии с EN 953.
5.2.5 Зона 4. Приводные механизмы и другие подвижные компоненты, расположенные внутри тестоделителя
Доступ к механизмам привода и другим подвижным компонентам, расположенным внутри тестоделителя, включая делительный механизм, должен быть закрыт со всех сторон, за исключением стороны разгрузочного проема. Этого можно добиться установкой неподвижных защитных ограждений, соответствующих требованиям EN 953, или установкой съемных защитных ограждений с блокирующими устройствами в случае, если защитные ограждения должны ежедневно или более часто сниматься для очистки и технического обслуживания тестоделителя.
5.2.6 Зона 5. Мукопосыпатель
Контейнеры для муки должны быть оборудованы неподвижным защитным ограждением или ограждением с блокирующим устройством, размер которых соответствует EN 294 (таблица 4) применительно к системам, подающим муку.
Вышеупомянутое ограждение можно не устанавливать, если отсутствует риск, связанный с работой системы подачи муки (например, подача осуществляется с помощью рифленого вала или вибрационного устройства).
5.2.7 Потеря устойчивости
5.2.7.1 Общие положения
Конструкция тестоделителя должна обеспечивать его устойчивость и соответствие в зависимости от условий, изложенных в
5.2.7.2 и
5.2.7.3. В руководстве по эксплуатации тестоделителей, которые крепятся к полу (опорной поверхности), необходимо указывать значения сил в точках фиксации.
5.2.7.2 Свободно стоящие тестоделители без колес должны быть устойчивыми при наклоне на 10° к горизонтальной плоскости в наиболее неблагоприятных направлениях.
5.2.7.3 Свободно стоящие тестоделители на колесных опорах должны иметь стопоры по меньшей мере на двух колесах (или комплекте колес) и должны соответствовать требованию 5.2.7.2.
5.2.7.4 Тестоделители с рабочими площадками также должны проходить следующее испытание:
устойчивость должна сохраняться, если сила
F, равная 1000 Н (например, масса 100 кг) прилагается к внешнему краю площадки, как изображено на
рисунке 9. В случае, если размеры рабочей площадки допускают присутствие двух человек, испытательная сила должна составлять 2000 Н.
Рисунок 9 - Испытание на устойчивость тестоделителей
с рабочей площадкой
5.3 Электрические опасности
5.3.1 Общие положения
Электрооборудование, например выключатели, которое может подвергаться воздействию воды, например при очистке, должно иметь степень защиты IP согласно EN 60529 и EN 60204-1
<*>.
--------------------------------
<*> На территории Российской Федерации действует
ГОСТ Р МЭК 60204-1-2007 "Электрооборудование машин и механизмов. Часть 1. Общие требования".
Электрооборудование должно соответствовать требованиям EN 60204-1 со следующими уточнениями.
5.3.2 Требования безопасности, связанные с электромагнитной совместимостью
Тестоделители должны иметь достаточную невосприимчивость к электромагнитным излучениям, обеспечивающую их безопасную работу в определенных изготовителем условиях и не должны подвергаться опасности при уровнях и типах излучений, указанных изготовителем.
Изготовитель тестоделителя должен спроектировать, установить и подключить дополнительное оборудование и вспомогательные устройства в составе тестоделителя с учетом рекомендаций их поставщиков.
5.3.3 Защита от поражения электрическим током
Электрооборудование должно соответствовать требованиям EN 60204-1 (раздел 6).
Устройства для обнаружения и прерывания сверхтоков должны быть установлены в соответствии с EN 60204-1 (пункт 7.2.3). Для тестоделителей, питающихся от одной фазы, такое устройство не требуется при наличии заземленного нейтрального провода.
5.3.5 Защита от повреждения заземления в цепях управления
Для тестоделителей, питающихся от одной фазы и имеющих заземленный нейтральный провод, нет необходимости дублировать их электробезопасность системой прерывания избыточного тока в фазном проводнике. Достаточно установки на них однополюсного прерывателя [см. EN 60204-1 (подпункт 9.4.3.1)].
5.3.6 Аварийная остановка
Для тестоделителей автоматических устройство аварийной остановки не требуется. При этом следует обратить особое внимание на доступность выключателя ("ВЫКЛ.") с рабочего места оператора.
| | ИС МЕГАНОРМ: примечание. Нумерация пунктов дана в соответствии с официальным текстом документа. | |
5.3.11 Кожух электродвигателя
Если двигатель имеет степень защиты ниже IP23 (см. EN 60529), он должен быть закрыт кожухом [см. EN 60204-1 (подраздел 14.2)], что гарантирует минимальную степень защиты IP23 (см. EN 60529).
Снижение уровня шума должно быть неотъемлемой частью процесса проектирования тестоделителей с учетом требований, указанных в EN ISO 11688-1. Эффективность применения мер по снижению шума оценивается сравнением реального шумового излучения (см.
приложение A) с аналогичными характеристиками других тестоделителей того же типа.
Должны быть предусмотрены средства для предотвращения просыпания муки на пол, например устройство для сбора муки под зоной съема тестовых заготовок с разгрузочного конвейера
[1].
Если используют распылитель муки для посыпания мукой специальных видов теста, должно быть установлено одно или более из следующих устройств:
- устройство уменьшения дозы муки до необходимого минимума в зависимости от вида и размера тестовой заготовки;
- устройство, обеспечивающее распыление муки только во время непосредственного расположения тестовой заготовки под распылителем муки;
- устройство остановки мукораспылителя при прекращении работы тестоделителя;
- устройство, обеспечивающее остановку распылителя муки следующей машиной производственной линии, при условии, если распылитель является частью этой линии;
- максимальное расстояние между нижней стороной распылителя муки и самыми большими тестовыми заготовками должно составлять не более 50 мм.
5.6 Защита от разлива масла
Резервуар для масла тестоделителя должен быть изготовлен и установлен так, чтобы его было легко заполнять, сводя к минимуму риск разлива. Во избежание разлива масла на пол изготовитель должен укомплектовать тестоделитель средствами для сбора масла, например лотками.
5.7 Гигиенические требования
5.7.1 Общие требования
Тестоделители должны быть спроектированы и изготовлены согласно ЕН 1672-2+A1 и
приложению B. На
рисунке 10 показаны три гигиенические зоны, определенные в соответствии с ЕН 1672-2+A1.

- пищевая зона;

- зона распыления;

- непищевая зона
Рисунок 10 - Гигиенические зоны
5.7.2 Пищевая зона
К пищевой зоне относят следующие компоненты:
- внутреннюю поверхность загрузочного бункера;
- все детали делительного механизма;
- ленту разгрузочного конвейера тестовых заготовок;
- внутреннюю поверхность мукораспылителя, включая внутреннюю поверхность заслонки.
5.7.3 Зона распыления
К зоне распыления относят следующие компоненты:
- внешнюю поверхность загрузочного бункера;
- верхнюю панель или крышку делительного механизма;
- внешнюю поверхность мукораспылителя, включая внешнюю поверхность заслонки;
- неподвижную горизонтальную поверхность под загрузочным бункером.
5.7.4 Непищевая зона
Остальные поверхности тестоделителя.
5.8 Опасности, обусловленные несоблюдением эргономических требований
При проектировании тестоделителей с загрузкой вручную изготовитель должен обратить особое внимание на эргономические требования, предъявляемые к операции загрузки теста: обеспечить соответствующими средствами и определить порядок загрузки с целью ее облегчения. Для тестоделителей с загрузкой вручную, у которых верхняя кромка загрузочного бункера расположена на высоте более 1,6 м, а проведенная оценка рисков позволяет сделать заключение о том, что предпринятые меры безопасности являются достаточными, должна быть установлена рабочая площадка в соответствии с
5.2.2.4.
Неудобные положения тела при эксплуатации, техническом обслуживании, очистке, а также при загрузке и разгрузке тестоделителей или при выполнении других операций должны быть исключены
[3],
[4].
Расположение панели и элементов управления должно обеспечивать их легкую доступность для оператора, как указано в EN 614-1+A1 (приложение A),
[2].
5.9 Пневматическое и гидравлическое оборудование
Все пневматические компоненты и трубопроводы должны соответствовать требованиям EN 983
<*>. Все гидравлические компоненты и шланги должны соответствовать требованиям EN 982
<**>.
--------------------------------
<*> На территории Российской Федерации действует
ГОСТ Р 52869-2007 "Пневмоприводы. Требования безопасности".
<**> На территории Российской Федерации действует
ГОСТ Р 52543-2006 "Гидроприводы объемные. Требования безопасности".
Несанкционированный пуск должен быть предотвращен использованием мер, описанных в EN 1037, а источники питания каждым видом энергии должны иметь раздельные средства отключения.
| | Применение на добровольной основе разд. 6 обеспечивает соблюдение требований технического регламента Таможенного союза "О безопасности машин и оборудования" (ТР ТС 010/2011) (Решение Коллегии Евразийской экономической комиссии от 09.03.2021 N 28). | |
| | Применение на добровольной основе разд. 6 обеспечивает соблюдение требований технического регламента Таможенного союза "О безопасности машин и оборудования" (ТР ТС 010/2011) (Решение комиссии Таможенного союза от 18.10.2011 N 823). | |
6 Проверка выполнения требований безопасности, гигиены и/или мер защиты
Настоящий раздел содержит методы испытаний для проверки соответствия и выполнения требований по безопасности, указанных в
разделе 5. Все меры безопасности
раздела 5 содержат очевидные критерии приемлемости.
Проверка требований может быть выполнена путем инспектирования, расчета или испытания. Они должны применяться к тестоделителям, работающим в условиях полного ввода в эксплуатацию или частично демонтированным. Такой частичный демонтаж не должен искажать результаты проверки.
Номер подраздела, пункта | Метод проверки |
| Визуальное инспектирование |
5.2.2 Зона 1. Доступ в зону деления или загрузочного устройства через загрузочный бункер | Технологическое испытание. Измерение безопасных расстояний. Расчет |
5.2.3 Зона 2. Доступ к делительным механизмам и другим подвижным деталям через разгрузочное устройство | Инспектирование и измерение |
5.2.4 Зона 3. Разгрузочный транспортер | Инспектирование и измерение |
5.2.5 Зона 4. Приводные механизмы и другие движущиеся компоненты, расположенные внутри тестоделителя | Технологическое испытание |
5.2.6. Зона 5. Мукораспылитель | Инспектирование |
5.2.7 Потеря устойчивости | Для свободно стоящих тестоделителей при их наклоне на 10° они должны оставаться устойчивыми. Для тестоделителей со ступеньками при приложении к внешнему краю ступеньки усилия согласно 5.2.7.4 тестоделитель должен оставаться устойчивым (см. рисунок 9) |
5.3 Электрические опасности | Проверку следует проводить по EN 60204-1 (раздел 18) |
| |
5.5 Защита от вдыхания пыли | Инспектирование и измерение |
5.6 Защита от разлива масла | Инспектирование и измерение |
5.7 Гигиенические требования | |
5.8 Опасности, обусловленные несоблюдением эргономических принципов | Измерение сил путем инспектирования возможности наблюдения индикаторов, кнопок и т.д. |
5.9 Пневматическое и гидравлическое оборудование | Инспектирование и испытание |
| | Применение на добровольной основе разд. 7 обеспечивает соблюдение требований технического регламента Таможенного союза "О безопасности машин и оборудования" (ТР ТС 010/2011) (Решение Коллегии Евразийской экономической комиссии от 09.03.2021 N 28). | |
| | Применение на добровольной основе разд. 7 обеспечивает соблюдение требований технического регламента Таможенного союза "О безопасности машин и оборудования" (ТР ТС 010/2011) (Решение комиссии Таможенного союза от 18.10.2011 N 823). | |
7 Информация для эксплуатационника
7.1 Сигналы и предупреждающие знаки
На тестоделителях должны быть размещены предупреждающие об опасности пореза ножом тестоделителя знаки, прикрепленные к загрузочному бункеру на его корпусе. Размеры знаков должны соответствовать требованиям EN 61310-1.
7.2 Руководство по эксплуатации
Изготовитель должен предоставить руководство по эксплуатации по EN 12100-2
<*> (подраздел 6.5).
--------------------------------
<*> На территории Российской Федерации действует
ГОСТ Р 51333-99 "Безопасность машин. Основные понятия, общие принципы конструирования. Часть 2: Термины, технологические решения и технические условия".
Руководство по эксплуатации, в частности, должно содержать:
- инструкции по эксплуатации, транспортированию, хранению, установке, запуску;
- рекомендации по очистке и мойке: моющие средства, которые следует использовать, рекомендуемые реагенты, методика и периодичность очистки, все необходимые меры предосторожности (например, очистку следует проводить только остановленного тестоделителя; при очистке используют воду, мыло и пластиковый скребок. Использование металлических инструментов не рекомендуется).
Кроме того, если допускается очистка струей воды, изготовитель должен указать максимально допустимое давление воды;
- номинальное количество загружаемого теста для конкретного изделия;
- информацию, предупреждающую эксплуатационника об опасности вдыхания пыли;
- перечень опасных для здоровья ингредиентов, например муки, и рекомендации по предотвращению опасностей. Должна быть указана возможность использования дополнительного оборудования для защиты органов дыхания оператора при загрузке ингредиентов вручную;
- значения сил в точках крепления тестоделителя к полу (опорной поверхности);
- данные об электрооборудовании и схеме подключения источника электроэнергии;
- характеристики устройства защиты от сверхтоков в случае, если тестоделитель соответствует
5.3.4;
- руководство по эксплуатации (и любая имеющаяся в продаже литература, описывающая технические данные тестоделителя) должно содержать следующую информацию о шумовых характеристиках тестоделителя, измеренных и заявленных в соответствии с
приложением A;
- уровень звукового излучения на рабочем месте оператора; если он более 70 дБА и менее 70 дБА указывают в руководстве по эксплуатации:
- пиковый корректированный по C уровень звукового давления на
рабочем месте оператора, если он превышает 63 Па (130 дБ по отношению
к 20 мПа);
- корректированный по A уровень звуковой мощности тестоделителя,
если уровень звука излучения на рабочем месте оператора превышает 80 дБА;
- шумовые характеристики приводят с указанием неопределенности
измерений K относительно их средних значений. Также должны быть описаны
условия и режим работы тестоделителя и примененные методы измерений шумовых
характеристик;
- предупреждение об опасности разлива масла и важности немедленной очистки загрязненной разлитым маслом поверхности. В инструкции должен быть указан самый пригодный способ заполнения масляного бачка и технические меры предосторожности для минимизации риска разлива масла;
- предупреждение о соблюдении пределов и выполнении мероприятий, гарантирующих устойчивость тестоделителя при эксплуатации, транспортировании, сборке, демонтаже при обслуживании, испытании или предполагаемых неисправностях;
- описание безопасного и надежного способа разблокирования узлов тестоделителя, если при аварии или поломке произошла их блокировка;
- спецификацию тех запасных частей, которые влияют на здоровье и безопасность операторов;
- при необходимости порядок выполнения и описание операций по регулированию и обслуживанию тестоделителя и меры предосторожности, которые при этом следует принимать;
- при необходимости инструкции по безопасному выполнению операций по регулированию и обслуживанию, включая меры защиты, которые при этом следует принимать;
- предупреждение о том, что при подключении тестоделителя к источнику питания эксплуатационник должен видеть вилку кабеля питания с любого рабочего места.
Информация по техническому обслуживанию
Инструкция по техническому обслуживанию должна содержать:
- схему смазки; периодичность проведения операций и перечень смазочных материалов, которые следует использовать;
- рекомендуемую методику и периодичность очистки тестоделителя;
- инструкцию по безопасному отключению тестоделителя для ремонта и технического обслуживания (отключение от источников питания всех видов, блокировка отключающего устройства, нейтрализация остаточной энергии, проверка выполнения), операции по очистке цилиндров следует проводить только при отключении электроэнергии от источника питания;
- перечень запасных частей.
Маркировка должна содержать, по меньшей мере, следующие данные:
- наименование и полный адрес изготовителя и дилера (при наличии);
- обозначение серии или типа;
- серийный номер (при наличии);
- техническую информацию (для электротехнических изделий указывать в обязательном порядке напряжение, частоту и мощность тока);
- наименование тестоделителя;
- год выпуска тестоделителя.
--------------------------------
<2> Тестоделители и связанные с ними продукты, предназначенные для поставки на рынок Единой экономической зоны (EEA), должны иметь маркировку ЕС, как соответствующие требованиям всех применяемых к ним директив, например Директивы по оборудованию.
(обязательное)
ИСПЫТАНИЙ ПО ШУМУ ТЕХНИЧЕСКИМ МЕТОДОМ ТЕСТОДЕЛИТЕЛЕЙ
A.1 Определения
Термины и определения по EN ISO 12001.
A.2 Установка и особенности монтажа
Установка и условия монтажа идентичны для измерения силы звука и уровня звукового давления в конкретных условиях и для целей декларирования.
Окружающие условия, пригодные для целей измерения уровня давления излучаемого звука и мощности звукового излучения, должны представлять собой плоскую поверхность на открытом воздухе (например, автомобильная стоянка) или площадку внутри помещения, которая удовлетворяет требованиям звукоотражающей плоскости. Условия для проведения испытаний должны соответствовать требованиям, представленным в ЕН ИСО 3744
<*> (приложение A). Если уровень силы звука измеряют в соответствии с ЕН ИСО 3743-1
<**> (см.
A.6), условия проведения испытаний характеризуются этим стандартом.
--------------------------------
<*> На территории Российской Федерации действует
ГОСТ Р 51401-99 "Шум машин. Определение уровней звуковой мощности источников шума по звуковому давлению. Технический метод в существенно свободном звуковом поле над звукоотражающей плоскостью".
<**> На территории Российской Федерации действует
ГОСТ Р 51400-99 "Шум машин. Определение уровней звуковой мощности источников шума по звуковому давлению. Технические методы для малых переносных источников шума в реверберационных полях в помещениях с жесткими стенами и в специальных реверберационных камерах".
Следует обратить внимание на защиту от излучения любыми электрическими проводами, трубопроводами или воздушными каналами, подключенными к оборудованию, значительной звуковой энергии, которая влияла бы на результат определения шумов, издаваемых смесителем. Это можно избежать путем ослабления или частичной изоляции этих компонентов или даже путем учета доли их участия в определении интенсивности звука.
A.3 Условия работы
При определении значений излучаемых шумов (мощности или уровня звукового давления) должны быть соблюдены следующие условия:
- тестоделитель должен быть порожним;
- тестоделитель должен работать на максимальной скорости.
A.4 Измерения
Продолжительность измерения уровня звукового давления (см.
A.5) или уровня мощности звука (см.
A.6) должна составлять 30 с.
A.5 Определение уровня звукового давления излучения
Определение уровня звукового давления излучения (корректированного по шкале A и, если нужно, корректированного по шкале C пикового значения) следует проводить в соответствии с EN ISO 11201.
Измерение следует проводить:
- при высоте (1,60 +/- 0,02) м над уровнем пола или опорной поверхности;
- на расстоянии 1 м перед панелью управления по оси тестоделителя.
Сначала должно быть определено значение фонового шума тестоделителя, измеряемого по корректированному по шкале A пиковому значению или по каждой интересующей полосе частот. Значение должно быть не менее чем на 6 дБ (а предпочтительнее более чем на 15 дБ) ниже уровня шума, связанного с работой тестоделителя при испытаниях.
Для получения значения уровня звукового давления в определенном положении следует применять поправочный коэффициент фонового шума K1. Определение и использование коэффициента K1 должны осуществляться в соответствии с EN ISO 11201.
Примечание - Может быть также дополнительно измерен уровень звукового давления с использованием другой частоты или в полосе частот октавы или трети октавы, если это требуется для целей измерений.
A.6 Определение уровня звуковой мощности
Определение корректированного по A уровня звуковой мощности следует проводить с использованием одного из следующих основных стандартов:
EN ISO 3743-1 применяют для измерений в испытательных помещениях объемом более 40 м3 с жесткими отражающими звук ограждающими поверхностями. В помещениях объемом менее 100 м3 испытывают тестоделители, наибольший размер которых не превышает 1 м. В помещениях объемом более 100 м3 могут быть испытаны тестоделители с наибольшим размером до 2 м;
EN ISO 3744 применяют для измерений в свободном пространстве вблизи одной или более звукоотражающих плоскостей. Измеряемая поверхность должна иметь полусферическую форму.
A.7 Неопределенность измерений
Стандартное отклонение воспроизводимости уровня звука излучения составляет от 0,5 до 2,5 дБ (см. EN ISO 11201).
Результаты определения корректированного по A уровня звуковой мощности в соответствии с EN ISO 3744 имеют среднеквадратичное отклонение воспроизводимости менее 1,5 дБ.
A.8 Информация, подлежащая регистрации
Регистрируют технические требования, устанавливаемые настоящими правилами испытаний по шуму. Любые отклонения от этих правил и от примененных основополагающих стандартов следует регистрировать вместе с техническими обстоятельствами, обусловившими такие отклонения.
A.9 Информация, вносимая в протокол испытаний
В протокол испытаний включают информацию, необходимую изготовителю для подготовки декларации о шумовых характеристиках, и эксплуатационнику - для подтверждения декларируемых значений.
Должна быть включена следующая минимальная информация:
1) наименование изготовителя; тип, модель, серийный номер и год выпуска тестоделителя;
2) ссылка на примененный при измерении шумовых характеристик основополагающий стандарт (стандарты);
3) описание условий установки и режима работы тестоделителя;
4) положение точек измерений при определении уровня звукового давления излучения на рабочем месте оператора и
5) значения шумовых характеристик.
Необходимо подтвердить выполнение всех требований настоящих правил испытаний по шуму и/или основополагающих стандартов по шуму. В противном случае следует указать все невыполненные требования, отклонения от требований и технические причины таких отклонений.
A.10 Заявление и подтверждение значений шумовых характеристик
Заявленное значение шумовой характеристики должно быть представлено в двухчисловой форме согласно EN ISO 4871.
Следует указывать значение уровня звукового давления излучения
L (
LpA и
LWA) и соответствующий коэффициент неопределенности
K (
KpA и
KWA) согласно
7.2.
Значение ожидаемых коэффициентов неопределенности KpA и KWA - 2,5 дБ.
В заявлении о шумовых характеристиках должно быть указано, что они были получены в соответствии с настоящим стандартом и основополагающими стандартами EN ISO 3743 и EN ISO 11201. В противном случае в протоколе испытаний необходимо точно указывать, какие отклонения от правил испытаний по шуму
(приложение A) и/или основополагающих стандартов имели место.
При необходимости заявленные шумовые характеристики тестоделителя подтверждают в соответствии с EN ISO 4871 путем проведения испытаний при тех же условиях монтажа, режиме работы и условиях испытаний тестоделителя, которые были при заявлении шумовых характеристик.
(обязательное)
ПРОЕКТИРОВАНИЯ ТЕСТОДЕЛИТЕЛЕЙ ДЛЯ ОБЕСПЕЧЕНИЯ
ВОЗМОЖНОСТИ ИХ ОЧИСТКИ
B.1 Определения
В настоящем приложении применены следующие термины с соответствующими определениями:
B.1.1 легко очищаемые поверхности (easily cleanable): Поверхности, спроектированные и изготовленные таким образом, чтобы обеспечивать удаление загрязнений простыми способами (например, промывкой вручную).
B.1.2 сопряженные поверхности (fitted surfaces): Поверхности, разделенные расстоянием менее 0,5 мм.
B.1.3 сочлененные поверхности (joined surfaces): Поверхности, между которыми частицы продукта не застревают в мелких трещинах, что могло бы затруднить их удаление и послужить причиной возникновения опасности загрязнения.
B.2 Конструкционные материалы
B.2.1 Типы материалов
Конструкционные материалы для пищевой зоны должны соответствовать EN 1672-2+A1 (подраздел 5.2).
Некоторые материалы (например, пластмассы) должны быть подвергнуты общим и специальным испытаниям на проникновение в продукт.
Примечание - Европейские директивы содержат перечень материалов, пригодных для контакта с пищевыми продуктами (см. также CEN/TR 15623)
[6]. Материалы, не указанные в европейских директивах, допустимы к использованию, если доказана их совместимость с пищевыми продуктами.
B.2.2 Характеристики поверхности
Качество поверхности материалов должно обеспечивать легкую очистку поверхностей при соблюдении соответствующих условий. Значения шероховатости
Rz согласно EN ISO 4287 должны соответствовать значениям, представленным в
таблицах B.1 и
B.2.
Таблица B.1
Характеристики поверхности пищевой зоны
Размеры в микрометрах
Способ обработки | Шероховатость Rz |
Цельнотянутый - прокатанный - скрученный | <= 34 |
Формование - литье | <= 40 |
Механическая обработка | <= 34 |
Литье под давлением: | |
- металлов | <= 34 |
- пластмасс | <= 34 |
Текстиль - тканый - нетканый | Согласно спецификации изготовителя по очистке |
Сетка - сито - перфорированный металл | Согласно спецификации изготовителя по очистке |
Покрытие: | |
- окраска (наилучшая защита) | <= 22 |
- пластмассы (наилучшая защита) | <= 22 |
- стекло | <= 22 |
- металл (наилучшая защита) | <= 22 |
Таблица B.2
Характеристики поверхности зоны распыления
Размеры в микрометрах
Способ обработки | Шероховатость Rz |
Цельнотянутый - прокатанный - скрученный | <= 40 |
Формование - литье | <= 54 |
Механическая обработка | <= 54 |
Литье под давлением: | |
- металлов | <= 54 |
- пластмасс | <= 54 |
Сетка - сито - перфорированный металл | Согласно спецификации изготовителя по очистке |
Покрытие: | |
- окраска | <= 40 |
- пластмассы | <= 40 |
- стекло | <= 40 |
- металл | <= 40 |
B.3 Проектирование
B.3.1 Соединение внутренних поверхностей
Места соединения должны иметь ту же шероховатость, что и соединяемые поверхности. Они должны быть спроектированы таким образом, чтобы исключать по EN 1672-2+A1 образование недоступных пространств.
B.3.1.1 Соединение внутренних поверхностей в пищевой зоне
Две поверхности должны соединяться в соответствии со следующими требованиями:
- с образованием закругленной кромки, имеющей радиус больше кривой минимального радиуса r1, равного не менее 3 мм, полученной:
- механической обработкой (нарезка внутри массы материала);
- сгибанием листового металла (изгибание и формование);
- литьем, выдавливанием и выдуванием в формы (см.
рисунок B.1).
Рисунок B.1 - Пищевая зона
- сваркой с последующим шлифованием и полированием (см.
рисунок B.2)
Рисунок B.2 - Пищевая зона
- для внутреннего угла

не менее 135° не существует специальных требований к радиусу (см.
рисунок B.3).
Рисунок B.3 - Пищевая зона
Три поверхности должны быть соединены (см.
рисунок B.4):
- с образованием округлых кромок, из них двух округлых кромок, имеющих радиус не менее 3 мм, и третьей, имеющей радиус не менее 7 мм;
- с формированием углов 135° таким образом, чтобы расстояние l1 между двумя сгибами было не менее 7 мм.
2, 3 и 4 - соединяемые поверхности
Рисунок B.4 - Пищевая зона
B.3.1.2 Соединение внутренних поверхностей в зоне распыления
При соединении двух перпендикулярных поверхностей радиус
r2 должен быть не менее 1 мм (см.
рисунок B.5).
Рисунок B.5 - Зона распыления
Если внутренний угол

имеет значения от 60 до 90°, радиус
r1 должен быть не менее 3 мм (см.
рисунок B.6).
Рисунок B.6 - Зона распыления
При соединении сварным швом двух перпендикулярных поверхностей сварка должна гарантировать герметичность соединения (см.
рисунок B.7). Допускается окончательное шлифование поверхности шва.
Рисунок B.7 - Зона распыления
B.3.1.3 Соединение внутренних поверхностей в непищевой зоне
Специальных требований не существует.
B.3.2 Соединение поверхностей встык и внахлест
Методы соединения листов металла должны учитывать расширение или сжатие материала, связанное с колебаниями температуры.
B.3.2.1 Соединение поверхностей встык и внахлест в пищевой зоне
B.3.2.1.1 Соединение поверхностей встык
Поверхности соединяют встык сваркой с образованием:
Рисунок B.8 - Пищевая зона
- или непрерывного сварного шва с применением накладки и плоской лицевой поверхностью (см.
рис. B.9)
Рисунок B.9 - Пищевая зона
B.3.2.1.2 Соединение поверхностей внахлест
В случае обязательных технических ограничений (например, при наличии длинных металлических листовых деталей различной толщины) соединение листов может быть осуществлено внахлест, в этом случае поверхности соединяются друг с другом сваркой с образованием:
- непрерывного сварного шва.
В этом случае верхняя поверхность должна перекрывать нижнюю поверхность в направлении потока жидкости. Конец перекрывания и угол должны отстоять друг от друга на расстоянии
h не менее 30 мм (см.
рисунок B.10):
Рисунок B.10 - Пищевая зона
Если это невозможно по конструктивным соображениям, соединение должно быть выполнено в соответствии с требованиями, предъявляемыми к закругленным поверхностям пищевой зоны (см.
B.3.1.1 и
рисунок B.11).
Рисунок B.11 - Пищевая зона
- или непрерывного сварного шва с применением накладки и плоской лицевой поверхностью.
Если общая толщина перекрывающей детали и стыка превышает 1 мм, толщина верхней детали должна быть уменьшена с целью снижения толщины
d до значения не более 1 мм (см.
рисунок B.12).
Рисунок B.12 - Пищевая зона
B.3.2.2 Соединение поверхностей встык и внахлест в зоне распыления
Поверхности могут быть:
- склепанными посредством профиля, который нельзя удалить или который устанавливается до соединения (см.
рисунок B.13):
Рисунок B.13 - Зона распыления
- соединенными сваркой без усиления (длина кромки
l2 на сгибе детали, используемой для соединения должна быть более 6 мм, а заливка соединения не должна иметь усадку
s более 0,5 мм (см.
рисунок B.14).
Рисунок B.14 - Зона распыления
- или соединенными с подгонкой (максимальный зазор между ними
j должен быть не более 0,5 мм) с перекрыванием верхней поверхностью нижней в направлении потока продукта. Размер перекрывания
he должен быть не менее 30 мм для исключения утечки жидкости за счет капиллярного эффекта (см.
рисунок B.15).
Рисунок B.15 - Зона распыления
B.3.2.3 Соединение поверхностей встык и внахлест в непищевой зоне
Особых требований нет.
B.3.3 Крепеж
B.3.3.1 Крепеж в пищевой зоне
См. EN 1672-2+A1 (подпункт 5.3.1.3).
B.3.3.1.1 Цекование
Если в конструкции используют винты с цилиндрической головкой и шестигранным углублением под ключ, устанавливаемые в опорную поверхность:
- конструкция должна соответствовать
рисунку B.16, а изготовитель в руководстве по эксплуатации должен указать пригодные для очистки средства;
Рисунок B.16 - Пищевая зона
- или отверстия в опорной поверхности должны быть заполнены уплотняющими и долговечными пробками в соответствии с требованиями, предъявляемыми к пищевой зоне.
B.3.3.1.2 Штифтовое крепление
Штифтовое крепление привода следует применять только в том случае, если оно прочное и надежно смонтировано. Изготовитель может устанавливать методику контроля, чтобы гарантировать соответствие этим требованиям.
B.3.3.2 Крепеж в зоне распыления
Крепеж должен легко поддаваться очистке. Его следует выбирать из вариантов, изображенных на
рисунке B.17.
Если в конструкции используются винты с цилиндрической головкой и шестигранным углублением под ключ, устанавливаемые в отверстия опорной поверхности, как представлено на
рисунке B.17:
- изготовитель должен четко указывать в руководстве по эксплуатации, требуемые для пищевой зоны способы очистки;
- или отверстия в опорной поверхности должны быть заполнены уплотняющими и долговечными пробками в соответствии с требованиями, предъявляемыми к пищевой зоне.
B.3.3.3 Крепеж в непищевой зоне
Специальных требований нет.
B.3.4 Ножки, опоры и станины для очистки пространства под тестоделителем
B.3.4.1 Настольные тестоделители
Настольные тестоделители могут быть:
B.3.4.1.1 Передвигаемыми, когда сила, требуемая для перемещения тестоделителя, с которого сняты для очистки все съемные детали, одним человеком, составляет менее 250 Н: требования безопасности отсутствуют.
B.3.4.1.2 Наклоняемыми, когда сила, требуемая для наклона тестоделителя, с которого сняты для очистки все съемные детали, одним человеком, составляет менее максимальной массы, допускаемой к переноске.
При этом тестоделитель должен быть укомплектован специальными приспособлениями для осуществления наклонного движения, чтобы гарантировать его устойчивость в наклонном положении (соответствующие ножки, опорные средства и т.д.), а процедура наклона должна быть подробно описана в руководстве по эксплуатации.
B.3.4.1.3 Непередвигаемые и ненаклоняемые тестоделители комплектуют ножками или подставкой. Зависимость минимальной высоты
H ножки от расстояния доступа
P, позволяющего очистить поверхности под опорой (см.
рисунок B.18), представлена в
таблице B.3.
Размеры в миллиметрах
Рисунок B.18 - Подставки для тестоделителей
В микрометрах
P <= 120 | H >= 50 |
120 < P <= 500 | H >= 75 |
500 < P <= 650 | H >= 100 |
P > 650 | H >= 150 |
- если тестоделитель не имеет ножек, он должен быть размещен на рабочем столе с встроенными постоянными и защищенными креплениями.
В руководстве по эксплуатации должен быть указан способ крепления тестоделителя.
B.3.4.2 Тестоделители напольного типа
B.3.4.2.1 Стационарные тестоделители, имеющие или не имеющие станины
Тестоделители должны быть размещены либо на полу с встроенными постоянными и защищенными креплениями (руководство по эксплуатации должно содержать указания по способу крепления (см.
рисунок B.19), либо они должны быть укомплектованы ножками высотой
H не менее 150 мм.
Однако, если пространство
L, которое должно очищаться, имеет глубину не более 150 мм, высота
H может быть уменьшена до 100 мм, но таким образом, чтобы обеспечивать возможность доступа для очистки (см.
рисунок B.20).
Если площадь одной ножки больше 1 дм
2, ножки следует рассматривать как подставку (с встроенной защитой) (см.
рисунок B.21).
B.3.4.2.2 Передвижные тестоделители
Поворотные ролики (колеса) должны быть доступны для очистки. Пример показан на
рисунке B.22, где
b имеет большую ширину кожуха, которая перекрывает окружность ролика (колеса).
Если b <= 25 мм, тогда a >= 3,5 мм.
Если b > 25 мм, тогда a >= 6 мм.
B.3.5 Вентиляционные отверстия
B.3.5.1 Вентиляционные отверстия в непищевой зоне
Вентиляционные отверстия должны быть расположены в непищевой зоне. Их конструкцией должно быть предусмотрено исключение любого проникновения и задержки жидкости в тестоделителе. По возможности напольные тестоделители должны иметь защиту, предотвращающую проникновение грызунов во все технические зоны. Размер отверстий должен быть не более 5 мм.
B.3.5.2 Вентиляционные отверстия в зоне распыления
В случае технической необходимости вентиляционные отверстия могут располагаться в зоне распыления. В этом случае их доступность для очистки должна обеспечиваться конструкцией.
По возможности напольные тестоделители должны иметь защиту, предотвращающую проникновение грызунов во все технические зоны. Размер отверстий должен быть не более 5 мм (см.
рисунок B.23).
B.3.6 Шарнирные соединения
По возможности изготовитель должен исключать из пищевой зоны шарнирные соединения.
Если их использование в пищевой зоне технически необходимо:
- они должны легко сниматься;
- их поверхности должны быть легкодоступны в случае невозможности их снятия.
Узлы с неподвижными деталями должны быть спроектированы так, чтобы было исключено любое проникновение. Доступ ко всем этим местам возможен, когда ширина прохода
l3 не менее двукратного значения глубины
p. В любом случае эта ширина
l3 должна быть не менее 10 мм (см.
рисунок B.24).
l3 >= 2p;
l3 >= 10
B.3.7 Панель управления
B.3.7.1 Панель управления в непищевой зоне
Обычно панель управления должна находиться в непищевой зоне и всегда быть доступной для очистки.
B.3.7.2 Панель управления в зоне распыления
Если по техническим причинам панель управления невозможно разместить в непищевой зоне, различные элементы управления следует размещать в зоне распыления, но они должны иметь легко очищаемые поверхности.
Расстояние L между двумя элементами управления должно быть не менее:
- 12,5 мм, если их высота
h не более 8 мм (см.
рисунок B.26).
h <= 8, L >= 12,5
Если указанные выше требования нельзя выполнить, органы управления должны быть защищены колпачками (см.
рисунок B.27).
(справочное)
ВЗАИМОСВЯЗЬ ПРИМЕНЕННОГО ЕВРОПЕЙСКОГО СТАНДАРТА И ОСНОВНЫХ
ТРЕБОВАНИЙ ДИРЕКТИВЫ 2006/42/ЕС
Настоящий европейский стандарт разработан Европейским комитетом по стандартизации (CEN) по поручению комиссии Европейского союза (ЕС) и Европейской ассоциации свободной торговли (EFTA) и реализует основные требования
Директивы Нового подхода по оборудованию 2006/42/ЕС.
Поскольку настоящий стандарт опубликован в официальном журнале ЕС в соответствии с этой Директивой и принят в качестве национального стандарта как минимум одной страной - членом ЕС, соответствие требованиям настоящего стандарта в пределах области его применения является средством выполнения основных требований этой Директивы и связанных с ней регламентирующих документов Европейской ассоциации свободной торговли.
ПРЕДУПРЕЖДЕНИЕ. На продукт (продукты), входящие в область применения настоящего стандарта, могут распространяться требования других директив ЕС.
(обязательное)
СВЕДЕНИЯ О СООТВЕТСТВИИ ССЫЛОЧНЫМ ЕВРОПЕЙСКИМ СТАНДАРТАМ
МЕЖГОСУДАРСТВЕННЫХ СТАНДАРТОВ
Таблица ДА.1
Обозначение и наименование европейского стандарта | Степень соответствия | Обозначение и наименование межгосударственного стандарта |
EN ISO 3743-1 Шум машин. Определение уровня звуковой мощности источников шума по звуковому давлению. Технические методы для малых переносных источников шума в реверберационных полях в помещениях с жесткими стенами и в специальных реверберационных камерах. Часть 1. Сравнительный метод для помещений с жесткими стенами | MOD | ГОСТ 31276-2002 (ИСО 3743-1:1994, ИСО 3743-2:1994) <*> Определение уровня звуковой мощности источников шума по звуковому давлению. Технические методы для малых переносных источников шума в реверберационных полях в помещениях с жесткими стенами и в специальных реверберационных камерах |
EN ISO 3744 Акустика. Определение уровней звуковой мощности источников шума по звуковому давлению. Технический метод в существенно свободном звуковом поле над звукоотражающей плоскостью | MOD | ГОСТ 31275-2002 (ИСО 3744:1994) <**> Шум машин. Определение уровней звуковой мощности источников шума по звуковому давлению. Технический метод в существенно свободном звуковом поле над звукоотражающей плоскостью |
| | ИС МЕГАНОРМ: примечание. В официальном тексте документа, видимо, допущена опечатка: имеется в виду ГОСТ 30691-2001, а не ГОСТ 30691-2000. | |
|
ISO 4871 Акустика. Заявление и подтверждение значений шума, излучаемого машинами и оборудованием | MOD | ГОСТ 30691-2000 (ИСО 4871-96) Шум машин. Заявление и контроль значений шумовых характеристик |
EN ISO 11201 Шум машин. Измерение уровней звукового давления излучения на рабочем месте и в других контрольных точках. Технический метод в существенно свободном звуковом поле над звукоотражающей плоскостью | IDT | ГОСТ 31172-2003 (ИСО 11201:1995) Шум машин. Измерение уровней звукового давления излучения на рабочем месте и в других контрольных точках. Технический метод в существенно свободном звуковом поле над звукоотражающей плоскостью |
EN ISO 12100-1 Безопасность оборудования. Основные понятия, общие принципы конструирования. Часть 1: Основные термины, методика | IDT | ГОСТ ИСО 12100-1-2001 <***> Безопасность оборудования. Основные понятия, общие принципы конструирования. Часть 1: Основные термины, методика |
EN ISO 12100-2 Безопасность оборудования. Основные понятия, общие принципы конструирования. Часть 2: Технические правила и технические требования | IDT | ГОСТ ИСО 12100-2-2001 <*4> Безопасность оборудования. Основные понятия, общие принципы конструирования. Часть 2: Технические правила и технические требования |
EN 294 Безопасность машин. Безопасные расстояния для предохранения верхних конечностей от попадания в опасную зону | IDT | ГОСТ ЕН 294-2002 <*5> Безопасность машин. Безопасные расстояния для предохранения верхних конечностей от попадания в опасную зону |
EN 453 Оборудование для пищевой промышленности. Тестомесильные машины. Требования по безопасности и гигиене | MOD | ГОСТ 31523-2012 Машины и оборудование для пищевой промышленности. Машины тестомесильные. Технические условия |
EN 953:1997+A1:2009 Безопасность машин. Съемные защитные устройства. Общие требования по конструированию и изготовлению неподвижных и перемещаемых защитных устройств | IDT | ГОСТ EN 953-2002 <*6> Безопасность машин. Съемные защитные устройства. Общие требования по конструированию и изготовлению неподвижных и перемещаемых защитных устройств |
EN 982 Безопасность машин. Требования по безопасности к гидравлическим системам и компонентам. Гидравлика | MOD | |
EN 983 Безопасность машин. Требования по безопасности к гидравлическим системам и компонентам | MOD | |
EN 1088:1995+A2:2008 Безопасность машин. Блокировочные устройства, связанные с защитными устройствами. Принципы конструирования и выбора | IDT | ГОСТ EN 1088-2002 Безопасность машин. Блокировочные устройства, связанные с защитными устройствами. Принципы конструирования и выбора |
EN 60204-1 Безопасность машин. Электрооборудование машин и механизмов. Часть 1. Общие требования | IDT | ГОСТ МЭК 60204-1-2002 <*7> Безопасность машин. Электрооборудование машин и механизмов. Часть 1. Общие требования |
EN 60529 Степени защиты, обеспечиваемые оболочками (код IP) | IDT | |
--------------------------------
<*> На территории Российской Федерации действует
ГОСТ Р 51400-99 "Шум машин. Определение уровней звуковой мощности источников шума по звуковому давлению. Технические методы для малых переносных источников шума в реверберационных полях в помещениях с жесткими стенами и в специальных реверберационных камерах".
<**> На территории Российской Федерации действует
ГОСТ Р 51401-99 "Шум машин. Определение уровней звуковой мощности источников шума по звуковому давлению. Технический метод в существенно свободном звуковом поле над звукоотражающей плоскостью".
<***> На территории Российской Федерации действует
ГОСТ Р ИСО 12100-1-2007 "Безопасность машин. Основные понятия, общие принципы конструирования. Часть 1: Основные термины, методика".
<*4> На территории Российской Федерации действует
ГОСТ Р 51333-99 "Безопасность машин. Основные понятия, общие принципы конструирования. Часть 2: Термины, технологические решения и технические условия".
<*5> На территории Российской Федерации действует
ГОСТ Р 51334-99 "Безопасность машин. Безопасные расстояния для предохранения верхних конечностей от попадания в опасную зону".
<*6> На территории Российской Федерации действует
ГОСТ Р 51342-99 "Безопасность машин. Съемные защитные устройства. Общие требования по конструированию и изготовлению неподвижных и перемещаемых съемных защитных устройств".
<*7> На территории Российской Федерации действует
ГОСТ Р МЭК 60204-1-2007 "Электрооборудование машин и механизмов. Часть 1. Общие требования".
| EN 626-1:1994 | Safety of machinery - Reduction of risks to health from hazardous substances emitted by machinery - Part 1: Principles and specifications for machinery manufacturers (Безопасность машин. Снижение риска для здоровья, причиняемого веществами, выделяемыми машинами. Часть 1. Принципы и методология проверки) |
| EN 894 | Safety of machinery - Ergonomics requirements for the design of displays and control actuators (Безопасность машин. Эргономические требования к конструкции дисплеев и органов управления) |
| EN 1005-2 | Safety of machinery - Human physical performance - Part 2: Manual handling of machinery and component parts of machinery (Безопасность машин. Физические возможности человека. Часть 2. Составляющая ручного труда при работе с машинами и механизмами) |
| EN 1005-3 | Safety of machinery - Human physical performance - Part 3: Recommended force limits for machinery Operation (Безопасность машин. Физические возможности человека. Часть 3. Рекомендуемые пределы усилий, прикладываемых при работе с машинами) |
| EN 13288 | Food processing machinery - Bowl lifting and tilting machines - Safety and hygiene requirements (Оборудование для пищевой промышленности. Машины для подъема и опрокидывания дежи. Требования гигиены и безопасности) |
| CEN/TR 15623 | Food processing machinery - Route map - Materials for food area (Оборудование пищевых производств. Маршрутная карта. Материалы для пищевой зоны) |
[7] | EN ISO 14121-1 | Safety of machinery - Risk assessment - Part 1: Principles /ISO 14121-1:2007/ (Безопасность машин. Принципы оценки и определения риска) |
УДК 664.65.05:658:382.3:006.354 | | IDT |
Ключевые слова: тестоделитель, подъемно-опрокидывающее устройство, планка с реакцией на давление, откидывающийся загрузочный бункер, туннель, риск, безопасность, опасная зона, пищевая зона, зона распыления, непищевая зона, гигиена, запыленность, шум, механические опасности, электрические опасности, эргономика |