Главная // Актуальные документы // ГОСТ (Государственный стандарт)СПРАВКА
Источник публикации
М.: Стандартинформ, 2019
Примечание к документу
Документ включен в
Перечень международных и региональных (межгосударственных) стандартов, а в случае их отсутствия - национальных (государственных) стандартов, содержащих правила и методы исследований (испытаний) и измерений, в том числе правила отбора образцов, необходимые для применения и исполнения требований технического
регламента Таможенного союза "О безопасности взрывчатых веществ и изделий на их основе" (ТР ТС 028/2012) и осуществления оценки соответствия объектов технического регулирования (
Решение Коллегии Евразийской экономической комиссии от 25.12.2018 N 218).
Документ
введен в действие с 01.09.2014.
Название документа
"ГОСТ 32411-2013. Межгосударственный стандарт. Вещества взрывчатые промышленные. Методы определения электрической емкости, плотности и водоустойчивости эмульсий"
(введен в действие Приказом Росстандарта от 18.02.2014 N 25-ст)
"ГОСТ 32411-2013. Межгосударственный стандарт. Вещества взрывчатые промышленные. Методы определения электрической емкости, плотности и водоустойчивости эмульсий"
(введен в действие Приказом Росстандарта от 18.02.2014 N 25-ст)
по техническому регулированию
и метрологии
от 18 февраля 2014 г. N 25-ст
МЕЖГОСУДАРСТВЕННЫЙ СТАНДАРТ
ВЕЩЕСТВА ВЗРЫВЧАТЫЕ ПРОМЫШЛЕННЫЕ
МЕТОДЫ ОПРЕДЕЛЕНИЯ ЭЛЕКТРИЧЕСКОЙ ЕМКОСТИ,
ПЛОТНОСТИ И ВОДОУСТОЙЧИВОСТИ ЭМУЛЬСИЙ
Commercial explosives. Methods of determination of electric
capacitance, density and resistance to water for emulsions
ГОСТ 32411-2013
Дата введения
1 сентября 2014 года
Цели, основные принципы и общие правила проведения работ по межгосударственной стандартизации установлены
ГОСТ 1.0 "Межгосударственная система стандартизации. Основные положения" и
ГОСТ 1.2 "Межгосударственная система стандартизации. Стандарты межгосударственные, правила и рекомендации по межгосударственной стандартизации. Правила разработки, принятия, обновления и отмены"
1 РАЗРАБОТАН Открытым акционерным обществом "Государственный научно-исследовательский институт "Кристалл" (ОАО "ГосНИИ "Кристалл")
2 ВНЕСЕН Федеральным агентством по техническому регулированию и метрологии
3 ПРИНЯТ Межгосударственным советом по стандартизации, метрологии и сертификации (протокол от 14 ноября 2013 г. N 44)
За принятие проголосовали:
Краткое наименование страны по МК (ИСО 3166) 004-97 | Код страны по МК (ИСО 3166) 004-97 | Сокращенное наименование национального органа по стандартизации |
Азербайджан | AZ | Азстандарт |
Армения | AM | Минэкономики Республики Армения |
Беларусь | BY | Госстандарт Республики Беларусь |
Киргизия | KG | Кыргызстандарт |
Россия | RU | Росстандарт |
Таджикистан | TJ | Таджикстандарт |
4
Приказом Федерального агентства по техническому регулированию и метрологии от 18 февраля 2014 г. N 25-ст межгосударственный стандарт ГОСТ 32411-2013 введен в действие в качестве национального стандарта Российской Федерации с 1 сентября 2014 г.
5 ВВЕДЕН ВПЕРВЫЕ
6 ПЕРЕИЗДАНИЕ. Апрель 2019 г.
Информация о введении в действие (прекращении действия) настоящего стандарта и изменений к нему на территории указанных выше государств публикуется в указателях национальных стандартов, издаваемых в этих государствах, а также в сети Интернет на сайтах соответствующих национальных органов по стандартизации.
В случае пересмотра, изменения или отмены настоящего стандарта соответствующая информация будет опубликована на официальном интернет-сайте Межгосударственного совета по стандартизации, метрологии и сертификации в каталоге "Межгосударственные стандарты"
Настоящий стандарт распространяется на вещества взрывчатые промышленные и устанавливает методы определения электрической емкости, плотности и водоустойчивости эмульсий, предназначенных для применения в производстве эмульсионных промышленных взрывчатых веществ.
В настоящем стандарте использованы нормативные ссылки на следующие стандарты:
ГОСТ 1625 Формалин технический. Технические условия
ГОСТ 1770 (ИСО 1042-83, ИСО 4788-80) Посуда мерная лабораторная стеклянная. Цилиндры, мензурки, колбы, пробирки. Общие технические условия
ГОСТ 2603 Реактивы. Ацетон. Технические условия
ГОСТ 2768 Ацетон технический. Технические условия
ГОСТ 4328 Реактивы. Натрия гидроокись. Технические условия
ГОСТ 4919.1 Реактивы и особо чистые вещества. Методы приготовления растворов индикаторов
ГОСТ 5789 Реактивы. Толуол. Технические условия
ГОСТ 6709 <1> Вода дистиллированная. Технические условия
--------------------------------
ГОСТ 9880 Толуол каменноугольный и сланцевый. Технические условия
ГОСТ 14839.3 Взрывчатые вещества промышленные. Метод определения содержания аммиачной селитры
ГОСТ 17299 Спирт этиловый технический. Технические условия
ГОСТ 18300 <2> Спирт этиловый ректификованный технический. Технические условия
--------------------------------
ГОСТ 25336 Посуда и оборудование лабораторные стеклянные. Типы, основные параметры и размеры
ГОСТ 25794.1 Реактивы. Методы приготовления титрованных растворов для кислотно-основного титрования
ГОСТ 26184 Вещества взрывчатые промышленные. Термины и определения
ГОСТ 29169 Посуда лабораторная стеклянная. Пипетки с одной отметкой
ГОСТ 29251 Посуда лабораторная стеклянная. Бюретки. Часть 1. Общие требования
ГОСТ 30037 Вещества взрывчатые. Общие требования к проведению химических и физико-химических анализов.
Примечание - При пользовании настоящим стандартом целесообразно проверить действие ссылочных стандартов и классификаторов на официальном интернет-сайте Межгосударственного совета по стандартизации, метрологии и сертификации (www.easc.by) или по указателям национальных стандартов, издаваемым в государствах, указанных в
предисловии, или на официальных сайтах соответствующих национальных органов по стандартизации. Если на документ дана недатированная ссылка, то следует использовать документ, действующий на текущий момент, с учетом всех внесенных в него изменений. Если заменен ссылочный документ, на который дана датированная ссылка, то следует использовать указанную версию этого документа. Если после принятия настоящего стандарта в ссылочный документ, на который дана датированная ссылка, внесено изменение, затрагивающее положение, на которое дана ссылка, то это положение применяется без учета данного изменения. Если документ отменен без замены, то положение, в котором дана ссылка на него, применяется в части, не затрагивающей эту ссылку.
В настоящем стандарте применены термины по ГОСТ 26184 и следующий термин с соответствующим определением:
эмульсионное взрывчатое вещество: Водоустойчивое промышленное взрывчатое вещество, одним из компонентов которого является эмульсия, получаемая из двух несмешивающихся жидкостей, одна из которых равномерно распределена в другой.
4.1 Метод определения электрической емкости основан на измерении электрической емкости в объеме пробы эмульсии, отобранной для анализа.
4.2 Метод определения плотности эмульсий основан на определении массы эмульсии известного объема при определенной температуре.
4.3 Метод определения водоустойчивости эмульсий основан на титровании раствором гидроокиси натрия азотной кислоты, которая образуется при взаимодействии аммиачной селитры с формалином.
Водоустойчивость эмульсий характеризуется массой аммиачной и натриевой (или кальциевой) селитр, перешедших в раствор с единицы площади поверхности контакта эмульсии с водой.
4.4 Общие требования к проведению анализов - по ГОСТ 30037.
5 Требования безопасности
5.1 Все работы, связанные с анализами, должны проводиться в соответствии с действующими правилами эксплуатации предприятий и правилами защиты от статического электричества, а также с правилами и инструкциями для контрольно-аналитических лабораторий, действующими на предприятиях - изготовителях и потребителях взрывчатых веществ (ВВ), согласованными и утвержденными в установленном порядке.
5.2 При работе с реактивами необходимо соблюдать правила работы с вредными веществами.
6.1 Отбор проб эмульсий для проведения анализов проводят в соответствии с требованиями нормативной документации (НД) или регламента технологического процесса получения на конкретную эмульсию.
Проба эмульсии должна находиться в теплоизолированной емкости, сохраняющей температуру эмульсии.
7 Определение электрической емкости эмульсий
7.1 Средства измерений, посуда, реактивы и материалы
Весы лабораторные с ценой деления (дискретностью отсчета) 1 г.
Измеритель LCR отечественного или импортного производства (далее - измеритель емкости), предназначенный для измерения электрической емкости в диапазоне от 10 до 1000 пФ (от 10-11 до 10-9 Ф).
Стакан стеклянный по
ГОСТ 25336 или из полимерного материала, устойчивого к воздействию горячей эмульсии, вместимостью не менее 250 см
3 (далее - стакан).
Ткань хлопчатобумажная или марля.
7.2 Проведение анализа
Измеритель емкости включают в сеть и подготавливают к работе согласно руководству по его эксплуатации.
От пробы, предназначенной для проведения анализа, отбирают от 200 до 300 г горячей эмульсии и помещают в стакан. Эмульсию в стакане слегка уплотняют легким постукиванием дном стакана о поверхность стола.
В стакан с эмульсией опускают датчик измерителя емкости таким образом, чтобы электроды датчика были погружены в эмульсию на всю длину до основания датчика, но не касались дна и стенок стакана и записывают показания цифрового табло или шкалы прибора.
Измерение проводят при двух-трех различных положениях датчика измерителя емкости в объеме эмульсии. Остатки эмульсии удаляют с электродов датчика после каждого измерения.
Примечание - Допускается определять электрическую емкость эмульсии, имеющей комнатную температуру.
7.3 Обработка результатов
За результат анализа принимают среднее арифметическое значение всех измерений. Результат анализа округляют до целого числа.
7.4 Очистка оборудования
По окончании измерений датчик измерителя емкости очищают от остатков эмульсии хлопчатобумажной тканью или марлей, слегка смоченной этиловым спиртом, ацетоном или толуолом.
8 Определение плотности эмульсий
8.1 Средства измерений и вспомогательное оборудование
Весы лабораторные с ценой деления (дискретностью отсчета) 0,01 г.
Термометр лабораторный стеклянный ртутный с ценой деления не более 1 °C, обеспечивающий контроль заданной температуры.
Штангенциркуль с отсчетом по нониусу 0,1 мм.
Стакан, в качестве которого используют стакан из нержавеющей стали или алюминиевого сплава высотой от 30 до 40 мм и диаметром от 30 до 35 мм или стакан из полимерного материала, устойчивого к воздействию горячей эмульсии, высотой от 75 до 100 мм и диаметром от 50 до 75 мм. Форма стакана цилиндрическая или коническая.
Шпатель из алюминиевого сплава или нержавеющей стали размером не более 20x150 мм.
8.2 Подготовка к анализу
Перед проведением анализа измеряют штангенциркулем внутренние диаметр и высоту стакана, записывая результат измерений до целого миллиметра.
Вместимость стакана
V, см
3, вычисляют по
формуле (1) - для стакана цилиндрической формы или по
формуле (2) - для стакана конической формы

, (1)

, (2)
где

- число "пи",

;
h - внутренняя высота стакана, мм;
d1 - внутренний диаметр цилиндрического стакана, мм;
d2 и d3 - внутренний диаметр верхнего и нижнего основания конического стакана, мм;
1000 - коэффициент пересчета из миллиметров кубических в сантиметры кубические.
Результат вычисления вместимости стакана записывают до второго десятичного знака.
Примечание - Допускается измерять вместимость стакана гравиметрическим методом в соответствии с
приложением Б.
8.3 Проведение анализа
Пустой стакан взвешивают, записывая результат взвешивания в граммах до второго десятичного знака.
Стакан наполняют эмульсией из емкости после аппарата эмульгирования или из емкости с отобранной пробой небольшими порциями с периодическим постукиванием дном стакана о поверхность стола так, чтобы эмульсия равномерно заняла весь объем стакана. Выступающую часть эмульсии удаляют шпателем с выравниванием поверхности по срезу стакана и взвешивают, записывая результат взвешивания в граммах до второго десятичного знака.
При проведении анализа температура эмульсии должна быть от 75 °C до 85 °C, время от момента заполнения стакана до взвешивания не должно превышать:
- 5 мин при проведении анализа в стакане из нержавеющей стали или алюминиевого сплава;
- 15 мин при проведении анализа в стакане из полимерного материала.
8.4 Обработка результатов
Плотность эмульсии

, г/см
3, вычисляют по формуле

, (3)
где m1 - масса стакана с эмульсией, г;
m2 - масса пустого стакана, г;
V - вместимость стакана, см3.
Проводят два параллельных определения, по результатам которых вычисляют среднее арифметическое значение, округляемое до сотой доли грамма на кубический сантиметр. Расхождение между результатами двух параллельных определений не должно превышать предела повторяемости (сходимости), равного 0,03 г/см3 при доверительной вероятности 0,95.
Допускается проводить одно определение при измерении плотности каждой пробы эмульсии при периодическом отборе проб (двух или более - через 20 - 25 мин) от одной партии эмульсии.
9 Определение водоустойчивости эмульсий
9.1 Средства измерений, посуда и реактивы
Весы лабораторные с ценой деления (дискретностью отсчета) 1 г.
Термометр лабораторный стеклянный ртутный с ценой деления не более 1 °C, обеспечивающий контроль заданной температуры.
Штангенциркуль с отсчетом по нониусу 0,1 мм.
Колба коническая по
ГОСТ 25336 вместимостью 250 см
3.
Колбы мерные по
ГОСТ 1770 вместимостью 250 или 500 см
3.
Цилиндры или мензурки по
ГОСТ 1770 вместимостью 250 см
3.
Цилиндры по
ГОСТ 1770 вместимостью 25 или 50 см
3 или мензурка вместимостью 50 см
3.
Стаканы стеклянные по
ГОСТ 25336 или алюминиевые вместимостью 250 или 400 см
3 (далее - стакан).
Формалин технический по
ГОСТ 1625, раствор с массовой долей формальдегида 25%, нейтрализованный в соответствии с приложением ГОСТ 14839.3.
Натрия гидроокись по
ГОСТ 4328, раствор концентрации
c (NaOH) = 0,2 моль/дм
3 (0,2 н) или
c(NaOH) = 0,5 моль/дм
3 (0,5 н), приготовленный в соответствии с требованиями
ГОСТ 25794.1.
Фенолфталеин (индикатор), спиртовой раствор с массовой долей 1%, приготовленный в соответствии с
ГОСТ 4919.1.
9.2 Подготовка к анализу
Внутренний диаметр стакана, в котором проводят анализ, замеряют в двух диаметрально противоположных точках, записывая результат измерений до десятой доли сантиметра.
9.3 Проведение анализа
9.3.1 Навеску свежеприготовленной эмульсии массой от 100 до 150 г помещают в стакан таким образом, чтобы эмульсия заполнила все сечение стакана и имела ровную поверхность без воздушных включений. Затем осторожно по стенкам стакана приливают 150 см3 дистиллированной воды, имеющей температуру (20 +/- 5) °C, и выдерживают при этой температуре в течение 4 или 24 ч.
9.3.2 Раствор, образовавшийся при выдержке эмульсии под слоем воды в течение 24 ч, сливают в мерную колбу вместимостью 250 или 500 см
3, содержимое которой доводят до отметки дистиллированной водой и тщательно перемешивают. Из мерной колбы вместимостью 250 см
3 пипеткой отбирают 25 см
3 раствора, а из мерной колбы вместимостью 500 см
3 - 50 см
3 раствора и помещают его в коническую колбу вместимостью 250 см
3.
Раствор, образовавшийся при выдержке эмульсии под слоем воды в течение 4 ч, сливают в коническую колбу вместимостью 250 см3 для титрования без разбавления.
9.3.3 К раствору в конической колбе доливают от 10 до 15 см3 нейтрализованного раствора формалина, тщательно перемешивают и после выдержки в течение 2 мин титруют раствором гидроокиси натрия в присутствии фенолфталеина до появления слабо-розового окрашивания, не исчезающего в течение 1 мин.
9.4 Обработка результатов
Водоустойчивость эмульсии W, кг/м2, вычисляют по формуле

, (4)
где A - коэффициент, учитывающий массу натриевой (или кальциевой) селитры в растворе после выдержки эмульсии под слоем воды:
A = 1,13, если в составе эмульсии есть натриевая (или кальциевая) селитра;
A = 1, если в составе эмульсии нет натриевой (или кальциевой) селитры;
V - объем раствора гидроокиси натрия концентрации 0,2 моль/дм3 (0,2 н) или 0,5 моль/дм3 (0,5 н), израсходованный на титрование, см3;
T - масса аммиачной селитры, соответствующая 1 см3 раствора гидроокиси натрия концентрации точно 0,2 моль/дм3 (0,2 н) или 0,5 моль/дм3 (0,5 н), равная 0,016011 или 0,040027 соответственно, г/см3;
K - поправочный коэффициент к раствору гидроокиси натрия;
n - степень разбавления (отношение вместимости мерной колбы, в которой проводили разбавление раствора, к объему, отбираемому пипеткой):

или

- для раствора, образовавшегося при выдержке эмульсии под слоем воды в течение 24 ч;
n = 1 - для раствора, образовавшегося при выдержке эмульсии под слоем воды в течение 4 ч;
S - площадь поперечного сечения стакана, см2, вычисляется по формуле

, (5)
где

- число "пи",

;
d4 - внутренний диаметр стакана, см;
10000 - пересчет единиц площади из квадратных сантиметров в квадратные метры;
1000 - пересчет единиц массы из граммов в килограммы.
Проводят два параллельных определения, по результатам которых вычисляют среднее арифметическое значение, округляемое до сотой доли килограмма на квадратный метр. Расхождение между результатами двух параллельных определений не должно превышать предела повторяемости (сходимости), равного 0,01 кг/м2 при доверительной вероятности 0,95.
9.5 Допускается определять водоустойчивость эмульсий с использованием автоматического титратора в соответствии с
разделом 10.
10 Определение водоустойчивости эмульсий с использованием автоматического титратора
10.1 Средства измерений, приборы, оборудование, посуда и реактивы по 9.1 (кроме колбы конической и бюретки) со следующими дополнениями:
- титратор автоматический серии Compact типа G20 с пределами допускаемой погрешности +/- 0,04 pH (диапазон измерений от 0 до 14 pH) и +/- 2,0% (диапазон измерений от 0,001% до 100%) (далее - титратор) или другой автоматический титратор с метрологическими характеристиками не хуже указанных;
- датчик DGi - 115 - SC - комбинированный PnP-pH - электрод (с шлифдиаграммой), предназначенный для непосредственного измерения pH-значений и кислотно-основного титрования в водной среде, или датчик фотоэлектрический "Phototrode DP5";
- бюретка вместимостью 20 см3, входящая в комплект титратора;
- колба для титрования вместимостью 250 см3, входящая в комплект титратора (далее - колба для титрования).
10.2 Подготовка к анализу
10.2.1 Подготовка титратора
Включение титратора, вывод его на рабочий режим и проведение анализа проводят в соответствии с руководством по его эксплуатации.
Рабочие параметры, устанавливаемые на титраторе:
- датчик - DGi - 115 - SC или датчик "Phototrode DP5", длина волны | - 590 нм; |
- время перемешивания до начала титрования | - 120 с; |
- максимальный расход гидроокиси натрия | - 20 см3; |
- минимальный объем добавления гидроокиси натрия (dVmin) | - 0,01 см3; |
- максимальный объем добавления гидроокиси натрия (dVmax) | - 0,2 см3. |
Задаваемые параметры титратора, фиксирующего измеряемую величину при достижении равновесия:
- изменение значения потенциала раствора за промежуток времени dt (dE) | - 1 мВ; |
- промежуток времени (dt) | - 1 с; |
- начальное время сбора измерений | - 3 с; |
- конечное время сбора измерений | - 7 с. |
10.3 Проведение анализа
Раствор, образовавшийся при выдержке эмульсии под слоем воды и подготовленный по
9.3.2, помещают в колбу для титрования. К раствору доливают от 10 до 15 см
3 нейтрализованного раствора формалина, перемешивают в течение 2 мин с помощью мешалки титратора и титруют раствором гидроокиси натрия (при использовании датчика "Phototrode DP5" - в присутствии фенолфталеина) до определения точки эквивалентности.
По окончании анализа записывают показание объема гидроокиси натрия, израсходованного на титрование, см3, отображенного на дисплее титратора.
10.4 Обработка результатов
Водоустойчивость эмульсии
W, кг/м
2, вычисляют по
9.4.
(обязательное)
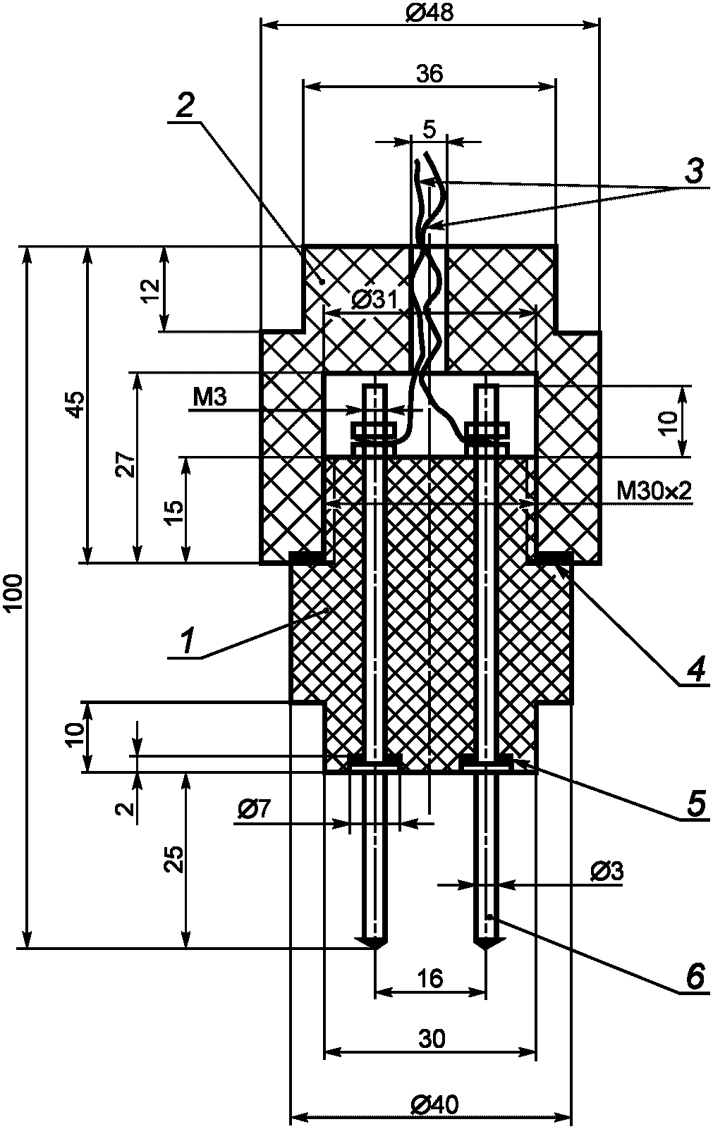
ДАТЧИК ИЗМЕРИТЕЛЯ ЭЛЕКТРИЧЕСКОЙ ЕМКОСТИ
1 - корпус фторопластовый; 2 - крышка фторопластовая;
3 - провода в экранирующей оплетке, заземленные;
4, 5 - прокладка из маслоустойчивой резины; 6 - электроды
Рисунок А.1 - Датчик измерителя электрической емкости
(обязательное)
ОПРЕДЕЛЕНИЕ ВМЕСТИМОСТИ СТАКАНА ГРАВИМЕТРИЧЕСКИМ МЕТОДОМ
Б.1 Средства измерений, вспомогательное оборудование и реактивы
Весы лабораторные с ценой деления (дискретностью отсчета) 0,0001 г.
Стакан в соответствии с
8.1.
Пластина из силикатного стекла размерами 50x50 или 100x100 мм и толщиной от 3 до 4 мм (далее - пластина).
Бумага фильтровальная.
Б.2 Проведение анализа
Сухой стакан вместе с пластиной взвешивают <1>.
--------------------------------
<1> Здесь и далее в тексте раздела взвешивание проводят с записью результата взвешивания в граммах до четвертого десятичного знака.
Стакан заполняют дистиллированной водой, имеющей температуру (20 +/- 5) °C, таким образом, чтобы поверхностное натяжение создавало выпуклую форму поверхности воды над краями стакана, накрывают осторожно пластиной, следя затем, чтобы под ней внутри стакана не образовывалось пузырей. Избыток воды удаляют фильтровальной бумагой со стенок стакана и пластины досуха.
Стакан с пластиной и водой взвешивают.
Б.3 Обработка результатов
Вместимость стакана V, см3, вычисляют по формуле

, (Б.1)
где m3 - масса стакана с пластиной и водой, г;
m4 - масса пустого стакана с пластиной, г;

- плотность воды при температуре (20 +/- 5) °C,

.
Проводят три параллельных определения, по результатам которых вычисляют среднее арифметическое значение, округляемое до сотой доли кубического сантиметра.
Расхождение между результатами наиболее отличающихся значений определений (крайних) не должно превышать предела повторяемости (сходимости), равного 0,03 см3 при доверительной вероятности 0,95.
УДК 662.242:006.354 | |
Ключевые слова: вещества взрывчатые промышленные, метод определения, электрическая емкость, плотность, водоустойчивость, эмульсия |