Главная // Актуальные документы // ГОСТ (Государственный стандарт)СПРАВКА
Источник публикации
М.: Стандартинформ, 2014
Примечание к документу
Документ
введен в действие с 01.09.2014.
Название документа
"ГОСТ 32109-2013 (ISO 8579-1:2002). Межгосударственный стандарт. Шум машин. Приемочные испытания зубчатых редукторов на шум"
(введен Приказом Росстандарта от 22.11.2013 N 1639-ст)
"ГОСТ 32109-2013 (ISO 8579-1:2002). Межгосударственный стандарт. Шум машин. Приемочные испытания зубчатых редукторов на шум"
(введен Приказом Росстандарта от 22.11.2013 N 1639-ст)
по техническому регулированию
и метрологии
от 22 ноября 2013 г. N 1639-ст
МЕЖГОСУДАРСТВЕННЫЙ СТАНДАРТ
ШУМ МАШИН
ПРИЕМОЧНЫЕ ИСПЫТАНИЯ ЗУБЧАТЫХ РЕДУКТОРОВ НА ШУМ
Noise of machines. Acceptance test code
for gear units for airborne sound
(ISO 8579-1:2002, MOD)
ГОСТ 32109-2013
(ISO 8579-1:2002)
Дата введения
1 сентября 2014 года
Цели, основные принципы и основной порядок проведения работ по межгосударственной стандартизации установлены
ГОСТ 1.0-92 "Межгосударственная система стандартизации. Основные положения" и
ГОСТ 1.2-2009 "Межгосударственная система стандартизации. Стандарты межгосударственные, правила и рекомендации по межгосударственной стандартизации. Правила разработки, принятия, применения, обновления и отмены"
1 ПОДГОТОВЛЕН Автономной некоммерческой организацией "Научно-исследовательский центр контроля и диагностики технических систем" (АНО "НИЦ КД")
2 ВНЕСЕН Федеральным агентством по техническому регулированию и метрологии (Росстандарт)
3 ПРИНЯТ Межгосударственным советом по стандартизации, метрологии и сертификации (протокол от 25 марта 2013 г. N 55-П)
За принятие проголосовали:
Краткое наименование страны по МК (ИСО 3166) 004-97 | Код страны по МК (ИСО 3166) 004-97 | Сокращенное наименование национального органа по стандартизации |
Армения | AM | Минэкономики Республики Армения |
Беларусь | BY | Госстандарт Республики Беларусь |
Казахстан | KZ | Госстандарт Республики Казахстан |
Киргизия | KG | Кыргызстандарт |
Молдова | MD | Молдова-Стандарт |
Россия | RU | Росстандарт |
Узбекистан | UZ | Узстандарт |
4
Приказом Федерального агентства по техническому регулированию и метрологии от 22 ноября 2013 г. N 1639-ст межгосударственный стандарт ГОСТ 32109-2013 (ISO 8579-1:2002) введен в качестве национального стандарта Российской Федерации с 1 сентября 2014 г.
5 Настоящий стандарт является модифицированным по отношению к международному стандарту ISO 8579-1:2002 Acceptance code for gear units - Part 1: Test code for airborne sound (Приемочные испытания редукторов. Часть 1. Испытания на шум) путем: замены нормативных ссылок; внесением дополнительных слов для более четкого понимания положений стандарта. Текст измененных положений выделен в стандарте одиночной вертикальной полужирной линией на полях слева (четные страницы) и справа (нечетные страницы) от соответствующего текста. Дополнительные слова, фразы и замененные нормативные ссылки выделены курсивом. Наименование стандарта изменено относительно наименования международного стандарта в связи с приведением его в соответствие с ГОСТ 1.5
(подраздел 3.6). Полный текст измененных и исключенных структурных элементов примененного международного стандарта и объяснения причин внесения технических отклонений приведены в дополнительном
приложении ДА.
Международный стандарт разработан техническим комитетом по стандартизации ISO/TC 60 "Редукторы" Международной организации по стандартизации (ISO).
Перевод с английского языка (en).
Официальные экземпляры международного стандарта, на основе которого подготовлен настоящий межгосударственный стандарт, и международные стандарты, на которые даны ссылки, имеются в Федеральном агентстве по техническому регулированию и метрологии (Росстандарт).
Степень соответствия - модифицированная (MOD).
Сведения о соответствии межгосударственных стандартов ссылочным международным стандартам приведены в
приложении ДА.
Стандарт подготовлен на основе применения ГОСТ Р 52895-2007 "Шум машин. Приемочные испытания зубчатых редукторов на шум"
6 ВВЕДЕН ВПЕРВЫЕ
Информация об изменениях к настоящему стандарту публикуется в ежегодном издаваемом информационном указателе "Национальные стандарты", а текст изменений и поправок - в ежемесячном информационном указателе "Национальные стандарты". В случае пересмотра (замены) или отмены настоящего стандарта соответствующее уведомление будет опубликовано в ежемесячном информационном указателе "Национальные стандарты". Соответствующая информация, уведомление и тексты размещаются также в информационной системе общего пользования - на официальном сайте Федерального агентства по техническому регулированию и метрологии в сети Интернет
Настоящий стандарт устанавливает методы определения шума зубчатых редукторов и мотор-редукторов, указанных в
разделе 4.
Шум характеризуют уровнями звука излучения в заданных контрольных точках и уровнем звуковой мощности. Определение этих величин необходимо:
a) изготовителям редукторов (мотор-редукторов) для заявления значений шумовых характеристик;
b) для сравнения шума редукторов (мотор-редукторов) при функционировании;
c) для контроля шума при изготовлении редукторов (мотор-редукторов).
Допускаются измерения шума техническим (степень точности 2) и ориентировочным (степень точности 3) методами.
В настоящем стандарте использованы нормативные ссылки на следующие стандарты:
| | ИС МЕГАНОРМ: примечание. ГОСТ 27243-2005 утратил силу на территории Российской Федерации с 01.12.2014 в связи с введением в действие ГОСТ Р ИСО 3747-2013 (Приказ Росстандарта от 05.12.2013 N 2178-ст). | |
ГОСТ 27243-2005 (ИСО 3747:2000) Шум машин. Определение уровней звуковой мощности по звуковому давлению. Метод сравнения на месте установки
ГОСТ 30457-97 (ИСО 9614-1-93) Акустика. Определение уровней звуковой мощности источников шума на основе интенсивности звука. Измерение в дискретных точках. Технический метод
ГОСТ 30691-2001 (ИСО 4871-96) Шум машин. Заявление и контроль значений шумовых характеристик
ГОСТ 30720-2001 (ИСО 11203-95) Шум машин. Определение уровней звукового давления излучения на рабочем месте и в других контрольных точках по уровню звуковой мощности
ГОСТ 31252-2004 (ИСО 3740:2000) Шум машин. Руководство по выбору метода определения уровней звуковой мощности
ГОСТ 31275-2002 (ИСО 3744-94) <1> Шум машин. Определение уровней звуковой мощности источников шума по звуковому давлению. Технический метод в существенно свободном звуковом поле над звукоотражающей плоскостью
--------------------------------
ГОСТ 31276-2002 (ИСО 3743-1-94, ИСО 3743-2-94) <2> Шум машин. Определение уровней звуковой мощности источников шума по звуковому давлению. Технические методы для малых переносных источников шума в реверберационных полях в помещениях с жесткими стенами и в специальных реверберационных камерах
--------------------------------
<2> На территории Российской Федерации действует
ГОСТ Р 51400-1999 (ИСО 3743-1-94, ИСО 3743-2-94).
ГОСТ 31277-2002 (ИСО 3746-95) <3> Шум машин. Определение уровней звуковой мощности источников шума по звуковому давлению. Ориентировочный метод с использованием измерительной поверхности над звукоотражающей плоскостью
--------------------------------
Примечание - При пользовании настоящим стандартом целесообразно проверить действие ссылочных стандартов в информационной системе общего пользования - на официальном сайте Федерального агентства по техническому регулированию и метрологии в сети Интернет или по ежегодному информационному указателю "Национальные стандарты", который опубликован по состоянию на 1 января текущего года, и по выпускам ежемесячного информационного указателя "Национальные стандарты" за текущий год. Если ссылочный стандарт заменен (изменен), то при пользовании настоящим стандартом следует руководствоваться заменяющим (измененным) стандартом. Если ссылочный стандарт отменен без замены, то положение, в котором дана ссылка на него, применяется в части, не затрагивающей эту ссылку.
4 Типы редукторов и акустические условия
4.1 Типы редукторов
Настоящий стандарт распространяется на редукторы и мотор-редукторы общемашиностроительного применения с цилиндрическими, коническими и червячными передачами:
a) редукторы, исключая привод или систему привода;
b) мотор-редукторы (двигатель объединен с редуктором);
c) редукторы с приводом (двигатель или устройство привода установлены на общее основание с другим требуемым вспомогательным оборудованием).
Потребитель и изготовитель должны иметь договоренность о том, какой шум подлежит измерению: устройства в целом или только редуктора.
Устройства защиты: ограждения карданного вала или муфты, звукоизолирующие кожухи (если предусмотрены), - должны быть установлены при испытаниях на шум.
4.2 Акустические условия
Настоящий стандарт допускает проводить испытания на шум редуктора (мотор-редуктора) каждого типа при акустических условиях, обеспечиваемых:
- в специальных установках, предназначенных для акустических измерений
(7.2.2);
- на испытательном стенде в цехе
(7.2.3);
5 Определение уровня звуковой мощности
5.1 Общие положения
Если не установлено иное, то определяют корректированный по частотной характеристике A шумомера (далее - корректированный по A) уровень звуковой мощности путем испытаний на испытательном стенде изготовителя и выбранным им методом.
5.2 Методы
При выборе метода определения уровня звуковой мощности принимают во внимание его степень точности и неопределенность измерений, указываемые в соответствующем стандарте.
Пример - Стандартное отклонение воспроизводимости s, характеризующее неопределенность измерений техническим методом, указано в таблице 1.
Таблица 1
Неопределенность определения уровней звуковой мощности
Среднегеометрическая частота, Гц | Стандартное отклонение воспроизводимости s, дБ (дБA) |
октавной полосы | третьоктавной полосы | Технический метод (степень точности 2) | Ориентировочный метод (степень точности 3) |
От 63 до 125 | От 50 до 160 | 3 | - |
250 | От 200 до 315 | 2 | - |
От 500 до 4000 | От 400 до 5000 | 1,5 | - |
- | 6300 | 2,5 | - |
Корректированный по A уровень звуковой мощности <1> | - | | 4 |
<1> В диапазоне частот, соответствующем октавным полосам от 63 до 4000 Гц или третьоктавным полосам от 50 до 6300 Гц. <2> Действительное значение корректированного по A уровня звуковой мощности с вероятностью 95% лежит в интервале +/- 3 дБA от измеренного значения. Примечание - Указанная оценка для корректированного по A уровня звуковой мощности недействительна, если уровень звуковой мощности в диапазоне частот вне третьоктавных полос от 400 до 5000 Гц выше уровня звуковой мощности в этом диапазоне. В этом случае используют оценки только в полосах частот. |
Предпочтительны технические методы определения уровня звуковой мощности по
ГОСТ 30457,
ГОСТ 31276 (метод сравнения в гулком помещении),
ГОСТ 31275 или
[1].
Если технические методы неприменимы, то измерения проводят ориентировочными методами по
ГОСТ 30457,
ГОСТ 31277 или
[1].
Если ни один из указанных методов не применим, то может быть применен метод по
[2].
Выбирают стандарт на метод определения уровня звуковой мощности редукторов (мотор-редукторов) в соответствии с
таблицами 2 и
3.
Таблица 2 относится к измерению шума редукторов и редукторов с приводом. В последнем случае измерение шума непосредственно редукторов является более трудоемким.
Таблица 3 соответствует относительно более простым измерениям шума мотор-редукторов как компактной конструкции, когда не требуется определять отдельно шум редуктора и двигателя. Под термином "мотор-редуктор" также подразумевают иные компактные механизмы, шум составных частей которых не может быть определен по отдельности. К таким механизмам могут быть отнесены редуктор, сочлененный с генератором, и гидромотор.
Примечание - Указанные в
таблицах 2 и
3 стандарты
применительно к настоящему стандарту имеют следующие особенности
(полная характеристика дана в ГОСТ 31252):
| | ИС МЕГАНОРМ: примечание. ГОСТ 27243-2005 утратил силу на территории Российской Федерации с 01.12.2014 в связи с введением в действие ГОСТ Р ИСО 3747-2013 (Приказ Росстандарта от 05.12.2013 N 2178-ст). | |
ГОСТ 27243 устанавливает технический или ориентировочный метод определения (с использованием образцового источника шума) уровней звуковой мощности в октавных полосах частот и корректированного по A уровня звуковой мощности преимущественно стационарных машин непосредственно на месте их установки в производственном помещении с относительно низким уровнем фонового шума. Измерения проводят в октавных полосах частот, по результатам которых рассчитывают корректированный по A уровень звуковой мощности. |
ГОСТ 31277 устанавливает метод измерений с использованием образцового источника шума в помещении с акустически жесткими стенами при низком уровне фонового шума. Измерения проводят в октавных полосах частот, по результатам которых рассчитывают корректированный по A уровень звуковой мощности.
ГОСТ 31275 устанавливает метод измерений в существенно свободном звуковом поле над звукоотражающей плоскостью при низком уровне фонового шума. Корректированный по A уровень звуковой мощности рассчитывают по измеренным уровням звука или октавным или третьоктавным уровням звукового давления.
ГОСТ 31276 менее требователен к звуковому полю, чем ГОСТ 31275. Корректированный по A уровень звуковой мощности рассчитывают по измеренным уровням звука.
ГОСТ 30457 и
[1] могут быть применены для измерений в любом испытательном пространстве, в том числе при наличии значительной реверберации и посторонних источников шума. Корректированный по
A уровень звуковой мощности или уровни звуковой мощности в октавных полосах частот рассчитывают по результатам измерений уровней нормальной составляющей интенсивности звука. По
ГОСТ 30457 измерения выполняют в дискретных точках, число которых значительно больше, чем в соответствии с методами, основанными на измерениях уровней звукового давления. По
[1] измерения проводят сканированием по измерительной поверхности (общей или по частям в зависимости от конфигурации испытуемой машины), что требует меньшего времени, чем при измерениях по дискретным точкам.
Метод по
[2] основан на измерениях виброскорости
в точках на поверхности корпуса редуктора или мотор-редуктора. Он обеспечивает оценку корректированного по
A уровня звуковой мощности или уровней звуковой мощности в октавных (третьоктавных) полосах частот.
Таблица 2
Выбор стандарта для определения уровня звуковой мощности
редуктора и редуктора с приводом
Испытательное пространство | Метод измерений | Стандарт для определения уровня звуковой мощности |
Входная мощность редуктора или мощность привода, кВт |
От 0,1 до 10 | Свыше 10 до 300 | Свыше 300 |
Специальная установка для акустических измерений <1>, <2> | Технический (степень точности 2) | | | |
Испытательный стенд в цехе <1> | Технический | | Испытания не проводят |
Ориентировочный (степень точности 3) | | |
| | ИС МЕГАНОРМ: примечание. ГОСТ 27243-2005 утратил силу на территории Российской Федерации с 01.12.2014 в связи с введением в действие ГОСТ Р ИСО 3747-2013 (Приказ Росстандарта от 05.12.2013 N 2178-ст). | |
|
На месте эксплуатации | Технический | ГОСТ 27243 | Испытания не проводят |
Ориентировочный | ГОСТ 27243 | ГОСТ 27243 |
<1> Не всегда возможно провести испытания при входной мощности, соответствующей условиям эксплуатации. <2> Слишком большие размеры редуктора могут не позволить провести измерения в полном соответствии со стандартом. <3> Обычно требуется заглушенная акустическая камера со звукоотражающим полом. <4> Обычно требуется реверберационное помещение. <5> Измерения могут быть невозможны из-за непостоянного фонового шума. <6> При слишком близком расположении привода к редуктору измерения шума редуктора могут оказаться невыполнимыми из-за невозможности построения необходимой измерительной поверхности. <7> Затраты времени для проведения измерений могут оказаться слишком велики. Примечания 1 Полужирным шрифтом выделены предпочтительные стандарты, применение которых возможно при любых обстоятельствах. 2 Для каждой ситуации выбор стандарта проводят в порядке перечисления. |
Таблица 3
Выбор стандарта для определения уровня звуковой мощности
мотор-редуктора
Испытательное пространство | Метод измерений | Стандарт для определения уровня звуковой мощности |
Номинальная мощность мотор-редуктора, кВт |
От 0,1 до 300 | Свыше 300 |
Специальная установка для акустических измерений <1>, <2> | Технический (степень точности 2) | | |
Испытательный стенд в цехе <1> | Технический | | |
Ориентировочный (степень точности 3) | | |
На месте эксплуатации <2> | Технический | ГОСТ 27243 | ГОСТ 27243 |
Ориентировочный | ГОСТ 27243 | ГОСТ 27243 |
<1> Не всегда возможно провести испытания при входной мощности, необходимой по условиям эксплуатации. <2> Слишком большие размеры редуктора могут не позволить провести измерения в полном соответствии со стандартом. <3> Обычно требуется заглушенная акустическая камера со звукоотражающим полом. <4> Обычно требуется реверберационное помещение. <5> Фоновый шум может быть слишком велик, что не позволит правильно выполнить измерения. Примечания 1 Полужирным шрифтом указаны предпочтительные стандарты, применение которых возможно при любых обстоятельствах. 2 Для каждой ситуации выбор стандарта проводят в порядке перечисления. |
5.3 Огибающий параллелепипед, измерительная поверхность, положения микрофонов и акустического зонда
5.3.1 Общие положения
5.3.2 Огибающий параллелепипед
Огибающий параллелепипед в общем случае представляет собой воображаемую поверхность простой формы минимального объема (параллелепипед), охватывающую зубчатый механизм, исключая вспомогательные элементы трансмиссии и привода. Огибающий параллелепипед для редуктора с приводом должен охватывать все устройство. Огибающий параллелепипед оканчивается на звукоотражающей плоскости (на твердом полу или на поверхности воды). Примеры огибающего параллелепипеда приведены на
рисунках 1 -
3.
Примечание - Небольшие части испытуемого объекта, шум которых незначителен, в огибающий параллелепипед не включают.
5.3.3 Измерительная поверхность
Измерительная поверхность обычно охватывает огибающий параллелепипед на заданном расстоянии, называемом измерительным расстоянием d, которое зависит от примененного метода измерений и должно быть:
- по ГОСТ 31275 предпочтительно 1 м;
Типичные измерительные поверхности показаны на
рисунках 1 -
3. Измерительная поверхность опирается на звукоотражающую плоскость. Измерительная поверхность оканчивается на звукоотражающей плоскости, которая лежит на расстоянии, меньшем или равном измерительному расстоянию
d.
Другие отражающие поверхности должны быть расположены на расстоянии не менее 2d (см. рисунки 4 - 6).
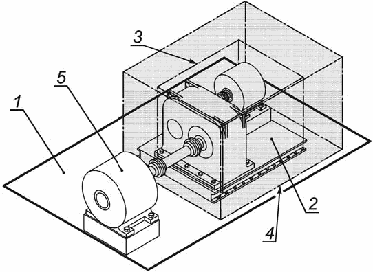
1 - пол; 2 - редуктор; 3 - огибающий параллелепипед;
4 - измерительная поверхность; 5 - двигатель;
6 - нагрузочное устройство
Рисунок 1 - Огибающий параллелепипед и измерительная
поверхность для редуктора
1 - пол; 2 - редуктор; 3 - огибающий параллелепипед;
4 - измерительная поверхность; 5 - нагрузочное устройство
Рисунок 2 - Огибающий параллелепипед и измерительная
поверхность для редуктора с приводом
1 - пол; 2 - редуктор; 3 - огибающий параллелепипед;
4 - измерительная поверхность
Рисунок 3 - Огибающий параллелепипед и измерительная
поверхность для мотор-редуктора
5.3.4 Положения микрофонов и акустического зонда
Положения микрофонов и акустического зонда должны соответствовать требованиям стандарта, примененного для измерений.
Типичные положения микрофонов для измерения звукового давления показаны на
рисунках 4 -
11. Положения акустического зонда и расстояние
d при измерениях по
ГОСТ 30457 и
[1] могут отличаться
от указанных на рисунках 4 - 11.
1 - решетчатый настил
Рисунок 4 - Примеры установки редуктора на полу и у стены
1 - огибающий параллелепипед; 2 - измерительная поверхность
Следует тщательно выбирать положения микрофонов и акустического зонда относительно редуктора, чтобы они соответствовали его конструкции, и относительно стен или звукоотражающих поверхностей. В противном случае найденная звуковая мощность может отличаться от действительной.
Примеры возможного положения микрофонов для редукторов и мотор-редукторов различных типов и размеров приведены в
приложении A.
1 - решетчатый настил
Рисунок 6 - Примеры установки редуктора на полу
и вблизи стены
1 - огибающий параллелепипед; 2 - измерительная поверхность
5.4 Неопределенность измерения
Неопределенность измерения соответствует установленной примененным стандартом.
Примечание - Результаты измерений могут быть искажены влиянием условий измерений (вибрацией, электрическим и магнитным полями, ветром или газовым потоком, ненормальной температурой и т.д.).
Рисунок 8 - Пример редуктора, установленного в колодце
с акустически жесткими звукоотражающими стенками
1 - огибающий параллелепипед; 2 - измерительная поверхность
Рисунок 10 - Пример редуктора, установленного на большом
расстоянии от звукоотражающей поверхности
1 - огибающий параллелепипед; 2 - измерительная поверхность
6 Определение уровня звука излучения
6.1 Основной стандарт
Уровень звука излучения на рабочем месте (см.
6.2) определяют по
ГОСТ 30720 (метод с рассчитываемым значением величины
Q2,
определяющей связь уровня звука излучения с корректированным по A уровнем звуковой мощности), который позволяет рассчитать средний на измерительной поверхности (см.
5.3.3) уровень звука излучения по
известному корректированному по
A уровню звуковой мощности.
Если значение Q2 не может быть определено, то метод измерения уровня звука излучения выбирают по ГОСТ 31171.
Если рабочее место у редуктора отсутствует, то в качестве условного рабочего места принимают точку на расстоянии 1 м от огибающего параллелепипеда по
5.3.2.
7.1 Степень точности измерений
Степень точности измерений зависит от условий установки и монтажа испытуемого объекта. Для обеспечения одинаковой степени точности требования к условиям измерений интенсивности звука менее жесткие, чем к условиям измерений уровней звукового давления, так как метод звуковой интенсиметрии позволяет значительно снизить влияние посторонних источников шума.
7.2 Акустические условия
7.2.1 Общие положения
Установка и монтаж редуктора зависят от акустических условий.
7.2.2 Испытательная установка для акустических измерений
Испытательная установка, предназначенная для акустических измерений, должна соответствовать следующим минимальным требованиям:
- иметь малошумные привод и тормозное устройство;
- не допускать образования стоячих звуковых волн;
- виброизолировать редуктор от опорной конструкции для предотвращения распространения звуковой вибрации;
- не иметь механических резонансов;
- в случае определения только шума редуктора иметь акустический экран или кожух для трансмиссии, тормозного устройства и приводного двигателя.
Установка, предназначенная для измерений техническим методом, может быть аттестована.
7.2.3 Испытательный стенд в цехе
Шум нагрузочного устройства, присоединяемого к редуктору, и шум вспомогательного оборудования не должны влиять на результаты измерений. Предпочтительно использовать малошумное нагрузочное устройство.
Должно быть предусмотрено:
- капотирование присоединяемых механизмов и устройств;
- сведение до минимума числа других работающих источников шума;
- экранирование на время испытаний приводного двигателя, трансмиссии и нагрузочного устройства;
- покрытие на время испытаний звукопоглощающим материалом звукоотражающих поверхностей.
7.2.4 На месте эксплуатации
Если возможно, то принимают следующие меры для улучшения акустических условий:
- сводят к минимуму число других работающих источников шума;
- на время испытаний экранируют приводной двигатель, трансмиссию и нагрузочное устройство;
- на время испытаний покрывают звукоизолирующим материалом звукоотражающие поверхности.
8.1 Общие положения
Если не установлено иное, то потребитель и изготовитель/продавец согласовывают условия испытаний по
8.2 -
8.4.
Если обычный рабочий режим не может быть установлен при испытаниях из-за ограничений по мощности или по другим причинам, то изготовитель и потребитель согласовывают условия испытаний с пониженной нагрузкой.
Соблюдают следующие условия испытаний:
- редуктор испытывают при вращении в рабочем направлении, а если он реверсивный, то в обоих направлениях;
- измерения проводят при работающей масляной системе и вязкости масла, как при эксплуатации;
- измерения проводят при рабочей температуре редуктора, соответствующей условиям эксплуатации.
8.3 Частота вращения
Редуктор испытывают при эксплуатационной частоте вращения.
Редуктор, предназначенный для работы при различных частотах вращения, испытывают в интервалах диапазона частот вращения, если договоренностью изготовителя и потребителя не установлено иное. В общем случае рекомендуется проводить испытания при частоте вращения, при которой шум максимален.
Измерения проводят при номинальной или обусловленной соглашением нагрузке. Нагрузка может быть равна:
- номинальной;
- установленной по соглашению сторон (если она не совпадает с номинальной);
- номинальной при максимальном коэффициенте полезного действия.
Примечание - Если имеется договоренность о возможности испытаний на холостом ходу, то их проводят, если шум при нагрузке труднопереносим.
9 Регистрируемая информация
Регистрируют информацию, соответствующую требованиям примененного при испытаниях стандарта.
В протокол испытаний включают данные, необходимые изготовителю для заявления значений шумовых характеристик или потребителю для подтверждения заявленных значений.
Как минимум, в протокол испытаний включают следующие данные:
a) сведения, идентифицирующие редуктор,
b) технические характеристики редуктора;
c) ссылку на настоящий стандарт и стандарт, выбранный из числа допустимых настоящим стандартом. Если стандарт по испытаниям на шум редуктора рекомендует применить технический метод измерений, но применен ориентировочный метод, то приводят обоснование невозможности применить технический метод;
d) запись о том, что требования настоящего и примененного стандартов соблюдены полностью,
кроме случая, когда согласно приложению C (C.3.1.4) измерения выполняют в единственной точке;
e) описание условий и режима работы, включая эскиз с указанием размеров испытательного помещения, положения редуктора, положения точек измерений, измерительные расстояния и результаты измерений по точкам (см.
раздел 7);
f) перечень средств измерений и сведения о поверке;
g) уровень звука излучения или корректированный по A уровень звуковой мощности и, если требуется, уровни звуковой мощности в октавных полосах частот.
11 Заявление и подтверждение значений шумовых характеристик
Заявление значений шумовых характеристик является обязанностью изготовителя. Заявление оформляют по
ГОСТ 30691.
Рекомендуется заявлять корректированный по
A уровень звуковой мощности и уровень звука излучения на рабочем месте (см.
6.2). В заявлении необходимо указать, что значения шумовых характеристик получены в соответствии с настоящим стандартом и примененным стандартом по определению уровня звуковой мощности. Если требования стандартов не соблюдены, то в заявлении указывают отклонения от настоящего или примененного стандарта, или от обоих.
При подтверждении заявленных значений испытания проводят при тех же условиях, что при определении значений шумовых характеристик. Для подтверждения заявленных значений применяют метод контроля по единичной машине по
ГОСТ 30691 (подраздел 6.2).
Дополнительно в заявлении могут быть указаны уровни звуковой мощности в октавных полосах частот и значения других измеренных величин, характеризующих шум. При этом во избежание недоразумений поясняют, что эти величины являются дополнительными и не относятся к заявленным.
(рекомендуемое)
ПРИМЕРЫ РАЗМЕЩЕНИЯ МИКРОФОНОВ НА ИЗМЕРИТЕЛЬНОЙ ПОВЕРХНОСТИ
ДЛЯ РЕДУКТОРОВ РАЗЛИЧНЫХ ТИПОВ И РАЗМЕРОВ
1 - пол; 2 - редуктор; 3 - двигатель;
4 - нагрузочное устройство

- точки измерений
Рисунок A.1 - Одноступенчатый цилиндрический редуктор
1 - пол; 2 - редуктор; 3 - двигатель;
4 - нагрузочное устройство

- точки измерений
Рисунок A.2 - Трехступенчатый коническо-цилиндрический
редуктор для привода дробилки
1 - пол; 2 - редуктор; 3 - двигатель

- точки измерений
Рисунок A.3 - Редуктор цилиндрический по развернутой схеме
1 - пол; 2 - мотор-редуктор

- точки измерений
Рисунок A.4 - Цилиндрочервячный мотор-редуктор
1 - пол; 2 - первый редуктор; 3 - второй редуктор;
4 - двигатель

- точки измерений
Рисунок A.5 - Быстроходный испытательный стенд замкнутого
контура для испытаний цилиндрических редукторов
1 - двигатель; 2 - муфта; 3 - испытуемый редуктор
(смеситель для резиновых смесей)

- точки измерений (вид сверху)
Рисунок A.6 - Удобный цеховой стенд для измерений шума
1 - двигатель; 2 - смеситель; 3 - редуктор;
4 - система смазки

- точки измерений (показаны положения акустического зонда
для каждой части при виде сверху)
Рисунок A.7 - Типовая испытательная установка на месте
эксплуатации для определения уровней шума составных частей
Размеры в метрах
1 - двигатель; 2 - редуктор; 3 - нагрузочное устройство;
4 - устройство контроля крутящего момента;
5 - звукопоглощающая стена

- точки измерений
Рисунок A.8 - Схема специальной испытательной установки
в заглушенной камере
Размеры в метрах
1 - испытуемый редуктор; 2 - зубчатая муфта;
3 - отбалансированный карданный вал; 4 - повышающий
редуктор; 5 - приводной двигатель; 6 - электронагружатель

- точки измерений (показаны в поперечном сечении
при малошумном повышающем редукторе)
Рисунок A.9 - Схема испытательного стенда с повышающим
редуктором (мультипликатором) и электронагружателем
(рекомендуемое)
ТИПИЧНЫЕ УРОВНИ ШУМА РЕДУКТОРОВ РАЗЛИЧНЫХ ТИПОВ И РАЗМЕРОВ
(КОРРЕКТИРОВАННЫЙ ПО A УРОВЕНЬ ЗВУКОВОЙ МОЩНОСТИ И УРОВЕНЬ
ЗВУКА ИЗЛУЧЕНИЯ)
B.1 Назначение
В настоящем приложении указаны типичные значения уровней шума закрытых редукторов.
Примечание - Уровень звуковой мощности и уровень звука излучения представляют собой различные величины и не подлежат сравнению.
B.2 Типичные уровни звука излучения
B.2.1 Общие положения
Источники шума редукторов с приводами значительны. Опыт измерений шума редукторов общемашиностроительного применения в условиях эксплуатации и при испытаниях показал, что уровни звука излучения зависят от частоты вращения и испытательной нагрузки. Уровни звука излучения могут быть получены по результатам испытаний одинаковых или сравнимых устройств, экстраполяцией по результатам измерений шума подобных устройств или обоими методами. Уровни звука излучения обычно не включают в себя шум приводимого в действие посредством редуктора оборудования или шум привода. Если редуктор установлен на месте эксплуатации, то прогнозирование или оценка его уровня звука излучения затруднены, так как редуктор является только частью акустической системы, которая, кроме редуктора, включает в себя приводной двигатель, приводимое в действие оборудование, монтажную арматуру и окружающие объекты в испытательном пространстве.
B.2.2 Типичные максимальные значения
Типичные максимальные значения уровней звука излучения представительных типов редукторов показаны на
рисунках B.1 -
B.7 (приведенные данные следует рассматривать как справочные). Линии максимальных уровней на
рисунках B.1 -
B.3 построены по результатам измерений, указанных на рисунках точками. Графики для мотор-редукторов на
рисунке B.2 получены с учетом уровней шума электродвигателя.
a - типичный график максимальных значений; b - график
средних значений
Рисунок B.1 - Типичные графики максимальных и средних
уровней звука излучения одно-, двух- и трехступенчатых
редукторов без охлаждающего вентилятора в зависимости
от максимальной скорости по делительной окружности
на холостом ходу или при малой нагрузке
a - типичный максимум: мотор-редуктор (с закрытым
охлаждаемым вентилятором двигателем, 1800 об/мин);
b - типичный максимум: мотор-редуктор (с каплезащищенным
двигателем, 1800 об/мин); c - типичный максимум:
цилиндрический понижающий и повышающий редуктор
по развернутой схеме (без двигателя); d - среднее
значение: цилиндрический понижающий и повышающий
редуктор по развернутой схеме (без двигателя)
Рисунок B.2 - Типичные графики максимальных и средних
уровней звука излучения мотор-редукторов, понижающих
и повышающих одно-, двух- и трехступенчатых редукторов
без вентилятора на холостом ходу или при малой нагрузке
в зависимости от номинальной мощности
a - типичный график максимальных значений; b - график
средних значений
Рисунок B.3 - Уровень звука излучения быстроходных
косозубых и сдвоенных косозубых одноступенчатых
редукторов на расстоянии 0,9 м от корпуса на холостом
ходу или при малой нагрузке в зависимости
от максимальной скорости по делительной окружности
B.2.3 Влияние частоты вращения
Типичная зависимость уровней звука излучения от частоты вращения (в оборотах в минуту) показана на
рисунке B.4.
Приращение уровня звука излучения рассчитывают по формуле

.
a - типичный график максимальных значений; b - график
средних значений
Рисунок B.4 - Приращение уровня звука излучения

косозубого редуктора относительно уровня звука излучения
при частоте вращения входного вала 1750 об/мин
B.2.4 Влияние нагрузки
Одним из параметров, наиболее сильно влияющих на уровень шума редуктора, является нагрузка. Во многих литературных источниках указано на возрастание уровня шума при возрастании нагрузки (см.
рисунок B.5). Некоторые данные показывают, что уровень шума цилиндрического редуктора возрастает более чем на 20 дБ
A при работе под нагрузкой по сравнению с холостым ходом. Однако экспериментальные данные, собранные по всем редукторам общемашиностроительного применения, показывают, что не всегда шум возрастает с ростом нагрузки. В некоторых случаях наблюдается обратная картина, если профиль зубьев деформируется под действием нагрузки и рабочей температуры. Но до достижения некоторых предельных значений нагрузки и температуры зубчатое зацепление может оставаться шумным. Среднестатистическое возрастание уровня шума зубчатого механизма при полной нагрузке по сравнению с холостым ходом приблизительно равно 4 дБ
A (см.
рисунок B.6 для косозубых, шевронных, спиральнозубых конических и червячных зубчатых передач).
Наблюдалось максимальное возрастание уровня шума при полной нагрузке по сравнению с холостым ходом на 12 дБA. Данные показывают, что приблизительно у 2/3 зубчатых механизмов шум возрастает с ростом нагрузки, приблизительно у 1/5 шум не возрастает с нагрузкой, а у остальной части шум снижается с ростом нагрузки.
У большинства закрытых редукторов среднее возрастание уровня шума составляет 4 дБA. Для подобных редукторов с приводом этой величиной можно руководствоваться при оценке ожидаемой разности уровней шума при испытаниях на цеховом стенде и при работе под нагрузкой в эксплуатации.
По опубликованным литературным данным, приращение уровня звука излучения

рассчитывают по формуле

.
P - передаваемая мощность, кВт; Pat - номинальная
мощность, кВт
Рисунок B.5 - Приращение уровня звука излучения

относительно уровня на холостом ходу в зависимости от P/Pat
По данным изготовителя, для косозубых, шевронных, конических передач с круговым зубом и червячных зубчатых передач приращение уровня звука излучения

рассчитывают по формуле

.
P - передаваемая мощность, кВт; PR - номинальная
мощность, кВт
Рисунок B.6 - Приращение уровня звука излучения

относительно уровня на холостом ходу в зависимости от P/PR
a - типичный график максимальных значений; b - график
средних значений
Рисунок B.7 - Уровень звука излучения одноступенчатого
червячного редуктора с охлаждающим вентилятором при частоте
вращения входного вала 1750 об/мин на расстоянии 1,5 м
от корпуса на холостом ходу или при малой нагрузке,
в зависимости от межцентрового расстояния
B.3 Типичные уровни звуковой мощности
Корректированные по
A уровни звуковой мощности, определенные при приемочных испытаниях редукторов различных типов в зависимости от нагрузки, показаны на
рисунках B.8 -
B.12.
Логарифмическая линия регрессии LWA = 77,1 + 12,1log P (80%-ная линия) Дисперсия r2 = 0,83 Доверительная вероятность - 90% | |
a - 80%-ная линия. Эта параллельная линии регрессии линия показывает, что 80% статистических данных по шуму редуктора лежат ниже нее
Тип: цилиндрические зубчатые передачи с внешним зацеплением со следующими преобладающими характеристиками (более чем у 80%) |
Корпус | Литой |
Опоры | Подшипники качения |
Смазка | Разбрызгиванием |
Монтаж | На жесткой стальной плите или бетонном основании |
Мощность | От 0,7 до 2400 кВт/ |
Частота вращения входного вала (максимальная) | От 1000 до 5000 об/мин (преимущественно 1500 об/мин) |
Скорость вращения по делительной окружности | От 1 до 20 м/с |
Крутящий момент | От 100 до 200 000 Н·м |
Число ступеней | От 1 до 3 |
Сведения о зубчатой передаче | Косозубое зубчатое колесо (угол наклона зуба  ) с наибольшей скоростью вращения закалено, финишное шлифование до степеней точности 5 - 8 по [4] |
Рисунок B.8 - Корректированные по
A уровни звуковой мощности
цилиндрических редукторов общемашиностроительного применения
| Логарифмическая линия регрессии LWA = 85,6 + 6,4log P (80%-ная линия) Дисперсия r2 = 0,48 Доверительная вероятность - 90% |
a - 80%-ная линия
Тип: цилиндрические зубчатые передачи с внешним зацеплением со следующими преобладающими характеристиками (более чем у 80%) |
Корпус | Литой |
Опоры | Подшипники скольжения |
Смазка | Система смазки с впрыском под давлением |
Монтаж | На жесткой стальной плите или бетонном основании |
Мощность | От 380 до 42000 кВт |
Частота вращения входного вала (максимальная) | От 1000 до 12700 об/мин |
Скорость вращения по делительной окружности | Более 35 м/с |
Крутящий момент | От 3600 до 460 200 Н·м |
Число ступеней | От 1 до 2 |
Сведения о зубчатой передаче | Большинство косозубых зубчатых колес  с двумя венцами закалено, финишное шлифование до степеней точности от 3 до 5 по [4] |
Рисунок B.9 - Корректированные по A уровни звуковой
мощности цилиндрических турбинных редукторов
Логарифмическая линия регрессии LWA = 77,1 + 15,9log P (80%-ная линия) Дисперсия r2 = 0,88 Доверительная вероятность - 90% | |
a - 80%-ная линия
Тип: конические и коническо-цилиндрические зубчатые передачи со следующими преобладающими характеристиками (более чем у 80%) |
Корпус | Литой и сварной |
Опоры | Роликовые подшипники, шестерня на конических подшипниках |
Смазка | Разбрызгиванием |
Монтаж | На жесткой стальной плите или бетонном основании |
Мощность | От 2 до 1800 кВт |
Частота вращения входного вала (максимальная) | От 970 до 3000 об/мин |
Скорость вращения по делительной окружности | От 2 до 24 м/с |
Крутящий момент | От 3600 до 190 000 Н·м |
Число ступеней | От 1 до 3 |
Сведения о зубчатой передаче | Коническая передача (высшей ступени) с поверхностным упрочнением и шлифованием; спирально-зубая коническая передача без осевого смещения |
Рисунок B.10 - Корректированные по A уровни звуковой
мощности конических и коническо-цилиндрических редукторов
| Логарифмическая линия регрессии LWA = 87,7 + 4,4log P (80%-ная линия) Дисперсия r2 = 0,78 Доверительная вероятность - 90% |
a - 80%-ная линия
Тип: планетарные редукторы со следующими преобладающими характеристиками (более чем у 80%) |
Корпус | Литой |
Опоры | Для тихоходных - подшипники качения; для быстроходных - подшипники скольжения |
Смазка | Вспрыскиванием |
Монтаж | На жесткой стальной плите или бетонном основании |
Мощность | От 6 до 12500 кВт |
Частота вращения входного вала (максимальная) | От 350 до 16500 об/мин |
Крутящий момент | От 1000 до 330 000 Н·м |
Число ступеней | От 1 до 2 |
Сведения о зубчатых передачах: | |
- тихоходные | Прямозубые Косозубые  |
- быстроходные | Зубчатые колеса внутреннего зацепления термообработаны, центральное зубчатое колесо и сателлиты закалены |
| |
Рисунок B.11 - Корректированные по A уровни звуковой
мощности планетарных редукторов
Логарифмическая линия регрессии LWA = 65,0 + 15,9 log P (80%-ная линия) Дисперсия r2 = 0,95 Доверительная вероятность - 90% | |
a - 80%-ная линия
Тип: червячные редукторы со следующими преобладающими характеристиками (более чем у 80%) |
Корпус | Ребристый (теплорассеивающий) |
Опоры | Подшипники качения |
Смазка | Разбрызгиванием |
Монтаж | На жесткой стальной плите |
Мощность | От 0,7 до 56 кВт |
Частота вращения входного вала (максимальная) | От 1360 до 3800 об/мин |
Крутящий момент | От 67 до 330 000 Н·м |
Число ступеней | 1, простой червячный редуктор |
Число заходов червяка | От 1 до 6 От 1 до 3 |
Сведения о зубчатой передаче | Червяк поверхностно упрочнен, червячное колесо - бронзовое |
Рисунок B.12 - Корректированные по
A уровни звуковой
мощности червячных редукторов
B.4 Типичные уровни звука излучения
Типичные уровни звука излучения одноступенчатого редуктора с параллельными валами с зубьями четвертой или меньшей степени точности в 1 м от корпуса в зависимости от передаваемой мощности показаны на
рисунке B.13 [3].
Рисунок B.13 - Типичные уровни звука излучения
B.5 Типичные уровни звуковой мощности, определенные по интенсивности звука
Корректированные по
A уровни звуковой мощности редукторов (мощностью до 5 МВт), определенные по интенсивности звука, показаны на
рисунке B.14. Применение метода звуковой интенсиметрии позволяет уменьшить влияние посторонних источников шума и реверберации.
Рисунок B.14 - Удельный корректированный по
A уровень
звуковой мощности
(справочное)
СВЕДЕНИЯ О МЕТОДАХ ОПРЕДЕЛЕНИЯ УРОВНЕЙ ЗВУКОВОЙ МОЩНОСТИ
НА ОСНОВЕ ГОСТ 31275 И ГОСТ 31277
Настоящее приложение содержит пояснения по применению ГОСТ 31275 и ГОСТ 31277 при измерениях по настоящему стандарту. |
Из-за инструментальных ошибок, помех при измерениях неопределенность определения корректированного по A уровня звуковой мощности по настоящему стандарту равна +/- 2 дБA.
Примечание - Если распределение результатов измерений нормальное и стандартное отклонение s равно 1 дБA, то с вероятностью 70% неопределенность может быть менее +/- 1 дБA и с вероятностью 95% - менее +/- 2 дБA.
C.2 Аппаратура и условия измерений
Принято, что аппаратура соответствует ГОСТ 31275 или ГОСТ 31277, условия измерений соответствуют настоящему стандарту.
C.3 Измерительная поверхность, измерительное расстояние, положение и число точек измерений
C.3.1 Положение и число точек измерений
C.3.1.1 Общие положения
C.3.1.2 Полное число точек
Точки измерений выбирают в соответствии с размерами огибающего параллелепипеда; их расположение показано на
рисунках 5,
7,
9 и
11. Число точек измерений увеличивают, если расстояние по горизонтали между соседними точками превышает 2 м или если разность в децибелах между наибольшим и наименьшим уровнями звукового давления превышает число точек измерений. Точки измерений равномерно располагают в пространстве так, чтобы микрофон находился вне воздушного потока от выпускных отверстий или вращающихся частей.
C.3.1.3 Уменьшенное число точек измерений
Основные точки измерений показаны на рисунках 5, 7, 9 и 11, но число точек может быть уменьшено, если установлено при испытаниях редуктора данного типа, что звуковое поле существенно равномерное, так что уровень шума (корректированный по A уровень звуковой мощности), определенный по уменьшенному числу точек измерений, не отличается более чем на 1 дБ A от уровня, определенного по полному числу точек. |
C.3.1.4 Измерения в единственной точке в приемочных испытаниях
В целях сокращения затрат испытание серийного образца редуктора может быть проведено измерением уровня звукового давления в единственной точке. Это возможно, если:
- испытательное пространство и тип испытуемого объекта те же, что при испытаниях с измерениями по полному числу точек по
C.3.1.2;
- точка измерений уровня звукового давления выбрана в той части измерительной поверхности, где отклонение уровня звукового давления от его среднего значения по измерительной поверхности минимально.
Метод измерений в единственной точке может быть применен только по соглашению между изготовителем и потребителем и на основании предварительных исследований, предотвращающих грубую ошибку. При применении метода в протоколе испытаний и заявлении делают запись об этом и указывают, что условия испытаний соответствуют ГОСТ 31275 (ГОСТ 31277).
C.4 Испытательное помещение
Шум редуктора может быть измерен, если влияние реверберации в помещении на шум вблизи точек измерений не более 3 дБ (дБ
A). Это требование удовлетворено, если показатель акустических условий
K2A <= 3 дБ
A (см.
C.6.2). Указанное значение является промежуточным для значений по
ГОСТ 31275 и
ГОСТ 31277.
Если расстояние от измерительной поверхности до ближайшей плоской поверхности, включая стены и другие машины, по меньшей мере вдвое больше измерительного расстояния, то испытательное помещение можно считать пригодным при условии, что внутренний объем помещения численно приблизительно равен ста или более площадям измерительной поверхности в квадратных метрах. Если объем помещения не удовлетворяет этому требованию, то его пригодность можно определить следующим образом.
Устанавливают широкополосный источник шума в точку, соответствующую геометрическому центру испытуемого редуктора. Используя этот источник, определяют средние по множеству измерений уровни звукового давления (уровни звука) в двух точках. Эти точки должны:
a) быть предварительно выбранными;
b) находиться на удвоенном или на половинном измерительном расстоянии от источника шума, но не в ближнем звуковом поле.
Помещение пригодно, если разность между средними значениями по каждой серии измерений составляет не менее 5 дБ (дБA).
Результаты измерений корректируют по
C.6.1.4.
Если показатель акустических условий
K2A > 3 дБ
A, то результаты измерений не могут быть корректированы по
C.6.1.4, так как влияние шума посторонних источников становится чрезмерным. В этом случае проверку
пригодности помещения повторяют при меньшем измерительном расстоянии или устанавливают висячие звукопоглощающие преграды и дополнительно наносят звукопоглощающие покрытия
на отражающие поверхности, или выбирают более подходящее помещение.
C.5 Методика измерения уровня звукового давления
C.5.1 Общие положения
До проведения измерений проверяют условия в испытательном пространстве на соответствие применяемому стандарту, чтобы определить необходимые коррекции.
C.5.2 Измерение уровней звука
В каждой точке измерений измеряют уровень звука LpAS при временной характеристике шумомера S ("медленно"). По результатам измерений определяют эквивалентный уровень звука LpASm. Продолжительность измерений выбирают так, чтобы зафиксированный уровень соответствовал нормальному рабочему режиму.
C.5.3 Определение спектра уровней звукового давления
Спектр уровней звукового давления в общем случае определяют, не прибегая к частотному взвешиванию в октавных полосах. Измерения в каждой точке в каждой октавной полосе рекомендуются, если имеются чистые тоны, при которых может потребоваться третьоктавный, узкополосный анализ или анализ на основе преобразования Фурье.
C.5.4.1 При неработающем редукторе измеряют уровни фонового шума в каждой точке измерений и регистрируют результаты по
C.5.2 и
C.5.3. Эти уровни должны быть достаточно низкие, чтобы не влиять на результаты измерений шума редуктора. Это гарантировано, если уровень звукового давления фонового шума в каждой полосе частот
(уровень звука) на 10 дБ
(дБA) или более ниже звукового давления
(уровня звука) при работе редуктора. Если это условие не соблюдено, то можно попытаться уменьшить фоновый шум по
C.5.4.2 -
C.5.4.5.
C.5.4.2 При возможности удаляют с испытательной площадки большинство источников фонового шума.
C.5.4.3 Источники фонового шума, если возможно, экранируют. При этом принимают во внимание возможность отражения звука редуктора от экранов.
C.5.4.4 По соглашению сторон режим работы может быть изменен с целью избежать, например структурного резонанса.
C.5.4.5 Если указанные выше меры не позволяют существенно снизить фоновый шум, то выполняют коррекции на фоновый шум, если его значение на 3 - 9 дБ (дБ
A) ниже измеренных по
C.5.2 и
C.5.3 значений.
Площадь измерительной поверхности S, м2, равна:
Величина LS, дБ (дБA), учитывающая площадь измерительной поверхности S при определении уровня звуковой мощности, равна

,
где S0 - опорная площадь (S0 = 1 м2).
В
таблице C.1 приведены значения
LS в зависимости от
S. При отличии значений площади измерительной поверхности от значений, указанных в
таблице, от минус 20% до плюс 25% ошибка определения
LS не превысит 1 дБ (дБ
A).
Таблица C.1
Значения
LS при опорной площади
S0 = 1 м
2
Площадь измерительной поверхности, м2 | LS, дБ (дБA) |
0,63 | -2 |
0,8 | -1 |
1 | 0 |
1,25 | +1 |
1,6 | +2 |
2 | +3 |
2,5 | +4 |
3,2 | +5 |
4 | +6 |
5 | +7 |
6,3 | +8 |
8 | +9 |
10 | +10 |
12,5 | +11 |
16 | +12 |
20 | +13 |
25 | +14 |
32 | +15 |
40 | +16 |
50 | +17 |
63 | +18 |
80 | +19 |
100 | +20 |
125 | +21 |
160 | +22 |
200 | +23 |
250 | +24 |
320 | +25 |
400 | +26 |
500 | +27 |
630 | +28 |
630 |
C.6 Определение корректированного по A уровня звуковой мощности
C.6.1 Определение среднего на поверхности уровня звука 
C.6.1.1 Общие положения
Средний на поверхности уровень звука

, дБ
A, определяют по
C.6.1.3 -
C.6.1.4 по результатам измерений
звукового давления на измерительной поверхности.
C.6.1.2 Эквивалентные уровни звука (звукового давления)
Значения, полученные по
C.5.2 и
C.5.3, являются эквивалентными уровнями (усредненными по времени).
C.6.1.3 Коррекция на фоновый шум Если необходимо учесть влияние фонового шума, то рекомендуется определить коррекцию K1 на фоновый шум для каждой точки измерений по таблице C.2 в зависимости от разности результатов измерений по C.5.2 и C.5.3 и результатов измерений фонового шума. |
Если разность менее 3 дБ (дБ
A) в любой из точек, то результаты измерений недействительны. Однако они могут быть внесены в протокол испытаний и служить верхней оценкой шума.
Средний на поверхности уровень звукового давления на расстоянии 1 м принимают в качестве уровня звукового давления на типовом рабочем месте. Если измерения проведены на расстоянии, отличном от 1 м, то уровень на рабочем месте рассчитывают по имеющимся значениям.
Таблица C.2
Коррекции на фоновый шум
K1
Разность между значениями, определенными по C.5.2 и C.5.4, дБ (дБ A) | Коррекция K1, вычитаемая из значения, определенного по C.5.2, дБ (дБ A) |
3 | 3 |
От 4 до 5 | 2 |
От 6 до 9 | 1 |
C.6.1.4 Средний на поверхности уровень звука

Средний на поверхности уровень звука
LpAm, дБ
A, рассчитывают по корректированным по
C.6.1.3 эквивалентным уровням звука во всех точках измерений по формуле

.
C.6.2 Определение показателя акустических условий K2 (K2A)
C.6.2.1 Общие положения
Влияние акустических условий на месте испытаний на уровень звука на поверхности, определяемый по
C.6.1.4, в основном зависит от звукопоглощения испытательного помещения и от отношения объема помещения
V к площади измерительной поверхности
S.
Показатель акустических условий
K2 (
K2A) определяют по
ГОСТ 31275,
ГОСТ 31277,
таблице C.3 или с помощью образцового источника шума.
Таблица C.3
Показатель акустических условий
K2 (
K2A) для испытательных
помещений различных типов и отношения V/S
| | ИС МЕГАНОРМ: примечание. Ячейки, выделенные серой "заливкой" в официальном тексте документа, в электронной версии документа обозначены символом "&". | |
Характеристика помещения | K2 (K2A) для обычных машин и испытательных помещений в зависимости от площади измерительной поверхности, дБ (дБA) |
|
25 | 32 | 40 | 50 | 63 | 80 | 100 | 125 | 160 | 200 | 250 | 320 | 400 | 500 | 630 | 800 | 1000 |
A: Помещение со звукоотражающими стенами (например, кафельными, плоскими бетонными или оштукатуренными) | & | 3 | 2 | 1 | 0 |
B: Помещение без свойств по A и C | & | 3 | 2 | 1 | 0 |
C: Помещение со слабым звукоотражением от поверхностей, с несколькими участками звукопоглощающих поверхностей | & | 3 | 2 | 1 | 0 |
<*> Площадь измерительной поверхности S, м 2, характеристики помещения и его объем V, м 3, известны. Примечание - Настоящая таблица позволяет оценить K2A без измерений шума по частотам. Однако проверка пригодности помещения по результатам прямых измерений необходима, если возможность применения настоящей таблицы сомнительна или когда показатель K2 (K2A) более 3 дБ (дБA) (как может быть в заштрихованной части таблицы). |
Образцовый источник шума должен быть широкополосным в диапазоне частот измерений без существенной направленности и чистых тонов.
Уровень звука считают постоянным, если результаты измерений на временной характеристике шумомера "медленно" в фиксированной точке не изменяются более чем на 1 дБA в течение 1 ч.
Зона ближнего звукового поля для образцового источника шума должна быть известна во всем диапазоне частот измерений.
Примечание - В общем случае малые источники шума имеют менее протяженную зону ближнего звукового поля. Особенно это характерно для небольших редукторов для вентиляторов с регулируемой частотой вращения (например, пылесосов с регулятором частоты вращения).
C.6.2.2 Определение K2 (K2A)
Образцовый источник шума устанавливают в испытательном помещении на месте, соответствующем геометрическому центру испытуемого редуктора. Во всех точках измерений определяют уровень звуковой мощности или уровни звуковой мощности в октавных полосах частот LW1 по C.6.
Определение уровня звуковой мощности LW1 образцового источника шума повторяют для другого расположения точек измерений вблизи источника, но вне ближнего звукового поля. Рекомендуется уменьшить, по крайней мере вдвое, начальное измерительное расстояние. Результат второго определения обозначают LW2.
Показатель акустических условий K2 (K2A) или для измерений октавных уровней звуковой мощности K2 рассчитывают по формуле
K2 (K2A) = LW1 - LW2.
C.6.2.3 Расчет корректированного среднего на поверхности уровня звука

Показатель акустических условий
K2A используют для расчета корректированного среднего на поверхности уровня звука

по формуле

.
C.6.3 Расчет корректированного по A уровня звуковой мощности LWA
Корректированный по
A уровень звуковой мощности
LWA, дБ
A, обычно представляют суммой корректированного среднего на поверхности уровня звука и величины
LS, учитывающей влияние площади измерительной поверхности (см.
C.5.5), по формуле

.
C.7 Протокол испытаний
C.7.1 Общие положения
C.7.2 Измерения при испытаниях и результаты
В протокол включают:
a) уровень звука
LpASm (C.5.2) в каждой точке измерений;
b) уровень фонового шума и коррекцию на фоновый шум
K1 в каждой точке измерений
(C.6.1.3);
c) средний на поверхности уровень звука

, рассчитанный по
LpASm и
K1 в каждой точке измерений
(C.6.1.4);
d) показатель акустических условий
K2 (
K2A)
(C.6.2);
f) корректированный по
A уровень звуковой мощности
LWA (C.6.3);
g) уровень звукового давления излучения на рабочем месте по
C.6.1.4, определенный или рассчитанный для расстояния 1 м;
h) точные сведения о любых дополнительно выбранных точках или точках, которые были использованы.
C.8 Методика расчета уровня звука или корректированного по A уровня звуковой мощности по уровням звукового давления в октавных (третьоктавных) полосах частот
C.8.1 Средний уровень звука

, дБ
A, рассчитывают по формуле

,
где
Cj - поправка на частотное взвешивание по характеристике
A шумомера в
j-й октавной или третьоктавной полосе (см.
C.8.2 или
C.8.3);

-
средний уровень звукового давления в октавной полосе частот, дБA.
Примечание - По этой же формуле рассчитывают корректированный по
A уровень звуковой мощности
LWA, заменяя в ней величину

на средний уровень звуковой мощности в октавной полосе

.
C.8.2 Для расчета по результатам измерений в третьоктавных полосах (
jmax = 21) значения поправок
Cj берут по
таблице C.4.
Таблица C.4
Значения поправок
Cj для третьоктавных полос
Номер третьоктавной полосы j | Среднегеометрическая частота третьоктавной полосы, Гц | Cj, дБ |
1 | 100 | -19,1 |
2 | 125 | -16,1 |
3 | 160 | -13,4 |
4 | 200 | -10,9 |
5 | 250 | -8,6 |
6 | 315 | -6,6 |
7 | 400 | -4,8 |
8 | 500 | -3,2 |
9 | 630 | -1,9 |
10 | 800 | -0,8 |
11 | 1000 | 0,0 |
12 | 1250 | 0,6 |
13 | 1600 | 1,0 |
14 | 2000 | 1,2 |
15 | 2500 | 1,3 |
16 | 3150 | 1,2 |
17 | 4000 | 1,0 |
18 | 5000 | 0,5 |
19 | 6300 | -0,1 |
20 | 8000 | -1,1 |
21 | 10000 | -2,5 |
C.8.3 Для расчета по результатам измерений в октавных полосах (
jmax = 7) значения поправок
Cj берут по
таблице C.5.
Таблица C.5
Значения поправок
Cj для октавных полос
Номер октавной полосы j | Среднегеометрическая частота октавной полосы, Гц | Cj, дБ |
1 | 125 | -16,1 |
2 | 250 | -8,6 |
3 | 500 | -3,2 |
4 | 1000 | 0,0 |
5 | 2000 | 1,2 |
6 | 4000 | 1,0 |
7 | 8000 | -1,1 |
C.9 Последовательность действий
На
рисунке C.1 показана последовательность действий
при определении корректированного по A уровня звуковой мощности.
Измерение уровней звука LpASm в точках вокруг испытуемого объекта | |
| |
Регистрация эквивалентных уровней звука LpASm в точках вокруг испытуемого объекта | |
| |
Измерение уровня звука фонового шума в точках вокруг испытуемого объекта и определение коррекции на фоновый шум K1 | |
| |
Расчет среднего на поверхности уровня звука  с учетом коррекции на фоновый шум K1 по формуле | |
|
| |
Определение корректированного среднего на поверхности уровня звука  с учетом показателя акустических условий K2A по формуле | |
| |
Определение корректированного по A уровня звуковой мощности LWA по формуле | |
Рисунок C.1 - Диаграмма последовательности действий
при определении звуковой мощности по звуковому давлению
(справочное)
ПЕРЕЧЕНЬ ТЕХНИЧЕСКИХ ОТКЛОНЕНИЙ НАСТОЯЩЕГО СТАНДАРТА
ОТ ПРИМЕНЕННОГО В НЕМ МЕЖДУНАРОДНОГО СТАНДАРТА
ИСО 8579-1:2002
Таблица ДА.1
Раздел, подраздел, пункт, подпункт, таблица, приложение | Модификация |
Введение | Исключено введение |
Пояснение - Исключено в соответствии с ГОСТ 1.3-2008 (пункт 6.3.1). |
| Исключена ссылка на ISO 3745 |
Пояснение - ISO 3745 не используется в ISO 8579-1. |
| Исключена ссылка на ISO 9614-2 и ISO/TO 7849 |
Пояснение - ISO 9614-2 и ISO/TO 7849 не введены в качестве межгосударственных стандартов. |
| Дополнен ссылкой на ГОСТ 31252-2004 (ИСО 3740:2000) <1> "Шум машин. Руководство по выбору метода определения уровней звуковой мощности" |
Пояснение - ГОСТ 31252 (приложение E) содержит общеупотребительные термины по шуму машин, применяемые в настоящем стандарте, но не введенные в разделе 3. |
| Ссылка на ISO 3743-1:1994 "Акустика. Определение уровней звуковой мощности источников шума по звуковому давлению. Технические методы для малых переносных источников шума в реверберационных полях. Часть 1. Метод сравнения для испытательных помещений с жесткими стенами" заменена ссылкой на ГОСТ 31276-2002 (ИСО 3743-1-94, ИСО 3743-2-94) <1> "Шум машин. Определение уровней звуковой мощности источников шума по звуковому давлению. Технические методы для малых переносных источников шума в реверберационных полях в помещениях с жесткими стенами и в специальных реверберационных камерах". |
| Ссылка на ISO 3744:1994 "Акустика. Определение уровней звуковой мощности источников шума по звуковому давлению. Технический метод в существенно свободном звуковом поле над звукоотражающей плоскостью" заменена ссылкой на ГОСТ 31275-2002 (ИСО 3744-94) <1> "Шум машин. Определение уровней звуковой мощности источников шума по звуковому давлению. Технический метод в существенно свободном звуковом поле над звукоотражающей плоскостью". |
| | ИС МЕГАНОРМ: примечание. ГОСТ 27243-2005 утратил силу на территории Российской Федерации с 01.12.2014 в связи с введением в действие ГОСТ Р ИСО 3747-2013 (Приказ Росстандарта от 05.12.2013 N 2178-ст). | |
|
| Ссылка на ISO 3746:1995 "Акустика. Определение уровней звуковой мощности источников шума по звуковому давлению. Ориентировочный метод с применением охватывающей поверхности над звукоотражающей плоскостью" заменена ссылкой на ГОСТ 31277-2002 (ИСО 3746-95) <1> "Шум машин. Определение уровней звуковой мощности источников шума по звуковому давлению. Ориентировочный метод с использованием измерительной поверхности над звукоотражающей плоскостью". Ссылка на ISO 3747:2000 "Акустика. Определение уровней звуковой мощности источников шума по звуковому давлению. Метод сравнения на месте установки" заменена ссылкой на ГОСТ 27243-2005 (ИСО 3747:2000) <1> "Шум машин. Определение уровней звуковой мощности по звуковому давлению. Метод сравнения на месте установки". Ссылка на ISO 9614-1:1993 "Акустика. Определение уровней звуковой мощности источников шума по интенсивности звука. Часть 1. Измерение в дискретных точках" заменена ссылкой на ГОСТ 30457-97 (ИСО 9614-1-93) <1> "Акустика. Определение уровней звуковой мощности источников шума на основе интенсивности звука. Измерение в дискретных точках. Технический метод". Ссылка на ISO 4871:1996 "Акустика. Заявление и подтверждение значений шумовых характеристик машин и оборудования" заменена ссылкой на ГОСТ 30691-2001 (ИСО 4871-96) <1> "Шум машин. Заявление и контроль значений шумовых характеристик". Ссылка на ISO 11203:1995 "Акустика. Шум машин и оборудования. Определение уровней звукового давления излучения на рабочем месте и в других контрольных точках по уровню звуковой мощности" заменена ссылкой на ГОСТ 30720-2001 (ИСО 11203-95) <1> "Шум машин. Определение уровней звукового давления излучения на рабочем месте и в других контрольных точках по уровню звуковой мощности". |
| Оформлена в виде примера |
|
| Абзац: "ISO 3745 основан на применении специальной заглушенной акустической камеры. Данный международный стандарт устанавливает метод измерения уровня звука для расчета уровня звуковой мощности" заменен на: "ГОСТ 27243 устанавливает технический или ориентировочный метод определения (с использованием образцового источника шума) уровней звуковой мощности в октавных полосах частот и корректированного по A уровня звуковой мощности преимущественно стационарных машин непосредственно на месте их установки в производственном помещении с относительно низким уровнем фонового шума. Измерения проводят в октавных полосах частот, по результатам которых рассчитывают корректированный по A уровень звуковой мощности" |
Пояснение - ISO 3745 не используется в ISO 8579-1. Применение метода по ГОСТ 27243 не противоречит условиям применения настоящего стандарта и расширяет его возможности при измерении шума редуктора на месте его установки. |
| Текст: "ISO 3745" заменен на "ГОСТ 27243". Исключена сноска: "<c> Маловероятно, чтобы ISO 3745 мог быть применен для измерений техническим методом в специальной установке". Порядок следования сносок изменен |
Пояснение - См. пояснение к предыдущему техническому отклонению. |
| Сноска <g>: "<g> При слишком близком расположении частей оборудования может оказаться недостаточно места для выполнения измерений" заменена на " <6> При слишком близком расположении привода к редуктору измерения шума редуктора могут оказаться невыполнимыми из-за невозможности построения необходимой измерительной поверхности" |
Пояснение - Заменяющий текст более полно раскрывает смысл оригинала. |
| Текст: "d >= 0,5 м" заменен на "более 0,5 м" |
Пояснение - Приведено в соответствие со ссылочным стандартом. |
| Текст: "....исторические сведения по определению звукового излучения редукторов, изложенные в первом издании ISO 8579-1 и основанные на ISO 3744:1981 и ISO 3746:1979 по измерениям над звукоотражающей плоскостью." заменен на "Настоящее приложение содержит пояснения по применению ГОСТ 31275 и ГОСТ 31277 при измерениях по настоящему стандарту." |
Пояснение - Текст оригинала потерял актуальность в связи с отменой ссылочных стандартов. |
| Текст: "... или может быть достаточна даже более простая сеть точек, если установлено при испытаниях данного типа редуктора, что звуковое поле существенно равномерное, так что измеренный уровень шума больше или равен значению, определенному по полному числу точек." заменен на: "...., но число точек может быть уменьшено, если установлено при испытаниях редуктора данного типа, что звуковое поле существенно равномерное, так что уровень шума (корректированный по A уровень звуковой мощности), определенный по уменьшенному числу точек измерений, не отличается более чем на 1 дБA от уровня, определенного по полному числу точек." |
Пояснение - Заменяющий текст более точно определяет требование через числовые значения. |
| Исключено перечисление: "- по измерениям в единственной точке не может быть правильно определен уровень звуковой мощности;" |
Пояснение - Перечисление исключено, так как оно не согласуется с указанными далее условиями, при которых возможно использование одной точки измерения. |
| |
Пояснение - Исправлена ошибка ISO 8579-1. |
| Текст: "..., то корректированный таким образом уровень звукового давления неточен." заменен на: "..., то результаты измерений недействительны. Однако они могут быть внесены в протокол испытаний и служить верхней оценкой шума." |
Пояснение - Изменение внесено в соответствии с ГОСТ 31275 (7.4). |
| Формула: заменена на |
|
| Библиографические источники: "[1] ISO 1328-1:1995, Cylindrical gears - ISO system of accuracy - Part 1: Definitions and allowable values of deviations relevant to corresponding flanks of gear teeth [2] ISO 3744:1981, Acoustics - Determination of sound power levels of noise sources - Engineering methods for free-field conditions over a reflecting plane" заменены на: "[1] ISO 9614-2:1996 Acoustics - Determination of sound power levels of noise sources using sound intensity - Part 2: Measurement by scanning [2] Acoustics - Estimation of airborne noise emitted by machinery using vibration measurement" |
Пояснение - Указанные библиографические источники введены в связи с исключением раздела 2 соответствующих им нормативных ссылок. |
| Исключены библиографические источники: "[5] IEC 61260:1995, Electroacoustics - Octave band and fractional octave band filters [6] IEC 60651:1979, Sound level meters" |
Пояснение - Указанные библиографические источники не использованы в ISO 8579-1. |
<1> Степень соответствия - MOD. |
| ИСО 9614-2:1996 | Акустика. Определение уровней звуковой мощности источников шума по интенсивности звука. Часть 2. Измерения сканированием |
(ISO 9614-2:1996) | (Acoustics - Determination of sound power levels of noise sources using sound intensity - Part 2: Measurement by scanning) |
| ИСО/ТО 7849:1987 | Акустика. Оценка воздушного звукового излучения машин по вибрации |
(ISO/TR 7849:1987) | (Acoustics - Estimation of airborne noise emitted by machinery using vibration measurement) |
| ИСО 1328-1:1995 | Цилиндрические редукторы. Система точности ИСО. Часть 1. Определения и допускаемые отклонения профиля зубьев зубчатой передачи |
(ISO 1328-1:1995) | (Cylindrical gears - ISO system of accuracy - Part 1: Definition and allowable values of deviations relevant to corresponding flanks of gear teeth) |
| ДИН 3960 | Определения, параметры и уравнения для эвольвентных цилиндрических редукторов и зубчатых пар |
(DIN 3960) | (Definition, parameters and equations for involute cylindrical gears and gear pairs) |
УДК 534.322.3.08:006.354 | | MOD |
Ключевые слова: зубчатые редукторы и мотор-редукторы, методы измерения шума, корректированный по A уровень звуковой мощности, уровень звука излучения, испытания в специальной установке, испытания на цеховом стенде, испытания на месте эксплуатации, условия испытаний, измерительная поверхность, точки измерений, заявление и подтверждение значений шумовых характеристик |