Главная // Актуальные документы // ГОСТ (Государственный стандарт)СПРАВКА
Источник публикации
М.: Стандартинформ, 2015
Примечание к документу
Документ включен в
Перечень международных и региональных (межгосударственных) стандартов, а в случае их отсутствия - национальных (государственных) стандартов, в результате применения которых на добровольной основе обеспечивается соблюдение требований технического
регламента Таможенного союза "О безопасности продукции легкой промышленности" (ТР ТС 017/2011), и Перечень международных и региональных (межгосударственных) стандартов (
п.п. 377 и
385), а в случае их отсутствия - национальных (государственных) стандартов, содержащих правила и методы исследований (испытаний) и измерений, в том числе правила отбора образцов, необходимые для применения и исполнения требований технического
регламента Таможенного союза "О безопасности продукции легкой промышленности" (ТР ТС 017/2011) и осуществления оценки соответствия объектов технического регулирования (
Решение Коллегии Евразийской экономической комиссии от 22.12.2020 N 180).
Документ
введен в действие с 01.07.2014.
Название документа
"ГОСТ 32087-2013. Межгосударственный стандарт. Обувь для игровых видов спорта. Общие технические требования"
(введен в действие Приказом Росстандарта от 11.06.2014 N 575-ст)
"ГОСТ 32087-2013. Межгосударственный стандарт. Обувь для игровых видов спорта. Общие технические требования"
(введен в действие Приказом Росстандарта от 11.06.2014 N 575-ст)
по техническому регулированию
и метрологии
от 11 июня 2014 г. N 575-ст
МЕЖГОСУДАРСТВЕННЫЙ СТАНДАРТ
ОБУВЬ ДЛЯ ИГРОВЫХ ВИДОВ СПОРТА
ОБЩИЕ ТЕХНИЧЕСКИЕ ТРЕБОВАНИЯ
Sport games footwear. General technical requirement
ГОСТ 32087-2013
Дата введения
1 июля 2014 года
Цели, основные принципы и основной порядок проведения работ по межгосударственной стандартизации установлены
ГОСТ 1.0-92 "Межгосударственная система стандартизации. Основные положения" и
ГОСТ 1.2-2009 "Межгосударственная система стандартизации. Стандарты межгосударственные, правила и рекомендации по межгосударственной стандартизации. Порядок разработки, принятия, применения, обновления и отмены"
1 ПОДГОТОВЛЕН Техническим комитетом по стандартизации ТК 412 "Текстиль", Открытым акционерным обществом "Всероссийский научно-исследовательский институт сертификации" (ОАО "ВНИИС")
2 ВНЕСЕН Федеральным агентством по техническому регулированию и метрологии
3 ПРИНЯТ Межгосударственным советом по стандартизации, метрологии и сертификации (протокол от 6 - 7 июня 2013 г. N 43)
За принятие проголосовали:
Краткое наименование страны по МК (ИСО 3166) 004-97 | Код страны по МК (ИСО 3166) 004-97 | Сокращенное наименование национального органа по стандартизации |
Азербайджан | AZ | Азстандарт |
Армения | AM | Армгосстандарт |
Беларусь | BY | Госстандарт Республики Беларусь |
Грузия | GE | Грузстандарт |
Казахстан | KZ | Госстандарт Республики Казахстан |
Киргизия | KG | Кыргызстандарт |
Молдова | MD | Молдова-Стандарт |
Россия | RU | Росстандарт |
Таджикистан | TJ | Таджикстандарт |
Туркменистан | TM | Главгосслужба "Туркменстандартлары" |
Узбекистан | UZ | Узстандарт |
Украина | UA | Госпотребстандарт Украины |
4
Приказом Федерального агентства по техническому регулированию и метрологии от 11 июня 2014 г. N 575-ст ГОСТ 32087-2013 введен в действие в качестве национального стандарта Российской Федерации с 01 июля 2014 г.
6 ВВЕДЕН ВПЕРВЫЕ
Информация об изменениях к настоящему стандарту публикуется в ежегодном информационном указателе "Национальные стандарты", а текст изменений и поправок - в ежемесячном информационном указателе "Национальные стандарты". В случае пересмотра (замены) или отмены настоящего стандарта соответствующее уведомление будет опубликовано в ежемесячном информационном указателе "Национальные стандарты". Соответствующая информация, уведомление и тексты размещаются также в информационной системе общего пользования - на официальном сайте Федерального агентства по техническому регулированию и метрологии в сети Интернет
Настоящий стандарт распространяется на обувь для игровых видов спорта (волейбол, баскетбол, теннис) и содержит основные требования, направленные на обеспечение спортивной комфортности при занятиях физической культурой и спортом.
В настоящем стандарте использованы ссылки на следующие стандарты:
ГОСТ 427-75 Линейки измерительные металлические. Технические условия
ГОСТ 4045-75 Тиски слесарные с ручным приводом. Технические условия
ГОСТ 7502-98 Рулетки измерительные металлические. Технические условия
ГОСТ 9290-76 Обувь. Метод определения прочности ниточных швов соединения деталей верха
ГОСТ 9292-82 Обувь. Метод определения прочности крепления подошв в обуви химических методов крепления
ГОСТ 21463-87 Обувь. Нормы прочности
ГОСТ 23724-85 Колодки для спортивной обуви. Технические условия
ГОСТ 24382-80 Обувь спортивная. Размеры
Примечание - При пользовании настоящим стандартом целесообразно проверить действие ссылочных стандартов в информационной системе общего пользования - на официальном сайте Федерального агентства по техническому регулированию и метрологии в сети Интернет или по ежегодному информационному указателю "Национальные стандарты", который опубликован по состоянию на 1 января текущего года, и по выпускам ежемесячного информационного указателя "Национальные стандарты" за текущий год. Если ссылочный стандарт заменен (изменен), то при пользовании настоящим стандартом следует руководствоваться заменяющим (измененным) стандартом. Если ссылочный стандарт отменен без замены, то положение, в котором дана ссылка на него, применяется в части, не затрагивающей эту ссылку.
В настоящем стандарте применены следующие термины с соответствующими определениями:
3.1 стойкость подошвы к многократному изгибу: Способность подошвы выдерживать циклические нагрузки с нормированными значениями деформации.
3.2 ударная прочность подошвы: Способность подошвы выдерживать ударные воздействия без разрушений и трещин.
3.3 продольная линия: Линия на ходовой стороне подошвы, соединяющая наиболее выступающие точки носка и пятки.
3.4 поперечная линия: Линия на ходовой стороне подошвы, проведенная через наиболее выступающую точку внутреннего пучка перпендикулярно к продольной линии.
3.5
точка
: Точка пересечения продольной и поперечной линий.
3.6
точка
: Точка, находящаяся на продольной линии на расстоянии 50 мм от наиболее выступающей точки пяточной части подошвы.
3.7
зона
: Область, ограниченная окружностью, проведенной из точки

радиусом 15 мм.
3.8
зона
: Область, ограниченная окружностью, проведенной из точки

радиусом 10 мм.
3.9
модуль игровой амортизации
: Величина, характеризующая амортизационные свойства подошвы и определяемая отношением значений глубин проникновения тела определенной формы при приложении нормированных значений возрастающей и убывающей нагрузок.
3.10
модуль игровой амортизации носочно-пучковой части подошвы
: Модуль игровой амортизации, измеренный в точке

.
3.11
модуль игровой амортизации пяточной части подошвы
: Модуль игровой амортизации, измеренный в точке

.
4.1 Нормы прочности и спортивной комфортности приведены в
таблице 1.
Наименование показателя | Норма для обуви |
баскетбольной | волейбольной | теннисной |
Стойкость подошвы к многократному изгибу, циклы, не менее | 10·103 | 20·103 | 15·103 |
Ударная прочность подошвы, Дж, не менее | 20 | 10 | 15 |
Модуль игровой амортизации носочно-пучковой части подошвы | (1,0 + 0,6) <*> |
Модуль игровой амортизации пяточной части подошвы | (1,0 + 0,9) <*> |
Прочность ниточных креплений деталей заготовки обуви, Н/см | По ГОСТ 21463 |
Прочность крепления подошвы с заготовкой верха обуви, Н/см |
<*> Минусовые допуски не допускаются. |
4.2 Разница значений одноименных модулей игровой амортизации в паре не должна быть более чем в 1,5 раза.
4.3 На каждой полупаре обуви должна быть нанесена несмываемая надпись в русской или латинской транскрипции, указывающая на принадлежность изделия к определенному виду спорта: "Волейбол", "Баскетбол", "Теннис".
Место нанесения надписи и метод нанесения указываются в нормативном документе на конкретные виды изделий.
6 Метод определения стойкости подошвы к многократному изгибу
6.1 Средства испытаний и вспомогательные устройства
Специальное устройство, состоящее из двух соединенных между собой пластин размерами (100 x 40) мм, обеспечивающее изгиб образца не менее 90° с частотой 120 - 150 циклов в минуту.
Линейка измерительная по
ГОСТ 427 или рулетка измерительная металлическая по
ГОСТ 7502.
6.2 Подготовка к испытанию
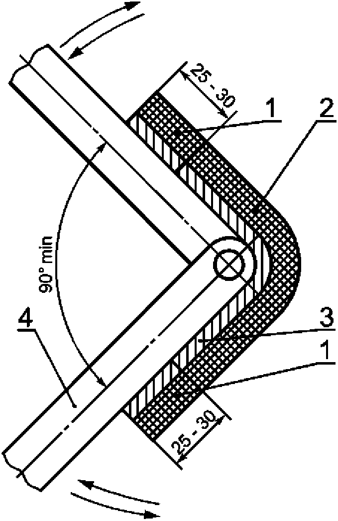
6.2.1 Для проведения испытаний вырезают образцы из носочно-пучковой части подошвы в соответствии с
рисунком 1. Участок отбора образца определяют относительно продольной и поперечной линий.
1 - продольная линия; 2 - поперечная линия; 3 - образец
подошвы; 4 - подошва; 5 - наиболее выступающая точка
внутреннего пучка; l - длина образца подошвы; b - ширина
образца подошвы
Рисунок 1 - Участок отбора образцов для проведения испытаний
на стойкость подошвы к многократному изгибу
Точка a является началом координат для определения длины l и ширины b образца подошвы и местом сверления отверстия диаметром (2 +/- 0,1) мм в образце.
6.2.2 Образцы вырезают прямоугольной формы следующих размеров:
(100 x 40) мм - для размеров обуви 250 и более;
(80 x 30) мм - для размеров обуви менее 250.
Предельные отклонения не должны превышать плюс 10 мм по длине и плюс 5 мм по ширине. Минусовые отклонения не допускаются.
Размеры обуви - по ГОСТ 24382.
На подготовленный образец наносят порядковый номер любым способом, исключающим его стирание.
6.3 Проведение испытания
6.3.1 Испытание проводят в соответствии с
рисунком 2.
1 - зона крепления образца; 2 - образец подошвы;
3 - стелька; 4 - устройство для испытания
Рисунок 2 - Испытание образца подошвы на многократный изгиб
Образец, предназначенный для испытаний, жестко закрепляют бандажом или другим способом, исключающим его повреждение и проскальзывание в местах закрепления, затем включают устройство.
Количество циклов при испытании образца - в соответствии с
таблицей 1.
6.3.2 Количество циклов фиксируют с погрешностью не более 0,5%.
6.4 Обработка и оформление результатов испытаний
6.4.1 Стойкость подошвы к многократному изгибу выражают в циклах.
6.4.2 Образцы считают выдержавшими испытания, если отсутствуют разрушения и трещины при заданном в
таблице 1 количестве циклов, и диаметр отверстия не превышает 6 мм.
Контроль диаметра отверстия осуществляют с помощью измерительной металлической линейки по
ГОСТ 427 или измерительной металлической рулетки по
ГОСТ 7502.
6.4.3
Форма записи результатов испытаний приведена в приложении A.
7 Метод определения ударной прочности подошвы
7.1 Средства испытаний и вспомогательные устройства
Тиски слесарные по
ГОСТ 4045 или другое устройство, обеспечивающее прочный зажим обуви.
Колодки обувные по ГОСТ 23724 соответствующего размера обуви или смежного размера по ГОСТ 24382.
Линейка измерительная металлическая по
ГОСТ 427 или рулетка измерительная металлическая по
ГОСТ 7502.
Груз массой не менее 0,3 кг, имеющий в месте соприкосновения с подошвой сферу диаметром (50 +/- 5) мм.
7.2 Подготовка к испытанию
На образец обуви наносят порядковый номер любым способом, исключающим его стирание.
Для проведения испытаний полупару обуви надевают на колодку, которую устанавливают на твердом основании под углом 10° - 12° и закрепляют в тисках или другом устройстве.
7.3 Проведение испытания
7.3.1 Испытания проводят в соответствии с
рисунком 3 путем сбрасывания груза в зоны

и

с высоты, обеспечивающей энергию удара в соответствии с
таблицей 1.
1 - свободно падающий груз; 2 - зона в; 3 - колодка;
4 - тиски или устройство для закрепления полупары обуви;
5 - зона

;
6 - продольная линия;
7 - основание;
8 - поперечная линия; h - высота свободного падения
Рисунок 3 - Испытание подошвы обуви на ударную прочность
Высоту свободного падения груза h, м, вычисляют по формуле:

, (1)
где E - энергия удара, Дж;
m - масса свободно падающего груза, не менее 0,3 кг;
g - ускорение свободного падения, 9,8 м/с2.
7.3.2 Погрешность измерения не более 0,5%.
7.4 Обработка и оформление результатов испытаний
7.4.1 Ударную прочность подошвы выражают в джоулях.
7.4.2 Подошву считают выдержавшей испытания, если отсутствуют разрушения и трещины.
7.4.3
Форма записи результатов испытаний приведена в приложении B.
8 Метод определения модулей игровой амортизации носочно-пучковой и пяточной частей подошвы
8.1 Средства испытаний и вспомогательные устройства
Разрывная машина марки РТ-250 или другие, обеспечивающие скорость движения нижнего зажима (100 +/- 10) мм/мин. Мощность машины не должна превышать максимальную нагрузку более чем в 10 раз.
Тиски слесарные по
ГОСТ 4045 или другое устройство, обеспечивающее прочный зажим обуви. Колодки обувные по ГОСТ 23724 соответствующего размера обуви или смежного размера по ГОСТ 24382.
Груз массой не менее 0,3 кг, имеющий в месте соприкосновения с подошвой сферу диаметром (50 +/- 5) мм.
8.2 Подготовка к испытанию
На образец обуви наносят порядковый номер любым способом, исключающим его стирание.
Для проведения испытаний полупару обуви надевают на колодку, которую устанавливают на твердом основании под углом 10° - 12° и закрепляют в тисках или другом устройстве.
8.3 Проведение испытания
Образец обуви нагружают последовательно возрастающей нагрузкой 50, 100, 150, 200 Н в зоне

- при определении модуля игровой амортизации носочно-пучковой части или в зоне

- при определении модуля игровой амортизации пяточной части подошвы согласно
рисунку 3 и определяют по шкале разрывной машины глубину проникания груза при нагрузках 50, 100, 150 Н.
При достижении нагрузки 200 Н проводят последовательно снижение нагрузки до 150, 100, 50 Н и определение глубины проникания груза при нагрузках 150, 100, 50 Н.
Время приложения нагрузки - 1 - 2 мин, погрешность измерения 2%.
8.4 Обработка и оформление результатов испытаний
8.4.1 Модуль игровой амортизации носочно-пучковой части подошвы

(не имеет единицы измерения) вычисляют по формуле:

(2)
где

,

,

- модули игровой амортизации носочно-пучковой части подошвы соответственно при нагрузках 50, 100, 150 Н.
Значение нагрузки 200 Н при расчете модуля не учитывают.
8.4.2 Модули игровой амортизации

,

,

(не имеют единицы измерения) вычисляют соответственно по формулам:

, (3)

, (4)

, (5)
где Г50В; Г100В; Г150В - глубины проникания груза при приложении возрастающей нагрузки 50, 100,150 Н;
Г50У; Г100У; Г150У - глубины проникания груза при убывающей нагрузке 150, 100, 50 Н.
8.4.3 Модуль игровой амортизации пяточной части подошвы

(не имеет единицы измерения) вычисляют по формуле:

, (6)
где

,

,

- модули игровой амортизации пяточной части подошвы при нагрузках 50, 100, 150 Н.
Значение нагрузки 200 Н при расчете модуля не учитывают.
8.4.4 Модули игровой амортизации

,

,

(не имеют единицы измерения) вычисляют соответственно по формулам:

, (7)

, (8)

, (9)
где Г50В; Г100В; Г150В - глубины проникания груза при приложении возрастающей нагрузки 50, 100, 150 Н;
Г50У; Г100У; Г150У - глубины проникания груза при убывающей нагрузке 150, 100, 50 Н.
8.4.5
Форма записи результатов испытаний приведена в приложении C.
9 Метод определения прочности ниточных креплений деталей заготовки обуви
Метод определения прочности ниточных креплений деталей заготовки по ГОСТ 9290.
10 Метод определения прочности крепления подошвы к верху обуви
Метод определения прочности крепления подошвы к верху обуви по ГОСТ 9292.
(справочное)
Форма записи результатов определения стойкости подошвы
к многократному изгибу
Таблица A.1
Дата отбора образца | Вид обуви | Размер обуви | Номер образца | Количество циклов | Результаты испытания |
Наличие/отсутствие трещин, разрушений | Диаметр отверстия, мм |
| | | | | | |
(справочное)
Форма записи результатов определения ударной прочности
подошвы
Таблица B.1
Дата отбора образца | Вид обуви | Номер образца | Масса груза, кг | Высота свободного падения груза, м | Энергия удара, Дж | Результаты испытания (наличие/отсутствие трещин, разрушений) |
| | | | | | |
(справочное)
Форма записи результатов определения модуля игровой
амортизации носочно-пучковой и пяточной частей подошвы
Таблица C.1
Дата отбора образца | Вид обуви | Номер образца | Зона | Глубина проникания груза, мм, при возрастающей нагрузке | Глубина проникания груза, мм, при убывающей нагрузке | Модуль игровой амортизации |
50 | 100 | 150 | 150 | 100 | 50 | образца | Среднее значение |
| | 1 2 3 | | | | | | | | | |
| | 1 2 3 | | | | | | | | | |
УДК 685.346.6/.9:006:354 | |
Ключевые слова: обувь спортивная, подошва, крепление, нагрузка, ударная прочность, многократный изгиб, модуль игровой амортизации, метод, испытание, результат |