Главная // Актуальные документы // ГОСТ Р (Государственный стандарт)СПРАВКА
Источник публикации
М.: ИПК Издательство стандартов, 2001
Примечание к документу
Документ утратил силу с 1 июля 2015 года в связи с изданием
Приказа Росстандарта от 11.06.2014 N 575-ст. Взамен введен в действие
ГОСТ 32087-2013.
Документ включен в
Перечень стандартов, в результате применения которых на добровольной основе обеспечивается соблюдение требований технического
регламента Таможенного союза "О безопасности продукции легкой промышленности" (ТР ТС 017/2011),
Перечень документов в области стандартизации, содержащих правила и методы исследований (испытаний) и измерений, в том числе правила отбора образцов, необходимые для применения и исполнения требований технического
регламента Таможенного союза "О безопасности продукции легкой промышленности" (ТР ТС 017/2011) и осуществления оценки (подтверждения) соответствия продукции (
Решение Комиссии Таможенного союза от 09.12.2011 N 876).
Документ
введен в действие с 1 августа 2002 года.
Название документа
"ГОСТ Р 51796-2001. Государственный стандарт Российской Федерации. Обувь для игровых видов спорта. Общие технические требования"
(принят и введен в действие Постановлением Госстандарта России от 09.08.2001 N 328-ст)
"ГОСТ Р 51796-2001. Государственный стандарт Российской Федерации. Обувь для игровых видов спорта. Общие технические требования"
(принят и введен в действие Постановлением Госстандарта России от 09.08.2001 N 328-ст)
Принят и введен в действие
от 9 августа 2001 г. N 328-ст
ГОСУДАРСТВЕННЫЙ СТАНДАРТ РОССИЙСКОЙ ФЕДЕРАЦИИ
ОБУВЬ ДЛЯ ИГРОВЫХ ВИДОВ СПОРТА
ОБЩИЕ ТЕХНИЧЕСКИЕ ТРЕБОВАНИЯ
Sport games footwear. General technical requirements
ГОСТ Р 51796-2001
Группа У61
ОКС 61.060
ОКП 88 0030
Дата введения
1 августа 2002 года
1. Разработан Научно-исследовательским институтом по спортивно-техническим изделиям (ВИСТИ).
Внесен Техническим комитетом по стандартизации ТК 280 "Спортивные и туристские изделия".
| | ИС МЕГАНОРМ: примечание. В официальном тексте документа, видимо, допущена опечатка: имеется в виду Постановление Госстандарта России от 9 августа 2001 г. N 328-ст, а не N 328 ст. | |
2. Принят и введен в действие
Постановлением Госстандарта России от 9 августа 2001 г. N 328 ст.
3. Введен впервые.
Настоящий стандарт предназначен для защиты прав потребителей и определяет основные требования к обуви для игровых видов спорта (волейбол, баскетбол, теннис), характеризующие прочность и спортивную комфортность, а также методы испытаний.
На основе многочисленных наблюдений, проводимых за спортсменами высокого класса, было установлено, что ударная прочность подошвы и амортизационные характеристики (модуль игровой амортизации) являются одними из основных показателей, определяющих качество обуви, снижающих травмирование спортсменов и сохраняющих их спортивную форму.
Стандарт направлен на повышение конкурентоспособности отечественной продукции и может быть использован при заключении договоров между изготовителем (продавцом) и потребителем, а также для маркирования продукции в установленном порядке знаком соответствия продукции требованиям стандарта.
Настоящий стандарт распространяется на обувь для игровых видов спорта (волейбол, баскетбол, теннис) и содержит основные требования, направленные на обеспечение спортивной комфортности при занятиях физической культурой и спортом.
В настоящем стандарте использованы ссылки на следующие стандарты:
ГОСТ 427-75 Линейки измерительные металлические. Технические условия
ГОСТ 4045-75 Тиски слесарные с ручным приводом. Технические условия
ГОСТ 7502-98 Рулетки измерительные металлические. Технические условия
ГОСТ 9290-76 Обувь. Метод определения прочности ниточных швов соединения деталей верха
ГОСТ 9292-82 Обувь. Метод определения прочности крепления подошв в обуви химических методов крепления
ГОСТ 21463-87 Обувь. Нормы прочности
ГОСТ 23724-85 Колодки для спортивной обуви. Технические условия
ГОСТ 24382-80 Обувь спортивная. Размеры
В настоящем стандарте применяют следующие термины с соответствующими определениями:
3.1. Стойкость подошвы к многократному изгибу: способность подошвы выдерживать циклические нагружения с нормированными значениями деформации.
3.2. Ударная прочность подошвы: способность подошвы выдерживать ударные воздействия без разрушений и трещин.
3.3. Продольная линия: линия на ходовой стороне подошвы, соединяющая наиболее выступающие точки носка и пятки.
3.4. Поперечная линия: линия на ходовой стороне подошвы, проведенная через наиболее выступающую точку внутреннего пучка перпендикулярно к продольной линии.
3.5. Точка

: точка пересечения продольной и поперечной линий.
3.6. Точка

: точка, находящаяся на продольной линии на расстоянии 50 мм от наиболее выступающей точки пяточной части подошвы.
3.7. Зона

: область, ограниченная окружностью, проведенной из точки радиусом 15 мм.
3.8. Зона

: область, ограниченная окружностью, проведенной из точки

радиусом 10 мм.
3.9. Модуль игровой амортизации

: величина, характеризующая амортизационные свойства подошвы и определяемая отношением значений глубин проникновения тела определенной формы при приложении нормированных значений возрастающей и убывающей нагрузок.
3.10. Модуль игровой амортизации носочно-пучковой части подошвы

: модуль игровой амортизации, измеренный в точке

.
3.11. Модуль игровой амортизации пяточной части подошвы

: модуль игровой амортизации, измеренный в точке

.
4.1. Нормы прочности и спортивной комфортности приведены в таблице 1.
Наименование показателя | Норма для обуви |
баскетбольной | волейбольной | теннисной |
| | ИС МЕГАНОРМ: примечание. Значения приведены в соответствии с официальным текстом документа. | |
|
Стойкость подошвы к многократному изгибу, циклы, не менее | | 20 x 103 | |
Ударная прочность подошвы, Дж, не менее | 20 | 10 | 15 |
Модуль игровой амортизации носочно-пучковой части подошвы | |
Модуль игровой амортизации пяточной части подошвы | |
Прочность ниточных креплений деталей заготовки обуви, Н/см | По ГОСТ 21463 |
Прочность крепления подошвы с заготовкой верха обуви, Н/см |
<*> Минусовые допуски не допускаются. |
4.2. Разница значений одноименных модулей игровой амортизации в паре не должна быть более чем в 1,5 раза.
4.3. На каждой полупаре обуви должна быть нанесена несмываемая надпись в русской или латинской транскрипции, указывающая на принадлежность изделия к определенному виду спорта: "Волейбол", "Баскетбол", "Теннис".
Место нанесения надписи и метод нанесения указываются в нормативном документе на конкретные виды изделий.
6. Метод определения стойкости подошвы
к многократному изгибу
6.1. Средства испытаний и вспомогательные устройства
Специальное устройство, состоящее из двух пластин размером 100 x 40 мм, соединенных между собой, обеспечивающее изгиб образца не менее 90° с частотой 120 - 150 циклов в минуту.
Линейка измерительная по
ГОСТ 427 или рулетка измерительная металлическая по
ГОСТ 7502.
6.2. Подготовка к испытанию
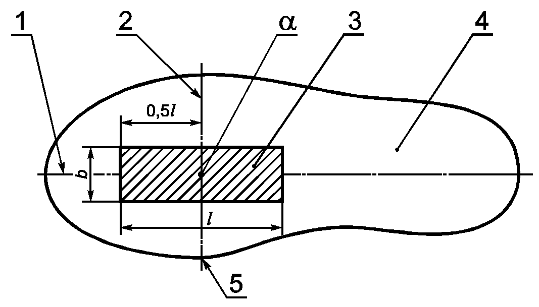
6.2.1. Для проведения испытаний вырезают образцы из носочно-пучковой части подошвы в соответствии с рисунком 1. Участок отбора образца определяют относительно продольной и поперечной линий.
1 - продольная линия; 2 - поперечная линия; 3 - образец
подошвы; 4 - подошва; 5 - наиболее выступающая точка
внутреннего пучка; l - длина образца подошвы;
b - ширина образца подошвы
Рисунок 1. Участок отбора образцов для проведения испытаний
на стойкость подошвы к многократному изгибу
Точка

является началом координат для определения длины l и ширины b образца подошвы и местом сверления отверстия диаметром (2 +/- 0,1) мм в образце.
6.2.2. Образцы вырезают прямоугольной формы следующих размеров:
100 x 40 мм - для размеров обуви 250 и более;
80 x 30 мм - для размеров обуви менее 250.
Предельные отклонения не должны превышать плюс 10 мм по длине и плюс 5 мм по ширине. Минусовые отклонения не допускаются.
Размеры обуви - по ГОСТ 24382.
На подготовленный образец наносят порядковый номер любым способом, исключающим его стирание.
6.3. Проведение испытания
6.3.1. Испытание проводят в соответствии с рисунком 2.
1 - зона крепления образца; 2 - образец подошвы;
3 - стелька; 4 - устройство для испытания
Рисунок 2. Испытание образца подошвы на многократный изгиб
Образец, предназначенный для испытаний, жестко закрепляют бандажом или другим способом, исключающим его повреждение и проскальзывание в местах закрепления, затем включают устройство.
Количество циклов при испытании образца - в соответствии с
таблицей 1.
6.3.2. Количество циклов фиксируют с погрешностью не более 0,5%.
6.4. Обработка и оформление результатов испытаний
6.4.1. Стойкость подошвы к многократному изгибу выражают в циклах.
6.4.2. Образцы считают выдержавшими испытания, если отсутствуют разрушения и трещины при заданном в
таблице 1 количестве циклов и диаметр отверстия не превышает 6 мм.
Контроль диаметра отверстия осуществляют измерительной металлической линейкой по
ГОСТ 427 или измерительной металлической рулеткой по
ГОСТ 7502.
6.4.3.
Форма записи результатов испытаний приведена в Приложении А.
7. Метод определения ударной прочности подошвы
7.1. Средства испытаний и вспомогательные устройства
Тиски слесарные по
ГОСТ 4045 или другое устройство, обеспечивающее прочный зажим обуви.
Колодки обувные по ГОСТ 23724 соответствующего размера обуви или смежного размера по ГОСТ 24382.
Линейка измерительная металлическая по
ГОСТ 427 или рулетка измерительная металлическая по
ГОСТ 7502.
Груз массой не менее 0,3 кг, имеющий в месте соприкосновения с подошвой сферу диаметром (50 +/- 5) мм.
7.2. Подготовка к испытанию
На образец обуви наносят порядковый номер любым способом, исключающим его стирание. Для проведения испытаний полупару обуви надевают на колодку, которую устанавливают на твердом основании под углом 10° - 12° и закрепляют в тисках или другом устройстве.
7.3. Проведение испытания
7.3.1. Испытания проводят в соответствии с рисунком 3 путем сбрасывания груза в зоны

и

с высоты, обеспечивающей энергию удара в соответствии с
таблицей 1.
1 - свободно падающий груз; 2 - зона

; 3 - колодка;
4 - тиски или устройство для закрепления полупары обуви;
5 - зона

; 6 - продольная линия; 7 - основание;
8 - поперечная линия; h - высота свободного падения
Рисунок 3. Испытание подошвы обуви на ударную прочность
Высоту свободного падения груза h, м, вычисляют по формуле

, (1)
где E - энергия удара, Дж;
m - масса свободно падающего груза, не менее 0,3 кг;
g - ускорение свободного падения, 9,8 м/с2.
7.3.2. Погрешность измерения не более 0,5%.
7.4. Обработка и оформление результатов испытаний
7.4.1. Ударную прочность подошвы выражают в джоулях.
7.4.2. Подошву считают выдержавшей испытания, если отсутствуют разрушения и трещины.
7.4.3.
Форма записи результатов испытаний приведена в Приложении Б.
8. Метод определения модулей игровой амортизации
носочно-пучковой и пяточной части подошвы
8.1. Средства испытаний и вспомогательные устройства
Разрывная машина марки РТ-250 или другие, обеспечивающие скорость движения нижнего зажима (100 +/- 10) мм/мин. Мощность машины не должна превышать максимальную нагрузку более чем в 10 раз.
Тиски слесарные по
ГОСТ 4045 или другое устройство, обеспечивающее прочный зажим обуви.
Колодки обувные по ГОСТ 23724 соответствующего размера обуви или смежного размера по ГОСТ 24382.
Груз массой не менее 0,3 кг, имеющий в месте соприкосновения с подошвой сферу диаметром (50 +/- 5) мм.
8.2. Подготовка к испытанию
На образец обуви наносят порядковый номер любым способом, исключающим его стирание.
Для проведения испытаний полупару обуви надевают на колодку, которую устанавливают на твердом основании под углом 10° - 12° и закрепляют в тисках или другом устройстве.
8.3. Проведение испытания
Образец обуви нагружают последовательно возрастающей нагрузкой 50, 100, 150, 200 Н в зоне

при определении модуля игровой амортизации носочно-пучковой части или в зоне

при определении модуля игровой амортизации пяточной части подошвы согласно
рисунку 3 и определяют по шкале разрывной машины глубину проникания груза при нагрузке 50, 100, 150 Н.
При достижении нагрузки 200 Н проводят последовательно снижение нагрузки до 150, 100, 50 Н и определение глубины проникания груза при нагрузке 150, 100, 50 Н.
Время приложения нагрузки - 1 - 2 мин, погрешность измерения 2%.
8.4. Обработка и оформление результатов испытаний
8.4.1. Модуль игровой амортизации носочно-пучковой части подошвы

(не имеет единицы измерения) вычисляют по формуле

, (2)
где

,

,

- модуль игровой амортизации носочно-пучковой части подошвы при нагрузке 50, 100, 150 Н.
Значение нагрузки 200 Н при расчете модуля не учитывают.
8.4.2. Модули игровой амортизации

,

,

(не имеют единицы измерения) вычисляют по формулам:

, (3)

, (4)

, (5)
где

;

;

- глубины проникания груза при приложении возрастающей нагрузки 50, 100, 150 Н;

;

;

- глубины проникания груза при убывающей нагрузке 150, 100, 50 Н.
8.4.3. Модуль игровой амортизации пяточной части подошвы

(не имеет единицы измерения) вычисляют по формуле

, (6)
где

,

,

- модуль игровой амортизации пяточной части подошвы при нагрузке 50, 100, 150 Н.
Значение нагрузки 200 Н при расчете модуля не учитывают.
8.4.4. Модули игровой амортизации

,

,

(не имеют единицы измерения) вычисляют по формулам:

, (7)

, (8)

, (9)
где

;

;

- глубины проникания груза при приложении возрастающей нагрузки 50, 100, 150 Н;

;

;

- глубины проникания груза при убывающей нагрузке 150, 100, 50 Н.
8.4.5.
Форма записи результатов испытаний приведена в Приложении В.
9. Метод определения прочности
ниточных креплений деталей заготовки обуви
Метод определения прочности ниточных креплений деталей заготовки - по ГОСТ 9290.
10. Метод определения прочности
крепления подошвы к верху обуви
Метод определения прочности крепления подошвы к верху обуви - по ГОСТ 9292.
(рекомендуемое)
ФОРМА ЗАПИСИ РЕЗУЛЬТАТОВ ОПРЕДЕЛЕНИЯ
СТОЙКОСТИ ПОДОШВЫ К МНОГОКРАТНОМУ ИЗГИБУ
Таблица А.1
Дата отбора образца | Вид обуви | Размер обуви | Номер образца | Количество циклов | Результаты испытания |
Наличие/отсутствие трещин, разрушений | Диаметр отверстия, мм |
| | | | | | |
(рекомендуемое)
ФОРМА ЗАПИСИ РЕЗУЛЬТАТОВ ОПРЕДЕЛЕНИЯ
УДАРНОЙ ПРОЧНОСТИ ПОДОШВЫ
Таблица Б.1
Дата отбора образца | Вид обуви | Номер образца | Масса груза, кг | Высота свободного падения груза, м | Энергия удара, Дж | Результаты испытания (наличие/отсутствие трещин, разрушений) |
| | | | | | |
(рекомендуемое)
ФОРМА ЗАПИСИ РЕЗУЛЬТАТОВ ОПРЕДЕЛЕНИЯ МОДУЛЯ ИГРОВОЙ
АМОРТИЗАЦИИ НОСОЧНО-ПУЧКОВОЙ И ПЯТОЧНОЙ ЧАСТИ ПОДОШВЫ
Дата отбора образца | Вид обуви | Номер образца | Зона | Глубина проникания груза, мм, при возрастающей нагрузке | Глубина проникания груза, мм, при убывающей нагрузке | Модуль игровой амортизации |
50 | 100 | 150 | 150 | 100 | 50 | образца | Среднее значение |
| | 1 2 3 | | | | | | | | | |
| | 1 2 3 | | | | | | | | | |