Главная // Актуальные документы // ГОСТ (Государственный стандарт)СПРАВКА
Источник публикации
М.: Стандартинформ, 2019
Примечание к документу
Документ
введен в действие с 01.07.2016.
Название документа
"ГОСТ IEC 60814-2014. Межгосударственный стандарт. Жидкости изоляционные. Бумага и прессованный картон, пропитанные маслом. Определение содержания воды автоматическим кулонометрическим титрованием по Карлу Фишеру"
(введен в действие Приказом Росстандарта от 29.05.2015 N 481-ст)
"ГОСТ IEC 60814-2014. Межгосударственный стандарт. Жидкости изоляционные. Бумага и прессованный картон, пропитанные маслом. Определение содержания воды автоматическим кулонометрическим титрованием по Карлу Фишеру"
(введен в действие Приказом Росстандарта от 29.05.2015 N 481-ст)
агентства по техническому
регулированию и метрологии
от 29 мая 2015 г. N 481-ст
МЕЖГОСУДАРСТВЕННЫЙ СТАНДАРТ
ЖИДКОСТИ ИЗОЛЯЦИОННЫЕ. БУМАГА И ПРЕССОВАННЫЙ КАРТОН,
ПРОПИТАННЫЕ МАСЛОМ
ОПРЕДЕЛЕНИЕ СОДЕРЖАНИЯ ВОДЫ АВТОМАТИЧЕСКИМ
КУЛОНОМЕТРИЧЕСКИМ ТИТРОВАНИЕМ ПО КАРЛУ ФИШЕРУ
Insulating liquids. Oil-impregnated paper and pressboard.
Determination of water content by automatic coulometric
Karl Fisher titration
(IEC 60814:1997, Insulating liquids - Oil-impregnated paper
and pressboard - Determination of water by automatic
coulometric Karl Fisher titration,
IDT)
ГОСТ IEC 60814-2014
Дата введения
1 июля 2016 года
Цели, основные принципы и основной порядок проведения работ по межгосударственной стандартизации установлены в
ГОСТ 1.0-2015 "Межгосударственная система стандартизации. Основные положения" и
ГОСТ 1.2-2015 "Межгосударственная система стандартизации. Стандарты межгосударственные, правила и рекомендации по межгосударственной стандартизации. Правила разработки, принятия, обновления и отмены"
1 ПОДГОТОВЛЕН Федеральным государственным унитарным предприятием "Всероссийский научно-исследовательский центр стандартизации, информации и сертификации сырья, материалов и веществ" (ФГУП "ВНИЦСМВ") на основе официального перевода на русский язык англоязычной версии указанного в
пункте 5 стандарта, который выполнен ФГУП "СТАНДАРТИНФОРМ"
2 ВНЕСЕН Федеральным агентством по техническому регулированию и метрологии
3 ПРИНЯТ Межгосударственным советом по стандартизации, метрологии и сертификации (протокол от 5 декабря 2014 г. N 46)
За принятие проголосовали:
Краткое наименование страны по МК (ИСО 3166) 004-97 | Код страны по МК (ИСО 3166) 004-97 | Сокращенное наименование национального органа по стандартизации |
Армения | AM | Минэкономики Республики Армения |
Беларусь | BY | Госстандарт Республики Беларусь |
Киргизия | KG | Кыргызстандарт |
Молдова | MD | Молдова-Стандарт |
Россия | RU | Росстандарт |
Таджикистан | TJ | Таджикстандарт |
Узбекистан | UZ | Узстандарт |
4
Приказом Федерального агентства по техническому регулированию и метрологии от 29 мая 2015 г. N 481-ст межгосударственный стандарт ГОСТ IEC 60814-2014 введен в действие в качестве национального стандарта Российской Федерации с 1 июля 2016 г.
5 Настоящий стандарт идентичен международному стандарту IEC 60814:1997 "Изоляционные жидкости. Бумага и прессованный картон, пропитанные маслом. Определение содержания воды автоматическим кулонометрическим титрованием по Карлу Фишеру" ("Insulating liquids - Oil-impregnated paper and pressboard - Determination of water by automatic coulometric Karl Fisher titration").
Международный стандарт разработан техническим комитетом IEC/TC 10 "Жидкости для применения в электротехнике" Международной электротехнической комиссии.
Наименование настоящего стандарта изменено относительно наименования указанного стандарта для приведения в соответствие с ГОСТ 1.5
(подраздел 3.6).
Официальные экземпляры международного стандарта, на основе которого подготовлен настоящий межгосударственный стандарт, и международных стандартов, на которые даны ссылки, имеются в Федеральном информационном фонде стандартов.
При применении настоящего стандарта рекомендуется использовать вместо ссылочных международных стандартов соответствующие им межгосударственные стандарты, сведения о которых приведены в дополнительном
приложении ДА
6 ВВЕДЕН ВПЕРВЫЕ
7 ПЕРЕИЗДАНИЕ. Март 2019 г.
Информация об изменениях к настоящему стандарту публикуется в ежегодном информационном указателе "Национальные стандарты", а текст изменений и поправок - в ежемесячном информационном указателе "Национальные стандарты". В случае пересмотра (замены) или отмены настоящего стандарта соответствующее уведомление будет опубликовано в ежемесячном информационном указателе "Национальные стандарты". Соответствующая информация, уведомление и тексты размещаются также в информационной системе общего пользования - на официальном сайте Федерального агентства по техническому регулированию и метрологии в сети Интернет (www.gost.ru)
Настоящий стандарт устанавливает методы определения содержания воды в изоляционных жидкостях и пропитанных маслом бумаге и прессованном картоне (далее - целлюлозная изоляция) автоматическим кулонометрическим титрованием с реактивом Карла Фишера.
Метод по
разделу 2 настоящего стандарта применим для изоляционных жидкостей с содержанием воды более 2 мг/кг, имеющих вязкость менее 100 мм
2/с при температуре 40 °C.
Метод испытания по
разделу 3 настоящего стандарта, включающий выделение воды струей азота, является предпочтительным для изоляционных жидкостей, вязкость которых более 100 мм
2/с.
В
разделе 4 изложены методы определения содержания воды в целлюлозной изоляции в диапазоне концентраций от 0,1% масс. до 20% масс.
Для применения настоящего стандарта необходимы следующие ссылочные стандарты. Для датированных ссылок применяют только указанное издание ссылочного стандарта.
IEC 60475:2011 Method of sampling liquid dielectrics (Метод отбора проб жидких диэлектриков)
IEC 60567:2011 Guide for the sampling of gases and of oil from oil-filled electrical equipment and for analysis of free and dissolved gases (Руководство по отбору проб газа и масла из маслонаполненного электрооборудования и для анализа свободных и растворенных газов)
ISO 595-1:1986 Reusable all-glass or metal-and-glass syringes for medical use - Part 1: Dimensions (Шприцы медицинские стеклянные или металлостеклянные многократного применения. Часть 1. Размеры) <*>
ISO 595-2:1987 Reusable all-glass or metal-and-glass syringes for medical use - Part 2: Design, performance requirements and tests (Шприцы медицинские стеклянные или металлостеклянные многократного применения. Часть 2. Конструкция, эксплуатационные требования и методы испытаний) <*>
--------------------------------
<*> Отменен.
2 Прямое титрование жидкостей с низкой вязкостью
Настоящий метод применим для жидкостей с концентраций воды не менее 2 мг/кг, имеющих вязкость не более 100 мм
2/с при температуре 40 °C. Показатели прецизионности, приведенные в
2.10, применяют только для свежих жидкостей.
Примечания
1 Для жидкостей, находящихся в эксплуатации, на точность метода может влиять присутствие примесей и продуктов разложения.
2 Настоящий метод разработан специально для углеводородных и сложноэфирных жидкостей. Для других жидкостей, особенно силиконовых жидкостей, следует использовать реактивы, не содержащие метанол.
Реакции, происходящие при титровании методом Карла Фишера, являются сложными. В основном это взаимодействие воды с йодом, диоксидом серы, органическим основанием и спиртом в органическом растворителе. В состав исходного реактива Карла Фишера входят пиридин и метанол, а реакции можно записать следующим образом:

(1)

(2)
Возможны другие комбинации растворов основание-спирт, которые могут потребоваться для титрования некоторых изоляционных жидкостей.
При кулонометрическом титровании по Карлу Фишеру пробу перемешивают с раствором основание-спирт, содержащим ионы йода и диоксид серы. При электролизе образуется йод и вступает в реакцию с водой в соответствии с
уравнениями реакций (1) и
(2). Количество образовавшегося йода пропорционально количеству электричества согласно закону Фарадея в соответствии со следующим уравнением

(3)
Один моль йода реагирует с одним молем воды стехиометрически, как показано в
уравнении (1), так что 1 мг воды эквивалентен 10,72 Кл. На основании этого принципа можно определить количество воды по количеству электричества, требуемого для электролиза.
2.3.1 Принцип работы
Сосуд для титрования имеет конфигурацию электролитической ячейки с двумя отделениями, разделенными пористой перегородкой. Анодное отделение содержит смесь растворителя (реактива) и пробы (анодный раствор), а катодное отделение (сборка генератора) содержит безводный реактив (катодный раствор). По обе стороны пористой перегородки расположены электроды для электролиза.
Примечание - Можно использовать титраторы без пористой перегородки.
Йод, образовавшийся при электролизе, как приведено в
уравнении (3), реагирует с водой по
уравнениям реакции Карла Фишера (1) и
(2). Конечную точку реакции определяют двойным платиновым электродом, погруженным в анодный раствор. В конце титрования избыток йода деполяризует двойной платиновый электрод, изменяя таким образом соотношение ток/напряжение, что используют для активации индикатора конечной точки и остановки интегратора тока.
Интегратор тока суммирует ток, использованный в процессе электролиза, вычисляет эквивалент воды по закону Фарадея и выводит на дисплей количество воды в микрограммах.
2.3.2 Описание прибора
В потенциометрических титраторах Карла Фишера, имеющихся в продаже, используется патентованная схема. Следующее описание одного из подходящих видов прибора приводится только для примера.
Блок-схема автоматического титратора приведена на
рисунке 1 и включает прибор и компоненты, описанные ниже.
1 - сосуд для титрования в сборе; 2 - схема детектора;
3 - схема регулирования силы тока; 4 - схема питания
(электролиз); 5 - дисплей, отображающий конечную
точку титрования; 6 - интегратор тока;
7 - электромагнитная мешалка
Рисунок 1 - Блок-схема автоматического титратора
2.3.2.1 Сосуд для титрования в сборе
Пример подходящего сосуда для титрования в сборе приведен на
рисунке 2. Изменения в технологии могут существенно изменить конструкцию прибора, но при этом прибор будет соответствовать техническим требованиям настоящего стандарта.
a - сосуд для титрования (анодное отделение);
b - ответвление для ввода пробы; c - сливной кран;
d - политетрафторэтиленовая крышка; e - генератор в сборе
(катодное отделение); f - двойной платиновый электрод
для измерения потенциала; g - магнитная мешалка
с политетрафторэтиленовым покрытием;
h - осушающие трубки
Рисунок 2 - Подходящий сосуд для титрования в сборе
Прибор состоит из:
- стеклянного сосуда для титрования с фланцем a с ответвлением для ввода пробы b и сливным краном c (при наличии);
- фланцевой крышки из политетрафторэтилена d, соответствующей сосуду для титрования, с тремя отверстиями для электродов и осушающей трубки;
- генератора в сборе (комбинированной электролитической ячейки) e, состоящего из стеклянной трубки, закрытой с нижнего конца диафрагмой и оснащенной платиновыми электродами по обе стороны диафрагмы.
Примечание - Для предотвращения диффузии обоих растворов можно использовать диафрагму из ионообменной мембраны, пористого диска, керамического фильтра или другого материала, обеспечивающего достаточную проводимость тока для электролиза;
- электродов детектора: двойного платинового электрода для измерения потенциала или тока f;
- магнитной мешалки с политетрафторэтиленовым покрытием g;
- осушающих трубок h для защиты сосуда для титрования и генераторного узла от атмосферной влаги;
- силиконовой мембраны для герметизации ответвления для ввода пробы.
Рекомендуется перед проведением испытания нанести на мембрану перекрестную насечку для облегчения применения игл с тупым нескошенным концом для ввода пробы [см.
2.4.2, перечисление d)].
Мембрану заменяют по мере необходимости для предотвращения попадания воздуха, на что указывает избыточный дрейф прибора.
2.3.2.2 Схема обнаружения
Прямой ток постоянного напряжения или переменный ток постоянной силы подают на электроды детектора (двойной платиновый измерительный электрод) так, чтобы можно было обнаружить конечную точку по изменению поляризации тока или напряжения.
2.3.2.3 Схема регулятора силы тока
Эта схема контролирует электролиз по сигналу от детектора цепи.
2.3.2.4 Источник постоянного тока
Источник питания постоянного тока для электролиза.
2.3.2.5 Индикатор конечной точки
Индикатор конечной точки показывает достижение конечной точки титрования.
2.3.2.6 Интегратор тока
Интегратор тока измеряет количество электричества, потребляемого электролитической ячейкой во время титрования, затем рассчитывает и выводит на дисплей количество воды (мкг), соответствующее этому количеству электричества.
Примечание - Некоторые приборы имеют встроенные вычислительные устройства и выводят на дисплей концентрацию воды для конкретного количества пробы.
2.3.2.7 Электромагнитная мешалка
Электромагнитная мешалка, поддерживающая постоянную скорость, достаточную для обеспечения требуемого диспергирования (содержимое сосуда для титрования обычно расслаивается, поскольку большинство изоляционных жидкостей не полностью смешивается с жидкими реактивами).
2.4 Реактивы и вспомогательные материалы
Предупреждение - Некоторые реактивы могут быть опасными для здоровья и требуют правильного обращения и утилизации.
2.4.1 Реактивы
В продаже имеются готовые реактивы, при этом необходимо, чтобы реактив подходил к конкретному типу используемого прибора и испытуемой изоляционной жидкости.
Реактивы на основе метанола могут взаимодействовать с изоляционными жидкостями на основе кремнийорганических соединений, что затрудняет проведение испытания. Аналогичные реакции могут произойти с альдегидами, некоторыми кетонами и сопряженными ненасыщенными органическими кислотами, которые могут присутствовать в продуктах разложения масел или примесях. В этих случаях рекомендуется использовать реактивы, не содержащие метанол.
Примечание - Для некоторых изоляционных жидкостей может потребоваться применение дополнительных или альтернативных растворителей.
2.4.2 Вспомогательные материалы
a) Нейтрализующий раствор - метанол, содержащий примерно 20 мг воды в 1 см3.
b) Осушитель, например безводный перхлорат магния или силикагель с собственным индикатором.
c) Консистентная смазка на основе политетрафторэтилена или фторированных углеводородов. Имеющиеся в продаже смазки соответствуют этим требованиям.
d) Стеклянные шприцы для дозирования и ввода пробы. Шприцы вместимостью 10 и 5 см
3 по ISO 595-1 и ISO 595-2 с иглами подходящего диаметра и длины. Для обычного применения подходят иглы длиной 100 мм и диаметром отверстия 1 мм. Предпочтительны иглы с тупым нескошенным концом, применение которых приводит к минимальному повреждению мембраны.
Готовят и собирают прибор, вводят реактивы и выполняют процедуру стабилизации в соответствии с инструкциями изготовителя.
Если отобранные пробы предназначены для дополнительных определений, сначала необходимо определить содержание воды.
2.6.1 Регулярный отбор проб
Для приемо-сдаточных испытаний используют методы отбора проб по IEC 60475. Бутылки для отбора проб сушат в сушильном шкафу при температуре (115 +/- 5) °C в течение 16 - 24 ч.
2.6.2 Рекомендуемый метод отбор проб
Для повышения точности и особенно при очень низком содержании воды используют процедуры по IEC 60567, раздел 4. Бутылки для отбора проб подготавливают по IEC 60567 (пункт 2.7.1). Шприцы и иглы извлекают из упаковки, сушат при температуре (115 +/- 5) °C не менее 8 ч, охлаждают в эксикаторе с безводным силикагелем и хранят в этом эксикаторе до использования.
Примечание - Применение объединенной или усредненной пробы не рекомендуется, т.к. это может повлиять на точность определения.
2.6.3 Хранение проб
Пробы для определения воды должны быть защищены от воздействия прямого солнечного света. До испытания пробы хранят в темном месте не более 7 дней.
a) Для проб, отобранных в бутылки: стеклянный шприц и иглу подходящего размера моют и сушат в хорошо вентилируемом сушильном шкафу при температуре (115 +/- 5) °C. Охлаждают в эксикаторе. Заполняют шприц изоляционной жидкостью, опуская конец иглы значительно ниже поверхности жидкости. Быстро закрывают бутылку с пробой после отбора. Держа шприц вертикально иглой вверх, выпускают воздушные пузырьки. Сливают содержимое шприца в отходы. Снова наполняют шприц и взвешивают с точностью до 0,1 г.
Для проб, отобранных в шприц: выпускают примерно 2 см3 пробы из шприца, чтобы промыть иглу, и взвешивают шприц с точностью до 0,1 г.
Объем пробы зависит от ожидаемого диапазона содержания влаги. Для большинства типов свежих и использованных изоляционных жидкостей с содержанием воды от 2 до 100 мг/кг оптимальным считается объем пробы 5 см3.
b) Настраивают прибор для титрования согласно инструкциям изготовителя и быстро вводят в сосуд для титрования через мембрану соответствующую массу пробы. Нельзя касаться иглой поверхности реактива. Снова взвешивают шприц и записывают массу введенной пробы
M в граммах.
Необходимо обеспечить тщательное перемешивание масла с растворителем. Скорость мешалки нельзя изменять после того, как прибор пришел в равновесие или в процессе титрования.
c) Фиксируют количество оттитрованной воды
m (мкг) по дисплею после завершения титрования.
d) Выполняют повторное определение. Промывают шприц дважды пробой масла, затем заполняют и взвешивают аналогично
перечислению a). Выполняют процедуры по
перечислениям b) и
c).
e) После выполнения нескольких определений может скопиться значительное количество изоляционной жидкости. Избыток жидкости удаляют в соответствии с инструкциями изготовителя, это относится к уровню и анодного и катодного реактивов. Проводят повторную стабилизацию аппарата.
После неоднократного удаления избытка жидкости аппарат для титрования и генерирующий электрод рекомендуется заполнить свежими растворами и повторить процедуру стабилизации.
Содержание воды в изоляционной жидкости, мг/кг, вычисляют по формуле
Содержание воды = m/M, (4)
где m - количество оттитрованной воды, мкг;
M - масса изоляционной жидкости, г.
За содержание воды в пробе изоляционной жидкости принимают среднеарифметическое значение результатов двух определений с точностью до целого числа в миллиграммах на килограмм.
Примечание - Показатели прецизионности установлены для изоляционных жидкостей на углеводородной основе.
2.10.1 Повторяемость (сходимость)
Расхождение результатов последовательных испытаний, полученных одним и тем же оператором с использованием одной и той же аппаратуры при постоянных условиях на идентичном испытуемом материале в течение длительного времени при нормальном и правильном использовании метода, может превышать

(мг/кг) только в одном случае из двадцати, где
x - среднеарифметическое значение результатов последовательных испытаний.
2.10.2 Воспроизводимость
Расхождение двух отдельных и независимых результатов испытаний, полученных разными операторами в разных лабораториях на идентичном испытуемом материале в течение длительного времени при нормальном и правильном использовании метода, может превышать

(мг/кг) только в одном случае из двадцати, где
x - среднеарифметическое значение результатов двух испытаний.
3 Метод выпаривания воды из жидкостей с высокой вязкостью
Данный метод предназначен для определения содержания воды в неиспользованных изоляционных жидкостях, имеющих вязкость не менее 100 мм2/с при температуре 40 °C. Этот метод применяют, в основном, для концентраций воды в изоляционных жидкостях не менее 2 мг/кг.
Примечание - В качестве альтернативного метода для жидкостей с высоким значением вязкости можно использовать определение содержания воды методом по
разделу 2 после разбавления подходящим растворителем. Прецизионность метода будет зависеть от степени разбавления, содержания воды и вязкости использованного растворителя.
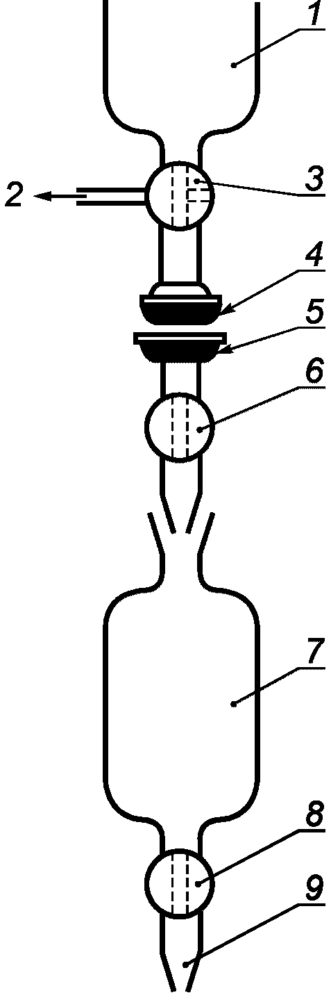
Известное количество изоляционной жидкости нагревают в закрытом сосуде, расположенном рядом с прибором Карла Фишера. Выделенную воду количественно переносят в сосуд для титрования струей сухого газообразного азота и выполняют кулонометрическое титрование.
Блок-схема аппарата, приведенного на
рисунке 3, включает:
- титратор: автоматический кулонометрический титратор Карла Фишера (см.
2.3);
- испаритель: стеклянный сосуд вместимостью 100 см
3 с входной трубкой для подачи азота внутренним диаметром 1,25 мм
(рисунок 4);
- нагреватель: чистый, прозрачный электропроводный стеклянный нагреватель;
- автоматический регулятор температуры, обеспечивающий поддержание температуры с точностью +/- 2 °C;
- газ-носитель: газообразный азот технической чистоты с содержанием воды не более 10 мкл/дм3;
- осушители для газа-носителя: одна колонка с силикагелем и две колонки с пентоксидом фосфора;
Примечание - Если присутствуют мешающие соединения, используют подходящие реактивы для титратора, что особенно важно для прямого ввода пробы.
| | ИС МЕГАНОРМ: примечание. Текст дан в соответствии с официальным текстом документа. | |
1 - расходомер; 2 - осушающая трубка с силикагелем;
3, 4 - осушающие трубки с пентоксидом фтора; 5 - стеклянный
сосуд испарителя с нагревателем; 6 - регулятор температуры;
7 - камера для титрования; 8 - блок управления
Рисунок 3 - Блок-схема автоматического титратора
и блока для выпаривания
1 - входная трубка для подачи азота; 2 - термопара;
3 - закрытый мембраной вход для ввода пробы; 4 - выходная
трубка для подачи выпаренной воды в токе азота;
5 - нагреватель; 6 - сливной кран
Рисунок 4 - Стеклянный сосуд испарителя с нагревателем
a) Включают и настраивают титратор Карла Фишера по процедуре, приведенной в
2.5.
b) Вводят в испаритель через мембрану для ввода проб объем (примерно 10 см3) исходного масла, достаточный для того, чтобы погрузить в него кончик трубки для барботирования азота. Исходное масло может представлять собой подлежащую испытанию изоляционную жидкость или любое другое смешивающееся масло, которое не взаимодействует с пробой и имеет вязкость при рабочей температуре, аналогичную вязкости анализируемого масла.
c) Устанавливают температуру испарителя (130 +/- 5) °C и дают температуре стабилизироваться. Продувают всю систему сухим азотом со скоростью от 50 до 200 см3/мин, чтобы тщательно просушить исходное масло, о чем свидетельствует низкое и стабильное показание фонового тока.
d) Включают титратор. Титруют две холостые пробы, каждая из которых приготовлена на основе исходного масла, в течение 10 мин по процедурам в соответствии с
перечислениями f) и
g). Если результаты испытания двух холостых проб отличаются не более чем на 5 мкг воды, фиксируют среднеарифметическое значение холостой пробы
m1, если результаты отличаются более чем на 5 мкг воды, может потребоваться дополнительное просушивание базового масла.
e) Вводят необходимое количество изоляционной жидкости
M в сосуд испарителя с помощью шприца (минимальный внутренний диаметр иглы - 2 мм) или другого подходящего пробоотборника. Для получения точной массы пробы взвешивают шприц до и после ввода жидкости. Используют пробу массой 10 г при содержании воды более 10 мг/кг и (20 +/- 5) г - при содержании воды менее 10 мг/кг.
f) Отключают титратор на главном блоке, останавливают титрование на 10 мин, чтобы влага, выделившаяся в испарителе, аккумулировалась в титровальной камере.
g) Через 10 мин включают титратор и титруют до конечной точки.
h) Фиксируют количество оттитрованной воды
m2 по прибору Карла Фишера.
Примечание - Если содержание воды более 50 мг/кг и/или масса пробы равна 10 г, существует вероятность неполного испарения воды. В таких случаях испытание повторяют в соответствии с
перечислениями e) -
h), используя более длительный промежуток остановки титрования и/или меньшее количество масла. На титраторах некоторых конструкций этого можно достичь, установив более длительное время остановки титрования.
i) Для подтверждения стабильности рабочих условий следует выполнить еще одно холостое определение в течение 10 мин. Если полученное значение будет отличаться не более чем на 5 мкг от среднеарифметического значения для холостой пробы
m1, дальнейшее титрование не требуется.
j) Выполняют параллельное определение.
Для каждого отдельного определения вычисляют содержание воды, мг/кг, по формуле

(5)
где m2 - масса воды, оттитрованной во время анализа пробы, мкг;
m1 - среднеарифметическое значение массы воды для холостой пробы, мкг;
M - масса пробы, г.
За содержание воды в пробе изоляционной жидкости принимают среднеарифметическое значение результатов двух определений. В протоколе испытаний указывают содержание воды с точностью до целого числа в миллиграммах на килограмм.
4 Определение воды в бумаге и прессованном картоне, пропитанных маслом
Для определения содержания воды в пропитанных маслом бумаге и прессованном картоне (далее - целлюлозная изоляция) используют три метода:
- в методе по
4.2 воду сначала экстрагируют метанолом, и определение выполняют на экстракте;
- в методе по
4.3 экстрагирование воды проводят непосредственно в сосуде для титрования (см.
примечание);
Примечание - Этот метод применяют только для целлюлозной изоляции толщиной не более 1 мм, поскольку из образца материала, пропитанного маслом, большей толщины невозможно осуществить полное экстрагирование в течение обычной продолжительности испытания.
- в методе по
4.4 образец целлюлозной изоляции нагревают в сушильной печи, находящейся рядом с прибором Карла Фишера; образующийся водяной пар количественно переносят в сосуд для титрования струей сухого газообразного азота.
4.2 Определение воды после предварительного экстрагирования метанолом
4.2.1 Реактивы и вспомогательные материалы
Предупреждение - Некоторые реактивы могут быть опасными для здоровья и требуют правильного обращения и утилизации.
Дополнительно к реактивам и материалам, перечисленным в
2.4, требуются:
a) метанол квалификации ч.д.а. с содержанием воды не более 0,05%;
b) подходящий растворитель, не содержащий хлора, технической чистоты;
c) магниевая стружка.
4.2.2 Аппаратура
a) Кулонометрический титратор Карла Фишера
(2.3).
b) Аппарат для перегонки метанола.
c) Контейнер для метанола. Контейнер сушат. Дистиллированный метанол защищают от атмосферной влаги осушающей трубкой. Нижняя часть контейнера должна быть оснащена сливным краном и шаровым шарнирным соединением для присоединения трубки для экстрагирования
(рисунок 5).
1 - нижняя часть контейнера для метанола; 2 - к вакуумному
насосу; 3 - трехходовый кран; 4 - шаровое шарнирное
соединение с шлифом S 19/9 (шарик); 5 - шаровое шарнирное
соединение с шлифом S 19/9 (чашка); 6 - верхний кран;
7 - трубка для экстрагирования вместимостью 125 см3;
8 - нижний кран; 9 - коническое соединение с шлифом 14/23
Рисунок 5 - Контейнер с метанолом
и трубка для экстрагирования
d) Градуированные газонепроницаемые трубки вместимостью примерно 50 см3.
e) Металлические щипцы.
4.2.3 Подготовка оборудования
Стеклянное оборудование и металлические щипцы тщательно моют после предыдущих испытаний подходящим моющим раствором, мыльной водой или растворителем, не содержащим хлор, ополаскивают теплой водой, затем деионизированной водой, затем метанолом. После промывания оборудование сушат в сушильном шкафу при температуре (115 +/- 5) °C в течение ночи, затем охлаждают в эксикаторе до температуры окружающей среды.
4.2.4 Проведение испытаний
a) Перегоняют метанол над магниевой стружкой для снижения содержания воды до не более 200 мг/кг. Собирают дистиллированный метанол в соответствующий сухой контейнер, защищенный от атмосферной влаги осушающей трубкой, заполненной перхлоратом магния.
Определяют содержание воды в метаноле и записывают полученное значение.
b) Помещают в трубку для экстрагирования образец пропитанной маслом целлюлозной изоляции.
Примечания
1 Выбирают такую массу образца, чтобы масса определяемой воды была от 1 до 4 мг.
2 Рекомендуется для улучшения экстрагирования разрезать образец целлюлозной изоляции, если он слишком толстый, избегая изменения содержания в нем влаги во время разрезания за счет паров воды в атмосфере.
c) Присоединяют экстракционную трубку к контейнеру с сухим метанолом, открывают верхний кран, соединяют с вакуумной линией на очень короткое время и, используя подходящую бюретку, вводят от 1 до 10 см
3 метанола. Перекрывают верхний кран и отсоединяют трубку.
d) Повторяют процедуру по
перечислению c) с другой трубкой, не содержащей образец целлюлозной изоляции. Трубку используют как холостой опыт.
e) Встряхивают трубки с пробой и без пробы в течение 2 ч.
f) Включают титратор Карла Фишера в соответствии с процедурами по
2.5.
g) Присоединяют трубку с образцом целлюлозной изоляции к сосуду для титрования, переносят метанол в растворитель и титруют до конечной точки. Фиксируют массу оттитрованной воды
m2 по показаниям на дисплее титратора.
h) Повторяют процедуру по
перечислению g) с трубкой без образца (холостой опыт) и записывают показание на дисплее титратора
m1.
i) Извлекают целлюлозную изоляцию из трубки, обезжиривают растворителем, не содержащим хлора, и сушат при температуре (110 +/- 5) °C не менее 2 ч. Охлаждают образец целлюлозной изоляции в эксикаторе, затем взвешивают. Записывают массу целлюлозной изоляции M в граммах.
j) Выполняют параллельное определение.
4.2.5 Вычисления
Для каждого отдельного определения вычисляют содержание воды, % масс., по формуле

(6)
где m2 - масса воды, измеренная при титровании экстракта образца целлюлозной изоляции, мкг;
m1 - масса воды, измеренная в холостом опыте, мкг;
M - масса образца целлюлозного материала, г.
4.2.6 Протокол испытаний
За содержание воды в образце целлюлозной изоляции принимают среднеарифметическое значение результатов повторных определений с точностью до 0,01%. Также необходимо указать содержание воды в использованном метаноле.
4.3 Определение воды прямым титрованием
4.3.1 Реактивы и вспомогательные материалы
В дополнение к реактивам и материалам, перечисленным в
2.4, требуется подходящий растворитель, не содержащий хлора, для обезжиривания образца.
4.3.2 Аппаратура
a) Кулонометрический титратор Карла Фишера по
2.3.
b) Металлические щипцы.
4.3.3 Проведение испытаний
a) Настраивают титратор Карла Фишера, как описано в
2.5.
b) По возможности быстро вводят образец целлюлозной изоляции с помощью просушенных металлических щипцов в сосуд для титрования.
c) Отключают титратор, останавливают титрование на 15 - 25 мин (точное время определяет оператор) для перехода влаги из целлюлозной изоляции в растворитель. В конце экстрагирования включают титратор и титруют до конечной точки.
d) Фиксируют количество оттитрованной воды m2 по показанию на дисплее прибора Карла Фишера.
e) Выполняют холостой опыт такой же продолжительности для оценки количества влаги, попадающей в систему при испытании. Записывают показание массы воды m1.
Некоторые конструкции титратора позволяют непрерывно отслеживать дрейф и автоматически вычитать его из показания содержания воды. В таком случае выполнение холостого опыта не обязательно, однако необходимо следить за стабильностью рабочих условий при титровании.
Примечание - Важно сократить до минимума продолжительность испытания, которую оператор определяет на основе собственного опыта и типа исследуемой пробы. При необходимости оптимальную продолжительность можно определить при повторном выполнении процедуры, используя более длительное время экстрагирования, до получения постоянных результатов. Для получения воспроизводимых результатов серии испытаний рекомендуется использовать одинаковое время экстрагирования для всей серии.
f) Извлекают целлюлозную изоляцию из сосуда для титрования, обезжиривают растворителем и сушат при температуре (110 +/- 5) °C не менее 2 ч. Охлаждают целлюлозную изоляцию в эксикаторе, затем взвешивают. Записывают массу материала M в граммах.
g) Выполняют повторное определение.
4.3.4 Вычисления
Для каждого отдельного определения вычисляют содержание воды, % масс., по формуле

(7)
где m2 - масса воды, измеренная при титровании образца целлюлозной изоляции, мкг;
m1 - масса воды, измеренная в холостом опыте, мкг;
M - масса целлюлозной изоляции, г.
4.3.5 Протокол испытаний
За содержание воды в образце целлюлозной изоляции принимают среднеарифметическое значение результатов повторных измерений с точностью до 0,01%. Также необходимо указать содержание воды в холостом опыте.
4.4 Определение воды методом выделения
4.4.1 Аппаратура
Блок-схема прибора приведена на
рисунке 3, компоненты перечислены в
3.3.
Для выделения воды из твердого материала (целлюлозной изоляции) газом пригоден испаритель в форме лодочки.
4.4.2 Проведение испытаний
a) Настраивают по
2.7 титратор Карла Фишера.
b) Нагревают испаритель до соответствующей температуры (130 °C - для бумаги или картона, пропитанных маслом с низким значением вязкости, 140 °C - для бумаги или картона, пропитанных маслами или соединениями с высоким значением вязкости).
c) Регулируют поток газа-носителя для обеспечения постоянной скорости от 50 до 100 см3/мин. Вводят конец выходной трубки для подачи газа-носителя в сосуд для титрования и дают системе стабилизироваться, о чем свидетельствует низкое и стабильное значение показаний фонового тока (дрейф).
d) Быстро вводят образец целлюлозной изоляции из колбы для хранения в сосуд испарителя. Для целлюлозной изоляции с низким содержанием влаги достаточна масса образца приблизительно 0,5 г.
e) Отключают титратор, останавливают титрование на 20 мин для поглощения влаги, выделенной в испарителе, в сосуде для титрования. Затем включают титратор и титруют до конечной точки. Считывают количество оттитрованной воды m2 с дисплея прибора Карла Фишера
Примечание - Время выделения зависит от характеристик пробы и параметров системы. Подходящим в основном считается время 20 мин, но оптимальные рабочие условия определяет оператор. Для получения воспроизводимых результатов серии испытаний используют один и тот же период выделения для всей серии.
f) Выполняют холостой опыт такой же продолжительности, чтобы оценить количество влаги, попадающей в систему в процессе испытания. Записывают показание массы воды m1.
Некоторые конструкции титратора позволяют непрерывно отслеживать дрейф и автоматически вычитать его из показания воды. В таком случае выполнение холостого опыта не обязательно, но необходимо следить за стабильностью рабочих условий при титровании.
g) Извлекают целлюлозную изоляцию из испарителя, промывают растворителем и сушат при температуре (110 +/- 5) °C не менее 2 ч. Охлаждают целлюлозную изоляцию в эксикаторе, затем взвешивают. Записывают массу материала M в граммах.
h) Выполняют повторное определение.
4.4.3 Вычисления
Для каждого отдельного определения вычисляют содержание воды, % масс., по формуле

(8)
где m2 - масса воды, поглощенной в сосуде для титрования из образца, мкг;
m1 - масса воды, измеренная в холостом опыте, мкг;
M - масса целлюлозного материала, г.
4.4.4 Протокол испытаний
За содержание воды в образце целлюлозной изоляции принимают среднеарифметическое значение результатов повторных определений с точностью до 0,01%. Также необходимо указать содержание воды в холостом опыте.
(справочное)
МЕТОДЫ ОТБОРА ОБРАЗЦОВ БУМАГИ И ПРЕССОВАННОГО КАРТОНА,
ПРОПИТАННЫХ МАСЛОМ
A.1 Общие положения
В настоящем приложении изложены некоторые процедуры методов отбора образцов пропитанной маслом целлюлозной изоляции из электрооборудования, заполненного маслом. Эти методы могут служить руководством для недостаточно опытных работников, также приведены основные меры предосторожности, которые необходимо соблюдать.
Метод отбора образцов зависит от типа рассматриваемой изоляции (например, в кабеле или трансформаторе). Однако в каждом отдельном случае важно избежать обмена влаги между зоной изоляции, от которой берут образец, и окружающей средой. По этой причине рекомендуется отбирать образцы от части изоляции, погруженной в пропитывающий материал, или немедленно после извлечения из него.
При возможности рекомендуется отбирать образцы бумаги с помощью режущего инструмента; допускается использовать лезвие бритвы, скальпель, ножницы и т.п.
A.2 Отбор образцов кабеля
A.2.1 Отбор в качестве образца части кабеля
Кабель поднимают в положение, в котором его будут резать; зачищают металлическую оболочку кабеля в двух точках, расположенных на расстоянии не менее 50 см друг от друга для снижения нагрузки на металлические концы торцевых заглушек после отрезания образца.
Первый разрез выполняют в соответствующем положении в пределах одного из зачищенных участков, используя электропилу или ручную пилу, или абразивный режущий диск, конец предполагаемого образца быстро закрывают металлической торцевой заглушкой, снабженной гайкой и ниппелем для сброса давления масла во время этой процедуры.
Второй разрез выполняют в пределах второго зачищенного участка на расстоянии не менее 50 см от первого разреза и повторяют процедуру установки заглушки.
Оба отрезанных конца оставшегося кабеля закрывают аналогичным образом.
При отсутствии металлических концевых заглушек можно использовать стягиваемые при нагревании или другие пластиковые заглушки, при условии надежного фиксирования на кабеле. В этом случае до отбора образца бумаги рекомендуется поместить образец кабеля в жестяную емкость или другой закрытый контейнер с минимальным остаточным воздушным пространством.
A.2.2 Разрезание кабеля и отбор образцов бумаги
После получения лабораторией образца кабеля, если возможно отрезают кабель длиной примерно 30 см. Для этого помещают образец кабеля в защитную перчаточную камеру, продутую сухим азотом. Подают азот из имеющегося в продаже газового баллона, пропустив через сушильную трубку, заполненную перхлоратом магния, используемым в качестве осушителя, для снижения точки росы азота до минус 56 °C. Периодически меняют осушитель. Образец кабеля разрезают в защитной перчаточной камере.
Для каждого сердечника кабеля отбирают образцы бумаги, используя специальный режущий инструмент по
A.3.2, не менее чем в двух местах, расположенных на разном расстоянии от проводника.
Удаляют первые два или три слоя. Образцы отбирают от следующих пяти или шести слоев, затем от восьми слоев, наиболее близко расположенных от проводника. Образцы бумаги не отбирают вблизи концов кабеля, поскольку они могли впитать влагу в момент отбора образца кабеля. Образцы бумаги помещают в специальные герметично закрываемые колбы для хранения (см.
A.4).
Все процедуры выполняют по возможности быстро. Колбы, содержащие образцы бумаги, извлекают из защитной перчаточной камеры и проводят определение влаги максимально быстро по
разделу 4 настоящего стандарта.
A.3 Отбор образцов из трансформаторов
A.3.1 Отбор образцов бумаги и прессованного картона, пропитанных маслом, от тонкой изоляции (толщиной не более 3 мм)
Отрезают образцы предварительно высушенным металлическим острым режущим инструментом (лезвием бритвы, скальпелем или ножницами). Образцы хранят в герметично закрытых колбах. Содержание воды определяют по
разделу 4 настоящего стандарта.
A.3.2 Отбор образцов бумаги и прессованного картона, пропитанных маслом, от толстой изоляции (толщиной не менее 3 мм)
Если толщина изоляции превышает 3 мм, образцы отбирают, используя специальный режущий инструмент, состоящий из трубки с режущей кромкой на одном конце и поршня, расположенного внутри этой трубки. К инструменту должна быть прикреплена скобка, при вращении которой он входит в изоляцию. Получаемые таким образом бумажные диски собираются и остаются внутри трубки после извлечения инструмента. Образцы бумаги выталкивают из трубки поршнем и помещают в колбу для хранения по
A.4.
Таким режущим инструментом можно получить за один прием образцы на глубине от 2 до 3 мм, за второй прием - на глубине от 4 до 5 мм. Для получения образцов на большей глубине применяют трубки с последовательно уменьшающимся диаметром.
Содержания воды определяют по
разделу 4 настоящего стандарта.
A.4 Хранение образцов бумаги и прессованного картона
Используют разные методы хранения целлюлозной изоляции в зависимости от того, будут ли содержание воды определять сразу после отбора образцов или позже. Если содержание воды определяют сразу после отбора образцов, образцы бумаги помещают в колбы, промытые и просушенные по
2.6.1 настоящего стандарта. Если определение выполняют после предварительного экстрагирования метанолом, образцы бумаги хранят непосредственно в трубке для экстрагирования (
рисунок 5 настоящего стандарта).
Если невозможно определить содержание воды сразу после отбора образцов, образцы бумаги и прессованного картона помещают в колбы для хранения, заполненные изоляционной пропиткой, из которой извлекли образцы, или сухим маслом с содержанием воды не более 5 мг/кг. Изоляционную пропитку получают методами по IEC 60567.
Сосуды для хранения промывают и сушат по
2.6.1 настоящего стандарта. Колбы должны быть по возможности небольшой вместимости для снижения влагообмена между пропиткой и бумагой (например, для нескольких граммов бумаги используют колбу вместимостью 50 см
3).
Колбы оснащают завинчивающимися крышками с подходящими резиновыми прокладками. Над жидкостью должен быть небольшой объем воздуха для компенсации ее расширения при изменении температуры. В некоторых случаях в качестве сосудов для хранения и переноса образцов используют шприц.
При использовании шприца выполняют следующую процедуру:
- заполняют шприц с надетой иглой маслом, пока поршень не выдвинется из стеклянного корпуса шприца;
- закрывают конец иглы плотно подогнанным колпачком;
- вводят в шприц образец;
- снова вставляют поршень в шприц, снимают с иглы колпачок и вдавливают поршень, пока не выльется необходимый объем масла;
- снова надевают на иглу колпачок. Наполненный таким образом шприц используют для транспортирования.
Для извлечения образца бумаги из шприца поступают следующим образом:
- держа шприц иглой вверх, снимают колпачок с иглы и выдвигают поршень, пока он не покажется из корпуса шприца;
- надевают на иглу колпачок;
- переворачивают шприц;
- извлекают поршень из корпуса шприца и вынимают образцы бумаги предварительно просушенными металлическими щипцами.
(справочное)
СВЕДЕНИЯ О СООТВЕТСТВИИ ССЫЛОЧНЫХ МЕЖДУНАРОДНЫХ
СТАНДАРТОВ МЕЖГОСУДАРСТВЕННЫМ СТАНДАРТАМ
Таблица ДА.1
Обозначение ссылочного международного стандарта | Степень соответствия | Обозначение и наименование соответствующего межгосударственного стандарта |
IEC 60475:2011 | IDT | |
IEC 60567:2011 | - | <*> |
ISO 595-1:1986 | - | <*> |
ISO 595-2:1987 | - | <*> |
<*> Соответствующий межгосударственный стандарт отсутствует. До его принятия рекомендуется использовать перевод на русский язык данного международного стандарта. Примечание - В настоящей таблице использовано следующее условное обозначение степени соответствия стандартов: - IDT - идентичный стандарт. |
УДК 621.315.612:006.354 | | IDT |
Ключевые слова: изоляционные жидкости, пропитанные маслом бумага и картон, содержание воды, автоматическое кулонометрическое титрование по Карлу Фишеру |