Главная // Актуальные документы // ГОСТ (Государственный стандарт)СПРАВКА
Источник публикации
М.: Стандартинформ, 2015
Примечание к документу
Документ включен в
Перечень международных и региональных (межгосударственных) стандартов, а в случае их отсутствия - национальных (государственных) стандартов, содержащих правила и методы исследований (испытаний) и измерений, в том числе правила отбора образцов, необходимые для применения и исполнения требований технического
регламента Таможенного союза "О требованиях к смазочным материалам, маслам и специальным жидкостям" (ТР ТС 030/2012) и осуществления оценки соответствия объектов технического регулирования (
Решение Коллегии Евразийской экономической комиссии от 25.07.2023 N 109).
Документ включен в
Перечень международных и региональных (межгосударственных) стандартов, а в случае их отсутствия - национальных (государственных) стандартов, содержащих правила и методы исследований (испытаний) и измерений, в том числе правила отбора образцов, необходимые для применения и исполнения требований технического
регламента Таможенного союза "О требованиях к смазочным материалам, маслам и специальным жидкостям" (ТР ТС 030/2012) и осуществления оценки соответствия объектов технического регулирования (
Решение Коллегии Евразийской экономической комиссии от 02.10.2012 N 180).
Текст данного документа приведен с учетом
поправки, опубликованной в "ИУС", N 7, 2019.
Документ
введен в действие с 1 июля 2016 года.
Название документа
"ГОСТ IEC 60475-2014. Межгосударственный стандарт. Жидкости изоляционные. Отбор проб"
(введен в действие Приказом Росстандарта от 29.05.2015 N 477-ст)
"ГОСТ IEC 60475-2014. Межгосударственный стандарт. Жидкости изоляционные. Отбор проб"
(введен в действие Приказом Росстандарта от 29.05.2015 N 477-ст)
по техническому регулированию
и метрологии
от 29 мая 2015 г. N 477-ст
МЕЖГОСУДАРСТВЕННЫЙ СТАНДАРТ
ЖИДКОСТИ ИЗОЛЯЦИОННЫЕ
ОТБОР ПРОБ
Insulating liquids. Sampling
(IEC 60475:2011, IDT)
ГОСТ IEC 60475-2014
Дата введения
1 июля 2016 года
Цели, основные принципы и основной порядок проведения работ по межгосударственной стандартизации установлены в
ГОСТ 1.0-92 "Межгосударственная система стандартизации. Основные положения" и
ГОСТ 1.2-2009 "Межгосударственная система стандартизации. Стандарты межгосударственные, правила и рекомендации по межгосударственной стандартизации. Правила разработки, принятия, применения, обновления и отмены"
1 ПОДГОТОВЛЕН Федеральным государственным унитарным предприятием "Всероссийский научно-исследовательский центр стандартизации, информации и сертификации сырья, материалов и веществ" (ФГУП "ВНИЦСМВ") на основе аутентичного перевода на русский язык указанного в
пункте 5 международного стандарта, который выполнен ФГУП "Стандартинформ"
2 ВНЕСЕН Федеральным агентством по техническому регулированию и метрологии (Росстандарт)
3 ПРИНЯТ Межгосударственным советом по стандартизации, метрологии и сертификации (протокол от 5 декабря 2014 г. N 46)
За принятие проголосовали:
Краткое наименование страны по МК (ИСО 3166) 004-97 | Код страны по МК (ИСО 3166) 004-97 | Сокращенное наименование национального органа по стандартизации |
Армения | AM | Минэкономики Республики Армения |
Беларусь | BY | Госстандарт Республики Беларусь |
Казахстан | KZ | Госстандарт Республики Казахстан |
Киргизия | KG | Кыргызстандарт |
Молдова | MD | Молдова-Стандарт |
Россия | RU | Росстандарт |
Таджикистан | TJ | Таджикстандарт |
Узбекистан | UZ | Узстандарт |
4
Приказом Федерального агентства по техническому регулированию и метрологии от 29 мая 2015 г. N 477-ст межгосударственный стандарт ГОСТ IEC 60475-2014 введен в действие в качестве национального стандарта Российской Федерации с 1 июля 2016 г.
5 Настоящий стандарт идентичен международному стандарту IEC 60475:2011 Method of sampling insulating liquids (Метод отбора проб изоляционных жидкостей).
Международный стандарт разработан техническим комитетом IEC/TC 10 "Жидкости для применения в электротехнике" Международной электротехнической комиссии.
Перевод с английского языка (en).
Наименование настоящего стандарта изменено относительно наименования указанного международного стандарта для приведения в соответствие с ГОСТ 1.5-2001
(подраздел 3.6).
Официальные экземпляры международного стандарта, на основе которого подготовлен настоящий межгосударственный стандарт, и международных стандартов, на которые даны ссылки, имеются в Федеральном информационном фонде технических регламентов и стандартов.
Сведения о соответствии межгосударственных стандартов ссылочным международным стандартам приведены в дополнительном
приложении ДА.
Степень соответствия - идентичная (IDT)
6 ВВЕДЕН ВПЕРВЫЕ
Информация об изменениях к настоящему стандарту публикуется в ежегодном информационном указателе "Национальные стандарты", а текст изменений и поправок - в ежемесячном информационном указателе "Национальные стандарты". В случае пересмотра (замены) или отмены настоящего стандарта соответствующее уведомление будет опубликовано в ежемесячном информационном указателе "Национальные стандарты". Соответствующая информация, уведомления и тексты размещаются также в информационной системе общего пользования - на официальном сайте Федерального агентства по техническому регулированию и метрологии в сети Интернет
Общее предупреждение, защита здоровья, техника безопасности
и охрана окружающей среды
Применение настоящего стандарта связано с использованием опасных материалов, операций и оборудования. В настоящем стандарте не предусмотрено рассмотрение всех вопросов обеспечения безопасности. Пользователь настоящего стандарта несет ответственность за установление соответствующих правил техники безопасности и охраны здоровья, а также определяет целесообразность применения законодательных ограничений перед его применением.
При работе с изоляционными маслами по настоящему стандарту необходимо соблюдать правила личной гигиены. Попадание масел в глаза может вызвать раздражение. В этом случае необходимо обильно промыть глаза чистой проточной водой и обратиться к врачу.
Окружающая среда
Настоящий стандарт распространяется на масла нефтяного и другого происхождения, химические вещества и использованные контейнеры для проб.
Следует отметить, что некоторые нефтяные масла, находящиеся в эксплуатации, могут быть загрязнены полихлорированными бифенилами. В этом случае следует обеспечить меры предосторожности для защиты персонала, населения и окружающей среды в течение срока службы оборудования путем строгого контроля разливов и выбросов. Утилизацию или очистку этих масел осуществляют в строгом соответствии с законодательными нормами. Принимают все меры предосторожности для предотвращения попадания масел нефтяного и другого происхождения в окружающую среду.
Настоящий стандарт устанавливает методы отбора проб изоляционных жидкостей из поставочных контейнеров и из электрооборудования, такого как силовые и измерительные трансформаторы, реакторы, изоляторы, маслонаполненные кабели, маслонаполненные баковые конденсаторы, выключатели и силовые переключатели (LTCs).
Настоящий стандарт распространяется на жидкости, вязкость которых при температуре отбора проб составляет не более 1500 мм2/с (сСт).
Стандарт распространяется на масла нефтяного и другого происхождения (например, синтетические сложные эфиры, природные сложные эфиры, растительные масла или кремнийорганические соединения).
Для применения настоящего стандарта необходимы следующие ссылочные документы. Для датированных ссылок применяют только указанное издание ссылочного документа.
IEC 60567:2011 Oil-filled electrical equipment - Sampling of gases and analysis of free and dissolved gases - Guidance (Маслонаполненное электрооборудование. Отбор проб газа и анализ свободных и растворенных газов. Руководство)
IEC 60970:2007 Insulating liquids - Methods for counting and sizing particles (Изоляционные жидкости. Методы подсчета и определения размеров частиц)
В настоящем стандарте применены следующие термины с соответствующими определениями:
3.1 транспортная тара (delivery containers): Бочки, железнодорожные цистерны, автоцистерны или гибкие пластиковые мешки, используемые для хранения, транспортирования и поставки партий изоляционного масла.
3.2 электрооборудование (electrical equipment): Оборудование, заполненное изоляционным маслом, такое как силовые и измерительные трансформаторы, реакторы, изоляторы, маслонаполненные кабели, маслонаполненные баковые конденсаторы, выключатели и силовые переключатели (LTCs).
3.3 пробоотборное оборудование (sampling equipment): Оборудование для отбора проб масла из транспортной тары (погружные, поверхностные пробоотборники или сифоны) и электрооборудования (например, соединительные шланги и переходники со сливным клапаном).
Примечание - Пробоотборное оборудование также включает контейнеры для проб, контейнеры для сбора отработанного масла и другие приспособления.
3.4 контейнеры для проб (sample containers): Шприцы, бутылки, ампулы или другие устройства, используемые для хранения и транспортирования образцов масла для анализа.
Примечание - Контейнеры для проб включают в себя такие приспособления, как клапаны, трубки и крышки, прикрепленные к контейнеру.
4 Общие принципы отбора проб изоляционных жидкостей
4.1 Новые изоляционные жидкости в транспортной таре
Пробу отбирают в той части транспортной тары, где жидкость считается наиболее загрязненной. Для оценки качества поставляемого продукта отбирают пробы двух видов:
a) объединенную пробу - пробу, полученную смешиванием проб, отобранных на одном и том же уровне из разных единиц транспортной тары;
b) точечную пробу - пробу или смесь проб, отобранных на одном и том же уровне из одной единицы транспортной тары.
При поставке продукции точечные пробы объемом 1 дм3 для определения электрической прочности можно отбирать из разных единиц транспортной тары. Последующие испытания можно проводить на таких пробах, а полное исследование - на смеси проб (объединенной пробе).
В определенных случаях необходимо составлять усредненную пробу по единице транспортной тары. Усредненная проба представляет собой смесь проб, отобранных на разных уровнях из одной единицы транспортной тары:
1) цистерны - пробы отбирают из каждой цистерны по
4.1.4.2;
2) бочки - пробы отбирают по
4.1.4.3.
В случае одной бочки пробу отбирают из этой бочки.
В случае если партия масла состоит более чем из одной бочки, процедуры отбора проб должны оговариваться между поставщиком и потребителем. Например, пробы отбирают из 10% бочек или не менее чем из 2 бочек, в зависимости от того, что больше.
4.1.2 Количество отбираемой пробы
Количество отбираемой пробы зависит от испытаний, которые необходимо выполнить, и используемых процедур.
Обычно отбирают 2 дм3 пробы.
4.1.3 Пробоотборное оборудование
4.1.3.1 Общие положения
Поскольку результаты испытаний, предусмотренных стандартами IEC для изоляционных жидкостей, в значительной степени зависят от наличия примесей в пробе, следует соблюдать следующие меры предосторожности:
- для каждого типа жидкости используют отдельное пробоотборное оборудование. Все уплотнения и трубки должны быть совместимы с отбираемой изоляционной жидкостью;
- оборудование очищают и сушат в соответствии с процедурами, описанными в
4.2.1.6. Особое внимание уделяют обеспечению отсутствия следов механических примесей, таких как пыль, волокна и т.д. Использование ветоши для очистки оборудования не допускается.
4.1.3.2 Пробоотборники
В качестве примера приведено четыре типа пробоотборников. Можно использовать другое оборудование для отбора проб при условии, что оно не загрязнит пробу. Подходят пробоотборники из нержавеющей стали и алюминия.
a) Отбор проб из цистерн
Для отбора проб со дна цистерн используют глубинный пробоотборник, приведенный на
рисунке 1. Пробоотборник состоит из деталей (трубок и отливок) из нержавеющей стали или алюминия, обработанных на станке. Он должен быть достаточно тяжелым, чтобы погружаться в жидкость. Глубинный пробоотборник удерживают металлической проволокой или цепью, не используют шнуры или другие волокнистые материалы.
1 - петля для фиксирования цепи; 2 - резьба;
3 - четыре выступа
Рисунок 1 - Глубинный пробоотборник
Для отбора проб из верхнего слоя изоляционной жидкости используют поверхностный пробоотборник из нержавеющей стали, приведенный на
рисунке 2.
1 - клапан
Рисунок 2 - Поверхностный пробоотборник
b) Отбор проб из бочек
Для отбора проб со дна бочек подходит пипетка вместимостью приблизительно 500 см
3, приведенная на
рисунке 3.
1 - стеклянная трубка, зауженная с обоих концов
Для отбора проб со дна бочки также можно использовать сифон со стеклянной, алюминиевой или стальной трубкой внутренним диаметром приблизительно 13 мм для отбора проб жидкости и металлической трубкой для нагнетания давления (внутренним диаметром 5 мм), приведенный на
рисунке 4. Обе трубки закрепляют в пробке, размеры которой соответствуют диаметру наливного отверстия бочки. В продаже доступны разные варианты подобного оборудования. По возможности для изготовления пробоотборников, приведенных на
рисунках 3 и
4, используют стекло.
1 - бутылка для пробы; 2 - стеклянная трубка внутренним
диаметром 13 мм; 3 - нагнетатель воздуха; 4 - металлическая
трубка внутренним диаметром 5 мм; 5 - бочка
Для отбора проб из верхнего слоя бочки используют поверхностный пробоотборник
(рисунок 2).
4.1.3.3 Контейнеры для проб
В зависимости от вида требуемого испытания масла для хранения и транспортирования проб используют контейнеры для проб соответствующего объема. Различные типы контейнеров для проб приведены в
4.2.1.5.
Для смешивания различных проб используют специальные стеклянные контейнеры для проб вместимостью не менее 6 дм3. Эти специальные контейнеры для проб должны герметично закрываться пробками из маслостойкого пластика или совместимой с маслом резины или завинчивающейся крышкой с уплотнением из политетрафторэтилена (PTFE). Не допускается использовать уплотнения и/или трубки из натурального каучука. Подходят уплотнения из PTFE и полипропилена (PP).
Каждый контейнер для пробы должен быть снабжен этикеткой, содержащей все сведения, необходимые для идентификации содержимого: маркировку бочек или цистерн, дату отбора проб и реквизиты получателя.
4.1.3.4 Очистка пробоотборного оборудования
Пробоотборное оборудование очищают по процедурам, приведенным в
4.2.1.6.
4.1.4.1 Общие положения
В соответствии с общими правилами отбора проб
(4.1.1) пробы новых изоляционных жидкостей отбирают со дна транспортной тары, где жидкость считается наиболее загрязненной. Но в некоторых случаях целесообразным является отбор усредненной пробы.
Примечание 1 - Для получения усредненной пробы отбирают пробы на промежуточном уровне цистерн или бочек. Примеры данных процедур приведены в
приложении A. Процедура получения пробы, эквивалентной усредненной пробе, приведена в примечании к
4.1.4.2, перечисление a).
Таблица 1
Тип транспортной тары | Рекомендуемый тип пробы | Используемое оборудование | Процедура | Рекомендуемый объем пробы |
Бочки | Смешанная | | | 3 пробы по 2 дм3 |
Точечная | | | 1 или 2 дм3 |
Цистерны | Точечная | | | 3 пробы по 2 дм3 |
кран | |
Бочки | Усредненная | | | 3 пробы по 2 дм3 |
| |
Цистерны | | | |
кран | |
Примечание 2 - Перед отбором проб из цистерн удаляют достаточное количество масла из сливной трубы по
4.1.4.2.
При отборе проб принимают все меры предосторожности, чтобы избежать загрязнения изоляционных жидкостей. Отбор проб изоляционных жидкостей вне помещения, при дожде, тумане или сильном ветре допускается только при соблюдении всех мер предосторожности для предотвращения загрязнения жидкости. В таком случае необходимо использовать защитные укрытия.
Избегают конденсации влаги при нагревании оборудования для отбора проб до температуры, выше температуры окружающего воздуха. Перед использованием оборудование ополаскивают отбираемой жидкостью. Оператор не должен касаться контактирующей с пробой поверхности оборудования. Изоляционные жидкости защищают от воздействия света при транспортировании и хранении.
При доставке в лабораторию контейнер с пробой не открывают, пока температура пробы не достигнет температуры помещения.
4.1.4.2 Отбор проб из цистерн
Пробы изоляционных жидкостей можно отбирать из сливного крана цистерны либо глубинным или поверхностным пробоотборником.
a) Отбор проб из сливного крана цистерны
По этой процедуре отбирают представительную пробу из нижнего слоя жидкости после того, как цистерна простоит на месте после прибытия не менее 1 ч.
Примечание - С помощью данной процедуры также можно получить пробу, эквивалентную усредненной пробе, если отбор проводить сразу после прибытия цистерны.
В таком случае отбор проб проводят следующим образом:
- снимают защиту сливного крана, если она установлена;
- удаляют всю видимую грязь и пыль с крана чистой безворсовой тканью или маслостойкой синтетической губкой;
- для отбора пробы запускают или открывают в установленном порядке сливную систему (насос, сливную трубу) при наличии;
- открывают кран и медленно удаляют не менее 10 дм3 изоляционной жидкости в емкость для слива масла. В любом случае удаляют количество масла, эквивалентное или превышающее объем сливной трубы;
- ополаскивают бутылки для проб изоляционной жидкостью;
- заполняют бутылки для проб при равномерном течении жидкости, избегая турбулентности потока.
b) Отбор проб с помощью глубинного или поверхностного пробоотборника
Отбор проб осуществляют после того, как цистерна простояла не менее 1 ч после прибытия.
1) Отбор проб глубинным пробоотборником
(рисунок 1) (пробы со дна)
Для отбора проб у дна цистерны (т.е. на расстоянии 1 - 2 см от дна) пробоотборник опускают до тех пор, пока выступающий конец стержня не коснется дна. Затем заполняют пробоотборник. Наполнение считают завершенным после прекращения выделения пузырьков воздуха. Пробоотборник извлекают и его содержимое переносят в контейнер для проб (в случае точечной пробы) или в специальный стеклянный контейнер для смешивания различных проб (в случае объединенной пробы). Во втором случае контейнер(ы) для пробы заполняют смесью полученных таким образом проб. Жидкость переливают медленно, чтобы избежать образования пузырьков воздуха, происходящего при очень быстром переливании.
2) Отбор проб поверхностным пробоотборником
(рисунок 2) (пробы из верхнего слоя)
При закрытом клапане пробоотборник медленно погружают в жидкость до тех пор, пока его верхний край не окажется ниже уровня поверхности электроизоляционной жидкости и жидкость не начнет медленно заполнять пробоотборник. Первую порцию пробы удаляют. Снова заполняют пробоотборник и переносят пробу в емкость для пробы, медленно выливая жидкость через клапан на дне пробоотборника по стенке контейнера, чтобы струя не била в дно емкости. Повторяют операцию, пока не будет отобрано достаточное количество жидкости для наполнения контейнера для проб (в случае точечной пробы) или специального стеклянного контейнера для смешивания различных проб (в случае объединенной пробы), в зависимости от типа отбираемой пробы.
4.1.4.3 Отбор проб из бочек
Пробы отбирают после того, как бочки после поступления простоят не менее 8 ч пробкой вверх, защищенными от воздействия атмосферных осадков. Для отбора проб со дна бочки (т.е. на расстоянии около 3 мм от дна) используют пипетку
(рисунок 3) или сифон
(рисунок 4).
Для отбора пробы из верхнего слоя жидкости используют поверхностный пробоотборник
(рисунок 2).
Примеры процедур
a) Применение пипетки (рисунок 3) (пробы со дна бочки):
- закрывают верхнее отверстие пипетки большим пальцем и погружают пипетку в жидкость до дна контейнера;
- снимают большой палец и заполняют пипетку жидкостью;
- снова закрывают верхний конец пипетки пальцем и извлекают пипетку;
- первой порцией масла промывают пипетку, следующие порции переносят в контейнер для проб (в случае точечной пробы) или в специальный стеклянный контейнер для смешивания различных проб (в случае объединенной пробы) [см. 4.1.4.2, перечисление b)], следя за тем, чтобы при переливании жидкости не происходило образования пузырьков воздуха.
- вставляют пробку с пробоотборной и напорной трубками в отверстие бочки, обеспечивая герметичность системы;
- погружают нижний конец вертикальной пробоотборной трубки на расстояние примерно 3 мм от дна бочки;
- создают давление внутри бочки с помощью нагнетателя воздуха;
- удаляют достаточное количество жидкости, чтобы промыть трубку, и затем отбирают требуемый объем жидкости непосредственно в контейнер для проб (в случае точечной пробы) или в специальный стеклянный контейнер для смешивания проб (в случае объединенной пробы) [см. 4.1.4.2, перечисление b)], следя за тем, чтобы при перемещении жидкости не образовывались пузырьки воздуха.
c) Применение поверхностного пробоотборника (рисунок 2) (пробы из верхнего слоя)
4.1.4.4 Акт отбора проб
Акт отбора проб должен содержать информацию, необходимую для идентификации пробы, а также все подробности процедуры или специальную информацию, которая необходима оператору при проведении испытания. Указывают тип пробы (т.е. объединенная, точечная или усредненная). Каждую пробу сопровождают копией акта отбора проб. Распределение проб выполняют в соответствии с согласованной процедурой, например в соответствии с контрактом на поставку.
4.2 Отбор проб из маслонаполненного оборудования
4.2.1.1 Безопасность и качество отбора проб
Следуют инструкциям изготовителя по отбору проб масла из электрооборудования. Особое внимание уделяют соблюдению правил техники безопасности.
Убеждаются, что давление масла в электрооборудовании, находящемся под напряжением, не ниже давления окружающей среды, т.к. при отборе пробы это может привести к попаданию пузырьков воздуха в масло и вызвать короткое замыкание в оборудовании, а также подвергнуть риску персонал, отбирающий пробы.
Во время отбора проб масла принимают меры предосторожности для предотвращения внезапных выбросов и разлива масла.
Получение качественной и представительной пробы имеет решающее значение для получения достоверной оценки работы электрооборудования. Даже самые сложные аналитические методы испытания не дадут достоверных результатов при некачественно отобранной пробе.
Во всех случаях отбор проб масла должен проводить грамотный, специально обученный персонал, особенно в случае оборудования небольшого размера (например, измерительных трансформаторов).
4.2.1.2 Место отбора проб
Следует соблюдать осторожность при выборе точек отбора проб. Как правило, пробу отбирают из точки, где она представляет основную часть масла в оборудовании (например, из нижнего маслосливного крана или крана отбора проб масла). Однако иногда необходимо отобрать пробу из места, где она не является представительной (например, для нахождения места неисправности, из переключателя выходных обмоток трансформатора, селекторного переключателя или реле газа).
Описанные методы можно использовать для оборудования с большим объемом масла, такого как силовые трансформаторы. Для оборудования с небольшим объемом масла необходимо убедиться, что общий объем отбираемого масла не подвергает опасности работу оборудования.
Примечание 1 - Для трансформаторов с двумя пробоотборными кранами используют следующую процедуру: сначала открывают внешний кран, затем - внутренний. Это важно соблюдать, чтобы избежать попадания воздуха в трансформатор.
Примечание 2 - При отборе проб из электродов, измерительных трансформаторов или кабелей следует тщательно соблюдать инструкции изготовителя. Невыполнение этих требований может привести к серьезным повреждениям и поломке оборудования. Отбор проб масла проводят на обесточенном оборудовании. При отборе проб должны быть приняты меры предосторожности для предотвращения любых внезапных проливов масла. Для оценки состояния оборудования пробы отбирают из оборудования, отключенного от электрической сети в его рабочем положении.
Подкомитет IEC 36A рекомендует отбирать пробы масла из электродов с помощью шприца из электродов, оснащенных местом отбора проб на фланце, по описанной ниже процедуре.
В случае электродов, не оснащенных местом отбора проб на фланце, пробу отбирают из верхней части электрода. Для определения подходящей точки отбора пробы следует обратиться к инструкции изготовителя. Один конец пробоотборной трубки вставляют сверху в электрод, а другой конец соединяют со шприцем через трехходовый кран, используя пластиковую муфту, а затем следуют той же процедуре.
В случае электродов, находящихся под давлением при температуре окружающей среды, указанную процедуру не применяют; следует обращаться к инструкции изготовителя оборудования.
4.2.1.3 Очистка точки отбора проб
Оборудование для отбора проб и точку отбора проб очищают и промывают для предотвращения загрязнения пробы масла.
Удаляют глухой фланец или крышку крана отбора проб (см.
8 на
рисунках 5 -
7) и очищают сливное отверстие безворсовой тканью или маслостойкой синтетической губкой для удаления всех видимых загрязнений.
Промывают сливной кран достаточным количеством масла (обычно от 2 до 5 дм3) турбулентным потоком для удаления любых загрязняющих веществ (воды и частиц), которые могли накопиться в сливном кране и его выходном отверстии.
Используют защитные перчатки из нитрильного каучука и емкость для сбора удаляемого масла. Точку отбора проб очищают каждый раз при отборе новой пробы масла.
Для определения содержания воды в масле отбор проб предпочтительно проводить при минимальной влажности воздуха для предотвращения конденсации влаги на оборудовании для отбора проб и загрязнения пробы масла.
Для расчета относительной влажности измеряют температуру масла в месте отбора проб термометром, помещенным в поток масла. Температуру указывают на контейнере для пробы и записывают наличие или отсутствие работающих вентиляторов и насосов. В обоих случаях должен быть указан метод измерения температуры.
4.2.1.4 Соединение между точкой отбора проб и устройством для отбора проб
Соединение трубки устройства для отбора проб с электрооборудованием зависит от типа оборудования. Если не предусмотрен кран отбора проб, пригодный для присоединения трубки, используют просверленный фланец или резиновую маслостойкую пробку с просверленным отверстием. Можно использовать специальные адаптеры для сливного крана.
Точку отбора проб соединяют с устройством для отбора проб по возможности коротким отрезком маслостойкой пластиковой или резиновой трубки. Чтобы избежать загрязнения пробы предыдущим образцом масла, используют новый отрезок трубки или тщательно моют трубку и промывают ее поверхность порцией отбираемого масла.
Пригодны трубки из перфторированного материала (например,

,

)
<1>, PTFE или металла; нельзя применять трубки из ПВХ.
--------------------------------
<1> Имеется в продаже продукция Viton и Tygon. Информация приведена только для удобства пользователей настоящего стандарта, а не свидетельствует о предпочтении МЭК этим продуктам.
4.2.1.5 Выбор контейнера для проб
В
таблице 2 приведены различные типы контейнеров для проб, применение которых зависит от вида последующего испытания пробы.
Таблица 2
Примеры контейнеров для проб в зависимости от вида испытаний
масла
Контейнер для проб | Шприц | Гибкая бутылка | Бутылка | Гибкая бутылка | Ампула | Ампула | Объем масла, см3 |
Испытание | Материал | Стекло | Металл | Стекло | Пластик | Стекло | Металл |
Растворенные газы | + | + | + | - | + | + | 25 - 100 |
Содержание воды | + | + | + | - | - | - | 20 |
Тангенс угла диэлектрических потерь | + | + | + | + | - | - | 200 |
Механические примеси | + | + | + | + | - | - | 100 |
Напряжение пробоя | - | + | + | - | - | - | 500 - 2000 |
Другие химические и физические испытания | - | + | + | + | - | - | 250 |
Все испытания | | | | | | | 1000 - 2000 |
Вместимость, см3 | 25 - 250 | 125 - 2500 | 125 | 25 - 250 | |
Предпочтительно использовать металлические или пластиковые контейнеры, если недоступна соответствующая защита стеклянных контейнеров при транспортировании проб масла.
При отборе проб для определения содержания растворенных газов (DGA) для снижения потерь слаборастворимых газов (H
2 и CO) и предотвращения поглощения воздуха при низком общем содержании газов строго следуют процедурам отбора проб, приведенным в
4.2.2 -
4.2.5, особенно при использовании бутылок и ампул в качестве контейнеров для проб. Кроме того, материалы, рекомендованные для крышек, уплотнений, клапанов и трубок контейнеров для проб, должны использоваться только хорошо подготовленным и опытным персоналом, знакомым с устройством этих контейнеров.
При использовании бутылок для отбора проб для DGA, определения содержания воды и напряжения пробоя сводят к минимуму контакт пробы масла с воздухом.
Не допускается отбирать пробы в пластиковые бутылки для DGA, определения содержания воды и диэлектрической прочности, так как в результате диффузии через пластик могут проникать загрязняющие вещества из окружающей среды и происходить потери газа. При отборе проб в пластиковые бутылки для проведения других видов испытаний бутылки должны быть изготовлены из совместимых с маслом пластмасс [таких, как полиэтилен высокой плотности (HDPE), полипропилен, поликарбонат], которые не загрязняют масло содержащимися в пластмассах добавками. Каждый новый тип пластиковых (и стеклянных) бутылок должен быть проверен на совместимость с маслом.
Рекомендации, приведенные в
4.2.1.3 и
4.2.1.6 (очистка точки отбора проб и оборудования для отбора проб), должны тщательно соблюдаться при отборе проб для определения содержания воды, диэлектрической прочности, тангенса угла диэлектрических потерь, поверхностного натяжения и содержания частиц.
Результаты других физических и химических испытаний [определение вязкости, плотности, кислотности, содержания DBPC (2,6-ди-трет-бутил-паракрезола), фуранов, PCB (полихлорированных бифенилов) и т.д.] в меньшей степени зависят от свойств материала, используемого для изготовления контейнеров для проб, и способа отбора проб.
4.2.1.6 Очистка оборудования для отбора проб
4.2.1.6 1 Использование одноразовых контейнеров для отбора проб
Было установлено, что удобнее использовать одноразовые, предварительно очищенные металлические, пластиковые и стеклянные бутылки, имеющие известный уровень содержания пыли и влаги, чем очищать многоразовые бутылки. Такое оборудование для отбора проб стоит относительно недорого и доступно у поставщиков лабораторного или ветеринарного оборудования. Для подтверждения приемлемости чистоты одноразовых бутылок можно одновременно проверить несколько неочищенных и очищенных бутылок.
4.2.1.6 2 Процедуры очистки
Многоразовое оборудование для отбора проб очищают в посудомоечной машине с использованием моющих средств, затем промывают водопроводной водой (без моющих средств в отделении ополаскивания посудомоечной машины). После этого оборудование дополнительно промывают деионизированной водой.
Оборудование для отбора проб и контейнеры могут быть очищены н-гептаном.
После очистки оборудование сушат в сушильном шкафу до полного высыхания при температуре 100 °C, затем охлаждают в печи или сухой камере.
Сухое оборудование немедленно герметизируют для защиты от загрязнений и открывают только непосредственно перед использованием.
Качество очистки контейнеров для проб имеет важное значение для определения тангенса угла диэлектрических потерь и поверхностного натяжения, которые особенно чувствительны к загрязнению. Контейнеры для таких проб не очищают с помощью растворителей.
Для определения содержания частиц в масле рекомендуется использовать отдельные контейнеры для проб, очищенные в соответствии с IEC 60970.
4.2.2 Отбор проб масла в шприц
4.2.2.1 Оборудование для отбора проб
Используют следующее оборудование:
a) градуированные газонепроницаемые шприцы вместимостью от 20 до 250 см3, оснащенные трехходовым пластиковым краном с нейлоновым корпусом и полипропиленовой (PP) втулкой или трехходовым краном из нержавеющей стали. При отборе проб для анализа растворенных газов используют шприцы с подобранными цилиндром и поршнем, в которых поршень может свободно перемещаться при изменении объема масла, обусловленного повышением или понижением давления в шприце, для предотвращения поломки при его использовании. Нельзя использовать пластиковые шприцы.
Каждый раз для отбора проб масла используют новый пластиковый трехходовый кран, если его не промывают порцией масла, поскольку кран, использованный ранее, может быть загрязнен предыдущей пробой масла или может потерять свою герметичность при многократном использовании. Для дополнительной защиты во время транспортирования поверх трехходового крана помещают крышку типа Луер-Лок из нержавеющей стали. Крышку после использования можно утилизировать.
Примечание - Для предотвращения образования пузырьков на поршне при отборе пробы масла для DGA следует смазывать поршень чистым, дегазированным маслом. Можно использовать маловязкую растворимую в воде смазку.
Объем пробы зависит от предполагаемой концентрации газа в масле, метода анализа и требуемой чувствительности. Для DGA после заводских испытаний подходит шприц вместимостью 250 см3;
b) контейнеры для жесткого крепления шприца во время транспортирования, позволяющие поршню шприца свободно перемещаться и не допускающие его контакта с контейнером, независимо от положения шприца во время транспортирования.
Подходят картонные коробки со съемными внутренними картонными створками, фиксирующими цилиндр шприца, металлические или пластиковые цилиндры с внутренней прокладкой из пенопласта. Шприц с пробой, отобранной для DGA, транспортируют в вертикальном положении поршнем вверх для предотвращения образования пузырьков в масле.
4.2.2.2 Процедура отбора проб
Используют следующую процедуру отбора проб
(рисунок 5):
a) подсоединяют шприц к электрооборудованию с открытым пробоотборным краном
(рисунок 5 a);
b) устанавливают трехходовый кран 4 в положение A, удаляют от 1 до 2 дм3 масла в емкость для отходов 6;
c) устанавливают трехходовый кран
4 в положение B, обеспечивая медленное поступление масла в шприц
(рисунок 5 b). Поршень движется под напором масла;
d) устанавливают трехходовый кран
4 в положение C, удаляют масло из шприца в емкость для отходов
6, нажимая на поршень. Удаляют воздух из шприца, располагая его вертикально насадкой вверх
(рисунок 5 c). Внутренние поверхности шприца и поршня должны быть полностью смазаны маслом;
e) процедуры по
перечислениям c) и
d) повторяют до полного удаления воздуха из шприца. Затем устанавливают трехходовый кран
4 в положение B и заполняют шприц маслом
(рисунок 5 d);
f) закрывают запорный кран 2 на шприце и пробоотборный кран оборудования 5;
g) устанавливают трехходовый кран
4 в положение
C и отсоединяют шприц
(рисунок 5 e);
h) если температура пробы, отобранной из электрооборудования для DGA, выше температуры окружающей среды, помещают шприц вертикально на поршень насадкой вверх в защитную коробку для охлаждения масла, после охлаждения закрепляют шприц в удерживающих створках защитной коробки для транспортирования. Это позволяет предотвратить образование пузырьков в масле.
a - промывание; b - смазывание и промывание шприца;
c - опорожнение шприца; d - отбор пробы;
e - отсоединение шприца; 1 - шприц; 2 - запорный кран;
3 - гибкая соединительная трубка; 4 - трехходовый кран;
5 - пробоотборный кран оборудования;
6 - емкость для отходов; 7 - глухой фланец
Рисунок 5 - Отбор проб масла в шприц
Тщательно маркируют пробу (см.
4.4).
Примечание 1 - Следует избегать загрязнения внешней поверхности поршня и внутренней поверхности шприца пылью или песком, которые могут нарушить герметичность шприца. Загрязнение может произойти из-за надуваемой ветром пыли или неаккуратного обращения со шприцем.
Примечание 2 - Если после отбора пробы из герметизированных трансформаторов в шприце появляется пузырек воздуха, отбор пробы повторяют.
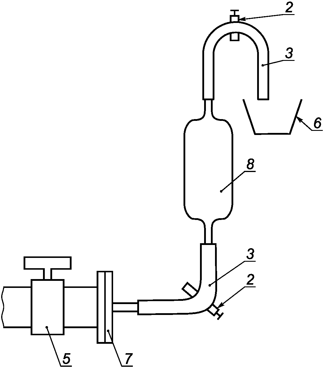
4.2.3 Отбор проб масла в ампулу
4.2.3.1 Оборудование для отбора проб
Используют следующее оборудование:
a) стеклянную или металлическую ампулу вместимостью от 0,125 до 1 дм3. Ампула может быть оснащена запорным краном или зажимом на совместимой с маслом пластиковой трубке. Стеклянные ампулы изготовляют из стекла Пирекс. Металлические ампулы изготовляют из нержавеющей стали, в качестве запорных устройств вместо пластиковых трубок используют подпружиненные клапаны.
Совместимые с маслом пластиковые трубки для ампул используют только один раз, а не многократно, поскольку они обладают "эффектом памяти" и могут загрязнить пробу масла при отборе проб для DGA. Типы совместимых пластиковых трубок приведены в
4.2.1.4.
Пригодны конструкции ампулы и ее запорного устройства, обеспечивающие потери водорода из содержащейся в ампуле пробы не более 2,5% в неделю.
Объем пробы зависит от вида конкретного последующего испытания, а для DGA - от возможной концентрации газа в масле, метода анализа и требуемой точности. Для DGA после заводских испытаний подходят ампулы вместимостью 250 см3;
b) контейнеры, предназначенные для жесткого крепления ампул во время транспортирования.
4.2.3.2 Процедура отбора проб
Используют следующую процедуру отбора проб
(рисунок 6):
a) подключают устройство, как показано на
рисунке 6;
b) осторожно открывают краны 2 на пластиковых трубках ампулы 8 и пробоотборный кран оборудования 5, чтобы масло проходило через ампулу в емкость для отходов 6. При отборе проб для DGA поток масла должен быть ламинарным (чтобы в масле не было пузырьков воздуха) для предотвращения образования пузырьков и выделения растворенных газов из масла;
c) после заполнения ампулы 8 маслом сливают приблизительно от 1 до 2 дм3 масла в емкость для отходов 6;
d) затем прерывают поток масла, закрывая сначала внешний запорный кран 2, затем внутренний запорный кран 2 и в конце - пробоотборный кран оборудования 5;
e) отсоединяют ампулу
8 и маркируют пробу (см.
4.4).
Примечание - При использовании стеклянной ампулы со встроенными стеклянными кранами перед транспортированием в лабораторию из нее сливают от 1 до 2 см3 масла для предотвращения разрушения ампулы при повышении температуры окружающей среды. Эту процедуру фиксируют на этикетке.
2 - запорный кран (внутренний, внешний); 3 - гибкая
соединительная трубка; 5 - пробоотборный кран оборудования;
6 - емкость для отходов; 7 - глухой фланец; 8 - ампула
Рисунок 6 - Отбор проб масла в ампулы
4.2.4 Отбор проб масла в бутылки из гибкого металла
4.2.4.1 Оборудование для отбора проб
Используют следующее оборудование:
a) бутылки из гибкого металла вместимостью от 0,250 до 2,5 дм3 с газонепроницаемыми крышками.
Не используют запаянные металлические бутылки, т.к. материалы, используемые при пайке, могут привести к загрязнению масла. На алюминиевых поверхностях возможна адсорбция воды, содержащейся в масле. Металлические бутылки, изготовленные из тянутого алюминия или сварной жести, являются гибкими и не нуждаются в устройствах, предусматривающих расширение масла. Они должны быть полностью заполнены маслом нажатием на боковые поверхности бутылки перед ее закрыванием.
Металлические бутылки закрывают резьбовой крышкой с непористой герметизирующей прокладкой, совместимой с маслом. Прокладки используют только один раз, кроме прокладок, покрытых алюминиевой фольгой со стороны, обращенной к маслу.
Для DGA и определения содержания воды пористость используемых прокладок измеряют путем отбора не менее 6 проб масла из трансформатора в идентичные бутылки. Содержание водорода в масле, используемом для испытания оборудования для отбора проб, должно быть не менее 100 мкл/дм
3. Определяют содержание водорода в пробах с периодичностью 1 раз в месяц, при этом первое определение проводят по возможности сразу после отбора проб. Конструкцию бутылки и прокладки считают приемлемой, если потери водорода из содержащейся в бутылке пробы составляют не более 2,5% в неделю. Например, подходят бутылки с резьбовой пластмассовой крышкой и коническим полиэтиленовым (PE) уплотнением или гибкой прокладкой (см.
рисунок 7).
a - Пример отбора проб в бутылки
b - Пример крышки с уплотнением
3 - гибкая соединительная трубка; 5 - пробоотборный кран
оборудования; 6 - емкость для отходов; 7 - глухой фланец;
9 - бутылка; 10 - твердая пластиковая резьбовая крышка;
11 - мягкое коническое уплотнение из полиэтилена
Рисунок 7 - Отбор проб масла в бутылки
Для других испытаний, кроме DGA и определения содержания воды, указанные выше требования к газонепроницаемости не применяют.
Для нефтяных масел прокладки должны быть изготовлены из полиэтилена (ПЕ), политетрафторэтилена (PTFE) или бутадиен-нитрильного каучука (NBR) (содержащего не менее 30% нитрильного компонента).
Для масел другого происхождения (например, природных и синтетических сложных эфиров) прокладки изготовляют из PTFE (не применяют NBR или силиконовый каучук);
b) контейнер для защиты бутылки при транспортировании.
4.2.4.2 Процедура отбора проб
a) осторожно открывают пробоотборный кран оборудования 5 и сливают от 1 до 2 дм3 масла ламинарным потоком в емкость для отходов 6 через трубку 3 для удаления всех пузырьков газа до отбора пробы, таким образом обеспечивая отсутствие выделения газа из масла при его течении;
b) помещают конец трубки 3, из которой вытекает масло на дно бутылки, и наполняют ее. Промывают бутылку объемом масла не менее одной трети ее вместимости и сливают промывное масло в емкость для отходов 6.
Отбор проб масла для DGA проводят при непрерывном ламинарном потоке, когда в масле, вытекающем из бутылки, отсутствуют пузырьки газа, чтобы избежать образования пузырьков газа и выделения растворенных газов из масла (в противном случае возможны значительные потери газа). Наполнение бутылки должно быть по возможности медленным, поток масла ламинарным и одновременно достаточно быстрым, чтобы избежать выделения газа в атмосферу (и попадания загрязнений из нее). Если время заполнения бутылки превышает несколько минут, отбирают новую пробу.
При отборе проб для определения содержания воды строго следуют рекомендациям, приведенным в
4.2.1.3;
c) удаляют объем масла, равный приблизительно вместимости двух бутылок, через край бутылки в емкость для отходов 6, затем удаляют трубку 3, не прерывая течение масла. Осторожно сжимают стороны бутылки, чтобы она стала полностью заполненной маслом, и плотно закрывают крышкой;
d) закрывают пробоотборный кран
5 и отсоединяют трубку. Маркируют пробу (см.
4.4). Еще раз затягивают крышку после охлаждения масла до комнатной температуры.
4.2.5 Отбор проб масла в стеклянные бутылки и бутылки из жесткого металла
4.2.5.1 Оборудование для отбора проб
Используют следующее оборудование:
a) стеклянные бутылки или бутылки из жесткого металла вместимостью от 0,125 до 2,5 дм3 с газонепроницаемыми крышками. Прозрачные стеклянные бутылки должны быть защищены от воздействия солнечного света, поэтому рекомендуется использовать бутылки из темного стекла. При транспортировании и хранении пробы для DGA дополнительно защищают от воздействия солнечного света даже при использовании бутылок из темного стекла.
Крышки и уплотнения для бутылок из гибкого металла по
4.2.4.1 подходят для стеклянных бутылок и бутылок из жесткого металла;
b) контейнеры, предназначенные для защиты бутылок при транспортировании.
4.2.5.2 Отбор проб
Процедуры отбора проб такие же, как и для бутылок из гибкого металла по
4.2.4.2, за исключением того, что стеклянные и жесткие металлические бутылки не следует полностью заполнять маслом.
Вместо этого понижают уровень масла на несколько сантиметров от края воздушного пространства, чтобы оставить небольшой объем воздуха для расширения масла при повышении температуры (как правило, от 3,5 до 7,0 см
3 или от 1,5 до 3,0 см от края воздушного пространства). Заполняют маслом не менее 90% объема бутылки для обеспечения расширения воздуха при понижении температуры и предотвращения разрушения стеклянной бутылки. Плотно закрывают бутылку крышкой и маркируют пробу по
4.4. Указывают примерный объем для расширения воздуха. Поправку на потери газа в объеме свободного пространства в бутылке рассчитывают в лаборатории согласно IEC 60567, приложение D.
При отсутствии особых требований к условиям транспортирования и хранения некоторые компании предпочитают полностью заполнять бутылки и вручную не сильно затягивать резьбу пластмассовой крышкой с коническим полиэтиленовым уплотнением. При расширении масла с повышением температуры эти крышки действуют как односторонний клапан, позволяющий вытекать небольшим количествам масла. При сжатии масла с понижением температуры уплотнение будет препятствовать проникновению воздуха. В последнем случае бутылку нагревают до температуры пробы при ее отборе для повторного растворения газов перед DGA.
Для других испытаний можно оставлять воздушное пространство над маслом.
4.2.6 Отбор проб масла в пластиковые бутылки
4.2.6.1 Оборудование для отбора проб
Используют следующее оборудование.
Пластиковые бутылки, изготовленные из пластмассы, совместимой с маслом (см.
4.2.1.5), не загрязняющей масло добавками, содержащимися в пластмассе. Каждый новый тип пластиковой бутылки проверяют на совместимость с маслом. Рекомендуется использовать исходную маточную пластмассу без наполнителей или пигментов.
Пластиковые бутылки не используют при отборе проб для DGA, определения содержания воды и напряжения пробоя.
Крышки и прокладки для металлических бутылок, описанные в
4.2.4.1, подходят для пластиковых бутылок.
Можно использовать литые крышки из пластика подходящего состава, как указано выше.
4.2.6.2 Отбор проб
Процедура отбора проб такая же, как в бутылки из гибкого металла, приведенная в
4.2.4.2.
4.3 Хранение и транспортирование образцов
Некоторое количество растворенного кислорода, содержащегося в пробе масла, может вступить в реакции окисления с образованием углеводородов и оксида углерода. Эти реакции ускоряются под воздействием света, поэтому контейнеры для проб, изготовленные из прозрачных материалов (шприцы, стеклянные бутылки и ампулы), должны быть защищены от воздействия света (например, упаковыванием в непрозрачный материал или помещением в ящик для транспортирования).
В любом случае испытания следует проводить по возможности сразу же после отбора проб, чтобы избежать реакции окисления, потери газа или поглощения газов из контейнеров для проб.
Шприцы с маслом (и другие контейнеры для проб масла) размещают в герметичных коробках (корпусах), чтобы полностью исключить риск образования пузырьков в пробах масла для DGA при транспортировании в самолетах, связанный с пониженным давлением и перенасыщением масла газами. Поршень шприца должен иметь возможность перемещаться для предотвращения попадания воздуха при изменении объема масла.
Пробы изоляционного масла маркируют перед отправкой в лабораторию.
В сопроводительных документах приводят информацию, указанную в
таблице 3 (если она известна).
Таблица 3
Информация, которую приводят на этикетках проб
(или в сопроводительных документах) изоляционного масла
Трансформатор или другое оборудование: |
Заказчик |
Местонахождение |
Идентификационный номер |
Изготовитель |
Общий тип [трансформатор (генерирующий, передающий, измерительный, промышленный), реактор, кабель, выключатель и т.д.] |
Паспортное значение мощности в мегавольт-амперах |
Коэффициент трансформации по напряжению |
Тип и расположение переключателя ответвлений обмоток трансформатора под нагрузкой |
Дата ввода в эксплуатацию |
Масло: |
Тип масла (нефтяного или другого происхождения) |
Наименование |
Масса (или объем) масла |
Дата последней обработки масла |
Отбор проб: |
Дата отбора проб |
Место отбора проб |
Персонал, отбиравший пробы |
Цель анализа (текущий или другое) |
Трансформатор не под напряжением, без нагрузки под напряжением, под нагрузкой |
Температура масла при отборе проб |
Влажность: сухо - влажно - туман - в помещении |
Также приводят следующую дополнительную информацию:
- температуру окружающей среды, показание индикатора температуры обмотки, значения мощности в мегавольт-амперах, тока нагрузки или процентной нагрузки, работу насосов, способ связи переключателей ответвлений с основным резервуаром, систему консервации масла (расширитель, азотная подушка и т.п.), любые изменения в условиях эксплуатации или проведение технического обслуживания после предыдущего отбора проб;
- для определения содержания воды в масле: температуру масла, метод измерения температуры и наличие или отсутствие работающих вентиляторов и насосов (для расчета относительной влажности масла);
- время отбора одной пробы при отборе нескольких проб.
(справочное)
МЕТОД ОТБОРА ПРОБ НА ПРОМЕЖУТОЧНЫХ УРОВНЯХ
(ПОЛУЧЕНИЕ УСРЕДНЕННОЙ ПРОБЫ)
Глубинный пробоотборник погружают на требуемую глубину. Затем вытягивают цепь, присоединенную к центральному стержню, следя за тем, чтобы вертикальное перемещение штока превысило 50 мм. Наполняют пробоотборник до окончания появления воздушных пузырьков. Затем извлекают пробоотборник и его содержимое переливают в емкость для смешивания.
Пипетку погружают на требуемую глубину.
Сифон погружают на требуемую глубину.
Общее замечание: пробы, отобранные с промежуточных уровней для составления усредненной пробы, переносят в емкость для смешивания сразу же после их извлечения. Затем полученную смесь используют для наполнения бутылок для проб.
(справочное)
ПРОВЕРКА ГЕРМЕТИЧНОСТИ ШПРИЦА
Проверку проводят следующим образом:
a) присоединяют проверяемый шприц к трехходовому крану
(4.2.2.1);
b) переключают кран в открытое положение (положение B или C, как показано на
рисунке 5);
c) нажимают на поршень до упора;
d) закрывают кран, переключая в положение A;
e) тянут поршень из шприца и удерживают его под нагрузкой около 30 с;
f) после освобождения поршня он должен вернуться в исходное положение;
g) если между поршнем и корпусом шприца будет заключено некоторое количество воздуха, то шприц или кран не герметичны и их рекомендуется заменить.
(справочное)
СВЕДЕНИЯ О СООТВЕТСТВИИ МЕЖГОСУДАРСТВЕННЫХ СТАНДАРТОВ
ССЫЛОЧНЫМ МЕЖДУНАРОДНЫМ СТАНДАРТАМ
Таблица ДА.1
Обозначение и наименование ссылочного международного стандарта | Степень соответствия | Обозначение и наименование соответствующего межгосударственного стандарта |
IEC 60567:2011 Маслонаполненное электрооборудование. Отбор проб газа и анализ свободных и растворенных газов. Руководство | - | <*> |
IEC 60970:2007 Изоляционные жидкости. Методы подсчета и определения размеров частиц | - | <*> |
<*> Соответствующий межгосударственный стандарт отсутствует. До его утверждения рекомендуется использовать перевод на русский язык данного международного стандарта. Перевод данного международного стандарта находится в Федеральном информационном фонде технических регламентов и стандартов. |