Главная // Актуальные документы // ГОСТ (Государственный стандарт)СПРАВКА
Источник публикации
М.: Стандартинформ, 2015
Примечание к документу
Документ включен в
Перечень международных и региональных (межгосударственных) стандартов, а в случае их отсутствия - национальных (государственных) стандартов, содержащих правила и методы исследований (испытаний) и измерений, в том числе правила отбора образцов, необходимые для применения и исполнения требований технического
регламента Таможенного союза "Технический регламент на соковую продукцию из фруктов и овощей" (ТР ТС 023/2011) и осуществления оценки соответствия объектов технического регулирования (
Решение Коллегии Евразийской экономической комиссии от 28.01.2020 N 19).
Документ включен в
Перечень международных и региональных (межгосударственных) стандартов, а в случае их отсутствия - национальных (государственных) стандартов, содержащих правила и методы исследований (испытаний) и измерений, в том числе правила отбора образцов, необходимые для применения и исполнения требований технического
регламента Таможенного союза "О безопасности пищевой продукции" (ТР ТС 021/2011) и осуществления оценки соответствия объектов технического регулирования (
Решение Коллегии Евразийской экономической комиссии от 24.12.2019 N 236).
Документ включен в
Перечень стандартов, содержащих правила и методы исследований (испытаний) и измерений, в том числе правила отбора образцов, необходимые для применения и исполнения требований технического
регламента Таможенного союза "Технический регламент на соковую продукцию из фруктов и овощей" (ТР ТС 023/2011) и осуществления оценки соответствия объектов технического регулирования (
Решение Комиссии Таможенного союза от 09.12.2011 N 882).
Документ
введен в действие с 01.01.2016.
Взамен ГОСТ 24283-80.
Название документа
"ГОСТ 24283-2014. Межгосударственный стандарт. Консервы гомогенизированные для детского питания. Метод определения качества измельчения"
(введен в действие Приказом Росстандарта от 12.02.2015 N 82-ст)
"ГОСТ 24283-2014. Межгосударственный стандарт. Консервы гомогенизированные для детского питания. Метод определения качества измельчения"
(введен в действие Приказом Росстандарта от 12.02.2015 N 82-ст)
по техническому регулированию
и метрологии
от 12 февраля 2015 г. N 82-ст
МЕЖГОСУДАРСТВЕННЫЙ СТАНДАРТ
КОНСЕРВЫ ГОМОГЕНИЗИРОВАННЫЕ ДЛЯ ДЕТСКОГО ПИТАНИЯ
МЕТОД ОПРЕДЕЛЕНИЯ КАЧЕСТВА ИЗМЕЛЬЧЕНИЯ
Homogenized canned food for infants. Method
for determination the degree of milling
ГОСТ 24283-2014
Дата введения
1 января 2016 года
Цели, основные принципы и основной порядок проведения работ по межгосударственной стандартизации установлены
ГОСТ 1.0-92 "Межгосударственная система стандартизации. Основные положения" и
ГОСТ 1.2-2009 "Межгосударственная система стандартизации. Стандарты межгосударственные, правила и рекомендации по межгосударственной стандартизации. Правила разработки, принятия, применения, обновления и отмены"
1 РАЗРАБОТАН Некоммерческой организацией "Российский союз производителей соков" (РСПС)
2 ВНЕСЕН Федеральным агентством по техническому регулированию и метрологии
3 ПРИНЯТ Межгосударственным советом по стандартизации, метрологии и сертификации (протокол от 30 сентября 2014 г. N 70-П)
За принятие голосовали:
Краткое наименование страны по МК (ИСО 3166) 004-97 | Код страны по МК (ИСО 3166) 004-97 | Сокращенное наименование национального органа по стандартизации |
Армения | AM | Минэкономики Республики Армения |
Беларусь | BY | Госстандарт Республики Беларусь |
Казахстан | KZ | Госстандарт Республики Казахстан |
Киргизия | KG | Кыргызстандарт |
Россия | RU | Росстандарт |
Таджикистан | TJ | Таджикстандарт |
4
Приказом Федерального агентства по техническому регулированию и метрологии от 12 февраля 2015 г. N 82-ст межгосударственный стандарт ГОСТ 24283-2014 введен в действие в качестве национального стандарта Российской Федерации с 1 января 2016 г.
5 ВЗАМЕН ГОСТ 24283-80
Информация об изменениях к настоящему стандарту публикуется в ежегодном информационном указателе "Национальные стандарты", а текст изменений и поправок - в ежемесячном информационном указателе "Национальные стандарты". В случае пересмотра (замены) или отмены настоящего стандарта соответствующее уведомление будет опубликовано в ежемесячном информационном указателе "Национальные стандарты". Соответствующая информация, уведомление и тексты размещаются также в информационной системе общего пользования - на официальном сайте Федерального агентства по техническому регулированию и метрологии в сети Интернет
Настоящий стандарт распространяется на фруктовые, овощные, фруктово-овощные и овоще-фруктовые гомогенизированные консервы для детского питания, в том числе на соковую продукцию с мякотью (далее - продукты) и устанавливает метод определения качества их измельчения (степени дисперсности) с применением оптической микроскопии.
В настоящем стандарте использованы нормативные ссылки на следующие межгосударственные стандарты:
ГОСТ OIML R 76-1-2011 Государственная система обеспечения единства измерений. Весы неавтоматического действия. Часть 1. Метрологические и технические требования. Испытания
ГОСТ 18300-87 Спирт этиловый ректификованный технический. Технические условия <*>
--------------------------------
<*> На территории Российской Федерации действует
ГОСТ Р 55878-2013 "Спирт этиловый технический гидролизный ректификованный. Технические условия".
ГОСТ 19808-86 Стекло медицинское. Марки
ГОСТ 23932-90 Посуда и оборудование лабораторные стеклянные. Общие технические условия
ГОСТ 25336-82 Посуда и оборудование лабораторные стеклянные. Типы. Основные параметры и размеры
ГОСТ 26313-2014 Продукты переработки плодов и овощей. Правила приемки, методы отбора проб
ГОСТ 26671-2014 Продукты переработки плодов и овощей, консервы мясные и мясорастительные. Подготовка проб для лабораторных анализов
ГОСТ 29227-91 (ИСО 835-1-81) Посуда лабораторная стеклянная. Пипетки градуированные. Часть 1. Общие требования
Примечание - При пользовании настоящим стандартом целесообразно проверить действие ссылочных стандартов в информационной системе общего пользования - на официальном сайте Федерального агентства по техническому регулированию и метрологии в сети Интернет или по ежегодному информационному указателю "Национальные стандарты", который опубликован по состоянию на 1 января текущего года, и по выпускам ежемесячного информационного указателя "Национальные стандарты" за текущий год. Если ссылочный стандарт заменен (изменен), то при пользовании настоящим стандартом следует руководствоваться заменяющим (измененным) стандартом. Если ссылочный стандарт отменен без замены, то положение, в котором дана ссылка на него, применяется в части, не затрагивающей эту ссылку.
Сущность метода заключается в определении среднего размера частиц мякоти и их распределения по размерам в суспензии продукта с применением оптической микроскопии визуально или автоматически с помощью программного обеспечения.
4 Отбор и подготовка проб
Приготовление суспензии пробы продукта для микроскопии (диспергирование в воде) следует проводить таким образом, чтобы сохранить фактический размер всех частиц (в качественном и количественном соотношении), свойственный продукту.
5 Средства измерений, вспомогательное оборудование, посуда, реактивы и материалы
Весы неавтоматического действия по
ГОСТ OIML R 76-1 среднего класса точности с наибольшим пределом взвешивания 2000 г, пределами допускаемой абсолютной погрешности +/- 0,01 г.
Микроскоп оптический проходящего света со следующими техническими характеристиками:
- линейное увеличение оптической системы - не менее 10x;
- поворот объектива - 360°;
- съемный двухкоординатный препаратоводитель, обеспечивающий перемещение препарата по столику в двух взаимно перпендикулярных направлениях - до 30 мм в одном направлении и до 80 мм в другом
или стереомикроскоп цифровой, снабженный компьютерной системой сбора и обработки информации и видеокамерой.
Осветитель для биологических люминесцентных микроскопов, обеспечивающий световой поток мощностью не менее 90 лм.
Микрометр окулярный винтовой, обеспечивающий погрешность измерения линейных размеров не более 0,015 мм.
Объект-микрометр проходящего света с ценой деления 0,01 мм для калибровки системы окуляр-микрометр.
Камера счетная проточная.
Стаканы типа В или Н по
ГОСТ 25336 вместимостью 100 и 2000 см
3.
Склянка с тубусом и краном исполнения 2 по
ГОСТ 25336, вместимостью 2000 см
3.
Трубка внутренним диаметром 5 или 7 мм из стекла марки НС-3 по ГОСТ 19808.
Шланги гибкие резиновые или силиконовые внутренним диаметром 5 мм.
Зажимы Мора или Кохера.
Мешалка магнитная любой конструкции.
Метиленовый синий, индикатор, ч.д.а., водный раствор массовой долей 1%.
Допускается применение других средств измерений, вспомогательного оборудования, не уступающих вышеуказанным по метрологическим и техническим характеристикам, а также реактивов, посуды и материалов, по качеству не хуже вышеуказанных.
6 Подготовка к проведению определения
6.1 Подготовка суспензии пробы продукта для микроскопирования
Взвешивают 20 - 30 г пробы продукта, подготовленной по
разделу 4, помещают в стакан вместимостью 2000 см
3, добавляют 1000 - 1500 см
3 дистиллированной воды и содержимое в стакане тщательно перемешивают на магнитной мешалке. Для получения контрастного изображения частиц прибавляют 2 - 3 см
3 водного раствора метиленового синего.
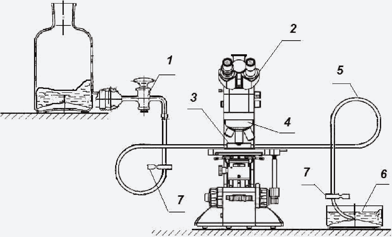
6.2 Подготовка установки
Собирают установку для проведения испытаний как показано на
рисунке 1. Соединяют с помощью гибких шлангов счетную камеру со склянкой с краном, в которую наливают суспензию, подготовленную по
6.1, и со сливной чашкой. На шлангах устанавливают зажимы. Настройку оптической системы микроскопа, состоящую из окуляр-микрометра и объективов, фокусировку и калибровку проводят согласно инструкции по его эксплуатации, и как описано в
6.3.
1 - склянка с краном, 2 - окуляр-микрометр, 3 - счетная
камера, 4 - объективы, 5 - гибкие шланги, 6 - сливная чашка,
7 - зажимы
Рисунок 1 - Установка для проведения испытаний
6.3 Настройка оптической системы
Окуляр-микрометр представляет собой линейную шкалу с делениями, нанесенную на стеклянную пластинку, вставленную в окуляр.
Перед началом работы определяют цену одного деления шкалы окуляр-микрометра, которая зависит от длины тубуса микроскопа и увеличения объектива (см.
рисунок 2).
Рисунок 2 - Линейный окуляр-микрометр
Для определения цены деления окуляр-микрометра используют объект-микрометр - выгравированную на стекле, заключенную в зеркальную оправу, линейку размером в 1 мм и ценой деления равной 0,01 мм, который устанавливают на столик микроскопа таким образом, чтобы одновременно были видны шкалы окуляр- и объект-микрометров и чтобы их нулевые деления совпадали и были параллельны.
Далее считают какому количеству делений окуляр-микрометра соответствует определенное число делений объект-микрометра и составляют пропорцию.
Это определение проводят один раз для определенного микроскопа, с помощью которого в дальнейшем проводят измерения.
Примечание - Для каждого диапазона увеличения должен быть подобран максимальный размер объектива. Для контроля контрастности и детализации изображения окрашенных продуктов можно использовать цветные фильтры с относительно узким спектром пропускания. В случае применения цифрового стереомикроскопа его настройку и подсчет частиц проводят автоматически в соответствии с руководством (инструкцией) по эксплуатации микроскопа и руководством пользователя программным обеспечением.
7.1 Взбалтывая содержимое склянки, освобождают зажимы, затем пропускают суспензию через счетную камеру до тех пор, пока пузырьки воздуха не исчезнут в поле зрения камеры, после чего перекрывают шланги зажимами.
Путем перемещения предметного столика размещают счетную камеру (см.
рисунок 3) так, чтобы край измеряемой частицы совпал с первым делением линейки окуляр-микрометра.
1 - основание, 2 - патрубки, 3 - прокладка, 4 - крышка,
5 - гайка, 6 - шпильки, 7 - шайбы
Рисунок 3 - Счетная проточная камера
Считают, сколько делений занимает частица. Умножив количество делений, занимаемых частицей, на цену деления окуляр-микрометра при данном объективе, вычисляют истинный размер частицы в миллиметрах. Измерение размеров частиц проводят при непосредственном наблюдении изображения в окуляре микрометра или при помощи видеокамеры на мониторе компьютера.
Определение размера частицы зависит от формы. Для сферических частиц размер определяется диаметром. Размер частиц неправильной формы определяется наибольшим размером от одного до другого конца частицы, ориентированной параллельно шкале окуляра.
7.2 Подсчет частиц осуществляют последовательно в 16 квадратах камеры с размером сторон 4x4 мм. Частица, попадающая на наружные линии квадрата, учитывается, если ее большая часть лежит внутри него.
7.3 Измеряют размер не менее 150 частиц в суспензии. Измеренные частицы в зависимости от их размеров делят на три группы. К первой группе относят частицы мякоти размером более 300 мкм (n1), ко второй - от 150 до 300 мкм включительно (n2), к третьей - от 15 до 150 мкм (n3).
После определения размеров частиц и их количества по группам подсчитывают количество частиц, отнесенных к каждой группе.
7.4 После окончания испытания всю систему необходимо промыть дистиллированной водой, камеру разобрать и протереть ватным тампоном, смоченным спиртом.
8 Обработка результатов измерений
8.1 Количество частиц размером более 150 мкм C150, %, в продукте вычисляют по формуле

, (1)
где n1 - количество частиц, размеры которых превышают 300 мкм;
n2 - количество частиц размером от 150 до 300 мкм;
N - общее количество частиц, подсчитанных в суспензии (n1 + n2 + n3);
100 - коэффициент пересчета из относительных величин в проценты.
8.2 Количество частиц размером более 300 мкм C300, %, в продукте вычисляют по формуле

. (2)
8.3 Предел размера частиц и допустимое количество частиц, превышающее этот предел устанавливают в технической документации на конкретный вид продукта в соответствии со значениями, приведенными в
таблице 1.
Количество подсчитанных частиц, шт. | Предельные значения количества частиц, %, |
размером более 150 мкм | размером более 300 мкм |
| | | |
150 - 169 | 36,0 | 24,0 | 10,3 | 3,7 |
170 - 199 | 35,5 | 24,5 | 10,1 | 3,9 |
200 - 249 | 35,0 | 25,0 | 9,8 | 4,2 |
250 - 299 | 34,6 | 25,4 | 9,5 | 4,5 |
300 - 349 | 34,2 | 25,8 | 9,3 | 4,7 |
350 - 399 | 33,9 | 26,1 | 9,2 | 4,8 |
400 - 499 | 33,6 | 26,4 | 9,0 | 5,0 |
500 - 599 | 33,2 | 26,8 | 8,8 | 5,2 |
600 - 799 | 32,9 | 27,1 | 8,6 | 5,4 |
800 - 999 | 32,5 | 27,5 | 8,4 | 5,6 |
1000 - 1500 | 32,1 | 27,9 | 8,2 | 5,8 |
 и  - наибольшие предельные значения количества частиц размером более 150 и более 300 мкм соответственно.  и  - наименьшие предельные значения количества частиц размером более 150 и более 300 мкм соответственно. |
8.4 Качество измельчения удовлетворяет требованиям стандарта на конкретный продукт, если одновременно соблюдается условие

(3)
8.5 Качество измельчения не удовлетворяет требованиям стандарта на конкретный продукт, если выполняется хотя бы одно из условий

; (4)

. (5)
8.6 Если
условие (3) или одновременно
условия (4) и
(5) не выполняются, необходимо повторить испытание с той же пробой и вычисления по
формулам (1),
(2), учитывая результаты всех проведенных испытаний. Полученные результаты необходимо сравнить с предельными значениями количества частиц, приведенными в
таблице 1.
8.7 Если нельзя сделать вывод о качестве измельчения при подсчете более 1000 частиц, то продукт следует считать не удовлетворяющим требованиям стандарта на данный продукт.
8.8 Примеры обработки результатов измерений приведены в
приложении А.
(справочное)
ПРИМЕРЫ ОБРАБОТКИ РЕЗУЛЬТАТОВ ИЗМЕРЕНИЙ
А.1 Пример А.1
Количества частиц по группам, полученные в результате подсчета в суспензии пробы продукта, приведены в
таблице А.1.
Количество частиц | Распределение частиц по группам |
Первая | Вторая | Третья |
6 | 27 | 159 |
Общее | N = 6 + 27 + 159 = 192 |
Более 150 мкм | |
Более 300 мкм | |
Сравнение полученных данных с данными таблицы показывает, что при N = 192:
- если

, то

;
- если

, то

.
Качество измельчения удовлетворяет требованиям настоящего стандарта на конкретный продукт, так как одновременно соблюдается
условие (3).
А.2 Пример А.2
Количества частиц по группам, полученные в результате подсчета в суспензии пробы продукта, приведены в
таблице А.2.
Количество частиц | Распределение частиц по группам |
Первая | Вторая | Третья |
12 | 65 | 122 |
Общее | N = 12 + 65 + 122 = 199 |
Более 150 мкм | |
Более 300 мкм | |
Сравнение полученных данных с данными таблицы показывает, что при N = 199:
- если

, то

.
Качество измельчения не соответствует требованиям стандарта на конкретный продукт, так как выполняются
условия (4) и
(5).
А.3 Пример А.3
Количества частиц по группам, полученные в результате подсчета в суспензии пробы продукта, приведены в
таблице А.3.
Количество частиц | Распределение частиц по группам |
Первая | Вторая | Третья |
6 | 29 | 120 |
Общее | N = 6 + 29 + 120 = 155 |
Более 150 мкм | |
Более 300 мкм | |
Сравнение полученных данных с данными таблицы показывает, что при N = 155:
- если

, то

;
Вывод о качестве измельчения продукта сделать нельзя.
В этом случае необходимо подсчитать под микроскопом дополнительно не менее 100 частиц.
При повторном подсчете получены следующие данные:
Таблица А.4
Количество частиц | Распределение частиц по группам |
Первая | Вторая | Третья |
5 | 31 | 135 |
Общее | N = 155 + 5 + 31 + 135 = 326 |
Более 150 мкм | |
Более 300 мкм | |
Сравнение полученных данных с данными таблицы показывает, что при N = 326:
- если

, то

;
- если

, то

.
Качество измельчения соответствует требованиям настоящего стандарта на конкретный продукт, так как одновременно соблюдается
условие (3).
УДК 664.863.001.4:006.354 | | |
Ключевые слова: гомогенизированные фруктовые и овощные соки и нектары, пюре и консервы для детского питания, соковая продукция с мякотью, качество измельчения, микроскопирование, суспензия |