Главная // Актуальные документы // ГОСТ (Государственный стандарт)СПРАВКА
Источник публикации
М.: Стандартинформ, 2016
Примечание к документу
Текст данного документа приведен с учетом
поправки, опубликованной в "ИУС", N 4, 2017;
поправки, опубликованной в "ИУС", N 9, 2023.
Документ
введен в действие с 01.01.2017.
Название документа
"ГОСТ 33700-2015. Межгосударственный стандарт. Нефть. Определение содержания воды методом дистилляции"
(введен в действие Приказом Росстандарта от 15.07.2016 N 846-ст)
"ГОСТ 33700-2015. Межгосударственный стандарт. Нефть. Определение содержания воды методом дистилляции"
(введен в действие Приказом Росстандарта от 15.07.2016 N 846-ст)
Введен в действие
по техническому регулированию
и метрологии
от 15 июля 2016 г. N 846-ст
МЕЖГОСУДАРСТВЕННЫЙ СТАНДАРТ
НЕФТЬ
ОПРЕДЕЛЕНИЕ СОДЕРЖАНИЯ ВОДЫ МЕТОДОМ ДИСТИЛЛЯЦИИ
Oil. Determination of water content by distillation method
ГОСТ 33700-2015
Дата введения
1 января 2017 года
Цели, основные принципы и основной порядок проведения работ по межгосударственной стандартизации установлены
ГОСТ 1.0-2015 "Межгосударственная система стандартизации. Основные положения" и
ГОСТ 1.2-2015 "Межгосударственная система стандартизации. Стандарты межгосударственные, правила и рекомендации по межгосударственной стандартизации. Правила разработки, принятия, обновления и отмены"
1 РАЗРАБОТАН Федеральным государственным унитарным предприятием "Всероссийский научно-исследовательский институт расходометрии (ФГУП "ВНИИР")
2 ВНЕСЕН Федеральным агентством по техническому регулированию и метрологии
3 ПРИНЯТ Межгосударственным советом по стандартизации, метрологии и сертификации (протокол от 10 декабря 2015 г. N 48-2015)
За принятие проголосовали:
Краткое наименование страны по МК (ИСО 3166) 004-97 | Код страны по МК (ИСО 3166) 004-97 | Сокращенное наименование национального органа по стандартизации |
Азербайджан | AZ | Азстандарт |
Армения | AM | Минэкономики Республики Армения |
Казахстан | KZ | Госстандарт Республики Казахстан |
Киргизия | KG | Кыргызстандарт |
Россия | RU | Росстандарт |
Таджикистан | TJ | Таджикстандарт |
4
Приказом Федерального агентства по техническому регулированию и метрологии от 15 июля 2016 г. N 846-ст межгосударственный стандарт введен в действие в Российской Федерации для применения в качестве национального стандарта с 1 января 2017 г.
5 Настоящий стандарт разработан с учетом основных нормативных положений стандарта ASTM D 4006-11 "Стандартный метод определения содержания воды в сырой нефти с помощью перегонки" ("Standard test method for water in crude oil by distillation", NEQ)
6 ВВЕДЕН ВПЕРВЫЕ
Информация об изменениях к настоящему стандарту публикуется в ежегодном информационном указателе "Национальные стандарты", а текст изменений и поправок - в ежемесячном информационном указателе "Национальные стандарты". В случае пересмотра (замены) или отмены настоящего стандарта соответствующая информация будет опубликована в ежемесячном информационном указателе "Национальные стандарты". Соответствующая информация, уведомление и тексты размещаются также в информационной системе общего пользования - на официальном сайте Федерального агентства по техническому регулированию и метрологии в сети Интернет
1.1 Настоящий стандарт устанавливает метод определения содержания воды в нефти с помощью дистилляции.
1.2 Значения, указанные в единицах СИ, рассматривают как стандартные.
В настоящем стандарте использованы нормативные ссылки на следующие стандарты:
ГОСТ 1770-74 Посуда мерная лабораторная стеклянная. Цилиндры, мензурки, колбы, пробирки. Общие технические условия
ГОСТ 9147-80 Посуда и оборудование лабораторные фарфоровые. Технические условия
ГОСТ 25336-82 Посуда и оборудование лабораторные стеклянные. Типы, основные параметры и размеры
Примечание - При пользовании настоящим стандартом целесообразно проверить действие ссылочных стандартов в информационной системе общего пользования - на официальном сайте Федерального агентства по техническому регулированию и метрологии в сети Интернет или по ежегодному информационному указателю "Национальные стандарты", который опубликован по состоянию на 1 января текущего года, и по выпускам ежемесячного информационного указателя "Национальные стандарты" за текущий год. Если ссылочный стандарт заменен (изменен), то при пользовании настоящим стандартом, следует руководствоваться заменяющим (измененным) стандартом. Если ссылочный стандарт отменен без замены, то положение, в котором дана ссылка на него, применяется в части, не затрагивающей эту ссылку.
Сущность метода состоит в нагревании пробы нефти с не растворимым в воде растворителем и измерении объема сконденсированной воды.
Пробы для испытания нагревают в дистилляционном аппарате с обратным конденсатором, с не смешивающимся с водой растворителем, который отгоняют с водой из образца. Сконденсированный растворитель и вода непрерывно разделяются в приемнике или ловушке, вода осаждается в градуированной секции приемника, а растворитель возвращается в перегонный аппарат.
4.1 При определении содержания воды в нефти применяют следующие аппараты и материалы:
4.1.1 Аппарат для количественного определения содержания воды в нефти.
Допускается применять колбы типа К-1-500-29/32 ТС, К-1-1000-29/32 ТС, К-I-2000-45/40 ТС с переходом П1-2-45/40-29/32 ТС по
ГОСТ 25336 или металлический дистилляционный сосуд вместимостью 500, 1000, 2000 см
3.
4.1.2 Приемники-ловушки со шкалой:
- 25 см3 (при ожидаемом содержании воды более 25 см3), оснащенные запорным краном;
- 10 см3 и 2 см3;
- 5 см3, с ценой деления 0,1 см3 и погрешностью не более 0,05 см3.
4.1.3 Чашка фарфоровая N 4 или 5 по
ГОСТ 9147.
4.1.4 Цилиндр измерительный номинальной вместимостью 100 см
3 по
ГОСТ 1770.
4.1.5 Горелка газовая или электрическое нагревательное устройство.
Для металлического дистилляционного сосуда применяют круговую газовую горелку с отверстиями по внутренней окружности. Размеры горелки должны позволять перемещать ее вверх и вниз вдоль дистилляционного сосуда во время испытания проб продуктов.
4.1.6 Холодильник типа ХПТ с длиной кожуха не менее 300 мм по
ГОСТ 25336.
4.1.7 Палочка стеклянная длиной около 500 мм с резиновым наконечником или проволока металлическая такой же длины с утолщением на конце.
4.1.8 Секундомер.
4.1.9 Материалы:
- смесь хромовая;
- нефрас;
- жидкость силиконовая;
- олеин.
4.2 Аппаратуру собирают таким образом, чтобы обеспечить герметичность всех соединений и исключить утечку пара и проникание посторонней влаги.
Вместимость дистилляционного сосуда и приемника-ловушки выбирают в зависимости от предполагаемого содержания воды в пробе.
При использовании металлического дистилляционного сосуда со сменной крышкой, между корпусом дистилляционного сосуда и его крышкой должна быть прокладка или твердая, пропитанная растворителем бумага.
Верхний конец холодильника закрывают неплотным ватным тампоном во избежание конденсации атмосферной влаги внутри трубки холодильника. Включают приток холодной воды в кожух холодильника.
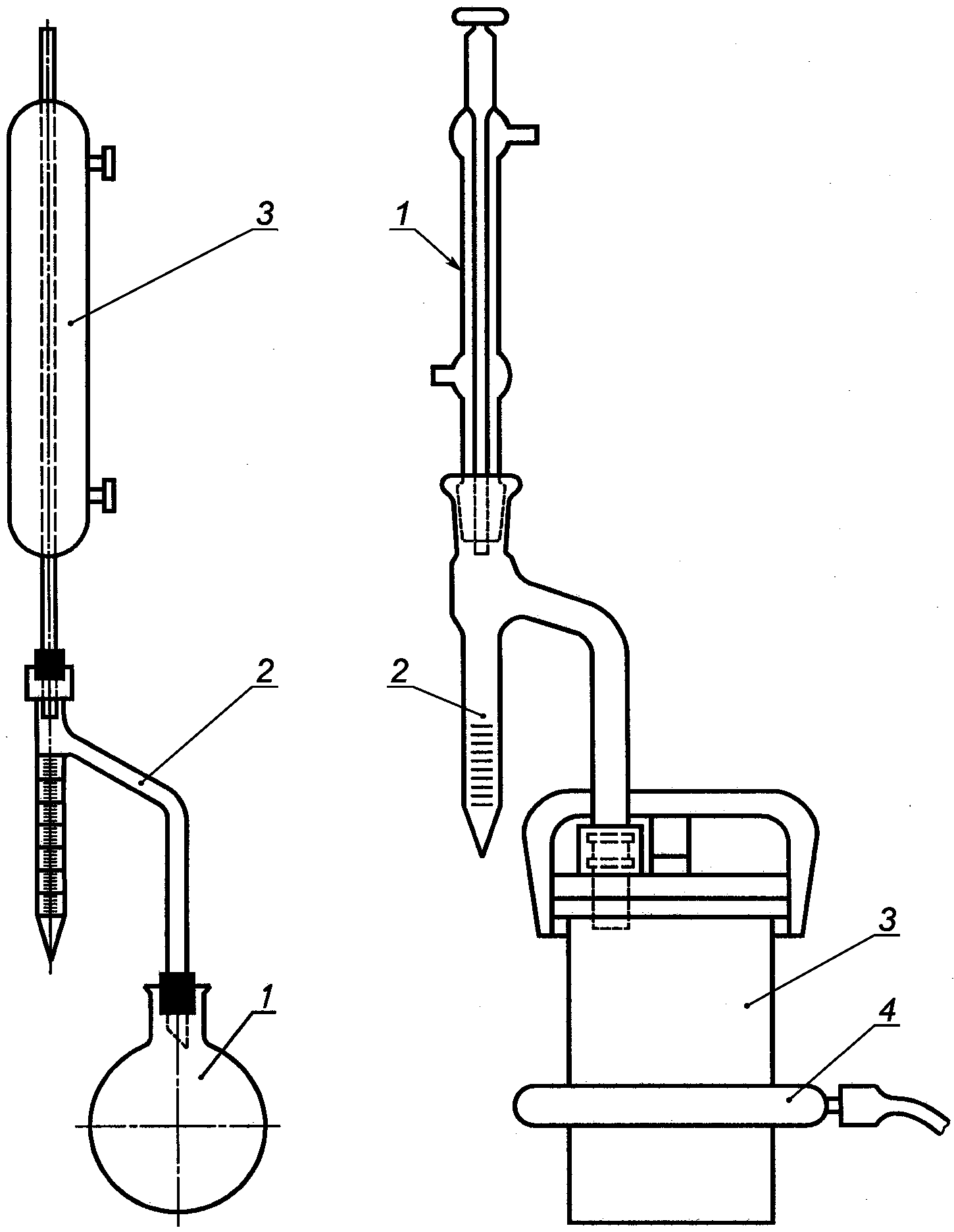
Дистилляционный сосуд 3 (см. рисунок 1) соединяют (узкогорлую колбу соединяют непосредственно с помощью шлифа, а широкогорлую - с помощью перехода и шлифов) с отводной трубкой чистого и сухого приемника-ловушки 2. К приемнику-ловушке присоединяют с помощью шлифа прочищенный ватой холодильник 1.
1 - водный холодильник; 2 - приемник-ловушка;
3 - дистилляционный сосуд; 4 - газовая горелка
Рисунок 1 - Дистиллятор
4.2.1 При резкой разнице между температурой в комнате и температурой воды, поступающей в холодильник, верхний конец трубки холодильника следует закрывать ватой во избежание конденсации атмосферной влаги внутри трубки холодильника.
5.1 Ксилол - чистый для анализа. Помещают 400 мл растворителя в аппарат для перегонки и испытывают в соответствии с
разделом 7. Холостое определение проводят до ближайшей отметки 0,03 мл и используют для коррекции объема воды в ловушке согласно
разделу 8.
5.2 Ксилол, используемый в данной процедуре, как правило, представляет собой смесь орто-, мета- и параизомеров и может содержать некоторое количество этилбензола. Стандартные характеристики данного реагента представлены ниже:
цветность по шкале APHA | не более 10; |
интервал кипения | 137 °C - 144 °C; |
остаток после выпаривания | 0,002%; |
сернистые соединения (S) | 0,003%. |
Вещества, окисляемые серной кислотой | |
Цвет успешно прошел испытание | |
Вода H2O | 0,02%; |
Тяжелые металлы Pb | 0,1 м.д.; |
Медь Cu | 0,1 м.д.; |
Железо Fe | 0,1 м.д.; |
Никель Ni | 0,1 м.д.; |
Серебро Ag | 0,1 м.д. |
5.3 Прочие безводные углеводородные растворители:
Допускается применять другие реактивы, параметры которых не хуже указанных в настоящем стандарте.
6. Отбор проб и подготовка к испытанию
6.1 Подготовка пробы
Отбор и подготовку проб проводят по
ГОСТ 2517 со следующим дополнением:
- пробу испытуемой нефти хорошо перемешивают пятиминутным встряхиванием в емкости, заполненной не более чем на 3/4 емкости.
В нескольких местах (не менее трех) не вблизи стенок сосуда берут пробы примерно в равных количествах. Пробы объединяют и сливают в фарфоровую чашку, тщательно перемешивают.
При возникновении сомнений в отношении однородности смеси пробы определение проводят с использованием не менее трех проб. Средний результат считают показателем содержания воды.
6.2 Подготовка оборудования
Дистилляционный сосуд, приемник-ловушку и внутреннюю трубку холодильника промывают последовательно нефрасом, ацетоном, водопроводной водой, ополаскивают дистиллированной водой и сушат. При загрязнении стеклянные части прибора промывают хромовой смесью, водопроводной водой, ополаскивают дистиллированной водой и сушат.
В дистилляционную колбу вводят 100 см3 или 100 г пробы с погрешностью не более 1%. При применении приемника-ловушки со шкалой 10 см3 количество испытуемого образца (в зависимости от содержания воды) уменьшают так, чтобы объем воды, собравшейся в приемнике-ловушке, не превышал 10 см3.
Затем цилиндром отмеряют в колбу 100 см3 растворителя, тщательно перемешивают содержимое колбы до полного растворения испытуемой пробы нефти и прибавляют в колбу несколько капель силиконовой жидкости или 1 - 2 г олеина.
6.3 Подготовка к испытанию
Для определения содержания воды по объему измеряют количество капельной жидкости в калиброванной градуированной емкости. Содержимое цилиндра аккуратно переливают в перегонную колбу, промывают цилиндр пять раз ксилолом, количество которого соответствует пятой части емкости градуированного цилиндра, затем помещают данное количество в колбу. Цилиндр, для обеспечения полного переноса пробы, тщательно высушивают.
Для определения содержания воды по массе пробу взвешивают.
7.1 Включают нагреватель, содержимое колбы с пробой нефти доводят до кипения и далее нагревают таким образом, чтобы скорость конденсации дистиллята в приемник была от двух до пяти капель в 1 с.
Металлический дистилляционный сосуд нагревают при положении горелки около 75 мм под дном дистилляционного сосуда. Горелку постепенно поднимают и следят за скоростью дистилляции, которая не должна превышать пять капель в 1 с.
Если в процессе дистилляции происходит неустойчивое каплеобразование, то увеличивают скорость дистилляции или останавливают на несколько минут приток охлаждающей воды в холодильник.
7.2 Если под конец перегонки в трубке холодильника задерживаются капли воды, то их смывают растворителем, увеличив для этого на непродолжительное время интенсивность кипения.
7.3 Перегонку прекращают, как только объем воды в приемнике-ловушке не будет увеличиваться и верхний слой растворителя станет совершенно прозрачным. Время перегонки должно быть не менее 30 и не более 60 мин.
Оставшиеся на стенках трубки холодильника капельки воды сталкивают в приемник-ловушку стеклянной палочкой или металлической проволокой.
7.4 После того как колба охладится, а растворитель и вода в приемнике-ловушке примут температуру воздуха в комнате, аппарат разбирают и сталкивают стеклянной палочкой или проволокой капельки воды со стенок приемника-ловушки.
Если в приемнике-ловушке со шкалой 25 см3 собралось более 25 см3 воды, то излишки выпускают в градуированную пробирку.
Если в приемнике-ловушке собралось небольшое количество воды (до 0,3 см3) и растворитель мутный, то приемник-ловушку помещают на 20 - 30 мин в горячую воду для осветления и снова охлаждают до комнатной температуры.
Затем записывают объем воды, собравшейся в приемнике-ловушке, с точностью до одного верхнего деления занимаемой водой части приемника-ловушки.
7.5 Точность настоящего метода будет зависеть от капель воды, прилипающих к поверхностям аппарата и, следовательно, не оседающих в приемнике. Чтобы свести к минимуму прилипание капель воды, все части аппарата должны подвергаться химической очистке не реже одного раза в день для удаления поверхностных пленок и остатков, которые препятствуют свободному отводу воды из аппарата. Рекомендуют более частые очистки, если характер проб вызывает стойкое загрязнение.
7.6 Содержание воды по объему определяют по
6.3. Добавляют достаточное количество ксилола в колбу для получения общего объема ксилола, равного 400 мл.
7.7 Содержание воды по массе определяют по
6.3. Добавляют достаточное количество ксилола в колбу для получения общего объема ксилола, равного 400 мл.
8.1 Содержание воды в пробе, %, рассчитывают следующим образом:

; (1)

; (2)

, (3)
где A - количество воды в ловушке, мл;
B - количество воды при холостом определении, мл;
C - количество испытуемой пробы, мл;
m - количество испытуемой пробы, г;
D - плотность пробы, г/мл.
8.2 В качестве результата испытания проб указывают содержание воды с точностью до 0,03%. Содержание воды менее 0,03% приравнивают к 0%.
8.3 Неустойчивое растворимое в воде вещество, при его наличии, можно измерять в качестве воды.
9. Прецизионность и отклонение
9.1 Сходимость
Расхождение между последовательными результатами испытаний, полученными одним и тем же оператором на одном и том же аппарате при постоянных условиях работы на идентичном анализируемом материале в течение длительного времени при нормальном и правильном проведении метода испытания, может превысить значения только в одном случае из двадцати:
- от 0,0% до 0,1% содержания воды - см. рисунок 2;
- более 0,1% содержания воды - повторяемость имеет постоянное значение 0,08.
Рисунок 2 - Прецизионность метода определения воды в нефти
9.2 Воспроизводимость
Расхождение между двумя единичными и независимыми результатами испытаний, полученными разными операторами в разных лабораториях на идентичном анализируемом материале в течение длительного времени при нормальном и правильном проведении метода испытания, может превысить значения только в одном случае из двадцати:
- от 0,0% до 0,1% содержания воды - см.
рисунок 2;
- более 0,1% содержания воды - воспроизводимость имеет постоянное значение 0,11.