Главная // Актуальные документы // ГОСТ (Государственный стандарт)
СПРАВКА
Источник публикации
М.: Стандартинформ, 2016
Примечание к документу
С 1 июля 2003 года до вступления в силу технических регламентов акты федеральных органов исполнительной власти в сфере технического регулирования носят рекомендательный характер и подлежат обязательному исполнению только в части, соответствующей целям, указанным в пункте 1 статьи 46 Федерального закона от 27.12.2002 N 184-ФЗ.

Документ введен в действие с 1 июля 2017 года.
Название документа
"ГОСТ 33678-2015. Межгосударственный стандарт. Тракторы сельскохозяйственные и лесохозяйственные. Внешний шум. Нормы и методы оценки"
(введен в действие Приказом Росстандарта от 12.07.2016 N 826-ст)

"ГОСТ 33678-2015. Межгосударственный стандарт. Тракторы сельскохозяйственные и лесохозяйственные. Внешний шум. Нормы и методы оценки"
(введен в действие Приказом Росстандарта от 12.07.2016 N 826-ст)


Содержание


Введен в действие
Приказом Федерального
агентства по техническому
регулированию и метрологии
от 12 июля 2016 г. N 826-ст
МЕЖГОСУДАРСТВЕННЫЙ СТАНДАРТ
ТРАКТОРЫ СЕЛЬСКОХОЗЯЙСТВЕННЫЕ И ЛЕСОХОЗЯЙСТВЕННЫЕ
ВНЕШНИЙ ШУМ. НОРМЫ И МЕТОДЫ ОЦЕНКИ
Agricultural and forestry tractors. External sound.
Rates and evaluation methods
ГОСТ 33678-2015
Группа Т58
МКС 65.060.10
Дата введения
1 июля 2017 года
Предисловие
Цели, основные принципы и основной порядок проведения работ по межгосударственной стандартизации установлены ГОСТ 1.0-2015 "Межгосударственная система стандартизации. Основные положения" и ГОСТ 1.2-2015 "Межгосударственная система стандартизации. Стандарты межгосударственные, правила и рекомендации по межгосударственной стандартизации. Правила разработки, принятия, обновления и отмены"
Сведения о стандарте
1 РАЗРАБОТАН Российской ассоциацией производителей сельхозтехники (Ассоциация "Росагромаш")
2 ВНЕСЕН Межгосударственным техническим комитетом по стандартизации МТК 284 "Тракторы и машины сельскохозяйственные"
3 ПРИНЯТ Межгосударственным советом по стандартизации, метрологии и сертификации (протокол по переписке от 12 ноября 2015 г. N 82-П)
За принятие проголосовали:
Краткое наименование страны по МК (ИСО 3166) 004-97
Код страны по МК (ИСО 3166) 004-97
Сокращенное наименование национального органа по стандартизации
Армения
AM
Минэкономики Республики Армения
Беларусь
BY
Госстандарт Республики Беларусь
Киргизия
KG
Кыргызстандарт
Россия
RU
Росстандарт
4 Приказом Федерального агентства по техническому регулированию и метрологии от 12 июля 2016 г. N 826-ст межгосударственный стандарт ГОСТ 33678-2015 введен в действие в качестве национального стандарта Российской Федерации с 1 июля 2017 г.
5 ВВЕДЕН ВПЕРВЫЕ
Информация об изменениях к настоящему стандарту публикуется в ежегодном информационном указателе "Национальные стандарты" (по состоянию на 1 января текущего года), а текст изменений и поправок - в ежемесячном информационном указателе "Национальные стандарты". В случае пересмотра (замены) или отмены настоящего стандарта соответствующее уведомление будет опубликовано в ежемесячном информационном указателе "Национальные стандарты". Соответствующая информация, уведомление и тексты размещаются также в информационной системе общего пользования - на официальном сайте Федерального агентства по техническому регулированию и метрологии в сети Интернет (www.gost.ru)
1. Область применения
Настоящий стандарт распространяется на колесные сельскохозяйственные и лесохозяйственные тракторы (далее - тракторы) и устанавливает нормы и методы оценки внешнего шума, производимого движущимся и неподвижным трактором с работающим двигателем.
2. Нормативные ссылки
В настоящем стандарте использована нормативная ссылка на следующий стандарт:
ГОСТ 17187-2010 Шумомеры. Общие технические требования и методы испытаний
Примечание - При пользовании настоящим стандартом целесообразно проверить действие ссылочных стандартов в информационной системе общего пользования - на официальном сайте Федерального агентства по техническому регулированию и метрологии в сети Интернет или по ежегодному информационному указателю "Национальные стандарты", который опубликован по состоянию на 1 января текущего года, и по выпускам ежемесячного информационного указателя "Национальные стандарты" за текущий год. Если ссылочный стандарт заменен (изменен), то при пользовании настоящим стандартом следует руководствоваться заменяющим (измененным) стандартом. Если ссылочный стандарт отменен без замены, то положение, в котором дана ссылка на него, применяется в части, не затрагивающей эту ссылку.
3. Термины и определения
3.1 внешний шум, дБА: Уровень звука, производимого движущимся или неподвижным трактором с работающим двигателем в открытом пространстве.
4. Допустимый уровень звука внешнего шума
Уровень звука внешнего шума при измерении его в соответствии с требованиями настоящего стандарта не должен превышать:
- 85 дБА - для тракторов с эксплуатационной массой (без балласта), не превышающей 1500 кг;
- 89 дБА - для тракторов с эксплуатационной массой (без балласта), превышающей 1500 кг.
5. Средства измерений
Шумоизмерительная аппаратура - по ГОСТ 17187.
Тахометр.
6. Условия для измерений внешнего шума,
производимого трактором
6.1 Место проведения измерений шума - открытое свободное пространство, в котором расстояние до крупных отражающих шум поверхностей (сооружений, других машин, лесных посадок) должно быть не менее 50 м от испытуемого трактора и измерительных микрофонов.
Центральная часть поверхности этого пространства радиусом не менее 20 м должна иметь покрытие из бетона, асфальта или другого материала с подобными отражающими (шум) свойствами.
В центральной части поверхности размечается измерительная площадка согласно рисунку 1. Площадка должна быть очищена от сыпучих материалов, рыхлого снега и т.п.
C'C - траектория движения трактора; M - место расположения
микрофонов; A-A' и B-B' - границы измерительной площадки,
по которой трактор движется в режиме разгона;
P-P' - центральная линия разметки площадки;
O - центральная точка разметки измерительной площадки
Рисунок 1 - Схема измерения внешнего шума
при движении трактора
6.2 Атмосферное давление, температура воздуха и относительная влажность при испытаниях должны быть в пределах, указанных в инструкциях по эксплуатации измерительной аппаратуры. Скорость ветра при измерении шума не должна быть более 4 м/с. Испытания не проводят во время дождя, грозы, снегопада.
6.3 Уровень шума помех окружающей среды, включая шум ветра, должен быть на 10 дБА меньше измеряемого шума трактора.
Уровень помех определяют в центре измерительной площадки на высоте (1,2 +/- 0,05) м от ее поверхности до и после проведения измерений. Около измерительных микрофонов и объекта измерений не должно быть посторонних людей.
7. Метод проведения измерений внешнего шума
7.1 Шумоизмерительная аппаратура должна соответствовать ГОСТ 17187.
7.2 Уровень звука измеряют по характеристике A шумомера.
Измерения следует проводить при динамической характеристике шумомера "медленно".
Измерения проводят не менее двух раз с каждой стороны трактора.
Полученные результаты измерений считают действительными, если разность между последовательными измерениями, сделанными с одной и той же стороны трактора, не превышает 2 дБА.
Если максимальное измеренное значение уровня звука превышает допустимое значение, установленное в разделе 4, не более чем на 1 дБА, то следует выполнить два дополнительных измерения. При этом три из четырех результатов измерений не должны превышать допустимое значение, установленное в разделе 4.
8. Измерения внешнего шума движущегося трактора
8.1 Уровень звука внешнего шума, производимого трактором, определяют в режиме его разгона от установившейся скорости движения, равной 75% скорости на высшей транспортной передаче, без нагрузки на крюке, при проезде трактора мимо микрофонов шумомера, установленных на измерительной площадке согласно рисунку 1 на высоте (1,2 +/- 0,05) м от опорной поверхности.
8.2 К измерительной площадке трактор движется с установившейся скоростью согласно 8.1. В момент пересечения линии AA' передними колесами трактора оператор осуществляет режим разгона быстрым переводом рычага (педали) в положение полной подачи топлива и поддерживает режим разгона трактора до пересечения линии BB' его задними колесами. В момент пересечения линии BB' оператор быстро переводит рычаг подачи топлива в исходное положение.
8.3 За уровень звука внешнего шума движущегося трактора следует принимать максимальное из признанных действительными его значений (7.2).
9. Измерения внешнего шума неподвижного трактора
с работающим двигателем
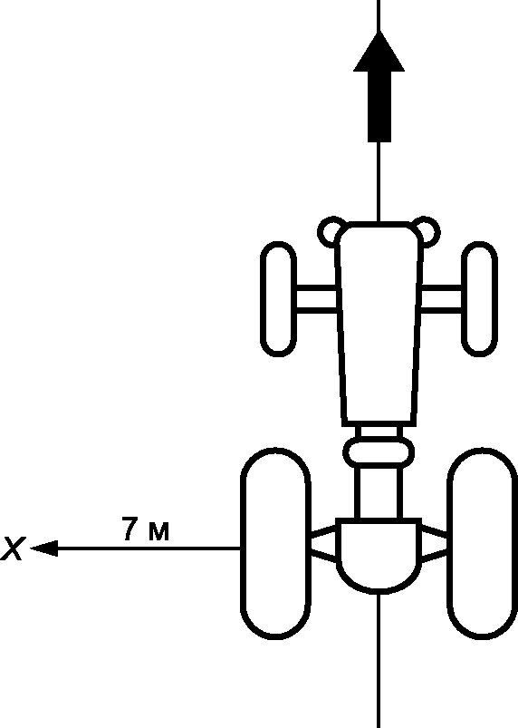
9.1 Микрофоны должны быть расположены в точке X на расстоянии 7 м от ближайшей поверхности трактора согласно рисунку 2 на высоте (1,20 +/- 0,05) м от опорной поверхности.
X - микрофон
Рисунок 2 - Схема измерений внешнего шума
неподвижного трактора
9.2 Двигатель трактора с регулятором частоты вращения коленчатого вала должен работать на максимальной частоте вращения, допустимой регулятором каждого конкретного двигателя, установленного на трактор.
Двигатель без регулятора частоты вращения коленчатого вала должен работать с частотой, составляющей 75% частоты вращения, указанной изготовителем, при которой он (двигатель) развивает максимальную мощность.
Перед проведением всех измерений двигатель следует прогреть до рабочей температуры, указанной изготовителем.
Частоту вращения коленчатого вала двигателя следует измерять отдельным тахометром (без использования тахометра трактора).
9.3 За уровень звука внешнего шума неподвижного трактора следует принимать максимальное из признанных действительными его значений (7.2).
10. Оформление результатов измерений
10.1 Все измерения по разделам 8 и 9 должны быть включены в протокол испытаний (см. приложение А).
10.2 За оценочный показатель уровня звука внешнего шума трактора принимают максимальное из полученных его значений в разделах 8 и 9.
10.3 Соответствие уровня звука шума, создаваемого данным трактором, требованиям настоящего стандарта производится путем сравнения его значения по 10.2 с допустимым значением, установленным в разделе 4.
Приложение А
(обязательное)
ФОРМА ПРОТОКОЛА ИЗМЕРЕНИЙ ВНЕШНЕГО ШУМА
Марка и номер трактора ____________________________________________________
Год изготовления __________________________________________________________
Марка и номер двигателя ___________________________________________________
Число отработанных часов _________________________________
Описание выпускной системы трактора (тип, марка, каталожные или серийные
номера основных деталей): _________________________________________________
___________________________________________________________________________
Место проведения испытаний ________________________________________________
Наименование и тип измерительных приборов _________________________________
Уровень звука внешнего шума, дБА:
движущегося трактора ______________________________________________________
неподвижного трактора с работающим двигателем _____________________________
Метеоусловия
Скорость ветра, м/с
Атмосферное давление, мм рт. ст.
Температура воздуха, °C
Относительная влажность, %