Главная // Актуальные документы // ГОСТ (Государственный стандарт)
СПРАВКА
Источник публикации
М.: Стандартинформ, 2016
Примечание к документу
Отдельные положения данного документа включены в Перечень международных и региональных (межгосударственных) стандартов, а в случае их отсутствия - национальных (государственных) стандартов, в результате применения которых на добровольной основе обеспечивается соблюдение требований технического регламента Таможенного союза "О безопасности машин и оборудования" (ТР ТС 010/2011) (Решение Коллегии Евразийской экономической комиссии от 09.03.2021 N 28).

Текст данного документа приведен с учетом поправки, опубликованной в "ИУС", N 7, 2019.

Документ введен в действие с 01.07.2017.

Название документа
"ГОСТ 12.2.120-2015. Межгосударственный стандарт. Система стандартов безопасности труда. Кабины и рабочие места операторов тракторов и самоходных сельскохозяйственных машин. Общие требования безопасности"
(введен в действие Приказом Росстандарта от 12.07.2016 N 825-ст)

"ГОСТ 12.2.120-2015. Межгосударственный стандарт. Система стандартов безопасности труда. Кабины и рабочие места операторов тракторов и самоходных сельскохозяйственных машин. Общие требования безопасности"
(введен в действие Приказом Росстандарта от 12.07.2016 N 825-ст)


Содержание


Введен в действие
Приказом Федерального агентства
по техническому регулированию
и метрологии
от 12 июля 2016 г. N 825-ст
МЕЖГОСУДАРСТВЕННЫЙ СТАНДАРТ
СИСТЕМА СТАНДАРТОВ БЕЗОПАСНОСТИ ТРУДА
КАБИНЫ И РАБОЧИЕ МЕСТА ОПЕРАТОРОВ ТРАКТОРОВ
И САМОХОДНЫХ СЕЛЬСКОХОЗЯЙСТВЕННЫХ МАШИН
ОБЩИЕ ТРЕБОВАНИЯ БЕЗОПАСНОСТИ
Occupational safety standards system. Cabs and operator's
workplaces of tractors and powered agricultural
machines. General safety requirements
ГОСТ 12.2.120-2015
Группа Т58
МКС 13.100
65.060.10
Дата введения
1 июля 2017 года
Предисловие
Цели, основные принципы и основной порядок проведения работ по межгосударственной стандартизации установлены в ГОСТ 1.0-92 "Межгосударственная система стандартизации. Основные положения" и ГОСТ 1.2-2009 "Межгосударственная система стандартизации. Стандарты межгосударственные, правила, рекомендации по межгосударственной стандартизации. Правила разработки, принятия, применения, обновления и отмены"
Сведения о стандарте
1 РАЗРАБОТАН Российской ассоциацией производителей сельхозтехники (Ассоциация Росагромаш)
2 ВНЕСЕН Федеральным агентством по техническому регулированию и метрологии Российской Федерации (Росстандарт)
3 ПРИНЯТ Межгосударственным советом по стандартизации, метрологии и сертификации (протокол по переписке от 12 ноября 2015 г. N 82-П)
За принятие проголосовали:
Краткое наименование страны по МК (ИСО 3166) 004-97
Код страны по МК (ИСО 3166) 004-97
Сокращенное наименование национального органа по стандартизации
Армения
AM
Минэкономики Республики Армения
Беларусь
BY
Госстандарт Республики Беларусь
Казахстан
KZ
Госстандарт Республики Казахстан
Киргизия
KG
Кыргызстандарт
Россия
RU
Росстандарт
4 Приказом Федерального агентства по техническому регулированию и метрологии от 12 июля 2016 г. N 825-ст межгосударственный стандарт ГОСТ 12.2.120-2015 введен в действие в качестве национального стандарта Российской Федерации с 1 июля 2017 г.
5 ВЗАМЕН ГОСТ 12.2.120-2005
Информация об изменениях к настоящему стандарту публикуется в ежегодном информационном указателе "Национальные стандарты" (по состоянию на 1 января текущего года), а текст изменений и поправок - в ежемесячном информационном указателе "Национальные стандарты". В случае пересмотра (замены) или отмены настоящего стандарта соответствующее уведомление будет опубликовано в ежемесячном информационном указателе "Национальные стандарты". Соответствующая информация, уведомление и тексты размещаются также в информационной системе общего пользования - на официальном сайте Федерального агентства по техническому регулированию и метрологии в сети Интернет
1. Область применения
Настоящий стандарт распространяется на кабины и рабочие места операторов тракторов, самоходных сельскохозяйственных машин, универсальных энергетических средств (далее - машин) и устанавливает требования безопасности к конструкции кабин и их оборудованию, санитарно-гигиеническим и эргономическим требованиям к рабочим местам операторов.
Настоящий стандарт не распространяется на малогабаритные тракторы и самоходные машины с колеей менее 1150 мм, а также на самоходные машины, предназначенные для работы в закрытых помещениях (теплицах, животноводческих фермах).
2. Нормативные ссылки
В настоящем стандарте использованы нормативные ссылки на следующие межгосударственные стандарты:
ГОСТ 12.2.002.2-91 Система стандартов безопасности труда. Тракторы сельскохозяйственные и лесные колесные. Метод статических испытаний защитных конструкций <*>
--------------------------------
<*> На территории Российской Федерации действует ГОСТ Р ИСО 5700-2008 "Тракторы сельскохозяйственные и лесохозяйственные колесные. Устройства защиты при опрокидывании. Метод статических испытаний и условия приемки".
ГОСТ ИСО 2867-2002 Машины землеройные. Системы доступа <**>
--------------------------------
<**> На территории Российской Федерации действует ГОСТ Р ИСО 2867-2011 "Машины землеройные. Системы доступа".
ГОСТ ИСО 3164-2002 Машины землеройные. Защитные устройства. Характеристика объема ограничения деформации при лабораторных испытаниях <***>
--------------------------------
<***> На территории Российской Федерации действует ГОСТ Р ИСО 3164-99 "Машины землеройные. Защитные устройства. Характеристика объема ограничения деформации при лабораторных испытаниях".
ГОСТ ИСО 3411-2003 Машины землеройные. Антропометрические данные операторов и минимальное рабочее пространство вокруг оператора
ГОСТ ИСО 4252-2005 Тракторы сельскохозяйственные. Рабочее место оператора, вход и выход. Размеры
ГОСТ ИСО 4253-2005 Тракторы сельскохозяйственные. Расположение сиденья оператора. Размеры
ГОСТ ISO 4254-1-2013 <*> Машины сельскохозяйственные. Требования безопасности. Часть 1. Общие требования
--------------------------------
<*> На территории Российской Федерации действует ГОСТ Р ИСО 4254-1-2011 "Машины сельскохозяйственные. Требования безопасности. Часть 1. Общие требования".
ГОСТ ISO 26322-1-2012 Тракторы для сельского и лесного хозяйства. Безопасность. Часть 1. Тракторы стандартные
ГОСТ ISO 26322-2-2012 Тракторы для сельского и лесного хозяйства. Безопасность. Часть 2. Узкоколейные и малые тракторы
ГОСТ ИСО 4254-7-2005 Тракторы и машины для сельскохозяйственных работ и лесоводства. Технические средства обеспечения безопасности. Часть 7. Комбайны зерноуборочные, кормоуборочные и хлопкоуборочные <**>
--------------------------------
<**> На территории Российской Федерации действует ГОСТ Р ИСО 4254-7-2011 "Машины сельскохозяйственные. Требования безопасности. Часть 7. Комбайны зерноуборочные, кормоуборочные и хлопкоуборочные.
ГОСТ ИСО 5353-2003 Машины землеройные, тракторы и машины для сельскохозяйственных работ и лесоводства. Контрольная точка сиденья <***>
--------------------------------
<***> На территории Российской Федерации действует ГОСТ Р ИСО 5353-2012 "Машины землеройные, тракторы и машины для сельского и лесного хозяйства. Контрольная точка сиденья".
ГОСТ ИСО 8082-2002 Машины лесозаготовительные, тракторы лесопромышленные и лесохозяйственные. Устройство защиты при опрокидывании. Требования безопасности и методы испытаний <*4>
--------------------------------
<*4> На территории Российской Федерации действует ГОСТ Р ИСО 8082-1-2012 "Машины для леса самоходные. Устройства защиты при опрокидывании. Технические требования и методы испытаний. Часть 1. Машины общего назначения".
ГОСТ ISO 8083-2011 Машины для леса. Устройства защиты от падающих предметов. Технические требования и методы испытаний
ГОСТ ISO 8084-2011 Машины для леса. Устройства защиты оператора. Технические требования и методы испытаний
ГОСТ ИСО 11112-2000 Машины землеройные. Сиденье оператора. Размеры и технические требования <*5>
--------------------------------
<*5> На территории Российской Федерации действует ГОСТ Р ИСО 11112-2012 "Машины землеройные. Сиденье водителя. Размеры и требования".
ГОСТ ИСО 14269-2-2003 Тракторы и самоходные машины для сельскохозяйственных работ и лесоводства. Окружающая среда рабочего места оператора. Часть 2. Метод испытаний и характеристики систем отопления, вентиляции и кондиционирования воздуха
ГОСТ ИСО 14269-5-2003 Тракторы и самоходные машины для сельскохозяйственных работ и лесоводства. Окружающая среда рабочего места оператора. Часть 5. Метод испытания системы герметизации
ГОСТ 20062-96 Сиденье тракторное. Общие технические условия
ГОСТ 21480-76 Система "Человек - машина". Мнемосхемы. Общие эргономические требования
ГОСТ 21753-76 Система "Человек - машина". Рычаги управления. Общие эргономические требования
ГОСТ 26336-97 Тракторы, машины для сельского и лесного хозяйства, самоходные механизмы для газонов и садов. Условные обозначения (символы) элементов систем управления, обслуживания и отображения информации <*6>
--------------------------------
<*6> На территории Российской Федерации действует ГОСТ 26336-84 "Тракторы и сельскохозяйственные машины, механизированное газонное и садовое оборудование. Система символов для обозначения органов управления и средств отображения информации. Символы".
ГОСТ 27258-87 (ИСО 6682:86) Машины землеройные. Зоны комфорта и досягаемости органов управления
ГОСТ 30879-2003 Транспорт дорожный, тракторы и машины для сельскохозяйственных работ и лесоводства. Определение характеристик горения материалов отделки салона <*7>
--------------------------------
<*7> На территории Российской Федерации действует ГОСТ 25076-81 "Материалы неметаллические для отделки интерьера автотранспортных средств".
ГОСТ 32565-2013 Стекло безопасное для наземного транспорта. Общие технические условия
Примечание - При пользовании настоящим стандартом целесообразно проверить действие ссылочных стандартов в информационной системе общего пользования - на официальном сайте Федерального агентства по техническому регулированию и метрологии в сети Интернет или по ежегодному информационному указателю "Национальные стандарты", который опубликован по состоянию на 1 января текущего года, и по выпускам ежемесячного информационного указателя "Национальные стандарты" за текущий год. Если ссылочный стандарт заменен (изменен), то при пользовании настоящим стандартом следует руководствоваться заменяющим (измененным) стандартом. Если ссылочный стандарт отменен без замены, то положение, в котором дана ссылка на него, применяется в части, не затрагивающей эту ссылку.
3. Требования к конструкции кабины
3.1 Точкой отсчета параметров кабин и зон расположения органов управления является контрольная точка сиденья (SIP) по ГОСТ ИСО 5353.
3.2 Для одноместной кабины минимальное рабочее пространство для оператора должно соответствовать:
- для тракторов - ГОСТ ИСО 4252, для промышленных, лесопромышленных и лесохозяйственных тракторов - ГОСТ ИСО 3411;
- для зерноуборочных, кормоуборочных и хлопкоуборочных комбайнов - ГОСТ ИСО 4254-7 и ГОСТ ISO 4254-1.
Для остальных машин минимальное рабочее пространство для оператора, рассчитанное на работу сидя, ограниченное элементами кабины и ее оборудования при среднем по регулировкам (вертикальной, горизонтальной и по массе оператора) положении сиденья, - в соответствии с рисунком 1.
Примечание - Минимальное рабочее пространство по 3.2 и 3.3 не определяет форму кабины.
Рисунок 1
Минимальная ширина двухместной кабины машины на высоте от 310 до 810 мм над SIP должна быть не менее 1400 мм.
3.3 Минимальное рабочее пространство в кабинах, рассчитанных на работу оператора в положении стоя, - по ГОСТ ИСО 3411.
3.4 Для машин с реверсивным постом управления минимальное рабочее пространство и размеры кабины при реверсивном управлении - по техническим условиям (ТУ) на машины конкретных моделей.
3.5 Минимальные размеры дверного проема и прохода при максимально возможном открытии двери для кабин тракторов, кроме лесопромышленных и лесохозяйственных, - по ГОСТ ИСО 4252, для кабин зерноуборочных, кормоуборочных и хлопкоуборочных комбайнов - по ГОСТ ИСО 4254-7 и ГОСТ ISO 4254-1, для остальных машин - в соответствии с рисунком 2. Для лесопромышленных и лесохозяйственных тракторов - по ГОСТ ИСО 2867.
--------------------------------
<*> Высота дверного проема при максимально возможном открытии двери кабины, предназначенной для работы стоя.
<**> Минимальная высота дверного проема для кабин, предназначенных для работы сидя.
Примечание - Рисунок 2 не определяет форму дверного проема.
Рисунок 2
Для колесных тракторов классов менее 1,4 допускается по согласованию с потребителем уменьшение высоты дверного проема не более чем на 50 мм.
3.6 Машины, за исключением самоходных сельскохозяйственных машин, гусеничных сельскохозяйственных, лесопромышленных и лесохозяйственных тракторов (кроме виноградниковых тракторов) должны быть оборудованы защитными кабинами или иметь устройства, обеспечивающие ограничение деформации при опрокидывании и (или) падении на кабину случайных предметов. Промышленные тракторы должны быть оборудованы защитными кабинами или устройствами по требованию потребителя.
Размеры и расположение относительно точки SIP и сиденья операторов:
- зоны свободного пространства для защитных кабин (устройств) колесных сельскохозяйственных тракторов - по ГОСТ 12.2.002.2;
- объема ограничения деформации для защитных кабин (устройств) промышленных, лесопромышленных и лесохозяйственных тракторов - по ГОСТ ИСО 3164.
Лесопромышленные и лесохозяйственные тракторы должны быть оснащены кабинами и оборудованы устройствами защиты при опрокидывании по ГОСТ ИСО 8082, от падающих предметов - по ГОСТ ISO 8083 и проникающих предметов - по ГОСТ ISO 8084.
При двухместной кабине аналогичное ограничение деформации должно быть обеспечено и для второго рабочего места.
Для кабин с реверсивным постом управления ограничение деформации кабины должно быть обеспечено для обоих положений поста управления.
3.7 В случае установки защитного каркаса или дуги безопасности следует выполнять требования 3.2, 3.3 и 3.6.
3.8 Кабины тракторов, кроме лесопромышленных и лесохозяйственных, должны иметь аварийные выходы по ГОСТ ИСО 4252, кабины зерноуборочных, кормоуборочных и хлопкоуборочных комбайнов - по ГОСТ ИСО 4254-7 и ГОСТ 4254-1 Кабины лесопромышленных и лесохозяйственных тракторов должны иметь запасной (второй) выход по ГОСТ ИСО 2867.
Остальные машины должны иметь не менее трех аварийных выходов, которыми могут служить двери, окна, люки. Аварийные выходы должны быть расположены на разных сторонах (стенках, крыше) кабины и иметь форму эллипса с главными осями 640 и 440 мм или квадрата со стороной 600 мм, или прямоугольника 650 x 470 мм, или круга диаметром 650 мм.
Аварийные выходы должны открываться без помощи инструмента. Если аварийными выходами являются застекленные окна, то в кабине должны находиться средства, которыми при аварийной ситуации можно разбить или выставить стекло аварийного выхода.
3.9 Кабины машин должны защищать оператора от атмосферных осадков.
3.10 Конструкция кабины должна обеспечивать герметичность по ГОСТ 14269-5.
3.11 Контрольные приборы в кабине машины должны иметь подсветку, исключающую появление бликов.
3.12 Материалы, применяемые для отделки салона кабин машин, должны быть неогнеопасными и иметь скорость горения не более 150 мм/мин при испытаниях по ГОСТ 30879.
4. Требования к оборудованию кабин
4.1 Кабины самоходных сельскохозяйственных машин должны быть оборудованы стеклоочистителями передних стекол, а остальные машины - передних и задних стекол.
Количество стеклоочистителей должно быть установлено в ТУ на конкретные машины.
Стеклоочистители должны работать независимо от режима работы двигателя и скорости движения машины.
Допускается при отсутствии реверсивного поста управления для стеклоочистителей задних стекол иметь только ручной привод.
4.2 Кабины тракторов должны быть оборудованы омывателями передних стекол.
Установка омывателей передних стекол в кабинах остальных машин - по требованию заказчика.
4.3 Кабины машин должны иметь стекла по ГОСТ 32565 или другие при условии обеспечения требований безопасности по ГОСТ 32565.
По требованию заказчика допускается остекление кабин теплопоглощающими стеклами.
4.4 Открываемые окна кабин должны открываться изнутри и иметь устройство для фиксации их в открытом и закрытом положениях.
4.5 Двери кабин должны иметь замки, запирающиеся на ключ, и фиксатор для удержания их в крайнем открытом положении.
Допускается устанавливать замок на одной двери при наличии на другой двери внутреннего запора.
Аварийные люки (при их наличии) должны иметь внутренние запоры.
4.6 Кабины машин должны быть оборудованы плафонами внутреннего освещения с автономным включением.
Рекомендуемая освещенность на уровне пульта управления и щитка приборов от внутреннего освещения кабины - не менее 5 лк.
4.7 В кабине машин должны быть предусмотрены места для расположения футляра с аптечкой первой медицинской помощи, устройств для крепления термоса или другой емкости для питьевой воды и для верхней одежды оператора.
4.8 В кабине машин должно быть предусмотрено место для установки радиоприемника и антенны.
4.9 Кабины машин должны обеспечивать защиту лицо оператора от прямых солнечных лучей.
4.10 Кабины колесных машин, которые могут перемещаться по дорогам общего пользования, должны быть оборудованы наружными зеркалами заднего вида слева и справа. Кабины самоходных сельскохозяйственных машин, кроме комбайнов зерноуборочных и кормоуборочных, должны быть оборудованы наружным зеркалом заднего вида только слева, обеспечивающим обзор назад. Оборудование зеркалами кабин зерноуборочных и кормоуборочных комбайнов - по ГОСТ ИСО 4254-7.
5. Требования к средствам доступа на рабочее место
5.1 Для тракторов размеры рабочего места оператора, входа и выхода на рабочее место должны соответствовать ГОСТ ИСО 4252.
5.2 Средства доступа на рабочее место комбайнов зерноуборочных, кормоуборочных и хлопкоуборочных - по ГОСТ ИСО 4254-7 и ГОСТ ISO 4254-1.
5.3 Для тракторов и остальных сельскохозяйственных машин средства доступа на рабочее место должны соответствовать ГОСТ ISO 4254-1.
Над верхней частью гусеницы трактора по ширине дверного проема должна быть установлена горизонтальная опорная площадка, либо гусеница должна перекрываться кабиной на величину не менее 80% ее ширины.
Если между гусеницей и кабиной расположена подножка, то допускается площадку не устанавливать.
6. Требования к рабочему месту оператора
6.1 Кабины должны быть оборудованы системами вентиляции и отопления. Рабочие характеристики систем вентиляции и отопления рабочего места оператора должны соответствовать ГОСТ ИСО 14269-2.
Для самоходных машин, предназначенных для эксплуатации преимущественно в теплый период года, допускается не устанавливать систему отопления.
6.2 При установке кондиционера рабочие характеристики системы кондиционирования воздуха должны соответствовать ГОСТ ИСО 14269-2.
6.3 Рабочее место оператора машин, кроме лесопромышленных и лесохозяйственных тракторов, должно быть оборудовано подрессоренным сиденьем со спинкой по ГОСТ 20062. Лесопромышленные и лесохозяйственные тракторы должны быть оснащены сиденьем - по ГОСТ ИСО 11112.
На специальных модификациях сельскохозяйственных тракторов в технически обоснованных случаях по согласованию с потребителем допускается установка неподрессоренного сиденья.
Для рабочих мест с реверсивным постом управления должен обеспечиваться поворот сиденья на 180° с фиксацией его в рабочих положениях.
При необходимости несимметричного расположения сиденья допускается по согласованию с заказчиком уменьшение расстояния до ближайшей боковой стенки не более чем на 75 мм.
Размеры дополнительного сиденья при его наличии - по ТУ на машины конкретных моделей
6.4 Концентрация пыли в кабине в зависимости от содержания SiO2 должна быть не более указанной в таблице 1.
Таблица 1
Содержание кристаллического SiO2 в пыли, %
Средняя концентрация пыли, мг/м3
До 2
10
Св. 2 до 10
4
" 10 " 70
2
" 70
1
6.5 Концентрация окиси углерода в кабине при работающем двигателе не должна быть выше 20 мг/м3.
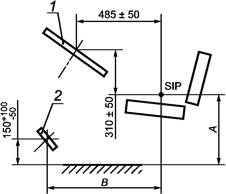
6.6 Расположение педалей и рулевого колеса относительно точки SIP для сельскохозяйственных тракторов - по ГОСТ ИСО 4253. Для машин размеры, взаимное расположение сиденья, рулевого колеса, педалей муфты сцепления и тормоза при выбранном свободном ходе должны соответствовать приведенным на рисунках 3, 4 и в таблице 2. Регулируемая рулевая колонка при этом должна находиться в среднем положении.
1 - рулевое колесо; 2 - педали тормоза и муфты сцепления
Примечание - Размеры указаны при следующих условиях:
- педали находятся в положении, когда выбран свободный ход;
- сиденье нагружено и находится в среднем по регулировкам положении.
Рисунок 3
1 - сцепление; 2 - тормоз; 3 - акселератор
Рисунок 4
Таблица 2
Размеры в миллиметрах
A +/- 20
B +/- 20
435
715
455
695
475
685
495
665
515
645
535
625
Расположение органов управления лесопромышленных и лесохозяйственных тракторов - по ГОСТ 27258.
Расположение основных и вспомогательных органов управления для сельскохозяйственных машин с реверсивным постом управления - по ТУ на машины конкретных моделей.
6.7 Зоны досягаемости рук и ног оператора для тракторов - по ГОСТ ISO 26322-1 и ГОСТ ISO 26322-2, для зерноуборочных, кормоуборочных и хлопкоуборочных комбайнов - по ГОСТ ИСО 4254-7 и ГОСТ ISO 4254-1.
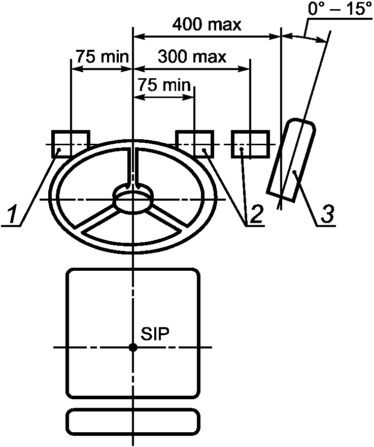
Для остальных машин при работе оператора в положении сидя:
- в зоне B (см. рисунок 5) не должно быть никаких элементов, которые могут мешать оператору пользоваться органами управления;
- в зоне A должно обеспечиваться свободное пространство не менее 120 мм между соседними движущимися элементами.
Рисунок 5 - Сферические зоны свободного пространства
6.8 Типовые способы приведения в действие основных органов управления даны в приложении А.
6.9 Расположение рулевого колеса для тракторов - по ГОСТ ИСО 4253, для зерноуборочных, кормоуборочных и хлопкоуборочных комбайнов - по ГОСТ ИСО 4254-7 и ГОСТ ISO 4254-1.
Для остальных машин рулевое колесо должно располагаться относительно горизонтальной плоскости в пределах 10° - 30° при работе сидя и в пределах 0° - 30° - при работе стоя, при этом регулировку следует проводить бесступенчато или с фиксацией не менее чем в четырех положениях. Рулевое колесо этих машин должно иметь регулировку по высоте (вдоль оси колонки) на 100 +/- 20 мм бесступенчато или с фиксацией не менее чем в пяти положениях.
6.10 Расположение органов управления для тракторов - по ГОСТ ИСО 4252, для зерноуборочных, кормоуборочных и хлопкоуборочных комбайнов - по ГОСТ ИСО 4254-7 и ГОСТ ISO 4254-1.
Для остальных машин расстояния от рукояток рычагов управления (во всех положениях) до элементов рабочего места и между рукоятками, кроме рычагов, приводимых в движение одновременно горизонтально расположенной кистью, должны быть не менее 50 мм; для приводимых в движение кистью с управляющим усилием свыше 150 Н и не менее 25 мм - для приводимых в действие пальцами с управляющим усилием от 80 до 150 Н (кроме органов управления двигателем).
Минимальная длина свободной части рычага вместе с рукояткой в любом его положении, приводимого в движение пальцами, должна быть не менее 50 мм, приводимого в движение кистью - не менее 150 мм.
6.11 Эргономические требования по конструированию органов управления - по ГОСТ 21753.
6.12 Опорные площадки основных педалей должны иметь длину и ширину не менее чем по 60 мм.
Если в кабине машины не предусмотрены педали управления, то на полу кабины могут быть установлены наклонные упоры или опорные площадки для ног под углом 25° - 40° к горизонтали, покрытые малотеплопроводным материалом. Размеры их должны обеспечивать устойчивое положение ног оператора.
6.13 Расстояние между кромками площадок рядом расположенных неблокируемых педалей должно быть в пределах 50 - 100 мм, блокируемых - 5 - 20 мм. Угол разворота от продольной оси машины опорных площадок педалей, приводимых в действие стопой ноги, не должен превышать 15°.
6.14 Силы сопротивления перемещению органов управления не должны превышать значений, приведенных в таблице 3.
Таблица 3
Управляемый орган
Сила сопротивления, Н
Ножное управление
Ручное управление
Рекомендуемое значение
Максимальное значение
Рекомендуемое значение
Максимальное значение
Муфта главного сцепления
120
250
-
-
Коробка переключения передач:
- без разрыва потока мощности
-
-
60
-
- с разрывом потока мощности
-
-
160
-
Механизм поворота:
- без усилителя
-
-
-
250
- с усилителем:
- на рулевом колесе
-
-
-
30
- на рулевом колесе с гидрообъемным приводом при аварийной ситуации
-
-
-
600
- на рычагах
-
-
40
60
Рабочий тормоз
200
600
160
200
Стояночный тормоз
-
-
200
400
Регулятор частоты вращения двигателя
50
90
30
80
Деселератор
60
120
90
120
Распределитель гидросистемы:
- механический привод (рычаги)
-
-
60
100
- электрогидравлический привод:
а) рукоятка
-
-
15
30
б) кнопка
-
-
1
5
- гидравлический привод
60
75
20
60
- механогидравлический привод
-
-
60
100
Вал отбора мощности
-
-
160
200
Остальные органы
-
250
-
150
6.15 Элементы органов управления, с которыми соприкасаются руки оператора или обслуживающего персонала, следует изготовлять из материала с теплопроводностью не более 0,2 Вт/(м·К), или они должны иметь покрытие из этого материала толщиной не менее 0,5 мм.
6.16 Средства отображения информации следует обозначать символами по ГОСТ 26336 и/или надписями, которые должны быть расположены на панели приборов в непосредственной близости от индикатора (прибора, сигнальной лампочки и др.) или на самом индикаторе.
Общие эргономические требования к мнемосхемам - по ГОСТ 21480.
Приложение А
(рекомендуемое)
ТИПОВЫЕ СПОСОБЫ
ПРИВЕДЕНИЯ В ДЕЙСТВИЕ ОСНОВНЫХ ОРГАНОВ УПРАВЛЕНИЯ
Таблица А.1
Наименование органов управления
Управляющее воздействие оператора
Направляющее перемещение
Рычаг подачи топлива
Приведение в действие предпочтительно правой рукой
Перемещение вперед и вверх и (или) вперед и в сторону вертикальной плоскости, проходящей через продольную ось машины, для увеличения числа оборотов двигателя
Педаль подачи топлива
Приведение в действие стопой или носком стопы правой ноги
Перемещение нажатием вперед и (или) вниз для увеличения числа оборотов двигателя
Рулевое колесо
Приведение в действие двумя руками
Вращение рулевого колеса по часовой стрелке для поворота машины вправо, против часовой стрелки - влево
Рычаги поворота (правый и левый) для машин с гусеничным движителем
Приведение в действие правой и (или) левой руками
Перемещение правого рычага назад для поворота машины вправо, левого рычага назад - влево
Педали тормозов для тракторов и машин с колесным движителем
Приведение в действие правой ногой
Перемещение нажатием вперед и (или) вниз при торможении
Педали тормозов для машин с гусеничным движителем
Приведение в действие правой и (или) левой ногами
Перемещение нажатием вперед и (или) вниз при торможении
Рычаг стояночного тормоза
Приведение в действие правой или левой рукой
Перемещение тянущим движением при торможении
Педаль муфты сцепления
Приведение в действие левой ногой
Перемещение нажатием вперед - вниз для отключения муфты
Рычаг реверса
Приведение в действие правой или левой рукой
Перемещение вперед для переднего хода
Рычаг изменения скорости движения при бесступенчатой коробке передач
Приведение в действие предпочтительно правой рукой
Перемещение вверх и (или) вперед для увеличения скорости переднего хода. Перемещение назад и (или) вниз для увеличения скорости заднего хода
Рычаг переключения передач
Приведение в действие правой или левой рукой
Направление перемещения относительно нейтрального положения обозначать мнемосхемой
Рычаги управления гидросистемой навесного оборудования
Приведение в действие предпочтительно правой рукой
Перемещение вверх и (или) назад для подъема, вниз и (или) вперед - для опускания навесного оборудования