Главная // Актуальные документы СПРАВКА
Источник публикации
М.: ФГБУ "Институт стандартизации", 2024
Примечание к документу
Документ утратил силу с 01.01.2025 в связи с изданием
Приказа Росстандарта от 10.10.2024 N 1419-ст. Взамен введен в действие
ГОСТ ISO 4254-1-2024.
Документ включен в
Перечень международных и региональных (межгосударственных) стандартов, а в случае их отсутствия - национальных (государственных) стандартов, в результате применения которых на добровольной основе обеспечивается соблюдение требований технического
регламента Таможенного союза "О безопасности машин и оборудования" (ТР ТС 010/2011) и в
Перечень международных и региональных (межгосударственных) стандартов, а в случае их отсутствия - национальных (государственных) стандартов, содержащих правила и методы исследований (испытаний) и измерений, в том числе правила отбора образцов, необходимые для применения и исполнения требований технического
регламента Таможенного союза "О безопасности машин и оборудования" (ТР ТС 010/2011) и осуществления оценки соответствия объектов технического регулирования (
Решение Коллегии Евразийской экономической комиссии от 09.03.2021 N 28).
Документ включен в
Перечень стандартов, в результате применения которых на добровольной основе обеспечивается соблюдение требований технического
регламента Таможенного союза "О безопасности машин и оборудования" (ТР ТС 010/2011) и в
Перечень стандартов, содержащих правила и методы исследований (испытаний) и измерений, в том числе правила отбора образцов, необходимые для применения и исполнения требований технического
регламента Таможенного союза "О безопасности машин и оборудования" (ТР ТС 010/2011) и осуществления оценки (подтверждения) соответствия продукции (
Решение комиссии Таможенного союза от 18.10.2011 N 823).
Документ
вводился в действие с 01.01.2025.
Название документа
"ГОСТ ISO 4254-1-2013. Межгосударственный стандарт. Машины сельскохозяйственные. Требования безопасности. Часть 1. Общие требования"
(введен в действие Приказом Росстандарта от 26.01.2024 N 86-ст)
"ГОСТ ISO 4254-1-2013. Межгосударственный стандарт. Машины сельскохозяйственные. Требования безопасности. Часть 1. Общие требования"
(введен в действие Приказом Росстандарта от 26.01.2024 N 86-ст)
агентства по техническому
регулированию и метрологии
от 26 января 2024 г. N 86-ст
МЕЖГОСУДАРСТВЕННЫЙ СТАНДАРТ
МАШИНЫ СЕЛЬСКОХОЗЯЙСТВЕННЫЕ
ТРЕБОВАНИЯ БЕЗОПАСНОСТИ
ЧАСТЬ 1
ОБЩИЕ ТРЕБОВАНИЯ
Agricultural machinery. Safety requirements.
Part 1. General requirements
(ISO 4254-1:2008, IDT)
ГОСТ ISO 4254-1-2013
Дата введения
1 января 2025 года
Цели, основные принципы и общие правила проведения работ по межгосударственной стандартизации установлены
ГОСТ 1.0 "Межгосударственная система стандартизации. Основные положения" и
ГОСТ 1.2 "Межгосударственная система стандартизации. Стандарты межгосударственные, правила и рекомендации по межгосударственной стандартизации. Правила разработки, принятия, обновления и отмены"
1 ПОДГОТОВЛЕН Научно-производственным республиканским унитарным предприятием "Белорусский государственный институт стандартизации и сертификации" (БелГИСС) на основе собственного перевода на русский язык англоязычной версии стандарта, указанного в
пункте 5
2 ВНЕСЕН Государственным комитетом по стандартизации Республики Беларусь
3 ПРИНЯТ Межгосударственным советом по стандартизации, метрологии и сертификации (протокол от 25 марта 2013 г. N 55-П)
За принятие проголосовали:
Краткое наименование страны по МК (ИСО 3166) 004-97 | Код страны по МК (ИСО 3166) 004-97 | Сокращенное наименование национального органа по стандартизации |
Армения | AM | ЗАО "Национальный орган по стандартизации и метрологии" Республики Армения |
Беларусь | BY | Госстандарт Республики Беларусь |
Казахстан | KZ | Госстандарт Республики Казахстан |
Киргизия | KG | Кыргызстандарт |
Молдова | MD | Институт стандартизации Молдовы |
Россия | RU | Росстандарт |
Таджикистан | TJ | Таджикстандарт |
Узбекистан | UZ | Узстандарт |
4
Приказом Федерального агентства по техническому регулированию и метрологии от 26 января 2024 г. N 86-ст межгосударственный стандарт ГОСТ ISO 4254-1-2013 введен в действие в качестве национального стандарта Российской Федерации с 1 января 2025 г.
5 Настоящий стандарт идентичен международному стандарту ISO 4254-1:2008 "Машины сельскохозяйственные. Безопасность. Часть 1. Общие требования" ("Agricultural machinery - Safety - Part 1: General requirements", IDT).
Международный стандарт разработан подкомитетом SC 3 "Безопасность и комфорт" технического комитета по стандартизации ISO/TC 23 "Тракторы и машины для сельского и лесного хозяйства" Международной организации по стандартизации (ISO) и утвержден Европейским комитетом по стандартизации (CEN) в качестве европейского стандарта без внесения изменений.
Сведения о соответствии ссылочных международных стандартов межгосударственным стандартам приведены в дополнительном
приложении ДА
6 ВВЕДЕН ВПЕРВЫЕ
Информация о введении в действие (прекращении действия) настоящего стандарта и изменений к нему на территории указанных выше государств публикуется в указателях национальных стандартов, издаваемых в этих государствах, а также в сети Интернет на сайтах соответствующих национальных органов по стандартизации.
В случае пересмотра, изменения или отмены настоящего стандарта соответствующая информация будет опубликована на официальном интернет-сайте Межгосударственного совета по стандартизации, метрологии и сертификации в каталоге "Межгосударственные стандарты"
Существует следующая иерархическая структура стандартов, устанавливающих требования безопасности в области машиностроения:
а) стандарты типа A (основополагающие стандарты безопасности), содержащие основные концепции, принципы конструирования и общие аспекты, которые могут быть применены к машинам;
б) стандарты типа B (общие стандарты безопасности), рассматривающие один или более аспектов безопасности или один или более типов устройств безопасности, применяющихся для широкого диапазона машин:
- стандарты типа B1 распространяются на специальные аспекты безопасности (например, безопасное расстояние, температура поверхности, шум);
- стандарты типа B2 распространяются на устройства безопасности (например, двуручные органы управления, блокирующие устройства, регуляторы давления);
в) стандарты типа C (стандарты безопасности на машины), устанавливающие детальные требования безопасности для конкретных машин или групп машин в соответствии с областью применения стандарта.
Настоящий стандарт представляет собой стандарт типа C по ISO 12100.
Если требования настоящего стандарта отличаются от положений, установленных в стандартах типа A или B, то для машин, сконструированных и изготовленных в соответствии с настоящим стандартом, его требования являются предпочтительными по отношению к требованиям других стандартов.
Машины и связанные с ними опасности, опасные ситуации и явления, рассматриваемые в настоящем стандарте, приведены в области применения. Эти опасности установлены для самоходных, монтируемых, прицепных, полуприцепных, навесных и полунавесных сельскохозяйственных машин.
Международный стандарт ISO 4254 под общим заголовком "Машины сельскохозяйственные. Безопасность" содержит следующие части:
- часть 1. Общие требования;
- часть 5. Почвообрабатывающее оборудование с активными рабочими органами;
- часть 6. Опрыскиватели и машины для внесения жидких удобрений;
- часть 7. Комбайны зерноуборочные, кормоуборочные и хлопкоуборочные;
- часть 8. Разбрасыватели твердых удобрений;
- часть 9. Рядовые сеялки;
- часть 10. Барабанные сеноворошилки и грабли;
- часть 11. Пресс-подборщики;
- часть 12. Ротационные косилки дискового и барабанного типов и цеповые косилки.
ISO 4254-3 "Тракторы" после пересмотра был заменен на ISO 26322-1 и ISO 26322-2
[8].
ISO 4254-4 "Машины сельскохозяйственные. Требования безопасности. Лебедки лесные" после пересмотра был заменен на ISO 19472
[7].
Настоящий стандарт устанавливает общие требования безопасности и их оценку при разработке и изготовлении самоходных, монтируемых, навесных, полунавесных, полуприцепных и прицепных машин, используемых в сельском хозяйстве. Дополнительно стандарт устанавливает информацию по безопасной эксплуатации (включая информацию об остаточных рисках), предоставляемую изготовителем.
Настоящий стандарт рассматривает существенные опасности (перечисленные в
приложении A), опасные ситуации и явления, которые могут возникнуть при использовании сельскохозяйственных машин по назначению и в условиях, предусмотренных изготовителем (см.
раздел 4).
Настоящий стандарт не распространяется на:
- тракторы;
- авиационные средства;
- транспортные средства на воздушной подушке;
- газонное и садовое оборудование.
В настоящем стандарте не рассматриваются опасности воздействия на окружающую среду, дорожная безопасность, электромагнитная совместимость, валы отбора мощности (ВОМ), также в стандарте не рассматриваются движущие части силовых трансмиссий, кроме требований к прочности защитных ограждений и барьеров (см.
4.7), и вибрация, кроме декларирования. В настоящем стандарте не рассматриваются опасности, связанные с техническим обслуживанием или ремонтом, проводимым профессиональным обслуживающим персоналом.
Примечание - ISO 14982 (см.
[6]) устанавливает методы испытаний и критерии приемки для оценки электромагнитной совместимости всех видов самоходных сельскохозяйственных машин.
Все опасности, рассматриваемые в настоящем стандарте, не обязательно будут характерны для конкретной машины. Если требования к машине, входящей в область применения настоящего стандарта, установлены в другой части ISO 4254, распространяющейся непосредственно на машины этого типа, то требования этого стандарта обладают преимуществом по отношению к требованиям настоящего стандарта.
Требования настоящего стандарта распространяются на машины, технические задания на разработку которых утверждены после введения в действие настоящего стандарта.
В настоящем стандарте использованы нормативные ссылки на следующие стандарты [для датированных ссылок применяют только указанное издание ссылочного стандарта, для недатированных - последнее издание (включая все изменения)]:
ISO 3600:1996 Tractors, machinery for agriculture and forestry, powered lawn and garden equipment - Operator's manuals - Content and presentation (Тракторы, машины для сельскохозяйственных работ и лесоводства, механизированное газонное и садовое оборудование. Руководство по эксплуатации. Содержание и форма представления)
ISO 3744:2010
<1> Acoustics - Determination of sound power levels and sound energy levels of noise sources using sound pressure - Engineering method for an essentially free field over a reflecting plane (Акустика. Определение уровней звуковой мощности и уровней звуковой энергии источников шума по звуковому давлению. Технические методы в условиях свободного звукового поля над отражающей поверхностью)
--------------------------------
<1> На территории Российской Федерации действует
ГОСТ Р ИСО 3744-2013 "Акустика. Определение уровней звуковой мощности и звуковой энергии источников шума по звуковому давлению. Технический метод в существенно свободном звуковом поле над звукоотражающей плоскостью".
ISO 3744:1994
<2> Acoustics - Determination of sound power levels of noise sources using sound pressure - Engineering method in an essentially free field over a reflecting plane (Акустика. Определение уровней звуковой мощности источников шума с использованием звукового давления. Технические методы в условиях свободного звукового поля над отражающей поверхностью)
--------------------------------
<2> Действует только для датированной ссылки.
ISO 3767-1:1998 Tractors, machinery for agriculture and forestry, powered lawn and garden equipment - Symbols for operator controls and other displays - Part 1: Common symbols (Тракторы, машины для сельскохозяйственных работ и лесоводства, механизированное газонное и садовое оборудование. Условные обозначения для органов управления и устройств отображения информации. Часть 1. Общие условные обозначения)
ISO 3767-2:2008 Tractors, machinery for agriculture and forestry, powered lawn and garden equipment - Symbols for operator controls and other displays - Part 2: Symbols for agricultural tractors and machinery (Тракторы, машины для сельскохозяйственных работ и лесоводства, механизированное газонное и садовое оборудование. Условные обозначения для органов управления и устройств отображения информации. Часть 2. Условные обозначения для сельскохозяйственных тракторов и машин)
ISO 3776-1:2006 Tractors and machinery for agriculture - Seat belts - Part 1: Anchorage location requirements (Тракторы и машины сельскохозяйственные. Ремни безопасности. Часть 1. Требования к расположению мест крепления)
ISO 3776-2:2007 Tractors and machinery for agriculture - Seat belts - Part 2: Anchorage strength requirements (Тракторы и машины сельскохозяйственные. Ремни безопасности. Часть 2. Требования к прочности крепления)
ISO 3795:1989 Road vehicles, and tractors and machinery for agriculture and forestry - Determination of burning behaviour of interior materials (Транспорт дорожный, тракторы и машины для сельскохозяйственных работ и лесоводства. Определение характеристик горения материалов обивки салона)
ISO 4253:1993 Agricultural tractors - Operator's seating accommodation - Dimensions (Тракторы сельскохозяйственные. Расположение сиденья оператора. Размеры)
ISO 4413:2010 Hydraulic fluid power - General rules and safety requirements for systems and their components (Приводы гидравлические. Общие правила и требования безопасности для систем и их компонентов)
ISO 4414:2010 Pneumatic fluid power - General rules and safety requirements for systems and their components (Приводы пневматические. Общие правила и требования безопасности для систем и их компонентов)
ISO 5353:1995
<3> Earth-moving machinery, and tractors and machinery for agriculture and forestry - Seat index point (Машины землеройные, тракторы и машины для сельскохозяйственных работ и лесоводства. Контрольная точка сиденья)
--------------------------------
<3> На территории Российской Федерации действует
ГОСТ Р ИСО 5353-2012 "Машины землеройные, тракторы и машины для сельского и лесного хозяйства. Контрольная точка сиденья".
ISO 11201:2010 Acoustics - Noise emitted by machinery and equipment - Determination of emission sound pressure levels at a work station and at other specified positions in an essentially free field over a reflecting plane with negligible environmental corrections (Акустика. Шум от машин и оборудования. Определение уровней звукового давления излучения на рабочем месте и в других установленных положениях в условиях свободного звукового поля над отражающей поверхностью с незначительными поправками на внешние воздействующие факторы)
ISO 11204:2010 Acoustics - Noise emitted by machinery and equipment - Determination of emission sound pressure levels at a work station and at other specified positions applying accurate environmental corrections (Акустика. Шум от машин и оборудования. Определение уровней звукового давления излучения на рабочем месте и в других установленных положениях с введением точных поправок на внешние воздействующие факторы)
ISO 11684:1995 Tractors, machinery for agriculture and forestry, powered lawn and garden equipment - Safety signs and hazard pictorials - General principles (Тракторы и машины для сельскохозяйственных работ и лесоводства, механизированное газонное и садовое оборудование. Знаки безопасности и условные изображения опасности. Общие принципы)
ISO/TR 11688-1:1995 Acoustics - Recommended practice for the design of low-noise machinery and equipment - Part 1: Planning (Акустика. Практические рекомендации для проектирования машин и оборудования с низким уровнем шума. Часть 1. Планирование)
ISO 12100-1:2003
<1> Safety of machinery - Basic concepts, general principles for design - Part 1: Basic terminology, methodology (Безопасность машин. Основные понятия, общие принципы конструирования. Часть 1. Основная терминология, методика)
ISO 13852:1996
<1> Safety of machinery - Safety distances to prevent danger zones being reached by the upper limbs (Безопасность машин. Безопасные расстояния для предохранения верхних конечностей от попадания в опасную зону)
--------------------------------
<1> Действует только для применения настоящего стандарта.
ISO 15077:2008 Tractors and self-propelled machinery for agriculture - Operator controls - Actuating forces, displacement, location and method of operation (Тракторы и самоходные машины для сельскохозяйственных работ. Органы управления оператора. Усилия приведения в действие, перемещение, расположение и использование)
В настоящем стандарте применены следующие термины с соответствующими определениями:
3.1 нормальная эксплуатация и обслуживание (normal operation and service): Использование машины в соответствии с ее назначением оператором, знающим характеристики машины и соблюдающим требования безопасности при ее эксплуатации и обслуживании, установленные изготовителем в руководстве по эксплуатации и знаках безопасности на машине.
3.2 трехточечная опора (three-point contact support): Система, которая позволяет оператору одновременно использовать две руки и ногу или две ноги и руку при подъеме на машину или спуске с нее.
3.3 защищенное расположение (guarded by location): Защита в том случае, когда опасная зона, не имеющая собственного защитного ограждения, ограждена другими частями или компонентами машины или когда опасная зона не может быть достигнута верхними или нижними конечностями человека.
3.4 непреднамеренный контакт (inadvertent contact): Случайный контакт оператора с опасной зоной, являющийся результатом действий оператора при нормальной эксплуатации и обслуживании машины.
3.5
досягаемость рук и ног (для машин без кабины) [hand and foot reach (machines without cab)]: Досягаемость, ограничиваемая для рук сферой радиусом 1000 мм с центром, расположенным в плоскости продольной оси сиденья и смещенным на 60 мм вперед и на 580 мм вверх относительно контрольной точки сиденья (SIP) no ISO 5353, а для ног - полусферой радиусом 800 мм с центром, расположенным на продольной оси сиденья в среднем положении на передней кромке подушки, простирающейся вниз (см.
рисунок 1).
--------------------------------
<a> - радиус полусферы (ноги).
<b> - радиус сферы (руки).
1 - SIP (контрольная точка сиденья)
Рисунок 1 - Досягаемость рук и ног
3.6 досягаемость рук и ног (для машин с кабиной) (hand and foot reach (machines with cab)): Досягаемость частей, расположенных в кабине, ограничиваемая для рук сферой радиусом 1000 мм с центром, расположенным в плоскости продольной оси сиденья и смещенным на 60 мм вперед и на 580 мм вверх относительно контрольной точки сиденья (SIP) по ISO 5353, а для ног - полусферой радиусом 800 мм с центром, расположенным на продольной оси сиденья в среднем положении на передней кромке подушки, простирающейся вниз.
3.7 нормальный доступ (normal access): Доступ оператора для выполнения работ по управлению, техническому обслуживанию и ремонту при нормальной эксплуатации машины в соответствии с назначением.
4 Требования и/или меры безопасности, применяемые ко всем машинам
4.1 Основополагающие принципы, руководство по проектированию
4.1.1 Машина должна быть сконструирована в соответствии с принципами снижения риска, установленными в ISO 12100-1:2003 (раздел 5) для опасностей, свойственных машине, но несущественных.
4.1.2 Если иное не установлено в настоящем стандарте, то безопасные расстояния должны соответствовать требованиям, приведенным в ISO 13852:1996 (таблицы 1, 3, 4 или 6).
4.1.3 Узлы и механизмы машины, открытые для обеспечения их правильного функционирования, дренирования или очистки, должны быть ограждены таким образом, чтобы при этом не возникли другие опасности, например риск возникновения пожара из-за скопления органических материалов.
4.2.1 Техническая информация, приведенная в ISO/TR 11688-1, должна использоваться как средство для конструирования машин с низким уровнем шума.
Примечание 1 - В ISO/TR 11688-2 (см.
[5]) также приведена полезная информация по проектированию механизмов машин с низким уровнем шума.
Примечание 2 - Создание шума может значительно отличаться для различных типов машин. Поэтому меры по уменьшению шума рассматриваются в специальных стандартах на продукцию.
4.3.1 При необходимости декларирования вибрации взвешенное среднее квадратическое значение ускорения и метод его измерения определяют в соответствии с:
- специальными стандартами на машину;
- методом, описанным в руководстве по эксплуатации.
Измерения вибрации необязательны для машин, которые не требуют присутствия на них оператора.
Примечание 1 - Механическая вибрация вызывается неровностью поверхности качения и движением связанных с машиной компонентов, таких как двигатель, коробка перемены передач, приводы или рабочие органы. Для уменьшения вибрации могут применяться технические меры, такие как виброизолирующие опоры, демпфирующие системы или системы подвески.
Примечание 2 - Так как природа вибрации зависит от типа машины и особенностей конструкции, то подробные технические требования по мерам уменьшения вибрации не могут быть приведены в настоящем стандарте.
4.4.1 Органы управления и их различные положения должны быть обозначены и описаны в руководстве по эксплуатации [см.
8.1.3, перечисление c)]. Символы должны соответствовать ISO 3767-1 и ISO 3767-2.
4.4.2 Педали должны иметь противоскользящую поверхность и легко очищаться.
4.4.3 Органы ручного управления, для приведения в действие которых требуется усилие 100 Н и более, должны располагаться друг от друга и от смежных элементов машины на расстоянии
a, равном не менее 50 мм (см.
рисунок 2). Органы ручного управления, для приведения в действие которых требуется усилие менее 100 Н, - на расстоянии, равном не менее 25 мм. Это требование не распространяется на органы управления, приводимые в действие кончиками пальцев, например кнопки, электрические переключатели.
a >= 50 мм, если усилие >= 100 Н;
a >= 25 мм, если усилие < 100 Н;
1 - орган ручного управления; 2 - смежные элементы машины
Рисунок 2 - Свободное расстояние вокруг органов
ручного управления
4.4.4 Требования к органам управления конкретных машин приведены в соответствующих частях ISO 4254.
4.4.5 Элементы машины, складываемые вручную, должны быть оснащены рукояткой(ами), расположенной(ыми) на расстоянии не менее чем 300 мм от ближайшего шарнирного соединения. В качестве рукояток могут служить части машины, при условии, что они соответствующим образом сконструированы и обозначены на машине. Среднее значение усилия, необходимого для складывания вручную, при движении от начального положения до конечного не должно превышать 250 Н. Максимальное(ые) значение(я) не должно(ы) превышать 400 Н. При складывании должны быть исключены опасности пореза, защемления или неконтролируемого движения.
4.4.6 Если иное не установлено в
4.4.3 и
4.4.5, то усилия, необходимые для приведения в действие, направления перемещения, расположение и метод управления должны соответствовать ISO 15077.
4.5 Рабочее место оператора
4.5.1 Средства доступа
4.5.1.1 Общие положения
4.5.1.1.1 Если высота пола рабочего места оператора относительно уровня грунта с установленными шинами максимального диаметра при установленном давлении в них [см.
8.1.3, перечисление t)] превышает 550 мм, должны быть предусмотрены средства доступа. Их размеры должны соответствовать приведенным на
рисунке 3.
A - свободное пространство для передней части ступни,
где A >= 150 мм; B - расстояние по вертикали между двумя
следующими друг за другом ступенями; G - расстояние
по горизонтали между двумя следующими друг за другом
ступенями;

- угол наклона относительно горизонтали
Рисунок 3 - Размеры средств доступа к рабочему
месту оператора
4.5.1.1.2 Если средства доступа расположены по одной линии и перед колесом (т.е. в пределах колеи машины), то машина должна быть оснащена ограждениями, располагаемыми со стороны колеса. Для транспортного положения это требование не применяется.
Должны быть предусмотрены защитные экраны позади ступеней или лестниц, если выступающая рука или нога может контактировать с опасной частью машины, например колесом.
4.5.1.2 Ступени и лестницы
4.5.1.2.1 Первая ступень должна быть расположена на такой высоте, чтобы оператор мог достигнуть ее, когда на машине установлены шины максимального диаметра при установленном давлении в них [см.
8.1.3, перечисление t)]. Расстояние по вертикали между двумя следующими друг за другом ступенями должно быть одинаковым, допустимое отклонение - +/- 20 мм. Каждая ступень должна иметь противоскользящую поверхность, боковой упор на каждом конце и быть сконструированной так (например, грязезащитные щитки, перфорированные ступени), чтобы накопление грязи и/или снега было сведено к минимуму при нормальных условиях эксплуатации.
Допускается применять гибкое(ие) соединение(я) между первой и второй ступенями.
4.5.1.2.2 Если используются лестницы, то угол их наклона

должен составлять от 70° до 90° относительно горизонтали (см.
рисунок 3).
4.5.1.2.3 Прочие рабочие места оператора с такими средствами доступа, имеющими угол наклона

относительно горизонтали менее 70°, также должны соответствовать
рисунку 3, при этом должно выполняться следующее условие: 2
B +
G <= 700 мм, где
B - расстояние между ступенями по вертикали, а
G - расстояние между ступенями по горизонтали.
4.5.1.2.4 Среднее значение усилия, необходимого для перемещения подвижных частей средств доступа для оператора, при движении от начального положения до конечного, не должно превышать 200 Н. Максимальное(ые) значение(я) не должно(ы) превышать 400 Н.
4.5.1.2.5 Подвижные элементы средств доступа при эксплуатации не должны приводить к опасности пореза, защемления или неконтролируемого движения.
4.5.1.2.6 Если на гусеничных машинах башмаки и поверхности гусениц предназначены для использования в качестве ступеней, то для обеспечения безопасного доступа оператора должна быть обеспечена трехточечная опора.
4.5.1.3 Перила/поручни
4.5.1.3.1 Средства доступа с обеих сторон должны быть оборудованы поручнями или перилами, сконструированными так, чтобы оператор постоянно мог иметь три точки опоры. Ширина поперечного сечения поручня/перил должна составлять от 25 до 38 мм. Нижняя часть поручня/перил должна быть расположена не выше 1500 мм от уровня грунта. Минимальное свободное пространство для прохождения руки между поручнем/перилами и смежными частями машины (за исключением мест крепления) - 50 мм.
4.5.1.3.2 Захват поручня/перил должен быть обеспечен на высоте от 850 до 1100 мм над самой верхней точкой ступени/площадки средств доступа. Длина поручня должна составлять не менее 150 мм.
4.5.2.1 Платформы должны иметь ровную поверхность, препятствующую скольжению, и при необходимости обеспечивать условия для стока воды.
4.5.2.2 Платформы, кроме тех платформ, которые расположены на высоте менее 1000 мм от опорной поверхности и используются только при остановке машины, должны быть оснащены защитным бортиком для ног, ограждающими и промежуточными поручнями по периметру платформы с размерами, приведенными на
рисунке 4. На входе платформы защитный бортик для ног должен отсутствовать.
r - не более 50 мм;
1 - платформа; 2 - защитный бортик для ног;
3 - промежуточный поручень; 4 - ограждающий поручень
Рисунок 4 - Защитный бортик для ног, ограждающий
и промежуточный поручни платформы
Кроме того, если неподвижные части машины используются как защитный бортик для ног, ограждающий и/или промежуточный поручень, то должны выполняться требования, приведенные в
4.5.1.3.1 и
4.5.1.3.2.
4.5.2.3 Если средства доступа к платформам и кабинам сделаны съемными для транспортных целей, то доступ к платформе или кабине должен быть прегражден. Для кабин, оборудованных дверью, дверь кабины удовлетворяет этому требованию.
4.6 Средства доступа к другим местам, кроме рабочего места оператора
4.6.1 Средства доступа к другим местам, кроме рабочего места оператора (например, доступ к местам ремонта и технического обслуживания), должны быть оснащены опорами для ног (например, перекладинами или ступенями) и поручнями.
Кроме того, если неподвижные части машины используются как опоры для ног и/или поручни, то должны выполняться требования, приведенные в
4.5.1.2.1,
4.5.1.3.1 и
4.5.1.3.2.
4.6.2 Такие средства доступа должны состоять из серии следующих друг за другом ступеней (см.
рисунок 5) и должны соответствовать требованиям, приведенным ниже [см.
перечисления a),
b) или
c)].
a) Угол наклона

должен составлять от 70° до 90° относительно горизонтали (см.
рисунок 5). Каждая ступень должна иметь противоскользящую поверхность, боковой упор на каждом конце и быть сконструированной так, чтобы накопление грязи и/или снега было сведено к минимуму при нормальных условиях эксплуатации. Расстояние по вертикали и по горизонтали между двумя следующими друг за другом ступенями должно быть одинаковым, допустимое отклонение - +/- 20 мм.
b) Средства доступа должны быть выполнены в виде лестницы. Верхняя часть каждой перекладины должна иметь горизонтальную площадку не менее 30 мм глубиной с противоскользящей поверхностью. Если перекладины лестницы могут использоваться как поручни, то перекладины прямоугольной формы должны иметь радиусы скругления, равные или более 5 мм.
c) Соответствовать требованиям, приведенным в
4.5.1.2.
1 - платформа; 2 - ступень; 3 - лестница; 4 - перекладина
Рисунок 5 - Размеры средств доступа к другим местам,
кроме рабочего места оператора
4.6.3 Места ремонта и технического обслуживания должны иметь противоскользящую поверхность и быть оборудованы соответствующими поручнями.
4.6.4 Если доступ необходим над или рядом с валом отбора мощности (ВОМ), то должны быть предусмотрены соответствующая платформа и ступени, чтобы исключить необходимость использования ВОМ или его ограждения в качестве ступени.
4.6.5 Если средства доступа расположены так, что существует опасность непреднамеренного контакта с защитными ограждениями ВОМ или ВПМ ногой или рукой, то должны быть предусмотрены защитные экраны позади средств доступа.
4.6.6 При конструировании ВОМ и их защитные ограждения не должны рассматриваться как ступени.
4.7 Требования к прочности ограждений и барьеров
4.7.1 Ограждения и барьеры, и в частности барьеры высотой до 550 мм от уровня грунта, использование которых в качестве ступеней при нормальной эксплуатации не может быть предотвращено, должны быть сконструированы так, чтобы они могли выдержать вертикальную нагрузку 1200 Н. Соответствие этому требованию должно контролироваться испытанием, приведенным в
приложении C, или эквивалентным методом испытаний, который обеспечивает те же критерии приемки.
4.7.2 Барьеры, используемые для защиты от опасностей, связанных с движением рабочих частей, должны выдерживать следующие горизонтальные нагрузки:
- 1000 Н - если барьер в рабочем положении расположен на высоте не более 400 мм от уровня грунта;
- 600 Н - если барьер в рабочем положении расположен на высоте более 400 мм от уровня грунта.
Соответствие этому требованию должно контролироваться испытанием, приведенным в
приложении C, или эквивалентным методом испытаний.
4.8 Опоры для технического обслуживания и ремонта
4.8.1 Общие положения
4.8.1.1 Если при проведении ремонта или технического обслуживания оператор должен работать под поднятыми частями машины, то должны быть предусмотрены механические опоры или гидравлические блокирующие устройства для предотвращения их непреднамеренного опускания.
Допускается использовать вместо механических опор или гидравлических блокирующих устройств другие средства, обеспечивающие равный или более высокий уровень безопасности.
4.8.1.2 Управление гидравлическими блокирующими устройствами и механическими опорами должно осуществляться из мест, расположенных вне опасных зон.
4.8.1.3 Механические опоры и гидравлические блокирующие устройства должны быть отмечены цветом, контрастным по отношению к цвету машины, или знаками безопасности, расположенными на устройстве или рядом с ним.
4.8.1.4 Если механические опоры или гидравлические блокирующие устройства управляются вручную, то метод приведения их в действие должен быть описан в руководстве по эксплуатации [см.
8.1.3, перечисление j)], и если метод приведения в действие не очевиден, то на машину должен быть нанесен знак безопасности или информационный знак.
4.8.2 Механические опоры
4.8.2.1 Механические опорные устройства должны выдерживать 1,5-кратную максимальную статическую опорную нагрузку.
4.8.2.2 Съемные механические опоры должны иметь специально предназначенные, хорошо видимые и обозначенные на машине места хранения.
4.8.3 Гидравлические блокирующие устройства
Гидравлические блокирующие устройства должны быть расположены на гидроцилиндре или присоединяться к гидроцилиндру жесткими или гибкими линиями. В последнем случае линии, соединяющие блокирующее устройство с гидроцилиндром, должны быть сконструированы так, чтобы выдерживать давление не менее 4-кратного максимального рабочего давления. Это максимальное рабочее давление должно быть установлено в руководстве по эксплуатации. Условия для замены таких гибких линий должны также быть приведены в руководстве по эксплуатации [см.
8.1.3, перечисление k)].
4.9 Электрическое оборудование
4.9.1 Электрические кабели должны быть защищены, если они расположены в местах возможного абразивного контакта с поверхностями, и должны быть стойкими или защищены от контакта со смазкой или топливом. Электрические кабели должны быть расположены так, чтобы ни одна их часть не находилась в контакте с системой выпуска отработавших газов, движущимися частями машины или острыми кромками деталей.
4.9.2 Плавкие предохранители или другие устройства защиты от перегрузки должны быть установлены во всех электрических цепях, кроме цепи стартера двигателя и цепей высокого напряжения системы зажигания. Распределение этих устройств между электрическими цепями должно предотвращать возможность одновременного отключения всех систем сигнализации.
4.10 Гидравлические системы и их установка
4.10.1 Гидравлические системы должны соответствовать требованиям безопасности ISO 4413.
4.10.2 Рукава высокого давления, трубопроводы и компоненты должны быть расположены или ограждены так, чтобы в случае разрыва струя жидкости не могла быть направлена непосредственно на оператора, находящегося на своем рабочем месте.
4.11 Пневматические системы
Пневматические системы должны соответствовать требованиям безопасности ISO 4414.
Порядок замены рабочих жидкостей с учетом требований безопасности должен быть описан в руководстве по эксплуатации [см.
8.1.3, перечисление u)].
4.13 Приведение в действие отдельных узлов вручную
Если для приведения в действие отдельных узлов вручную требуется специальный инструмент, то он должен поставляться вместе с машиной, а его использование должно разъясняться в руководстве по эксплуатации [см.
8.1.3, перечисление l)].
4.14 Ремонт и техническое обслуживание
4.14.1 Операции по периодической смазке и техническому обслуживанию должны быть безопасными, например выполняться при выключенном источнике энергии.
4.14.2 Компоненты, требующие частого технического обслуживания, должны быть доступны, средства доступа должны соответствовать
4.6.
4.14.3 Откидные защитные ограждения и двери должны быть оснащены средствами, удерживающими их в открытом положении, если существует опасность их неконтролируемого закрывания.
4.14.4 Части машин, которые необходимо перемещать при эксплуатации машины:
- если их масса 40 кг и более, то они должны быть сконструированы или оснащены таким образом, чтобы можно было использовать подъемное оборудование;
- если их масса менее 40 кг, то они должны быть оснащены ручками или части машины должны быть расположены так, чтобы обеспечивалось их безопасное перемещение и любой контакт с опасными частями машины (режущие инструменты, горячие поверхности и т.д.) был предотвращен.
4.14.5 Складывающиеся элементы, предназначенные для уменьшения транспортной ширины и/или высоты, должны иметь механические или другие средства (например, гидравлические, гравитационные) для удержания их в транспортном положении. Перевод машины из транспортного положения в рабочее и наоборот должен быть безопасным для оператора, а опасности раздавливания и защемления должны быть исключены.
4.14.6 Барьеры, выступающие за допустимую транспортную ширину машины, должны быть складывающимися из рабочего в транспортное положение.
5 Требования и/или меры безопасности к самоходным машинам, управляемым оператором, находящимся в машине
5.1 Рабочее место оператора
5.1.1 Доступ к сиденью оператора
Для доступа к сиденью оператора зона пола должна иметь ширину не менее 300 мм. Устройства, такие как зеркала заднего вида, не должны входить в пространство доступа оператора в любом из своих рабочих положений, кроме устройств, предназначенных для защиты оператора от опасностей, возникающих при работе.
5.1.2.1 Машины, рассчитанные на работу оператора в положении сидя, должны быть оборудованы сиденьем, обеспечивающим оператору достаточную опору во всех рабочих положениях и эксплуатационных режимах. Информация о регулировке сиденья должна быть приведена в руководстве по эксплуатации [см.
8.1.3, перечисление d)].
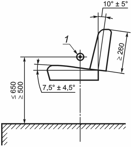
5.1.2.2 Размеры сиденья оператора и регулировки должны соответствовать требованиям ISO 4253, кроме высоты расположения контрольной точки сиденья (SIP) над платформой, которая должна быть не менее 500 мм и не более 650 мм (см.
рисунок 6). Механизм(ы) регулировки сиденья оператора должен (должны) предотвращать непреднамеренное движение сиденья и должен (должны) иметь упоры в конце диапазона регулирования. Система подвески должна регулироваться в зависимости от массы оператора.
a) Диапазон регулировок сиденья
b) Координаты для измерения ширины сиденья
1 - SIP
Рисунок 6 - Размеры и высота сиденья
5.1.2.3 Если машина оборудована устройством защиты при опрокидывании (ROPS), то сиденье должно быть оснащено местами крепления удерживающей системы, соответствующей требованиям ISO 3776-1 и ISO 3776-2, и самой удерживающей системой.
5.1.3 Движение и управление
5.1.3.1 Органы управления, используемые для приведения машины в движение, должны быть расположены или сконструированы так, чтобы они могли управляться только с рабочего места оператора.
5.1.3.2 Механизм рулевого управления должен быть сконструирован так, чтобы уменьшить передаваемое рукам оператора усилие в случае любого случайного движения управляемого(ых) колеса (колес) или рычага(ов) системы рулевого управления.
5.1.3.3 Когда механизм рулевого управления находится в рабочем положении, расстояние между неподвижными частями машины и рулевым колесом должно соответствовать приведенному на
рисунке 7.
1 - рулевое колесо; 2 - неподвижные части машины
Рисунок 7 - Расстояние между рулевым колесом
и неподвижными частями машины
5.1.4 Места, способные вызвать порезы и защемления
На рабочем месте оператора не должно быть мест, способных вызвать порез или защемление в пределах досягаемости рук или ног оператора, когда он сидит на сиденье, предусмотренном изготовителем.
5.1.5.1 Если рабочее место оператора оборудовано кабиной, то в ней должен быть предусмотрен аварийный выход. В дополнение к основной двери должен быть предусмотрен еще хотя бы один выход, используемый в качестве аварийного. Вторая дверь, ветровое(ые) стекло (стекла), панель крыши или окно (окна), находящиеся не с той стороны, где расположена основная дверь, рассматриваются как аварийный выход при условии, что они могут быть быстро открыты или удалены из кабины. Если для этих целей требуется применение специального инструмента, то он должен находиться в кабине рядом с аварийным выходом.
5.1.5.2 Аварийные выходы должны:
- иметь следующие минимальные размеры: для проемов в форме эллипса - 640 и 440 мм (размеры главных осей), для проемов квадратной формы - 600 мм (размер стороны), для проемов прямоугольной формы - 650 x 470 мм, для круглых проемов - 650 мм (диаметр);
- быть обозначены и снабжены инструкциями для пользователя, если аварийный выход не предназначен для обычного использования или если его расположение и использование неочевидны.
Если используется обозначение аварийного выхода, то информация по расположению и использованию должна быть приведена в руководстве по эксплуатации [(см.
8.1.3, перечисление f)]. Таким выходом может быть одиночное окно с замком или вторая входная дверь с ручкой и замком.
5.1.6 Скорость горения материалов внутренней отделки кабины
Скорость горения материалов внутренней отделки кабины, таких как покрытие сиденья, стен, пола и обивка потолка, при наличии, не должна превышать 150 мм/мин при испытании в соответствии с ISO 3795.
5.1.7.1 Конструкция и расположение рабочего места оператора должны быть такими, чтобы оператор имел достаточную обзорность для управления машиной и просмотр рабочей зоны машины. Для устранения недостаточной обзорности должны использоваться такие вспомогательные средства, как зеркала или телевизионные устройства.
5.1.7.2 Если рабочее место оператора оборудовано кабиной, то ветровое стекло должно быть оборудовано стеклоочистителем.
5.1.7.3 Должны быть предусмотрены устройства для установки рабочего освещения.
5.1.8 Пуск и останов двигателя
5.1.8.1 Информация по пуску и останову двигателя должна быть приведена в руководстве по эксплуатации [(см.
8.1.3, перечисление e)].
5.1.8.2 При использовании электрического стартера должна быть исключена возможность его несанкционированного включения при помощи:
- ключа замка зажигания или включателя стартера;
- запирания кабины;
- блокируемой крышки включателя стартера или зажигания;
- блокирования замка зажигания или стартера;
- блокирования выключателя "массы" аккумуляторной батареи.
5.1.8.3 Пуск должен быть невозможен, если трансмиссия находится в положении движения.
5.1.8.4 Останов двигателя должен обеспечиваться устройством, сконструированным так, чтобы:
- для останова двигателя не требовалось непрерывного ручного воздействия на устройство;
- при установке устройства в положение "выключено" или "стоп" двигатель не мог быть запущен повторно до тех пор, пока устройство не будет установлено в исходное положение.
5.2.1 Приспособления для буксирования
Устройства для буксирования (крюки, петли, проушины и т.п.) должны быть расположены на передней и/или задней частях машины. Если такие устройства неочевидны, то они должны быть четко обозначены на машине и описаны в руководстве по эксплуатации [см.
8.1.3, перечисление m), и
8.3].
5.2.2 Съемные приспособления
Съемные приспособления должны фиксироваться в транспортном положении.
5.2.3 Использование домкратов
5.2.3.1 Места, предназначенные для установки домкрата, должны быть четко обозначены на машине, а расположение и способ применения домкратов должны быть описаны в руководстве по эксплуатации [см.
8.1.3, перечисление m), и
8.3.2].
5.2.3.2 Места, предназначенные для установки домкрата, должны иметь соответствующую прочность и должны быть сконструированы таким образом, чтобы нагруженная машина могла быть поднята над уровнем грунта (например, для замены колес).
5.3.1 Аккумуляторные батареи должны быть расположены так, чтобы их можно было соответствующим образом обслуживать и заменять с уровня грунта или платформы; они должны быть надежно закреплены в установленном положении и расположены или изготовлены и уплотнены так, чтобы уменьшить возможность утечки в случае опрокидывания машины. Незаземленные полюса батарей должны быть защищены от короткого замыкания и непреднамеренного контакта.
5.3.2 Должна быть обеспечена возможность легкого отключения электрической цепи батареи (например, стандартным инструментом или выключателем).
5.3.3 Информация по обслуживанию и замене батарей должна быть приведена в руководстве по эксплуатации [см.
8.1.3, перечисление p)].
5.4.1 Наливная горловина топливного бака должна быть расположена вне кабины на высоте не более 1500 мм над уровнем грунта или платформы.
5.4.2 Топливные баки должны быть устойчивы к коррозии и удовлетворять испытаниям на герметичность, проводимым изготовителем при давлении, равном двойному рабочему давлению, но не менее 30 кПа.
5.4.3 Конструкция крышки наливной горловины топливного бака должна обеспечивать отсутствие утечек при нормальной рабочей температуре двигателя и во всех рабочих положениях машины. Просачивание топлива через систему вентиляции топливного бака не должно рассматриваться как утечка.
5.4.4 Информация по наполнению топливного бака должна быть приведена в руководстве по эксплуатации [см.
8.1.3, перечисление p)].
Горячие поверхности, которых может непреднамеренно достигнуть оператор при нормальной эксплуатации машины, должны быть закрыты кожухом или изолированы. Это требование распространяется на горячие поверхности, которые расположены рядом со ступенями, поручнями, перилами и частями машины, используемыми как средства доступа, и к которым можно случайно прикоснуться.
Выходное отверстие выхлопной трубы системы выпуска отработавших газов должно быть расположено и направлено таким образом, чтобы оператор или обслуживающий персонал, стоящий на машине, не подвергался воздействию опасной концентрации загрязняющих веществ отработавших газов или дыма при нормальной эксплуатации.
Пример - Расположение выходного отверстия далеко от уровня головы оператора или воздухозаборника кабины.
6 Требования и/или меры безопасности к монтируемым, навесным, полунавесным, полуприцепным и прицепным машинам
6.1.1 Орган управления на тракторе или самоходной машине для подачи энергии агрегатируемой машине должен рассматриваться как устройство для нормального останова машины, если:
- иное не установлено в стандартах на конкретные машины; или
- рабочее место оператора расположено на машине; или
- рабочее место оператора находится рядом с машиной и предназначено для использования при работе машины в стационарном положении.
6.1.2 Любой орган ручного управления, который приводится в действие оператором, стоящим на уровне грунта при работающем ВОМ, должен быть расположен на расстоянии по горизонтали не менее 550 мм от ВОМ.
6.2.1 Общие положения
6.2.1.1 Машины должны быть сконструированы таким образом, чтобы их устойчивость сохранялась при стоянке на твердой поверхности с уклоном 8,5° в любом направлении. Это требование должно быть выполнено как с незаполненными резервуарами или бункерами, так и с резервуарами или бункерами, заполненными технологическим материалом, и в обоих случаях - как с дополнительным установленным оборудованием или контейнерами, для использования с которыми машина разработана, так и без них.
6.2.1.2 Опорные устройства, отличные от колес (например, стойки, выносные опоры), должны иметь такую опорную поверхность, чтобы давление на грунт не превышало 400 кПа. Выносные опоры или подобные устройства также должны блокироваться в транспортном положении. Оператор/обслуживающий персонал должен иметь возможность проверить визуально, что выносные опоры установлены в транспортное положение.
6.2.1.3 Если требуемая устойчивость машины при движении или в стационарном положении может быть достигнута только применением специальных мер или применением специальных устройств, то это должно быть указано непосредственно на машине (см.
8.3.3) и/или в руководстве по эксплуатации [см.
8.1.3, перечисление h)].
6.2.2 Монтируемые, навесные и полунавесные машины
6.2.2.1 Если для хранения машины должно быть предусмотрено опорное устройство, оно должно быть несъемным.
6.2.2.2 Высота нижних присоединительных точек монтируемых и навесных машин, устанавливаемых на трехточечное навесное устройство, должна быть совместима с высотой нижней присоединительной точки трехточечного навесного устройства.
Примечание 1 - В серии стандартов ISO 11001 (см.
[4]) приведена информация о трехточечных сцепных устройствах.
Примечание 2 - В ISO 2332 (см.
[1]) приведена информация о свободной зоне между трактором и рабочим органом.
6.2.3 Прицепные и полуприцепные машины с вертикальной нагрузкой на снице более 500 Н
6.2.3.1 Прицепные (полуприцепные) машины или машины со сницей, предназначенной для механического подъема буксирующим транспортным средством, должны быть оснащены стойкой, способной поддерживать сницу со сцепной петлей на высоте не менее 150 мм относительно уровня грунта (максимальное давление на грунт такое же, как в
6.2.1.2).
6.2.3.2 Прицепные (полуприцепные) машины или машины со сницей и сцепной петлей, зафиксированной по высоте, должны быть оборудованы опорным устройством или домкратом с регулируемой высотой. Это опорное устройство может быть одного из следующих типов:
- нескладывающееся - в этом случае конструкция должна быть такой, чтобы непреднамеренное перемещение его из установленного положения было невозможно;
- складное - в этом случае опорное устройство должно иметь орган ручного управления, расположенный слева от машины (по ходу движения). При этом, когда опорное устройство устанавливается или движется, откидывается или складывается в транспортное или опорное положение, должно быть предусмотрено средство, предотвращающее его использование в качестве опоры или предотвращающее регулирование сницы по высоте до тех пор, пока опорное устройство не заблокировано в опорном положении.
6.2.3.3 Если при работе опорного устройства нельзя исключить опасности пореза или защемления, в руководстве по эксплуатации должны быть приведены меры по предотвращению этих опасностей при использовании опорного устройства [см.
8.1.3, перечисление r)].
6.2.3.4 Опорные устройства и элементы их крепления должны быть установлены на машине. Однако если опорные устройства, установленные на машине, препятствуют ее правильному использованию, а их удаление не влияет на устойчивость машины, то эти устройства могут быть съемными без применения инструментов. В этом случае соответствующие инструкции должны быть приведены в руководстве по эксплуатации [см.
8.1.3, перечисление r)]. Если опорные устройства являются съемными, на машине должны быть предусмотрены места для их хранения.
6.3.1 Соответствующая информация о системе сцепки, включая техническое обслуживание и проверки, должна быть включена в руководство по эксплуатации [см.
8.1.3, перечисление b)].
6.3.2 В руководстве по эксплуатации должны быть четко обозначены места сцепки для буксирования машины, также должна быть указана максимальная вертикальная статическая нагрузка, прилагаемая на буксирующее транспортное средство [см.
8.1.3, перечисление b)].
6.4 Передача механической мощности от самоходных машин/тракторов агрегатируемым машинам
6.4.1 Общие положения
Перекрытие ограждения ВОМ и ограждения вала приема мощности (ВПМ) должно составлять не менее 50 мм. Это минимальное перекрытие должно также применяться для защитных кожухов широкоугольных карданных валов, присоединяемых к ВОМ, и в случае применения муфт сцепления или других соединительных элементов.
Если для передачи механической мощности от ВОМ машина может оборудоваться карданным валом с защитным ограждением, то она должна быть снабжена узлом крепления удерживающей системы защитного ограждения, который будет крепиться к неподвижным частям машины.
Примечание - Это требование будет пересматриваться в следующей редакции стандарта.
Машина должна быть снабжена опорой вала трансмиссии, которая применяется, когда машина находится в отцепленном состоянии. Эта опора не должна являться устройством, используемым для предотвращения вращения защитного кожуха карданного вала.
Ограждение ВПМ должно быть сконструировано и установлено на машине таким образом, чтобы совместно с ограждением ВОМ оно обеспечивало ограждение вала со всех сторон до первого фиксированного корпуса подшипника машины, одновременно не препятствуя креплению и повороту карданного вала.
6.4.2 Работа в стационарном положении
Приводимые в действие от ВОМ машины, предназначенные для работы в стационарном положении, должны быть снабжены средствами для предотвращения отделения карданного вала, например путем присоединения машины к трехточечному навесному устройству при работе. Информация по использованию таких средств должна быть приведена в руководстве по эксплуатации [см.
8.1.3, перечисление s)].
6.5 Гидравлические, пневматические и электрические устройства для соединения с самоходной машиной
На машине должны быть предусмотрены устройства для поддержки отсоединенных гидравлических и пневматических рукавов и электрических кабелей, когда машина не соединена с самоходным транспортным средством или когда такие соединения не используются.
| | Применение на добровольной основе разд. 7 обеспечивает соблюдение требований технического регламента Таможенного союза "О безопасности машин и оборудования" (ТР ТС 010/2011) (Решение Коллегии Евразийской экономической комиссии от 09.03.2021 N 28). | |
| | Применение на добровольной основе разд. 7 обеспечивает соблюдение требований технического регламента Таможенного союза "О безопасности машин и оборудования" (ТР ТС 010/2011) (Решение комиссии Таможенного союза от 18.10.2011 N 823). | |
7 Контроль требований безопасности и защитных мер
Перечень требований безопасности и/или защитных мер и методы их контроля приведены в
таблице 1.
Таблица 1
Перечень требований и/или мер безопасности и их контроль
Подраздел/пункт | Контроль |
Осмотр | Измерение | Метод контроля/ссылка |
| X | X | |
| - | - | Должно быть проверено складыванием элементов в соответствии с инструкциями, приведенными в руководстве по эксплуатации, во время использования рукояток или составных частей машины, идентифицированных для этих целей |
| X | X | Должно быть проверено функционирование средств доступа в соответствии с инструкциями, приведенными в руководстве по эксплуатации |
| X | - | Должно быть проверено функционирование средств доступа в соответствии с инструкциями, приведенными в руководстве по эксплуатации |
| X | X | |
| X | X | |
| X | - | Должно быть проверено проведением операций технического обслуживания или ремонта, описанных в руководстве по эксплуатации |
| X | - | Должно быть проверено проведением операций периодической смазки и технического обслуживания, описанных в руководстве по эксплуатации |
| X | - | Должно быть проверено в соответствии с ISO 3776-1 и ISO 3776-2 |
| X | - | Должно быть проверено в соответствии с ISO 3795 |
| X | - | Должно быть проверено с учетом технических требований изготовителя (30 кПа) |
| X | X | Должно быть проверено установкой машины на стоянку способом, описанным в руководстве по эксплуатации. При этом блокирующие устройства (например, упоры), при наличии, должны быть установлены или приведены в действие |
8 Информация по эксплуатации
8.1 Руководство по эксплуатации
8.1.1 Руководство по эксплуатации должно поставляться с каждой машиной.
8.1.2 На самоходной машине должно быть обеспечено легкодоступное место для хранения руководства по эксплуатации.
8.1.3 Руководство по эксплуатации должно соответствовать ISO 3600 и содержать инструкции для нормальной эксплуатации и обслуживания машины, включая использование соответствующих средств индивидуальной защиты.
В частности, в руководстве по эксплуатации должны быть отражены следующие аспекты, если они применимы для конкретной машины:
a) правильные методы монтажа и демонтажа (см.
6.3.1,
6.3.2);
b) совместимость с тракторами, например система сцепки, вертикальная нагрузка на сцепное устройство, мощность двигателя, устойчивость (см.
6.3.1,
6.3.2);
c) описание и назначение всех органов управления, включая пояснение используемых символов (см.
4.4.1);
d) описание регулировки положения сиденья для обеспечения эргономических требований по отношению к органам управления (см.
5.1.2.1);
e) метод пуска и останова двигателя (см.
5.1.8,
6.1);
f) расположение и метод открывания аварийных выходов (см.
5.1.5.2);
g) меры предосторожности относительно движущихся частей машины, участвующих в рабочем процессе (см.
4.14.1);
h) использование опор для обеспечения устойчивости при стоянке (см.
6.2.1.3);
i) общие требования по ремонту и техническому обслуживанию машины и использованию специального инструмента (см.
4.13,
4.14.1);
j) использование устройств, предотвращающих опускание поднятых частей машины при проведении технического обслуживания и ремонта (см.
4.8.1.4);
k) информация по замене рукавов высокого давления, используемых в гидравлических блокирующих системах (см.
4.8.3);
l) руководство по приведению в действие отдельных узлов вручную (см.
4.13);
m) информация о правильном методе буксирования и подъема машины (см.
5.2.1,
5.2.2,
5.2.3.1);
n) информация о проверке безопасности выносных опор в транспортном положении (см.
6.2.1.2);
o) опасности, связанные с воздушными линиями электропередачи, включая информацию о максимальной рабочей высоте машины, если она превышает 4 м;
p) опасности, связанные с использованием аккумуляторных батарей (см.
5.3.3) и наполнением топливных баков (см.
5.4.4);
q) значение шумоизлучения, если его требуется декларировать (см.
4.2.2);
r) информация о местах и способах применения домкратов для подъема, включая использование домкратов и опорных устройств на снице (см.
6.2.3.3,
6.2.3.4);
s) требования по механическому соединению машин с внешним приводом, предназначенных для работы в стационарном положении, с источником питания для предотвращения отключения силового привода (см.
6.4.2);
u) инструкции по безопасной замене рабочих жидкостей (см.
4.12);
v) значение вибрации, если требуется для декларирования (см.
4.3);
w) дополнительная информация:
- использование машины по назначению;
- первоначальная настройка машины (если она не будет проводиться дилером);
- меры противопожарной безопасности;
- устранения забиваний, связанных с подачей технологического материала/процессом обработки.
Кроме того, рекомендуется в руководство по эксплуатации включать информацию об использовании персоналом средств индивидуальной защиты, если в этом есть необходимость.
8.2 Знаки безопасности и информационные знаки
8.2.1 На машину должны быть нанесены знаки безопасности, соответствующим образом отражающие предупреждения для оператора или другого обслуживающего персонала о возможном травмировании при нормальной эксплуатации и обслуживании.
8.2.2 Знаки безопасности должны соответствовать требованиям ISO 11684.
8.2.3 Информационные знаки, касающиеся функционирования машины и ее обслуживания, должны отличаться по внешнему виду, особенно в отношении цвета, от знаков безопасности.
8.3.1 На машинах должна быть размещена следующая информация, текст которой должен быть хорошо читаемым и сохраняться в течение всего срока службы машины:
- наименование и адрес изготовителя;
- обозначение модели или типа;
- порядковый номер (при наличии).
8.3.2 На машине должны быть четко обозначены места, предназначенные для установки домкрата (см.
5.2.3.1), а дополнительная информация должна быть приведена в руководстве по эксплуатации [см.
8.1.3, перечисление m)].
8.3.3 При необходимости на машину должен быть нанесен знак, показывающий специальные меры, которые должны быть приняты для обеспечения устойчивости машины (см.
6.2.1.3).
(справочное)
ПЕРЕЧЕНЬ СУЩЕСТВЕННЫХ ОПАСНОСТЕЙ
В
таблице A.1 приведены существенные опасности, опасные ситуации и явления, которые определены как существенные для типов машин, рассматриваемых настоящим стандартом, и которые требуют от разработчика или изготовителя специальных мер по предотвращению или уменьшению риска.
| Опасность | Опасное место/источник опасности | Пункт настоящего стандарта |
A.1 | Механические опасности |
A.1.1 | Опасность раздавливания | Органы управления | |
Средства доступа | |
Платформы | |
Трансмиссия | |
Рабочие органы | |
Ремонт/техническое обслуживание | |
Опрокидывание | |
Места пореза/защемления | |
Перемещение машины | |
Устойчивость | |
Монтаж машин | |
A.1.2 | Опасность пореза | Органы управления | |
Средства доступа | |
Платформы | |
Трансмиссия | |
Рабочие органы | |
Ремонт/техническое обслуживание | |
Опрокидывание | |
Места пореза/защемления | |
Перемещение машины | |
Устойчивость | |
Монтаж машин | |
A.1.3 | Опасность разрезания или раздробления | Рабочие органы | |
A.1.4 | Опасность захвата | Части трансмиссии | |
Рабочие органы | |
Пуск/останов двигателя | |
A.1.5 | Опасность затягивания или захвата | Части трансмиссии | |
Рабочие органы | |
Пуск/останов двигателя | |
A.1.6 | Опасность удара | Средства доступа | |
Складывающиеся элементы | |
Рулевое управление | |
A.1.7 | Опасность укола или прокалывания | Рабочие органы | |
A.1.8 | Опасность, связанная с трением или износом | Органы управления | |
Электрическое оборудование | |
Средства доступа | |
A.1.9 | Опасность выброса жидкости под высоким давлением | Гидравлические компоненты | |
A.2 | Электрические опасности |
A.2.1 | Контакт персонала с токоведущими частями (прямой контакт) | Электрическое оборудование | |
A.2.2 | Контакт персонала с частями, которые становятся токоведущими при неисправности (непрямой контакт) | Электрическое оборудование | |
A.2.3 | Приближение к токоведущим частям, находящимся под высоким напряжением | Воздушные линии электропередачи | |
A.2.4 | Термическое излучение или такие процессы, как разбрызгивание и выброс расплавленных частиц, химическое воздействие при коротких замыканиях, перегрузках и т.д. | Электрическое оборудование | |
A.3 | Термические опасности |
| Ожог, ошпаривание и другие повреждения персонала при контакте с объектами или материалами, имеющими экстремально высокую или низкую температуры, при воздействии пламени или взрыве, а также излучении от тепловых источников | Рабочие жидкости | |
Материалы внутренней отделки кабины | |
Горячие поверхности | |
A.4 | Опасности, создаваемые шумом |
| Потеря слуха (глухота), другие физиологические расстройства (например, потеря равновесия, уменьшение внимания). Несчастные случаи вследствие помех речевым сообщениям и звуковым предупредительным сигналам | Шум | |
A.5 | Опасности, создаваемые материалами и веществами |
A.5.1 | Опасности от контакта или вдыхания токсичных жидкостей, газов, паров, дыма и пыли | Рабочие жидкости | |
Материалы внутренней отделки кабины | |
Аккумуляторные батареи | |
Отработавшие газы | |
A.5.2 | Опасность пожара или взрыва | Материалы внутренней отделки кабины | |
A.6 | Опасности вследствие несоблюдения эргономических принципов при разработке машины |
A.6.1 | Нарушение осанки или излишние усилия оператора | Органы управления | |
Средства доступа | |
Ремонт и техническое обслуживание | |
Рабочее место оператора | |
A.6.2 | Отсутствие учета анатомических особенностей рук и ног человека | Органы управления | |
Средства доступа | |
Рабочее место оператора | |
A.6.3 | Неиспользование средств индивидуальной защиты | Руководство по эксплуатации | |
A.6.4 | Недостаточное местное освещение | Обзорность | |
A.6.5 | Психические перегрузки и вследствие этого стресс | Органы управления | |
A.6.6 | Ошибки в работе оператора | Органы управления | |
Руководство по эксплуатации | |
Знаки | |
A.6.7 | Несоответствующая конструкция, расположение или идентификация органов ручного управления | Органы управления | |
A.7 | Сочетание опасностей | Отдельные узлы | |
Руководство по эксплуатации | |
A.8 | Несанкционированный пуск, неожиданный разнос двигателя/превышение допустимой скорости |
A.8.1 | Выход из строя или сбой системы управления | Ремонт и техническое обслуживание | |
Электрическое оборудование | |
Соединения | |
A.8.2 | Восстановление подачи энергии после прерывания | Органы управления | |
A.8.3 | Внешние воздействия на электрооборудование | Кабели | |
A.8.4 | Другие внешние воздействия (гравитация, ветер и т.п.) | Устойчивость | |
A.8.5 | Ошибки, совершенные оператором (вследствие несоответствия машины характеристикам оператора и его возможностям) | Органы управления | |
Средства доступа | |
Рабочее место оператора | |
Перемещение машины | |
Монтаж машин | |
Ремонт и техническое обслуживание | |
Руководство по эксплуатации | |
A.9 | Невозможность останова машины в самых лучших условиях | Органы управления | |
Пуск/останов двигателя | |
A.10 | Отклонения частоты вращения рабочих органов | ВОМ | |
A.11 | Выход из строя источника питания | Опоры | |
Электрическое оборудование | |
Соединения | |
A.12 | Выход из строя цепи управления | Электрическое оборудование | |
A.13 | Ошибки монтажа | Монтаж машин | |
Руководство по эксплуатации | |
A.14 | Разрушение при работе | Защитные ограждения и барьеры | |
Опоры | |
Гидравлические компоненты | |
Пневматические компоненты | |
A.15 | Падение или выброс предметов или жидкостей | Опоры | |
Гидравлические компоненты | |
Складывающиеся элементы | |
A.16 | Потеря устойчивости/опрокидывание машины | Устойчивость | |
Опрокидывание | |
A.17 | Соскальзывание, захватывание и падение персонала с машины | Средства доступа | |
Дополнительные опасности, опасные ситуации и события, создаваемые машиной в движении |
A.18 | Связанные с функцией движения |
A.18.1 | Движение при пуске двигателя | Движение машины | |
Пуск/останов двигателя | |
A.18.2 | Движение без оператора на своем рабочем месте | Движение машины | |
Пуск/останов двигателя | |
A.18.3 | Движение в случае, когда не все части машины находятся в безопасном положении | Складывающиеся элементы | |
A.18.4 | Недостаточная способность машины гасить скорость, останавливаться и оставаться в неподвижном состоянии | Движение машины | |
A.19 | Связанные с рабочим положением |
A.19.1 | Падение персонала при доступе к (от) рабочему(го) месту(а) | Средства доступа | |
A.19.2 | Отработавшие газы/недостаток кислорода на рабочем месте | Газы | |
A.19.3 | Пожар (пожароопасная кабина, недостаток средств пожаротушения) | Материалы внутренней отделки кабины | |
A.19.4 | Механические опасности на рабочем месте: | Места пореза/защемления | |
Колеса | |
a) контакт с колесами; | ВОМ | |
b) опрокидывание; | Опоры | |
c) падение предметов, проникновение предметов | Опрокидывание | |
A.19.5 | Недостаточная обзорность с рабочих мест | Обзорность | |
A.19.6 | Недостаточное освещение | Обзорность | |
A.19.7 | Несоответствующее сидение | Сиденье оператора | |
A.19.8 | Шум на рабочем месте | Рабочее место оператора | |
A.19.9 | Недостаточные средства эвакуации/аварийный выход | Аварийный выход | |
A.20 | Связанные с системой управления |
A.20.1 | Несоответствующее расположение органов ручного управления | Органы управления | |
A.20.2 | Несоответствующая конструкция органов ручного управления и режим их работы | Органы управления | |
A.21 | При обращении с машиной (потеря устойчивости) | Устойчивость | |
Опрокидывание | |
A.22 | Связанные с источником питания и передачей мощности |
A.22.1 | Опасности от двигателя и аккумуляторных батарей | Пуск/останов двигателя | |
Аккумуляторные батареи | |
A.22.2 | Опасности от передачи мощности между машинами | Передача мощности | |
A.22.3 | Опасности от сцепки и буксирования | Монтаж машин | |
A.23 | Связанные с третьими лицами |
A.23.1 | Несанкционированный пуск и использование | Пуск/останов двигателя | |
A.23.2 | Отсутствие или несоответствие визуальных или акустических предупредительных средств | Обзорность | |
A.24 | Недостаточные инструкции для оператора/персонала | Руководство по эксплуатации | |
(обязательное)
(ТЕХНИЧЕСКИЙ МЕТОД, КЛАСС 2)
B.1 Область применения
В настоящем приложении приведена вся информация, необходимая для проведения измерения значений шумоизлучения эффективно и в стандартизованных условиях. Использование этой информации гарантирует воспроизводимость определения значений шумоизлучения в установленных пределах с заданной точностью примененного базового стандарта по определению значения шумоизлучения. Методы определения значения шумоизлучения согласно настоящему приложению являются техническими методами (класс 2).
B.2 Уровни звукового давления излучения на рабочем месте оператора
B.2.1 Уровни звукового давления излучения должны быть измерены в соответствии с ISO 11201 и ISO 11204. ISO 11204 следует применять для технического метода класса 2.
B.2.2 На рабочем месте оператора должен быть определен корректированный по A эквивалентный уровень звукового давления излучения.
Для конструкций с низким уровнем шума применяются значения шумоизлучения в частотных полосах, а базовые стандарты ISO 3744 и ISO 11201 могут использоваться для определения величин шумоизлучения в частотных полосах.
B.2.3 Микрофон должен быть установлен на высоте (1,6 +/- 0,05) м от поверхности, где оператор обычно стоит, или на высоте (0,5 +/- 0,05) м, измеренной относительно контрольной точки сиденья (SIP) с сиденьем, установленным в среднем положении (оператор отсутствует).
B.2.4 Если при проведении испытаний необходимо присутствие оператора, то головка микрофона должна быть установлена на расстоянии (20 +/- 2) см от средней плоскости головы оператора на линии глаз со стороны более громкого шума. Рост оператора в положении стоя должен быть (1,75 +/- 0,05) м с учетом обуви. Общая высота оператора в положении сидя, измеренная от плоскости подушки сиденья, должна составлять (0,93 +/- 0,05) м.
B.2.5 Методика испытаний по определению шума, применяемая для конкретного типа машины, должна содержать информацию по проведению измерений либо в присутствии оператора по
B.2.4, либо без него по
B.2.3.
B.2.6 Для машин, которые приводятся в движение от внешнего источника энергии и у которых рабочее место оператора расположено на другой машине (например, тракторе), микрофон должен быть установлен в соответствии с методом агрегатирования:
a) в случае трехточечного навесного устройства - в вертикальной плоскости, проходящей через середину отрезка, соединяющего две нижние точки, на 1,69 м впереди и на 1,85 м выше точки пересечения плоскости и этого отрезка;
b) в случае сцепки с проушиной - в вертикальной плоскости, проходящей через центр сцепной проушины на 1,2 м впереди и на 1,85 м выше точки пересечения плоскости с центром проушины.
B.3 Определение уровня звуковой мощности
B.3.1 Предпочтительный метод определения звуковой мощности установлен в ISO 3744; может использоваться также ISO 9614 (см.
[3]) (с точностью класса 2).
Для конструкций с низким уровнем шума применяются значения шумоизлучения в частотных полосах, а базовые стандарты ISO 3744 и ISO 11201 могут использоваться для определения величин шумоизлучения в частотных полосах.
B.3.2 При использовании метода по ISO 3744 десять микрофонов должны быть установлены на условной полусферической поверхности (см. ISO 3744:1994, приложение B).
Как альтернативный метод могут использоваться шесть микрофонов, если предварительные исследования показали, что результирующий уровень звуковой мощности находится в пределах +/- 1 дБ в соответствии с предписанной схемой расположения согласно ISO 3744:1994 (7.2.1).
B.3.3 Радиус полусферы должен быть не менее удвоенного значения длинной стороны контрольного параллелепипеда и составлять 4, 10 или 16 м.
B.3.4 Значение корректированного по A эквивалентного уровня звуковой мощности определяют при заданном рабочем цикле машины.
B.3.5 Если при проведении этих измерений должен присутствовать оператор, то рост оператора в положении стоя должен быть (1,75 +/- 0,05) м с учетом обуви. Общая высота оператора в положении сидя, измеренная от плоскости подушки сиденья, должна составлять (0,93 +/- 0,05) м.
B.4 Условия установки и крепления
B.4.1 При определении уровней звуковой мощности и уровней звукового давления излучения в заданных положениях условия установки и крепления машины должны быть одинаковыми.
B.4.2 Каждая машина при испытаниях должна стоять или опираться на твердую отражающую поверхность (например, асфальт или бетон) и на стандартные опоры, рекомендованные изготовителем (например, шины, гусеницы, стойки и вибрационные опоры). Оператор должен быть на своем рабочем месте, если это необходимо для обеспечения работы машины в условиях, установленных в
B.5. В заполненном информационном листе по
B.8 должно быть отмечено, если оператор присутствовал при измерениях.
B.4.3 Машины, приводимые в действие внешним источником энергии, должны быть подключены к источнику энергии, достаточному для создания рабочих условий, установленных в
B.5. Уровень шума этого источника энергии должен быть сопоставим с принятым критерием для оценки фонового шума. Оценка фонового шума должна быть выполнена, когда этот источник работает без нагрузки, с частотой вращения, которая выбрана для движения машины при измерениях. Принятый критерий для оценки уровня фонового шума должен соответствовать ISO 3744 и ISO 11201.
B.5.1 При определении уровней звуковой мощности и уровней звукового давления излучения в заданных положениях рабочие условия должны быть одинаковыми.
B.5.2 Если в специальных стандартах не установлено иное, все машины должны быть в неподвижном состоянии с вращающимися без нагрузки рабочими органами, на холостом ходу, с установленной изготовителем максимальной частотой вращения холостого хода двигателя. Машина должна быть должным образом прогрета и выдержана при нормальной рабочей температуре перед началом испытаний.
Рекомендуется провести регулировки, для того чтобы ножи режущих механизмов или агрегатов не были причиной дополнительного шума вследствие непреднамеренного механического контакта.
B.5.3 Для машин с циклическим режимом работы значения шумовых характеристик должны быть определены при полном рабочем цикле. Соответствующий цикл должен быть определен в специальном стандарте, если он существует. При отсутствии такого стандарта изготовитель должен выбрать рабочий цикл и описать его в протоколе испытаний.
B.6 Неопределенности результатов измерений
B.6.1 Испытания должны повторяться до достижения требуемой точности и до трех последовательных испытаний корректированных по A уровней звуковой мощности и уровней звукового давления излучения, результаты которых отличаются не более чем на 2 дБ.
B.6.2 Если не установлено иное:
- при применении настоящего стандарта неопределенность результатов измерений корректированных по A уровней звуковой мощности должна соответствовать установленной в ISO 3744;
- при применении настоящего стандарта неопределенность результатов измерений корректированных по A уровней звукового давления излучения на рабочих местах оператора должна быть в соответствии с ISO 11201 и ISO 11204 (значение стандартного отклонения воспроизводимости результатов равно 2,5 дБ).
B.7 Регистрируемая и протоколируемая информация
B.7.1 Информация, устанавливаемая базовыми стандартами, используемыми для определения параметров шумоизлучения, должна быть зарегистрирована и запротоколирована.
B.7.2 Информационные листы в соответствии с
B.8, как правило, применяются для описания основных данных, в частности ссылочных стандартов, которые были использованы, описания крепления и условий работы машины и возможных отклонений от требований методики испытаний. Расположение рабочего места оператора и значения уровня звукового давления в таких условиях должны также быть запротоколированы. Значение уровня звуковой мощности должно быть запротоколировано, если оно измерялось.
B.7.3 Информационные листы и протокол испытаний должны также подтверждать, что все требования методики измерения шума были выполнены, или альтернативно идентифицировать любые отклонения и привести обоснования необходимости таких отклонений.
B.8 Форма информационного листа и протокола испытаний
Машина: | |
Модель: | Тип: |
Номинальная скорость, двигатель, рабочие органы, другие сведения: | Размеры: |
| - длина ... |
| - ширина ... |
| - высота ... |
Источник энергии: |
Внутренний | | Внешний | | ВОМ | | Гидравлический | |
|
Дизель | | Электрический | | Бензин | | Другое | |
Условия установки: |
Шины | | Гусеницы | | Рама | | Вибрационные опоры | | Другие крепления | |
Положение измерения - все рабочие места: |
План, показывающий положение измерительных точек |
Уровень звукового давления на рабочем месте |
LpA, дБ | 1 | | 2 | | 3 | |
Среднее арифметическое двух самых больших значений: ... дБ. |
Уровень звуковой мощности |
Радиус полусферы измерения: ... м. |
Положение микрофона: |
LWA, дБ | 1 | | 2 | | 3 | |
Среднее арифметическое двух самых больших значений: ... дБ. |
Используемые стандарты:
- базовый стандарт для измерения уровня звукового давления на рабочем месте оператора (указать номер стандарта);
- базовый стандарт для измерения уровня звуковой мощности, если измерения проводились (указать номер стандарта);
- соответствующая часть ISO 4254, рассматривающего конкретные типы машин.
(обязательное)
C.1 Защитные ограждения
C.1.1 Испытательное оборудование
Нагрузку прилагают посредством пластины с резиновой прокладкой. Размеры пластины и толщина резиновой прокладки должны соответствовать
рисунку C.1.
Твердость резиновой прокладки должна быть приблизительно A 20 по Шору.
Допустимые отклонения размеров - +/- 2 мм.
1 - резиновая прокладка; 2 - точка приложения нагрузки
Рисунок C.1 - Пример испытательной пластины
для защитных ограждений
C.1.2 Методика испытаний
Испытание должно проводиться на машине, установленной на твердой горизонтальной поверхности.
Защитное ограждение должно быть испытано приложением испытательной нагрузки 1200 Н в точке приложения нагрузки испытательной пластины, показанной на
рисунке C.1, вертикально, даже если защитное ограждение установлено не горизонтально.
Пластину устанавливают на испытуемую поверхность ограждения, которое устанавливают в положение защиты на машине. Вертикальную нагрузку прилагают без динамического эффекта.
Нагрузка должна прилагаться к самым неблагоприятным местам ограждения, с которыми может контактировать оператор. Если пластина должна быть установлена на кромки ограждения, точка приложения нагрузки может находиться рядом с кромкой ограждения.
C.1.3 Критерии приемки
В течение всего испытания защитное ограждение не должно касаться движущихся частей. После испытания защитное ограждение и места его крепления не должны иметь поломок, трещин и видимой остаточной деформации, которая делала бы ограждение неспособным выполнить свою защитную функцию.
C.2 Барьеры
C.2.1 Испытательное оборудование
Нагрузку прилагают посредством пластины с резиновой прокладкой. Размеры пластины должны соответствовать
рисунку C.2.
Допустимые отклонения размеров - +/- 2 мм.
1 - резиновая прокладка; 2 - точка приложения нагрузки
Рисунок C.2 - Пример испытательной пластины для барьеров
Резиновая прокладка должна быть толщиной не менее 10 мм и твердостью приблизительно A 20 по Шору.
Нагрузку прилагают в центре пластины.
C.2.2 Методика испытаний
Пластину устанавливают на испытуемый участок барьера. Горизонтальную нагрузку и, если необходимо, вертикальную нагрузку прилагают без динамического эффекта.
Барьер должен быть испытан приложением испытательной нагрузки:
- 1000 Н в случае барьеров 400 мм от грунта в рабочем положении;
- 600 Н в случае барьеров выше 400 мм от грунта в рабочем положении,
в точке приложения нагрузки испытательной пластины, показанной на
рисунке C.2.
C.2.3 Критерии приемки
В течение всего испытания барьер не должен перемещаться в горизонтальном направлении более чем на 20 мм. После испытания барьер и места его крепления не должны иметь поломок, трещин и видимой остаточной деформации более 10 мм. Барьер не должен находиться в опасной зоне.
(справочное)
СВЕДЕНИЯ О СООТВЕТСТВИИ ССЫЛОЧНЫХ МЕЖДУНАРОДНЫХ СТАНДАРТОВ
МЕЖГОСУДАРСТВЕННЫМ СТАНДАРТАМ
Таблица ДА.1
Обозначение ссылочного международного стандарта | Степень соответствия | Обозначение и наименование соответствующего межгосударственного стандарта |
ISO 3600:1996 | - | |
ISO 3744:2010 | - | |
ISO 3744:1994 | - | |
ISO 3767-1:1998 | - | |
ISO 3667-2:2008 | | |
ISO 3776-1:2006 | IDT | ГОСТ ISO 3776-1-2012 "Тракторы и машины сельскохозяйственные. Ремни безопасности. Часть 1. Требования к расположению креплений" |
ISO 3776-2:2007 | IDT | ГОСТ ISO 3776-2-2012 "Тракторы и машины сельскохозяйственные. Ремни безопасности. Часть 2. Требования к прочности креплений" |
ISO 3795:1989 | - | |
ISO 4253:1993 | IDT | ГОСТ ИСО 4253-2005 "Тракторы сельскохозяйственные. Расположение сиденья оператора. Размеры" |
ISO 4413:2010 | - | |
ISO 4414:2010 | - | |
ISO 5353:1995 | - | |
ISO 11201:2010 | IDT | ГОСТ ISO 11201-2016 "Шум машин. Определение уровней звукового давления излучения на рабочем месте и в других контрольных точках в существенно свободном звуковом поле над звукоотражающей плоскостью" |
ISO 11204:2010 | IDT | ГОСТ ISO 11204-2016 "Шум машин. Определение уровней звукового давления излучения на рабочем месте и в других контрольных точках с точными коррекциями на свойства испытательного пространства" |
ISO 11684:1995 | - | |
ISO/TR 11688-1:1995 | - | |
ISO 12100-1:2003 | IDT | ГОСТ ISO 12100-2013 "Безопасность машин. Основные принципы конструирования. Оценки риска и снижения риска" |
ISO 13852:1996 | - | <*> |
ISO 15077:2008 | - | <*> |
<*> Соответствующий межгосударственный стандарт отсутствует. Примечание - В настоящей таблице использованы следующие условные обозначения степени соответствия стандартов: - IDT - идентичные стандарты. |
| ISO 2332:1993 | Agricultural tractors and machinery - Connection of implements via three-point linkage - Clearance zone around implement (Тракторы и машины для сельскохозяйственных работ. Присоединение орудий с помощью трехточечных устройств навески. Зона свободного пространства вокруг орудия) |
| ISO 5008:2002 | Agricultural wheeled tractors and field machinery - Measurement of whole-body vibration of the operator, including the Technical Corrigendum ISO 5008:2002/Cor. 1:2005 (Тракторы и машины сельскохозяйственные колесные. Измерение вибрации тела оператора, включая поправку ISO 5008:2002/Cor. 1:2005) |
| ISO 9614 (all parts) | Acoustics - Determination of sound power levels of noise sources using sound intensity (Акустика. Определение уровней звуковой мощности источников шумов по интенсивности звука) |
| ISO 11001 (all parts) | Agricultural wheeled tractors and implement - Three-point hitch couplers (Тракторы сельскохозяйственные колесные и навесные орудия. Трехточечные сцепные устройства) |
| ISO/TR 11688-2:1998 | Acoustics - Recommended practice for the design of low-noise machinery and equipment - Part 2: Introduction to the physics of low-noise design (Акустика. Практические рекомендации для проектирования машин и оборудования с низким уровнем шума. Часть 2. Введение в физику проектирования оборудования с низким уровнем шума) |
| ISO 14982:1998 | Agricultural and forestry machinery - Electromagnetic compatibility - Test methods and acceptance criteria (Машины для сельскохозяйственных работ и лесоводства. Электромагнитная совместимость. Методы испытаний и критерии приемки) |
| ISO 19472:2006 | Machinery for forestry - Winches - Dimensions, performance and safety (Машины для лесного хозяйства. Лебедки. Размеры, рабочие характеристики и безопасность) |
| ISO 26322 (all parts) | Tractors for agricultural and forestry - Safety (Тракторы сельскохозяйственные и лесохозяйственные. Безопасность) |
[9] | ISO/TS 28923:2007 | Agricultural machinery - Guards for moving parts of power transmission - Guard opening with tool (Машины сельскохозяйственные. Защитные устройства для движущихся частей механической передачи. Защитное устройство, открывающееся с помощью инструмента) |
[10] | ISO/TS 28924:2007 | Agricultural machinery - Guards for moving parts of power transmission - Guard opening without tool (Машины сельскохозяйственные. Защитные устройства для движущихся частей механической передачи. Защитное устройство, открывающееся без инструмента) |
УДК 631.3.03-027.45(083.74)(476) | | IDT |
Ключевые слова: требования безопасности; машины сельскохозяйственные самоходные, навесные, прицепные, полунавесные, полуприцепные, монтируемые; органы управления; средства доступа; маркировка; руководство по эксплуатации |