Краткое наименование страны по МК (ИСО 3166) 004-97 | Код страны по МК (ИСО 3166) 004-97 | Сокращенное наименование национального органа по стандартизации |
Армения | AM | Минэкономики Республики Армения |
Беларусь | BY | Госстандарт Республики Беларусь |
Грузия | GE | Грузстандарт |
Киргизия | KG | Кыргызстандарт |
Россия | RU | Росстандарт |
Таджикистан | TJ | Таджикстандарт |
ИС МЕГАНОРМ: примечание. Текст изменений к международному стандарту, выделенный двойной вертикальной линией на полях слева (четные страницы) или справа (нечетные страницы), в электронной версии документа выделен вертикальной линией справа от соответствующего текста. |
Примечание - Предполагают, что за время объявленной продолжительности горения напряжение на лампе может повышаться на 5 - 10 В. (A5:2011). |
a) Сопротивление выводов ламп без внутреннего стартера должно быть не более 1 Ом. (A5:2011). |
Лампа должна иметь в маркировке условное обозначение, по которому с помощью информации изготовителя или ответственного поставщика определяют ее электрические и световые параметры. Для лампы с контролируемым давлением паров ртути с помощью амальгамы и с медленным разгоранием на индивидуальной упаковке или манжете лампы должно быть нанесено слово "АМАЛЬГАМА". Примечание - Маркировка "АМАЛЬГАМА" необходима для обоснования медленного разгорания ламп, содержащих некоторые составы амальгамы. На лампы, содержащие амальгаму без задержки разгорания по сравнению с неамальгамными лампами, это требование маркировки не распространяется. (A3:2004). |
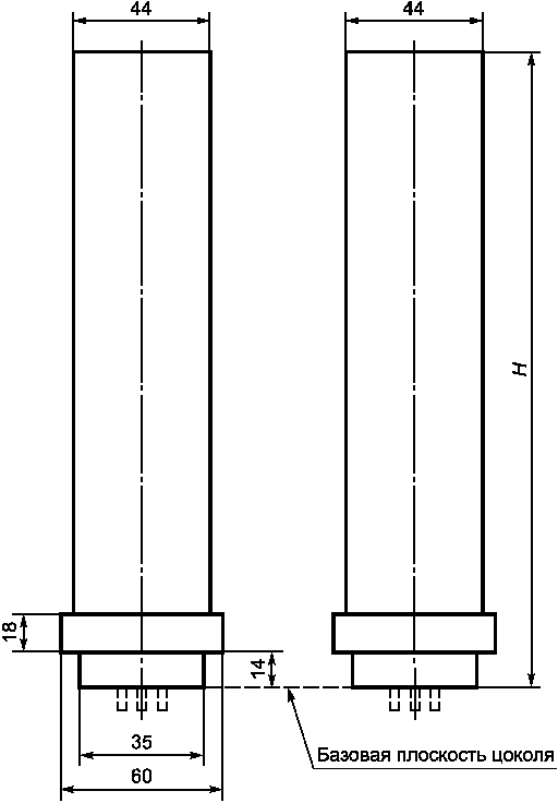
ОДНОЦОКОЛЬНЫЕ Лист с параметрами для нанесения размеров ламп Двухканальные | ||
Эти рисунки предназначены только для показа проверяемых размеров и должны использоваться с соответствующими стандартными листами на лампы. ![]() Примечание - Размеры A и B относятся к стеклянным деталям лампы. | ||
60901-IEC-01-1 | ||
ОДНОЦОКОЛЬНЫЕ Лист с параметрами для нанесения размеров ламп Четырехканальные | ||
Эти рисунки предназначены только для показа проверяемых размеров и должны использоваться с соответствующими стандартными листами на лампы. ![]() Примечание - Размеры A и B относятся к стеклянным деталям лампы. | ||
60901-IEC-02-1 | ||
ОДНОЦОКОЛЬНЫЕ Лист с параметрами для нанесения размеров ламп Квадратные | ||
Эти рисунки предназначены только для показа проверяемых размеров и должны использоваться с соответствующими стандартными листами на лампы. ![]() | ||
60901-IEC-03-1 | ||
ОДНОЦОКОЛЬНЫЕ Лист с параметрами для нанесения размеров ламп Кольцевые | ||
Эти рисунки предназначены только для показа проверяемых размеров и должны использоваться с соответствующими стандартными листами на лампы. ![]() | ||
60901-IEC-04-1 | ||
ОДНОЦОКОЛЬНЫЕ Лист с параметрами для нанесения размеров ламп Многоканальные | ||
Эти рисунки предназначены только для показа проверяемых размеров и должны использоваться с соответствующими стандартными листами на лампы. ![]() Примечание - Размеры A и B относятся к стеклянным деталям лампы. | ||
60901-IEC-05-1 | ||
ОДНОЦОКОЛЬНЫЕ Лист с параметрами для нанесения размеров ламп | |||
Цоколь: 2G10 | Прямоугольные | ||
Эти рисунки предназначены только для показа проверяемых размеров и должны использоваться с соответствующими стандартными листами на лампы. ![]() Примечание - Размеры A и B относятся к стеклянным деталям лампы. | |||
60901-IEC-06-1 | |||
Номер листа 60901-IEC | Номинальная мощность, Вт | Частота, Гц | Форма | Цоколь | Средства зажигания | Схема | Тип электрода | |||
Сеть переменного тока | ВЧ | |||||||||
5 | 50 | 60 | Двухканальная | G23 | Внутренние | - | - | Предварительного подогрева | ||
7 | 50 | 60 | " | G23 | " | - | - | " | ||
9 | 50 | 60 | " | G23 | " | - | - | " | ||
11 | 50 | - | " | G23 | " | - | - | " | ||
13 | - | 60 | " | GX23 | " | - | - | " | ||
10 | 50 | 60 | Четырехканальная | G24d-1 | " | - | - | " | ||
13 | 50 | 60 | " | G24d-1 | " | - | - | " | ||
18 | 50 | 60 | " | G24d-2 | " | - | - | " | ||
26 | 50 | 60 | " | G24d-3 | " | - | - | " | ||
15 | - | 60 | " | GX32d-1 | " | - | - | " | ||
20 | - | 60 | " | GX32d-2 | " | - | - | " | ||
27 | - | 60 | " | GX32d-3 | " | - | - | " | ||
16 | 50 | - | Квадратная | GR8 | " | - | - | " | ||
28 | 50 | - | " | GR8 | " | - | - | " | ||
13 | 50 | 60 | Многоканальная | GX24d-1 | " | - | - | " | ||
18 | 50 | 60 | " | GX24d-2 | " | - | - | " | ||
26 | 50 | 60 | " | GX24d-3 | " | - | - | " | ||
5 | 50 | 60 | Двухканальная | 2G7 | Внешние | Стартерная | Бесстартерная | " | ||
7 | 50 | 60 | " | 2G7 | " | " | " | " | ||
9 | 50 | 60 | " | 2G7 | " | " | " | " | ||
11 | 50 | - | " | 2G7 | " | " | " | " | ||
27 | 50 | 60 | " | GY10q-4 | " | " | " | " | ||
28 | 50 | 60 | " | GY10q-5 | " | " | " | " | ||
30 | 50 | 60 | " | GY10q-4 | " | " | " | " | ||
36 | 50 | 60 | Двухканальная | GY10q-6 | Внешние | " | " | " | ||
18 | 50 | 60 | " | 2G11 | " | " | " | " | ||
24 | 50 | 60 | " | 2G11 | " | " | " | " | ||
36 | 50 | 60 | " | 2G11 | " | " | " | " | ||
10 | 50 | 60 | Четырехканальная | G24q-1 | " | " | " | " | ||
13 | 50 | 60 | " | G24q-1 | " | " | " | " | ||
18 | 50 | 60 | " | G24q-2 | " | " | " | " | ||
26 | 50 | 60 | " | G24q-3 | " | " | " | " | ||
13 | 50 | 60 | " | GX10q-2 | " | " | " | " | ||
18 | 50 | 60 | " | GX10q-3 | " | " | " | " | ||
27 | 50 | 60 | " | GX10q-4 | " | " | " | " | ||
10 | 50 | - | Квадратная | GR10q | " | " | " | " | ||
16 | 50 | - | Квадратная | GR10q | Внешние | Стартерная | Бесстартерная | Предварительного подогрева | ||
21 | 50 | - | " | GR10q | " | " | " | " | ||
28 | 50 | - | " | GR10q | " | " | " | " | ||
38 | 50 | - | " | GR10q | " | " | " | " | ||
18 | 50 | 60 | Прямоугольная | 2G10 | " | " | " | " | ||
24 | 50 | 60 | " | 2G10 | " | " | " | " | ||
36 | 50 | 60 | " | 2G10 | " | " | " | " | ||
22 | 50 | 60 | Кольцевая | G10q | " | " | " | " | ||
32 | 50 | 60 | " | G10q | " | " | " | " | ||
40 | 50 | - | " | G10q | " | " | " | " | ||
13 | 50 | 60 | Многоканальная | GX24q-1 | " | " | " | " | ||
18 | 50 | 60 | " | GX24q-2 | " | " | " | " | ||
26 | 50 | 60 | " | GX24q-3 | " | " | " | " | ||
24/27 | - | 60 | Двухканальная | 2G11 | " | Бесстартерная | - | Предварительного подогрева, низкоомный | ||
36/39 | - | 60 | " | 2G11 | " | " | - | " | ||
10 | 50 | - | Квадратная | GR10q | " | " | - | Предварительного подогрева, высокоомный | ||
(A3:2004) | ||||||||||
Номер листа 60901-IEC | Номинальная мощность, Вт | Частота, Гц | Форма | Цоколь | Средства зажигания | Схема | Тип электрода | |||
Сеть переменного тока | ВЧ | |||||||||
16 | 50 | - | " | GR10q | " | " | - | " | ||
21 | 50 | - | " | GR10q | " | " | - | " | ||
28 | 50 | - | " | GR10q | " | " | - | Предварительного подогрева, низкоомный | ||
38 | 50 | - | " | GR10q | " | " | - | " | ||
22 | - | 60 | Кольцевая | G10q | " | " | - | " | ||
32 | - | 60 | " | G10q | " | " | - | " | ||
40 | - | 60 | " | G10q | " | " | - | " | ||
14 | >= 20000 | Многоканальная | GR14q-1 | Внешние | - | Бесстартерная | Предварительного подогрева | |||
17 | >= 20000 | " | GR14q-1 | " | - | " | " | |||
40 | >= 20000 | Двухканальная | 2G11 | " | - | " | " | |||
55 | >= 20000 | " | 2G11 | " | - | " | " | |||
80 | >= 20000 | " | 2G11 | " | - | " | " | |||
22 | >= 20000 | Кольцевая | 2GX13 | " | - | " | " | |||
40 | >= 20000 | " | 2GX13 | " | - | " | " | |||
55 | >= 20000 | " | 2GX13 | " | - | " | " | |||
60 | >= 20000 | " | 2GX13 | " | - | " | " | |||
20 | >= 20000 | " | GZ10q | " | - | " | " | |||
27 | >= 20000 | " | GZ10q | " | - | " | " | |||
34 | >= 20000 | " | GZ10q | " | - | " | " | |||
41 | >= 20000 | Кольцевая | GZ10q | " | - | " | " | |||
41 | >= 20000 | " | GU10q | " | - | " | " | |||
68 | >= 20000 | " | GU10q | " | - | " | " | |||
97 | >= 20000 | " | GU10q | " | - | " | " | |||
32 | >= 20000 | Многоканальная | GX24q-3 | " | - | " | " | |||
42 | >= 20000 | " | GX24q-4 | " | - | " | " | |||
57 | >= 20000 | Многоканальная-6 | GX24q-5 | " | - | " | " | |||
(A3:2004) | ||||||||||
Номер листа 60901-IEC | Номинальная мощность, Вт | Частота, Гц | Форма | Цоколь | Средства зажигания | Схема | Тип электрода | ||
Сеть переменного тока | ВЧ | ||||||||
57 | >= 20000 | Многоканальная-8 | GX24q-6 | " | - | " | " | ||
70 | >= 20000 | Многоканальная-6 | GX24q-6 | " | - | " | " | ||
70 | >= 20000 | Многоканальная-8 | GX24q-6 | " | - | " | " | ||
60 | >= 20000 | Многоканальная-6 | 2G8-1 | " | - | " | " | ||
85 | >= 20000 | " | 2G8-1 | " | - | " | " | ||
120 | >= 20000 | " | 2G8-1 | " | - | " | " | ||
120 | >= 20000 | Многоканальная-8 | 2G8-1 | " | - | " | " | ||
62 | >= 20000 | " | 2G8-2 | " | - | " | " | ||
82 | >= 20000 | " | 2G8-2 | " | - | " | " | ||
(A5:2011) | |||||||||
Номер листа 60901-IEC | Номинальная мощность, Вт | Частота, Гц | Форма | Цоколь | Средства зажигания | Схема | Тип электрода | |||
Сеть переменного тока | ВЧ | |||||||||
5 | 50 | 60 | Двухканальная | G23 | Внутренние | - | - | Предварительного подогрева | ||
5 | 50 | 60 | " | 2G7 | Внешние | Стартерная | Бесстартерная | " | ||
7 | 50 | 60 | Двухканальная | G23 | Внутренние | - | - | Предварительного подогрева | ||
7 | 50 | 60 | " | 2G7 | Внешние | Стартерная | Бесстартерная | " | ||
9 | 50 | 60 | " | G23 | Внутренние | - | - | " | ||
9 | 50 | 60 | " | 2G7 | Внешние | Стартерная | Бесстартерная | " | ||
10 | 50 | 60 | Четырехканальная | G24d-1 | Внутренние | - | - | " | ||
10 | 50 | 60 | " | G24d-1 | Внешние | Стартерная | Бесстартерная | " | ||
10 | 50 | - | Квадратная | GR10q | " | " | - | " | ||
10 | 50 | - | " | GR10q | " | Бесстартерная | - | Предварительного подогрева, высокоомный | ||
11 | 50 | - | Двухканальная | G23 | Внутренние | - | - | Предварительного подогрева | ||
11 | 50 | - | " | 2G7 | Внешние | Стартерная | Бесстартерная | " | ||
13 | - | 60 | " | GX23 | Внутренние | - | - | " | ||
13 | 50 | 60 | Четырехканальная | G24d-1 | " | - | - | " | ||
13 | 50 | 60 | Многоканальная | GX24d-1 | " | - | - | " | ||
13 | 50 | 60 | Четырехканальная | G24q-1 | Внешние | Стартерная | Бесстартерная | " | ||
13 | 50 | 60 | " | GX10q-2 | " | " | - | " | ||
13 | 50 | 60 | Многоканальная | GX24d-1 | " | " | Бесстартерная | " | ||
15 | - | 60 | Четырехканальная | GX32d-1 | Внутренние | - | - | " | ||
16 | 50 | - | Квадратная | GR8 | " | - | - | " | ||
16 | 50 | - | " | GR10q | Внешние | Стартерная | - | " | ||
16 | 50 | - | Квадратная | GR10q | Внешние | Бесстартерная | - | Предварительного подогрева, высокоомный | ||
18 | 50 | 60 | Четырехканальная | G24d-2 | Внутренние | - | - | Предварительного подогрева | ||
18 | 50 | 60 | Многоканальная | GX24d-2 | " | - | - | " | ||
18 | 50 | 60 | Двухканальная | 2G11 | Внешние | Бесстартерная | " | |||
18 | 50 | 60 | Четырехканальная | G24q-2 | " | " | " | |||
18 | 50 | 60 | " | GX10q-3 | " | Стартерная | - | " | ||
18 | 50 | 60 | Прямоугольная | 2G10 | " | Бесстартерная | " | |||
18 | 50 | 60 | Многоканальная | GX24q-2 | " | " | " | |||
20 | - | 60 | Четырехканальная | GX32d-2 | Внутренние | - | - | " | ||
20 | >= 20000 | Кольцевая | GZ10q | Внешние | - | Бесстартерная | " | |||
21 | 50 | - | Квадратная | GR10q | " | Стартерная | - | " | ||
21 | 50 | - | " | GR10q | " | Бесстартерная | - | Предварительного подогрева, высокоомный | ||
22 | 50 | 60 | Кольцевая | G10q | " | Стартерная | - | Предварительного подогрева | ||
22 | - | 60 | " | G10q | " | Бесстартерная | - | Предварительного подогрева, низкоомный | ||
22 | >= 20000 | Кольцевая | 2GX13 | Внешние | - | Бесстартерная | Предварительного подогрева | |||
24 | 50 | 60 | Двухканальная | 2G11 | " | Бесстартерная | " | " | ||
24 | 50 | 60 | Прямоугольная | 2G10 | " | " | " | " | ||
24/27 | - | 60 | Двухканальная | 2G11 | " | " | - | Предварительного подогрева, низкоомный | ||
26 | 50 | 60 | Четырехканальная | G24d-3 | Внутренние | - | - | Предварительного подогрева | ||
26 | 50 | 60 | Многоканальная | GX24d-3 | " | - | - | " | ||
(A3:2004) | ||||||||||
Номер листа 60901-IEC | Номинальная мощность, Вт | Частота, Гц | Форма | Цоколь | Средства зажигания | Схема | Тип электрода | |||
Сеть переменного тока | ВЧ | |||||||||
26 | 50 | 60 | Четырехканальная | G24q-3 | Внешние | Стартерная | Бесстартерная | " | ||
26 | 50 | 60 | Многоканальная | GX24q-3 | Внешние | Стартерная | Бесстартерная | Предварительного подогрева | ||
27 | - | 60 | Четырехканальная | GX32d-3 | Внутренние | - | - | " | ||
27 | 50 | 60 | Двухканальная | GY10q-4 | Внешние | Стартерная | - | " | ||
27 | 50 | 60 | Четырехканальная | GX10q-4 | " | " | - | " | ||
27 | >= 20000 | Кольцевая | GZ10q | " | - | Бесстартерная | " | |||
28 | 50 | - | Квадратная | GR8 | Внутренние | - | - | " | ||
28 | 50 | 60 | Двухканальная | GY10q-5 | Внешние | Стартерная | - | " | ||
28 | 50 | - | Квадратная | GR10q | " | " | - | " | ||
28 | 50 | - | " | GR10q | " | Бесстартерная | - | Предварительного подогрева, низкоомный | ||
30 | 50 | 60 | Двухканальная | GY10q-4 | " | Стартерная | - | Предварительного подогрева | ||
32 | 50 | 60 | Кольцевая | G10q | Внешние | Стартерная | Бесстартерная | Предварительного подогрева | ||
32 | - | 60 | " | G10q | " | Бесстартерная | - | " | ||
32 | >= 20000 | Многоканальная | GX24q-3 | " | - | Бесстартерная | " | |||
34 | >= 20000 | Кольцевая | GZ10q | " | - | " | " | |||
36 | 50 | 60 | Двухканальная | GY10q-6 | " | Стартерная | - | " | ||
36 | 50 | 60 | " | 2G11 | " | " | Бесстартерная | " | ||
(A3:2004) | ||||||||||
Номер листа 60901-IEC | Номинальная мощность, Вт | Частота, Гц | Форма | Цоколь | Средства зажигания | Схема | Тип электрода | |||
Сеть переменного тока | ВЧ | |||||||||
36 | 50 | 60 | Прямоугольная | 2G10 | " | " | " | " | ||
36/39 | - | 60 | Двухканальная | 2G11 | " | Бесстартерная | - | Предварительного подогрева, низкоомный | ||
38 | 50 | - | Квадратная | GR10q | Внешние | Стартерная | - | Предварительного подогрева | ||
38 | 50 | - | " | GR10q | " | Бесстартерная | - | Предварительного подогрева, низкоомный | ||
40 | 50 | - | Кольцевая | G10q | Внешние | Стартерная | - | Предварительного подогрева | ||
40 | - | 60 | " | G10q | " | Бесстартерная | - | Предварительного подогрева, низкоомный | ||
14 | >= 20000 | Многоканальная-6 | GR14q-1 | " | - | Бесстартерная | Предварительного подогрева | |||
17 | >= 20000 | " | GR14q-1 | " | - | " | " | |||
40 | >= 20000 | Двухканальная | 2G11 | " | - | " | " | |||
40 | >= 20000 | Кольцевая | 2GX13 | " | - | " | " | |||
41 | >= 20000 | " | GZ10q | " | - | " | " | |||
41 | >= 20000 | Кольцевая | GU10q | Внешние | - | Бесстартерная | Предварительного подогрева | |||
42 | >= 20000 | Многоканальная | GX24q-4 | " | - | " | " | |||
55 | >= 20000 | Двухканальная | 2G11 | " | - | " | " | |||
55 | >= 20000 | Кольцевая | 2GX13 | " | - | " | " | |||
57 | >= 20000 | Многоканальная-6 | GX24q-5 | " | - | " | " | |||
57 | >= 20000 | Многоканальная-8 | GX24q-5 | " | - | " | " | |||
60 | >= 20000 | Кольцевая | 2GX13 | " | - | " | " | |||
(A3:2004) | ||||||||||
Номер листа 60901-IEC | Номинальная мощность, Вт | Частота, Гц | Форма | Цоколь | Средства зажигания | Схема | Тип электрода | ||
Сеть переменного тока | ВЧ | ||||||||
60 | >= 20000 | Многоканальная-6 | 2G8-1 | " | - | " | " | ||
62 | >= 20000 | Многоканальная-8 | 2G8-2 | " | - | " | " | ||
68 | >= 20000 | Кольцевая | GU10q | " | - | " | " | ||
70 | >= 20000 | Многоканальная-6 | GX24q-6 | " | - | " | " | ||
70 | >= 20000 | Многоканальная-8 | GX24q-6 | " | - | " | " | ||
80 | >= 20000 | Двухканальная | 2G11 | " | - | " | " | ||
82 | >= 20000 | Многоканальная-8 | 2G8-2 | " | - | " | " | ||
85 | >= 20000 | Многоканальная-6 | 2G8-1 | " | - | " | " | ||
97 | >= 20000 | Кольцевая | GU10q | " | - | " | " | ||
120 | >= 20000 | Многоканальная-6 | 2G8-1 | " | - | " | " | ||
120 | >= 20000 | Многоканальная-8 | 2G8-1 | " | - | " | " | ||
(A3:2004), (A5:2011) | |||||||||
ОДНОЦОКОЛЬНАЯ Лист с параметрами Двухканальная | С. 1 | |||||||||||
МСОЛ: FSD-5-I-G23 | ||||||||||||
Номинальная мощность, Вт | Схема | Электрод | Цоколь | |||||||||
5 | Внутренний стартер | Предварительного подогрева | G23 | |||||||||
Размеры В миллиметрах | ||||||||||||
A, не более | B, не более | C, не более | ||||||||||
28 | 13 | 85 | ||||||||||
Цоколь: см. лист 7004-69 IEC 60061-1. | ||||||||||||
Характеристики зажигания | ||||||||||||
Частота, Гц | Нормируемое напряжение на ПРА, В | Испытательное напряжение (действующее), В | Время зажигания, с | |||||||||
50 | 220 | 198 | 10 | |||||||||
60 | 118 | 106 | 10 | |||||||||
Электрические параметры | ||||||||||||
Частота, Гц | Нормируемая мощность, Вт | Напряжение на лампе (действующее), В | Нормируемый ток лампы, А | Нормируемый ток предварительного подогрева, А | ||||||||
Нормируемое | Не менее | Не более | ||||||||||
50 | 5,4 | 35 | 30 | 40 | 0,180 | 0,190 | ||||||
60 | 5,5 | 35 | 30 | 40 | 0,180 | 0,190 | ||||||
Испытательное положение: вертикальное, цоколем вверх. | ||||||||||||
60901-IEC-0005-1 | ||||||||||||
ЛАМПА ЛЮМИНЕСЦЕНТНАЯ ОДНОЦОКОЛЬНАЯ Лист с параметрами Двухканальная | С. 2 | |||||||
МСОЛ: FSD-5-I-G23 | ||||||||
Характеристики ДОИ | ||||||||
Частота, Гц | Номинальная мощность, Вт | Нормируемое напряжение, В | Ток калибровки, А | Отношение напряжения к току, Ом | Коэффициент мощности | |||
50 | 9 | 220 | 0,170 | 1180 | 0,12 | |||
60 | 5,5 | 118 | 0,180 | 605 | 0,075 | |||
Информация для расчета ПРА | ||||||||
Частота, Гц | 50 | 60 | ||||||
Ток предварительного подогрева, А | Не менее | 0,153 | 0,153 | |||||
Не более | 0,240 | 0,240 | ||||||
Напряжение холостого хода на лампе, В | Действующее значение, не менее | 198 | 108 | |||||
Пиковое значение, не более | 400 | 440 | ||||||
Резистор, заменяющий два последовательно соединенных электрода, Ом | 160 | 160 | ||||||
Рабочий ток лампы, А | Не более | 0,190 | 0,190 | |||||
Информация для расчета светильника | ||||||||
Наибольший контур лампы: см. лист 60901-IEC-A010 с размером H, мм | 85 | |||||||
Наибольшая температура на цоколе, °C | 90 | |||||||
60901-IEC-0005-1 | ||||||||
ОДНОЦОКОЛЬНАЯ Лист с параметрами Двухканальная | С. 1 | |||||||||||
МСОЛ: FSD-7-I-G23 | ||||||||||||
Номинальная мощность, Вт | Схема | Электрод | Цоколь | |||||||||
7 | Внутренний стартер | Предварительного подогрева | G23 | |||||||||
Размеры В миллиметрах | ||||||||||||
A, не более | B, не более | C, не более | ||||||||||
28 | 13 | 115 | ||||||||||
Цоколь: см. лист 7004-69 IEC 60061-1. | ||||||||||||
Характеристики зажигания | ||||||||||||
Частота, Гц | Нормируемое напряжение на ПРА, В | Испытательное напряжение (действующее), В | Время зажигания, с | |||||||||
50 | 220 | 198 | 10 | |||||||||
60 | 118 | 106 | 10 | |||||||||
Электрические параметры | ||||||||||||
Частота, Гц | Нормируемая мощность, Вт | Напряжение на лампе (действующее), В | Нормируемый ток лампы, А | Нормируемый ток предварительного подогрева, А | ||||||||
Нормируемое | Не менее | Не более | ||||||||||
50 | 7,1 | 47 | 42 | 52 | 0,175 | 0,190 | ||||||
60 | 7,0 | 45 | 40 | 50 | 0,180 | 0,190 | ||||||
Испытательное положение: вертикальное, цоколем вверх. | ||||||||||||
60901-IEC-0007-1 | ||||||||||||
ЛАМПА ЛЮМИНЕСЦЕНТНАЯ ОДНОЦОКОЛЬНАЯ Лист с параметрами Двухканальная | С. 2 | |||||||
МСОЛ: FSD-7-I-G23 | ||||||||
Характеристики ДОИ | ||||||||
Частота, Гц | Номинальная мощность, Вт | Нормируемое напряжение, В | Ток калибровки, А | Отношение напряжения к току, Ом | Коэффициент мощности | |||
50 | 9 | 220 | 0,170 | 1180 | 0,12 | |||
60 | 7 | 118 | 0,180 | 570 | 0,075 | |||
Информация для расчета ПРА | ||||||||
Частота, Гц | 50 | 60 | ||||||
Ток предварительного подогрева, А | Не менее | 0,153 | 0,153 | |||||
Не более | 0,240 | 0,240 | ||||||
Напряжение холостого хода на лампе, В | Действующее значение, не менее | 198 | 108 | |||||
Пиковое значение, не более | 400 | 440 | ||||||
Резистор, заменяющий два последовательно соединенных электрода, Ом | 160 | 160 | ||||||
Рабочий ток лампы, А | Не более | 0,190 | 0,190 | |||||
Информация для расчета светильника | ||||||||
Наибольший контур лампы: см. лист 60901-IEC-A010 с размером H, мм | 115 | |||||||
Наибольшая температура на цоколе, °C | 90 | |||||||
60901-IEC-0007-1 | ||||||||
ОДНОЦОКОЛЬНАЯ Лист с параметрами Двухканальная | С. 1 | |||||||||||
МСОЛ: FSD-9-I-G23 | ||||||||||||
Номинальная мощность, Вт | Схема | Электрод | Цоколь | |||||||||
9 | Внутренний стартер | Предварительного подогрева | G23 | |||||||||
Размеры В миллиметрах | ||||||||||||
A, не более | B, не более | C, не более | ||||||||||
28 | 13 | 145 | ||||||||||
Цоколь: см. лист 7004-69 IEC 60061-1. | ||||||||||||
Характеристики зажигания | ||||||||||||
Частота, Гц | Нормируемое напряжение на ПРА, В | Испытательное напряжение (действующее), В | Время зажигания, с | |||||||||
50 | 220 | 198 | 10 | |||||||||
60 | 118 | 106 | 10 | |||||||||
Электрические параметры | ||||||||||||
Частота, Гц | Нормируемая мощность, Вт | Напряжение на лампе (действующее), В | Нормируемый ток лампы, А | Нормируемый ток предварительного подогрева, А | ||||||||
Нормируемое | Не менее | Не более | ||||||||||
50 | 8,7 | 60 | 54 | 66 | 0,170 | 0,190 | ||||||
60 | 9,0 | 59 | 53 | 65 | 0,180 | 0,190 | ||||||
Испытательное положение: вертикальное, цоколем вверх. | ||||||||||||
60901-IEC-0009-1 | ||||||||||||
ЛАМПА ЛЮМИНЕСЦЕНТНАЯ ОДНОЦОКОЛЬНАЯ Лист с параметрами Двухканальная | С. 2 | |||||||
МСОЛ: FSD-9-I-G23 | ||||||||
Характеристики ДОИ | ||||||||
Частота, Гц | Номинальная мощность, Вт | Нормируемое напряжение, В | Ток калибровки, А | Отношение напряжения к току, Ом | Коэффициент мощности | |||
50 | 9 | 220 | 0,170 | 1180 | 0,12 | |||
60 | 9 | 118 | 0,180 | 515 | 0,075 | |||
Информация для расчета ПРА | ||||||||
Частота, Гц | 50 | 60 | ||||||
Ток предварительного подогрева, А | Не менее | 0,153 | 0,153 | |||||
Не более | 0,240 | 0,240 | ||||||
Напряжение холостого хода на лампе, В | Действующее значение, не менее | 198 | 108 | |||||
Пиковое значение, не более | 400 | 440 | ||||||
Резистор, заменяющий два последовательно соединенных электрода, Ом | 160 | 160 | ||||||
Рабочий ток лампы, А | Не более | 0,190 | 0,190 | |||||
Информация для расчета светильника | ||||||||
Наибольший контур лампы: см. лист 60901-IEC-A010 с размером H, мм | 145 | |||||||
Наибольшая температура на цоколе, °C | 90 | |||||||
60901-IEC-0009-1 | ||||||||
ОДНОЦОКОЛЬНАЯ Лист с параметрами Двухканальная | С. 1 | |||||||||||
МСОЛ: FSD-11-I-G23 | ||||||||||||
Номинальная мощность, Вт | Схема | Электрод | Цоколь | |||||||||
11 | Внутренний стартер | Предварительного подогрева | G23 | |||||||||
Размеры В миллиметрах | ||||||||||||
A, не более | B, не более | C, не более | ||||||||||
28 | 13 | 215 | ||||||||||
Цоколь: см. лист 7004-69 IEC 60061-1. | ||||||||||||
Характеристики зажигания | ||||||||||||
Частота, Гц | Нормируемое напряжение на ПРА, В | Испытательное напряжение (действующее), В | Время зажигания, с | |||||||||
50 | 220 | 198 | 10 | |||||||||
60 | - | - | - | |||||||||
Электрические параметры | ||||||||||||
Частота, Гц | Нормируемая мощность, Вт | Напряжение на лампе (действующее), В | Нормируемый ток лампы, А | Нормируемый ток предварительного подогрева, А | ||||||||
Нормируемое | Не менее | Не более | ||||||||||
50 | 11,8 | 91 | 81 | 101 | 0,155 | 0,190 | ||||||
60 | - | - | - | - | - | - | ||||||
Испытательное положение: вертикальное, цоколем вверх. | ||||||||||||
60901-IEC-0011-1 | ||||||||||||
ЛАМПА ЛЮМИНЕСЦЕНТНАЯ ОДНОЦОКОЛЬНАЯ Лист с параметрами Двухканальная | С. 2 | |||||||
МСОЛ: FSD-11-I-G23 | ||||||||
Характеристики ДОИ | ||||||||
Частота, Гц | Номинальная мощность, Вт | Нормируемое напряжение, В | Ток калибровки, А | Отношение напряжения к току, Ом | Коэффициент мощности | |||
50 | 9 | 220 | 0,170 | 1180 | 0,12 | |||
60 | - | - | - | - | - | |||
Информация для расчета ПРА | ||||||||
Частота, Гц | 50 | 60 | ||||||
Ток предварительного подогрева, А | Не менее | 0,153 | - | |||||
Не более | 0,240 | - | ||||||
Напряжение холостого хода на лампе, В | Действующее значение, не менее | 198 | - | |||||
Пиковое значение, не более | 400 | - | ||||||
Резистор, заменяющий два последовательно соединенных электрода, Ом | 160 | - | ||||||
Рабочий ток лампы, А | Не более | 0,190 | - | |||||
Информация для расчета светильника | ||||||||
Наибольший контур лампы: см. лист 60901-IEC-A010 с размером H, мм | 215 | |||||||
Наибольшая температура на цоколе, °C | 90 | |||||||
60901-IEC-0011-1 | ||||||||
ОДНОЦОКОЛЬНАЯ Лист с параметрами Двухканальная | С. 1 | |||||||||||
МСОЛ: FSD-13-I-GX23 | ||||||||||||
Номинальная мощность, Вт | Схема | Электрод | Цоколь | |||||||||
13 | Внутренний стартер | Предварительного подогрева | GX23 | |||||||||
Размеры В миллиметрах | ||||||||||||
A, не более | B, не более | C, не более | ||||||||||
28 | 13 | 170 | ||||||||||
Цоколь: см. лист 7004-86 IEC 60061-1. | ||||||||||||
Характеристики зажигания | ||||||||||||
Частота, Гц | Нормируемое напряжение на ПРА, В | Испытательное напряжение (действующее), В | Время зажигания, с | |||||||||
50 | - | - | - | |||||||||
60 | 118 | 106 | 10 | |||||||||
Электрические параметры | ||||||||||||
Частота, Гц | Нормируемая мощность, Вт | Напряжение на лампе (действующее), В | Нормируемый ток лампы, А | Нормируемый ток предварительного подогрева, А | ||||||||
Нормируемое | Не менее | Не более | ||||||||||
50 | - | - | - | - | - | - | ||||||
60 | 13,4 | 59 | 53 | 65 | 0,285 | 0,400 | ||||||
Испытательное положение: вертикальное, цоколем вверх. | ||||||||||||
60901-IEC-0013-1 | ||||||||||||
ЛАМПА ЛЮМИНЕСЦЕНТНАЯ ОДНОЦОКОЛЬНАЯ Лист с параметрами Двухканальная | С. 2 | |||||||
МСОЛ: FSD-13-I-GX23 | ||||||||
Характеристики ДОИ | ||||||||
Частота, Гц | Номинальная мощность, Вт | Нормируемое напряжение, В | Ток калибровки, А | Отношение напряжения к току, Ом | Коэффициент мощности | |||
50 | - | - | - | - | - | |||
60 | 13 | 118 | 0,285 | 325 | 0,075 | |||
Информация для расчета ПРА | ||||||||
Частота, Гц | 50 | 60 | ||||||
Ток предварительного подогрева, А | Не менее | - | 0,270 | |||||
Не более | - | 0,525 | ||||||
Напряжение холостого хода на лампе, В | Действующее значение, не менее | - | 106 | |||||
Пиковое значение, не более | - | 440 | ||||||
Резистор, заменяющий два последовательно соединенных электрода, Ом | - | 25 | ||||||
Рабочий ток лампы, А | Не более | - | ||||||
Информация для расчета светильника | ||||||||
Наибольший контур лампы: см. лист 60901-IEC-A010 с размером H, мм | 170 | |||||||
Наибольшая температура на цоколе, °C | 90 | |||||||
-------------------------------- | ||||||||
60901-IEC-0013-1 | ||||||||
ОДНОЦОКОЛЬНАЯ Лист с параметрами Четырехканальная | С. 1 | |||||||||||
МСОЛ: FSQ-10-I-G24d=1 | ||||||||||||
Номинальная мощность, Вт | Схема | Электрод | Цоколь | |||||||||
10 | Внутренний стартер | Предварительного подогрева | G24d-1 | |||||||||
Размеры В миллиметрах | ||||||||||||
A, не более | B, не более | C, не более | ||||||||||
28 | 28 | 95 | ||||||||||
Цоколь: см. лист 7004-86 IEC 60061-1. | ||||||||||||
Характеристики зажигания | ||||||||||||
Частота, Гц | Нормируемое напряжение на ПРА, В | Испытательное напряжение (действующее), В | Время зажигания, с | |||||||||
50 | 220 | 198 | 10 | |||||||||
60 | 220 | 198 | 10 | |||||||||
Электрические параметры | ||||||||||||
Частота, Гц | Нормируемая мощность, Вт | Напряжение на лампе (действующее), В | Нормируемый ток лампы, А | Нормируемый ток предварительного подогрева, А | ||||||||
Нормируемое | Не менее | Не более | ||||||||||
50 | 10 | 64 | 58 | 70 | 0,190 | 0,210 | ||||||
60 | 10 | 64 | 58 | 70 | 0,190 | 0,210 | ||||||
Испытательное положение: вертикальное, цоколем вверх. | ||||||||||||
60901-IEC-0510-1 | ||||||||||||
ЛАМПА ЛЮМИНЕСЦЕНТНАЯ ОДНОЦОКОЛЬНАЯ Лист с параметрами Четырехканальная | С. 2 | |||||||
МСОЛ: FSQ-10-I-G24d=1 | ||||||||
Характеристики ДОИ | ||||||||
Частота, Гц | Номинальная мощность, Вт | Нормируемое напряжение, В | Ток калибровки, А | Отношение напряжения к току, Ом | Коэффициент мощности | |||
50 | 10 | 220 | 0,190 | 1070 | 0,12 | |||
60 | 10 | 220 | 0,190 | 1080 | 0,075 | |||
Информация для расчета ПРА | ||||||||
Частота, Гц | 50 | 60 | ||||||
Ток предварительного подогрева, А | Не менее | 0,153 | 0,153 | |||||
Не более | 0,275 | 0,275 | ||||||
Напряжение холостого хода на лампе, В | Действующее значение, не менее | 198 | 198 | |||||
Пиковое значение, не более | 400 | 440 | ||||||
Резистор, заменяющий два последовательно соединенных электрода, Ом | 100 | 100 | ||||||
Рабочий ток лампы, А | Не более | 0,210 | 0,210 | |||||
Информация для расчета светильника | ||||||||
Наибольший контур лампы: см. лист 60901-IEC-A010 с размером H, мм | 95 | |||||||
Наибольшая температура на цоколе, °C | 90 | |||||||
60901-IEC-0510-1 | ||||||||
ОДНОЦОКОЛЬНАЯ Лист с параметрами Четырехканальная | С. 1 | |||||||||||
МСОЛ: FSQ-13-I-G24d=1 | ||||||||||||
Номинальная мощность, Вт | Схема | Электрод | Цоколь | |||||||||
13 | Внутренний стартер | Предварительного подогрева | G24d-1 | |||||||||
Размеры В миллиметрах | ||||||||||||
A, не более | B, не более | C, не более | ||||||||||
28 | 28 | 130 | ||||||||||
Цоколь: см. лист 7004-78 IEC 60061-1. | ||||||||||||
Характеристики зажигания | ||||||||||||
Частота, Гц | Нормируемое напряжение на ПРА, В | Испытательное напряжение (действующее), В | Время зажигания, с | |||||||||
50 | 220 | 198 | 10 | |||||||||
60 | 220 | 198 | 10 | |||||||||
Электрические параметры | ||||||||||||
Частота, Гц | Нормируемая мощность, Вт | Напряжение на лампе (действующее), В | Нормируемый ток лампы, А | Нормируемый ток предварительного подогрева, А | ||||||||
Нормируемое | Не менее | Не более | ||||||||||
50 | 13 | 91 | 81 | 101 | 0,175 | 0,210 | ||||||
60 | 13 | 91 | 81 | 101 | 0,175 | 0,210 | ||||||
Испытательное положение: вертикальное, цоколем вверх. | ||||||||||||
60901-IEC-0513-1 | ||||||||||||
ЛАМПА ЛЮМИНЕСЦЕНТНАЯ ОДНОЦОКОЛЬНАЯ Лист с параметрами Четырехканальная | С. 2 | |||||||
МСОЛ: FSQ-13-I-G24d=1 | ||||||||
Характеристики ДОИ | ||||||||
Частота, Гц | Номинальная мощность, Вт | Нормируемое напряжение, В | Ток калибровки, А | Отношение напряжения к току, Ом | Коэффициент мощности | |||
50 | 13 | 220 | 0,165 | 1070 | 0,12 | |||
60 | 13 | 220 | 0,170 | 1080 | 0,075 | |||
Информация для расчета ПРА | ||||||||
Частота, Гц | 50 | 60 | ||||||
Ток предварительного подогрева, А | Не менее | 0,153 | 0,153 | |||||
Не более | 0,275 | 0,275 | ||||||
Напряжение холостого хода на лампе, В | Действующее значение, не менее | 198 | 198 | |||||
Пиковое значение, не более | 400 | 440 | ||||||
Резистор, заменяющий два последовательно соединенных электрода, Ом | 100 | 100 | ||||||
Рабочий ток лампы, А | Не более | 0,190 | 0,190 | |||||
Информация для расчета светильника | ||||||||
Наибольший контур лампы: см. лист 60901-IEC-A010 с размером H, мм | 130 | |||||||
Наибольшая температура на цоколе, °C | 90 | |||||||
60901-IEC-0513-1 | ||||||||
ОДНОЦОКОЛЬНАЯ Лист с параметрами Четырехканальная | С. 1 | |||||||||||
МСОЛ: FSQ-18-I-G24d=2 | ||||||||||||
Номинальная мощность, Вт | Схема | Электрод | Цоколь | |||||||||
18 | Внутренний стартер | Предварительного подогрева | G24d-2 | |||||||||
Размеры В миллиметрах | ||||||||||||
A, не более | B, не более | C, не более | ||||||||||
28 | 28 | 140 | ||||||||||
Цоколь: см. лист 7004-78 IEC 60061-1. | ||||||||||||
Характеристики зажигания | ||||||||||||
Частота, Гц | Нормируемое напряжение на ПРА, В | Испытательное напряжение (действующее), В | Время зажигания, с | |||||||||
50 | 220 | 198 | 10 | |||||||||
60 | 220 | 198 | 10 | |||||||||
Электрические параметры | ||||||||||||
Частота, Гц | Нормируемая мощность, Вт | Напряжение на лампе (действующее), В | Нормируемый ток лампы, А | Нормируемый ток предварительного подогрева, А | ||||||||
Нормируемое | Не менее | Не более | ||||||||||
50 | 18 | 100 | 90 | 110 | 0,220 | 0,280 | ||||||
60 | 18 | 100 | 90 | 110 | 0,220 | 0,280 | ||||||
Испытательное положение: вертикальное, цоколем вверх. | ||||||||||||
60901-IEC-0518-2 | ||||||||||||
ЛАМПА ЛЮМИНЕСЦЕНТНАЯ ОДНОЦОКОЛЬНАЯ Лист с параметрами Четырехканальная | С. 2 | |||||||
МСОЛ: FSQ-18-I-G24d=2 | ||||||||
Характеристики ДОИ | ||||||||
Частота, Гц | Номинальная мощность, Вт | Нормируемое напряжение, В | Ток калибровки, А | Отношение напряжения к току, Ом | Коэффициент мощности | |||
50 | 18 | 220 | 0,220 | 800 | 0,12 | |||
60 | 18 | 220 | 0,220 | 815 | 0,075 | |||
Информация для расчета ПРА | ||||||||
Частота, Гц | 50 | 60 | ||||||
Ток предварительного подогрева, А | Не менее | 0,190 | 0,190 | |||||
Не более | 0,375 | 0,375 | ||||||
Напряжение холостого хода на лампе, В | Действующее значение, не менее | 198 | 198 | |||||
Пиковое значение, не более | 400 | 440 | ||||||
Резистор, заменяющий два последовательно соединенных электрода, Ом | 80 | 80 | ||||||
Рабочий ток лампы, А | Не более | 0,240 | 0,240 | |||||
Информация для расчета светильника | ||||||||
Наибольший контур лампы: см. лист 60901-IEC-A010 с размером H, мм | 140 | |||||||
Наибольшая температура на цоколе, °C | 90 | |||||||
60901-IEC-0518-2 | ||||||||
ОДНОЦОКОЛЬНАЯ Лист с параметрами Четырехканальная | С. 1 | |||||||||||
МСОЛ: FSQ-26-I-G24d=3 | ||||||||||||
Номинальная мощность, Вт | Схема | Электрод | Цоколь | |||||||||
26 | Внутренний стартер | Предварительного подогрева | G24d-3 | |||||||||
Размеры В миллиметрах | ||||||||||||
A, не более | B, не более | C, не более | ||||||||||
28 | 28 | 160 | ||||||||||
Цоколь: см. лист 7004-78 IEC 60061-1. | ||||||||||||
Характеристики зажигания | ||||||||||||
Частота, Гц | Нормируемое напряжение на ПРА, В | Испытательное напряжение (действующее), В | Время зажигания, с | |||||||||
50 | 220 | 198 | 10 | |||||||||
60 | 220 | 198 | 10 | |||||||||
Электрические параметры | ||||||||||||
Частота, Гц | Нормируемая мощность, Вт | Напряжение на лампе (действующее), В | Нормируемый ток лампы, А | Нормируемый ток предварительного подогрева, А | ||||||||
Нормируемое | Не менее | Не более | ||||||||||
50 | 26 | 105 | 95 | 115 | 0,325 | 0,420 | ||||||
60 | 26 | 105 | 95 | 115 | 0,325 | 0,420 | ||||||
Испытательное положение: вертикальное, цоколем вверх. | ||||||||||||
60901-IEC-0526-2 | ||||||||||||
ЛАМПА ЛЮМИНЕСЦЕНТНАЯ ОДНОЦОКОЛЬНАЯ Лист с параметрами Четырехканальная | С. 2 | |||||||
МСОЛ: FSQ-26-I-G24d=3 | ||||||||
Характеристики ДОИ | ||||||||
Частота, Гц | Номинальная мощность, Вт | Нормируемое напряжение, В | Ток калибровки, А | Отношение напряжения к току, Ом | Коэффициент мощности | |||
50 | 26 | 220 | 0,315 | 540 | 0,10 | |||
60 | 26 | 220 | 0,315 | 546 | 0,075 | |||
Информация для расчета ПРА | ||||||||
Частота, Гц | 50 | 60 | ||||||
Ток предварительного подогрева, А | Не менее | 0,270 | 0,270 | |||||
Не более | 0,550 | 0,550 | ||||||
Напряжение холостого хода на лампе, В | Действующее значение, не менее | 198 | 198 | |||||
Пиковое значение, не более | 400 | 440 | ||||||
Резистор, заменяющий два последовательно соединенных электрода, Ом | 25 | 25 | ||||||
Рабочий ток лампы, А | Не более | 0,360 | 0,360 | |||||
Информация для расчета светильника | ||||||||
Наибольший контур лампы: см. лист 60901-IEC-A010 с размером H, мм | 160 | |||||||
Наибольшая температура на цоколе, °C | 90 | |||||||
60901-IEC-0526-2 | ||||||||
ОДНОЦОКОЛЬНАЯ Лист с параметрами Четырехканальная | С. 1 | |||||||||||
МСОЛ: FSQ-15-I-GX32d=1 | ||||||||||||
Номинальная мощность, Вт | Схема | Электрод | Цоколь | |||||||||
15 | Внутренний стартер | Предварительного подогрева | GX32d-1 | |||||||||
Размеры В миллиметрах | ||||||||||||
A, не более | B, не более | C, не более | ||||||||||
41 | 41 | 117 | ||||||||||
Цоколь: см. лист 7004-87 IEC 60061-1. | ||||||||||||
Характеристики зажигания | ||||||||||||
Частота, Гц | Нормируемое напряжение на ПРА, В | Испытательное напряжение (действующее), В | Время зажигания, с | |||||||||
50 | - | - | - | |||||||||
60 | 118 | 108 | 10 | |||||||||
Электрические параметры | ||||||||||||
Частота, Гц | Нормируемая мощность, Вт | Напряжение на лампе (действующее), В | Нормируемый ток лампы, А | Нормируемый ток предварительного подогрева, А | ||||||||
Нормируемое | Не менее | Не более | ||||||||||
50 | - | - | - | - | - | - | ||||||
60 | 15 | 53 | 0,325 | |||||||||
Испытательное положение: вертикальное, цоколем вверх. -------------------------------- | ||||||||||||
60901-IEC-0715-1 | ||||||||||||
ЛАМПА ЛЮМИНЕСЦЕНТНАЯ ОДНОЦОКОЛЬНАЯ Лист с параметрами Четырехканальная | С. 2 | |||||||
МСОЛ: FSQ-15-I-GX32d=1 | ||||||||
Характеристики ДОИ | ||||||||
Частота, Гц | Номинальная мощность, Вт | Нормируемое напряжение, В | Ток калибровки, А | Отношение напряжения к току, Ом | Коэффициент мощности | |||
50 | - | - | - | - | - | |||
60 | 15 | 118 | 0,325 | 290 | 0,075 | |||
Информация для расчета ПРА | ||||||||
Частота, Гц | 50 | 60 | ||||||
Ток предварительного подогрева, А | Не менее | - | 0,280 | |||||
Не более | - | 0,650 | ||||||
Напряжение холостого хода на лампе, В | Действующее значение, не менее | - | 108 | |||||
Пиковое значение, не более | - | 400 | ||||||
Резистор, заменяющий два последовательно соединенных электрода, Ом | - | 25 | ||||||
Рабочий ток лампы, А | - | - | ||||||
Информация для расчета светильника | ||||||||
Наибольший контур лампы: см. лист 60901-IEC-A010 с размером H, мм | 117 | |||||||
Наибольшая температура на цоколе, °C | 90 | |||||||
-------------------------------- | ||||||||
60901-IEC-0715-1 | ||||||||
ОДНОЦОКОЛЬНАЯ Лист с параметрами Четырехканальная | С. 1 | |||||||||||
МСОЛ: FSQ-20-I-GX32d=2 | ||||||||||||
Номинальная мощность, Вт | Схема | Электрод | Цоколь | |||||||||
20 | Внутренний стартер | Предварительного подогрева | GX32d-2 | |||||||||
Размеры В миллиметрах | ||||||||||||
A, не более | B, не более | C, не более | ||||||||||
41 | 41 | 130 | ||||||||||
Цоколь: см. лист 7004-87 IEC 60061-1. | ||||||||||||
Характеристики зажигания | ||||||||||||
Частота, Гц | Нормируемое напряжение на ПРА, В | Испытательное напряжение (действующее), В | Время зажигания, с | |||||||||
50 | - | - | - | |||||||||
60 | 118 | 108 | 10 | |||||||||
Электрические параметры | ||||||||||||
Частота, Гц | Нормируемая мощность, Вт | Напряжение на лампе (действующее), В | Нормируемый ток лампы, А | Нормируемый ток предварительного подогрева, А | ||||||||
Нормируемое | Не менее | Не более | ||||||||||
50 | - | - | - | - | - | - | ||||||
60 | 20 | 53 | 0,450 | |||||||||
Испытательное положение: вертикальное, цоколем вверх. -------------------------------- | ||||||||||||
60901-IEC-0720-1 | ||||||||||||
ЛАМПА ЛЮМИНЕСЦЕНТНАЯ ОДНОЦОКОЛЬНАЯ Лист с параметрами Четырехканальная | С. 2 | |||||||
МСОЛ: FSQ-20-I-GX32d=2 | ||||||||
Характеристики ДОИ | ||||||||
Частота, Гц | Номинальная мощность, Вт | Нормируемое напряжение, В | Ток калибровки, А | Отношение напряжения к току, Ом | Коэффициент мощности | |||
50 | - | - | - | - | - | |||
60 | 20 | 118 | 0,450 | 209 | 0,075 | |||
Информация для расчета ПРА | ||||||||
Частота, Гц | 50 | 60 | ||||||
Ток предварительного подогрева, А | Не менее | - | 0,405 | |||||
Не более | - | 0,850 | ||||||
Напряжение холостого хода на лампе, В | Действующее значение, не менее | - | 108 | |||||
Пиковое значение, не более | - | 400 | ||||||
Резистор, заменяющий два последовательно соединенных электрода, Ом | - | 25 <*> | ||||||
Рабочий ток лампы, А | Не более | - | ||||||
Информация для расчета светильника | ||||||||
Наибольший контур лампы: см. лист 60901-IEC-A010 с размером H, мм | 130 | |||||||
Наибольшая температура на цоколе, °C | 90 | |||||||
-------------------------------- | ||||||||
60901-IEC-0720-1 | ||||||||
ОДНОЦОКОЛЬНАЯ Лист с параметрами Четырехканальная | С. 1 | |||||||||||
МСОЛ: FSQ-27-I-GX32d=3 | ||||||||||||
Номинальная мощность, Вт | Схема | Электрод | Цоколь | |||||||||
27 | Внутренний стартер | Предварительного подогрева | GX32d-3 | |||||||||
Размеры В миллиметрах | ||||||||||||
A, не более | B, не более | C, не более | ||||||||||
41 | 41 | 146 | ||||||||||
Цоколь: см. лист 7004-87 IEC 60061-1. | ||||||||||||
Характеристики зажигания | ||||||||||||
Частота, Гц | Нормируемое напряжение на ПРА, В | Испытательное напряжение (действующее), В | Время зажигания, с | |||||||||
50 | - | - | - | |||||||||
60 | 118 | 108 | 10 | |||||||||
Электрические параметры | ||||||||||||
Частота, Гц | Нормируемая мощность, Вт | Напряжение на лампе (действующее), В | Нормируемый ток лампы, А | Нормируемый ток предварительного подогрева, А | ||||||||
Нормируемое | Не менее | Не более | ||||||||||
50 | - | - | - | - | - | - | ||||||
60 | 27 | 54 | 0,625 | |||||||||
Испытательное положение: вертикальное, цоколем вверх. -------------------------------- | ||||||||||||
60901-IEC-0727-1 | ||||||||||||
ЛАМПА ЛЮМИНЕСЦЕНТНАЯ ОДНОЦОКОЛЬНАЯ Лист с параметрами Четырехканальная | С. 2 | |||||||
МСОЛ: FSQ-27-I-GX32d=3 | ||||||||
Характеристики ДОИ | ||||||||
Частота, Гц | Номинальная мощность, Вт | Нормируемое напряжение, В | Ток калибровки, А | Отношение напряжения к току, Ом | Коэффициент мощности | |||
50 | - | - | - | - | - | |||
60 | 27 | 118 | 0,625 | 154 | 0,075 | |||
Информация для расчета ПРА | ||||||||
Частота, Гц | 50 | 60 | ||||||
Ток предварительного подогрева, А | Не менее | - | 0,540 | |||||
Не более | - | 1,080 | ||||||
Напряжение холостого хода на лампе, В | Действующее значение, не менее | - | 108 | |||||
Пиковое значение, не более | - | 400 | ||||||
Резистор, заменяющий два последовательно соединенных электрода, Ом | - | 25 <*> | ||||||
Рабочий ток лампы, А | Не более | - | ||||||
Информация для расчета светильника | ||||||||
Наибольший контур лампы: см. лист 60901-IEC-A010 с размером H, мм | 146 | |||||||
Наибольшая температура на цоколе, °C | 90 | |||||||
-------------------------------- | ||||||||
60901-IEC-0727-1 | ||||||||
ОДНОЦОКОЛЬНАЯ Лист с параметрами Квадратная | С. 1 | |||||||||||||
МСОЛ: FSS-16-I-GR8 | ||||||||||||||
Номинальная мощность, Вт | Схема | Электрод | Цоколь | |||||||||||
16 | Внутренний стартер | Предварительного подогрева | GR8 | |||||||||||
Размеры В миллиметрах | ||||||||||||||
A | B | C | D | E | F | G | ||||||||
138 | 141 | 27,5 | 15 | 41 | 40 | 49 | 51 | |||||||
Цоколь: см. лист 7004-68 IEC 60061-1. | ||||||||||||||
Характеристики зажигания | ||||||||||||||
Частота, Гц | Нормируемое напряжение на ПРА, В | Испытательное напряжение (действующее), В | Время зажигания, с | |||||||||||
50 | 220 | 198 | 10 | |||||||||||
60 | - | - | - | |||||||||||
Электрические параметры | ||||||||||||||
Частота, Гц | Нормируемая мощность, Вт | Напряжение на лампе (действующее), В | Нормируемый ток лампы, А | Нормируемый ток предварительного подогрева, А | ||||||||||
Нормируемое | Не менее | Не более | ||||||||||||
50 | 16 | 103 | 93 | 113 | 0,195 | 0,260 | ||||||||
60 | - | - | - | - | - | - | ||||||||
Испытательное положение: горизонтальное. | ||||||||||||||
60901-IEC-1016-1 | ||||||||||||||
ЛАМПА ЛЮМИНЕСЦЕНТНАЯ ОДНОЦОКОЛЬНАЯ Лист с параметрами Квадратная | С. 2 | |||||||
МСОЛ: FSS-16-I-GR8 | ||||||||
Характеристики ДОИ | ||||||||
Частота, Гц | Номинальная мощность, Вт | Нормируемое напряжение, В | Ток калибровки, А | Отношение напряжения к току, Ом | Коэффициент мощности | |||
50 | 16 | 220 | 0,195 | 890 | 0,12 | |||
60 | 16 | 220 | 0,195 | 900 | 0,075 | |||
Информация для расчета ПРА | ||||||||
Частота, Гц | 50 | 60 | ||||||
Ток предварительного подогрева, А | Не менее | 0,175 | - | |||||
Не более | 0,140 | - | ||||||
Напряжение холостого хода на лампе, В | Действующее значение, не менее | 198 | - | |||||
Пиковое значение, не более | 400 | - | ||||||
Резистор, заменяющий два последовательно соединенных электрода, Ом | 130 | - | ||||||
Рабочий ток лампы, А | Не более | - | ||||||
Информация для расчета светильника | ||||||||
Наибольший контур лампы: см. лист 60901-IEC-B020 | ||||||||
-------------------------------- | ||||||||
60901-IEC-1016-2 | ||||||||
(A5:2011) | ||||||||
ОДНОЦОКОЛЬНАЯ Лист с параметрами Квадратная | С. 1 | |||||||||||||
МСОЛ: FSS-28-I-GR8 | ||||||||||||||
Номинальная мощность, Вт | Схема | Электрод | Цоколь | |||||||||||
28 | Внутренний стартер | Предварительного подогрева | GR8 | |||||||||||
Размеры В миллиметрах | ||||||||||||||
A | B | C | D | E | F | G | ||||||||
205 | 207 | 33 | 24 | 41 | 47 | 74 | 77 | |||||||
Цоколь: см. лист 7004-68 IEC 60061-1. | ||||||||||||||
Характеристики зажигания | ||||||||||||||
Частота, Гц | Нормируемое напряжение на ПРА, В | Испытательное напряжение (действующее), В | Время зажигания, с | |||||||||||
50 | 220 | 198 | 10 | |||||||||||
60 | - | - | - | |||||||||||
Электрические параметры | ||||||||||||||
Частота, Гц | Нормируемая мощность, Вт | Напряжение на лампе (действующее), В | Нормируемый ток лампы, А | Нормируемый ток предварительного подогрева, А | ||||||||||
Нормируемое | Не менее | Не более | ||||||||||||
50 | 28 | 108 | 98 | 118 | 0,32 | 0,410 | ||||||||
60 | - | - | - | - | - | - | ||||||||
Испытательное положение: горизонтальное. | ||||||||||||||
60901-IEC-1028-1 | ||||||||||||||
ЛАМПА ЛЮМИНЕСЦЕНТНАЯ ОДНОЦОКОЛЬНАЯ Лист с параметрами Квадратная | С. 2 | |||||||
МСОЛ: FSS-28-I-GR8 | ||||||||
Характеристики ДОИ | ||||||||
Частота, Гц | Номинальная мощность, Вт | Нормируемое напряжение, В | Ток калибровки, А | Отношение напряжения к току, Ом | Коэффициент мощности | |||
50 | 28 | 210 | 0,320 | 480 | 0,10 | |||
60 | 28 | 210 | 0,320 | 485 | 0,075 | |||
Информация для расчета ПРА | ||||||||
Частота, Гц | 50 | 60 | ||||||
Ток предварительного подогрева, А | Не менее | 0,290 | - | |||||
Не более | 0,680 | - | ||||||
Напряжение холостого хода на лампе, В | Действующее значение, не менее | 198 | - | |||||
Пиковое значение, не более | 400 | - | ||||||
Резистор, заменяющий два последовательно соединенных электрода, Ом | 18 | - | ||||||
Рабочий ток лампы, А | Не более | - | ||||||
Информация для расчета светильника | ||||||||
Наибольший контур лампы: см. лист 60901-IEC-B030 | ||||||||
-------------------------------- | ||||||||
60901-IEC-1028-2 | ||||||||
(A5:2011) | ||||||||
ОДНОЦОКОЛЬНАЯ Лист с параметрами Многоканальная | С. 1 | |||||||||||
МСОЛ: FSM-13-I-GX24d=1 | ||||||||||||
Номинальная мощность, Вт | Схема | Электрод | Цоколь | |||||||||
13 | Внутренний стартер | Предварительного подогрева | GX24d-1 | |||||||||
Размеры В миллиметрах | ||||||||||||
A, не более | B, не более | C, не более | ||||||||||
52 | 52 | 90 | ||||||||||
Цоколь: см. лист 7004-87 IEC 60061-1. | ||||||||||||
Характеристики зажигания | ||||||||||||
Частота, Гц | Нормируемое напряжение на ПРА, В | Испытательное напряжение (действующее), В | Время зажигания, с | |||||||||
50 | 220 | 198 | 10 | |||||||||
60 | 220 | 198 | 10 | |||||||||
Электрические параметры | ||||||||||||
Частота, Гц | Нормируемая мощность, Вт | Напряжение на лампе (действующее), В | Нормируемый ток лампы, А | Нормируемый ток предварительного подогрева, А | ||||||||
Нормируемое | Не менее | Не более | ||||||||||
50 | 13 | 91 | 81 | 101 | 0,175 | 0,210 | ||||||
60 | 13 | 91 | 81 | 101 | 0,175 | 0,210 | ||||||
Испытательное положение: вертикальное, цоколем вверх. | ||||||||||||
60901-IEC-1413-1 | ||||||||||||
ЛАМПА ЛЮМИНЕСЦЕНТНАЯ ОДНОЦОКОЛЬНАЯ Лист с параметрами Многоканальная | С. 2 | |||||||
МСОЛ: FSM-13-I-GX24d=1 | ||||||||
Характеристики ДОИ | ||||||||
Частота, Гц | Номинальная мощность, Вт | Нормируемое напряжение, В | Ток калибровки, А | Отношение напряжения к току, Ом | Коэффициент мощности | |||
50 | 13 | 220 | 0,165 | 1070 | 0,12 | |||
60 | 13 | 220 | 0,170 | 1080 | 0,075 | |||
Информация для расчета ПРА | ||||||||
Частота, Гц | 50 | 60 | ||||||
Ток предварительного подогрева, А | Не менее | 0,153 | 0,153 | |||||
Не более | 0,275 | 0,275 | ||||||
Напряжение холостого хода на лампе, В | Действующее значение, не менее | 198 | 198 | |||||
Пиковое значение, не более | 400 | 440 | ||||||
Резистор, заменяющий два последовательно соединенных электрода, Ом | 100 | 100 | ||||||
Рабочий ток лампы, А | Не более | 0,190 | 0,190 | |||||
Информация для расчета светильника | ||||||||
Наибольший контур лампы: см. лист 60901-IEC-B410 с размером H, мм | 90 | |||||||
Наибольшая температура на цоколе, °C | 90 | |||||||
60901-IEC-1413-2 | ||||||||
ОДНОЦОКОЛЬНАЯ Лист с параметрами Многоканальная | С. 1 | |||||||||||
МСОЛ: FSM-18-I-GX24d=2 | ||||||||||||
Номинальная мощность, Вт | Схема | Электрод | Цоколь | |||||||||
18 | Внутренний стартер | Предварительного подогрева | GX24d-2 | |||||||||
Размеры В миллиметрах | ||||||||||||
A, не более | B, не более | C, не более | ||||||||||
52 | 52 | 110 | ||||||||||
Цоколь: см. лист 7004-78 IEC 60061-1. | ||||||||||||
Характеристики зажигания | ||||||||||||
Частота, Гц | Нормируемое напряжение на ПРА, В | Испытательное напряжение (действующее), В | Время зажигания, с | |||||||||
50 | 220 | 198 | 10 | |||||||||
60 | 220 | 198 | 10 | |||||||||
Электрические параметры | ||||||||||||
Частота, Гц | Нормируемая мощность, Вт | Напряжение на лампе (действующее), В | Нормируемый ток лампы, А | Нормируемый ток предварительного подогрева, А | ||||||||
Нормируемое | Не менее | Не более | ||||||||||
50 | 18 | 100 | 90 | 110 | 0,225 | 0,280 | ||||||
60 | 18 | 100 | 90 | 110 | 0,225 | 0,280 | ||||||
Испытательное положение: вертикальное, цоколем вверх. | ||||||||||||
60901-IEC-1418-1 | ||||||||||||
ЛАМПА ЛЮМИНЕСЦЕНТНАЯ ОДНОЦОКОЛЬНАЯ Лист с параметрами Многоканальная | С. 2 | |||||||
МСОЛ: FSM-18-I-GX24d=2 | ||||||||
Характеристики ДОИ | ||||||||
Частота, Гц | Номинальная мощность, Вт | Нормируемое напряжение, В | Ток калибровки, А | Отношение напряжения к току, Ом | Коэффициент мощности | |||
50 | 18 | 220 | 0,220 | 800 | 0,12 | |||
60 | 18 | 220 | 0,220 | 815 | 0,075 | |||
Информация для расчета ПРА | ||||||||
Частота, Гц | 50 | 60 | ||||||
Ток предварительного подогрева, А | Не менее | 0,190 | 0,190 | |||||
Не более | 0,375 | 0,375 | ||||||
Напряжение холостого хода на лампе, В | Действующее значение, не менее | 198 | 198 | |||||
Пиковое значение, не более | 400 | 440 | ||||||
Резистор, заменяющий два последовательно соединенных электрода, Ом | 80 | 80 | ||||||
Рабочий ток лампы, А | Не более | 0,240 | 0,240 | |||||
Информация для расчета светильника | ||||||||
Наибольший контур лампы: см. лист 60901-IEC-B410 с размером H, мм | 110 | |||||||
Наибольшая температура на цоколе, °C | 90 | |||||||
60901-IEC-1418-2 | ||||||||
ОДНОЦОКОЛЬНАЯ Лист с параметрами Многоканальная | С. 1 | |||||||||||
МСОЛ: FSM-26-I-GX24d=3 | ||||||||||||
Номинальная мощность, Вт | Схема | Электрод | Цоколь | |||||||||
26 | Внутренний стартер | Предварительного подогрева | GX24d-3 | |||||||||
Размеры В миллиметрах | ||||||||||||
A, не более | B, не более | C, не более | ||||||||||
52 | 52 | 130 | ||||||||||
Цоколь: см. лист 7004-78 IEC 60061-1. | ||||||||||||
Характеристики зажигания | ||||||||||||
Частота, Гц | Нормируемое напряжение на ПРА, В | Испытательное напряжение (действующее), В | Время зажигания, с | |||||||||
50 | 220 | 198 | 10 | |||||||||
60 | 220 | 198 | 10 | |||||||||
Электрические параметры | ||||||||||||
Частота, Гц | Нормируемая мощность, Вт | Напряжение на лампе (действующее), В | Нормируемый ток лампы, А | Нормируемый ток предварительного подогрева, А | ||||||||
Нормируемое | Не менее | Не более | ||||||||||
50 | 26,5 | 105 | 95 | 115 | 0,325 | 0,420 | ||||||
60 | 26,5 | 105 | 95 | 115 | 0,325 | 0,420 | ||||||
Испытательное положение: вертикальное, цоколем вверх. | ||||||||||||
60901-IEC-1426-1 | ||||||||||||
ЛАМПА ЛЮМИНЕСЦЕНТНАЯ ОДНОЦОКОЛЬНАЯ Лист с параметрами Многоканальная | С. 2 | |||||||
МСОЛ: FSM-26-I-GX24d=3 | ||||||||
Характеристики ДОИ | ||||||||
Частота, Гц | Номинальная мощность, Вт | Нормируемое напряжение, В | Ток калибровки, А | Отношение напряжения к току, Ом | Коэффициент мощности | |||
50 | 26 | 220 | 0,315 | 540 | 0,10 | |||
60 | 26 | 220 | 0,315 | 546 | 0,075 | |||
Информация для расчета ПРА | ||||||||
Частота, Гц | 50 | 60 | ||||||
Ток предварительного подогрева, А | Не менее | 0,270 | 0,270 | |||||
Не более | 0,550 | 0,550 | ||||||
Напряжение холостого хода на лампе, В | Действующее значение, не менее | 198 | 198 | |||||
Пиковое значение, не более | 400 | 440 | ||||||
Резистор, заменяющий два последовательно соединенных электрода, Ом | 25 | 25 | ||||||
Рабочий ток лампы, А | Не более | 0,360 | 0,360 | |||||
Информация для расчета светильника | ||||||||
Наибольший контур лампы: см. лист 60901-IEC-B410 с размером H, мм | 130 | |||||||
Наибольшая температура на цоколе, °C | 90 | |||||||
60901-IEC-1426-2 | ||||||||
ОДНОЦОКОЛЬНАЯ Лист с параметрами Двухканальная | С. 1 | |||||||||||
МСОЛ: FSD-5-E-2G7 | ||||||||||||
Номинальная мощность, Вт | Схема | Электрод | Цоколь | |||||||||
5 | Внешний стартер | Предварительного подогрева | 2G7 | |||||||||
Размеры В миллиметрах | ||||||||||||
A, не более | B, не более | C, не более | ||||||||||
28 | 13 | 85 | ||||||||||
Цоколь: см. лист 7004-102 IEC 60061-1. | ||||||||||||
Характеристики зажигания | ||||||||||||
Частота, Гц | Нормируемое напряжение на ПРА, В | Испытательное напряжение (действующее), В | Время зажигания, с | |||||||||
50 | 220 | 198 | 10 | |||||||||
60 | 118 | 106 | 10 | |||||||||
Электрические параметры | ||||||||||||
Частота, Гц | Нормируемая мощность, Вт | Напряжение на лампе (действующее), В | Нормируемый ток лампы, А | Нормируемый ток предварительного подогрева, А | ||||||||
Нормируемое | Не менее | Не более | ||||||||||
50 | 5,4 | 35 | 30 | 40 | 0,180 | 0,190 | ||||||
60 | 5,4 | 35 | 30 | 40 | 0,180 | 0,190 | ||||||
Испытательное положение: вертикальное, цоколем вверх. | ||||||||||||
Характеристики электрода | ||||||||||||
Испытательный ток, А | Сопротивление каждого электрода, Ом | |||||||||||
Нормируемое | Не менее | Не более | ||||||||||
0,130 | 50 | 37,5 | 62,5 | |||||||||
60901-IEC-2005-2 | ||||||||||||
ЛАМПА ЛЮМИНЕСЦЕНТНАЯ ОДНОЦОКОЛЬНАЯ Лист с параметрами Двухканальная | С. 2 | |||||||
МСОЛ: FSD-5-E-2G7 | ||||||||
Характеристики ДОИ | ||||||||
Частота, Гц | Номинальная мощность, Вт | Нормируемое напряжение, В | Ток калибровки, А | Отношение напряжения к току, Ом | Коэффициент мощности | |||
50 | 9 | 220 | 0,170 | 1180 | 0,12 | |||
60 | 5,5 | 118 | 0,180 | 605 | 0,075 | |||
Информация для расчета ПРА | ||||||||
Частота, Гц | 50 | 60 | ||||||
Ток предварительного подогрева, А | Не менее | 0,153 | 0,153 | |||||
Не более | 0,240 | 0,240 | ||||||
Напряжение холостого хода на лампе, В | Действующее значение, не менее | 198 | 198 | |||||
Пиковое значение, не более | 400 | 440 | ||||||
Резистор, заменяющий два последовательно соединенных электрода, Ом | 160 | 160 | ||||||
Напряжение на стартере при работающей лампе, В | Действующее значение, не более | |||||||
Рабочий ток лампы, А | Не более | 0,190 | 0,190 | |||||
Информация для расчета стартера | ||||||||
Импульс напряжения, В, не менее | Напряжение неконтактирования, В | Конденсатор для ПРП, пФ | ||||||
Не менее | Не более | |||||||
Информация для расчета светильника | ||||||||
Наибольший контур лампы: см. лист 60901-IEC-A020 с размером H, мм | 85 | |||||||
-------------------------------- | ||||||||
60901-IEC-2005-2 | ||||||||
ЛАМПА ЛЮМИНЕСЦЕНТНАЯ ОДНОЦОКОЛЬНАЯ Лист с параметрами Двухканальная | С. 3 | ||||||||
МСОЛ: FSD-5-E-2G7 | |||||||||
Информация для расчета ВЧ ПРА | |||||||||
Характеристики ВЧ ПРА | |||||||||
Частота, кГц | Номинальная мощность, Вт | Нормируемое напряжение, В | Ток калибровки, А | Отношение напряжения к току, Ом | |||||
20 - 26 | 5 | 54 | 0,190 | 140 | |||||
Типичные параметры лампы | |||||||||
Частота, кГц | Номинальная мощность, Вт | Напряжение на лампе, В | Ток лампы, А | ||||||
>= 20 | 5 | 27 | 0,190 | ||||||
Работа в нормальном режиме и режиме диммирования | |||||||||
Частота, кГц | >= 20 | ||||||||
Ток перехода от работы в нормальном режиме к режиму диммирования ID перехода, А | 0,100 | ||||||||
Рабочий ток лампы ID max, А | Не более | 0,190 | |||||||
Ток в любом вводе электродов ILH max, А | Не более | 0,210 | |||||||
Квалификация диммирующего ПРА с заменяющими резисторами (примечание 1) | |||||||||
Нагрев электрода рабочим током любой лампы, измеренного с заменяющими резисторами | |||||||||
Наименьшая сумма квадратов токов выводов: SoSmin: для ID30 < ID <= Iперехода (примечание 2) | А2 | X1 | 0,030 | ||||||
А | Y1 | 0,240 | |||||||
Нагрев электрода при конкретных рабочих токах, измеренных на заменяющих резисторах | |||||||||
Рабочий ток | Параметры нагрева | ||||||||
IDmin, А | 0,015 | Наименьшее напряжение на электроде, В | CVDmin | 6,00 | |||||
Резисторы, заменяющие разрядную лампу, Ом | RL10min | 2000 | |||||||
RL10max | 3900 | ||||||||
ID30, А | 0,040 | Наименьшая сумма квадратов токов выводов, А2 | SoS30 | X1 - Y1ID30 | |||||
Резистор, заменяющий разрядную лампу, Ом | RL30 | 910 | |||||||
ID60, А | 0,080 | Наименьшая сумма квадратов токов выводов, А2 | SoS60 | X1 - Y1ID60 | |||||
Резистор, заменяющий разрядную лампу, Ом | RL60 | 430 | |||||||
Наибольшее напряжение на электроде, В | CVmax | 7,60 | |||||||
Заменяющие электрод резисторы для квалификации диммирующего ПРА | |||||||||
Заменяющий резистор каждого электрода для испытания требований диммирования, Ом | Rиспытания 1 | 50,0 | |||||||
Rиспытания 2 | 55,0 | ||||||||
Rиспытания 3 | 45,0 | ||||||||
Примечания | |||||||||
60901-IEC-2005-4 | |||||||||
(A6:2014) | |||||||||
ЛАМПА ЛЮМИНЕСЦЕНТНАЯ ОДНОЦОКОЛЬНАЯ Лист с параметрами Двухканальная | С. 4 | ||||||||
МСОЛ: FSD-5-E-2G7 | |||||||||
Требования зажигания к электродам предварительного подогрева для времени зажигания 0,4 с < ts < 3,0 с | |||||||||
Наименьшая энергия предварительного подогрева электрода: Emin = Qmin + Pmin ts, Дж | Qmin | Дж | 1,0 | ||||||
Pmin | Дж/с | 0,5 | |||||||
Напряжение на каждом электроде для E (t) < Emin, В | Действующее значение, не более | 11 | |||||||
Заменяющий резистор каждого электрода для проверки минимальных требований к предварительному подогреву электродов, Ом | 30 | ||||||||
Наибольшая энергия предварительного подогрева электрода: Emax = Qmax + Pmax ts, Дж | Qmax | Дж | 2,0 | ||||||
Pmax | Дж/с | 1,0 | |||||||
Заменяющий резистор каждого электрода для проверки максимальных требований к предварительному подогреву электродов, Ом | 40 | ||||||||
Напряжение холостого хода на лампе без ВЗУ, В | Напряжение незажигания | t <= ts | Действующее значение, не более | 120 | |||||
Напряжение зажигания | t > ts (+10 °C) | Действующее значение, не менее | 250 | ||||||
t > ts (-15 °C) | |||||||||
Диапазон заменяющего резистора каждого электрода для проверки требований к напряжению холостого хода, Ом | 30,0 - 90,0 | ||||||||
-------------------------------- | |||||||||
60901-IEC-2005-1 | |||||||||
(A6:2014) | |||||||||
ОДНОЦОКОЛЬНАЯ Лист с параметрами Двухканальная | С. 1 | |||||||||||
МСОЛ: FSD-7-E-2G7 | ||||||||||||
Номинальная мощность, Вт | Схема | Электрод | Цоколь | |||||||||
7 | Внешний стартер | Предварительного подогрева | 2G7 | |||||||||
Размеры В миллиметрах | ||||||||||||
A, не более | B, не более | C, не более | ||||||||||
28 | 13 | 115 | ||||||||||
Цоколь: см. лист 7004-102 IEC 60061-1. | ||||||||||||
Характеристики зажигания | ||||||||||||
Частота, Гц | Нормируемое напряжение на ПРА, В | Испытательное напряжение (действующее), В | Время зажигания, с | |||||||||
50 | 220 | 198 | 10 | |||||||||
60 | 118 | 106 | 10 | |||||||||
Электрические параметры | ||||||||||||
Частота, Гц | Нормируемая мощность, Вт | Напряжение на лампе (действующее), В | Нормируемый ток лампы, А | Нормируемый ток предварительного подогрева, А | ||||||||
Нормируемое | Не менее | Не более | ||||||||||
50 | 7,1 | 47 | 42 | 52 | 0,175 | 0,190 | ||||||
60 | 7,0 | 45 | 40 | 50 | 0,180 | 0,190 | ||||||
Испытательное положение: вертикальное, цоколем вверх. | ||||||||||||
Характеристики электрода | ||||||||||||
Испытательный ток, А | Сопротивление каждого электрода, Ом | |||||||||||
Нормируемое | Не менее | Не более | ||||||||||
0,130 | 50 | 37,5 | 62,5 | |||||||||
60901-IEC-2007-2 | ||||||||||||
ЛАМПА ЛЮМИНЕСЦЕНТНАЯ ОДНОЦОКОЛЬНАЯ Лист с параметрами Двухканальная | С. 2 | |||||||
МСОЛ: FSD-7-E-2G7 | ||||||||
Характеристики ДОИ | ||||||||
Частота, Гц | Номинальная мощность, Вт | Нормируемое напряжение, В | Ток калибровки, А | Отношение напряжения к току, Ом | Коэффициент мощности | |||
50 | 9 | 220 | 0,170 | 1180 | 0,12 | |||
60 | 7 | 118 | 0,180 | 570 | 0,075 | |||
Информация для расчета ПРА | ||||||||
Частота, Гц | 50 | 60 | ||||||
Ток предварительного подогрева, А | Не менее | 0,153 | 0,153 | |||||
Не более | 0,240 | 0,240 | ||||||
Напряжение холостого хода на лампе, В | Действующее значение, не менее | 198 | 198 | |||||
Пиковое значение, не более | 400 | 440 | ||||||
Резистор, заменяющий два последовательно соединенных электрода, Ом | 160 | 160 | ||||||
Напряжение на стартере при работающей лампе, В | Действующее значение, не более | |||||||
Рабочий ток лампы, А | Не более | 0,190 | 0,190 | |||||
Информация для расчета стартера | ||||||||
Импульс напряжения, В, не менее | Напряжение неконтактирования, В | Конденсатор для ПРП, пФ | ||||||
Не менее | Не более | |||||||
Информация для расчета светильника | ||||||||
Наибольший контур лампы: см. лист 60901-IEC-A020 с размером H, мм | 115 | |||||||
-------------------------------- | ||||||||
60901-IEC-2007-2 | ||||||||
ЛАМПА ЛЮМИНЕСЦЕНТНАЯ ОДНОЦОКОЛЬНАЯ Лист с параметрами Двухканальная | С. 3 | ||||||||
МСОЛ: FSD-7-E-2G7 | |||||||||
Информация для расчета ВЧ ПРА | |||||||||
Характеристики ВЧ ПРА | |||||||||
Частота, кГц | Номинальная мощность, Вт | Нормируемое напряжение, В | Ток калибровки, А | Отношение напряжения к току, Ом | |||||
20 - 26 | 7 | 74 | 0,175 | 210 | |||||
Типичные параметры лампы | |||||||||
Частота, кГц | Номинальная мощность, Вт | Напряжение на лампе, В | Ток лампы, А | ||||||
>= 20 | 6,5 | 37 | 0,175 | ||||||
Работа в нормальном режиме и режиме диммирования | |||||||||
Частота, кГц | >= 20 | ||||||||
Ток перехода от работы в нормальном режиме к режиму диммирования ID перехода, А | 0,100 | ||||||||
Рабочий ток лампы ID, А | Не более | 0,190 | |||||||
Ток в любом вводе электродов, А | Не более | 0,210 | |||||||
Квалификация диммирующего ПРА с заменяющими резисторами (примечание 1) | |||||||||
Нагрев электрода рабочим током любой лампы, измеренного с заменяющими резисторами | |||||||||
Наименьшая сумма квадратов токов выводов: SoSmin: для ID30 < ID <= Iперехода (примечание 2) | А2 | X1 | 0,030 | ||||||
А | Y1 | 0,240 | |||||||
Нагрев электрода при конкретных рабочих токах, измеренных на заменяющих резисторах | |||||||||
Рабочий ток | Параметры нагрева | ||||||||
IDmin, А | 0,015 | Наименьшее напряжение на электроде, В | CVDmin | 6,00 | |||||
Резисторы, заменяющие разрядную лампу, Ом | RL10min | 2700 | |||||||
RL10max | 5100 | ||||||||
ID30, А | 0,040 | Наименьшая сумма квадратов токов выводов, А2 | SoS30 | X1 - Y1ID30 | |||||
Резистор, заменяющий разрядную лампу, Ом | RL30 | 1300 | |||||||
ID60, А | 0,080 | Наименьшая сумма квадратов токов выводов, А2 | SoS60 | X1 - Y1ID60 | |||||
Резистор, заменяющий разрядную лампу, Ом | RL60 | 560 | |||||||
Наибольшее напряжение на электроде, В | CVmax | 7,60 | |||||||
Заменяющие электрод резисторы для квалификации диммирующего ПРА | |||||||||
Заменяющий резистор каждого электрода для испытания требований диммирования, Ом | Rиспытания 1 | 50,0 | |||||||
Rиспытания 2 | 55,0 | ||||||||
Rиспытания 3 | 45,0 | ||||||||
Примечания | |||||||||
60901-IEC-2007-4 | |||||||||
(A6:2014) | |||||||||
ЛАМПА ЛЮМИНЕСЦЕНТНАЯ ОДНОЦОКОЛЬНАЯ Лист с параметрами Двухканальная | С. 4 | ||||||||
МСОЛ: FSD-7-E-2G7 | |||||||||
Требования зажигания к электродам предварительного подогрева для времени зажигания 0,4 с < ts < 3,0 с | |||||||||
Наименьшая энергия предварительного подогрева электрода: Emin = Qmin + Pmin ts, Дж | Qmin | Дж | 1,0 | ||||||
Pmin | Дж/с | 0,5 | |||||||
Напряжение на каждом электроде для E (t) < Emin, В | Действующее значение, не более | 11 | |||||||
Заменяющий резистор каждого электрода для проверки минимальных требований к предварительному подогреву электродов, Ом | 30 | ||||||||
Наибольшая энергия предварительного подогрева электрода: Emax = Qmax + Pmax ts, Дж | Qmax | Дж | 2,0 | ||||||
Pmax | Дж/с | 1,0 | |||||||
Заменяющий резистор каждого электрода для проверки максимальных требований к предварительному подогреву электродов, Ом | 40 | ||||||||
Напряжение холостого хода на лампе без ВЗУ, В | Напряжение незажигания | t <= ts | Действующее значение, не более | 130 | |||||
Напряжение зажигания | t > ts (+10 °C) | Действующее значение, не менее | 270 | ||||||
t > ts (-15 °C) | |||||||||
Диапазон заменяющего резистора каждого электрода для проверки требований к напряжению холостого хода, Ом | 30,0 - 90,0 | ||||||||
-------------------------------- | |||||||||
60901-IEC-2007-1 | |||||||||
(A6:2014) | |||||||||
ОДНОЦОКОЛЬНАЯ Лист с параметрами Двухканальная | С. 1 | |||||||||||
МСОЛ: FSD-9-E-2G7 | ||||||||||||
Номинальная мощность, Вт | Схема | Электрод | Цоколь | |||||||||
9 | Внешний стартер | Предварительного подогрева | 2G7 | |||||||||
Размеры В миллиметрах | ||||||||||||
A, не более | B, не более | C, не более | ||||||||||
28 | 13 | 145 | ||||||||||
Цоколь: см. лист 7004-102 IEC 60061-1. | ||||||||||||
Характеристики зажигания | ||||||||||||
Частота, Гц | Нормируемое напряжение на ПРА, В | Испытательное напряжение (действующее), В | Время зажигания, с | |||||||||
50 | 220 | 198 | 10 | |||||||||
60 | 118 | 106 | 10 | |||||||||
Электрические параметры | ||||||||||||
Частота, Гц | Нормируемая мощность, Вт | Напряжение на лампе (действующее), В | Нормируемый ток лампы, А | Нормируемый ток предварительного подогрева, А | ||||||||
Нормируемое | Не менее | Не более | ||||||||||
50 | 8,7 | 60 | 54 | 66 | 0,170 | 0,190 | ||||||
60 | 9,0 | 59 | 53 | 65 | 0,180 | 0,190 | ||||||
Испытательное положение: вертикальное, цоколем вверх. | ||||||||||||
Характеристики электрода | ||||||||||||
Испытательный ток, А | Сопротивление каждого электрода, Ом | |||||||||||
Нормируемое | Не менее | Не более | ||||||||||
0,130 | 50 | 37,5 | 62,5 | |||||||||
60901-IEC-2009-2 | ||||||||||||
ЛАМПА ЛЮМИНЕСЦЕНТНАЯ ОДНОЦОКОЛЬНАЯ Лист с параметрами Двухканальная | С. 2 | |||||||
МСОЛ: FSD-9-E-2G7 | ||||||||
Характеристики ДОИ | ||||||||
Частота, Гц | Номинальная мощность, Вт | Нормируемое напряжение, В | Ток калибровки, А | Отношение напряжения к току, Ом | Коэффициент мощности | |||
50 | 9 | 220 | 0,170 | 1180 | 0,12 | |||
60 | 9 | 118 | 0,180 | 515 | 0,075 | |||
Информация для расчета ПРА | ||||||||
Частота, Гц | 50 | 60 | ||||||
Ток предварительного подогрева, А | Не менее | 0,153 | 0,153 | |||||
Не более | 0,240 | 0,240 | ||||||
Напряжение холостого хода на лампе, В | Действующее значение, не менее | 198 | 198 | |||||
Пиковое значение, не более | 400 | 440 | ||||||
Резистор, заменяющий два последовательно соединенных электрода, Ом | 160 | 160 | ||||||
Напряжение на стартере при работающей лампе, В | Действующее значение, не более | |||||||
Рабочий ток лампы, А | Не более | 0,190 | 0,190 | |||||
Информация для расчета стартера | ||||||||
Импульс напряжения, В, не менее | Напряжение неконтактирования, В | Конденсатор для ПРП, пФ | ||||||
Не менее | Не более | |||||||
Информация для расчета светильника | ||||||||
Наибольший контур лампы: см. лист 60901-IEC-A020 с размером H, мм | 145 | |||||||
-------------------------------- | ||||||||
60901-IEC-2009-2 | ||||||||
ЛАМПА ЛЮМИНЕСЦЕНТНАЯ ОДНОЦОКОЛЬНАЯ Лист с параметрами Двухканальная | С. 3 | ||||||||
МСОЛ: FSD-9-E-2G7 | |||||||||
Информация для расчета ВЧ ПРА | |||||||||
Характеристики ВЧ ПРА | |||||||||
Частота, кГц | Номинальная мощность, Вт | Нормируемое напряжение, В | Ток калибровки, А | Отношение напряжения к току, Ом | |||||
20 - 26 | 9 | 96 | 0,170 | 280 | |||||
Типичные параметры лампы | |||||||||
Частота, кГц | Номинальная мощность, Вт | Напряжение на лампе, В | Ток лампы, А | ||||||
>= 20 | 8,0 | 48 | 0,170 | ||||||
Работа в нормальном режиме и режиме диммирования | |||||||||
Частота, кГц | >= 20 | ||||||||
Ток перехода от работы в нормальном режиме к режиму диммирования ID перехода, А | 0,100 | ||||||||
Рабочий ток лампы ID, А | Не более | 0,190 | |||||||
Ток в любом вводе электродов, А | Не более | 0,210 | |||||||
Квалификация диммирующего ПРА с заменяющими резисторами (примечание 1) | |||||||||
Нагрев электрода рабочим током любой лампы, измеренного с заменяющими резисторами | |||||||||
Наименьшая сумма квадратов токов выводов: SoSmin: для ID30 < ID <= Iперехода (примечание 2) | А2 | X1 | 0,030 | ||||||
А | Y1 | 0,240 | |||||||
Нагрев электрода при конкретных рабочих токах, измеренных на заменяющих резисторах | |||||||||
Рабочий ток | Параметры нагрева | ||||||||
IDmin, А | 0,015 | Наименьшее напряжение на электроде, В | CVDmin | 6,00 | |||||
Резисторы, заменяющие разрядную лампу, Ом | RL10min | 4300 | |||||||
RL10max | 8200 | ||||||||
ID30, А | 0,040 | Наименьшая сумма квадратов токов выводов, А2 | SoS30 | X1 - Y1ID30 | |||||
Резистор, заменяющий разрядную лампу, Ом | RL30 | 1800 | |||||||
ID60, А | 0,080 | Наименьшая сумма квадратов токов выводов, А2 | SoS60 | X1 - Y1ID60 | |||||
Резистор, заменяющий разрядную лампу, Ом | RL60 | 750 | |||||||
Наибольшее напряжение на электроде, В | CVmax | 7,60 | |||||||
Заменяющие электрод резисторы для квалификации диммирующего ПРА | |||||||||
Заменяющий резистор каждого электрода для испытания требований диммирования, Ом | Rиспытания 1 | 50,0 | |||||||
Rиспытания 2 | 55,0 | ||||||||
Rиспытания 3 | 45,0 | ||||||||
Примечания | |||||||||
60901-IEC-2009-4 | |||||||||
(A6:2014) | |||||||||
ЛАМПА ЛЮМИНЕСЦЕНТНАЯ ОДНОЦОКОЛЬНАЯ Лист с параметрами Двухканальная | С. 4 | ||||||||
МСОЛ: FSD-9-E-2G7 | |||||||||
Требования зажигания к электродам предварительного подогрева для времени зажигания 0,4 с < ts < 3,0 с | |||||||||
Наименьшая энергия предварительного подогрева электрода: Emin = Qmin + Pmin ts, Дж | Qmin | Дж | 1,0 | ||||||
Pmin | Дж/с | 0,5 | |||||||
Напряжение на каждом электроде для E (t) < Emin, В | Действующее значение, не более | 11 | |||||||
Заменяющий резистор каждого электрода для проверки минимальных требований к предварительному подогреву электродов, Ом | 30 | ||||||||
Наибольшая энергия предварительного подогрева электрода: Emax = Qmax + Pmax ts, Дж | Qmax | Дж | 2,0 | ||||||
Pmax | Дж/с | 1,0 | |||||||
Заменяющий резистор каждого электрода для проверки максимальных требований к предварительному подогреву электродов, Ом | 40 | ||||||||
Напряжение холостого хода на лампе без ВЗУ, В | Напряжение незажигания | t <= ts | Действующее значение, не более | 150 | |||||
Напряжение зажигания | t > ts (+10 °C) | Действующее значение, не менее | 290 | ||||||
t > ts (-15 °C) | |||||||||
Диапазон заменяющего резистора каждого электрода для проверки требований к напряжению холостого хода, Ом | 30,0 - 90,0 | ||||||||
-------------------------------- | |||||||||
60901-IEC-2009-1 | |||||||||
(A6:2014) | |||||||||
ОДНОЦОКОЛЬНАЯ Лист с параметрами Двухканальная | С. 1 | |||||||||||
МСОЛ: FSD-11-E-2G7 | ||||||||||||
Номинальная мощность, Вт | Схема | Электрод | Цоколь | |||||||||
11 | Внешний стартер | Предварительного подогрева | 2G7 | |||||||||
Размеры В миллиметрах | ||||||||||||
A, не более | B, не более | C, не более | ||||||||||
28 | 13 | 215 | ||||||||||
Цоколь: см. лист 7004-102 IEC 60061-1. | ||||||||||||
Характеристики зажигания | ||||||||||||
Частота, Гц | Нормируемое напряжение на ПРА, В | Испытательное напряжение (действующее), В | Время зажигания, с | |||||||||
50 | 220 | 198 | 10 | |||||||||
60 | - | - | - | |||||||||
Электрические параметры | ||||||||||||
Частота, Гц | Нормируемая мощность, Вт | Напряжение на лампе (действующее), В | Нормируемый ток лампы, А | Нормируемый ток предварительного подогрева, А | ||||||||
Нормируемое | Не менее | Не более | ||||||||||
50 | 11,8 | 91 | 81 | 101 | 0,155 | 0,190 | ||||||
60 | - | - | - | - | - | - | ||||||
Испытательное положение: вертикальное, цоколем вверх. | ||||||||||||
Характеристики электрода | ||||||||||||
Испытательный ток, А | Сопротивление каждого электрода, Ом | |||||||||||
Нормируемое | Не менее | Не более | ||||||||||
0,130 | 50 | 37,5 | 62,5 | |||||||||
60901-IEC-2011-2 | ||||||||||||
ЛАМПА ЛЮМИНЕСЦЕНТНАЯ ОДНОЦОКОЛЬНАЯ Лист с параметрами Двухканальная | С. 2 | |||||||
МСОЛ: FSD-11-E-2G7 | ||||||||
Характеристики ДОИ | ||||||||
Частота, Гц | Номинальная мощность, Вт | Нормируемое напряжение, В | Ток калибровки, А | Отношение напряжения к току, Ом | Коэффициент мощности | |||
50 | 9 | 220 | 0,170 | 1180 | 0,12 | |||
60 | - | - | - | - | - | |||
Информация для расчета ПРА | ||||||||
Частота, Гц | 50 | 60 | ||||||
Ток предварительного подогрева, А | Не менее | 0,153 | - | |||||
Не более | 0,240 | - | ||||||
Напряжение холостого хода на лампе, В | Действующее значение, не менее | 198 | - | |||||
Пиковое значение, не более | 400 | - | ||||||
Резистор, заменяющий два последовательно соединенных электрода, Ом | 160 | - | ||||||
Напряжение на стартере при работающей лампе, В | Действующее значение, не более | - | ||||||
Рабочий ток лампы, А | Не более | 0,190 | - | |||||
Информация для расчета стартера | ||||||||
Импульс напряжения, В, не менее | Напряжение неконтактирования, В | Конденсатор для ПРП, пФ | ||||||
Не менее | Не более | |||||||
Информация для расчета светильника | ||||||||
Наибольший контур лампы: см. лист 60901-IEC-A02 с размером H, мм | 215 | |||||||
-------------------------------- | ||||||||
60901-IEC-2011-2 | ||||||||
ЛАМПА ЛЮМИНЕСЦЕНТНАЯ ОДНОЦОКОЛЬНАЯ Лист с параметрами Двухканальная | С. 3 | ||||||||
МСОЛ: FSD-11-E-2G7 | |||||||||
Информация для расчета ВЧ ПРА | |||||||||
Характеристики ВЧ ПРА | |||||||||
Частота, кГц | Номинальная мощность, Вт | Нормируемое напряжение, В | Ток калибровки, А | Отношение напряжения к току, Ом | |||||
20 - 26 | 11 | 150 | 0,150 | 500 | |||||
Типичные параметры лампы | |||||||||
Частота, кГц | Номинальная мощность, Вт | Напряжение на лампе, В | Ток лампы, А | ||||||
>= 20 | 11 | 75 | 0,150 | ||||||
Работа в нормальном режиме и режиме диммирования | |||||||||
Частота, кГц | >= 20 | ||||||||
Ток перехода от работы в нормальном режиме к режиму диммирования ID перехода, А | 0,100 | ||||||||
Рабочий ток лампы ID, А | Не более | 0,190 | |||||||
Ток в любом вводе электродов, А | Не более | 0,210 | |||||||
Квалификация диммирующего ПРА с заменяющими резисторами (примечание 1) | |||||||||
Нагрев электрода рабочим током любой лампы, измеренного с заменяющими резисторами | |||||||||
Наименьшая сумма квадратов токов выводов: SoSmin: для ID30 < ID <= Iперехода (примечание 2) | А2 | X1 | 0,030 | ||||||
А | Y1 | 0,240 | |||||||
Нагрев электрода при конкретных рабочих токах, измеренных на заменяющих резисторах | |||||||||
Рабочий ток | Параметры нагрева | ||||||||
IDmin, А | 0,015 | Наименьшее напряжение на электроде, В | CVDmin | 6,00 | |||||
Резисторы, заменяющие разрядную лампу, Ом | RL10min | 5600 | |||||||
RL10max | 11000 | ||||||||
ID30, А | 0,040 | Наименьшая сумма квадратов токов выводов, А2 | SoS30 | X1 - Y1ID30 | |||||
Резистор, заменяющий разрядную лампу, Ом | RL30 | 1800 | |||||||
ID60, А | 0,080 | Наименьшая сумма квадратов токов выводов, А2 | SoS60 | X1 - Y1ID60 | |||||
Резистор, заменяющий разрядную лампу, Ом | RL60 | 1200 | |||||||
Наибольшее напряжение на электроде, В | CVmax | 7,60 | |||||||
Заменяющие электрод резисторы для квалификации диммирующего ПРА | |||||||||
Заменяющий резистор каждого электрода для испытания требований диммирования, Ом | Rиспытания 1 | 50,0 | |||||||
Rиспытания 2 | 55,0 | ||||||||
Rиспытания 3 | 45,0 | ||||||||
Примечания | |||||||||
60901-IEC-2011-4 | |||||||||
(A6:2014) | |||||||||
ЛАМПА ЛЮМИНЕСЦЕНТНАЯ ОДНОЦОКОЛЬНАЯ Лист с параметрами Двухканальная | С. 4 | ||||||||
МСОЛ: FSD-11-E-2G7 | |||||||||
Требования зажигания к электродам предварительного подогрева для времени зажигания 0,4 с < ts < 3,0 с | |||||||||
Наименьшая энергия предварительного подогрева электрода: Emin = Qmin + Pmin ts, Дж | Qmin | Дж | 1,0 | ||||||
Pmin | Дж/с | 0,5 | |||||||
Напряжение на каждом электроде для E (t) < Emin, В | Действующее значение, не более | 11 | |||||||
Заменяющий резистор каждого электрода для проверки минимальных требований к предварительному подогреву электродов, Ом | 30 | ||||||||
Наибольшая энергия предварительного подогрева электрода: Emax = Qmax + Pmax ts, Дж | Qmax | Дж | 2,0 | ||||||
Pmax | Дж/с | 1,0 | |||||||
Заменяющий резистор каждого электрода для проверки максимальных требований к предварительному подогреву электродов, Ом | 40 | ||||||||
Напряжение холостого хода на лампе без ВЗУ, В | Напряжение незажигания | t <= ts | Действующее значение, не более | 170 | |||||
Напряжение зажигания | t > ts (+10 °C) | Действующее значение, не менее | 330 | ||||||
t > ts (-15 °C) | |||||||||
Диапазон заменяющего резистора каждого электрода для проверки требований к напряжению холостого хода, Ом | 30,0 - 90,0 | ||||||||
-------------------------------- | |||||||||
60901-IEC-2011-1 | |||||||||
(A6:2014) | |||||||||
ОДНОЦОКОЛЬНАЯ Лист с параметрами Двухканальная | С. 1 | |||||||||||
МСОЛ: FSD-27-E-GY10q=4 | ||||||||||||
Номинальная мощность, Вт | Схема | Электрод | Цоколь | |||||||||
27 | Внешний стартер | Предварительного подогрева | GY10q-4 | |||||||||
Размеры В миллиметрах | ||||||||||||
A, не более | B, не более | C, не более | ||||||||||
44 | 21 | 240 | 265 | |||||||||
Цоколь: см. лист 7004-85 IEC 60061-1. | ||||||||||||
Характеристики зажигания | ||||||||||||
Частота, Гц | Нормируемое напряжение на ПРА, В | Испытательное напряжение (действующее), В | Время зажигания, с | |||||||||
50 | 100 | 94 | 10 | |||||||||
60 | 100 | 94 | 10 | |||||||||
Электрические параметры | ||||||||||||
Частота, Гц | Нормируемая мощность, Вт | Напряжение на лампе (действующее), В | Нормируемый ток лампы, А | Нормируемый ток предварительного подогрева, А | ||||||||
Нормируемое | Не менее | Не более | ||||||||||
50 | 27 | 56 | 50 | 62 | 0,610 | 0,850 | ||||||
60 | 27 | 56 | 50 | 62 | 0,610 | 0,850 | ||||||
Испытательное положение: вертикальное, цоколем вверх. | ||||||||||||
60901-IEC-2127-1 | ||||||||||||
ЛАМПА ЛЮМИНЕСЦЕНТНАЯ ОДНОЦОКОЛЬНАЯ Лист с параметрами Двухканальная | С. 2 | |||||||
МСОЛ: FSD-27-E-GY10q=4 | ||||||||
Характеристики ДОИ | ||||||||
Частота, Гц | Номинальная мощность, Вт | Нормируемое напряжение, В | Ток калибровки, А | Отношение напряжения к току, Ом | Коэффициент мощности | |||
50 | 27 | 100 | 0,620 | 118 | 0,075 | |||
60 | 27 | 100 | 0,620 | 118 | 0,075 | |||
Информация для расчета ПРА | ||||||||
Частота, Гц | 50 | 60 | ||||||
Ток предварительного подогрева, А | Не менее | 0,640 | 0,640 | |||||
Не более | 1,100 | 1,100 | ||||||
Напряжение холостого хода на лампе, В | Действующее значение, не менее | 97 | 97 | |||||
Пиковое значение, не более | 400 | 400 | ||||||
Резистор, заменяющий два последовательно соединенных электрода, Ом | 30 | 30 | ||||||
Напряжение на стартере при работающей лампе, В | Действующее значение, не более | 65 | 65 | |||||
Рабочий ток лампы, А | Не более | |||||||
Информация для расчета стартера | ||||||||
Импульс напряжения, В, не менее | Напряжение неконтактирования, В | Конденсатор для ПРП, пФ | ||||||
Не менее | Не более | |||||||
700 | 70 | 5,0 | 10,0 | |||||
Информация для расчета светильника | ||||||||
Наибольший контур лампы: см. лист 60901-IEC-A110 с размером H, мм | 265 | |||||||
-------------------------------- | ||||||||
60901-IEC-2127-1 | ||||||||
ОДНОЦОКОЛЬНАЯ Лист с параметрами Двухканальная | С. 1 | |||||||||||
МСОЛ: FSD-28-E-GY10q=5 | ||||||||||||
Номинальная мощность, Вт | Схема | Электрод | Цоколь | |||||||||
28 | Внешний стартер | Предварительного подогрева | GY10q-5 | |||||||||
Размеры В миллиметрах | ||||||||||||
A, не более | B, не более | C, не более | ||||||||||
44 | 21 | 317 | 340 | |||||||||
Цоколь: см. лист 7004-85 IEC 60061-1. | ||||||||||||
Характеристики зажигания | ||||||||||||
Частота, Гц | Нормируемое напряжение на ПРА, В | Испытательное напряжение (действующее), В | Время зажигания, с | |||||||||
50 | 147 | 137 | 10 | |||||||||
60 | 147 | 137 | 10 | |||||||||
Электрические параметры | ||||||||||||
Частота, Гц | Нормируемая мощность, Вт | Напряжение на лампе (действующее), В | Нормируемый ток лампы, А | Нормируемый ток предварительного подогрева, А | ||||||||
Нормируемое | Не менее | Не более | ||||||||||
50 | 28,4 | 83 | 77 | 89 | 0,425 | 0,610 | ||||||
60 | 28,4 | 83 | 77 | 89 | 0,425 | 0,610 | ||||||
-------------------------------- <*> В стадии рассмотрения. | ||||||||||||
60901-IEC-2128-1 | ||||||||||||
ЛАМПА ЛЮМИНЕСЦЕНТНАЯ ОДНОЦОКОЛЬНАЯ Лист с параметрами Двухканальная | С. 2 | |||||||
МСОЛ: FSD-28-E-GY10q=5 | ||||||||
Характеристики ДОИ | ||||||||
Частота, Гц | Номинальная мощность, Вт | Нормируемое напряжение, В | Ток калибровки, А | Отношение напряжения к току, Ом | Коэффициент мощности | |||
50 | 28 | 147 | 0,435 | 241 | 0,075 | |||
60 | 28 | 147 | 0,435 | 241 | 0,075 | |||
Информация для расчета ПРА | ||||||||
Частота, Гц | 50 | 60 | ||||||
Ток предварительного подогрева, А | Не менее | 0,450 | 0,450 | |||||
Не более | 0,800 | 0,800 | ||||||
Напряжение холостого хода на лампе, В | Действующее значение, не менее | 140 | 140 | |||||
Пиковое значение, не более | 400 | 400 | ||||||
Резистор, заменяющий два последовательно соединенных электрода, Ом | 40 | 40 | ||||||
Напряжение на стартере при работающей лампе, В | Действующее значение, не более | 93 | 93 | |||||
Рабочий ток лампы, А | Не более | |||||||
Информация для расчета стартера | ||||||||
Импульс напряжения, В, не менее | Напряжение неконтактирования, В | Конденсатор для ПРП, пФ | ||||||
Не менее | Не более | |||||||
700 | 96 | 5,0 | 10,0 | |||||
Информация для расчета светильника | ||||||||
Наибольший контур лампы: см. лист 60901-IEC-A110 с размером H, мм | 340 | |||||||
-------------------------------- | ||||||||
60901-IEC-2128-1 | ||||||||
ОДНОЦОКОЛЬНАЯ Лист с параметрами Двухканальная | С. 1 | |||||||||||
МСОЛ: FSD-30-E-GY10q=4 | ||||||||||||
Номинальная мощность, Вт | Схема | Электрод | Цоколь | |||||||||
30 | Внешний стартер | Предварительного подогрева | GY10q-4 | |||||||||
Размеры В миллиметрах | ||||||||||||
A, не более | B, не более | C, не более | ||||||||||
54 | 25 | 270 | 280 | |||||||||
Цоколь: см. лист 7004-85 IEC 60061-1. | ||||||||||||
Характеристики зажигания | ||||||||||||
Частота, Гц | Нормируемое напряжение на ПРА, В | Испытательное напряжение (действующее), В | Время зажигания, с | |||||||||
50 | 100 | 94 | 10 | |||||||||
60 | 100 | 94 | 10 | |||||||||
Электрические параметры | ||||||||||||
Частота, Гц | Нормируемая мощность, Вт | Напряжение на лампе (действующее), В | Нормируемый ток лампы, А | Нормируемый ток предварительного подогрева, А | ||||||||
Нормируемое | Не менее | Не более | ||||||||||
50 | 29 | 55 | 49 | 61 | 0,620 | 0,850 | ||||||
60 | 29 | 55 | 49 | 61 | 0,620 | 0,850 | ||||||
Испытательное положение: вертикальное, цоколем вверх. | ||||||||||||
60901-IEC-2130-1 | ||||||||||||
ЛАМПА ЛЮМИНЕСЦЕНТНАЯ ОДНОЦОКОЛЬНАЯ Лист с параметрами Двухканальная | С. 2 | |||||||
МСОЛ: FSD-30-E-GY10q=4 | ||||||||
Характеристики ДОИ | ||||||||
Частота, Гц | Номинальная мощность, Вт | Нормируемое напряжение, В | Ток калибровки, А | Отношение напряжения к току, Ом | Коэффициент мощности | |||
50 | 30 | 100 | 0,620 | 118 | 0,075 | |||
60 | 30 | 100 | 0,620 | 118 | 0,075 | |||
Информация для расчета ПРА | ||||||||
Частота, Гц | 50 | 60 | ||||||
Ток предварительного подогрева, А | Не менее | 0,640 | 0,640 | |||||
Не более | 1,100 | 1,100 | ||||||
Напряжение холостого хода на лампе, В | Действующее значение, не менее | 97 | 97 | |||||
Пиковое значение, не более | 400 | 400 | ||||||
Резистор, заменяющий два последовательно соединенных электрода, Ом | 30 | 30 | ||||||
Напряжение на стартере при работающей лампе, В | Действующее значение, не более | 65 | 65 | |||||
Рабочий ток лампы, А | Не более | |||||||
Информация для расчета стартера | ||||||||
Импульс напряжения, В, не менее | Напряжение неконтактирования, В | Конденсатор для ПРП, пФ | ||||||
Не менее | Не более | |||||||
700 | 70 | 5,0 | 10,0 | |||||
Информация для расчета светильника | ||||||||
Наибольший контур лампы: см. лист 60901-IEC-A120 с размером H, мм | 280 | |||||||
-------------------------------- | ||||||||
60901-IEC-2130-1 | ||||||||
ОДНОЦОКОЛЬНАЯ Лист с параметрами Двухканальная | С. 1 | |||||||||||
МСОЛ: FSD-36-E-GY10q=6 | ||||||||||||
Номинальная мощность, Вт | Схема | Электрод | Цоколь | |||||||||
36 | Внешний стартер | Предварительного подогрева | GY10q-6 | |||||||||
Размеры В миллиметрах | ||||||||||||
A, не более | B, не более | C, не более | ||||||||||
44 | 21 | 405 | 430 | |||||||||
Цоколь: см. лист 7004-85 IEC 60061-1. | ||||||||||||
Характеристики зажигания | ||||||||||||
Частота, Гц | Нормируемое напряжение на ПРА, В | Испытательное напряжение (действующее), В | Время зажигания, с | |||||||||
50 | 200 | 180 | 10 | |||||||||
60 | 200 | 180 | 10 | |||||||||
Электрические параметры | ||||||||||||
Частота, Гц | Нормируемая мощность, Вт | Напряжение на лампе (действующее), В | Нормируемый ток лампы, А | Нормируемый ток предварительного подогрева, А | ||||||||
Нормируемое | Не менее | Не более | ||||||||||
50 | 36 | 105 | 97 | 113 | 0,435 | 0,630 | ||||||
60 | 36 | 105 | 97 | 113 | 0,435 | 0,630 | ||||||
Испытательное положение: вертикальное, цоколем вверх. | ||||||||||||
60901-IEC-2136-1 | ||||||||||||
ЛАМПА ЛЮМИНЕСЦЕНТНАЯ ОДНОЦОКОЛЬНАЯ Лист с параметрами Двухканальная | С. 2 | |||||||
МСОЛ: FSD-36-E-GY10q=6 | ||||||||
Характеристики ДОИ | ||||||||
Частота, Гц | Номинальная мощность, Вт | Нормируемое напряжение, В | Ток калибровки, А | Отношение напряжения к току, Ом | Коэффициент мощности | |||
50 | 36 | 200 | 0,435 | 341 | 0,075 | |||
60 | 36 | 200 | 0,435 | 341 | 0,075 | |||
Информация для расчета ПРА | ||||||||
Частота, Гц | 50 | 60 | ||||||
Ток предварительного подогрева, А | Не менее | 0,460 | 0,460 | |||||
Не более | 0,830 | 0,830 | ||||||
Напряжение холостого хода на лампе, В | Действующее значение, не менее | 185 | 185 | |||||
Пиковое значение, не более | 400 | 400 | ||||||
Резистор, заменяющий два последовательно соединенных электрода, Ом | 40 | 40 | ||||||
Напряжение на стартере при работающей лампе, В | Действующее значение, не более | 119 | 119 | |||||
Рабочий ток лампы, А | Не более | |||||||
Информация для расчета стартера | ||||||||
Импульс напряжения, В, не менее | Напряжение неконтактирования, В | Конденсатор для ПРП, пФ | ||||||
Не менее | Не более | |||||||
800 | 134 | 5,0 | 10,0 | |||||
Информация для расчета светильника | ||||||||
Наибольший контур лампы: см. лист 60901-IEC-A110 с размером H, мм | 430 | |||||||
-------------------------------- | ||||||||
60901-IEC-2136-1 | ||||||||
ОДНОЦОКОЛЬНАЯ Лист с параметрами Двухканальная | С. 1 | |||||||||||
МСОЛ: FSD-18-E-2G1 | ||||||||||||
Номинальная мощность, Вт | Схема | Электрод | Цоколь | |||||||||
18 | Внешний стартер | Предварительного подогрева | 2G11 | |||||||||
Размеры В миллиметрах | ||||||||||||
A, не более | B, не более | C, не более | ||||||||||
40 | 20 | 225 | ||||||||||
Цоколь: см. лист 7004-82 IEC 60061-1. | ||||||||||||
Характеристики зажигания | ||||||||||||
Частота, Гц | Нормируемое напряжение на ПРА, В | Испытательное напряжение (действующее), В | Время зажигания, с | |||||||||
50 | 110 | 103,5 | 10 | |||||||||
60 | 10 | |||||||||||
Электрические параметры | ||||||||||||
Частота, Гц | Нормируемая мощность, Вт | Напряжение на лампе (действующее), В | Нормируемый ток лампы, А | Нормируемый ток предварительного подогрева, А | ||||||||
Нормируемое | Не менее | Не более | ||||||||||
50 | 18 | 58 | 52 | 64 | 0,375 | 0,540 | ||||||
60 | ||||||||||||
Испытательное положение: горизонтальное с плоскостью, проходящей через каналы горизонтально. Примечание - Для сокращения времени испытания можно использовать другие положения по согласованию между изготовителем и испытательным органом. В спорном случае горизонтальное положение должно быть базовым. | ||||||||||||
Характеристики электрода | ||||||||||||
Испытательный ток, А | Сопротивление каждого электрода, Ом | |||||||||||
Нормируемое | Не менее | Не более | ||||||||||
0,130 | 50 | 37,5 | 62,5 | |||||||||
-------------------------------- | ||||||||||||
60901-IEC-2218-2 | ||||||||||||
ЛАМПА ЛЮМИНЕСЦЕНТНАЯ ОДНОЦОКОЛЬНАЯ Лист с параметрами Двухканальная | С. 2 | ||||||
МСОЛ: FSD-18-E-2G11 | |||||||
Характеристики ДОИ | |||||||
Частота, Гц | Номинальная мощность, Вт | Нормируемое напряжение, В | Ток калибровки, А | Отношение напряжения к току, Ом | Коэффициент мощности | ||
50 | 20 | 127 | 0,370 | 270 | 0,12 | ||
60 | 18 | 118 | 0,380 | 240 | 0,075 | ||
Информация для расчета ПРА | |||||||
Частота, Гц | 50 | 60 | |||||
Ток предварительного подогрева, А | Не менее | 0,315 | |||||
Не более | 0,670 | ||||||
Напряжение холостого хода на лампе, В | Действующее значение, не менее | 103,5 | |||||
Пиковое значение, не более | 400 | ||||||
Резистор, заменяющий два последовательно соединенных электрода, Ом | 50 | ||||||
Напряжение на стартере при работающей лампе, В | Действующее значение, не более | 68 | |||||
Рабочий ток лампы, А | Не более | 0,425 | |||||
Информация для расчета стартера | |||||||
Импульс напряжения, В, не менее | Напряжение неконтактирования, В | Конденсатор для ПРП, пФ | |||||
Не менее | Не более | ||||||
800 | 70 | ||||||
Информация для расчета светильника | |||||||
Наибольший контур лампы: см. лист 60901-IEC-A210 с размером H, мм | 225 | ||||||
Опора для конца лампы: расстояние от базовой плоскости цоколя, мм | Не менее | 140 | |||||
Не более | 175 | ||||||
Зазор между каналами лампы, мм | Не менее | 1,8 | |||||
-------------------------------- | |||||||
60901-IEC-2218-1 | |||||||
ЛАМПА ЛЮМИНЕСЦЕНТНАЯ ОДНОЦОКОЛЬНАЯ Лист с параметрами Двухканальная | С. 3 | ||||||||
МСОЛ: FSD-18-E-2G11 | |||||||||
Информация для расчета ВЧ ПРА | |||||||||
Характеристики ВЧ ПРА | |||||||||
Частота, кГц | Номинальная мощность, Вт | Нормируемое напряжение, В | Ток калибровки, А | Отношение напряжения к току, Ом | |||||
20 - 26 | 18 | 100 | 0,320 | 155 | |||||
Типичные параметры лампы | |||||||||
Частота, кГц | Номинальная мощность, Вт | Напряжение на лампе, В | Ток лампы, А | ||||||
>= 20 | 16 | 50 | 0,320 | ||||||
Работа в нормальном режиме и режиме диммирования | |||||||||
Частота, кГц | >= 20 | ||||||||
Ток перехода от работы в нормальном режиме к режиму диммирования ID перехода, А | 0,270 | ||||||||
Рабочий ток лампы ID, А | Не более | 0,430 | |||||||
Ток в любом вводе электродов, А | Не более | 0,475 | |||||||
Квалификация диммирующего ПРА с заменяющими резисторами (примечание 1) | |||||||||
Нагрев электрода рабочим током любой лампы, измеренного с заменяющими резисторами | |||||||||
Наименьшая сумма квадратов токов выводов: SoSmin: для ID30 < ID <= Iперехода (примечание 2) | А2 | X1 | 0,210 | ||||||
А | Y1 | 0,630 | |||||||
Нагрев электрода при конкретных рабочих токах, измеренных на заменяющих резисторах | |||||||||
Рабочий ток | Параметры нагрева | ||||||||
IDmin, А | 0,035 | Наименьшее напряжение на электроде, В | CVDmin | 3,60 | |||||
Резисторы, заменяющие разрядную лампу, Ом | RL10min | 1800 | |||||||
RL10max | 3300 | ||||||||
ID30, А | 0,100 | Наименьшая сумма квадратов токов выводов, А2 | SoS30 | X1 - Y1ID30 | |||||
Резистор, заменяющий разрядную лампу, Ом | RL30 | 620 | |||||||
ID60, А | 0,200 | Наименьшая сумма квадратов токов выводов, А2 | SoS60 | X1 - Y1ID60 | |||||
Резистор, заменяющий разрядную лампу, Ом | RL60 | 270 | |||||||
Наибольшее напряжение на электроде, В | CVmax | 4,70 | |||||||
Заменяющие электрод резисторы для квалификации диммирующего ПРА | |||||||||
Заменяющий резистор каждого электрода для испытания требований диммирования, Ом | Rиспытания 1 | 12,0 | |||||||
Rиспытания 2 | 13,0 | ||||||||
Rиспытания 3 | 11,0 | ||||||||
Примечания | |||||||||
60901-IEC-2218-4 | |||||||||
(A6:2014) | |||||||||
ЛАМПА ЛЮМИНЕСЦЕНТНАЯ ОДНОЦОКОЛЬНАЯ Лист с параметрами Двухканальная | С. 4 | ||||||||
МСОЛ: FSD-18-E-2G11 | |||||||||
Требования зажигания к электродам предварительного подогрева для времени зажигания 0,4 с < ts < 3,0 с | |||||||||
Наименьшая энергия предварительного подогрева электрода: Emin = Qmin + Pmin ts, Дж | Qmin | Дж | 1,5 | ||||||
Pmin | Дж/с | 0,9 | |||||||
Напряжение на каждом электроде для E (t) < Emin, В | Действующее значение, не более | 11 | |||||||
Заменяющий резистор каждого электрода для проверки минимальных требований к предварительному подогреву электродов, Ом | 8 | ||||||||
Наибольшая энергия предварительного подогрева электрода: Emax = Qmax + Pmax ts, Дж | Qmax | Дж | 3,0 | ||||||
Pmax | Дж/с | 1,8 | |||||||
Заменяющий резистор каждого электрода для проверки максимальных требований к предварительному подогреву электродов, Ом | 11 | ||||||||
Напряжение холостого хода на лампе без ВЗУ, В | Напряжение незажигания | t <= ts | Действующее значение, не более | 150 | |||||
Напряжение зажигания | t > ts (+10 °C) | Действующее значение, не менее | 300 | ||||||
t > ts (-15 °C) | 350 | ||||||||
Диапазон заменяющего резистора каждого электрода для проверки требований к напряжению холостого хода, Ом | 8,0 - 24,0 | ||||||||
60901-IEC-2218-1 | |||||||||
(A6:2014) | |||||||||
ОДНОЦОКОЛЬНАЯ Лист с параметрами Двухканальная | С. 1 | |||||||||||
МСОЛ: FSD-24-E-2G11 | ||||||||||||
Номинальная мощность, Вт | Схема | Электрод | Цоколь | |||||||||
24 | Внешний стартер | Предварительного подогрева | 2G11 | |||||||||
Размеры В миллиметрах | ||||||||||||
A, не более | B, не более | C, не более | ||||||||||
40 | 20 | 320 | ||||||||||
Цоколь: см. лист 7004-82 IEC 60061-1. | ||||||||||||
Характеристики зажигания | ||||||||||||
Частота, Гц | Нормируемое напряжение на ПРА, В | Испытательное напряжение (действующее), В | Время зажигания, с | |||||||||
50 | 220 | 198 | 10 | |||||||||
60 | 10 | |||||||||||
Электрические параметры | ||||||||||||
Частота, Гц | Нормируемая мощность, Вт | Напряжение на лампе (действующее), В | Нормируемый ток лампы, А | Нормируемый ток предварительного подогрева, А | ||||||||
Нормируемое | Не менее | Не более | ||||||||||
50 | 24 | 87 | 77 | 97 | 0,345 | 0,510 | ||||||
60 | ||||||||||||
Испытательное положение: горизонтальное с плоскостью, проходящей через каналы горизонтально. Примечание - Для сокращения времени испытания можно использовать другие положения по согласованию между изготовителем и испытательным органом. В спорном случае горизонтальное положение должно быть базовым. | ||||||||||||
Характеристики электрода | ||||||||||||
Испытательный ток, А | Сопротивление каждого электрода, Ом | |||||||||||
Нормируемое | Не менее | Не более | ||||||||||
0,340 | 12 | 9 | 15 | |||||||||
-------------------------------- | ||||||||||||
60901-IEC-2224-2 | ||||||||||||
ЛАМПА ЛЮМИНЕСЦЕНТНАЯ ОДНОЦОКОЛЬНАЯ Лист с параметрами Двухканальная | С. 2 | ||||||
МСОЛ: FSD-24-E-2G11 | |||||||
Характеристики ДОИ | |||||||
Частота, Гц | Номинальная мощность, Вт | Нормируемое напряжение, В | Ток калибровки, А | Отношение напряжения к току, Ом | Коэффициент мощности | ||
50 | 24 | 220 | 0,340 | 540 | 0,12 | ||
60 | 24 | 236 | 0,340 | 605 | 0,075 | ||
Информация для расчета ПРА | |||||||
Частота, Гц | 50 | 60 | |||||
Ток предварительного подогрева, А | Не менее | 0,315 | |||||
Не более | 0,670 | ||||||
Напряжение холостого хода на лампе, В | Действующее значение, не менее | 198 | |||||
Пиковое значение, не более | 400 | ||||||
Резистор, заменяющий два последовательно соединенных электрода, Ом | 50 | ||||||
Напряжение на стартере при работающей лампе, В | Действующее значение, не более | 128 | |||||
Рабочий ток лампы, А | Не более | 0,425 | |||||
Информация для расчета стартера | |||||||
Импульс напряжения, В, не менее | Напряжение неконтактирования, В | Конденсатор для ПРП, пФ | |||||
Не менее | Не более | ||||||
800 | 140 | ||||||
Информация для расчета светильника | |||||||
Наибольший контур лампы: см. лист 60901-IEC-A210 с размером H, мм | 320 | ||||||
Опора для конца лампы: расстояние от базовой плоскости цоколя, мм | Не менее | 140 | |||||
Не более | 270 | ||||||
Зазор между каналами лампы, мм | Не менее | 1,8 | |||||
-------------------------------- | |||||||
60901-IEC-2224-1 | |||||||
ЛАМПА ЛЮМИНЕСЦЕНТНАЯ ОДНОЦОКОЛЬНАЯ Лист с параметрами Двухканальная | С. 3 | ||||||||
МСОЛ: FSD-24-E-2G11 | |||||||||
Информация для расчета ВЧ ПРА | |||||||||
Характеристики ВЧ ПРА | |||||||||
Частота, кГц | Номинальная мощность, Вт | Нормируемое напряжение, В | Ток калибровки, А | Отношение напряжения к току, Ом | |||||
20 - 26 | 24 | 150 | 0,300 | 250 | |||||
Типичные параметры лампы | |||||||||
Частота, кГц | Номинальная мощность, Вт | Напряжение на лампе, В | Ток лампы, А | ||||||
>= 20 | 22 | 75 | 0,300 | ||||||
Работа в нормальном режиме и режиме диммирования | |||||||||
Частота, кГц | >= 20 | ||||||||
Ток перехода от работы в нормальном режиме к режиму диммирования ID перехода, А | 0,270 | ||||||||
Рабочий ток лампы ID, А | Не более | 0,430 | |||||||
Ток в любом вводе электродов, А | Не более | 0,475 | |||||||
Квалификация диммирующего ПРА с заменяющими резисторами (примечание 1) | |||||||||
Нагрев электрода рабочим током любой лампы, измеренного с заменяющими резисторами | |||||||||
Наименьшая сумма квадратов токов выводов: SoSmin: для ID30 < ID <= Iперехода (примечание 2) | А2 | X1 | 0,210 | ||||||
А | Y1 | 0,630 | |||||||
Нагрев электрода при конкретных рабочих токах, измеренных на заменяющих резисторах | |||||||||
Рабочий ток | Параметры нагрева | ||||||||
IDmin, А | 0,035 | Наименьшее напряжение на электроде, В | CVDmin | 3,60 | |||||
Резисторы, заменяющие разрядную лампу, Ом | RL10min | 2200 | |||||||
RL10max | 4300 | ||||||||
ID30, А | 0,100 | Наименьшая сумма квадратов токов выводов, А2 | SoS30 | X1 - Y1ID30 | |||||
Резистор, заменяющий разрядную лампу, Ом | RL30 | 1000 | |||||||
ID60, А | 0,200 | Наименьшая сумма квадратов токов выводов, А2 | SoS60 | X1 - Y1ID60 | |||||
Резистор, заменяющий разрядную лампу, Ом | RL60 | 430 | |||||||
Наибольшее напряжение на электроде, В | CVmax | 4,70 | |||||||
Заменяющие электрод резисторы для квалификации диммирующего ПРА | |||||||||
Заменяющий резистор каждого электрода для испытания требований диммирования, Ом | Rиспытания 1 | 12,0 | |||||||
Rиспытания 2 | 13,0 | ||||||||
Rиспытания 3 | 11,0 | ||||||||
Примечания | |||||||||
60901-IEC-2224-4 | |||||||||
(A6:2014) | |||||||||
ЛАМПА ЛЮМИНЕСЦЕНТНАЯ ОДНОЦОКОЛЬНАЯ Лист с параметрами Двухканальная | С. 4 | ||||||||
МСОЛ: FSD-24-E-2G11 | |||||||||
Требования зажигания к электродам предварительного подогрева для времени зажигания 0,4 с < ts < 3,0 с | |||||||||
Наименьшая энергия предварительного подогрева электрода: Emin = Qmin + Pmin ts, Дж | Qmin | Дж | 1,5 | ||||||
Pmin | Дж/с | 0,9 | |||||||
Напряжение на каждом электроде для E (t) < Emin, В | Действующее значение, не более | 11 | |||||||
Заменяющий резистор каждого электрода для проверки минимальных требований к предварительному подогреву электродов, Ом | 8 | ||||||||
Наибольшая энергия предварительного подогрева электрода: Emax = Qmax + Pmax ts, Дж | Qmax | Дж | 3,0 | ||||||
Pmax | Дж/с | 1,8 | |||||||
Заменяющий резистор каждого электрода для проверки максимальных требований к предварительному подогреву электродов, Ом | 11 | ||||||||
Напряжение холостого хода на лампе без ВЗУ, В | Напряжение незажигания | t <= ts | Действующее значение, не более | 170 | |||||
Напряжение зажигания | t > ts (+10 °C) | Действующее значение, не менее | 320 | ||||||
t > ts (-15 °C) | 380 | ||||||||
Диапазон заменяющего резистора каждого электрода для проверки требований к напряжению холостого хода, Ом | 8,0 - 24,0 | ||||||||
60901-IEC-2224-1 | |||||||||
(A6:2014) | |||||||||
ОДНОЦОКОЛЬНАЯ Лист с параметрами Двухканальная | С. 1 | |||||||||||
МСОЛ: FSD-36-E-2G11 | ||||||||||||
Номинальная мощность, Вт | Схема | Электрод | Цоколь | |||||||||
36 | Внешний стартер | Предварительного подогрева | 2G11 | |||||||||
Размеры В миллиметрах | ||||||||||||
A, не более | B, не более | C, не более | ||||||||||
40 | 20 | 415 | ||||||||||
Цоколь: см. лист 7004-82 IEC 60061-1. | ||||||||||||
Характеристики зажигания | ||||||||||||
Частота, Гц | Нормируемое напряжение на ПРА, В | Испытательное напряжение (действующее), В | Время зажигания, с | |||||||||
50 | 220 | 198 | 10 | |||||||||
60 | 10 | |||||||||||
Электрические параметры | ||||||||||||
Частота, Гц | Нормируемая мощность, Вт | Напряжение на лампе (действующее), В | Нормируемый ток лампы, А | Нормируемый ток предварительного подогрева, А | ||||||||
Нормируемое | Не менее | Не более | ||||||||||
50 | 36 | 106 | 96 | 116 | 0,435 | 0,650 | ||||||
60 | ||||||||||||
Испытательное положение: горизонтальное с плоскостью, проходящей через каналы горизонтально. Примечание - Для сокращения времени испытания можно использовать другие положения по согласованию между изготовителем и испытательным органом. В спорном случае горизонтальное положение должно быть базовым. | ||||||||||||
Характеристики электрода | ||||||||||||
Испытательный ток, А | Сопротивление каждого электрода, Ом | |||||||||||
Нормируемое | Не менее | Не более | ||||||||||
0,385 | 11 | 8,2 | 13,8 | |||||||||
-------------------------------- | ||||||||||||
60901-IEC-2236-2 | ||||||||||||
ЛАМПА ЛЮМИНЕСЦЕНТНАЯ ОДНОЦОКОЛЬНАЯ Лист с параметрами Двухканальная | С. 2 | ||||||
МСОЛ: FSD-36-E-2G11 | |||||||
Характеристики ДОИ | |||||||
Частота, Гц | Номинальная мощность, Вт | Нормируемое напряжение, В | Ток калибровки, А | Отношение напряжения к току, Ом | Коэффициент мощности | ||
50 | 40 | 220 | 0,430 | 390 | 0,10 | ||
60 | 36 | 236 | 0,430 | 439 | 0,075 | ||
Информация для расчета ПРА | |||||||
Частота, Гц | 50 | 60 | |||||
Ток предварительного подогрева, А | Не менее | 0,365 | |||||
Не более | 0,775 | ||||||
Напряжение холостого хода на лампе, В | Действующее значение, не менее | 198 | |||||
Пиковое значение, не более | 400 | ||||||
Резистор, заменяющий два последовательно соединенных электрода, Ом | 40 | ||||||
Напряжение на стартере при работающей лампе, В | Действующее значение, не более | 128 | |||||
Рабочий ток лампы, А | Не более | 0,500 | |||||
Информация для расчета стартера | |||||||
Импульс напряжения, В, не менее | Напряжение неконтактирования, В | Конденсатор для ПРП, пФ | |||||
Не менее | Не более | ||||||
800 | 140 | ||||||
Информация для расчета светильника | |||||||
Наибольший контур лампы: см. лист 60901-IEC-A210 с размером H, мм | 415 | ||||||
Опора для конца лампы: расстояние от базовой плоскости цоколя, мм | Не менее | 330 | |||||
Не более | 365 | ||||||
Зазор между каналами лампы, мм | Не менее | 1,8 | |||||
-------------------------------- | |||||||
60901-IEC-2236-1 | |||||||
ЛАМПА ЛЮМИНЕСЦЕНТНАЯ ОДНОЦОКОЛЬНАЯ Лист с параметрами Двухканальная | С. 3 | ||||||||
МСОЛ: FSD-36-E-2G11 | |||||||||
Информация для расчета ВЧ ПРА | |||||||||
Характеристики ВЧ ПРА | |||||||||
Частота, кГц | Номинальная мощность, Вт | Нормируемое напряжение, В | Ток калибровки, А | Отношение напряжения к току, Ом | |||||
20 - 26 | 36 | 180 | 0,360 | 250 | |||||
Типичные параметры лампы | |||||||||
Частота, кГц | Номинальная мощность, Вт | Напряжение на лампе, В | Ток лампы, А | ||||||
>= 20 | 32 | 90 | 0,360 | ||||||
Работа в нормальном режиме и режиме диммирования | |||||||||
Частота, кГц | >= 20 | ||||||||
Ток перехода от работы в нормальном режиме к режиму диммирования ID перехода, А | 0,310 | ||||||||
Рабочий ток лампы ID, А | Не более | 0,500 | |||||||
Ток в любом вводе электродов, А | Не более | 0,540 | |||||||
Квалификация диммирующего ПРА с заменяющими резисторами (примечание 1) | |||||||||
Нагрев электрода рабочим током любой лампы, измеренного с заменяющими резисторами | |||||||||
Наименьшая сумма квадратов токов выводов: SoSmin: для ID30 < ID <= Iперехода (примечание 2) | А2 | X1 | 0,270 | ||||||
А | Y1 | 0,710 | |||||||
Нагрев электрода при конкретных рабочих токах, измеренных на заменяющих резисторах | |||||||||
Рабочий ток | Параметры нагрева | ||||||||
IDmin, А | 0,035 | Наименьшее напряжение на электроде, В | CVDmin | 3,55 | |||||
Резисторы, заменяющие разрядную лампу, Ом | RL10min | 2700 | |||||||
RL10max | 5100 | ||||||||
ID30, А | 0,115 | Наименьшая сумма квадратов токов выводов, А2 | SoS30 | X1 - Y1ID30 | |||||
Резистор, заменяющий разрядную лампу, Ом | RL30 | 1100 | |||||||
ID60, А | 0,230 | Наименьшая сумма квадратов токов выводов, А2 | SoS60 | X1 - Y1ID60 | |||||
Резистор, заменяющий разрядную лампу, Ом | RL60 | 470 | |||||||
Наибольшее напряжение на электроде, В | CVmax | 4,60 | |||||||
Заменяющие электрод резисторы для квалификации диммирующего ПРА | |||||||||
Заменяющий резистор каждого электрода для испытания требований диммирования, Ом | Rиспытания 1 | 11,0 | |||||||
Rиспытания 2 | 12,0 | ||||||||
Rиспытания 3 | 10,0 | ||||||||
Примечания | |||||||||
60901-IEC-2236-4 | |||||||||
(A6:2014) | |||||||||
ЛАМПА ЛЮМИНЕСЦЕНТНАЯ ОДНОЦОКОЛЬНАЯ Лист с параметрами Двухканальная | С. 4 | ||||||||
МСОЛ: FSD-36-E-2G11 | |||||||||
Требования зажигания к электродам предварительного подогрева для времени зажигания 0,4 с < ts < 3,0 с | |||||||||
Наименьшая энергия предварительного подогрева электрода: Emin = Qmin + Pmin ts, Дж | Qmin | Дж | 1,6 | ||||||
Pmin | Дж/с | 1,0 | |||||||
Напряжение на каждом электроде для E (t) < Emin, В | Действующее значение, не более | 11 | |||||||
Заменяющий резистор каждого электрода для проверки минимальных требований к предварительному подогреву электродов, Ом | 7 | ||||||||
Наибольшая энергия предварительного подогрева электрода: Emax = Qmax + Pmax ts, Дж | Qmax | Дж | 3,2 | ||||||
Pmax | Дж/с | 2,0 | |||||||
Заменяющий резистор каждого электрода для проверки максимальных требований к предварительному подогреву электродов, Ом | 9,0 | ||||||||
Напряжение холостого хода на лампе без ВЗУ, В | Напряжение незажигания | t <= ts | Действующее значение, не более | 190 | |||||
Напряжение зажигания | t > ts (+10 °C) | Действующее значение, не менее | 340 | ||||||
t > ts (-15 °C) | 420 | ||||||||
Диапазон заменяющего резистора каждого электрода для проверки требований к напряжению холостого хода, Ом | 7,0 - 21,0 | ||||||||
60901-IEC-2236-1 | |||||||||
(A6:2014) | |||||||||
ОДНОЦОКОЛЬНАЯ Лист с параметрами Четырехканальная | С. 1 | |||||||||||
МСОЛ: FSQ-10-E-G24q=1 | ||||||||||||
Номинальная мощность, Вт | Схема | Электрод | Цоколь | |||||||||
10 | Внешний стартер | Предварительного подогрева | G24q-1 | |||||||||
Размеры В миллиметрах | ||||||||||||
A, не более | B, не более | C, не более | ||||||||||
28 | 28 | 95 | ||||||||||
Цоколь: см. лист 7004-78 IEC 60061-1. | ||||||||||||
Характеристики зажигания | ||||||||||||
Частота, Гц | Нормируемое напряжение на ПРА, В | Испытательное напряжение (действующее), В | Время зажигания, с | |||||||||
50 | 220 | 198 | 10 | |||||||||
60 | 220 | 198 | 10 | |||||||||
Электрические параметры | ||||||||||||
Частота, Гц | Нормируемая мощность, Вт | Напряжение на лампе (действующее), В | Нормируемый ток лампы, А | Нормируемый ток предварительного подогрева, А | ||||||||
Нормируемое | Не менее | Не более | ||||||||||
50 | 10 | 64 | 58 | 70 | 0,190 | 0,210 | ||||||
60 | 10 | 64 | 58 | 70 | 0,190 | 0,210 | ||||||
Испытательное положение: вертикальное, цоколем вверх. | ||||||||||||
Характеристики электрода | ||||||||||||
Испытательный ток, А | Сопротивление каждого электрода, Ом | |||||||||||
Нормируемое | Не менее | Не более | ||||||||||
0,140 | 50 | 37,5 | 62,5 | |||||||||
60901-IEC-2510-2 | ||||||||||||
ЛАМПА ЛЮМИНЕСЦЕНТНАЯ ОДНОЦОКОЛЬНАЯ Лист с параметрами Четырехканальная | С. 2 | |||||||
МСОЛ: FSQ-10-E-G24q=1 | ||||||||
Характеристики ДОИ | ||||||||
Частота, Гц | Номинальная мощность, Вт | Нормируемое напряжение, В | Ток калибровки, А | Отношение напряжения к току, Ом | Коэффициент мощности | |||
50 | 10 | 220 | 0,190 | 1070 | 0,12 | |||
60 | 10 | 220 | 0,190 | 1080 | 0,075 | |||
Информация для расчета ПРА | ||||||||
Частота, Гц | 50 | 60 | ||||||
Ток предварительного подогрева, А | Не менее | 0,153 | 0,153 | |||||
Не более | 0,275 | 0,275 | ||||||
Напряжение холостого хода на лампе, В | Действующее значение, не менее | 198 | 198 | |||||
Пиковое значение, не более | 400 | 440 | ||||||
Резистор, заменяющий два последовательно соединенных электрода, Ом | 100 | 100 | ||||||
Напряжение на стартере при работающей лампе, В | Действующее значение, не более | |||||||
Рабочий ток лампы, А | Не более | 0,210 | 0,210 | |||||
Информация для расчета стартера | ||||||||
Импульс напряжения, В, не менее | Напряжение неконтактирования, В | Конденсатор для ПРП, пФ | ||||||
Не менее | Не более | |||||||
Информация для расчета светильника | ||||||||
Наибольший контур лампы: см. лист 60901-IEC-A510 с размером H, мм | 95 | |||||||
-------------------------------- | ||||||||
60901-IEC-2510-2 | ||||||||
ЛАМПА ЛЮМИНЕСЦЕНТНАЯ ОДНОЦОКОЛЬНАЯ Лист с параметрами Четырехканальная | С. 3 | ||||||||
МСОЛ: FSD-10-E-24q=1 | |||||||||
Информация для расчета ВЧ ПРА | |||||||||
Характеристики ВЧ ПРА | |||||||||
Частота, кГц | Номинальная мощность, Вт | Нормируемое напряжение, В | Ток калибровки, А | Отношение напряжения к току, Ом | |||||
20 - 26 | 10 | 100 | 0,190 | 270 | |||||
Типичные параметры лампы | |||||||||
Частота, кГц | Номинальная мощность, Вт | Напряжение на лампе, В | Ток лампы, А | ||||||
>= 20 | 9,5 | 51 | 0,190 | ||||||
Работа в нормальном режиме и режиме диммирования | |||||||||
Частота, кГц | >= 20 | ||||||||
Ток перехода от работы в нормальном режиме к режиму диммирования ID перехода, А | 0,115 | ||||||||
Рабочий ток лампы ID, А | Не более | 0,190 | |||||||
Ток в любом вводе электродов, А | Не более | 0,210 | |||||||
Квалификация диммирующего ПРА с заменяющими резисторами (примечание 1) | |||||||||
Нагрев электрода рабочим током любой лампы, измеренного с заменяющими резисторами | |||||||||
Наименьшая сумма квадратов токов выводов: SoSmin: для ID30 < ID <= Iперехода (примечание 2) | А2 | X1 | 0,035 | ||||||
А | Y1 | 0,260 | |||||||
Нагрев электрода при конкретных рабочих токах, измеренных на заменяющих резисторах | |||||||||
Рабочий ток | Параметры нагрева | ||||||||
IDmin, А | 0,035 | Наименьшее напряжение на электроде, В | CVDmin | 5,90 | |||||
Резисторы, заменяющие разрядную лампу, Ом | RL10min | 4300 | |||||||
RL10max | 7500 | ||||||||
ID30, А | 0,100 | Наименьшая сумма квадратов токов выводов, А2 | SoS30 | X1 - Y1ID30 | |||||
Резистор, заменяющий разрядную лампу, Ом | RL30 | 1800 | |||||||
ID60, А | 0,200 | Наименьшая сумма квадратов токов выводов, А2 | SoS60 | X1 - Y1ID60 | |||||
Резистор, заменяющий разрядную лампу, Ом | RL60 | 750 | |||||||
Наибольшее напряжение на электроде, В | CVmax | 8,20 | |||||||
Заменяющие электрод резисторы для квалификации диммирующего ПРА | |||||||||
Заменяющий резистор каждого электрода для испытания требований диммирования, Ом | Rиспытания 1 | 50,0 | |||||||
Rиспытания 2 | 55,0 | ||||||||
Rиспытания 3 | 45,0 | ||||||||
Примечания | |||||||||
60901-IEC-2510-4 | |||||||||
(A6:2014) | |||||||||
ЛАМПА ЛЮМИНЕСЦЕНТНАЯ ОДНОЦОКОЛЬНАЯ Лист с параметрами Четырехканальная | С. 4 | ||||||||
МСОЛ: FSD-10-E-24q=1 | |||||||||
Требования зажигания к электродам предварительного подогрева для времени зажигания 0,4 с < ts < 3,0 с | |||||||||
Наименьшая энергия предварительного подогрева электрода: Emin = Qmin + Pmin ts, Дж | Qmin | Дж | 1,0 | ||||||
Pmin | Дж/с | 1,6 | |||||||
Напряжение на каждом электроде для E (t) < Emin, В | Действующее значение, не более | 11 | |||||||
Заменяющий резистор каждого электрода для проверки минимальных требований к предварительному подогреву электродов, Ом | 30 | ||||||||
Наибольшая энергия предварительного подогрева электрода: Emax = Qmax + Pmax ts, Дж | Qmax | Дж | 2,0 | ||||||
Pmax | Дж/с | 1,2 | |||||||
Заменяющий резистор каждого электрода для проверки максимальных требований к предварительному подогреву электродов, Ом | 40 | ||||||||
Напряжение холостого хода на лампе без ВЗУ, В | Напряжение незажигания | t <= ts | Действующее значение, не более | 180 | |||||
Напряжение зажигания | t > ts (+10 °C) | Действующее значение, не менее | 340 | ||||||
t > ts (-15 °C) | |||||||||
Диапазон заменяющего резистора каждого электрода для проверки требований к напряжению холостого хода, Ом | 30,0 - 90,0 | ||||||||
-------------------------------- | |||||||||
60901-IEC-2510-1 | |||||||||
(A6:2014) | |||||||||
ОДНОЦОКОЛЬНАЯ Лист с параметрами Четырехканальная | С. 1 | |||||||||||
МСОЛ: FSQ-13-E-G24q=1 | ||||||||||||
Номинальная мощность, Вт | Схема | Электрод | Цоколь | |||||||||
13 | Внешний стартер | Предварительного подогрева | G24q-1 | |||||||||
Размеры В миллиметрах | ||||||||||||
A, не более | B, не более | C, не более | ||||||||||
28 | 28 | 130 | ||||||||||
Цоколь: см. лист 7004-78 IEC 60061-1. | ||||||||||||
Характеристики зажигания | ||||||||||||
Частота, Гц | Нормируемое напряжение на ПРА, В | Испытательное напряжение (действующее), В | Время зажигания, с | |||||||||
50 | 220 | 198 | 10 | |||||||||
60 | 220 | 198 | 10 | |||||||||
Электрические параметры | ||||||||||||
Частота, Гц | Нормируемая мощность, Вт | Напряжение на лампе (действующее), В | Нормируемый ток лампы, А | Нормируемый ток предварительного подогрева, А | ||||||||
Нормируемое | Не менее | Не более | ||||||||||
50 | 13 | 91 | 81 | 101 | 0,175 | 0,210 | ||||||
60 | 13 | 91 | 81 | 101 | 0,175 | 0,210 | ||||||
Испытательное положение: вертикальное, цоколем вверх. | ||||||||||||
Характеристики электрода | ||||||||||||
Испытательный ток, А | Сопротивление каждого электрода, Ом | |||||||||||
Нормируемое | Не менее | Не более | ||||||||||
0,140 | 50 | 37,5 | 62,5 | |||||||||
60901-IEC-2513-2 | ||||||||||||
ЛАМПА ЛЮМИНЕСЦЕНТНАЯ ОДНОЦОКОЛЬНАЯ Лист с параметрами Четырехканальная | С. 2 | |||||||
МСОЛ: FSQ-13-E-G24q=1 | ||||||||
Характеристики ДОИ | ||||||||
Частота, Гц | Номинальная мощность, Вт | Нормируемое напряжение, В | Ток калибровки, А | Отношение напряжения к току, Ом | Коэффициент мощности | |||
50 | 13 | 220 | 0,165 | 1070 | 0,12 | |||
60 | 13 | 220 | 0,165 | 1080 | 0,075 | |||
Информация для расчета ПРА | ||||||||
Частота, Гц | 50 | 60 | ||||||
Ток предварительного подогрева, А | Не менее | 0,153 | 0,153 | |||||
Не более | 0,275 | 0,275 | ||||||
Напряжение холостого хода на лампе, В | Действующее значение, не менее | 198 | 198 | |||||
Пиковое значение, не более | 400 | 440 | ||||||
Резистор, заменяющий два последовательно соединенных электрода, Ом | 100 | 100 | ||||||
Напряжение на стартере при работающей лампе, В | Действующее значение, не более | |||||||
Рабочий ток лампы, А | Не более | 0,190 | 0,190 | |||||
Информация для расчета стартера | ||||||||
Импульс напряжения, В, не менее | Напряжение неконтактирования, В | Конденсатор для ПРП, пФ | ||||||
Не менее | Не более | |||||||
Информация для расчета светильника | ||||||||
Наибольший контур лампы: см. лист 60901-IEC-A510 с размером H, мм | 130 | |||||||
-------------------------------- | ||||||||
60901-IEC-2513-2 | ||||||||
ЛАМПА ЛЮМИНЕСЦЕНТНАЯ ОДНОЦОКОЛЬНАЯ Лист с параметрами Четырехканальная | С. 3 | ||||||||
МСОЛ: FSQ-13-E-G24q=1 | |||||||||
Информация для расчета ВЧ ПРА | |||||||||
Характеристики ВЧ ПРА | |||||||||
Частота, кГц | Номинальная мощность, Вт | Нормируемое напряжение, В | Ток калибровки, А | Отношение напряжения к току, Ом | |||||
20 - 26 | 13 | 155 | 0,165 | 465 | |||||
Типичные параметры лампы | |||||||||
Частота, кГц | Номинальная мощность, Вт | Напряжение на лампе, В | Ток лампы, А | ||||||
>= 20 | 12,5 | 77 | 0,165 | ||||||
Работа в нормальном режиме и режиме диммирования | |||||||||
Частота, кГц | >= 20 | ||||||||
Ток перехода от работы в нормальном режиме к режиму диммирования ID перехода, А | 0,115 | ||||||||
Рабочий ток лампы ID, А | Не более | 0,190 | |||||||
Ток в любом вводе электродов, А | Не более | 0,210 | |||||||
Квалификация диммирующего ПРА с заменяющими резисторами (примечание 1) | |||||||||
Нагрев электрода рабочим током любой лампы, измеренного с заменяющими резисторами | |||||||||
Наименьшая сумма квадратов токов выводов: SoSmin: для ID30 < ID <= Iперехода (примечание 2) | А2 | X1 | 0,035 | ||||||
А | Y1 | 0,260 | |||||||
Нагрев электрода при конкретных рабочих токах, измеренных на заменяющих резисторах | |||||||||
Рабочий ток | Параметры нагрева | ||||||||
IDmin, А | 0,035 | Наименьшее напряжение на электроде, В | CVDmin | 5,90 | |||||
Резисторы, заменяющие разрядную лампу, Ом | RL10min | 6200 | |||||||
RL10max | 12000 | ||||||||
ID30, А | 0,100 | Наименьшая сумма квадратов токов выводов, А2 | SoS30 | X1 - Y1ID30 | |||||
Резистор, заменяющий разрядную лампу, Ом | RL30 | 2700 | |||||||
ID60, А | 0,200 | Наименьшая сумма квадратов токов выводов, А2 | SoS60 | X1 - Y1ID60 | |||||
Резистор, заменяющий разрядную лампу, Ом | RL60 | 1100 | |||||||
Наибольшее напряжение на электроде, В | CVmax | 8,20 | |||||||
Заменяющие электрод резисторы для квалификации диммирующего ПРА | |||||||||
Заменяющий резистор каждого электрода для испытания требований диммирования, Ом | Rиспытания 1 | 50,0 | |||||||
Rиспытания 2 | 55,0 | ||||||||
Rиспытания 3 | 45,0 | ||||||||
Примечания | |||||||||
60901-IEC-2513-4 | |||||||||
(A6:2014) | |||||||||
ЛАМПА ЛЮМИНЕСЦЕНТНАЯ ОДНОЦОКОЛЬНАЯ Лист с параметрами Четырехканальная | С. 4 | ||||||||
МСОЛ: FSQ-13-E-G24q=1 | |||||||||
Требования зажигания к электродам предварительного подогрева для времени зажигания 0,4 с < ts < 3,0 с | |||||||||
Наименьшая энергия предварительного подогрева электрода: Emin = Qmin + Pmin ts, Дж | Qmin | Дж | 1,0 | ||||||
Pmin | Дж/с | 0,7 | |||||||
Напряжение на каждом электроде для E (t) < Emin, В | Действующее значение, не более | 11 | |||||||
Заменяющий резистор каждого электрода для проверки минимальных требований к предварительному подогреву электродов, Ом | 30 | ||||||||
Наибольшая энергия предварительного подогрева электрода: Emax = Qmax + Pmax ts, Дж | Qmax | Дж | 2,0 | ||||||
Pmax | Дж/с | 1,4 | |||||||
Заменяющий резистор каждого электрода для проверки максимальных требований к предварительному подогреву электродов, Ом | 40 | ||||||||
Напряжение холостого хода на лампе без ВЗУ, В | Напряжение незажигания | t <= ts | Действующее значение, не более | 190 | |||||
Напряжение зажигания | t > ts (+10 °C) | Действующее значение, не менее | 380 | ||||||
t > ts (-15 °C) | |||||||||
Диапазон заменяющего резистора каждого электрода для проверки требований к напряжению холостого хода, Ом | 30,0 - 90,0 | ||||||||
-------------------------------- | |||||||||
60901-IEC-2513-1 | |||||||||
(A6:2014) | |||||||||
ОДНОЦОКОЛЬНАЯ Лист с параметрами Четырехканальная | С. 1 | |||||||||||
МСОЛ: FSQ-18-E-G24q=2 | ||||||||||||
Номинальная мощность, Вт | Схема | Электрод | Цоколь | |||||||||
18 | Внешний стартер | Предварительного подогрева | G24q-2 | |||||||||
Размеры В миллиметрах | ||||||||||||
A, не более | B, не более | C, не более | ||||||||||
28 | 28 | 140 | ||||||||||
Цоколь: см. лист 7004-78 IEC 60061-1. | ||||||||||||
Характеристики зажигания | ||||||||||||
Частота, Гц | Нормируемое напряжение на ПРА, В | Испытательное напряжение (действующее), В | Время зажигания, с | |||||||||
50 | 220 | 198 | 10 | |||||||||
60 | 220 | 198 | 10 | |||||||||
Электрические параметры | ||||||||||||
Частота, Гц | Нормируемая мощность, Вт | Напряжение на лампе (действующее), В | Нормируемый ток лампы, А | Нормируемый ток предварительного подогрева, А | ||||||||
Нормируемое | Не менее | Не более | ||||||||||
50 | 18 | 100 | 90 | 110 | 0,220 | 0,280 | ||||||
60 | 18 | 100 | 90 | 110 | 0,220 | 0,280 | ||||||
Испытательное положение: вертикальное, цоколем вверх. | ||||||||||||
Характеристики электрода | ||||||||||||
Испытательный ток, А | Сопротивление каждого электрода, Ом | |||||||||||
Нормируемое | Не менее | Не более | ||||||||||
0,190 | 26 | 19,5 | 32,5 | |||||||||
60901-IEC-2518-2 | ||||||||||||
ЛАМПА ЛЮМИНЕСЦЕНТНАЯ ОДНОЦОКОЛЬНАЯ Лист с параметрами Четырехканальная | С. 2 | |||||||
МСОЛ: FSQ-18-E-G24q=2 | ||||||||
Характеристики ДОИ | ||||||||
Частота, Гц | Номинальная мощность, Вт | Нормируемое напряжение, В | Ток калибровки, А | Отношение напряжения к току, Ом | Коэффициент мощности | |||
50 | 18 | 220 | 0,220 | 800 | 0,12 | |||
60 | 18 | 220 | 0,220 | 815 | 0,075 | |||
Информация для расчета ПРА | ||||||||
Частота, Гц | 50 | 60 | ||||||
Ток предварительного подогрева, А | Не менее | 0,190 | 0,190 | |||||
Не более | 0,375 | 0,375 | ||||||
Напряжение холостого хода на лампе, В | Действующее значение, не менее | 198 | 198 | |||||
Пиковое значение, не более | 400 | 440 | ||||||
Резистор, заменяющий два последовательно соединенных электрода, Ом | 80 | 80 | ||||||
Напряжение на стартере при работающей лампе, В | Действующее значение, не более | |||||||
Рабочий ток лампы, А | Не более | 0,240 | 0,190 | |||||
Информация для расчета стартера | ||||||||
Импульс напряжения, В, не менее | Напряжение неконтактирования, В | Конденсатор для ПРП, пФ | ||||||
Не менее | Не более | |||||||
Информация для расчета светильника | ||||||||
Наибольший контур лампы: см. лист 60901-IEC-A510 с размером H, мм | 140 | |||||||
-------------------------------- | ||||||||
60901-IEC-2518-2 | ||||||||
ЛАМПА ЛЮМИНЕСЦЕНТНАЯ ОДНОЦОКОЛЬНАЯ Лист с параметрами Четырехканальная | С. 3 | ||||||||
МСОЛ: FSD-18-E-24q=2 | |||||||||
Информация для расчета ВЧ ПРА | |||||||||
Характеристики ВЧ ПРА | |||||||||
Частота, кГц | Номинальная мощность, Вт | Нормируемое напряжение, В | Ток калибровки, А | Отношение напряжения к току, Ом | |||||
20 - 26 | 13 | 160 | 0,210 | 380 | |||||
Типичные параметры лампы | |||||||||
Частота, кГц | Номинальная мощность, Вт | Напряжение на лампе, В | Ток лампы, А | ||||||
>= 20 | 16,5 | 80 | 0,210 | ||||||
Работа в нормальном режиме и режиме диммирования | |||||||||
Частота, кГц | >= 20 | ||||||||
Ток перехода от работы в нормальном режиме к режиму диммирования ID перехода, А | 0,160 | ||||||||
Рабочий ток лампы ID, А | Не более | 0,240 | |||||||
Ток в любом вводе электродов, А | Не более | 0,290 | |||||||
Квалификация диммирующего ПРА с заменяющими резисторами (примечание 1) | |||||||||
Нагрев электрода рабочим током любой лампы, измеренного с заменяющими резисторами | |||||||||
Наименьшая сумма квадратов токов выводов: SoSmin: для ID30 < ID <= Iперехода (примечание 2) | А2 | X1 | 0,065 | ||||||
А | Y1 | 0,350 | |||||||
Нагрев электрода при конкретных рабочих токах, измеренных на заменяющих резисторах | |||||||||
Рабочий ток | Параметры нагрева | ||||||||
IDmin, А | 0,035 | Наименьшее напряжение на электроде, В | CVDmin | 4,40 | |||||
Резисторы, заменяющие разрядную лампу, Ом | RL10min | 4700 | |||||||
RL10max | 8200 | ||||||||
ID30, А | 0,100 | Наименьшая сумма квадратов токов выводов, А2 | SoS30 | X1 - Y1ID30 | |||||
Резистор, заменяющий разрядную лампу, Ом | RL30 | 2000 | |||||||
ID60, А | 0,200 | Наименьшая сумма квадратов токов выводов, А2 | SoS60 | X1 - Y1ID60 | |||||
Резистор, заменяющий разрядную лампу, Ом | RL60 | 820 | |||||||
Наибольшее напряжение на электроде, В | CVmax | 5,80 | |||||||
Заменяющие электрод резисторы для квалификации диммирующего ПРА | |||||||||
Заменяющий резистор каждого электрода для испытания требований диммирования, Ом | Rиспытания 1 | 26,0 | |||||||
Rиспытания 2 | 29,0 | ||||||||
Rиспытания 3 | 23,0 | ||||||||
Примечания | |||||||||
60901-IEC-2518-4 | |||||||||
(A6:2014) | |||||||||
ЛАМПА ЛЮМИНЕСЦЕНТНАЯ ОДНОЦОКОЛЬНАЯ Лист с параметрами Четырехканальная | С. 4 | ||||||||
МСОЛ: FSQ-18-E-G24q=2 | |||||||||
Требования зажигания к электродам предварительного подогрева для времени зажигания 0,4 с < ts < 3,0 с | |||||||||
Наименьшая энергия предварительного подогрева электрода: Emin = Qmin + Pmin ts, Дж | Qmin | Дж | 0,9 | ||||||
Pmin | Дж/с | 0,7 | |||||||
Напряжение на каждом электроде для E (t) < Emin, В | Действующее значение, не более | 11 | |||||||
Заменяющий резистор каждого электрода для проверки минимальных требований к предварительному подогреву электродов, Ом | 18 | ||||||||
Наибольшая энергия предварительного подогрева электрода: Emax = Qmax + Pmax ts, Дж | Qmax | Дж | 1,8 | ||||||
Pmax | Дж/с | 1,4 | |||||||
Заменяющий резистор каждого электрода для проверки максимальных требований к предварительному подогреву электродов, Ом | 24 | ||||||||
Напряжение холостого хода на лампе без ВЗУ, В | Напряжение незажигания | t <= ts | Действующее значение, не более | 220 | |||||
Напряжение зажигания | t > ts (+10 °C) | Действующее значение, не менее | 400 | ||||||
t > ts (-15 °C) | |||||||||
Диапазон заменяющего резистора каждого электрода для проверки требований к напряжению холостого хода, Ом | 18,0 - 54,0 | ||||||||
-------------------------------- | |||||||||
60901-IEC-2518-1 | |||||||||
(A6:2014) | |||||||||
ОДНОЦОКОЛЬНАЯ Лист с параметрами Четырехканальная | С. 1 | |||||||||||
МСОЛ: FSQ-26-E-G24q=3 | ||||||||||||
Номинальная мощность, Вт | Схема | Электрод | Цоколь | |||||||||
26 | Внешний стартер | Предварительного подогрева | G24q-3 | |||||||||
Размеры В миллиметрах | ||||||||||||
A, не более | B, не более | C, не более | ||||||||||
28 | 28 | 160 | ||||||||||
Цоколь: см. лист 7004-78 IEC 60061-1. | ||||||||||||
Характеристики зажигания | ||||||||||||
Частота, Гц | Нормируемое напряжение на ПРА, В | Испытательное напряжение (действующее), В | Время зажигания, с | |||||||||
50 | 220 | 198 | 10 | |||||||||
60 | 220 | 198 | 10 | |||||||||
Электрические параметры | ||||||||||||
Частота, Гц | Нормируемая мощность, Вт | Напряжение на лампе (действующее), В | Нормируемый ток лампы, А | Нормируемый ток предварительного подогрева, А | ||||||||
Нормируемое | Не менее | Не более | ||||||||||
50 | 26 | 105 | 95 | 115 | 0,325 | 0,420 | ||||||
60 | 26 | 105 | 95 | 115 | 0,325 | 0,420 | ||||||
Испытательное положение: вертикальное, цоколем вверх. | ||||||||||||
Характеристики электрода | ||||||||||||
Испытательный ток, А | Сопротивление каждого электрода, Ом | |||||||||||
Нормируемое | Не менее | Не более | ||||||||||
0,310 | 13 | 9,7 | 16,3 | |||||||||
60901-IEC-2526-2 | ||||||||||||
ЛАМПА ЛЮМИНЕСЦЕНТНАЯ ОДНОЦОКОЛЬНАЯ Лист с параметрами Четырехканальная | С. 2 | |||||||
МСОЛ: FSQ-26-E-G24q=3 | ||||||||
Характеристики ДОИ | ||||||||
Частота, Гц | Номинальная мощность, Вт | Нормируемое напряжение, В | Ток калибровки, А | Отношение напряжения к току, Ом | Коэффициент мощности | |||
50 | 26 | 220 | 0,315 | 540 | 0,10 | |||
60 | 26 | 220 | 0,315 | 546 | 0,075 | |||
Информация для расчета ПРА | ||||||||
Частота, Гц | 50 | 60 | ||||||
Ток предварительного подогрева, А | Не менее | 0,270 | 0,270 | |||||
Не более | 0,550 | 0,550 | ||||||
Напряжение холостого хода на лампе, В | Действующее значение, не менее | 198 | 198 | |||||
Пиковое значение, не более | 400 | 440 | ||||||
Резистор, заменяющий два последовательно соединенных электрода, Ом | 25 | 25 | ||||||
Напряжение на стартере при работающей лампе, В | Действующее значение, не более | |||||||
Рабочий ток лампы, А | Не более | 0,360 | 0,360 | |||||
Информация для расчета стартера | ||||||||
Импульс напряжения, В, не менее | Напряжение неконтактирования, В | Конденсатор для ПРП, пФ | ||||||
Не менее | Не более | |||||||
Информация для расчета светильника | ||||||||
Наибольший контур лампы: см. лист 60901-IEC-A510 с размером H, мм | 160 | |||||||
-------------------------------- | ||||||||
60901-IEC-2526-2 | ||||||||
ЛАМПА ЛЮМИНЕСЦЕНТНАЯ ОДНОЦОКОЛЬНАЯ Лист с параметрами Четырехканальная | С. 3 | ||||||||
МСОЛ: FSQ-26-E-G24q=3 | |||||||||
Информация для расчета ВЧ ПРА | |||||||||
Характеристики ВЧ ПРА | |||||||||
Частота, кГц | Номинальная мощность, Вт | Нормируемое напряжение, В | Ток калибровки, А | Отношение напряжения к току, Ом | |||||
20 - 26 | 26 | 160 | 0,300 | 265 | |||||
Типичные параметры лампы | |||||||||
Частота, кГц | Номинальная мощность, Вт | Напряжение на лампе, В | Ток лампы, А | ||||||
>= 20 | 24 | 80 | 0,300 | ||||||
Работа в нормальном режиме и режиме диммирования | |||||||||
Частота, кГц | >= 20 | ||||||||
Ток перехода от работы в нормальном режиме к режиму диммирования ID перехода, А | 0,250 | ||||||||
Рабочий ток лампы ID, А | Не более | 0,400 | |||||||
Ток в любом вводе электродов, А | Не более | 0,430 | |||||||
Квалификация диммирующего ПРА с заменяющими резисторами (примечание 1) | |||||||||
Нагрев электрода рабочим током любой лампы, измеренного с заменяющими резисторами | |||||||||
Наименьшая сумма квадратов токов выводов: SoSmin: для ID30 < ID <= Iперехода (примечание 2) | А2 | X1 | 0,175 | ||||||
А | Y1 | 0,575 | |||||||
Нагрев электрода при конкретных рабочих токах, измеренных на заменяющих резисторах | |||||||||
Рабочий ток | Параметры нагрева | ||||||||
IDmin, А | 0,030 | Наименьшее напряжение на электроде, В | CVDmin | 3,40 | |||||
Резисторы, заменяющие разрядную лампу, Ом | RL10min | 3000 | |||||||
RL10max | 5600 | ||||||||
ID30, А | 0,095 | Наименьшая сумма квадратов токов выводов, А2 | SoS30 | X1 - Y1ID30 | |||||
Резистор, заменяющий разрядную лампу, Ом | RL30 | 1300 | |||||||
ID60, А | 0,190 | Наименьшая сумма квадратов токов выводов, А2 | SoS60 | X1 - Y1ID60 | |||||
Резистор, заменяющий разрядную лампу, Ом | RL60 | 510 | |||||||
Наибольшее напряжение на электроде, В | CVmax | 4,40 | |||||||
Заменяющие электрод резисторы для квалификации диммирующего ПРА | |||||||||
Заменяющий резистор каждого электрода для испытания требований диммирования, Ом | Rиспытания 1 | 13,0 | |||||||
Rиспытания 2 | 14,0 | ||||||||
Rиспытания 3 | 12,0 | ||||||||
Примечания | |||||||||
60901-IEC-2526-4 | |||||||||
(A6:2014) | |||||||||
ЛАМПА ЛЮМИНЕСЦЕНТНАЯ ОДНОЦОКОЛЬНАЯ Лист с параметрами Четырехканальная | С. 4 | ||||||||
МСОЛ: FSQ-26-E-G24q=3 | |||||||||
Требования зажигания к электродам предварительного подогрева для времени зажигания 0,4 с < ts < 3,0 с | |||||||||
Наименьшая энергия предварительного подогрева электрода: Emin = Qmin + Pmin ts, Дж | Qmin | Дж | 1,0 | ||||||
Pmin | Дж/с | 0,8 | |||||||
Напряжение на каждом электроде для E (t) < Emin, В | Действующее значение, не более | 11 | |||||||
Заменяющий резистор каждого электрода для проверки минимальных требований к предварительному подогреву электродов, Ом | 9 | ||||||||
Наибольшая энергия предварительного подогрева электрода: Emax = Qmax + Pmax ts, Дж | Qmax | Дж | 2,0 | ||||||
Pmax | Дж/с | 1,6 | |||||||
Заменяющий резистор каждого электрода для проверки максимальных требований к предварительному подогреву электродов, Ом | 12 | ||||||||
Напряжение холостого хода на лампе без ВЗУ, В | Напряжение незажигания | t <= ts | Действующее значение, не более | 240 | |||||
Напряжение зажигания | t > ts (+10 °C) | Действующее значение, не менее | 420 | ||||||
t > ts (-15 °C) | |||||||||
Диапазон заменяющего резистора каждого электрода для проверки требований к напряжению холостого хода, Ом | 9,0 - 27,0 | ||||||||
-------------------------------- | |||||||||
60901-IEC-2526-1 | |||||||||
(A6:2014) | |||||||||
ОДНОЦОКОЛЬНАЯ Лист с параметрами Четырехканальная | С. 1 | |||||||||||
МСОЛ: FSQ-13-E-GX10q=2 | ||||||||||||
Номинальная мощность, Вт | Схема | Электрод | Цоколь | |||||||||
13 | Внешний стартер | Предварительного подогрева | GX10q-2 | |||||||||
Размеры В миллиметрах | ||||||||||||
A, не более | B, не более | C, не более | ||||||||||
39 | 39 | 120 | ||||||||||
Цоколь: см. лист 7004-84 IEC 60061-1. | ||||||||||||
Характеристики зажигания | ||||||||||||
Частота, Гц | Нормируемое напряжение на ПРА, В | Испытательное напряжение (действующее), В | Время зажигания, с | |||||||||
50 | 100 | 94 | 10 | |||||||||
60 | 100 | 94 | 10 | |||||||||
Электрические параметры | ||||||||||||
Частота, Гц | Нормируемая мощность, Вт | Напряжение на лампе (действующее), В | Нормируемый ток лампы, А | Нормируемый ток предварительного подогрева, А | ||||||||
Нормируемое | Не менее | Не более | ||||||||||
50 | 13,3 | 54 | 48 | 60 | 0,300 | 0,440 | ||||||
60 | 13,3 | 54 | 48 | 60 | 0,300 | 0,440 | ||||||
Испытательное положение: вертикальное, цоколем вверх. | ||||||||||||
60901-IEC-2613-1 | ||||||||||||
ЛАМПА ЛЮМИНЕСЦЕНТНАЯ ОДНОЦОКОЛЬНАЯ Лист с параметрами Четырехканальная | С. 2 | |||||||
МСОЛ: FSQ-13-E-GX10q=2 | ||||||||
Характеристики ДОИ | ||||||||
Частота, Гц | Номинальная мощность, Вт | Нормируемое напряжение, В | Ток калибровки, А | Отношение напряжения к току, Ом | Коэффициент мощности | |||
50 | 13 | 100 | 0,300 | 244 | 0,075 | |||
60 | 13 | 100 | 0,300 | 244 | 0,075 | |||
Информация для расчета ПРА | ||||||||
Частота, Гц | 50 | 60 | ||||||
Ток предварительного подогрева, А | Не менее | 0,320 | 0,320 | |||||
Не более | 0,580 | 0,580 | ||||||
Напряжение холостого хода на лампе, В | Действующее значение, не менее | 97 | 97 | |||||
Пиковое значение, не более | 400 | 400 | ||||||
Резистор, заменяющий два последовательно соединенных электрода, Ом | 50 | 50 | ||||||
Напряжение на стартере при работающей лампе, В | Действующее значение, не более | 65 | 65 | |||||
Рабочий ток лампы, А | Не более | |||||||
Информация для расчета стартера | ||||||||
Импульс напряжения, В, не менее | Напряжение неконтактирования, В | Конденсатор для ПРП, пФ | ||||||
Не менее | Не более | |||||||
700 | 70 | 5,0 | 10,0 | |||||
Информация для расчета светильника | ||||||||
Наибольший контур лампы: см. лист 60901-IEC-A610 с размером H, мм | 120 | |||||||
-------------------------------- | ||||||||
60901-IEC-2613-1 | ||||||||
ОДНОЦОКОЛЬНАЯ Лист с параметрами Четырехканальная | С. 1 | |||||||||||
МСОЛ: FSQ-18-E-GX10q=3 | ||||||||||||
Номинальная мощность, Вт | Схема | Электрод | Цоколь | |||||||||
18 | Внешний стартер | Предварительного подогрева | GX10q-3 | |||||||||
Размеры В миллиметрах | ||||||||||||
A | B | C | ||||||||||
Не более | Не более | Не менее | Не более | |||||||||
39 | 39 | 113 | 128 | |||||||||
Цоколь: см. лист 7004-84 IEC 60061-1. | ||||||||||||
Характеристики зажигания | ||||||||||||
Частота, Гц | Нормируемое напряжение на ПРА, В | Испытательное напряжение (действующее), В | Время зажигания, с | |||||||||
50 | 100 | 94 | 10 | |||||||||
60 | 100 | 94 | 10 | |||||||||
Электрические параметры | ||||||||||||
Частота, Гц | Нормируемая мощность, Вт | Напряжение на лампе (действующее), В | Нормируемый ток лампы, А | Нормируемый ток предварительного подогрева, А | ||||||||
Нормируемое | Не менее | Не более | ||||||||||
50 | 17,5 | 55 | 49 | 61 | 0,375 | 0,530 | ||||||
60 | 17,5 | 55 | 49 | 61 | 0,375 | 0,530 | ||||||
Испытательное положение: вертикальное, цоколем вверх. | ||||||||||||
60901-IEC-2618-1 | ||||||||||||
ЛАМПА ЛЮМИНЕСЦЕНТНАЯ ОДНОЦОКОЛЬНАЯ Лист с параметрами Четырехканальная | С. 2 | |||||||
МСОЛ: FSQ-18-E-GX10q=3 | ||||||||
Характеристики ДОИ | ||||||||
Частота, Гц | Номинальная мощность, Вт | Нормируемое напряжение, В | Ток калибровки, А | Отношение напряжения к току, Ом | Коэффициент мощности | |||
50 | 18 | 100 | 0,375 | 190 | 0,075 | |||
60 | 18 | 100 | 0,375 | 190 | 0,075 | |||
Информация для расчета ПРА | ||||||||
Частота, Гц | 50 | 60 | ||||||
Ток предварительного подогрева, А | Не менее | 0,380 | 0,380 | |||||
Не более | 0,730 | 0,730 | ||||||
Напряжение холостого хода на лампе, В | Действующее значение, не менее | 97 | 97 | |||||
Пиковое значение, не более | 400 | 400 | ||||||
Резистор, заменяющий два последовательно соединенных электрода, Ом | 50 | 50 | ||||||
Напряжение на стартере при работающей лампе, В | Действующее значение, не более | 65 | 65 | |||||
Рабочий ток лампы, А | Не более | |||||||
Информация для расчета стартера | ||||||||
Импульс напряжения, В, не менее | Напряжение неконтактирования, В | Конденсатор для ПРП, пФ | ||||||
Не менее | Не более | |||||||
700 | 70 | 5,0 | 10,0 | |||||
Информация для расчета светильника | ||||||||
Наибольший контур лампы: см. лист 60901-IEC-A610 с размером H, мм | 128 | |||||||
-------------------------------- | ||||||||
60901-IEC-2618-1 | ||||||||
ОДНОЦОКОЛЬНАЯ Лист с параметрами Четырехканальная | С. 1 | |||||||||||
МСОЛ: FSQ-27-E-GX10q=4 | ||||||||||||
Номинальная мощность, Вт | Схема | Электрод | Цоколь | |||||||||
27 | Внешний стартер | Предварительного подогрева | GX10q-4 | |||||||||
Размеры В миллиметрах | ||||||||||||
A | B | C | ||||||||||
Не более | Не более | Не менее | Не более | |||||||||
39 | 39 | 120 | 142 | |||||||||
Цоколь: см. лист 7004-84 IEC 60061-1. | ||||||||||||
Характеристики зажигания | ||||||||||||
Частота, Гц | Нормируемое напряжение на ПРА, В | Испытательное напряжение (действующее), В | Время зажигания, с | |||||||||
50 | 100 | 94 | 10 | |||||||||
60 | 100 | 94 | 10 | |||||||||
Электрические параметры | ||||||||||||
Частота, Гц | Нормируемая мощность, Вт | Напряжение на лампе (действующее), В | Нормируемый ток лампы, А | Нормируемый ток предварительного подогрева, А | ||||||||
Нормируемое | Не менее | Не более | ||||||||||
50 | 26,8 | 56 | 50 | 62 | 0,610 | 0,850 | ||||||
60 | 26,8 | 56 | 50 | 62 | 0,610 | 0,850 | ||||||
Испытательное положение: вертикальное, цоколем вверх. | ||||||||||||
60901-IEC-2627-1 | ||||||||||||
ЛАМПА ЛЮМИНЕСЦЕНТНАЯ ОДНОЦОКОЛЬНАЯ Лист с параметрами Четырехканальная | С. 2 | |||||||
МСОЛ: FSQ-27-E-GX10q=4 | ||||||||
Характеристики ДОИ | ||||||||
Частота, Гц | Номинальная мощность, Вт | Нормируемое напряжение, В | Ток калибровки, А | Отношение напряжения к току, Ом | Коэффициент мощности | |||
50 | 27 | 100 | 0,620 | 118 | 0,075 | |||
60 | 27 | 100 | 0,620 | 118 | 0,075 | |||
Информация для расчета ПРА | ||||||||
Частота, Гц | 50 | 60 | ||||||
Ток предварительного подогрева, А | Не менее | 0,640 | 0,640 | |||||
Не более | 1,100 | 1,100 | ||||||
Напряжение холостого хода на лампе, В | Действующее значение, не менее | 97 | 97 | |||||
Пиковое значение, не более | 400 | 400 | ||||||
Резистор, заменяющий два последовательно соединенных электрода, Ом | 30 | 30 | ||||||
Напряжение на стартере при работающей лампе, В | Действующее значение, не более | 65 | 65 | |||||
Рабочий ток лампы, А | Не более | |||||||
Информация для расчета стартера | ||||||||
Импульс напряжения, В, не менее | Напряжение неконтактирования, В | Конденсатор для ПРП, пФ | ||||||
Не менее | Не более | |||||||
700 | 70 | 5,0 | 10,0 | |||||
Информация для расчета светильника | ||||||||
Наибольший контур лампы: см. лист 60901-IEC-A610 с размером H, мм | 142 | |||||||
-------------------------------- | ||||||||
60901-IEC-2627-1 | ||||||||
ОДНОЦОКОЛЬНАЯ Лист с параметрами Квадратная | С. 1 | |||||||||||||
МСОЛ: FSS-10-E-GR10q | ||||||||||||||
Номинальная мощность, Вт | Схема | Электрод | Цоколь | |||||||||||
10 | Внешний стартер | Предварительного подогрева | GR10q | |||||||||||
Размеры В миллиметрах | ||||||||||||||
A | B | C | D | E | F | G | ||||||||
Не более | Не более | Не более | Не более | Не более | Не более | Не менее | Не более | |||||||
92 | 95 | 34,5 | 14 | 34,2 | 38,2 | 28,5 | 29,5 | |||||||
Цоколь: см. лист 7004-77 IEC 60061-1. | ||||||||||||||
Характеристики зажигания | ||||||||||||||
Частота, Гц | Нормируемое напряжение на ПРА, В | Испытательное напряжение (действующее), В | Время зажигания, с | |||||||||||
50 | 220 | 198 | 10 | |||||||||||
60 | - | - | - | |||||||||||
Электрические параметры | ||||||||||||||
Частота, Гц | Нормируемая мощность, Вт | Напряжение на лампе (действующее), В | Нормируемый ток лампы, А | Нормируемый ток предварительного подогрева, А | ||||||||||
Нормируемое | Не менее | Не более | ||||||||||||
50 | 10,5 | 72 | 65 | 79 | 0,180 | 0,215 | ||||||||
60 | - | - | - | - | - | - | ||||||||
Испытательное положение: горизонтальное. | ||||||||||||||
60901-IEC-3010-1 | ||||||||||||||
ЛАМПА ЛЮМИНЕСЦЕНТНАЯ ОДНОЦОКОЛЬНАЯ Лист с параметрами Квадратная | С. 2 | |||||||
МСОЛ: FSS-10-E-GR10q | ||||||||
Характеристики ДОИ | ||||||||
Частота, Гц | Номинальная мощность, Вт | Нормируемое напряжение, В | Ток калибровки, А | Отношение напряжения к току, Ом | Коэффициент мощности | |||
50 | 10 | 220 | 0,180 | 1070 | 0,12 | |||
60 | 10 | 220 | 0,180 | 1080 | 0,075 | |||
Информация для расчета ПРА | ||||||||
Частота, Гц | 50 | 60 | ||||||
Ток предварительного подогрева, А | Не менее | 0,162 | - | |||||
Не более | 0,378 | - | ||||||
Напряжение холостого хода на лампе, В | Действующее значение, не менее | 198 | - | |||||
Пиковое значение, не более | 400 | - | ||||||
Резистор, заменяющий два последовательно соединенных электрода, Ом | 110 | - | ||||||
Напряжение на стартере при работающей лампе, В | Действующее значение, не более | 87 | - | |||||
Рабочий ток лампы, А | Не более | - | ||||||
Информация для расчета стартера | ||||||||
Импульс напряжения, В, не менее | Напряжение неконтактирования, В | Конденсатор для ПРП, пФ | ||||||
Не менее | Не более | |||||||
500 <*> | 130 | 5,0 | 8,0 | |||||
Информация для расчета светильника | ||||||||
Наибольший контур лампы: см. лист 60901-IEC-B010 | ||||||||
-------------------------------- | ||||||||
60901-IEC-3010-2 | ||||||||
(A5:2011) | ||||||||
ОДНОЦОКОЛЬНАЯ Лист с параметрами Квадратная | С. 1 | |||||||||
МСОЛ: FSS-16-E-GR10q | ||||||||||
Номинальная мощность, Вт | Схема | Электрод | Цоколь | |||||||
16 | Внешний стартер | Предварительного подогрева | GR10q | |||||||
Размеры В миллиметрах | ||||||||||
A | B | C | D | E | F | G | ||||
Не более | Не более | Не более | Не более | Не более | Не более | Не менее | Не более | |||
138 | 141 | 27,5 | 15 | 41 | 40 | 49 | 51 | |||
Цоколь: см. лист 7004-77 IEC 60061-1. | ||||||||||
Характеристики зажигания | ||||||||||
Частота, Гц | Нормируемое напряжение на ПРА, В | Испытательное напряжение (действующее), В | Время зажигания, с | |||||||
50 | 220 | 198 | 10 | |||||||
60 | - | - | - | |||||||
Электрические параметры | ||||||||||
Частота, Гц | Нормируемая мощность, Вт | Напряжение на лампе (действующее), В | Нормируемый ток лампы, А | Нормируемый ток предварительного подогрева, А | ||||||
Нормируемое | Не менее | Не более | ||||||||
50 | 16 | 103 | 93 | 113 | 0,195 | 0,260 | ||||
60 | - | - | - | - | - | - | ||||
Испытательное положение: горизонтальное. | ||||||||||
Характеристики электрода | ||||||||||
Испытательный ток, А | Сопротивление каждого электрода, Ом | |||||||||
Нормируемое | Не менее | Не более | ||||||||
0,130 | 64 | 48 | 80 | |||||||
60901-IEC-3016-2 | ||||||||||
(A5:2011) | ||||||||||
ЛАМПА ЛЮМИНЕСЦЕНТНАЯ ОДНОЦОКОЛЬНАЯ Лист с параметрами Квадратная | С. 2 | |||||||
МСОЛ: FSS-16-E-GR10q | ||||||||
Характеристики ДОИ | ||||||||
Частота, Гц | Номинальная мощность, Вт | Нормируемое напряжение, В | Ток калибровки, А | Отношение напряжения к току, Ом | Коэффициент мощности | |||
50 | 16 | 220 | 0,195 | 890 | 0,12 | |||
60 | 16 | 220 | 0,195 | 900 | 0,075 | |||
Информация для расчета ПРА | ||||||||
Частота, Гц | 50 | 60 | ||||||
Ток предварительного подогрева, А | Не менее | 0,175 | - | |||||
Не более | 0,410 | - | ||||||
Напряжение холостого хода на лампе, В | Действующее значение, не менее | 198 | - | |||||
Пиковое значение, не более | 400 | - | ||||||
Резистор, заменяющий два последовательно соединенных электрода, Ом | 130 | - | ||||||
Напряжение на стартере при работающей лампе, В | Действующее значение, не более | 128 | - | |||||
Рабочий ток лампы, А | Не более | - | ||||||
Информация для расчета стартера | ||||||||
Импульс напряжения, В, не менее | Напряжение неконтактирования, В | Конденсатор для ПРП, пФ | ||||||
Не менее | Не более | |||||||
500 <*> | 130 | 1,0 | 3,0 | |||||
Информация для расчета светильника | ||||||||
Наибольший контур лампы: см. лист 60901-IEC-B020 | ||||||||
-------------------------------- | ||||||||
60901-IEC-3016-2 | ||||||||
(A5:2011) | ||||||||
ЛАМПА ЛЮМИНЕСЦЕНТНАЯ ОДНОЦОКОЛЬНАЯ Лист с параметрами Квадратная | С. 3 | ||||||||
МСОЛ: FSS-16-E-GR10q | |||||||||
Информация для расчета ВЧ ПРА | |||||||||
Характеристики ВЧ ПРА | |||||||||
Частота, кГц | Номинальная мощность, Вт | Нормируемое напряжение, В | Ток калибровки, А | Отношение напряжения к току, Ом | |||||
20 - 26 | 16 | 168 | 0,16 | 525 | |||||
Типичные параметры лампы | |||||||||
Частота, кГц | Номинальная мощность, Вт | Напряжение на лампе, В | Ток лампы, А | ||||||
>= 20 | 15 | 84 | 0,180 | ||||||
Работа в нормальном режиме и режиме диммирования | |||||||||
Частота, кГц | >= 20 | ||||||||
Ток перехода от работы в нормальном режиме к режиму диммирования ID перехода, А | 0,110 | ||||||||
Рабочий ток лампы ID, А | Не более | 0,195 | |||||||
Ток в любом вводе электродов, А | Не более | 0,180 | |||||||
Квалификация диммирующего ПРА с заменяющими резисторами (примечание 1) | |||||||||
Нагрев электрода рабочим током любой лампы, измеренного с заменяющими резисторами | |||||||||
Наименьшая сумма квадратов токов выводов: SoSmin: для ID30 < ID <= Iперехода (примечание 2) | А2 | X1 | 0,030 | ||||||
А | Y1 | 0,240 | |||||||
Нагрев электрода при конкретных рабочих токах, измеренных на заменяющих резисторах | |||||||||
Рабочий ток | Параметры нагрева | ||||||||
IDmin, А | 0,035 | Наименьшее напряжение на электроде, В | CVDmin | 7,60 | |||||
Резисторы, заменяющие разрядную лампу, Ом | RL10min | 9100 | |||||||
RL10max | 18000 | ||||||||
ID30, А | 0,100 | Наименьшая сумма квадратов токов выводов, А2 | SoS30 | X1 - Y1ID30 | |||||
Резистор, заменяющий разрядную лампу, Ом | RL30 | 3300 | |||||||
ID60, А | 0,200 | Наименьшая сумма квадратов токов выводов, А2 | SoS60 | X1 - Y1ID60 | |||||
Резистор, заменяющий разрядную лампу, Ом | RL60 | 1300 | |||||||
Наибольшее напряжение на электроде, В | CVmax | 9,70 | |||||||
Заменяющие электрод резисторы для квалификации диммирующего ПРА | |||||||||
Заменяющий резистор каждого электрода для испытания требований диммирования, Ом | Rиспытания 1 | 64,0 | |||||||
Rиспытания 2 | 70,0 | ||||||||
Rиспытания 3 | 58,0 | ||||||||
Примечания | |||||||||
60901-IEC-3016-2 | |||||||||
(A5:2011), (A6:2014) | |||||||||
ЛАМПА ЛЮМИНЕСЦЕНТНАЯ ОДНОЦОКОЛЬНАЯ Лист с параметрами Квадратная | С. 4 | ||||||||
МСОЛ: FSS-16-E-GR10q | |||||||||
Требования зажигания к электродам предварительного подогрева для времени зажигания 0,4 с < ts < 3,0 с | |||||||||
Наименьшая энергия предварительного подогрева электрода: Emin = Qmin + Pmin ts, Дж | Qmin | Дж | 0,9 | ||||||
Pmin | Дж/с | 0,6 | |||||||
Напряжение на каждом электроде для E (t) < Emin, В | Действующее значение, не более | 11 | |||||||
Заменяющий резистор каждого электрода для проверки минимальных требований к предварительному подогреву электродов, Ом | 40 | ||||||||
Наибольшая энергия предварительного подогрева электрода: Emax = Qmax + Pmax ts, Дж | Qmax | Дж | 1,8 | ||||||
Pmax | Дж/с | 1,2 | |||||||
Заменяющий резистор каждого электрода для проверки максимальных требований к предварительному подогреву электродов, Ом | 50 | ||||||||
Напряжение холостого хода на лампе без ВЗУ, В | Напряжение незажигания | t <= ts | Действующее значение, не более | 265 | |||||
Напряжение зажигания | t > ts (+10 °C) | Действующее значение, не менее | 550 | ||||||
t > ts (-15 °C) | 600 | ||||||||
Диапазон заменяющего резистора каждого электрода для проверки требований к напряжению холостого хода, Ом | 40,0 - 120,0 | ||||||||
60901-IEC-3016-1 | |||||||||
(A6:2014) | |||||||||
ОДНОЦОКОЛЬНАЯ Лист с параметрами Квадратная | С. 1 | |||||||||
МСОЛ: FSS-21-E-GR10q | ||||||||||
Номинальная мощность, Вт | Схема | Электрод | Цоколь | |||||||
21 | Внешний стартер | Предварительного подогрева | GR10q | |||||||
Размеры В миллиметрах | ||||||||||
A | B | C | D | E | F | G | ||||
Не более | Не более | Не более | Не более | Не более | Не более | Не менее | Не более | |||
138 | 141 | 27,5 | 15 | 41 | 41 | 49 | 51 | |||
Цоколь: см. лист 7004-77 IEC 60061-1. | ||||||||||
Характеристики зажигания | ||||||||||
Частота, Гц | Нормируемое напряжение на ПРА, В | Испытательное напряжение (действующее), В | Время зажигания, с | |||||||
50 | 220 | 198 | 10 | |||||||
60 | - | - | - | |||||||
Электрические параметры | ||||||||||
Частота, Гц | Нормируемая мощность, Вт | Напряжение на лампе (действующее), В | Нормируемый ток лампы, А | Нормируемый ток предварительного подогрева, А | ||||||
Нормируемое | Не менее | Не более | ||||||||
50 | 21 | 102 | 92 | 112 | 0,260 | 0,310 | ||||
60 | - | - | - | - | - | - | ||||
Испытательное положение: горизонтальное. | ||||||||||
Характеристики электрода | ||||||||||
Испытательный ток, А | Сопротивление каждого электрода, Ом | |||||||||
Нормируемое | Не менее | Не более | ||||||||
0,195 | 26,5 | 20 | 33 | |||||||
60901-IEC-3021-2 | ||||||||||
(A5:2011) | ||||||||||
ЛАМПА ЛЮМИНЕСЦЕНТНАЯ ОДНОЦОКОЛЬНАЯ Лист с параметрами Квадратная | С. 2 | |||||||
МСОЛ: FSS-21-E-GR10q | ||||||||
Характеристики ДОИ | ||||||||
Частота, Гц | Номинальная мощность, Вт | Нормируемое напряжение, В | Ток калибровки, А | Отношение напряжения к току, Ом | Коэффициент мощности | |||
50 | 21 | 205 | 0,260 | 605 | 0,10 | |||
60 | 21 | 205 | 0,260 | 610 | 0,075 | |||
Информация для расчета ПРА | ||||||||
Частота, Гц | 50 | 60 | ||||||
Ток предварительного подогрева, А | Не менее | 0,234 | - | |||||
Не более | 0,546 | - | ||||||
Напряжение холостого хода на лампе, В | Действующее значение, не менее | 198 | - | |||||
Пиковое значение, не более | 400 | - | ||||||
Резистор, заменяющий два последовательно соединенных электрода, Ом | 70 | - | ||||||
Напряжение на стартере при работающей лампе, В | Действующее значение, не более | 130 | - | |||||
Рабочий ток лампы, А | Не более | - | ||||||
Информация для расчета стартера | ||||||||
Импульс напряжения, В, не менее | Напряжение неконтактирования, В | Конденсатор для ПРП, пФ | ||||||
Не менее | Не более | |||||||
500 <*> | 130 | 5,0 | 8,0 | |||||
Информация для расчета светильника | ||||||||
Наибольший контур лампы: см. лист 60901-IEC-B020 | ||||||||
-------------------------------- | ||||||||
60901-IEC-3021-2 | ||||||||
(A5:2011) | ||||||||
ЛАМПА ЛЮМИНЕСЦЕНТНАЯ ОДНОЦОКОЛЬНАЯ Лист с параметрами Квадратная | С. 3 | ||||||||
МСОЛ: FSS-21-E-GR10q | |||||||||
Информация для расчета ВЧ ПРА | |||||||||
Характеристики ВЧ ПРА | |||||||||
Частота, кГц | Номинальная мощность, Вт | Нормируемое напряжение, В | Ток калибровки, А | Отношение напряжения к току, Ом | |||||
20 - 26 | 21 | 164 | 0,24 | 340 | |||||
Типичные параметры лампы | |||||||||
Частота, кГц | Номинальная мощность, Вт | Напряжение на лампе, В | Ток лампы, А | ||||||
>= 20 | 19,5 | 82 | 0,240 | ||||||
Работа в нормальном режиме и режиме диммирования | |||||||||
Частота, кГц | >= 20 | ||||||||
Ток перехода от работы в нормальном режиме к режиму диммирования ID перехода, А | 0,155 | ||||||||
Рабочий ток лампы ID, А | Не более | 0,255 | |||||||
Ток в любом вводе электродов, А | Не более | 0,270 | |||||||
Квалификация диммирующего ПРА с заменяющими резисторами (примечание 1) | |||||||||
Нагрев электрода рабочим током любой лампы, измеренного с заменяющими резисторами | |||||||||
Наименьшая сумма квадратов токов выводов: SoSmin: для ID30 < ID <= Iперехода (примечание 2) | А2 | X1 | 0,068 | ||||||
А | Y1 | 0,360 | |||||||
Нагрев электрода при конкретных рабочих токах, измеренных на заменяющих резисторах | |||||||||
Рабочий ток | Параметры нагрева | ||||||||
IDmin, А | 0,020 | Наименьшее напряжение на электроде, В | CVDmin | 4,30 | |||||
Резисторы, заменяющие разрядную лампу, Ом | RL10min | 6200 | |||||||
RL10max | 12000 | ||||||||
ID30, А | 0,60 | Наименьшая сумма квадратов токов выводов, А2 | SoS30 | X1 - Y1ID30 | |||||
Резистор, заменяющий разрядную лампу, Ом | RL30 | 2000 | |||||||
ID60, А | 0,120 | Наименьшая сумма квадратов токов выводов, А2 | SoS60 | X1 - Y1ID60 | |||||
Резистор, заменяющий разрядную лампу, Ом | RL60 | 820 | |||||||
Наибольшее напряжение на электроде, В | CVmax | 5,70 | |||||||
Заменяющие электрод резисторы для квалификации диммирующего ПРА | |||||||||
Заменяющий резистор каждого электрода для испытания требований диммирования, Ом | Rиспытания 1 | 26,5 | |||||||
Rиспытания 2 | 29,0 | ||||||||
Rиспытания 3 | 24,0 | ||||||||
Примечания | |||||||||
60901-IEC-3021-2 | |||||||||
(A5:2011), (A6:2014) | |||||||||
ЛАМПА ЛЮМИНЕСЦЕНТНАЯ ОДНОЦОКОЛЬНАЯ Лист с параметрами Квадратная | С. 4 | ||||||||
МСОЛ: FSS-21-E-GR10q | |||||||||
Требования зажигания к электродам предварительного подогрева для времени зажигания 0,4 с < ts < 3,0 с | |||||||||
Наименьшая энергия предварительного подогрева электрода: Emin = Qmin + Pmin ts, Дж | Qmin | Дж | 0,6 | ||||||
Pmin | Дж/с | 0,8 | |||||||
Напряжение на каждом электроде для E (t) < Emin, В | Действующее значение, не более | 11 | |||||||
Заменяющий резистор каждого электрода для проверки минимальных требований к предварительному подогреву электродов, Ом | 18 | ||||||||
Наибольшая энергия предварительного подогрева электрода: Emax = Qmax + Pmax ts, Дж | Qmax | Дж | 1,2 | ||||||
Pmax | Дж/с | 1,6 | |||||||
Заменяющий резистор каждого электрода для проверки максимальных требований к предварительному подогреву электродов, Ом | 25,5 | ||||||||
Напряжение холостого хода на лампе без ВЗУ, В | Напряжение незажигания | t <= ts | Действующее значение, не более | 265 | |||||
Напряжение зажигания | t > ts (+10 °C) | Действующее значение, не менее | 500 | ||||||
t > ts (-15 °C) | 550 | ||||||||
Диапазон заменяющего резистора каждого электрода для проверки требований к напряжению холостого хода, Ом | 18,0 - 54,0 | ||||||||
60901-IEC-3021-1 | |||||||||
(A6:2014) | |||||||||
ОДНОЦОКОЛЬНАЯ Лист с параметрами Квадратная | С. 1 | |||||||||
МСОЛ: FSS-28-E-GR10q | ||||||||||
Номинальная мощность, Вт | Схема | Электрод | Цоколь | |||||||
28 | Внешний стартер | Предварительного подогрева | GR10q | |||||||
Размеры В миллиметрах | ||||||||||
A | B | C | D | E | F | G | ||||
Не более | Не более | Не более | Не более | Не более | Не более | Не менее | Не более | |||
205 | 207 | 33 | 24 | 41 | 49 | 74 | 77 | |||
Цоколь: см. лист 7004-77 IEC 60061-1. | ||||||||||
Характеристики зажигания | ||||||||||
Частота, Гц | Нормируемое напряжение на ПРА, В | Испытательное напряжение (действующее), В | Время зажигания, с | |||||||
50 | 220 | 198 | 10 | |||||||
60 | - | - | - | |||||||
Электрические параметры | ||||||||||
Частота, Гц | Нормируемая мощность, Вт | Напряжение на лампе (действующее), В | Нормируемый ток лампы, А | Нормируемый ток предварительного подогрева, А | ||||||
Нормируемое | Не менее | Не более | ||||||||
50 | 28 | 108 | 98 | 118 | 0,320 | 0,410 | ||||
60 | - | - | - | - | - | - | ||||
Испытательное положение: горизонтальное. | ||||||||||
Характеристики электрода | ||||||||||
Испытательный ток, А | Сопротивление каждого электрода, Ом | |||||||||
Нормируемое | Не менее | Не более | ||||||||
0,27 | 17,5 | 13,1 | 21,9 | |||||||
60901-IEC-3028-2 | ||||||||||
(A5:2011) | ||||||||||
ЛАМПА ЛЮМИНЕСЦЕНТНАЯ ОДНОЦОКОЛЬНАЯ Лист с параметрами Квадратная | С. 2 | |||||||
МСОЛ: FSS-28-E-GR10q | ||||||||
Характеристики ДОИ | ||||||||
Частота, Гц | Номинальная мощность, Вт | Нормируемое напряжение, В | Ток калибровки, А | Отношение напряжения к току, Ом | Коэффициент мощности | |||
50 | 28 | 210 | 0,320 | 480 | 0,10 | |||
60 | 28 | 210 | 0,320 | 485 | 0,075 | |||
Информация для расчета ПРА | ||||||||
Частота, Гц | 50 | 60 | ||||||
Ток предварительного подогрева, А | Не менее | 0,290 | - | |||||
Не более | 0,670 | - | ||||||
Напряжение холостого хода на лампе, В | Действующее значение, не менее | 198 | - | |||||
Пиковое значение, не более | 400 | - | ||||||
Резистор, заменяющий два последовательно соединенных электрода, Ом | 18 | - | ||||||
Напряжение на стартере при работающей лампе, В | Действующее значение, не более | 130 | - | |||||
Рабочий ток лампы, А | Не более | - | ||||||
Информация для расчета стартера | ||||||||
Импульс напряжения, В, не менее | Напряжение неконтактирования, В | Конденсатор для ПРП, пФ | ||||||
Не менее | Не более | |||||||
500 <*> | 130 | 5,0 | 8,0 | |||||
Информация для расчета светильника | ||||||||
Наибольший контур лампы: см. лист 60901-IEC-B030 | ||||||||
-------------------------------- | ||||||||
60901-IEC-3028-2 | ||||||||
(A5:2011) | ||||||||
ЛАМПА ЛЮМИНЕСЦЕНТНАЯ ОДНОЦОКОЛЬНАЯ Лист с параметрами Квадратная | С. 3 | ||||||||
МСОЛ: FSD-28-E-GR10q | |||||||||
Информация для расчета ВЧ ПРА | |||||||||
Характеристики ВЧ ПРА | |||||||||
Частота, кГц | Номинальная мощность, Вт | Нормируемое напряжение, В | Ток калибровки, А | Отношение напряжения к току, Ом | |||||
20 - 26 | 28 | 190 | 0,26 | 365 | |||||
Типичные параметры лампы | |||||||||
Частота, кГц | Номинальная мощность, Вт | Напряжение на лампе, В | Ток лампы, А | ||||||
>= 20 | 24,5 | 95 | 0,260 | ||||||
Работа в нормальном режиме и режиме диммирования | |||||||||
Частота, кГц | >= 20 | ||||||||
Ток перехода от работы в нормальном режиме к режиму диммирования ID перехода, А | 0,215 | ||||||||
Рабочий ток лампы ID, А | Не более | 0,350 | |||||||
Ток в любом вводе электродов, А | Не более | 0,380 | |||||||
Квалификация диммирующего ПРА с заменяющими резисторами (примечание 1) | |||||||||
Нагрев электрода рабочим током любой лампы, измеренного с заменяющими резисторами | |||||||||
Наименьшая сумма квадратов токов выводов: SoSmin: для ID30 < ID <= Iперехода (примечание 2) | А2 | X1 | 0,130 | ||||||
А | Y1 | 0,500 | |||||||
Нагрев электрода при конкретных рабочих токах, измеренных на заменяющих резисторах | |||||||||
Рабочий ток | Параметры нагрева | ||||||||
IDmin, А | 0,020 | Наименьшее напряжение на электроде, В | CVDmin | 4,00 | |||||
Резисторы, заменяющие разрядную лампу, Ом | RL10min | 5100 | |||||||
RL10max | 10000 | ||||||||
ID30, А | 0,60 | Наименьшая сумма квадратов токов выводов, А2 | SoS30 | X1 - Y1ID30 | |||||
Резистор, заменяющий разрядную лампу, Ом | RL30 | 1800 | |||||||
ID60, А | 0,120 | Наименьшая сумма квадратов токов выводов, А2 | SoS60 | X1 - Y1ID60 | |||||
Резистор, заменяющий разрядную лампу, Ом | RL60 | 680 | |||||||
Наибольшее напряжение на электроде, В | CVmax | 5,20 | |||||||
Заменяющие электрод резисторы для квалификации диммирующего ПРА | |||||||||
Заменяющий резистор каждого электрода для испытания требований диммирования, Ом | Rиспытания 1 | 17,5 | |||||||
Rиспытания 2 | 19,0 | ||||||||
Rиспытания 3 | 16,0 | ||||||||
Примечания | |||||||||
60901-IEC-3028-2 | |||||||||
(A5:2011), (A6:2014) | |||||||||
ЛАМПА ЛЮМИНЕСЦЕНТНАЯ ОДНОЦОКОЛЬНАЯ Лист с параметрами Квадратная | С. 4 | ||||||||
МСОЛ: FSD-28-E-GR10q | |||||||||
Требования зажигания к электродам предварительного подогрева для времени зажигания 0,4 с < ts < 3,0 с | |||||||||
Наименьшая энергия предварительного подогрева электрода: Emin = Qmin + Pmin ts, Дж | Qmin | Дж | 1,1 | ||||||
Pmin | Дж/с | 0,9 | |||||||
Напряжение на каждом электроде для E (t) < Emin, В | Действующее значение, не более | 11 | |||||||
Заменяющий резистор каждого электрода для проверки минимальных требований к предварительному подогреву электродов, Ом | 12 | ||||||||
Наибольшая энергия предварительного подогрева электрода: Emax = Qmax + Pmax ts, Дж | Qmax | Дж | 2,2 | ||||||
Pmax | Дж/с | 1,8 | |||||||
Заменяющий резистор каждого электрода для проверки максимальных требований к предварительному подогреву электродов, Ом | 16 | ||||||||
Напряжение холостого хода на лампе без ВЗУ, В | Напряжение незажигания | t <= ts | Действующее значение, не более | 265 | |||||
Напряжение зажигания | t > ts (+10 °C) | Действующее значение, не менее | 550 | ||||||
t > ts (-15 °C) | 650 | ||||||||
Диапазон заменяющего резистора каждого электрода для проверки требований к напряжению холостого хода, Ом | 12,0 - 36,0 | ||||||||
60901-IEC-3028-1 | |||||||||
(A6:2014) | |||||||||
ОДНОЦОКОЛЬНАЯ Лист с параметрами Квадратная | С. 1 | |||||||||
МСОЛ: FSS-38-E-GR10q | ||||||||||
Номинальная мощность, Вт | Схема | Электрод | Цоколь | |||||||
38 | Внешний стартер | Предварительного подогрева | GR10q | |||||||
Размеры В миллиметрах | ||||||||||
A | B | C | D | E | F | G | ||||
Не более | Не более | Не более | Не более | Не более | Не более | Не менее | Не более | |||
205 | 207 | 33 | 24 | 41 | 49 | 74 | 77 | |||
Цоколь: см. лист 7004-77 IEC 60061-1. | ||||||||||
Характеристики зажигания | ||||||||||
Частота, Гц | Нормируемое напряжение на ПРА, В | Испытательное напряжение (действующее), В | Время зажигания, с | |||||||
50 | 220 | 198 | 10 | |||||||
60 | - | - | - | |||||||
Электрические параметры | ||||||||||
Частота, Гц | Нормируемая мощность, Вт | Напряжение на лампе (действующее), В | Нормируемый ток лампы, А | Нормируемый ток предварительного подогрева, А | ||||||
Нормируемое | Не менее | Не более | ||||||||
50 | 38,5 | 110 | 100 | 120 | 0,430 | 0,580 | ||||
60 | - | - | - | - | - | - | ||||
Испытательное положение: горизонтальное. | ||||||||||
Характеристики электрода | ||||||||||
Испытательный ток, А | Сопротивление каждого электрода, Ом | |||||||||
Нормируемое | Не менее | Не более | ||||||||
0,42 | 9,0 | 6,75 | 11,25 | |||||||
60901-IEC-3038-2 | ||||||||||
(A5:2011) | ||||||||||
ЛАМПА ЛЮМИНЕСЦЕНТНАЯ ОДНОЦОКОЛЬНАЯ Лист с параметрами Квадратная | С. 2 | |||||||
МСОЛ: FSS-38-E-GR10q | ||||||||
Характеристики ДОИ | ||||||||
Частота, Гц | Номинальная мощность, Вт | Нормируемое напряжение, В | Ток калибровки, А | Отношение напряжения к току, Ом | Коэффициент мощности | |||
50 | 40 | 220 | 0,430 | 390 | 0,10 | |||
60 | 40 | 220 | 0,430 | 390 | 0,075 | |||
Информация для расчета ПРА | ||||||||
Частота, Гц | 50 | 60 | ||||||
Ток предварительного подогрева, А | Не менее | 0,390 | - | |||||
Не более | 0,780 | - | ||||||
Напряжение холостого хода на лампе, В | Действующее значение, не менее | 198 | - | |||||
Пиковое значение, не более | 400 | - | ||||||
Резистор, заменяющий два последовательно соединенных электрода, Ом | 18 | - | ||||||
Напряжение на стартере при работающей лампе, В | Действующее значение, не более | 130 | - | |||||
Рабочий ток лампы, А | Не более | - | ||||||
Информация для расчета стартера | ||||||||
Импульс напряжения, В, не менее | Напряжение неконтактирования, В | Конденсатор для ПРП, пФ | ||||||
Не менее | Не более | |||||||
500 <*> | 130 | 5,0 | 8,0 | |||||
Информация для расчета светильника | ||||||||
Наибольший контур лампы: см. лист 60901-IEC-B030 | ||||||||
-------------------------------- | ||||||||
60901-IEC-3038-2 | ||||||||
(A5:2011) | ||||||||
ЛАМПА ЛЮМИНЕСЦЕНТНАЯ ОДНОЦОКОЛЬНАЯ Лист с параметрами Квадратная | С. 3 | ||||||||
МСОЛ: FSS-38-E-GR10q | |||||||||
Информация для расчета ВЧ ПРА | |||||||||
Характеристики ВЧ ПРА | |||||||||
Частота, кГц | Номинальная мощность, Вт | Нормируемое напряжение, В | Ток калибровки, А | Отношение напряжения к току, Ом | |||||
20 - 26 | 38 | 192 | 0,36 | 270 | |||||
Типичные параметры лампы | |||||||||
Частота, кГц | Номинальная мощность, Вт | Напряжение на лампе, В | Ток лампы, А | ||||||
>= 20 | 34,5 | 97 | 0,355 | ||||||
Работа в нормальном режиме и режиме диммирования | |||||||||
Частота, кГц | >= 20 | ||||||||
Ток перехода от работы в нормальном режиме к режиму диммирования ID перехода, А | 0,340 | ||||||||
Рабочий ток лампы ID, А | Не более | 0,550 | |||||||
Ток в любом вводе электродов, А | Не более | 0,590 | |||||||
Квалификация диммирующего ПРА с заменяющими резисторами (примечание 1) | |||||||||
Нагрев электрода рабочим током любой лампы, измеренного с заменяющими резисторами | |||||||||
Наименьшая сумма квадратов токов выводов: SoSmin: для ID30 < ID <= Iперехода (примечание 2) | А2 | X1 | 0,320 | ||||||
А | Y1 | 0,780 | |||||||
Нагрев электрода при конкретных рабочих токах, измеренных на заменяющих резисторах | |||||||||
Рабочий ток | Параметры нагрева | ||||||||
IDmin, А | 0,020 | Наименьшее напряжение на электроде, В | CVDmin | 3,30 | |||||
Резисторы, заменяющие разрядную лампу, Ом | RL10min | 2700 | |||||||
RL10max | 5100 | ||||||||
ID30, А | 0,60 | Наименьшая сумма квадратов токов выводов, А2 | SoS30 | X1 - Y1ID30 | |||||
Резистор, заменяющий разрядную лампу, Ом | RL30 | 1000 | |||||||
ID60, А | 0,120 | Наименьшая сумма квадратов токов выводов, А2 | SoS60 | X1 - Y1ID60 | |||||
Резистор, заменяющий разрядную лампу, Ом | RL60 | 430 | |||||||
Наибольшее напряжение на электроде, В | CVmax | 4,40 | |||||||
Заменяющие электрод резисторы для квалификации диммирующего ПРА | |||||||||
Заменяющий резистор каждого электрода для испытания требований диммирования, Ом | Rиспытания 1 | 9,0 | |||||||
Rиспытания 2 | 10,0 | ||||||||
Rиспытания 3 | 8,0 | ||||||||
Примечания | |||||||||
60901-IEC-3038-2 | |||||||||
(A5:2011), (A6:2014) | |||||||||
ЛАМПА ЛЮМИНЕСЦЕНТНАЯ ОДНОЦОКОЛЬНАЯ Лист с параметрами Квадратная | С. 4 | ||||||||
МСОЛ: FSS-38-E-GR10q | |||||||||
Требования зажигания к электродам предварительного подогрева для времени зажигания 0,4 с < ts < 3,0 с | |||||||||
Наименьшая энергия предварительного подогрева электрода: Emin = Qmin + Pmin ts, Дж | Qmin | Дж | 2,0 | ||||||
Pmin | Дж/с | 1,0 | |||||||
Напряжение на каждом электроде для E (t) < Emin, В | Действующее значение, не более | 11 | |||||||
Заменяющий резистор каждого электрода для проверки минимальных требований к предварительному подогреву электродов, Ом | 5,6 | ||||||||
Наибольшая энергия предварительного подогрева электрода: Emax = Qmax + Pmax ts, Дж | Qmax | Дж | 4,0 | ||||||
Pmax | Дж/с | 2,0 | |||||||
Заменяющий резистор каждого электрода для проверки максимальных требований к предварительному подогреву электродов, Ом | 8,2 | ||||||||
Напряжение холостого хода на лампе без ВЗУ, В | Напряжение незажигания | t <= ts | Действующее значение, не более | 265 | |||||
Напряжение зажигания | t > ts (+10 °C) | Действующее значение, не менее | 550 | ||||||
t > ts (-15 °C) | 560 | ||||||||
Диапазон заменяющего резистора каждого электрода для проверки требований к напряжению холостого хода, Ом | 5,6 - 16,8 | ||||||||
60901-IEC-3038-1 | |||||||||
(A6:2014) | |||||||||
ОДНОЦОКОЛЬНАЯ Лист с параметрами Прямоугольная | С. 1 | |||||||||||
МСОЛ: FSS-18-E-2G10 | ||||||||||||
Номинальная мощность, Вт | Схема | Электрод | Цоколь | |||||||||
18 | Внешний стартер | Предварительного подогрева | 2G10 | |||||||||
Размеры В миллиметрах | ||||||||||||
A, не более | B, не более | C, не более | ||||||||||
79 | 18 | 122 | ||||||||||
Цоколь: см. лист 7004-118 IEC 60061-1. | ||||||||||||
Характеристики зажигания | ||||||||||||
Частота, Гц | Нормируемое напряжение на ПРА, В | Испытательное напряжение (действующее), В | Время зажигания, с | |||||||||
50 | 110 | 103,5 | 10 | |||||||||
60 | <*> | <*> | 10 | |||||||||
Электрические параметры | ||||||||||||
Частота, Гц | Нормируемая мощность, Вт | Напряжение на лампе (действующее), В | Нормируемый ток лампы, А | Нормируемый ток предварительного подогрева, А | ||||||||
Нормируемое | Не менее | Не более | ||||||||||
50 | 18 | 58 | 52 | 64 | 0,375 | 0,540 | ||||||
60 | <*> | <*> | <*> | <*> | <*> | <*> | ||||||
Испытательное положение: вертикальное, цоколем вверх. Примечание - Для уменьшения времени испытания по соглашению между изготовителем и испытательным органом могут быть использованы другие положения. В спорном случае вертикальное положение должно быть базовым. | ||||||||||||
Характеристики электрода | ||||||||||||
Испытательный ток, А | Сопротивление каждого электрода, Ом | |||||||||||
Нормируемое | Не менее | Не более | ||||||||||
0,340 | 12 | 9 | 15 | |||||||||
60901-IEC-3118-2 | ||||||||||||
ЛАМПА ЛЮМИНЕСЦЕНТНАЯ ОДНОЦОКОЛЬНАЯ Лист с параметрами Прямоугольная | С. 2 | |||||||
МСОЛ: FSS-18-E-2G10 | ||||||||
Характеристики ДОИ | ||||||||
Частота, Гц | Номинальная мощность, Вт | Нормируемое напряжение, В | Ток калибровки, А | Отношение напряжения к току, Ом | Коэффициент мощности | |||
50 | 20 | 127 | 0,370 | 270 | 0,12 | |||
60 | 18 | 118 | 0,380 | 240 | 0,075 | |||
Информация для расчета ПРА | ||||||||
Частота, Гц | 50 | 60 | ||||||
Ток предварительного подогрева, А | Не менее | 0,315 | ||||||
Не более | 0,670 | |||||||
Напряжение холостого хода на лампе, В | Действующее значение, не менее | 103,5 | ||||||
Пиковое значение, не более | 400 | |||||||
Резистор, заменяющий два последовательно соединенных электрода, Ом | 50 | |||||||
Напряжение на стартере при работающей лампе, В | Действующее значение, не более | 68 | ||||||
Рабочий ток лампы, А | Не более | 0,425 | ||||||
Информация для расчета стартера | ||||||||
Импульс напряжения, В, не менее | Напряжение неконтактирования, В | Конденсатор для ПРП, пФ | ||||||
Не менее | Не более | |||||||
800 | 70 | |||||||
Информация для расчета светильника | ||||||||
Наибольший контур лампы: см. лист 60901-IEC-B110 с размером H, мм | 122 | |||||||
-------------------------------- | ||||||||
60901-IEC-3118-2 | ||||||||
(A3:2004) | ||||||||
ЛАМПА ЛЮМИНЕСЦЕНТНАЯ ОДНОЦОКОЛЬНАЯ Лист с параметрами Прямоугольная | С. 3 | ||||||||
МСОЛ: FSS-18-E-2G10 | |||||||||
Информация для расчета ВЧ ПРА | |||||||||
Характеристики ВЧ ПРА | |||||||||
Частота, кГц | Номинальная мощность, Вт | Нормируемое напряжение, В | Ток калибровки, А | Отношение напряжения к току, Ом | |||||
20 - 26 | 18 | 100 | 0,320 | 155 | |||||
Типичные параметры лампы | |||||||||
Частота, кГц | Номинальная мощность, Вт | Напряжение на лампе, В | Ток лампы, А | ||||||
>= 20 | 16 | 50 | 0,320 | ||||||
Работа в нормальном режиме и режиме диммирования | |||||||||
Частота, кГц | >= 20 | ||||||||
Ток перехода от работы в нормальном режиме к режиму диммирования ID перехода, А | 0,270 | ||||||||
Рабочий ток лампы ID, А | Не более | 0,430 | |||||||
Ток в любом вводе электродов, А | Не более | 0,475 | |||||||
Квалификация диммирующего ПРА с заменяющими резисторами (примечание 1) | |||||||||
Нагрев электрода рабочим током любой лампы, измеренного с заменяющими резисторами | |||||||||
Наименьшая сумма квадратов токов выводов: SoSmin: для ID30 < ID <= Iперехода (примечание 2) | А2 | X1 | 0,210 | ||||||
А | Y1 | 0,630 | |||||||
Нагрев электрода при конкретных рабочих токах, измеренных на заменяющих резисторах | |||||||||
Рабочий ток | Параметры нагрева | ||||||||
IDmin, А | 0,035 | Наименьшее напряжение на электроде, В | CVDmin | 3,60 | |||||
Резисторы, заменяющие разрядную лампу, Ом | RL10min | 1800 | |||||||
RL10max | 3300 | ||||||||
ID30, А | 0,100 | Наименьшая сумма квадратов токов выводов, А2 | SoS30 | X1 - Y1ID30 | |||||
Резистор, заменяющий разрядную лампу, Ом | RL30 | 620 | |||||||
ID60, А | 0,200 | Наименьшая сумма квадратов токов выводов, А2 | SoS60 | X1 - Y1ID60 | |||||
Резистор, заменяющий разрядную лампу, Ом | RL60 | 270 | |||||||
Наибольшее напряжение на электроде, В | CVmax | 4,70 | |||||||
Заменяющие электрод резисторы для квалификации диммирующего ПРА | |||||||||
Заменяющий резистор каждого электрода для испытания требований диммирования, Ом | Rиспытания 1 | 12,0 | |||||||
Rиспытания 2 | 13,0 | ||||||||
Rиспытания 3 | 11,0 | ||||||||
Примечания | |||||||||
60901-IEC-3118-4 | |||||||||
(A6:2014) | |||||||||
ЛАМПА ЛЮМИНЕСЦЕНТНАЯ ОДНОЦОКОЛЬНАЯ Лист с параметрами Прямоугольная | С. 4 | ||||||||
МСОЛ: FSS-18-E-2G10 | |||||||||
Требования зажигания к электродам предварительного подогрева для времени зажигания 0,4 с < ts < 3,0 с | |||||||||
Наименьшая энергия предварительного подогрева электрода: Emin = Qmin + Pmin ts, Дж | Qmin | Дж | 1,5 | ||||||
Pmin | Дж/с | 0,9 | |||||||
Напряжение на каждом электроде для E (t) < Emin, В | Действующее значение, не более | 11 | |||||||
Заменяющий резистор каждого электрода для проверки минимальных требований к предварительному подогреву электродов, Ом | 8 | ||||||||
Наибольшая энергия предварительного подогрева электрода: Emax = Qmax + Pmax ts, Дж | Qmax | Дж | 3,0 | ||||||
Pmax | Дж/с | 1,8 | |||||||
Заменяющий резистор каждого электрода для проверки максимальных требований к предварительному подогреву электродов, Ом | 11 | ||||||||
Напряжение холостого хода на лампе без ВЗУ, В | Напряжение незажигания | t <= ts | Действующее значение, не более | 150 | |||||
Напряжение зажигания | t > ts (+10 °C) | Действующее значение, не менее | 350 | ||||||
t > ts (-15 °C) | |||||||||
Диапазон заменяющего резистора каждого электрода для проверки требований к напряжению холостого хода, Ом | 8,0 - 24,0 | ||||||||
-------------------------------- | |||||||||
60901-IEC-3118-1 | |||||||||
(A6:2014) | |||||||||
ОДНОЦОКОЛЬНАЯ Лист с параметрами Прямоугольная | С. 1 | |||||||||||
МСОЛ: FSS-24-E-2G10 | ||||||||||||
Номинальная мощность, Вт | Схема | Электрод | Цоколь | |||||||||
24 | Внешний стартер | Предварительного подогрева | 2G10 | |||||||||
Размеры В миллиметрах | ||||||||||||
A, не более | B, не более | C, не более | ||||||||||
79 | 18 | 165 | ||||||||||
Цоколь: см. лист 7004-118 IEC 60061-1. | ||||||||||||
Характеристики зажигания | ||||||||||||
Частота, Гц | Нормируемое напряжение на ПРА, В | Испытательное напряжение (действующее), В | Время зажигания, с | |||||||||
50 | 230 | 198 | 10 | |||||||||
60 | <*> | <*> | 10 | |||||||||
Электрические параметры | ||||||||||||
Частота, Гц | Нормируемая мощность, Вт | Напряжение на лампе (действующее), В | Нормируемый ток лампы, А | Нормируемый ток предварительного подогрева, А | ||||||||
Нормируемое | Не менее | Не более | ||||||||||
50 | 24 | 87 | 77 | 97 | 0,345 | 0,510 | ||||||
60 | <*> | <*> | <*> | <*> | <*> | <*> | ||||||
Испытательное положение: вертикальное, цоколем вверх. Примечание - Для уменьшения времени испытания по соглашению между изготовителем и испытательным органом могут быть использованы другие положения. В спорном случае вертикальное положение должно быть базовым. | ||||||||||||
Характеристики электрода | ||||||||||||
Испытательный ток, А | Сопротивление каждого электрода, Ом | |||||||||||
Нормируемое | Не менее | Не более | ||||||||||
0,340 | 12 | 9 | 15 | |||||||||
60901-IEC-3124-2 | ||||||||||||
ЛАМПА ЛЮМИНЕСЦЕНТНАЯ ОДНОЦОКОЛЬНАЯ Лист с параметрами Прямоугольная | С. 2 | |||||||
МСОЛ: FSS-24-E-2G10 | ||||||||
Характеристики ДОИ | ||||||||
Частота, Гц | Номинальная мощность, Вт | Нормируемое напряжение, В | Ток калибровки, А | Отношение напряжения к току, Ом | Коэффициент мощности | |||
50 | 24 | 220 | 0,340 | 540 | 0,10 | |||
60 | 24 | 236 | 0,340 | 605 | 0,075 | |||
Информация для расчета ПРА | ||||||||
Частота, Гц | 50 | 60 | ||||||
Ток предварительного подогрева, А | Не менее | 0,315 | ||||||
Не более | 0,670 | |||||||
Напряжение холостого хода на лампе, В | Действующее значение, не менее | 198 | ||||||
Пиковое значение, не более | 400 | |||||||
Резистор, заменяющий два последовательно соединенных электрода, Ом | 50 | |||||||
Напряжение на стартере при работающей лампе, В | Действующее значение, не более | 128 | ||||||
Рабочий ток лампы, А | Не более | 0,425 | ||||||
Информация для расчета стартера | ||||||||
Импульс напряжения, В, не менее | Напряжение неконтактирования, В | Конденсатор для ПРП, пФ | ||||||
Не менее | Не более | |||||||
800 | 140 | |||||||
Информация для расчета светильника | ||||||||
Наибольший контур лампы: см. лист 60901-IEC-B110 с размером H, мм | 165 | |||||||
-------------------------------- | ||||||||
60901-IEC-3124-2 | ||||||||
(A3:2004) | ||||||||
ЛАМПА ЛЮМИНЕСЦЕНТНАЯ ОДНОЦОКОЛЬНАЯ Лист с параметрами Прямоугольная | С. 3 | ||||||||
МСОЛ: FSS-24-E-2G10 | |||||||||
Информация для расчета ВЧ ПРА | |||||||||
Характеристики ВЧ ПРА | |||||||||
Частота, кГц | Номинальная мощность, Вт | Нормируемое напряжение, В | Ток калибровки, А | Отношение напряжения к току, Ом | |||||
20 - 26 | 24 | 150 | 0,300 | 250 | |||||
Типичные параметры лампы | |||||||||
Частота, кГц | Номинальная мощность, Вт | Напряжение на лампе, В | Ток лампы, А | ||||||
>= 20 | 22 | 75 | 0,300 | ||||||
Работа в нормальном режиме и режиме диммирования | |||||||||
Частота, кГц | >= 20 | ||||||||
Ток перехода от работы в нормальном режиме к режиму диммирования ID перехода, А | 0,270 | ||||||||
Рабочий ток лампы ID, А | Не более | 0,430 | |||||||
Ток в любом вводе электродов, А | Не более | 0,475 | |||||||
Квалификация диммирующего ПРА с заменяющими резисторами (примечание 1) | |||||||||
Нагрев электрода рабочим током любой лампы, измеренного с заменяющими резисторами | |||||||||
Наименьшая сумма квадратов токов выводов: SoSmin: для ID30 < ID <= Iперехода (примечание 2) | А2 | X1 | 0,210 | ||||||
А | Y1 | 0,630 | |||||||
Нагрев электрода при конкретных рабочих токах, измеренных на заменяющих резисторах | |||||||||
Рабочий ток | Параметры нагрева | ||||||||
IDmin, А | 0,035 | Наименьшее напряжение на электроде, В | CVDmin | 3,60 | |||||
Резисторы, заменяющие разрядную лампу, Ом | RL10min | 2700 | |||||||
RL10max | 4300 | ||||||||
ID30, А | 0,100 | Наименьшая сумма квадратов токов выводов, А2 | SoS30 | X1 - Y1ID30 | |||||
Резистор, заменяющий разрядную лампу, Ом | RL30 | 1000 | |||||||
ID60, А | 0,200 | Наименьшая сумма квадратов токов выводов, А2 | SoS60 | X1 - Y1ID60 | |||||
Резистор, заменяющий разрядную лампу, Ом | RL60 | 430 | |||||||
Наибольшее напряжение на электроде, В | CVmax | 4,70 | |||||||
Заменяющие электрод резисторы для квалификации диммирующего ПРА | |||||||||
Заменяющий резистор каждого электрода для испытания требований диммирования, Ом | Rиспытания 1 | 12,0 | |||||||
Rиспытания 2 | 13,0 | ||||||||
Rиспытания 3 | 11,0 | ||||||||
Примечания | |||||||||
60901-IEC-3124-4 | |||||||||
(A6:2014) | |||||||||
ЛАМПА ЛЮМИНЕСЦЕНТНАЯ ОДНОЦОКОЛЬНАЯ Лист с параметрами Прямоугольная | С. 4 | ||||||||
МСОЛ: FSS-24-E-2G10 | |||||||||
Требования зажигания к электродам предварительного подогрева для времени зажигания 0,4 с < ts < 3,0 с | |||||||||
Наименьшая энергия предварительного подогрева электрода: Emin = Qmin + Pmin ts, Дж | Qmin | Дж | 1,5 | ||||||
Pmin | Дж/с | 0,9 | |||||||
Напряжение на каждом электроде для E (t) < Emin, В | Действующее значение, не более | 11 | |||||||
Заменяющий резистор каждого электрода для проверки минимальных требований к предварительному подогреву электродов, Ом | 8 | ||||||||
Наибольшая энергия предварительного подогрева электрода: Emax = Qmax + Pmax ts, Дж | Qmax | Дж | 3,0 | ||||||
Pmax | Дж/с | 1,8 | |||||||
Заменяющий резистор каждого электрода для проверки максимальных требований к предварительному подогреву электродов, Ом | 11 | ||||||||
Напряжение холостого хода на лампе без ВЗУ, В | Напряжение незажигания | t <= ts | Действующее значение, не более | 170 | |||||
Напряжение зажигания | t > ts (+10 °C) | Действующее значение, не менее | 400 | ||||||
t > ts (-15 °C) | |||||||||
Диапазон заменяющего резистора каждого электрода для проверки требований к напряжению холостого хода, Ом | 8,0 - 24,0 | ||||||||
-------------------------------- | |||||||||
60901-IEC-3124-1 | |||||||||
(A6:2014) | |||||||||
ОДНОЦОКОЛЬНАЯ Лист с параметрами Прямоугольная | С. 1 | |||||||||||
МСОЛ: FSS-36-E-2G10 | ||||||||||||
Номинальная мощность, Вт | Схема | Электрод | Цоколь | |||||||||
36 | Внешний стартер | Предварительного подогрева | 2G10 | |||||||||
Размеры В миллиметрах | ||||||||||||
A, не более | B, не более | C, не более | ||||||||||
79 | 18 | 217 | ||||||||||
Цоколь: см. лист 7004-118 IEC 60061-1. | ||||||||||||
Характеристики зажигания | ||||||||||||
Частота, Гц | Нормируемое напряжение на ПРА, В | Испытательное напряжение (действующее), В | Время зажигания, с | |||||||||
50 | 230 | 198 | 10 | |||||||||
60 | 10 | |||||||||||
Электрические параметры | ||||||||||||
Частота, Гц | Нормируемая мощность, Вт | Напряжение на лампе (действующее), В | Нормируемый ток лампы, А | Нормируемый ток предварительного подогрева, А | ||||||||
Нормируемое | Не менее | Не более | ||||||||||
50 | 36 | 106 | 96 | 116 | 0,435 | 0,650 | ||||||
60 | ||||||||||||
Испытательное положение: вертикальное, цоколем вверх. Примечание - Для уменьшения времени испытания по соглашению между изготовителем и испытательным органом могут быть использованы другие положения. В спорном случае вертикальное положение должно быть базовым. | ||||||||||||
Характеристики электрода | ||||||||||||
Испытательный ток, А | Сопротивление каждого электрода, Ом | |||||||||||
Нормируемое | Не менее | Не более | ||||||||||
0,385 | 11 | 8,2 | 13,8 | |||||||||
-------------------------------- | ||||||||||||
60901-IEC-3136-2 | ||||||||||||
ЛАМПА ЛЮМИНЕСЦЕНТНАЯ ОДНОЦОКОЛЬНАЯ Лист с параметрами Прямоугольная | С. 2 | |||||||
МСОЛ: FSS-36-E-2G10 | ||||||||
Характеристики ДОИ | ||||||||
Частота, Гц | Номинальная мощность, Вт | Нормируемое напряжение, В | Ток калибровки, А | Отношение напряжения к току, Ом | Коэффициент мощности | |||
50 | 40 | 220 | 0,430 | 390 | 0,10 | |||
60 | 36 | 236 | 0,430 | 439 | 0,075 | |||
Информация для расчета ПРА | ||||||||
Частота, Гц | 50 | 60 | ||||||
Ток предварительного подогрева, А | Не менее | 0,365 | ||||||
Не более | 0,775 | |||||||
Напряжение холостого хода на лампе, В | Действующее значение, не менее | 198 | ||||||
Пиковое значение, не более | 400 | |||||||
Резистор, заменяющий два последовательно соединенных электрода, Ом | 40 | |||||||
Напряжение на стартере при работающей лампе, В | Действующее значение, не более | 128 | ||||||
Рабочий ток лампы, А | Не более | 0,500 | ||||||
Информация для расчета стартера | ||||||||
Импульс напряжения, В, не менее | Напряжение неконтактирования, В | Конденсатор для ПРП, пФ | ||||||
Не менее | Не более | |||||||
800 | 140 | |||||||
Информация для расчета светильника | ||||||||
Наибольший контур лампы: см. лист 60901-IEC-B110 с размером H, мм | 217 | |||||||
-------------------------------- | ||||||||
60901-IEC-3136-2 | ||||||||
(A3:2004) | ||||||||
ЛАМПА ЛЮМИНЕСЦЕНТНАЯ ОДНОЦОКОЛЬНАЯ Лист с параметрами Прямоугольная | С. 3 | ||||||||
МСОЛ: FSS-36-E-2G10 | |||||||||
Информация для расчета ВЧ ПРА | |||||||||
Характеристики ВЧ ПРА | |||||||||
Частота, кГц | Номинальная мощность, Вт | Нормируемое напряжение, В | Ток калибровки, А | Отношение напряжения к току, Ом | |||||
20 - 26 | 36 | 180 | 0,360 | 250 | |||||
Типичные параметры лампы | |||||||||
Частота, кГц | Номинальная мощность, Вт | Напряжение на лампе, В | Ток лампы, А | ||||||
>= 20 | 32 | 90 | 0,360 | ||||||
Работа в нормальном режиме и режиме диммирования | |||||||||
Частота, кГц | >= 20 | ||||||||
Ток перехода от работы в нормальном режиме к режиму диммирования ID перехода, А | 0,310 | ||||||||
Рабочий ток лампы ID, А | Не более | 0,500 | |||||||
Ток в любом вводе электродов, А | Не более | 0,540 | |||||||
Квалификация диммирующего ПРА с заменяющими резисторами (примечание 1) | |||||||||
Нагрев электрода рабочим током любой лампы, измеренного с заменяющими резисторами | |||||||||
Наименьшая сумма квадратов токов выводов: SoSmin: для ID30 < ID <= Iперехода (примечание 2) | А2 | X1 | 0,270 | ||||||
А | Y1 | 0,710 | |||||||
Нагрев электрода при конкретных рабочих токах, измеренных на заменяющих резисторах | |||||||||
Рабочий ток | Параметры нагрева | ||||||||
IDmin, А | 0,035 | Наименьшее напряжение на электроде, В | CVDmin | 3,55 | |||||
Резисторы, заменяющие разрядную лампу, Ом | RL10min | 3900 | |||||||
RL10max | 6200 | ||||||||
ID30, А | 0,100 | Наименьшая сумма квадратов токов выводов, А2 | SoS30 | X1 - Y1ID30 | |||||
Резистор, заменяющий разрядную лампу, Ом | RL30 | 1300 | |||||||
ID60, А | 0,200 | Наименьшая сумма квадратов токов выводов, А2 | SoS60 | X1 - Y1ID60 | |||||
Резистор, заменяющий разрядную лампу, Ом | RL60 | 560 | |||||||
Наибольшее напряжение на электроде, В | CVmax | 4,60 | |||||||
Заменяющие электрод резисторы для квалификации диммирующего ПРА | |||||||||
Заменяющий резистор каждого электрода для испытания требований диммирования, Ом | Rиспытания 1 | 11,0 | |||||||
Rиспытания 2 | 12,0 | ||||||||
Rиспытания 3 | 10,0 | ||||||||
Примечания | |||||||||
60901-IEC-3136-4 | |||||||||
(A6:2014) | |||||||||
ЛАМПА ЛЮМИНЕСЦЕНТНАЯ ОДНОЦОКОЛЬНАЯ Лист с параметрами Прямоугольная | С. 4 | ||||||||
МСОЛ: FSS-36-E-2G10 | |||||||||
Требования зажигания к электродам предварительного подогрева для времени зажигания 0,4 с < ts < 3,0 с | |||||||||
Наименьшая энергия предварительного подогрева электрода: Emin = Qmin + Pmin ts, Дж | Qmin | Дж | 1,6 | ||||||
Pmin | Дж/с | 1,0 | |||||||
Напряжение на каждом электроде для E (t) < Emin, В | Действующее значение, не более | 11 | |||||||
Заменяющий резистор каждого электрода для проверки минимальных требований к предварительному подогреву электродов, Ом | 7 | ||||||||
Наибольшая энергия предварительного подогрева электрода: Emax = Qmax + Pmax ts, Дж | Qmax | Дж | 3,2 | ||||||
Pmax | Дж/с | 2,0 | |||||||
Заменяющий резистор каждого электрода для проверки максимальных требований к предварительному подогреву электродов, Ом | 9 | ||||||||
Напряжение холостого хода на лампе без ВЗУ, В | Напряжение незажигания | t <= ts | Действующее значение, не более | 190 | |||||
Напряжение зажигания | t > ts (+10 °C) | Действующее значение, не менее | 420 | ||||||
t > ts (-15 °C) | |||||||||
Диапазон заменяющего резистора каждого электрода для проверки требований к напряжению холостого хода, Ом | 7,0 - 21,0 | ||||||||
-------------------------------- | |||||||||
60901-IEC-3136-1 | |||||||||
(A6:2014) | |||||||||
ОДНОЦОКОЛЬНАЯ Лист с параметрами Кольцевая | С. 1 | |||||||||
МСОЛ: FSC-22-E-G10q-29/200 | ||||||||||
Номинальная мощность, Вт | Схема | Электрод | Цоколь | |||||||
22 | Внешний стартер | Предварительного подогрева | G10q | |||||||
Размеры В миллиметрах | ||||||||||
A | B | C и D | D1 | |||||||
Не менее | Не более | Не менее | Не более | Не менее | Не более | Не менее | Не более | |||
149,1 | 155,6 | 147,6 | 157,2 | 203,2 | 215,9 | 26,2 | 30,9 | |||
Цоколь: см. лист 7004-54 IEC 60061-1. | ||||||||||
Характеристики зажигания | ||||||||||
Частота, Гц | Нормируемое напряжение на ПРА, В | Испытательное напряжение (действующее), В | Время зажигания, с | |||||||
50 | 110 | 103,5 | 10 | |||||||
60 | 120 | 103,5 | 10 | |||||||
Электрические параметры | ||||||||||
Частота, Гц | Нормируемая мощность, Вт | Напряжение на лампе (действующее), В | Нормируемый ток лампы, А | Нормируемый ток предварительного подогрева, А | ||||||
Нормируемое | Не менее | Не более | ||||||||
50 | 22 | 62 | 55 | 69 | 0,400 | 0,600 | ||||
60 | 21,5 | 62 | 55 | 69 | 0,370 | 0,600 | ||||
Испытательное положение: горизонтальное. | ||||||||||
60901-IEC-3222-2 | ||||||||||
(A3:2004) | ||||||||||
ЛАМПА ЛЮМИНЕСЦЕНТНАЯ ОДНОЦОКОЛЬНАЯ Лист с параметрами Кольцевая | С. 2 | |||||||
МСОЛ: FSC-22-E-G10q-29/200 | ||||||||
Характеристики ДОИ | ||||||||
Частота, Гц | Номинальная мощность, Вт | Нормируемое напряжение, В | Ток калибровки, А | Отношение напряжения к току, Ом | Коэффициент мощности | |||
50 | 22 | 127 | 0,400 | 240 | 0,12 | |||
60 | 22 | 236 | 0,370 | 575 | 0,075 | |||
Информация для расчета ПРА | ||||||||
Частота, Гц | 50 | 60 | ||||||
Ток предварительного подогрева, А | Не менее | 0,360 | 0,360 | |||||
Не более | 0,840 | 0,840 | ||||||
Напряжение холостого хода на лампе, В | Действующее значение, не менее | 103,5 | 103,5 | |||||
Пиковое значение, не более | 400 | 400 | ||||||
Резистор, заменяющий два последовательно соединенных электрода, Ом | 40 | 40 | ||||||
Напряжение на стартере при работающей лампе, В | Действующее значение, не более | 70 | 70 | |||||
Рабочий ток лампы, А | Не более | |||||||
Информация для расчета стартера | ||||||||
Импульс напряжения, В, не менее | Напряжение неконтактирования, В | Конденсатор для ПРП, пФ | ||||||
Не менее | Не более | |||||||
250 | 70 | |||||||
-------------------------------- | ||||||||
60901-IEC-3222-2 | ||||||||
(A3:2004) | ||||||||
ОДНОЦОКОЛЬНАЯ Лист с параметрами Кольцевая | С. 1 | |||||||||
МСОЛ: FSC-32-E-G10q-29/300 | ||||||||||
Номинальная мощность, Вт | Схема | Электрод | Цоколь | |||||||
32 | Внешний стартер | Предварительного подогрева | G10q | |||||||
Размеры В миллиметрах | ||||||||||
A | B | C и D | D1 | |||||||
Не менее | Не более | Не менее | Не более | Не менее | Не более | Не менее | Не более | |||
239,7 | 246,1 | 236,5 | 246,1 | 298,5 | 304,8 | 26,2 | 30,9 | |||
Цоколь: см. лист 7004-54 IEC 60061-1. | ||||||||||
Характеристики зажигания | ||||||||||
Частота, Гц | Нормируемое напряжение на ПРА, В | Испытательное напряжение (действующее), В | Время зажигания, с | |||||||
50 | 220 | 198 | 10 | |||||||
60 | 120/240 | 132 | 10 | |||||||
Электрические параметры | ||||||||||
Частота, Гц | Нормируемая мощность, Вт | Напряжение на лампе (действующее), В | Нормируемый ток лампы, А | Нормируемый ток предварительного подогрева, А | ||||||
Нормируемое | Не менее | Не более | ||||||||
50 | 32 | 84 | 74 | 94 | 0,450 | 0,675 | ||||
60 | 31 | 84 | 74 | 94 | 0,430 | 0,650 | ||||
Испытательное положение: горизонтальное. | ||||||||||
60901-IEC-3232-2 | ||||||||||
(A3:2004) | ||||||||||
ЛАМПА ЛЮМИНЕСЦЕНТНАЯ ОДНОЦОКОЛЬНАЯ Лист с параметрами Кольцевая | С. 2 | |||||||
МСОЛ: FSC-32-E-G10q-29/300 | ||||||||
Характеристики ДОИ | ||||||||
Частота, Гц | Номинальная мощность, Вт | Нормируемое напряжение, В | Ток калибровки, А | Отношение напряжения к току, Ом | Коэффициент мощности | |||
50 | 32 | 220 | 0,450 | 415 | 0,10 | |||
60 | 32 | 236 | 0,425 | 470 | 0,075 | |||
Информация для расчета ПРА | ||||||||
Частота, Гц | 50 | 60 | ||||||
Ток предварительного подогрева, А | Не менее | 0,405 | 0,405 | |||||
Не более | 0,945 | 0,945 | ||||||
Напряжение холостого хода на лампе, В | Действующее значение, не менее | 198 | 198 | |||||
Пиковое значение, не более | 400 | 400 | ||||||
Резистор, заменяющий два последовательно соединенных электрода, Ом | 40 | 40 | ||||||
Напряжение на стартере при работающей лампе, В | Действующее значение, не более | 128 | 95 | |||||
Рабочий ток лампы, А | Не более | |||||||
Информация для расчета стартера | ||||||||
Импульс напряжения, В, не менее | Напряжение неконтактирования, В | Конденсатор для ПРП, пФ | ||||||
Не менее | Не более | |||||||
400 | 140 | |||||||
-------------------------------- | ||||||||
60901-IEC-3232-2 | ||||||||
(A3:2004) | ||||||||
ОДНОЦОКОЛЬНАЯ Лист с параметрами Кольцевая | С. 1 | |||||||||
МСОЛ: FSC-40-E-G10q-29/400 | ||||||||||
Номинальная мощность, Вт | Схема | Электрод | Цоколь | |||||||
40 | Внешний стартер | Предварительного подогрева | G10q | |||||||
Размеры В миллиметрах | ||||||||||
A | B | C и D | D1 | |||||||
Не менее | Не более | Не менее | Не более | Не менее | Не более | Не менее | Не более | |||
341,3 | 347,7 | 338,1 | 347,7 | 393,7 | 406,4 | 26,2 | 30,9 | |||
Цоколь: см. лист 7004-54 IEC 60061-1. | ||||||||||
Характеристики зажигания | ||||||||||
Частота, Гц | Нормируемое напряжение на ПРА, В | Испытательное напряжение (действующее), В | Время зажигания, с | |||||||
50 | 220 | 198 | 10 | |||||||
60 | - | - | - | |||||||
Электрические параметры | ||||||||||
Частота, Гц | Нормируемая мощность, Вт | Напряжение на лампе (действующее), В | Нормируемый ток лампы, А | Нормируемый ток предварительного подогрева, А | ||||||
Нормируемое | Не менее | Не более | ||||||||
50 | 40 | 115 | 105 | 125 | 0,415 | 0,630 | ||||
60 | - | - | - | - | - | - | ||||
Испытательное положение: горизонтальное. | ||||||||||
60901-IEC-3240-2 | ||||||||||
(A3:2004) | ||||||||||
ЛАМПА ЛЮМИНЕСЦЕНТНАЯ ОДНОЦОКОЛЬНАЯ Лист с параметрами Кольцевая | С. 2 | |||||||
МСОЛ: FSC-40-E-G10q-29/400 | ||||||||
Характеристики ДОИ | ||||||||
Частота, Гц | Номинальная мощность, Вт | Нормируемое напряжение, В | Ток калибровки, А | Отношение напряжения к току, Ом | Коэффициент мощности | |||
50 | 40 | 220 | 0,430 | 390 | 0,10 | |||
60 | - | - | - | - | - | |||
Информация для расчета ПРА | ||||||||
Частота, Гц | 50 | 60 | ||||||
Ток предварительного подогрева, А | Не менее | 0,378 | - | |||||
Не более | 0,882 | - | ||||||
Напряжение холостого хода на лампе, В | Действующее значение, не менее | 198 | - | |||||
Пиковое значение, не более | 400 | - | ||||||
Резистор, заменяющий два последовательно соединенных электрода, Ом | 40 | - | ||||||
Напряжение на стартере при работающей лампе, В | Действующее значение, не более | 128 | - | |||||
Рабочий ток лампы, А | Не более | - | ||||||
Информация для расчета стартера | ||||||||
Импульс напряжения, В, не менее | Напряжение неконтактирования, В | Конденсатор для ПРП, пФ | ||||||
Не менее | Не более | |||||||
400 | 140 | |||||||
-------------------------------- | ||||||||
60901-IEC-3240-2 | ||||||||
(A3:2004) | ||||||||
ОДНОЦОКОЛЬНАЯ Лист с параметрами Многоканальная | С. 1 | |||||||||||
МСОЛ: FSM-13-E-GX24q=1 | ||||||||||||
Номинальная мощность, Вт | Схема | Электрод | Цоколь | |||||||||
13 | Внешний стартер | Предварительного подогрева | GX24q-1 | |||||||||
Размеры В миллиметрах | ||||||||||||
A, не более | B, не более | C, не более | ||||||||||
52 | 52 | 90 | ||||||||||
Цоколь: см. лист 7004-78 IEC 60061-1. | ||||||||||||
Характеристики зажигания | ||||||||||||
Частота, Гц | Нормируемое напряжение на ПРА, В | Испытательное напряжение (действующее), В | Время зажигания, с | |||||||||
50 | 220 | 198 | 10 | |||||||||
60 | 220 | 198 | 10 | |||||||||
Электрические параметры | ||||||||||||
Частота, Гц | Нормируемая мощность, Вт | Напряжение на лампе (действующее), В | Нормируемый ток лампы, А | Нормируемый ток предварительного подогрева, А | ||||||||
Нормируемое | Не менее | Не более | ||||||||||
50 | 13 | 91 | 81 | 101 | 0,175 | 0,210 | ||||||
60 | 13 | 91 | 81 | 101 | 0,175 | 0,210 | ||||||
Испытательное положение: вертикальное, цоколем вверх. | ||||||||||||
Характеристики электрода | ||||||||||||
Испытательный ток, А | Сопротивление каждого электрода, Ом | |||||||||||
Нормируемое | Не менее | Не более | ||||||||||
0,140 | 50 | 37,5 | 62,5 | |||||||||
60901-IEC-3413-1 | ||||||||||||
ЛАМПА ЛЮМИНЕСЦЕНТНАЯ ОДНОЦОКОЛЬНАЯ Лист с параметрами Многоканальная | С. 2 | |||||||
МСОЛ: FSM-13-E-GX24q=1 | ||||||||
Характеристики ДОИ | ||||||||
Частота, Гц | Номинальная мощность, Вт | Нормируемое напряжение, В | Ток калибровки, А | Отношение напряжения к току, Ом | Коэффициент мощности | |||
50 | 13 | 220 | 0,165 | 1070 | 0,12 | |||
60 | 13 | 220 | 0,170 | 1080 | 0,075 | |||
Информация для расчета ПРА | ||||||||
Частота, Гц | 50 | 60 | ||||||
Ток предварительного подогрева, А | Не менее | 0,153 | 0,153 | |||||
Не более | 0,275 | 0,275 | ||||||
Напряжение холостого хода на лампе, В | Действующее значение, не менее | 198 | 198 | |||||
Пиковое значение, не более | 400 | 400 | ||||||
Резистор, заменяющий два последовательно соединенных электрода, Ом | 100 | 100 | ||||||
Напряжение на стартере при работающей лампе, В | Действующее значение, не более | |||||||
Рабочий ток лампы, А | Не более | 0,190 | 0,190 | |||||
Информация для расчета стартера | ||||||||
Импульс напряжения, В, не менее | Напряжение неконтактирования, В | Конденсатор для ПРП, пФ | ||||||
Не менее | Не более | |||||||
Информация для расчета светильника | ||||||||
Наибольший контур лампы: см. лист 60901-IEC-B410 с размером H, мм | 90 | |||||||
-------------------------------- | ||||||||
60901-IEC-3413-1 | ||||||||
ЛАМПА ЛЮМИНЕСЦЕНТНАЯ ОДНОЦОКОЛЬНАЯ Лист с параметрами Многоканальная | С. 3 | ||||||||
МСОЛ: FSM-13-E-GX24q=1 | |||||||||
Информация для расчета ВЧ ПРА | |||||||||
Характеристики ВЧ ПРА | |||||||||
Частота, кГц | Номинальная мощность, Вт | Нормируемое напряжение, В | Ток калибровки, А | Отношение напряжения к току, Ом | |||||
20 - 26 | 13 | 155 | 0,165 | 470 | |||||
Типичные параметры лампы | |||||||||
Частота, кГц | Номинальная мощность, Вт | Напряжение на лампе, В | Ток лампы, А | ||||||
>= 20 | 12,5 | 77 | 0,165 | ||||||
Работа в нормальном режиме и режиме диммирования | |||||||||
Частота, кГц | >= 20 | ||||||||
Ток перехода от работы в нормальном режиме к режиму диммирования ID перехода, А | 0,115 | ||||||||
Рабочий ток лампы ID, А | Не более | 0,190 | |||||||
Ток в любом вводе электродов, А | Не более | 0,210 | |||||||
Квалификация диммирующего ПРА с заменяющими резисторами (примечание 1) | |||||||||
Нагрев электрода рабочим током любой лампы, измеренного с заменяющими резисторами | |||||||||
Наименьшая сумма квадратов токов выводов: SoSmin: для ID30 < ID <= Iперехода (примечание 2) | А2 | X1 | 0,035 | ||||||
А | Y1 | 0,260 | |||||||
Нагрев электрода при конкретных рабочих токах, измеренных на заменяющих резисторах | |||||||||
Рабочий ток | Параметры нагрева | ||||||||
IDmin, А | 0,015 | Наименьшее напряжение на электроде, В | CVDmin | 5,90 | |||||
Резисторы, заменяющие разрядную лампу, Ом | RL10min | 5600 | |||||||
RL10max | 10000 | ||||||||
ID30, А | 0,040 | Наименьшая сумма квадратов токов выводов, А2 | SoS30 | X1 - Y1ID30 | |||||
Резистор, заменяющий разрядную лампу, Ом | RL30 | 2400 | |||||||
ID60, А | 0,080 | Наименьшая сумма квадратов токов выводов, А2 | SoS60 | X1 - Y1ID60 | |||||
Резистор, заменяющий разрядную лампу, Ом | RL60 | 1000 | |||||||
Наибольшее напряжение на электроде, В | CVmax | 8,20 | |||||||
Заменяющие электрод резисторы для квалификации диммирующего ПРА | |||||||||
Заменяющий резистор каждого электрода для испытания требований диммирования, Ом | Rиспытания 1 | 50,0 | |||||||
Rиспытания 2 | 55,0 | ||||||||
Rиспытания 3 | 45,0 | ||||||||
Примечания | |||||||||
60901-IEC-3413-4 | |||||||||
(A6:2014) | |||||||||
ЛАМПА ЛЮМИНЕСЦЕНТНАЯ ОДНОЦОКОЛЬНАЯ Лист с параметрами Многоканальная | С. 4 | ||||||||
МСОЛ: FSM-13-E-GX24q=1 | |||||||||
Требования зажигания к электродам предварительного подогрева для времени зажигания 0,4 с < ts < 3,0 с | |||||||||
Наименьшая энергия предварительного подогрева электрода: Emin = Qmin + Pmin ts, Дж | Qmin | Дж | 1,0 | ||||||
Pmin | Дж/с | 0,7 | |||||||
Напряжение на каждом электроде для E (t) < Emin, В | Действующее значение, не более | 11 | |||||||
Заменяющий резистор каждого электрода для проверки минимальных требований к предварительному подогреву электродов, Ом | 30 | ||||||||
Наибольшая энергия предварительного подогрева электрода: Emax = Qmax + Pmax ts, Дж | Qmax | Дж | 2,0 | ||||||
Pmax | Дж/с | 1,4 | |||||||
Заменяющий резистор каждого электрода для проверки максимальных требований к предварительному подогреву электродов, Ом | 40 | ||||||||
Напряжение холостого хода на лампе без ВЗУ, В | Напряжение незажигания | t <= ts | Действующее значение, не более | 190 <*> | |||||
Напряжение зажигания | t > ts (+10 °C) | Действующее значение, не менее | 400 <*> | ||||||
t > ts (-15 °C) | 430 <*> | ||||||||
Диапазон заменяющего резистора каждого электрода для проверки требований к напряжению холостого хода, Ом | 30,0 - 90,0 | ||||||||
-------------------------------- | |||||||||
60901-IEC-3413-1 | |||||||||
(A6:2014) | |||||||||
ОДНОЦОКОЛЬНАЯ Лист с параметрами Многоканальная | С. 1 | |||||||||||
МСОЛ: FSM-18-E-GX24q=2 | ||||||||||||
Номинальная мощность, Вт | Схема | Электрод | Цоколь | |||||||||
18 | Внешний стартер | Предварительного подогрева | GX24q-2 | |||||||||
Размеры В миллиметрах | ||||||||||||
A, не более | B, не более | C, не более | ||||||||||
52 | 52 | 110 | ||||||||||
Цоколь: см. лист 7004-78 IEC 60061-1. | ||||||||||||
Характеристики зажигания | ||||||||||||
Частота, Гц | Нормируемое напряжение на ПРА, В | Испытательное напряжение (действующее), В | Время зажигания, с | |||||||||
50 | 220 | 198 | 10 | |||||||||
60 | 220 | 198 | 10 | |||||||||
Электрические параметры | ||||||||||||
Частота, Гц | Нормируемая мощность, Вт | Напряжение на лампе (действующее), В | Нормируемый ток лампы, А | Нормируемый ток предварительного подогрева, А | ||||||||
Нормируемое | Не менее | Не более | ||||||||||
50 | 18 | 100 | 90 | 110 | 0,225 | 0,280 | ||||||
60 | 18 | 100 | 90 | 110 | 0,225 | 0,280 | ||||||
Испытательное положение: вертикальное, цоколем вверх. | ||||||||||||
Характеристики электрода | ||||||||||||
Испытательный ток, А | Сопротивление каждого электрода, Ом | |||||||||||
Нормируемое | Не менее | Не более | ||||||||||
0,190 | 26 | 19,5 | 32,5 | |||||||||
60901-IEC-3418-1 | ||||||||||||
ЛАМПА ЛЮМИНЕСЦЕНТНАЯ ОДНОЦОКОЛЬНАЯ Лист с параметрами Многоканальная | С. 2 | |||||||
МСОЛ: FSM-18-E-GX24q=2 | ||||||||
Характеристики ДОИ | ||||||||
Частота, Гц | Номинальная мощность, Вт | Нормируемое напряжение, В | Ток калибровки, А | Отношение напряжения к току, Ом | Коэффициент мощности | |||
50 | 18 | 220 | 0,220 | 800 | 0,12 | |||
60 | 18 | 220 | 0,220 | 815 | 0,075 | |||
Информация для расчета ПРА | ||||||||
Частота, Гц | 50 | 60 | ||||||
Ток предварительного подогрева, А | Не менее | 0,190 | 0,190 | |||||
Не более | 0,375 | 0,375 | ||||||
Напряжение холостого хода на лампе, В | Действующее значение, не менее | 198 | 198 | |||||
Пиковое значение, не более | 400 | 440 | ||||||
Резистор, заменяющий два последовательно соединенных электрода, Ом | 80 | 80 | ||||||
Напряжение на стартере при работающей лампе, В | Действующее значение, не более | |||||||
Рабочий ток лампы, А | Не более | 0,240 | 0,240 | |||||
Информация для расчета стартера | ||||||||
Импульс напряжения, В, не менее | Напряжение неконтактирования, В | Конденсатор для ПРП, пФ | ||||||
Не менее | Не более | |||||||
Информация для расчета светильника | ||||||||
Наибольший контур лампы: см. лист 60901-IEC-B410 с размером H, мм | 110 | |||||||
-------------------------------- | ||||||||
60901-IEC-3418-1 | ||||||||
ЛАМПА ЛЮМИНЕСЦЕНТНАЯ ОДНОЦОКОЛЬНАЯ Лист с параметрами Многоканальная | С. 3 | ||||||||
МСОЛ: FSM-18-E-GX24q=2 | |||||||||
Информация для расчета ВЧ ПРА | |||||||||
Характеристики ВЧ ПРА | |||||||||
Частота, кГц | Номинальная мощность, Вт | Нормируемое напряжение, В | Ток калибровки, А | Отношение напряжения к току, Ом | |||||
20 - 26 | 18 | 160 | 0,210 | 380 | |||||
Типичные параметры лампы | |||||||||
Частота, кГц | Номинальная мощность, Вт | Напряжение на лампе, В | Ток лампы, А | ||||||
>= 20 | 16,5 | 80 | 0,210 | ||||||
Работа в нормальном режиме и режиме диммирования | |||||||||
Частота, кГц | >= 20 | ||||||||
Ток перехода от работы в нормальном режиме к режиму диммирования ID перехода, А | 0,160 | ||||||||
Рабочий ток лампы ID, А | Не более | 0,240 | |||||||
Ток в любом вводе электродов, А | Не более | 0,290 | |||||||
Квалификация диммирующего ПРА с заменяющими резисторами (примечание 1) | |||||||||
Нагрев электрода рабочим током любой лампы, измеренного с заменяющими резисторами | |||||||||
Наименьшая сумма квадратов токов выводов: SoSmin: для ID30 < ID <= Iперехода (примечание 2) | А2 | X1 | 0,065 | ||||||
А | Y1 | 0,350 | |||||||
Нагрев электрода при конкретных рабочих токах, измеренных на заменяющих резисторах | |||||||||
Рабочий ток | Параметры нагрева | ||||||||
IDmin, А | 0,020 | Наименьшее напряжение на электроде, В | CVDmin | 4,40 | |||||
Резисторы, заменяющие разрядную лампу, Ом | RL10min | 4700 | |||||||
RL10max | 8200 | ||||||||
ID30, А | 0,060 | Наименьшая сумма квадратов токов выводов, А2 | SoS30 | X1 - Y1ID30 | |||||
Резистор, заменяющий разрядную лампу, Ом | RL30 | 1800 | |||||||
ID60, А | 0,120 | Наименьшая сумма квадратов токов выводов, А2 | SoS60 | X1 - Y1ID60 | |||||
Резистор, заменяющий разрядную лампу, Ом | RL60 | 820 | |||||||
Наибольшее напряжение на электроде, В | CVmax | 5,80 | |||||||
Заменяющие электрод резисторы для квалификации диммирующего ПРА | |||||||||
Заменяющий резистор каждого электрода для испытания требований диммирования, Ом | Rиспытания 1 | 26,0 | |||||||
Rиспытания 2 | 29,0 | ||||||||
Rиспытания 3 | 23,0 | ||||||||
Примечания | |||||||||
60901-IEC-3418-4 | |||||||||
(A6:2014) | |||||||||
ЛАМПА ЛЮМИНЕСЦЕНТНАЯ ОДНОЦОКОЛЬНАЯ Лист с параметрами Многоканальная | С. 4 | ||||||||
МСОЛ: FSM-18-E-GX24q=2 | |||||||||
Требования зажигания к электродам предварительного подогрева для времени зажигания 0,4 с < ts < 3,0 с | |||||||||
Наименьшая энергия предварительного подогрева электрода: Emin = Qmin + Pmin ts, Дж | Qmin | Дж | 0,9 | ||||||
Pmin | Дж/с | 0,7 | |||||||
Напряжение на каждом электроде для E (t) < Emin, В | Действующее значение, не более | 11 | |||||||
Заменяющий резистор каждого электрода для проверки минимальных требований к предварительному подогреву электродов, Ом | 18 | ||||||||
Наибольшая энергия предварительного подогрева электрода: Emax = Qmax + Pmax ts, Дж | Qmax | Дж | 1,8 | ||||||
Pmax | Дж/с | 1,4 | |||||||
Заменяющий резистор каждого электрода для проверки максимальных требований к предварительному подогреву электродов, Ом | 24 | ||||||||
Напряжение холостого хода на лампе без ВЗУ, В | Напряжение незажигания | t <= ts | Действующее значение, не более | 250 <*> | |||||
Напряжение зажигания | t > ts (+10 °C) | Действующее значение, не менее | 550 <*> | ||||||
t > ts (-15 °C) | 550 <*> | ||||||||
Диапазон заменяющего резистора каждого электрода для проверки требований к напряжению холостого хода, Ом | 18,0 - 54,0 | ||||||||
-------------------------------- | |||||||||
60901-IEC-3418-1 | |||||||||
(A6:2014) | |||||||||
ОДНОЦОКОЛЬНАЯ Лист с параметрами Многоканальная | С. 1 | |||||||||||
МСОЛ: FSM-26-E-GX24q=3 | ||||||||||||
Номинальная мощность, Вт | Схема | Электрод | Цоколь | |||||||||
26 | Внешний стартер | Предварительного подогрева | GX24q-2 | |||||||||
Размеры В миллиметрах | ||||||||||||
A, не более | B, не более | C, не более | ||||||||||
52 | 52 | 130 | ||||||||||
Цоколь: см. лист 7004-78 IEC 60061-1. | ||||||||||||
Характеристики зажигания | ||||||||||||
Частота, Гц | Нормируемое напряжение на ПРА, В | Испытательное напряжение (действующее), В | Время зажигания, с | |||||||||
50 | 220 | 198 | 10 | |||||||||
60 | 220 | 198 | 10 | |||||||||
Электрические параметры | ||||||||||||
Частота, Гц | Нормируемая мощность, Вт | Напряжение на лампе (действующее), В | Нормируемый ток лампы, А | Нормируемый ток предварительного подогрева, А | ||||||||
Нормируемое | Не менее | Не более | ||||||||||
50 | 26,5 | 105 | 95 | 115 | 0,325 | 0,420 | ||||||
60 | 26,5 | 105 | 95 | 115 | 0,325 | 0,420 | ||||||
Испытательное положение: вертикальное, цоколем вверх. | ||||||||||||
Характеристики электрода | ||||||||||||
Испытательный ток, А | Сопротивление каждого электрода, Ом | |||||||||||
Нормируемое | Не менее | Не более | ||||||||||
0,310 | 13 | 9,7 | 16,3 | |||||||||
60901-IEC-3426-1 | ||||||||||||
ЛАМПА ЛЮМИНЕСЦЕНТНАЯ ОДНОЦОКОЛЬНАЯ Лист с параметрами Многоканальная | С. 2 | |||||||
МСОЛ: FSM-26-E-GX24q=3 | ||||||||
Характеристики ДОИ | ||||||||
Частота, Гц | Номинальная мощность, Вт | Нормируемое напряжение, В | Ток калибровки, А | Отношение напряжения к току, Ом | Коэффициент мощности | |||
50 | 26 | 220 | 0,315 | 540 | 0,10 | |||
60 | 26 | 220 | 0,315 | 540 | 0,075 | |||
Информация для расчета ПРА | ||||||||
Частота, Гц | 50 | 60 | ||||||
Ток предварительного подогрева, А | Не менее | 0,270 | 0,270 | |||||
Не более | 0,550 | 0,550 | ||||||
Напряжение холостого хода на лампе, В | Действующее значение, не менее | 198 | 198 | |||||
Пиковое значение, не более | 400 | 440 | ||||||
Резистор, заменяющий два последовательно соединенных электрода, Ом | 25 | 25 | ||||||
Напряжение на стартере при работающей лампе, В | Действующее значение, не более | |||||||
Рабочий ток лампы, А | Не более | 0,360 | 0,360 | |||||
Информация для расчета стартера | ||||||||
Импульс напряжения, В, не менее | Напряжение неконтактирования, В | Конденсатор для ПРП, пФ | ||||||
Не менее | Не более | |||||||
Информация для расчета светильника | ||||||||
Наибольший контур лампы: см. лист 60901-IEC-B410 с размером H, мм | 130 | |||||||
-------------------------------- | ||||||||
60901-IEC-3426-1 | ||||||||
ЛАМПА ЛЮМИНЕСЦЕНТНАЯ ОДНОЦОКОЛЬНАЯ Лист с параметрами Многоканальная | С. 3 | ||||||||
МСОЛ: FSM-26-E-GX24q=3 | |||||||||
Информация для расчета ВЧ ПРА | |||||||||
Характеристики ВЧ ПРА | |||||||||
Частота, кГц | Номинальная мощность, Вт | Нормируемое напряжение, В | Ток калибровки, А | Отношение напряжения к току, Ом | |||||
20 - 26 | 26 | 160 | 0,300 | 265 | |||||
Типичные параметры лампы | |||||||||
Частота, кГц | Номинальная мощность, Вт | Напряжение на лампе, В | Ток лампы, А | ||||||
>= 20 | 24 | 80 | 0,300 | ||||||
Работа в нормальном режиме и режиме диммирования | |||||||||
Частота, кГц | >= 20 | ||||||||
Ток перехода от работы в нормальном режиме к режиму диммирования ID перехода, А | 0,250 | ||||||||
Рабочий ток лампы ID, А | Не более | 0,400 | |||||||
Ток в любом вводе электродов, А | Не более | 0,430 | |||||||
Квалификация диммирующего ПРА с заменяющими резисторами (примечание 1) | |||||||||
Нагрев электрода рабочим током любой лампы, измеренного с заменяющими резисторами | |||||||||
Наименьшая сумма квадратов токов выводов: SoSmin: для ID30 < ID <= Iперехода (примечание 2) | А2 | X1 | 0,175 | ||||||
А | Y1 | 0,575 | |||||||
Нагрев электрода при конкретных рабочих токах, измеренных на заменяющих резисторах | |||||||||
Рабочий ток | Параметры нагрева | ||||||||
IDmin, А | 0,030 | Наименьшее напряжение на электроде, В | CVDmin | 3,40 | |||||
Резисторы, заменяющие разрядную лампу, Ом | RL10min | 3300 | |||||||
RL10max | 6200 | ||||||||
ID30, А | 0,095 | Наименьшая сумма квадратов токов выводов, А2 | SoS30 | X1 - Y1ID30 | |||||
Резистор, заменяющий разрядную лампу, Ом | RL30 | 1300 | |||||||
ID60, А | 0,190 | Наименьшая сумма квадратов токов выводов, А2 | SoS60 | X1 - Y1ID60 | |||||
Резистор, заменяющий разрядную лампу, Ом | RL60 | 560 | |||||||
Наибольшее напряжение на электроде, В | CVmax | 4,40 | |||||||
Заменяющие электрод резисторы для квалификации диммирующего ПРА | |||||||||
Заменяющий резистор каждого электрода для испытания требований диммирования, Ом | Rиспытания 1 | 13,0 | |||||||
Rиспытания 2 | 14,0 | ||||||||
Rиспытания 3 | 12,0 | ||||||||
Примечания | |||||||||
60901-IEC-3426-4 | |||||||||
(A6:2014) | |||||||||
ЛАМПА ЛЮМИНЕСЦЕНТНАЯ ОДНОЦОКОЛЬНАЯ Лист с параметрами Многоканальная | С. 4 | ||||||||
МСОЛ: FSM-26-E-GX24q=3 | |||||||||
Требования зажигания к электродам предварительного подогрева для времени зажигания 0,4 с < ts < 3,0 с | |||||||||
Наименьшая энергия предварительного подогрева электрода: Emin = Qmin + Pmin ts, Дж | Qmin | Дж | 1,0 | ||||||
Pmin | Дж/с | 0,8 | |||||||
Напряжение на каждом электроде для E (t) < Emin, В | Действующее значение, не более | 11 | |||||||
Заменяющий резистор каждого электрода для проверки минимальных требований к предварительному подогреву электродов, Ом | 9 | ||||||||
Наибольшая энергия предварительного подогрева электрода: Emax = Qmax + Pmax ts, Дж | Qmax | Дж | 2,0 | ||||||
Pmax | Дж/с | 1,6 | |||||||
Заменяющий резистор каждого электрода для проверки максимальных требований к предварительному подогреву электродов, Ом | 12 | ||||||||
Напряжение холостого хода на лампе без ВЗУ, В | Напряжение незажигания | t <= ts | Действующее значение, не более | 265 <*> | |||||
Напряжение зажигания | t > ts (+10 °C) | Действующее значение, не менее | 550 <*> | ||||||
t > ts (-15 °C) | 560 <*> | ||||||||
Диапазон заменяющего резистора каждого электрода для проверки требований к напряжению холостого хода, Ом | 9,0 - 27,0 | ||||||||
-------------------------------- | |||||||||
60901-IEC-3426-1 | |||||||||
(A6:2014) | |||||||||
ОДНОЦОКОЛЬНАЯ Лист с параметрами Двухканальная | С. 1 | |||||||||||
МСОЛ: FSD-24-L/P/L-2G11 | ||||||||||||
Номинальная мощность, Вт | Схема | Электрод | Цоколь | |||||||||
24/27 | Бесстартерная | Предварительного подогрева | 2G11 | |||||||||
Размеры В миллиметрах | ||||||||||||
A, не более | B, не более | C, не более | ||||||||||
40 | 20 | 320 | ||||||||||
Цоколь: см. лист 7004-82 IEC 60061-1. | ||||||||||||
Характеристики зажигания | ||||||||||||
Частота, Гц | Номинальная мощность ПРА, Вт | Нормируемое напряжение на ПРА, В | Расстояние до ВЗУ, мм | Напряжение на электроде (действующее), В | Напряжение холостого хода (действующее), В | Время зажигания, с | ||||||
50 | - | - | - | - | - | - | ||||||
60 | 13 | 3,05 | 10 | |||||||||
Электрические параметры | ||||||||||||
Частота, Гц | Нормируемая мощность, Вт | Напряжение на лампе (действующее), В | Нормируемый ток лампы, А | |||||||||
Нормируемое | Не менее | Не более | ||||||||||
50 | - | - | - | - | - | |||||||
60 | 25,7 <1> | 87 | 79 | 95 | 0,335 | |||||||
-------------------------------- | ||||||||||||
Испытательное положение: горизонтальное с плоскостью, проходящей горизонтально через каналы. Примечание - Для уменьшения времени испытания можно применять другие положения по согласованию между изготовителем и испытательным органом. В спорном случае горизонтальное положение считают базовым. | ||||||||||||
Характеристики электрода | ||||||||||||
Электрод | Испытательное напряжение (действующее), В | Сопротивление каждого электрода, Ом | ||||||||||
Нормируемое | Не менее | |||||||||||
Низкоомный | 3,6 | 9,6 | 7,0 | |||||||||
-------------------------------- | ||||||||||||
60901-IEC-4224-1 | ||||||||||||
ЛАМПА ЛЮМИНЕСЦЕНТНАЯ ОДНОЦОКОЛЬНАЯ Лист с параметрами Двухканальная | С. 2 | ||||||
МСОЛ: FSD-24-L/P/L-2G11 | |||||||
Характеристики ДОИ | |||||||
Частота, Гц | Номинальная мощность, Вт | Нормируемое напряжение, В | Ток калибровки, А | Отношение напряжения к току, Ом | Коэффициент мощности | ||
50 | - | - | - | - | - | ||
60 | 24 | 236 | 0,340 | 605 | 0,075 | ||
Информация для расчета ПРА | |||||||
Частота, Гц | 50 | 60 | |||||
Ток предварительного подогрева, А | Не менее | - | 3,05 | ||||
Не более | - | 4,4 | |||||
Напряжение холостого хода на лампе, В | Действующее значение, не менее | - | 220 | ||||
Действующее значение, не более | - | 285 | |||||
Коэффициент амплитуды напряжения | Не менее | - | 1,8 | ||||
Напряжение холостого хода на двух последовательно соединенных лампах, В | Действующее значение, не менее | - | 240 | ||||
Действующее значение, не более | - | 310 | |||||
Коэффициент амплитуды напряжения | Не менее | - | 1,75 | ||||
Резистор, заменяющий два последовательно соединенных электрода, Ом | - | 9 | |||||
Коэффициент амплитуды напряжения зажигания | Не более | - | 2,2 | ||||
Напряжение на ВЗУ, В | Пиковое значение, не менее | - | 520 | ||||
Ток в любом вводе электрода, А | Не более | - | 0,570 | ||||
Рабочий ток лампы, А | Не более | - | |||||
Информация для расчета светильника | |||||||
Наибольший контур лампы: см. лист 60901-IEC-* с размером H, мм | |||||||
Наибольшее расстояние до ВЗУ, мм | 13 | ||||||
Опора конца лампы: расстояние от базовой плоскости цоколя, мм | Не менее | 241 | |||||
Не более | 267 | ||||||
Зазор между коленами лампы, мм | Не менее | 1,8 | |||||
-------------------------------- | |||||||
60901-IEC-4224-1 | |||||||
ОДНОЦОКОЛЬНАЯ Лист с параметрами Двухканальная | С. 1 | |||||||||||
МСОЛ: FSD-36-L/P/L-2G11 | ||||||||||||
Номинальная мощность, Вт | Схема | Электрод | Цоколь | |||||||||
36/39 | Бесстартерная | Предварительного подогрева | 2G11 | |||||||||
Размеры В миллиметрах | ||||||||||||
A, не более | B, не более | C, не более | ||||||||||
40 | 20 | 415 | ||||||||||
Цоколь: см. лист 7004-82 IEC 60061-1. | ||||||||||||
Характеристики зажигания | ||||||||||||
Частота, Гц | Номинальная мощность ПРА, Вт | Нормируемое напряжение на ПРА, В | Расстояние до ВЗУ, мм | Напряжение на электроде (действующее), В | Напряжение холостого хода (действующее), В | Время зажигания, с | ||||||
50 | - | - | - | - | - | - | ||||||
60 | 13 | 3,05 | 10 | |||||||||
Электрические параметры | ||||||||||||
Частота, Гц | Нормируемая мощность, Вт | Напряжение на лампе (действующее), В | Нормируемый ток лампы, А | |||||||||
Нормируемое | Не менее | Не более | ||||||||||
50 | - | - | - | - | - | |||||||
60 | 38,1 <1> | 107 | 96 | 118 | 0,428 | |||||||
-------------------------------- | ||||||||||||
Испытательное положение: горизонтальное с плоскостью, проходящей горизонтально через каналы. Примечание - Для уменьшения времени испытания можно применять другие положения по согласованию между изготовителем и испытательным органом. В спорном случае горизонтальное положение считают базовым. | ||||||||||||
Характеристики электрода | ||||||||||||
Электрод | Испытательное напряжение (действующее), В | Сопротивление каждого электрода, Ом | ||||||||||
Нормируемое | Не менее | |||||||||||
Низкоомный | 3,6 | 9,6 | 7,0 | |||||||||
-------------------------------- | ||||||||||||
60901-IEC-4236-1 | ||||||||||||
ЛАМПА ЛЮМИНЕСЦЕНТНАЯ ОДНОЦОКОЛЬНАЯ Лист с параметрами Двухканальная | С. 2 | ||||||
МСОЛ: FSD-36-L/P/L-2G11 | |||||||
Характеристики ДОИ | |||||||
Частота, Гц | Номинальная мощность, Вт | Нормируемое напряжение, В | Ток калибровки, А | Отношение напряжения к току, Ом | Коэффициент мощности | ||
50 | - | - | - | - | - | ||
60 | 36 | 236 | 0,430 | 439 | 0,075 | ||
Информация для расчета ПРА | |||||||
Частота, Гц | 50 | 60 | |||||
Ток предварительного подогрева, А | Не менее | - | 3,05 | ||||
Не более | - | 4,4 | |||||
Напряжение холостого хода на лампе, В | Действующее значение, не менее | - | 230 | ||||
Действующее значение, не более | - | 300 | |||||
Коэффициент амплитуды напряжения | Не менее | - | 1,8 | ||||
Напряжение холостого хода на двух последовательно соединенных лампах, В | Действующее значение, не менее | - | 300 | ||||
Действующее значение, не более | - | 390 | |||||
Коэффициент амплитуды напряжения | Не менее | - | 1,6 | ||||
Резистор, заменяющий каждый из электродов, Ом | - | 9 | |||||
Коэффициент амплитуды напряжения зажигания | Не более | - | 2,2 | ||||
Напряжение на ВЗУ, В | Пиковое значение, не менее | - | 520 | ||||
Ток в любом вводе электрода, А | Не более | - | 0,730 | ||||
Рабочий ток лампы, А | Не более | - | |||||
Информация для расчета светильника | |||||||
Наибольший контур лампы: см. лист 60901-IEC-* с размером H, мм | |||||||
Наибольшее расстояние до ВЗУ, мм | 13 | ||||||
Опора конца лампы: расстояние от базовой плоскости цоколя, мм | Не менее | 330 | |||||
Не более | 356 | ||||||
Зазор между коленами лампы, мм | Не менее | 1,8 | |||||
-------------------------------- | |||||||
60901-IEC-4236-1 | |||||||
ОДНОЦОКОЛЬНАЯ Лист с параметрами Квадратная | С. 1 | ||||||||
МСОЛ: FSS-10-L/P/H-GR10q | |||||||||
Номинальная мощность, Вт | Схема | Электрод | Цоколь | ||||||
10 | Бесстартерная | Предварительного подогрева | GR10q | ||||||
Размеры В миллиметрах | |||||||||
A | B | C | D | E | F | G | |||
Не более | Не более | Не более | Не более | Не более | Не более | Не менее | Не более | ||
92 | 95 | 34,5 | 14 | 34,2 | 38,2 | 28,5 | 29,5 | ||
Цоколь: см. лист 7004-77 IEC 60061-1. | |||||||||
Характеристики зажигания | |||||||||
Частота, Гц | Номинальная мощность ПРА, Вт | Нормируемое напряжение на ПРА, В | Расстояние до ВЗУ, мм | Напряжение на электроде (действующее), В | Напряжение холостого хода (действующее), В | Время зажигания, с | |||
50 | 13 | 240 | 6 | 6,5 | <*> | 10 | |||
60 | - | - | - | - | - | - | |||
Электрические параметры | |||||||||
Частота, Гц | Нормируемая мощность, Вт | Напряжение на лампе (действующее), В | Нормируемый ток лампы, А | ||||||
Нормируемое | Не менее | Не более | |||||||
50 | 10,5 | 72 | 65 | 79 | 0,175 | ||||
60 | - | - | - | - | - | ||||
Испытательное положение: горизонтальное. | |||||||||
Характеристики электрода | |||||||||
Электрод | Испытательное напряжение (действующее), В | Сопротивление каждого электрода, Ом | |||||||
Нормируемое | Не менее | ||||||||
Высокоомный | 8 | 55 | 40 | ||||||
60901-IEC-5010-1 | |||||||||
ЛАМПА ЛЮМИНЕСЦЕНТНАЯ ОДНОЦОКОЛЬНАЯ Лист с параметрами Квадратная | С. 2 | |||||||
МСОЛ: FSS-10-L/P/H-GR10q | ||||||||
Характеристики ДОИ | ||||||||
Частота, Гц | Номинальная мощность, Вт | Нормируемое напряжение, В | Ток калибровки, А | Отношение напряжения к току, Ом | Коэффициент мощности | |||
50 | 10 | 220 | 0,180 | 1070 | 0,12 | |||
60 | 10 | 220 | 0,180 | 1080 | 0,075 | |||
Информация для расчета ПРА | ||||||||
Частота, Гц | 50 | 60 | ||||||
Напряжение предварительного подогрева электродов, В | Действующее значение, не менее | 6,5 | - | |||||
Действующее значение, не более | 11 | - | ||||||
Напряжение холостого хода на лампе, В | Действующее значение, не менее | - | ||||||
Пиковое значение, не более | - | |||||||
Резистор, заменяющий каждый из электродов, Ом | - | |||||||
Напряжение на ВЗУ, В | Пиковое значение, не менее | - | ||||||
Ток в любом вводе электродов, А | Не более | 0,315 | - | |||||
Рабочий ток лампы, А | Не более | - | ||||||
Информация для расчета светильника | ||||||||
Наибольший контур лампы: см. лист 60901-IEC-B010 | ||||||||
Наибольшее расстояние до ВЗУ, мм | 6 | |||||||
-------------------------------- | ||||||||
60901-IEC-5010-2 | ||||||||
(A5:2011) | ||||||||
ОДНОЦОКОЛЬНАЯ Лист с параметрами Квадратная | С. 1 | ||||||||
МСОЛ: FSS-16-L/P/H-GR10q | |||||||||
Номинальная мощность, Вт | Схема | Электрод | Цоколь | ||||||
16 | Бесстартерная | Предварительного подогрева | GR10q | ||||||
Размеры В миллиметрах | |||||||||
A | B | C | D | E | F | G | |||
Не более | Не более | Не более | Не более | Не более | Не более | Не менее | Не более | ||
138 | 141 | 27,5 | 15 | 41 | 40 | 49 | 51 | ||
Цоколь: см. лист 7004-77 IEC 60061-1. | |||||||||
Характеристики зажигания | |||||||||
Частота, Гц | Номинальная мощность ПРА, Вт | Нормируемое напряжение на ПРА, В | Расстояние до ВЗУ, мм | Напряжение на электроде (действующее), В | Напряжение холостого хода (действующее), В | Время зажигания, с | |||
50 | 16 | 240 | 6 | 6,5 | <*> | 10 | |||
60 | - | - | - | - | - | - | |||
Электрические параметры | |||||||||
Частота, Гц | Нормируемая мощность, Вт | Напряжение на лампе (действующее), В | Нормируемый ток лампы, А | ||||||
Нормируемое | Не менее | Не более | |||||||
50 | 16 | 103 | 93 | 113 | 0,195 | ||||
60 | - | - | - | - | - | ||||
Испытательное положение: горизонтальное. | |||||||||
Характеристики электрода | |||||||||
Электрод | Испытательное напряжение (действующее), В | Сопротивление каждого электрода, Ом | |||||||
Нормируемое | Не менее | ||||||||
Высокоомный | 8 | 65 | 50 | ||||||
60901-IEC-5016-1 | |||||||||
ЛАМПА ЛЮМИНЕСЦЕНТНАЯ ОДНОЦОКОЛЬНАЯ Лист с параметрами Квадратная | С. 2 | |||||||
МСОЛ: FSS-16-L/P/H-GR10q | ||||||||
Характеристики ДОИ | ||||||||
Частота, Гц | Номинальная мощность, Вт | Нормируемое напряжение, В | Ток калибровки, А | Отношение напряжения к току, Ом | Коэффициент мощности | |||
50 | 16 | 220 | 0,195 | 890 | 0,12 | |||
60 | 16 | 220 | 0,195 | 900 | 0,075 | |||
Информация для расчета ПРА | ||||||||
Частота, Гц | 50 | 60 | ||||||
Напряжение предварительного подогрева электродов, В | Действующее значение, не менее | 6,5 | - | |||||
Действующее значение, не более | 11 | - | ||||||
Напряжение холостого хода на лампе, В | Действующее значение, не менее | - | ||||||
Пиковое значение, не более | - | |||||||
Резистор, заменяющий каждый из электродов, Ом | - | |||||||
Напряжение на ВЗУ, В | Пиковое значение, не менее | - | ||||||
Ток в любом вводе электродов, А | Не более | 0,280 | - | |||||
Рабочий ток лампы, А | Не более | - | ||||||
Информация для расчета светильника | ||||||||
Наибольший контур лампы: см. лист 60901-IEC-B020 | ||||||||
Наибольшее расстояние до ВЗУ, мм | 6 | |||||||
-------------------------------- | ||||||||
60901-IEC-5016-2 | ||||||||
(A5:2011) | ||||||||
ОДНОЦОКОЛЬНАЯ Лист с параметрами Квадратная | С. 1 | ||||||||
МСОЛ: FSS-21-L/P/H-GR10q | |||||||||
Номинальная мощность, Вт | Схема | Электрод | Цоколь | ||||||
21 | Бесстартерная | Предварительного подогрева | GR10q | ||||||
Размеры В миллиметрах | |||||||||
A | B | C | D | E | F | G | |||
Не более | Не более | Не более | Не более | Не более | Не более | Не менее | Не более | ||
138 | 141 | 27,5 | 15 | 41 | 40 | 49 | 51 | ||
Цоколь: см. лист 7004-77 IEC 60061-1. | |||||||||
Характеристики зажигания | |||||||||
Частота, Гц | Номинальная мощность ПРА, Вт | Нормируемое напряжение на ПРА, В | Расстояние до ВЗУ, мм | Напряжение на электроде (действующее), В | Напряжение холостого хода (действующее), В | Время зажигания, с | |||
50 | 21 | 240 | 6 | 6,5 | <*> | 10 | |||
60 | - | - | - | - | - | - | |||
Электрические параметры | |||||||||
Частота, Гц | Нормируемая мощность, Вт | Напряжение на лампе (действующее), В | Нормируемый ток лампы, А | ||||||
Нормируемое | Не менее | Не более | |||||||
50 | 21 | 102 | 92 | 112 | 0,260 | ||||
60 | - | - | - | - | - | ||||
Испытательное положение: горизонтальное. | |||||||||
Характеристики электрода | |||||||||
Электрод | Испытательное напряжение (действующее), В | Сопротивление каждого электрода, Ом | |||||||
Нормируемое | Не менее | ||||||||
Высокоомный | 8 | 35 | 25 | ||||||
60901-IEC-5021-1 | |||||||||
ЛАМПА ЛЮМИНЕСЦЕНТНАЯ ОДНОЦОКОЛЬНАЯ Лист с параметрами Квадратная | С. 2 | |||||||
МСОЛ: FSS-21-L/P/H-GR10q | ||||||||
Характеристики ДОИ | ||||||||
Частота, Гц | Номинальная мощность, Вт | Нормируемое напряжение, В | Ток калибровки, А | Отношение напряжения к току, Ом | Коэффициент мощности | |||
50 | 21 | 205 | 0,260 | 605 | 0,10 | |||
60 | 21 | 205 | 0,260 | 610 | 0,075 | |||
Информация для расчета ПРА | ||||||||
Частота, Гц | 50 | 60 | ||||||
Напряжение предварительного подогрева электродов, В | Действующее значение, не менее | 6,5 | - | |||||
Действующее значение, не более | 11 | - | ||||||
Напряжение холостого хода на лампе, В | Действующее значение, не менее | - | ||||||
Пиковое значение, не более | - | |||||||
Резистор, заменяющий каждый из электродов, Ом | - | |||||||
Напряжение на ВЗУ, В | Пиковое значение, не менее | - | ||||||
Ток в любом вводе электродов, А | Не более | 0,450 | - | |||||
Рабочий ток лампы, А | Не более | - | ||||||
Информация для расчета светильника | ||||||||
Наибольший контур лампы: см. лист 60901-IEC-B020 | ||||||||
Наибольшее расстояние до ВЗУ, мм | 6 | |||||||
-------------------------------- | ||||||||
60901-IEC-5021-2 | ||||||||
(A5:2011) | ||||||||
ОДНОЦОКОЛЬНАЯ Лист с параметрами Квадратная | С. 1 | ||||||||
МСОЛ: FSS-28-L/P/H-GR10q | |||||||||
Номинальная мощность, Вт | Схема | Электрод | Цоколь | ||||||
28 | Бесстартерная | Предварительного подогрева | GR10q | ||||||
Размеры В миллиметрах | |||||||||
A | B | C | D | E | F | G | |||
Не более | Не более | Не более | Не более | Не более | Не более | Не менее | Не более | ||
205 | 207 | 33 | 24 | 41 | 49 | 74 | 77 | ||
Цоколь: см. лист 7004-77 IEC 60061-1. | |||||||||
Характеристики зажигания | |||||||||
Частота, Гц | Номинальная мощность ПРА, Вт | Нормируемое напряжение на ПРА, В | Расстояние до ВЗУ, мм | Напряжение на электроде (действующее), В | Напряжение холостого хода (действующее), В | Время зажигания, с | |||
50 | 28 | 240 | 13 | 3,05 | 250 | 10 | |||
60 | - | - | - | - | - | - | |||
Электрические параметры | |||||||||
Частота, Гц | Нормируемая мощность, Вт | Напряжение на лампе (действующее), В | Нормируемый ток лампы, А | ||||||
Нормируемое | Не менее | Не более | |||||||
50 | 28 | 108 | 98 | 118 | 0,320 | ||||
60 | - | - | - | - | - | ||||
Испытательное положение: горизонтальное. | |||||||||
Характеристики электрода | |||||||||
Электрод | Испытательное напряжение (действующее), В | Сопротивление каждого электрода, Ом | |||||||
Нормируемое | Не менее | ||||||||
Низкоомный | 3,6 | 9 | 7 | ||||||
60901-IEC-5028-1 | |||||||||
ЛАМПА ЛЮМИНЕСЦЕНТНАЯ ОДНОЦОКОЛЬНАЯ Лист с параметрами Квадратная | С. 2 | |||||||
МСОЛ: FSS-28-L/P/H-GR10q | ||||||||
Характеристики ДОИ | ||||||||
Частота, Гц | Номинальная мощность, Вт | Нормируемое напряжение, В | Ток калибровки, А | Отношение напряжения к току, Ом | Коэффициент мощности | |||
50 | 28 | 210 | 0,320 | 480 | 0,10 | |||
60 | 28 | 210 | 0,320 | 485 | 0,075 | |||
Информация для расчета ПРА | ||||||||
Частота, Гц | 50 | 60 | ||||||
Напряжение предварительного подогрева электродов, В | Действующее значение, не менее | 3,05 | - | |||||
Действующее значение, не более | 4,4 | - | ||||||
Напряжение холостого хода на лампе, В | Действующее значение, не менее | 250 | - | |||||
Пиковое значение, не более | 500 | - | ||||||
Резистор, заменяющий каждый из электродов, Ом | - | |||||||
Напряжение на ВЗУ, В | Действующее значение, не менее | - | ||||||
Ток в любом вводе электродов, А | Не более | 0,530 | - | |||||
Рабочий ток лампы, А | Не более | - | ||||||
Информация для расчета светильника | ||||||||
Наибольший контур лампы: см. лист 60901-IEC-B030 | ||||||||
Наибольшее расстояние до ВЗУ, мм | 13 | |||||||
-------------------------------- | ||||||||
60901-IEC-5028-2 | ||||||||
(A5:2011) | ||||||||
ОДНОЦОКОЛЬНАЯ Лист с параметрами Квадратная | С. 1 | ||||||||
МСОЛ: FSS-38-L/P/H-GR10q | |||||||||
Номинальная мощность, Вт | Схема | Электрод | Цоколь | ||||||
38 | Бесстартерная | Предварительного подогрева | GR10q | ||||||
Размеры В миллиметрах | |||||||||
A | B | C | D | E | F | G | |||
Не более | Не более | Не более | Не более | Не более | Не более | Не менее | Не более | ||
205 | 207 | 33 | 24 | 41 | 49 | 74 | 77 | ||
Цоколь: см. лист 7004-77 IEC 60061-1. | |||||||||
Характеристики зажигания | |||||||||
Частота, Гц | Номинальная мощность ПРА, Вт | Нормируемое напряжение на ПРА, В | Расстояние до ВЗУ, мм | Напряжение на электроде (действующее), В | Напряжение холостого хода (действующее), В | Время зажигания, с | |||
50 | 38 | 240 | 13 | 3,05 | 250 | 10 | |||
60 | - | - | - | - | - | - | |||
Электрические параметры | |||||||||
Частота, Гц | Нормируемая мощность, Вт | Напряжение на лампе (действующее), В | Нормируемый ток лампы, А | ||||||
Нормируемое | Не менее | Не более | |||||||
50 | 38,5 | 110 | 100 | 120 | 0,430 | ||||
60 | - | - | - | - | - | ||||
Испытательное положение: горизонтальное. | |||||||||
Характеристики электрода | |||||||||
Электрод | Испытательное напряжение (действующее), В | Сопротивление каждого электрода, Ом | |||||||
Нормируемое | Не менее | ||||||||
Низкоомный | 3,6 | 9 | 7 | ||||||
60901-IEC-5038-1 | |||||||||
ЛАМПА ЛЮМИНЕСЦЕНТНАЯ ОДНОЦОКОЛЬНАЯ Лист с параметрами Квадратная | С. 2 | |||||||
МСОЛ: FSS-38-L/P/H-GR10q | ||||||||
Характеристики ДОИ | ||||||||
Частота, Гц | Номинальная мощность, Вт | Нормируемое напряжение, В | Ток калибровки, А | Отношение напряжения к току, Ом | Коэффициент мощности | |||
50 | 40 | 220 | 0,430 | 390 | 0,10 | |||
60 | 40 | 220 | 0,430 | 390 | 0,075 | |||
Информация для расчета ПРА | ||||||||
Частота, Гц | 50 | 60 | ||||||
Напряжение предварительного подогрева электродов, В | Действующее значение, не менее | 3,05 | - | |||||
Действующее значение, не более | 4,4 | - | ||||||
Напряжение холостого хода на лампе, В | Действующее значение, не менее | 250 | - | |||||
Пиковое значение, не более | 500 | - | ||||||
Резистор, заменяющий каждый из электродов, Ом | - | |||||||
Напряжение на ВЗУ, В | Действующее значение, не менее | - | ||||||
Ток в любом вводе электродов, А | Не более | 0,700 | - | |||||
Рабочий ток лампы, А | Не более | - | ||||||
Информация для расчета светильника | ||||||||
Наибольший контур лампы: см. лист 60901-IEC-B030 | ||||||||
Наибольшее расстояние до ВЗУ, мм | 13 | |||||||
-------------------------------- | ||||||||
60901-IEC-5038-2 | ||||||||
(A5:2011) | ||||||||
ОДНОЦОКОЛЬНАЯ Лист с параметрами Кольцевая | С. 1 | |||||||||
МСОЛ: FSC-22-L/P/L-G10q-29/200 | ||||||||||
Номинальная мощность, Вт | Схема | Электрод | Цоколь | |||||||
22 | Бесстартерная | Предварительного подогрева | G10q | |||||||
Размеры В миллиметрах | ||||||||||
A | B | C и D | D1 | |||||||
Не менее | Не более | Не менее | Не более | Не менее | Не более | Не менее | Не более | |||
149,1 | 155,6 | 147,6 | 157,2 | 203,2 | 215,9 | 26,2 | 30,9 | |||
Цоколь: см. лист 7004-54 IEC 60061-1. | ||||||||||
Характеристики зажигания | ||||||||||
Частота, Гц | Номинальная мощность ПРА, Вт | Нормируемое напряжение на ПРА, В | Расстояние до ВЗУ, мм | Напряжение на электроде (действующее), В | Напряжение холостого хода (действующее), В | Время зажигания, с | ||||
50 | - | - | - | - | - | - | ||||
60 | 22 | 120/140 | 13 | 3,05 | 180 | 10 | ||||
Электрические параметры | ||||||||||
Частота, Гц | Нормируемая мощность, Вт | Напряжение на лампе (действующее), В | Нормируемый ток лампы, А | |||||||
Нормируемое | Не менее | Не более | ||||||||
50 | - | - | - | - | - | |||||
60 | 22,5 <1> | 61 | 55 | 67 | 0,370 | |||||
-------------------------------- | ||||||||||
Испытательное положение: горизонтальное. | ||||||||||
Характеристики электрода | ||||||||||
Электрод | Испытательное напряжение (действующее), В | Сопротивление каждого электрода, Ом | ||||||||
Нормируемое | Не менее | |||||||||
Низкоомный | 3,6 | 9,6 | 7,0 | |||||||
60901-IEC-5222-2 | ||||||||||
(A3:2004) | ||||||||||
ЛАМПА ЛЮМИНЕСЦЕНТНАЯ ОДНОЦОКОЛЬНАЯ Лист с параметрами Кольцевая | С. 2 | |||||||
МСОЛ: FSC-22-L/P/L-G10q-29/200 | ||||||||
Характеристики ДОИ | ||||||||
Частота, Гц | Номинальная мощность, Вт | Нормируемое напряжение, В | Ток калибровки, А | Отношение напряжения к току, Ом | Коэффициент мощности | |||
50 | - | - | - | - | - | |||
60 | 22 | 236 | 0,370 | 575 | 0,075 | |||
Информация для расчета ПРА | ||||||||
Частота, Гц | 50 | 60 | ||||||
Напряжение предварительного подогрева, В | Действующее значение, не менее | - | 3,1 | |||||
Действующее значение, не более | - | 5,0 | ||||||
Напряжение холостого хода на лампе, В | Действующее значение, не менее | - | 185 | |||||
Пиковое значение, не более | - | |||||||
Резистор, заменяющий каждый из электродов, Ом | - | 9 | ||||||
Напряжение на ВЗУ, В | Пиковое значение, не менее | - | 295 | |||||
Ток в любом вводе электродов, А | Не более | - | ||||||
Рабочий ток лампы, А | Не более | - | ||||||
Информация для расчета светильника | ||||||||
Наибольшее расстояние до ВЗУ, мм | 13 | |||||||
-------------------------------- | ||||||||
60901-IEC-5222-2 | ||||||||
(A3:2004) | ||||||||
ОДНОЦОКОЛЬНАЯ Лист с параметрами Кольцевая | С. 1 | |||||||||
МСОЛ: FSC-32-L/P/L-G10q-29/300 | ||||||||||
Номинальная мощность, Вт | Схема | Электрод | Цоколь | |||||||
32 | Бесстартерная | Предварительного подогрева | G10q | |||||||
Размеры В миллиметрах | ||||||||||
A | B | C и D | D1 | |||||||
Не менее | Не более | Не менее | Не более | Не менее | Не более | Не менее | Не более | |||
239,7 | 246,1 | 236,5 | 246,1 | 292,1 | 304,8 | 26,2 | 30,9 | |||
Цоколь: см. лист 7004-54 IEC 60061-1. | ||||||||||
Характеристики зажигания | ||||||||||
Частота, Гц | Номинальная мощность ПРА, Вт | Нормируемое напряжение на ПРА, В | Расстояние до ВЗУ, мм | Напряжение на электроде (действующее), В | Напряжение холостого хода (действующее), В | Время зажигания, с | ||||
50 | - | - | - | - | - | - | ||||
60 | 32 | 120/140 | 13 | 3,05 | 200 | 10 | ||||
Электрические параметры | ||||||||||
Частота, Гц | Нормируемая мощность, Вт | Напряжение на лампе (действующее), В | Нормируемый ток лампы, А | |||||||
Нормируемое | Не менее | Не более | ||||||||
50 | - | - | - | - | - | |||||
60 | 33,0 <1> | 82 | 72 | 92 | 0,430 | |||||
-------------------------------- | ||||||||||
Испытательное положение: горизонтальное. | ||||||||||
Характеристики электрода | ||||||||||
Электрод | Испытательное напряжение (действующее), В | Сопротивление каждого электрода, Ом | ||||||||
Нормируемое | Не менее | |||||||||
Низкоомный | 3,6 | 9,6 | 7,0 | |||||||
60901-IEC-5232-2 | ||||||||||
(A3:2004) | ||||||||||
ЛАМПА ЛЮМИНЕСЦЕНТНАЯ ОДНОЦОКОЛЬНАЯ Лист с параметрами Кольцевая | С. 2 | |||||||
МСОЛ: FSC-32-L/P/L-G10q-29/300 | ||||||||
Характеристики ДОИ | ||||||||
Частота, Гц | Номинальная мощность, Вт | Нормируемое напряжение, В | Ток калибровки, А | Отношение напряжения к току, Ом | Коэффициент мощности | |||
50 | - | - | - | - | - | |||
60 | 32 | 236 | 0,425 | 470 | 0,075 | |||
Информация для расчета ПРА | ||||||||
Частота, Гц | 50 | 60 | ||||||
Напряжение предварительного подогрева, В | Действующее значение, не менее | - | 3,1 | |||||
Действующее значение, не более | - | 5,0 | ||||||
Напряжение холостого хода на лампе <1>, В | Действующее значение, не менее | - | 205 | |||||
Пиковое значение, не более | - | |||||||
Резистор, заменяющий каждый из электродов, Ом | - | 9 | ||||||
Напряжение на ВЗУ <2>, В | Пиковое значение, не менее | - | 295 | |||||
Ток в любом вводе электродов, А | Не более | - | ||||||
Рабочий ток лампы, А | Не более | - | ||||||
Информация для расчета светильника | ||||||||
Наибольшее расстояние до ВЗУ, мм | 13 | |||||||
-------------------------------- | ||||||||
60901-IEC-5232-2 | ||||||||
(A3:2004) | ||||||||
ОДНОЦОКОЛЬНАЯ Лист с параметрами Кольцевая | С. 1 | |||||||||
МСОЛ: FSC-40-L/P/L-G10q-29/400 | ||||||||||
Номинальная мощность, Вт | Схема | Электрод | Цоколь | |||||||
40 | Бесстартерная | Предварительного подогрева | G10q | |||||||
Размеры В миллиметрах | ||||||||||
A | B | C и D | D1 | |||||||
Не менее | Не более | Не менее | Не более | Не менее | Не более | Не менее | Не более | |||
341,3 | 347,7 | 338,1 | 347,7 | 393,7 | 406,4 | 26,2 | 30,9 | |||
Цоколь: см. лист 7004-54 IEC 60061-1. | ||||||||||
Характеристики зажигания | ||||||||||
Частота, Гц | Номинальная мощность ПРА, Вт | Нормируемое напряжение на ПРА, В | Расстояние до ВЗУ, мм | Напряжение на электроде (действующее), В | Напряжение холостого хода (действующее), В | Время зажигания, с | ||||
50 | - | - | - | - | - | - | ||||
60 | 40 | 120/140 | 13 | 3,05 | 205 | 10 | ||||
Электрические параметры | ||||||||||
Частота, Гц | Нормируемая мощность, Вт | Напряжение на лампе (действующее), В | Нормируемый ток лампы, А | |||||||
Нормируемое | Не менее | Не более | ||||||||
50 | - | - | - | - | - | |||||
60 | 41,5 <1> | 109 | 99 | 119 | 0,420 | |||||
-------------------------------- | ||||||||||
Испытательное положение: горизонтальное. | ||||||||||
Характеристики электрода | ||||||||||
Электрод | Испытательное напряжение (действующее), В | Сопротивление каждого электрода, Ом | ||||||||
Нормируемое | Не менее | |||||||||
Низкоомный | 3,6 | 9,6 | 7,0 | |||||||
60901-IEC-5240-2 | ||||||||||
(A3:2004) | ||||||||||
ЛАМПА ЛЮМИНЕСЦЕНТНАЯ ОДНОЦОКОЛЬНАЯ Лист с параметрами Кольцевая | С. 2 | |||||||
МСОЛ: FSC-40-L/P/L-G10q-29/400 | ||||||||
Характеристики ДОИ | ||||||||
Частота, Гц | Номинальная мощность, Вт | Нормируемое напряжение, В | Ток калибровки, А | Отношение напряжения к току, Ом | Коэффициент мощности | |||
50 | - | - | - | - | - | |||
60 | 40 | 236 | 0,420 | 439 | 0,075 | |||
Информация для расчета ПРА | ||||||||
Частота, Гц | 50 | 60 | ||||||
Напряжение предварительного подогрева, В | Действующее значение, не менее | - | 3,1 | |||||
Действующее значение, не более | - | 5,0 | ||||||
Напряжение холостого хода на лампе <1>, В | Действующее значение, не менее | - | 210 | |||||
Пиковое значение, не более | - | |||||||
Резистор, заменяющий каждый из электродов, Ом | - | 9 | ||||||
Напряжение на ВЗУ <2>, В | Пиковое значение, не менее | - | 295 | |||||
Ток в любом вводе электродов, А | Не менее | - | ||||||
Рабочий ток лампы, А | Не менее | - | ||||||
Информация для расчета светильника | ||||||||
Наибольшее расстояние до ВЗУ, мм | 13 | |||||||
-------------------------------- | ||||||||
60901-IEC-5240-2 | ||||||||
(A3:2004) | ||||||||
ОДНОЦОКОЛЬНАЯ Лист с параметрами | С. 1 | ||||||||
Высокочастотная | Многоканальная-6 | ||||||||
МСОЛ: FSM6H-14-L/GR14q-1 | |||||||||
Номинальная мощность, Вт | Схема | Электрод | Цоколь | ||||||
14 | ВЧ бесстартерная | Предварительного подогрева | GR14q-1 | ||||||
Размеры В миллиметрах | |||||||||
A, не более | B, не более | C, не более | |||||||
42 | 42 | 140 | |||||||
Цоколь: см. лист 7004-157 IEC 60061-1. | |||||||||
Характеристики зажигания | |||||||||
Частота, кГц | Ток предварительного подогрева, А | Время предварительного подогрева, с | Напряжение холостого хода (действующее), В | Время зажигания, с | |||||
20 - 26 | 0,220 | 2 | 425 | 0,1 | |||||
Электрические параметры | |||||||||
Частота, кГц | Нормируемая мощность, Вт | Напряжение на лампе (действующее), В | Нормируемый ток лампы, А | ||||||
Нормируемое | Не менее | Не более | |||||||
20 - 26 | 14,4 | 100 | 90 | 110 | 0,150 | ||||
Испытательное положение: цоколем вверх. | |||||||||
Характеристики электрода | |||||||||
Испытательный ток, А | Сопротивление каждого электрода, Ом | ||||||||
Нормируемое | Не менее | Не более | |||||||
0,130 | 50,0 | 37,5 | 62,5 | ||||||
60901-IEC-6014-1 | |||||||||
(A5:2011) | |||||||||
ЛАМПА ЛЮМИНЕСЦЕНТНАЯ ОДНОЦОКОЛЬНАЯ Лист с параметрами | С. 2 | ||||||||
Высокочастотная | Многоканальная-6 | ||||||||
МСОЛ: FSM6H-14-L/GR14q-1 | |||||||||
Характеристики ДОИ | |||||||||
Частота, кГц | Номинальная мощность, Вт | Нормируемое напряжение, В | Ток калибровки, А | Отношение напряжения к току, Ом | |||||
20 - 26 | 14 | 280 | 0,150 | 1200 | |||||
Информация для расчета ВЧ ПРА | |||||||||
Работа в нормальном режиме и режиме диммирования | |||||||||
Частота, кГц | >= 20 | ||||||||
Ток перехода от работы в нормальном режиме к режиму диммирования IDперехода, А | 0,100 | ||||||||
Рабочий ток лампы ID, А | Не более | 0,170 | |||||||
Ток в любом вводе электродов, А | Не более | 0,175 | |||||||
Квалификация диммирующего ПРА с заменяющими резисторами (примечание 1) | |||||||||
Нагрев электрода рабочим током любой лампы, измеренного с заменяющими резисторами | |||||||||
Наименьшая сумма квадратов токов выводов: SoSmin: для ID30 < ID <= Iперехода (примечание 2) | А2 | X1 | 0,030 | ||||||
А | Y1 | 0,240 | |||||||
Нагрев электрода при конкретных рабочих токах, измеренных на заменяющих резисторах | |||||||||
Рабочий ток | Параметры нагрева | ||||||||
IDmin, А | 0,015 | Наименьшее напряжение на электроде, В | CVDmin | 5,40 | |||||
Резисторы, заменяющие разрядную лампу, Ом | RL10min | 12000 | |||||||
RL10max | 18000 | ||||||||
ID30, А | 0,040 | Наименьшая сумма квадратов токов выводов, А2 | SoS30 | X1 - Y1ID30 | |||||
Резистор, заменяющий разрядную лампу, Ом | RL30 | 3900 | |||||||
ID60, А | 0,080 | Наименьшая сумма квадратов токов выводов, А2 | SoS60 | X1 - Y1ID60 | |||||
Резистор, заменяющий разрядную лампу, Ом | RL60 | 1600 | |||||||
Наибольшее напряжение на электроде, В | CVmax | 7,60 | |||||||
Заменяющие электрод резисторы для квалификации диммирующего ПРА | |||||||||
Заменяющий резистор каждого электрода для испытания требований диммирования, Ом | Rиспытания 1 | 50,0 | |||||||
Rиспытания 2 | 55,0 | ||||||||
Rиспытания 3 | 45,0 | ||||||||
Примечания | |||||||||
60901-IEC-6014-2 | |||||||||
(A5:2011), (A6:2014) | |||||||||
ЛАМПА ЛЮМИНЕСЦЕНТНАЯ ОДНОЦОКОЛЬНАЯ Лист с параметрами | С. 3 | ||||||||
Высокочастотная | Многоканальная-6 | ||||||||
МСОЛ: FSM6H-14-L/GR14q-1 | |||||||||
Требования зажигания к электродам предварительного подогрева для времени зажигания 0,4 с < ts < 3,0 с | |||||||||
Наименьшая энергия предварительного подогрева электрода: Emin = Qmin + Pmin ts, Дж | Qmin | Дж | 1,0 | ||||||
Pmin | Дж/с | 0,7 | |||||||
Напряжение на каждом электроде для E (t) < Emin, В | Действующее значение, не более | 11 | |||||||
Заменяющий резистор каждого электрода для проверки минимальных требований к предварительному подогреву электродов, Ом | 30 | ||||||||
Наибольшая энергия предварительного подогрева электрода: Emax = Qmax + Pmax ts, Дж | Qmax | Дж | 2,0 | ||||||
Pmax | Дж/с | 1,4 | |||||||
Заменяющий резистор каждого электрода для проверки максимальных требований к предварительному подогреву электродов, Ом | 40 | ||||||||
Напряжение холостого хода на лампе без ВЗУ, В | Напряжение незажигания | t <= ts | Действующее значение, не более | 300 | |||||
Напряжение зажигания | t > ts (+10 °C) | Действующее значение, не менее | 475 | ||||||
t > ts (-15 °C) | 625 | ||||||||
Диапазон заменяющего резистора каждого электрода для проверки требований к напряжению холостого хода, Ом | 30,0 - 90,0 | ||||||||
Типичные параметры лампы при температуре окружающей среды 35 °C | |||||||||
Номинальная мощность, Вт | Напряжение на лампе, В | Ток лампы, А | |||||||
14,8 | 100 | 0,150 | |||||||
60901-IEC-6014-1 | |||||||||
(A6:2014) | |||||||||
ОДНОЦОКОЛЬНАЯ Лист с параметрами | С. 1 | ||||||||
Высокочастотная | Многоканальная-6 | ||||||||
МСОЛ: FSM6H-17-L/GR14q-1 | |||||||||
Номинальная мощность, Вт | Схема | Электрод | Цоколь | ||||||
14 | ВЧ бесстартерная | Предварительного подогрева | GR14q-1 | ||||||
Размеры В миллиметрах | |||||||||
A, не более | B, не более | C, не более | |||||||
42 | 42 | 150 | |||||||
Цоколь: см. лист 7004-157 IEC 60061-1. | |||||||||
Характеристики зажигания | |||||||||
Частота, кГц | Ток предварительного подогрева, А | Время предварительного подогрева, с | Напряжение холостого хода (действующее), В | Время зажигания, с | |||||
20 - 26 | 0,220 | 2 | 450 | 0,1 | |||||
Электрические параметры | |||||||||
Частота, кГц | Нормируемая мощность, Вт | Напряжение на лампе (действующее), В | Нормируемый ток лампы, А | ||||||
Нормируемое | Не менее | Не более | |||||||
20 - 26 | 17,4 | 120 | 110 | 130 | 0,150 | ||||
Испытательное положение: цоколем вверх. | |||||||||
Характеристики электрода | |||||||||
Испытательный ток, А | Сопротивление каждого электрода, Ом | ||||||||
Нормируемое | Не менее | Не более | |||||||
0,130 | 50,0 | 37,5 | 62,5 | ||||||
60901-IEC-6017-1 | |||||||||
(A5:2011) | |||||||||
ЛАМПА ЛЮМИНЕСЦЕНТНАЯ ОДНОЦОКОЛЬНАЯ Лист с параметрами | С. 2 | ||||||||
Высокочастотная | Многоканальная-6 | ||||||||
МСОЛ: FSM6H-17-L/GR14q-1 | |||||||||
Характеристики ДОИ | |||||||||
Частота, Гц | Номинальная мощность, Вт | Нормируемое напряжение, В | Ток калибровки, А | Отношение напряжения к току, Ом | |||||
20 - 26 | 17 | 300 | 0,150 | 1200 | |||||
Информация для расчета ВЧ ПРА | |||||||||
Работа в нормальном режиме и режиме диммирования | |||||||||
Частота, кГц | >= 20 | ||||||||
Ток перехода от работы в нормальном режиме к режиму диммирования IDперехода, А | 0,100 | ||||||||
Рабочий ток лампы ID, А | Не более | 0,170 | |||||||
Ток в любом вводе электродов, А | Не более | 0,175 | |||||||
Квалификация диммирующего ПРА с заменяющими резисторами (примечание 1) | |||||||||
Нагрев электрода рабочим током любой лампы, измеренного с заменяющими резисторами | |||||||||
Наименьшая сумма квадратов токов выводов: SoSmin: для ID30 < ID <= Iперехода (примечание 2) | А2 | X1 | 0,030 | ||||||
А | Y1 | 0,240 | |||||||
Нагрев электрода при конкретных рабочих токах, измеренных на заменяющих резисторах | |||||||||
Рабочий ток | Параметры нагрева | ||||||||
IDmin, А | 0,015 | Наименьшее напряжение на электроде, В | CVDmin | 5,40 | |||||
Резисторы, заменяющие разрядную лампу, Ом | RL10min | 15000 | |||||||
RL10max | 22000 | ||||||||
ID30, А | 0,040 | Наименьшая сумма квадратов токов выводов, А2 | SoS30 | X1 - Y1ID30 | |||||
Резистор, заменяющий разрядную лампу, Ом | RL30 | 5600 | |||||||
ID60, А | 0,080 | Наименьшая сумма квадратов токов выводов, А2 | SoS60 | X1 - Y1ID60 | |||||
Резистор, заменяющий разрядную лампу, Ом | RL60 | 2200 | |||||||
Наибольшее напряжение на электроде, В | CVmax | 7,60 | |||||||
Заменяющие электрод резисторы для квалификации диммирующего ПРА | |||||||||
Заменяющий резистор каждого электрода для испытания требований диммирования, Ом | Rиспытания 1 | 50,0 | |||||||
Rиспытания 2 | 55,0 | ||||||||
Rиспытания 3 | 45,0 | ||||||||
Примечания | |||||||||
60901-IEC-6017-2 | |||||||||
(A5:2011), (A6:2014) | |||||||||
ЛАМПА ЛЮМИНЕСЦЕНТНАЯ ОДНОЦОКОЛЬНАЯ Лист с параметрами | С. 3 | ||||||||
Высокочастотная | Многоканальная-6 | ||||||||
МСОЛ: FSM6H-17-L/GR14q-1 | |||||||||
Требования зажигания к электродам предварительного подогрева для времени зажигания 0,4 с < ts < 3,0 с | |||||||||
Наименьшая энергия предварительного подогрева электрода: Emin = Qmin + Pmin ts, Дж | Qmin | Дж | 1,0 | ||||||
Pmin | Дж/с | 0,7 | |||||||
Напряжение на каждом электроде для E (t) < Emin, В | Действующее значение, не более | 11 | |||||||
Заменяющий резистор каждого электрода для проверки минимальных требований к предварительному подогреву электродов, Ом | 30 | ||||||||
Наибольшая энергия предварительного подогрева электрода: Emax = Qmax + Pmax ts, Дж | Qmax | Дж | 2,0 | ||||||
Pmax | Дж/с | 1,4 | |||||||
Заменяющий резистор каждого электрода для проверки максимальных требований к предварительному подогреву электродов, Ом | 40 | ||||||||
Напряжение холостого хода на лампе без ВЗУ, В | Напряжение незажигания | t <= ts | Действующее значение, не более | 350 | |||||
Напряжение зажигания | t > ts (+10 °C) | Действующее значение, не менее | 500 | ||||||
t > ts (-15 °C) | 650 | ||||||||
Диапазон заменяющего резистора каждого электрода для проверки требований к напряжению холостого хода, Ом | 30,0 - 90,0 | ||||||||
Типичные параметры лампы при температуре окружающей среды 35 °C | |||||||||
Номинальная мощность, Вт | Напряжение на лампе, В | Ток лампы, А | |||||||
18,4 | 125 | 0,150 | |||||||
60901-IEC-6017-1 | |||||||||
(A6:2014) | |||||||||
ОДНОЦОКОЛЬНАЯ Лист с параметрами | С. 1 | ||||||||
Высокочастотная | Двухканальная | ||||||||
МСОЛ: FSDH-40-L/P-2G11 | |||||||||
Номинальная мощность, Вт | Схема | Электрод | Цоколь | ||||||
40 | ВЧ бесстартерная | Предварительного подогрева | 2G11 | ||||||
Размеры В миллиметрах | |||||||||
A, не более | B, не более | C, не более | |||||||
40 | 20 | 535 | |||||||
Цоколь: см. лист 7004-82 IEC 60061-1. | |||||||||
Характеристики зажигания | |||||||||
Частота, кГц | Ток предварительного подогрева, А | Время предварительного подогрева, с | Напряжение холостого хода (действующее), В | Время зажигания, с | |||||
20 - 26 | 0,470 | 2 | 350 | 0,1 | |||||
Электрические параметры | |||||||||
Частота, кГц | Нормируемая мощность, Вт | Напряжение на лампе (действующее), В | Нормируемый ток лампы, А | ||||||
Нормируемое | Не менее | Не более | |||||||
20 - 26 | 40 | 126 | 116 | 136 | 0,320 | ||||
Испытательное положение: горизонтальное с плоскостью, проходящей через каналы горизонтально. Примечание - Для уменьшения времени испытания можно использовать другие положения по соглашению между изготовителем и испытательным органом. В спорном случае горизонтальное положение является базовым. | |||||||||
Характеристики электрода | |||||||||
Испытательный ток, А | Сопротивление каждого электрода, Ом | ||||||||
Нормируемое | Не менее | Не более | |||||||
0,340 | 12 | 9 | 15 | ||||||
Информация для расчета светильника | |||||||||
Наибольший контур лампы: см. лист 60901-IEC-A210 с размером H, мм | 535 | ||||||||
Опора конца лампы: расстояние от базовой плоскости цоколя, мм | Не менее | 450 | |||||||
Не более | 485 | ||||||||
Зазор между коленами лампы, мм | Не менее | 1,5 | |||||||
60901-IEC-6240-3 | |||||||||
(A6:2014) | |||||||||
ЛАМПА ЛЮМИНЕСЦЕНТНАЯ ОДНОЦОКОЛЬНАЯ Лист с параметрами | С. 2 | ||||||||
Высокочастотная | Двухканальная | ||||||||
МСОЛ: FSDH-40-L/P-2G11 | |||||||||
Характеристики ДОИ | |||||||||
Частота, кГц | Номинальная мощность, Вт | Нормируемое напряжение, В | Ток калибровки, А | Отношение напряжения к току, Ом | |||||
20 - 26 | 40 | 254 | 0,320 | 400 | |||||
Информация для расчета ВЧ ПРА | |||||||||
Работа в нормальном режиме и режиме диммирования | |||||||||
Частота, кГц | >= 20 | ||||||||
Ток перехода от работы в нормальном режиме к режиму диммирования IDперехода, А | 0,270 | ||||||||
Рабочий ток лампы ID, А | Не более | 0,430 | |||||||
Ток в любом вводе электродов, А | Не более | 0,475 | |||||||
Квалификация диммирующего ПРА с заменяющими резисторами (примечание 1) | |||||||||
Нагрев электрода рабочим током любой лампы, измеренного с заменяющими резисторами | |||||||||
Наименьшая сумма квадратов токов выводов: SoSmin: для ID30 < ID <= Iперехода (примечание 2) | А2 | X1 | 0,210 | ||||||
А | Y1 | 0,630 | |||||||
Нагрев электрода при конкретных рабочих токах, измеренных на заменяющих резисторах | |||||||||
Рабочий ток | Параметры нагрева | ||||||||
IDmin, А | 0,035 | Наименьшее напряжение на электроде, В | CVDmin | 3,60 | |||||
Резисторы, заменяющие разрядную лампу, Ом | RL10min | 4300 | |||||||
RL10max | 7500 | ||||||||
ID30, А | 0,100 | Наименьшая сумма квадратов токов выводов, А2 | SoS30 | X1 - Y1ID30 | |||||
Резистор, заменяющий разрядную лампу, Ом | RL30 | 1600 | |||||||
ID60, А | 0,200 | Наименьшая сумма квадратов токов выводов, А2 | SoS60 | X1 - Y1ID60 | |||||
Резистор, заменяющий разрядную лампу, Ом | RL60 | 680 | |||||||
Наибольшее напряжение на электроде, В | CVmax | 4,70 | |||||||
Заменяющие электрод резисторы для квалификации диммирующего ПРА | |||||||||
Заменяющий резистор каждого электрода для испытания требований диммирования, Ом | Rиспытания 1 | 12,0 | |||||||
Rиспытания 2 | 13,0 | ||||||||
Rиспытания 3 | 11,0 | ||||||||
Примечания | |||||||||
60901-IEC-6240-4 | |||||||||
(A6:2014) | |||||||||
ЛАМПА ЛЮМИНЕСЦЕНТНАЯ ОДНОЦОКОЛЬНАЯ Лист с параметрами | С. 3 | ||||||||
Высокочастотная | Двухканальная | ||||||||
МСОЛ: FSDH-40-L/P-2G11 | |||||||||
Требования зажигания к электродам предварительного подогрева для времени зажигания 0,4 с < ts < 3,0 с | |||||||||
Наименьшая энергия предварительного подогрева электрода: Emin = Qmin + Pmin ts, Дж | Qmin | Дж | 1,5 | ||||||
Pmin | Дж/с | 0,9 | |||||||
Напряжение на каждом электроде для E (t) < Emin, В | Действующее значение, не более | 11 | |||||||
Заменяющий резистор каждого электрода для проверки минимальных требований к предварительному подогреву электродов, Ом | 8 | ||||||||
Наибольшая энергия предварительного подогрева электрода: Emax = Qmax + Pmax ts, Дж | Qmax | Дж | 3,0 | ||||||
Pmax | Дж/с | 1,8 | |||||||
Заменяющий резистор каждого электрода для проверки максимальных требований к предварительному подогреву электродов, Ом | 11 | ||||||||
Напряжение холостого хода на лампе без ВЗУ, В | Напряжение незажигания | t <= ts | Действующее значение, не более | 220 | |||||
Напряжение зажигания | t > ts (+10 °C) | Действующее значение, не менее | 360 | ||||||
t > ts (-15 °C) | 450 | ||||||||
Диапазон заменяющего резистора каждого электрода для проверки требований к напряжению холостого хода, Ом | 8,0 - 24,0 | ||||||||
60901-IEC-6240-1 | |||||||||
(A6:2014) | |||||||||
ОДНОЦОКОЛЬНАЯ Лист с параметрами | С. 1 | ||||||||
Высокочастотная | Двухканальная | ||||||||
МСОЛ: FSDH-55-L/P-2G11 | |||||||||
Номинальная мощность, Вт | Схема | Электрод | Цоколь | ||||||
55 | ВЧ бесстартерная | Предварительного подогрева | 2G11 | ||||||
Размеры В миллиметрах | |||||||||
A, не более | B, не более | C, не более | |||||||
40 | 20 | 535 | |||||||
Цоколь: см. лист 7004-82 IEC 60061-1. | |||||||||
Характеристики зажигания | |||||||||
Частота, кГц | Ток предварительного подогрева, А | Время предварительного подогрева, с | Напряжение холостого хода (действующее), В | Время зажигания, с | |||||
20 - 26 | 0,760 | 2 | 350 | 0,1 | |||||
Электрические параметры | |||||||||
Частота, кГц | Нормируемая мощность, Вт | Напряжение на лампе (действующее), В | Нормируемый ток лампы, А | ||||||
Нормируемое | Не менее | Не более | |||||||
20 - 26 | 55 | 101 | 91 | 111 | 0,550 | ||||
Испытательное положение: горизонтальное с плоскостью, проходящей через каналы горизонтально. Примечание - Для уменьшения времени испытания можно использовать другие положения по соглашению между изготовителем и испытательным органом. В спорном случае горизонтальное положение является базовым. | |||||||||
Характеристики электрода | |||||||||
Испытательный ток, А | Сопротивление каждого электрода, Ом | ||||||||
Нормируемое | Не менее | Не более | |||||||
0,500 | 8 | 6 | 10 | ||||||
Информация для расчета светильника | |||||||||
Наибольший контур лампы: см. лист 60901-IEC-A210 с размером H, мм | 535 | ||||||||
Опора конца лампы: расстояние от базовой плоскости цоколя, мм | Не менее | 450 | |||||||
Не более | 485 | ||||||||
Зазор между коленами лампы, мм | Не менее | 1,8 | |||||||
60901-IEC-6255-3 | |||||||||
(A6:2014) | |||||||||
ЛАМПА ЛЮМИНЕСЦЕНТНАЯ ОДНОЦОКОЛЬНАЯ Лист с параметрами | С. 2 | ||||||||
Высокочастотная | Двухканальная | ||||||||
МСОЛ: FSDH-55-L/P-2G11 | |||||||||
Характеристики ДОИ | |||||||||
Частота, кГц | Номинальная мощность, Вт | Нормируемое напряжение, В | Ток калибровки, А | Отношение напряжения к току, Ом | |||||
20 - 26 | 55 | 202 | 0,550 | 185 | |||||
Информация для расчета ВЧ ПРА | |||||||||
Работа в нормальном режиме и режиме диммирования | |||||||||
Частота, кГц | >= 20 | ||||||||
Ток перехода от работы в нормальном режиме к режиму диммирования IDперехода, А | 0,400 | ||||||||
Рабочий ток лампы ID, А | Не более | 0,650 | |||||||
Ток в любом вводе электродов, А | Не более | 0,700 | |||||||
Квалификация диммирующего ПРА с заменяющими резисторами (примечание 1) | |||||||||
Нагрев электрода рабочим током любой лампы, измеренного с заменяющими резисторами | |||||||||
Наименьшая сумма квадратов токов выводов: SoSmin: для ID30 < ID <= Iперехода (примечание 2) | А2 | X1 | 0,450 | ||||||
А | Y1 | 0,925 | |||||||
Нагрев электрода при конкретных рабочих токах, измеренных на заменяющих резисторах | |||||||||
Рабочий ток | Параметры нагрева | ||||||||
IDmin, А | 0,050 | Наименьшее напряжение на электроде, В | CVDmin | 3,35 | |||||
Резисторы, заменяющие разрядную лампу, Ом | RL10min | 2700 | |||||||
RL10max | 5100 | ||||||||
ID30, А | 0,150 | Наименьшая сумма квадратов токов выводов, А2 | SoS30 | X1 - Y1ID30 | |||||
Резистор, заменяющий разрядную лампу, Ом | RL30 | 1000 | |||||||
ID60, А | 0,300 | Наименьшая сумма квадратов токов выводов, А2 | SoS60 | X1 - Y1ID60 | |||||
Резистор, заменяющий разрядную лампу, Ом | RL60 | 390 | |||||||
Наибольшее напряжение на электроде, В | CVmax | 4,45 | |||||||
Заменяющие электрод резисторы для квалификации диммирующего ПРА | |||||||||
Заменяющий резистор каждого электрода для испытания требований диммирования, Ом | Rиспытания 1 | 8,0 | |||||||
Rиспытания 2 | 9,0 | ||||||||
Rиспытания 3 | 7,0 | ||||||||
Примечания | |||||||||
60901-IEC-6255-4 | |||||||||
(A6:2014) | |||||||||
ЛАМПА ЛЮМИНЕСЦЕНТНАЯ ОДНОЦОКОЛЬНАЯ Лист с параметрами | С. 3 | ||||||||
Высокочастотная | Двухканальная | ||||||||
МСОЛ: FSDH-55-L/P-2G11 | |||||||||
Требования зажигания к электродам предварительного подогрева для времени зажигания 0,4 с < ts < 3,0 с | |||||||||
Наименьшая энергия предварительного подогрева электрода: Emin = Qmin + Pmin ts, Дж | Qmin | Дж | 2,4 | ||||||
Pmin | Дж/с | 1,1 | |||||||
Напряжение на каждом электроде для E (t) < Emin, В | Действующее значение, не более | 11 | |||||||
Заменяющий резистор каждого электрода для проверки минимальных требований к предварительному подогреву электродов, Ом | 5 | ||||||||
Наибольшая энергия предварительного подогрева электрода: Emax = Qmax + Pmax ts, Дж | Qmax | Дж | 4,8 | ||||||
Pmax | Дж/с | 2,2 | |||||||
Заменяющий резистор каждого электрода для проверки максимальных требований к предварительному подогреву электродов, Ом | 6,5 | ||||||||
Напряжение холостого хода на лампе без ВЗУ, В | Напряжение незажигания | t <= ts | Действующее значение, не более | 220 | |||||
Напряжение зажигания | t > ts (+10 °C) | Действующее значение, не менее | 360 | ||||||
t > ts (-15 °C) | 460 | ||||||||
Диапазон заменяющего резистора каждого электрода для проверки требований к напряжению холостого хода, Ом | 5,0 - 15,0 | ||||||||
60901-IEC-6255-1 | |||||||||
(A6:2014) | |||||||||
ОДНОЦОКОЛЬНАЯ Лист с параметрами | С. 1 | ||||||||
Высокочастотная | Двухканальная | ||||||||
МСОЛ: FSDH-80-L/P-2G11 | |||||||||
Номинальная мощность, Вт | Схема | Электрод | Цоколь | ||||||
80 | ВЧ бесстартерная | Предварительного подогрева | 2G11 | ||||||
Размеры В миллиметрах | |||||||||
A, не более | B, не более | C, не более | |||||||
40 | 20 | 565 | |||||||
Цоколь: см. лист 7004-82 IEC 60061-1. | |||||||||
Характеристики зажигания | |||||||||
Частота, кГц | Ток предварительного подогрева, А | Время предварительного подогрева, с | Напряжение холостого хода (действующее), В | Время зажигания, с | |||||
20 - 26 | 0,810 | 2 | 360 | 0,1 | |||||
Электрические параметры | |||||||||
Частота, кГц | Нормируемая мощность, Вт | Напряжение на лампе (действующее), В | Нормируемый ток лампы, А | ||||||
Нормируемое | Не менее | Не более | |||||||
20 - 26 | 80 | 145 | 130 | 160 | 0,555 | ||||
Испытательное положение: горизонтальное с плоскостью, проходящей через каналы горизонтально. Примечание - Для уменьшения времени испытания можно использовать другие положения по соглашению между изготовителем и испытательным органом. В спорном случае горизонтальное положение является базовым. | |||||||||
Характеристики электрода | |||||||||
Испытательный ток, А | Сопротивление каждого электрода, Ом | ||||||||
Нормируемое | Не менее | Не более | |||||||
0,530 | 8 | 6 | 10 | ||||||
Информация для расчета светильника | |||||||||
Наибольший контур лампы: см. лист 60901-IEC-A210 с размером H, мм | 565 | ||||||||
Опора конца лампы: расстояние от базовой плоскости цоколя, мм | Не менее | 480 | |||||||
Не более | 415 | ||||||||
Зазор между коленами лампы, мм | Не менее | 1,8 | |||||||
60901-IEC-6280-2 | |||||||||
(A4:2007), (A6:2014) | |||||||||
ЛАМПА ЛЮМИНЕСЦЕНТНАЯ ОДНОЦОКОЛЬНАЯ Лист с параметрами | С. 2 | ||||||||
Высокочастотная | Двухканальная | ||||||||
МСОЛ: FSDH-80-L/P-2G11 | |||||||||
Характеристики ДОИ | |||||||||
Частота, кГц | Номинальная мощность, Вт | Нормируемое напряжение, В | Ток калибровки, А | Отношение напряжения к току, Ом | |||||
20 - 26 | 80 | 288 | 0,555 | 260 | |||||
Информация для расчета ВЧ ПРА | |||||||||
Работа в нормальном режиме и режиме диммирования | |||||||||
Частота, кГц | >= 20 | ||||||||
Ток перехода от работы в нормальном режиме к режиму диммирования ID перехода, А | 0,425 | ||||||||
Рабочий ток лампы ID, А | Не более | 0,690 | |||||||
Ток в любом вводе электродов, А | Не более | 0,740 | |||||||
Квалификация диммирующего ПРА с заменяющими резисторами (примечание 1) | |||||||||
Нагрев электрода рабочим током любой лампы, измеренного с заменяющими резисторами | |||||||||
Наименьшая сумма квадратов токов выводов: SoSmin: для ID30 < ID <= Iперехода (примечание 2) | А2 | X1 | 0,505 | ||||||
А | Y1 | 0,980 | |||||||
Нагрев электрода при конкретных рабочих токах, измеренных на заменяющих резисторах | |||||||||
Рабочий ток | Параметры нагрева | ||||||||
IDmin, А | 0,055 | Наименьшее напряжение на электроде, В | CVDmin | 3,55 | |||||
Резисторы, заменяющие разрядную лампу, Ом | RL10min | 3000 | |||||||
RL10max | 5600 | ||||||||
ID30, А | 0,160 | Наименьшая сумма квадратов токов выводов, А2 | SoS30 | X1 - Y1ID30 | |||||
Резистор, заменяющий разрядную лампу, Ом | RL30 | 1200 | |||||||
ID60, А | 0,330 | Наименьшая сумма квадратов токов выводов, А2 | SoS60 | X1 - Y1ID60 | |||||
Резистор, заменяющий разрядную лампу, Ом | RL60 | 510 | |||||||
Наибольшее напряжение на электроде, В | CVmax | 4,45 | |||||||
Заменяющие электрод резисторы для квалификации диммирующего ПРА | |||||||||
Заменяющий резистор каждого электрода для испытания требований диммирования, Ом | Rиспытания 1 | 8,0 | |||||||
Rиспытания 2 | 9,0 | ||||||||
Rиспытания 3 | 7,0 | ||||||||
Примечания | |||||||||
60901-IEC-6280-2 | |||||||||
(A4:2007), (A6:2014) | |||||||||
ЛАМПА ЛЮМИНЕСЦЕНТНАЯ ОДНОЦОКОЛЬНАЯ Лист с параметрами | С. 3 | ||||||||
Высокочастотная | Двухканальная | ||||||||
МСОЛ: FSDH-80-L/P-2G11 | |||||||||
Требования зажигания к электродам предварительного подогрева для времени зажигания 0,4 с < ts < 3,0 с | |||||||||
Наименьшая энергия предварительного подогрева электрода: Emin = Qmin + Pmin ts, Дж | Qmin | Дж | 2,5 | ||||||
Pmin | Дж/с | 1,5 | |||||||
Напряжение на каждом электроде для E (t) < Emin, В | Действующее значение, не более | 11 | |||||||
Заменяющий резистор каждого электрода для проверки минимальных требований к предварительному подогреву электродов, Ом | 5 | ||||||||
Наибольшая энергия предварительного подогрева электрода: Emax = Qmax + Pmax ts, Дж | Qmax | Дж | 5,0 | ||||||
Pmax | Дж/с | 3,0 | |||||||
Заменяющий резистор каждого электрода для проверки максимальных требований к предварительному подогреву электродов, Ом | 6,5 | ||||||||
Напряжение холостого хода на лампе без ВЗУ, В | Напряжение незажигания | t <= ts | Действующее значение, не более | 230 | |||||
Напряжение зажигания | t > ts (+10 °C) | Действующее значение, не менее | 370 | ||||||
t > ts (-15 °C) | 420 | ||||||||
Напряжение на ВЗУ | t <= ts | Пиковое, не более | |||||||
t > ts | Пиковое, не менее | ||||||||
Диапазон заменяющего резистора каждого электрода для проверки требований к напряжению холостого хода, Ом | 5,0 - 15,0 | ||||||||
-------------------------------- | |||||||||
60901-IEC-6280-1 | |||||||||
(A6:2014) | |||||||||
ОДНОЦОКОЛЬНАЯ Лист с параметрами | С. 1 | ||||||||||||
Высокочастотная | Кольцевая | ||||||||||||
МСОЛ: FSCH-22-L/P-2GX13-16/225 | |||||||||||||
Номинальная мощность, Вт | Схема | Электрод | Цоколь | ||||||||||
22 | ВЧ бесстартерная | Предварительного подогрева | 2GX13 | ||||||||||
Размеры В миллиметрах | |||||||||||||
B, не более | D, не более | D1, не более | |||||||||||
187 | 197 | 220 | 230 | 14 | 18 | ||||||||
Цоколь: см. лист 7004-125 IEC 60061-1. | |||||||||||||
Характеристики зажигания | |||||||||||||
Частота, кГц | Расстояние до ВЗУ, мм | Ток предварительного подогрева, А | Время предварительного подогрева, с | Напряжение холостого хода (действующее), В | Время зажигания, с | ||||||||
20 - 26 | 6 | 0,440 | 2 | 350 | 0,1 | ||||||||
Электрические параметры | |||||||||||||
Частота, кГц | Нормируемая мощность, Вт | Напряжение на лампе (действующее), В | Нормируемый ток лампы, А | ||||||||||
Нормируемое | Не менее | Не более | |||||||||||
20 - 26 | 22,3 | 75 | 67 | 83 | 0,300 | ||||||||
Испытательное положение: горизонтальное. | |||||||||||||
Характеристики электрода | |||||||||||||
Испытательный ток, А | Сопротивление каждого электрода, Ом | ||||||||||||
Нормируемое | Не менее | Не более | |||||||||||
0,340 | 12 | 9 | 15 | ||||||||||
Информация для расчета светильника | |||||||||||||
Наибольшее расстояние до ВЗУ, мм | 6 | ||||||||||||
60901-IEC-6722-2 | |||||||||||||
(A3:2004), (A6:2014) | |||||||||||||
ЛАМПА ЛЮМИНЕСЦЕНТНАЯ ОДНОЦОКОЛЬНАЯ Лист с параметрами | С. 2 | ||||||||
Высокочастотная | Двухканальная | ||||||||
МСОЛ: FSCH-22-L/P-2GX13-16/225 | |||||||||
Характеристики ДОИ | |||||||||
Частота, кГц | Номинальная мощность, Вт | Нормируемое напряжение, В | Ток калибровки, А | Отношение напряжения к току, Ом | |||||
20 - 26 | 22 | 150 | 0,300 | 250 | |||||
Информация для расчета ВЧ ПРА | |||||||||
Работа в нормальном режиме и режиме диммирования | |||||||||
Частота, кГц | >= 20 | ||||||||
Ток перехода от работы в нормальном режиме к режиму диммирования IDперехода, А | 0,270 | ||||||||
Рабочий ток лампы ID, А | Не более | 0,425 | |||||||
Ток в любом вводе электродов, А | Не более | 0,475 | |||||||
Квалификация диммирующего ПРА с заменяющими резисторами (примечание 1) | |||||||||
Нагрев электрода рабочим током любой лампы, измеренного с заменяющими резисторами | |||||||||
Наименьшая сумма квадратов токов выводов: SoSmin: для ID30 < ID <= Iперехода (примечание 2) | А2 | X1 | 0,210 | ||||||
А | Y1 | 0,630 | |||||||
Нагрев электрода при конкретных рабочих токах, измеренных на заменяющих резисторах | |||||||||
Рабочий ток | Параметры нагрева | ||||||||
IDmin, А | 0,035 | Наименьшее напряжение на электроде, В | CVDmin | 3,40 | |||||
Резисторы, заменяющие разрядную лампу, Ом | RL10min | 2400 | |||||||
RL10max | 4300 | ||||||||
ID30, А | 0,100 | Наименьшая сумма квадратов токов выводов, А2 | SoS30 | X1 - Y1ID30 | |||||
Резистор, заменяющий разрядную лампу, Ом | RL30 | 910 | |||||||
ID60, А | 0,200 | Наименьшая сумма квадратов токов выводов, А2 | SoS60 | X1 - Y1ID60 | |||||
Резистор, заменяющий разрядную лампу, Ом | RL60 | 390 | |||||||
Наибольшее напряжение на электроде, В | CVmax | 4,70 | |||||||
Заменяющие электрод резисторы для квалификации диммирующего ПРА | |||||||||
Заменяющий резистор каждого электрода для испытания требований диммирования, Ом | Rиспытания 1 | 12,0 | |||||||
Rиспытания 2 | 13,0 | ||||||||
Rиспытания 3 | 11,0 | ||||||||
Примечания | |||||||||
60901-IEC-6722-3 | |||||||||
(A3:2004), (A6:2014) | |||||||||
ЛАМПА ЛЮМИНЕСЦЕНТНАЯ ОДНОЦОКОЛЬНАЯ Лист с параметрами | С. 3 | |||||||||
Высокочастотная | Двухканальная | |||||||||
МСОЛ: FSCH-22-L/P-2GX13-16/225 | ||||||||||
Требования зажигания к электродам предварительного подогрева для времени зажигания 0,4 с < ts < 3,0 с | ||||||||||
Наименьшая энергия предварительного подогрева электрода: Emin = Qmin + Pmin ts, Дж | Qmin | Дж | 1,2 | |||||||
Pmin | Дж/с | 0,9 | ||||||||
Напряжение на каждом электроде для E (t) < Emin, В | Действующее значение, не более | 11 | ||||||||
Заменяющий резистор каждого электрода для проверки минимальных требований к предварительному подогреву электродов, Ом | 7 | |||||||||
Наибольшая энергия предварительного подогрева электрода: Emax = Qmax + Pmax ts, Дж | Qmax | Дж | 2,4 | |||||||
Pmax | Дж/с | 1,8 | ||||||||
Заменяющий резистор каждого электрода для проверки максимальных требований к предварительному подогреву электродов, Ом | 9,5 | |||||||||
Напряжение холостого хода на лампе без ВЗУ, В | Напряжение незажигания | t <= ts | Действующее значение, не более | 170 | ||||||
Напряжение зажигания | t > ts (+10 °C) | Действующее значение, не менее | 350 | |||||||
t > ts (-15 °C) | 400 | |||||||||
Напряжение на ВЗУ | t <= ts | Пиковое, не более | ||||||||
t > ts | Пиковое, не менее | |||||||||
Диапазон заменяющего резистора каждого электрода для проверки требований к напряжению холостого хода, Ом | 7,0 - 21,0 | |||||||||
-------------------------------- | ||||||||||
60901-IEC-6722-1 | ||||||||||
(A6:2014) | ||||||||||
ОДНОЦОКОЛЬНАЯ Лист с параметрами | С. 1 | ||||||||||||
Высокочастотная | Кольцевая | ||||||||||||
МСОЛ: FSCH-40-L/P-2GX13-16/300 | |||||||||||||
Номинальная мощность, Вт | Схема | Электрод | Цоколь | ||||||||||
40 | ВЧ бесстартерная | Предварительного подогрева | 2GX13 | ||||||||||
Размеры В миллиметрах | |||||||||||||
B, не более | D, не более | D1, не более | |||||||||||
260 | 272 | 293 | 305 | 14 | 18 | ||||||||
Цоколь: см. лист 7004-125 IEC 60061-1. | |||||||||||||
Характеристики зажигания | |||||||||||||
Частота, кГц | Расстояние до ВЗУ, мм | Ток предварительного подогрева, А | Время предварительного подогрева, с | Напряжение холостого хода (действующее), В | Время зажигания, с | ||||||||
20 - 26 | 6 | 0,440 | 2 | 280 | 0,1 | ||||||||
Электрические параметры | |||||||||||||
Частота, кГц | Нормируемая мощность, Вт | Напряжение на лампе (действующее), В | Нормируемый ток лампы, А | ||||||||||
Нормируемое | Не менее | Не более | |||||||||||
20 - 26 | 39,9 | 126 | 116 | 136 | 0,320 | ||||||||
Испытательное положение: горизонтальное. | |||||||||||||
Характеристики электрода | |||||||||||||
Испытательный ток, А | Сопротивление каждого электрода, Ом | ||||||||||||
Нормируемое | Не менее | Не более | |||||||||||
0,360 | 12 | 9 | 15 | ||||||||||
Информация для расчета светильника | |||||||||||||
Наибольшее расстояние до ВЗУ, мм | 6 | ||||||||||||
60901-IEC-6740-2 | |||||||||||||
(A3:2004), (A6:2014) | |||||||||||||
ЛАМПА ЛЮМИНЕСЦЕНТНАЯ ОДНОЦОКОЛЬНАЯ Лист с параметрами | С. 2 | ||||||||
Высокочастотная | Двухканальная | ||||||||
МСОЛ: FSCH-40-L/P-2GX13-16/300 | |||||||||
Характеристики ДОИ | |||||||||
Частота, кГц | Номинальная мощность, Вт | Нормируемое напряжение, В | Ток калибровки, А | Отношение напряжения к току, Ом | |||||
20 - 26 | 40 | 254 | 0,320 | 400 | |||||
Информация для расчета ВЧ ПРА | |||||||||
Работа в нормальном режиме и режиме диммирования | |||||||||
Частота, кГц | >= 20 | ||||||||
Ток перехода от работы в нормальном режиме к режиму диммирования ID перехода, А | 0,290 | ||||||||
Рабочий ток лампы ID, А | Не более | 0,425 | |||||||
Ток в любом вводе электродов, А | Не более | 0,480 | |||||||
Квалификация диммирующего ПРА с заменяющими резисторами (примечание 1) | |||||||||
Нагрев электрода рабочим током любой лампы, измеренного с заменяющими резисторами | |||||||||
Наименьшая сумма квадратов токов выводов: SoSmin: для ID30 < ID <= Iперехода (примечание 2) | А2 | X1 | 0,230 | ||||||
А | Y1 | 0,670 | |||||||
Нагрев электрода при конкретных рабочих токах, измеренных на заменяющих резисторах | |||||||||
Рабочий ток | Параметры нагрева | ||||||||
IDmin, А | 0,035 | Наименьшее напряжение на электроде, В | CVDmin | 3,60 | |||||
Резисторы, заменяющие разрядную лампу, Ом | RL10min | 3300 | |||||||
RL10max | 6200 | ||||||||
ID30, А | 0,160 | Наименьшая сумма квадратов токов выводов, А2 | SoS30 | X1 - Y1ID30 | |||||
Резистор, заменяющий разрядную лампу, Ом | RL30 | 1300 | |||||||
ID60, А | 0,330 | Наименьшая сумма квадратов токов выводов, А2 | SoS60 | X1 - Y1ID60 | |||||
Резистор, заменяющий разрядную лампу, Ом | RL60 | 560 | |||||||
Наибольшее напряжение на электроде, В | CVmax | 5,00 | |||||||
Заменяющие электрод резисторы для квалификации диммирующего ПРА | |||||||||
Заменяющий резистор каждого электрода для испытания требований диммирования, Ом | Rиспытания 1 | 12,0 | |||||||
Rиспытания 2 | 13,0 | ||||||||
Rиспытания 3 | 11,0 | ||||||||
Примечания | |||||||||
60901-IEC-6740-3 | |||||||||
(A3:2004), (A6:2014) | |||||||||
ЛАМПА ЛЮМИНЕСЦЕНТНАЯ ОДНОЦОКОЛЬНАЯ Лист с параметрами | С. 3 | |||||||||
Высокочастотная | Двухканальная | |||||||||
МСОЛ: FSCH-40-L/P-2GX13-16/300 | ||||||||||
Требования зажигания к электродам предварительного подогрева для времени зажигания 0,4 с < ts < 3,0 с | ||||||||||
Наименьшая энергия предварительного подогрева электрода: Emin = Qmin + Pmin ts, Дж | Qmin | Дж | 1,3 | |||||||
Pmin | Дж/с | 0,9 | ||||||||
Напряжение на каждом электроде для E (t) < Emin, В | Действующее значение, не более | 11 | ||||||||
Заменяющий резистор каждого электрода для проверки минимальных требований к предварительному подогреву электродов, Ом | 7 | |||||||||
Наибольшая энергия предварительного подогрева электрода: Emax = Qmax + Pmax ts, Дж | Qmax | Дж | 2,6 | |||||||
Pmax | Дж/с | 1,8 | ||||||||
Заменяющий резистор каждого электрода для проверки максимальных требований к предварительному подогреву электродов, Ом | 9,5 | |||||||||
Напряжение холостого хода на лампе без ВЗУ, В | Напряжение незажигания | t <= ts | Действующее значение, не более | 150 | ||||||
Напряжение зажигания | t > ts (+10 °C) | Действующее значение, не менее | 280 | |||||||
t > ts (-15 °C) | 430 | |||||||||
Напряжение на ВЗУ | t <= ts | Пиковое, не более | ||||||||
t > ts | Пиковое, не менее | |||||||||
Диапазон заменяющего резистора каждого электрода для проверки требований к напряжению холостого хода, Ом | 7,0 - 21,0 | |||||||||
-------------------------------- | ||||||||||
60901-IEC-6740-1 | ||||||||||
(A6:2014) | ||||||||||
ОДНОЦОКОЛЬНАЯ Лист с параметрами | С. 1 | ||||||||||||
Высокочастотная | Кольцевая | ||||||||||||
МСОЛ: FSCH-55-L/P-2GX13-16/300 | |||||||||||||
Номинальная мощность, Вт | Схема | Электрод | Цоколь | ||||||||||
55 | ВЧ бесстартерная | Предварительного подогрева | 2GX13 | ||||||||||
Размеры В миллиметрах | |||||||||||||
B, не более | D, не более | D1, не более | |||||||||||
260 | 272 | 293 | 305 | 14 | 18 | ||||||||
Цоколь: см. лист 7004-125 IEC 60061-1. | |||||||||||||
Характеристики зажигания | |||||||||||||
Частота, кГц | Расстояние до ВЗУ, мм | Ток предварительного подогрева, А | Время предварительного подогрева, с | Напряжение холостого хода (действующее), В | Время зажигания, с | ||||||||
20 - 26 | 6 | 0,765 | 2 | 280 | 0,1 | ||||||||
Электрические параметры | |||||||||||||
Частота, кГц | Нормируемая мощность, Вт | Напряжение на лампе (действующее), В | Нормируемый ток лампы, А | ||||||||||
Нормируемое | Не менее | Не более | |||||||||||
20 - 26 | 55,0 | 101 | 91 | 111 | 0,550 | ||||||||
Испытательное положение: горизонтальное. | |||||||||||||
Характеристики электрода | |||||||||||||
Испытательный ток, А | Сопротивление каждого электрода, Ом | ||||||||||||
Нормируемое | Не менее | Не более | |||||||||||
0,550 | 7 | 5,2 | 8,8 | ||||||||||
Информация для расчета светильника | |||||||||||||
Наибольшее расстояние до ВЗУ, мм | 6 | ||||||||||||
60901-IEC-6755-2 | |||||||||||||
(A3:2004), (A6:2014) | |||||||||||||
ЛАМПА ЛЮМИНЕСЦЕНТНАЯ ОДНОЦОКОЛЬНАЯ Лист с параметрами | С. 2 | ||||||||
Высокочастотная | Двухканальная | ||||||||
МСОЛ: FSCH-55-L/P-2GX13-16/300 | |||||||||
Характеристики ДОИ | |||||||||
Частота, кГц | Номинальная мощность, Вт | Нормируемое напряжение, В | Ток калибровки, А | Отношение напряжения к току, Ом | |||||
20 - 26 | 55 | 202 | 0,550 | 185 | |||||
Информация для расчета ВЧ ПРА | |||||||||
Работа в нормальном режиме и режиме диммирования | |||||||||
Частота, кГц | >= 20 | ||||||||
Ток перехода от работы в нормальном режиме к режиму диммирования ID перехода, А | 0,440 | ||||||||
Рабочий ток лампы ID, А | Не более | 0,610 | |||||||
Ток в любом вводе электродов, А | Не более | 0,610 | |||||||
Квалификация диммирующего ПРА с заменяющими резисторами (примечание 1) | |||||||||
Нагрев электрода рабочим током любой лампы, измеренного с заменяющими резисторами | |||||||||
Наименьшая сумма квадратов токов выводов: SoSmin: для ID30 < ID <= Iперехода (примечание 2) | А2 | X1 | 0,550 | ||||||
А | Y1 | 1,020 | |||||||
Нагрев электрода при конкретных рабочих токах, измеренных на заменяющих резисторах | |||||||||
Рабочий ток | Параметры нагрева | ||||||||
IDmin, А | 0,055 | Наименьшее напряжение на электроде, В | CVDmin | 3,30 | |||||
Резисторы, заменяющие разрядную лампу, Ом | RL10min | 2200 | |||||||
RL10max | 3900 | ||||||||
ID30, А | 0,165 | Наименьшая сумма квадратов токов выводов, А2 | SoS30 | X1 - Y1ID30 | |||||
Резистор, заменяющий разрядную лампу, Ом | RL30 | 820 | |||||||
ID60, А | 0,330 | Наименьшая сумма квадратов токов выводов, А2 | SoS60 | X1 - Y1ID60 | |||||
Резистор, заменяющий разрядную лампу, Ом | RL60 | 330 | |||||||
Наибольшее напряжение на электроде, В | CVmax | 4,50 | |||||||
Заменяющие электрод резисторы для квалификации диммирующего ПРА | |||||||||
Заменяющий резистор каждого электрода для испытания требований диммирования, Ом | Rиспытания 1 | 7,0 | |||||||
Rиспытания 2 | 8,0 | ||||||||
Rиспытания 3 | 6,5 | ||||||||
Примечания | |||||||||
60901-IEC-6755-3 | |||||||||
(A3:2004), (A6:2014) | |||||||||
ЛАМПА ЛЮМИНЕСЦЕНТНАЯ ОДНОЦОКОЛЬНАЯ Лист с параметрами | С. 3 | |||||||||
Высокочастотная | Двухканальная | |||||||||
МСОЛ: FSCH-55-L/P-2GX13-16/300 | ||||||||||
Требования зажигания к электродам предварительного подогрева для времени зажигания 0,4 с < ts < 3,0 с | ||||||||||
Наименьшая энергия предварительного подогрева электрода: Emin = Qmin + Pmin ts, Дж | Qmin | Дж | 2,2 | |||||||
Pmin | Дж/с | 1,0 | ||||||||
Напряжение на каждом электроде для E (t) < Emin, В | Действующее значение, не более | 11 | ||||||||
Заменяющий резистор каждого электрода для проверки минимальных требований к предварительному подогреву электродов, Ом | 4,5 | |||||||||
Наибольшая энергия предварительного подогрева электрода: Emax = Qmax + Pmax ts, Дж | Qmax | Дж | 3,8 | |||||||
Pmax | Дж/с | 2,0 | ||||||||
Заменяющий резистор каждого электрода для проверки максимальных требований к предварительному подогреву электродов, Ом | 5 | |||||||||
Напряжение холостого хода на лампе без ВЗУ, В | Напряжение незажигания | t <= ts | Действующее значение, не более | 150 | ||||||
Напряжение зажигания | t > ts (+10 °C) | Действующее значение, не менее | 280 | |||||||
t > ts (-15 °C) | 430 | |||||||||
Напряжение на ВЗУ | t <= ts | Пиковое, не более | ||||||||
t > ts | Пиковое, не менее | |||||||||
Диапазон заменяющего резистора каждого электрода для проверки требований к напряжению холостого хода, Ом | 4,5 - 13,5 | |||||||||
-------------------------------- | ||||||||||
60901-IEC-6755-1 | ||||||||||
(A6:2014) | ||||||||||
ОДНОЦОКОЛЬНАЯ Лист с параметрами | С. 1 | ||||||||||||
Высокочастотная | Кольцевая | ||||||||||||
МСОЛ: FSCH-60-L/P-2GX13-16/375 | |||||||||||||
Номинальная мощность, Вт | Схема | Электрод | Цоколь | ||||||||||
60 | ВЧ бесстартерная | Предварительного подогрева | 2GX13 | ||||||||||
Размеры В миллиметрах | |||||||||||||
B, не более | D, не более | D1, не более | |||||||||||
334 | 346 | 367 | 379 | 14 | 18 | ||||||||
Цоколь: см. лист 7004-125 IEC 60061-1. | |||||||||||||
Характеристики зажигания | |||||||||||||
Частота, кГц | Расстояние до ВЗУ, мм | Ток предварительного подогрева, А | Время предварительного подогрева, с | Напряжение холостого хода (действующее), В | Время зажигания, с | ||||||||
20 - 26 | 6 | 0,720 | 2 | 350 | 0,1 | ||||||||
Электрические параметры | |||||||||||||
Частота, кГц | Нормируемая мощность, Вт | Напряжение на лампе (действующее), В | Нормируемый ток лампы, А | ||||||||||
Нормируемое | Не менее | Не более | |||||||||||
20 - 26 | 60,0 | 129 | 119 | 139 | 0,470 | ||||||||
Испытательное положение: горизонтальное. | |||||||||||||
Характеристики электрода | |||||||||||||
Испытательный ток, А | Сопротивление каждого электрода, Ом | ||||||||||||
Нормируемое | Не менее | Не более | |||||||||||
0,515 | 8 | 6 | 10 | ||||||||||
Информация для расчета светильника | |||||||||||||
Наибольшее расстояние до ВЗУ, мм | 6 | ||||||||||||
60901-IEC-6760-2 | |||||||||||||
(A3:2004), (A6:2014) | |||||||||||||
ЛАМПА ЛЮМИНЕСЦЕНТНАЯ ОДНОЦОКОЛЬНАЯ Лист с параметрами | С. 2 | ||||||||
Высокочастотная | Двухканальная | ||||||||
МСОЛ: FSCH-60-L/P-2GX13-16/375 | |||||||||
Характеристики ДОИ | |||||||||
Частота, кГц | Номинальная мощность, Вт | Нормируемое напряжение, В | Ток калибровки, А | Отношение напряжения к току, Ом | |||||
20 - 26 | 60 | 258 | 0,470 | 275 | |||||
Информация для расчета ВЧ ПРА | |||||||||
Работа в нормальном режиме и режиме диммирования | |||||||||
Частота, кГц | >= 20 | ||||||||
Ток перехода от работы в нормальном режиме к режиму диммирования ID перехода, А | 0,410 | ||||||||
Рабочий ток лампы ID, А | Не более | 0,625 | |||||||
Ток в любом вводе электродов, А | Не более | 0,650 | |||||||
Квалификация диммирующего ПРА с заменяющими резисторами (примечание 1) | |||||||||
Нагрев электрода рабочим током любой лампы, измеренного с заменяющими резисторами | |||||||||
Наименьшая сумма квадратов токов выводов: SoSmin: для ID30 < ID <= Iперехода (примечание 2) | А2 | X1 | 0,480 | ||||||
А | Y1 | 0,950 | |||||||
Нагрев электрода при конкретных рабочих токах, измеренных на заменяющих резисторах | |||||||||
Рабочий ток | Параметры нагрева | ||||||||
IDmin, А | 0,050 | Наименьшее напряжение на электроде, В | CVDmin | 3,45 | |||||
Резисторы, заменяющие разрядную лампу, Ом | RL10min | 3000 | |||||||
RL10max | 5600 | ||||||||
ID30, А | 0,155 | Наименьшая сумма квадратов токов выводов, А2 | SoS30 | X1 - Y1ID30 | |||||
Резистор, заменяющий разрядную лампу, Ом | RL30 | 1200 | |||||||
ID60, А | 0,310 | Наименьшая сумма квадратов токов выводов, А2 | SoS60 | X1 - Y1ID60 | |||||
Резистор, заменяющий разрядную лампу, Ом | RL60 | 510 | |||||||
Наибольшее напряжение на электроде, В | CVmax | 4,80 | |||||||
Заменяющие электрод резисторы для квалификации диммирующего ПРА | |||||||||
Заменяющий резистор каждого электрода для испытания требований диммирования, Ом | Rиспытания 1 | 8,0 | |||||||
Rиспытания 2 | 9,0 | ||||||||
Rиспытания 3 | 7,0 | ||||||||
Примечания | |||||||||
60901-IEC-6760-3 | |||||||||
(A3:2004), (A6:2014) | |||||||||
ЛАМПА ЛЮМИНЕСЦЕНТНАЯ ОДНОЦОКОЛЬНАЯ Лист с параметрами | С. 3 | |||||||||
Высокочастотная | Двухканальная | |||||||||
МСОЛ: FSCH-60-L/P-2GX13-16/375 | ||||||||||
Требования зажигания к электродам предварительного подогрева для времени зажигания 0,4 с < ts < 3,0 с | ||||||||||
Наименьшая энергия предварительного подогрева электрода: Emin = Qmin + Pmin ts, Дж | Qmin | Дж | 2,2 | |||||||
Pmin | Дж/с | 1,0 | ||||||||
Напряжение на каждом электроде для E (t) < Emin, В | Действующее значение, не более | 11 | ||||||||
Заменяющий резистор каждого электрода для проверки минимальных требований к предварительному подогреву электродов, Ом | 4,5 | |||||||||
Наибольшая энергия предварительного подогрева электрода: Emax = Qmax + Pmax ts, Дж | Qmax | Дж | 4,0 | |||||||
Pmax | Дж/с | 2,0 | ||||||||
Заменяющий резистор каждого электрода для проверки максимальных требований к предварительному подогреву электродов, Ом | 6 | |||||||||
Напряжение холостого хода на лампе без ВЗУ, В | Напряжение незажигания | t <= ts | Действующее значение, не более | 170 | ||||||
Напряжение зажигания | t > ts (+10 °C) | Действующее значение, не менее | 350 | |||||||
t > ts (-15 °C) | 450 | |||||||||
Напряжение на ВЗУ | t <= ts | Пиковое, не более | ||||||||
t > ts | Пиковое, не менее | |||||||||
Диапазон заменяющего резистора каждого электрода для проверки требований к напряжению холостого хода, Ом | 4,5 - 13,5 | |||||||||
-------------------------------- | ||||||||||
60901-IEC-6760-1 | ||||||||||
(A6:2014) | ||||||||||
ОДНОЦОКОЛЬНАЯ Лист с параметрами | С. 1 | ||||||||||||
Высокочастотная | Кольцевая | ||||||||||||
МСОЛ: FSCH-20-L/P-GZ10q-16/225 | |||||||||||||
Номинальная мощность, Вт | Схема | Электрод | Цоколь | ||||||||||
20 | ВЧ бесстартерная | Предварительного подогрева | GZ10q | ||||||||||
Размеры В миллиметрах | |||||||||||||
B | D | D1 | |||||||||||
187 | 197 | 220 | 230 | 14 | 18 | ||||||||
Цоколь: см. лист 7004-124 IEC 60061-1. | |||||||||||||
Характеристики зажигания | |||||||||||||
Частота, кГц | Ток предварительного подогрева, А | Время предварительного подогрева, с | Напряжение холостого хода (действующее), В | Время зажигания, с | |||||||||
20 - 26 | 0,490 | 2 | 350 | 0,1 | |||||||||
Электрические параметры | |||||||||||||
Частота, кГц | Нормируемая мощность, Вт | Напряжение на лампе (действующее), В | Нормируемый ток лампы, А | ||||||||||
Нормируемое | Не менее | Не более | |||||||||||
20 - 26 | 19,7 | 93 | 83 | 103 | 0,215 | ||||||||
Испытательное положение: вертикальное, цоколем вниз. | |||||||||||||
Характеристики электрода | |||||||||||||
Испытательный ток, А | Сопротивление каждого электрода, Ом | ||||||||||||
Нормируемое | Не менее | Не более | |||||||||||
0,400 | 10,5 | 7,9 | 13,1 | ||||||||||
60901-IEC-6820-1 | |||||||||||||
(A3:2004) | |||||||||||||
ЛАМПА ЛЮМИНЕСЦЕНТНАЯ ОДНОЦОКОЛЬНАЯ Лист с параметрами | С. 2 | ||||||||||
Высокочастотная | Кольцевая | ||||||||||
МСОЛ: FSCH-20-L/P-GZ10q-16/225 | |||||||||||
Характеристики ДОИ | |||||||||||
Частота, кГц | Номинальная мощность, Вт | Нормируемое напряжение, В | Ток калибровки, А | Отношение напряжения к току, Ом | |||||||
20 - 26 | 20 | 186 | 0,215 | 430 | |||||||
Информация для расчета ВЧ ПРА | |||||||||||
Частота, кГц | >= 20 | ||||||||||
Ток в любом вводе электрода, А | Не более | 0,730 | |||||||||
Рабочий ток лампы, А | Не менее | 0,185 | |||||||||
Не более | 0,460 | ||||||||||
Требования зажигания к электродам предварительного подогрева для времени зажигания 0,4 с < ts < 3,0 с | |||||||||||
Наименьшая энергия предварительного подогрева электрода: Emin = Qmin + Pmin ts, Дж | Qmin | Дж | 0,9 | ||||||||
Pmin | Вт | 1,1 | |||||||||
Напряжение на каждом электроде для E (t) < Emin, В | Действующее значение, не более | 11 | |||||||||
Заменяющий резистор каждого электрода для проверки минимальных требований к предварительному подогреву электродов, Ом | 7 | ||||||||||
Наибольшая энергия предварительного подогрева электрода: Emax = Qmax + Pmax ts, Дж | Qmax | Дж | 2,0 | ||||||||
Pmax | Вт | 2,4 | |||||||||
Заменяющий резистор каждого электрода для проверки наименьших требований к предварительному подогреву электродов, Ом | 9,6 | ||||||||||
Напряжение холостого хода на лампе (без ВЗУ), В | Напряжение незажигания | t <= ts | Действующее значение, не более | 160 | |||||||
Напряжение зажигания | t > ts (+10 °C) | Действующее значение, не менее | 450 | ||||||||
t > ts (-15 °C) | 500 | ||||||||||
Диапазон резистора, заменяющего каждый электрод для проверки напряжения холостого хода, Ом | 7 - 21 | ||||||||||
60901-IEC-6820-1 | |||||||||||
(A3:2004) | |||||||||||
ОДНОЦОКОЛЬНАЯ Лист с параметрами | С. 1 | ||||||||||||
Высокочастотная | Кольцевая | ||||||||||||
МСОЛ: FSCH-27-L/P-GZ10q-16/300 | |||||||||||||
Номинальная мощность, Вт | Схема | Электрод | Цоколь | ||||||||||
27 | ВЧ бесстартерная | Предварительного подогрева | GZ10q | ||||||||||
Размеры В миллиметрах | |||||||||||||
B | D | D1 | |||||||||||
Не менее | Не более | Не менее | Не более | Не менее | Не более | ||||||||
260 | 272 | 293 | 305 | 14 | 18 | ||||||||
Цоколь: см. лист 7004-124 IEC 60061-1. | |||||||||||||
Характеристики зажигания | |||||||||||||
Частота, кГц | Ток предварительного подогрева, А | Время предварительного подогрева, с | Напряжение холостого хода (действующее), В | Время зажигания, с | |||||||||
20 - 26 | 0,490 | 2 | 350 | 0,1 | |||||||||
Электрические параметры | |||||||||||||
Частота, кГц | Нормируемая мощность, Вт | Напряжение на лампе (действующее), В | Нормируемый ток лампы, А | ||||||||||
Нормируемое | Не менее | Не более | |||||||||||
20 - 26 | 26,5 | 125 | 115 | 135 | 0,215 | ||||||||
Испытательное положение: вертикальное, цоколем вниз. | |||||||||||||
Характеристики электрода | |||||||||||||
Испытательный ток, А | Сопротивление каждого электрода, Ом | ||||||||||||
Нормируемое | Не менее | Не более | |||||||||||
0,400 | 10,5 | 7,9 | 13,1 | ||||||||||
60901-IEC-6827-1 | |||||||||||||
(A3:2004) | |||||||||||||
ЛАМПА ЛЮМИНЕСЦЕНТНАЯ ОДНОЦОКОЛЬНАЯ Лист с параметрами | С. 2 | ||||||||||
Высокочастотная | Кольцевая | ||||||||||
МСОЛ: FSCH-27-L/P-GZ10q-16/300 | |||||||||||
Характеристики ДОИ | |||||||||||
Частота, кГц | Номинальная мощность, Вт | Нормируемое напряжение, В | Ток калибровки, А | Отношение напряжения к току, Ом | |||||||
20 - 26 | 27 | 250 | 0,215 | 580 | |||||||
Информация для расчета ВЧ ПРА | |||||||||||
Частота, кГц | >= 20 | ||||||||||
Ток в любом вводе электрода, А | Не более | 0,730 | |||||||||
Рабочий ток лампы, А | Не менее | 0,185 | |||||||||
Не более | 0,460 | ||||||||||
Требования зажигания к электродам предварительного подогрева для времени зажигания 0,4 s < ts < 3,0 s | |||||||||||
Наименьшая энергия предварительного подогрева электрода: Emin = Qmin + Pmin ts, Дж | Qmin | Дж | 0,9 | ||||||||
Pmin | Вт | 1,1 | |||||||||
Напряжение на каждом электроде для E (t) < Emin, В | Действующее значение, не более | 11 | |||||||||
Заменяющий резистор каждого электрода для проверки минимальных требований к предварительному подогреву электродов, Ом | 7 | ||||||||||
Наибольшая энергия предварительного подогрева электрода: Emax = Qmax + Pmax ts, Дж | Qmax | Дж | 2,0 | ||||||||
Pmax | Вт | 2,4 | |||||||||
Заменяющий резистор каждого электрода для проверки наименьших требований к предварительному подогреву электродов, Ом | 9,6 | ||||||||||
Напряжение холостого хода на лампе (без ВЗУ), В | Напряжение незажигания | t <= ts | Действующее значение, не более | 200 | |||||||
Напряжение зажигания | t > ts (+10 °C) | Действующее значение, не менее | 450 | ||||||||
t > ts (-15 °C) | 550 | ||||||||||
Диапазон резистора, заменяющего каждый электрод для проверки напряжения холостого хода, Ом | 7 - 21 | ||||||||||
60901-IEC-6827-1 | |||||||||||
(A3:2004) | |||||||||||
ОДНОЦОКОЛЬНАЯ Лист с параметрами | С. 1 | ||||||||||||
Высокочастотная | Кольцевая | ||||||||||||
МСОЛ: FSCH-34-L/P-GZ10q-16/375 | |||||||||||||
Номинальная мощность, Вт | Схема | Электрод | Цоколь | ||||||||||
34 | ВЧ бесстартерная | Предварительного подогрева | GZ10q | ||||||||||
Размеры В миллиметрах | |||||||||||||
B | D | D1 | |||||||||||
Не менее | Не более | Не менее | Не более | Не менее | Не более | ||||||||
334 | 346 | 367 | 379 | 14 | 18 | ||||||||
Цоколь: см. лист 7004-124 IEC 60061-1. | |||||||||||||
Характеристики зажигания | |||||||||||||
Частота, кГц | Ток предварительного подогрева, А | Время предварительного подогрева, с | Напряжение холостого хода (действующее), В | Время зажигания, с | |||||||||
20 - 26 | 0,490 | 2 | 400 | 0,1 | |||||||||
Электрические параметры | |||||||||||||
Частота, кГц | Нормируемая мощность, Вт | Напряжение на лампе (действующее), В | Нормируемый ток лампы, А | ||||||||||
Нормируемое | Не менее | Не более | |||||||||||
20 - 26 | 33,8 | 157 | 147 | 167 | 0,215 | ||||||||
Испытательное положение: вертикальное, цоколем вниз. | |||||||||||||
Характеристики электрода | |||||||||||||
Испытательный ток, А | Сопротивление каждого электрода, Ом | ||||||||||||
Нормируемое | Не менее | Не более | |||||||||||
0,400 | 10,5 | 7,9 | 13,1 | ||||||||||
60901-IEC-6834-1 | |||||||||||||
(A3:2004) | |||||||||||||
ЛАМПА ЛЮМИНЕСЦЕНТНАЯ ОДНОЦОКОЛЬНАЯ Лист с параметрами | С. 2 | ||||||||||
Высокочастотная | Кольцевая | ||||||||||
МСОЛ: FSCH-34-L/P-GZ10q-16/375 | |||||||||||
Характеристики ДОИ | |||||||||||
Частота, кГц | Номинальная мощность, Вт | Нормируемое напряжение, В | Ток калибровки, А | Отношение напряжения к току, Ом | |||||||
20 - 26 | 34 | 316 | 0,215 | 730 | |||||||
Информация для расчета ВЧ ПРА | |||||||||||
Частота, кГц | >= 20 | ||||||||||
Ток в любом вводе электрода, А | Не более | 0,730 | |||||||||
Рабочий ток лампы, А | Не менее | 0,185 | |||||||||
Не более | 0,460 | ||||||||||
Требования зажигания к электродам предварительного подогрева для времени зажигания 0,4 s < ts < 3,0 s | |||||||||||
Наименьшая энергия предварительного подогрева электрода: Emin = Qmin + Pmin ts, Дж | Qmin | Дж | 0,9 | ||||||||
Pmin | Вт | 1,1 | |||||||||
Напряжение на каждом электроде для E (t) < Emin, В | Действующее значение, не более | 11 | |||||||||
Заменяющий резистор для каждого электрода для проверки наименьших требований к предварительному подогреву электродов, Ом | 7 | ||||||||||
Наибольшая энергия предварительного подогрева электрода: Emax = Qmax + Pmax ts, Дж | Qmax | Дж | 2,0 | ||||||||
Pmax | Вт | 2,4 | |||||||||
Заменяющий резистор для каждого электрода для проверки наибольших требований к предварительному подогреву электродов, Ом | 9,6 | ||||||||||
Напряжение холостого хода на лампе (без ВЗУ), В | Напряжение незажигания | t <= ts | Действующее значение, не более | 215 | |||||||
Напряжение зажигания | t > ts (+10 °C) | Действующее значение, не менее | 500 | ||||||||
t > ts (-15 °C) | 600 | ||||||||||
Диапазон резистора, заменяющего каждый электрод для проверки напряжения холостого хода, Ом | 7 - 21 | ||||||||||
60901-IEC-6834-1 | |||||||||||
(A3:2004) | |||||||||||
ОДНОЦОКОЛЬНАЯ Лист с параметрами | С. 1 | ||||||||||||
Высокочастотная | Кольцевая | ||||||||||||
МСОЛ: FSCH-41-L/P-GZ10q-16/445 | |||||||||||||
Номинальная мощность, Вт | Схема | Электрод | Цоколь | ||||||||||
41 | ВЧ бесстартерная | Предварительного подогрева | GZ10q | ||||||||||
Размеры В миллиметрах | |||||||||||||
B | D | D1 | |||||||||||
Не менее | Не более | Не менее | Не более | Не менее | Не более | ||||||||
408 | 420 | 441 | 453 | 14 | 18 | ||||||||
Цоколь: см. лист 7004-124 IEC 60061-1. | |||||||||||||
Характеристики зажигания | |||||||||||||
Частота, кГц | Ток предварительного подогрева, А | Время предварительного подогрева, с | Напряжение холостого хода (действующее), В | Время зажигания, с | |||||||||
20 - 26 | 0,490 | 2 | 450 | 0,1 | |||||||||
Электрические параметры | |||||||||||||
Частота, кГц | Нормируемая мощность, Вт | Напряжение на лампе (действующее), В | Нормируемый ток лампы, А | ||||||||||
Нормируемое | Не менее | Не более | |||||||||||
20 - 26 | 41,0 | 191 | 201 | 181 | 0,215 | ||||||||
Испытательное положение: вертикальное, цоколем вниз. | |||||||||||||
Характеристики электрода | |||||||||||||
Испытательный ток, А | Сопротивление каждого электрода, Ом | ||||||||||||
Нормируемое | Не менее | Не более | |||||||||||
0,400 | 10,5 | 7,9 | 13,1 | ||||||||||
60901-IEC-6841-1 | |||||||||||||
(A3:2004) | |||||||||||||
ЛАМПА ЛЮМИНЕСЦЕНТНАЯ ОДНОЦОКОЛЬНАЯ Лист с параметрами | С. 2 | ||||||||||
Высокочастотная | Кольцевая | ||||||||||
МСОЛ: FSCH-41-L/P-GZ10q-16/445 | |||||||||||
Характеристики ДОИ | |||||||||||
Частота, кГц | Номинальная мощность, Вт | Нормируемое напряжение, В | Ток калибровки, А | Отношение напряжения к току, Ом | |||||||
20 - 26 | 41 | 389 | 0,215 | 880 | |||||||
Информация для расчета ВЧ ПРА | |||||||||||
Частота, кГц | >= 20 | ||||||||||
Ток в любом вводе электрода, А | Не более | 0,730 | |||||||||
Рабочий ток лампы, А | Не менее | 0,185 | |||||||||
Не более | 0,460 | ||||||||||
Требования зажигания к электродам предварительного подогрева для времени зажигания 0,4 s < ts < 3,0 s | |||||||||||
Наименьшая энергия предварительного подогрева электрода: Emin = Qmin + Pmin ts, Дж | Qmin | Дж | 0,9 | ||||||||
Pmin | Вт | 1,1 | |||||||||
Напряжение на каждом электроде для E (t) < Emin, В | Действующее значение, не более | 11 | |||||||||
Заменяющий резистор для каждого электрода для проверки наименьших требований к предварительному подогреву электродов, Ом | 7 | ||||||||||
Наибольшая энергия предварительного подогрева электрода: Emax = Qmax + Pmax ts, Дж | Qmax | Дж | 2,0 | ||||||||
Pmax | Вт | 2,4 | |||||||||
Заменяющий резистор для каждого электрода для проверки наибольших требований к предварительному подогреву электродов, Ом | 9,6 | ||||||||||
Напряжение холостого хода на лампе (без ВЗУ), В | Напряжение незажигания | t <= ts | Действующее значение, не более | 230 | |||||||
Напряжение зажигания | t > ts (+10 °C) | Действующее значение, не менее | 550 | ||||||||
t > ts (-15 °C) | 600 | ||||||||||
Диапазон резистора, заменяющего каждый электрод для проверки напряжения холостого хода, Ом | 7 - 21 | ||||||||||
60901-IEC-6841-1 | |||||||||||
(A3:2004) | |||||||||||
ОДНОЦОКОЛЬНАЯ Лист с параметрами | С. 1 | ||||||||||||
Высокочастотная | Кольцевая | ||||||||||||
МСОЛ: FSCH-41-L/P-GU10q-20/40/192 | |||||||||||||
Номинальная мощность, Вт | Схема | Электрод | Цоколь | ||||||||||
41 | ВЧ бесстартерная | Предварительного подогрева | GU10q | ||||||||||
Размеры В миллиметрах | |||||||||||||
B | D | D1 | |||||||||||
Не менее | Не более | Не менее | Не более | Не менее | Не более | ||||||||
100 | 112 | 184 | 200 | 38 | 48 | ||||||||
Цоколь: см. лист 7004-123 IEC 60061-1. | |||||||||||||
Характеристики зажигания | |||||||||||||
Частота, кГц | Ток предварительного подогрева, А | Время предварительного подогрева, с | Напряжение холостого хода (действующее), В | Время зажигания, с | |||||||||
20 - 26 | 0,480 | 2 | 330 | 0,1 | |||||||||
Электрические параметры | |||||||||||||
Частота, кГц | Нормируемая мощность, Вт | Напряжение на лампе (действующее), В | Нормируемый ток лампы, А | ||||||||||
Нормируемое | Не менее | Не более | |||||||||||
20 - 26 | 41 | 96 | 86 | 106 | 0,430 | ||||||||
Испытательное положение: горизонтальное. | |||||||||||||
Характеристики электрода | |||||||||||||
Испытательный ток, А | Сопротивление каждого электрода, Ом | ||||||||||||
Нормируемое | Не менее | Не более | |||||||||||
0,365 | 11 | 8,3 | 13,8 | ||||||||||
60901-IEC-6941-1 | |||||||||||||
(A3:2004) | |||||||||||||
ЛАМПА ЛЮМИНЕСЦЕНТНАЯ ОДНОЦОКОЛЬНАЯ Лист с параметрами | С. 2 | ||||||||||
Высокочастотная | Кольцевая | ||||||||||
МСОЛ: FSCH-41-L/P-GU10q-20/40/192 | |||||||||||
Характеристики ДОИ | |||||||||||
Частота, кГц | Номинальная мощность, Вт | Нормируемое напряжение, В | Ток калибровки, А | Отношение напряжения к току, Ом | |||||||
20 - 26 | 41 | 192 | 0,430 | 224 | |||||||
Информация для расчета ВЧ ПРА | |||||||||||
Частота, кГц | >= 20 | ||||||||||
Ток в любом вводе электрода, А | Не более | 0,680 | |||||||||
Рабочий ток лампы, А | Не менее | 0,340 | |||||||||
Не более | 0,460 | ||||||||||
Требования зажигания к электродам предварительного подогрева для времени зажигания 0,4 s < ts < 3,0 s | |||||||||||
Наименьшая энергия предварительного подогрева электрода: Emin = Qmin + Pmin ts, Дж | Qmin | Дж | 1,3 | ||||||||
Pmin | Вт | 0,8 | |||||||||
Напряжение на каждом электроде для E (t) < Emin, В | Действующее значение, не более | 11 | |||||||||
Заменяющий резистор для каждого электрода для проверки наименьших требований к предварительному подогреву электродов, Ом | 6 | ||||||||||
Наибольшая энергия предварительного подогрева электрода: Emax = Qmax + Pmax ts, Дж | Qmax | Дж | 2,9 | ||||||||
Pmax | Вт | 1,9 | |||||||||
Заменяющий резистор для каждого электрода для проверки наибольших требований к предварительному подогреву электродов, Ом | 8 | ||||||||||
Напряжение холостого хода на лампе (без ВЗУ), В | Напряжение незажигания | t <= ts | Действующее значение, не более | 230 | |||||||
Напряжение зажигания | t > ts (+10 °C) | Действующее значение, не менее | 370 | ||||||||
t > ts (-15 °C) | 435 | ||||||||||
Диапазон резистора, заменяющего каждый электрод для проверки напряжения холостого хода, Ом | 6 - 18 | ||||||||||
60901-IEC-6941-1 | |||||||||||
(A3:2004) | |||||||||||
ОДНОЦОКОЛЬНАЯ Лист с параметрами | С. 1 | ||||||||||||
Высокочастотная | Кольцевая | ||||||||||||
МСОЛ: FSCH-68-L/P-GU10q-20/40/296 | |||||||||||||
Номинальная мощность, Вт | Схема | Электрод | Цоколь | ||||||||||
68 | ВЧ бесстартерная | Предварительного подогрева | GU10q | ||||||||||
Размеры В миллиметрах | |||||||||||||
B | D | D1 | |||||||||||
Не менее | Не более | Не менее | Не более | Не менее | Не более | ||||||||
204 | 216 | 288 | 304 | 38 | 48 | ||||||||
Цоколь: см. лист 7004-123 IEC 60061-1. | |||||||||||||
Характеристики зажигания | |||||||||||||
Частота, кГц | Ток предварительного подогрева, А | Время предварительного подогрева, с | Напряжение холостого хода (действующее), В | Время зажигания, с | |||||||||
20 - 26 | 0,480 | 2 | 410 | 0,1 | |||||||||
Электрические параметры | |||||||||||||
Частота, кГц | Нормируемая мощность, Вт | Напряжение на лампе (действующее), В | Нормируемый ток лампы, А | ||||||||||
Нормируемое | Не менее | Не более | |||||||||||
20 - 26 | 68 | 160 | 150 | 170 | 0,430 | ||||||||
Испытательное положение: горизонтальное. | |||||||||||||
Характеристики электрода | |||||||||||||
Испытательный ток, А | Сопротивление каждого электрода, Ом | ||||||||||||
Нормируемое | Не менее | Не более | |||||||||||
0,365 | 11 | 8,3 | 13,8 | ||||||||||
60901-IEC-6968-1 | |||||||||||||
(A3:2004) | |||||||||||||
ЛАМПА ЛЮМИНЕСЦЕНТНАЯ ОДНОЦОКОЛЬНАЯ Лист с параметрами | С. 2 | ||||||||||
Высокочастотная | Кольцевая | ||||||||||
МСОЛ: FSCH-68-L/P-GU10q-20/40/296 | |||||||||||
Характеристики ДОИ | |||||||||||
Частота, кГц | Номинальная мощность, Вт | Нормируемое напряжение, В | Ток калибровки, А | Отношение напряжения к току, Ом | |||||||
20 - 26 | 68 | 320 | 0,430 | 372 | |||||||
Информация для расчета ВЧ ПРА | |||||||||||
Частота, кГц | >= 20 | ||||||||||
Ток в любом вводе электрода, А | Не более | 0,680 | |||||||||
Рабочий ток лампы, А | Не менее | 0,340 | |||||||||
Не более | 0,460 | ||||||||||
Требования зажигания к электродам предварительного подогрева для времени зажигания 0,4 с < ts < 3,0 с | |||||||||||
Наименьшая энергия предварительного подогрева электрода: Emin = Qmin + Pmin ts, Дж | Qmin | Дж | 1,3 | ||||||||
Pmin | Вт | 0,8 | |||||||||
Напряжение на каждом электроде для E (t) < Emin, В | Действующее значение, не более | 11 | |||||||||
Заменяющий резистор для каждого электрода для проверки наименьших требований к предварительному подогреву электродов, Ом | 6 | ||||||||||
Наибольшая энергия предварительного подогрева электрода: Emax = Qmax + Pmax ts, Дж | Qmax | Дж | 2,9 | ||||||||
Pmax | Вт | 1,9 | |||||||||
Заменяющий резистор для каждого электрода для проверки наибольших требований к предварительному подогреву электродов, Ом | 8 | ||||||||||
Напряжение холостого хода на лампе (без ВЗУ), В | Напряжение незажигания | t <= ts | Действующее значение, не более | 290 | |||||||
Напряжение зажигания | t > ts (+10 °C) | Действующее значение, не менее | 490 | ||||||||
t > ts (-15 °C) | 605 | ||||||||||
Диапазон резистора, заменяющего каждый электрод для проверки напряжения холостого хода, Ом | 6 - 18 | ||||||||||
60901-IEC-6968-1 | |||||||||||
(A3:2004) | |||||||||||
ОДНОЦОКОЛЬНАЯ Лист с параметрами | С. 1 | ||||||||||||
Высокочастотная | Кольцевая | ||||||||||||
МСОЛ: FSCH-68-L/P-GU10q-20/40/400 | |||||||||||||
Номинальная мощность, Вт | Схема | Электрод | Цоколь | ||||||||||
97 | ВЧ бесстартерная | Предварительного подогрева | GU10q | ||||||||||
Размеры В миллиметрах | |||||||||||||
B | D | D1 | |||||||||||
Не менее | Не более | Не менее | Не более | Не менее | Не более | ||||||||
308 | 320 | 392 | 408 | 38 | 48 | ||||||||
Цоколь: см. лист 7004-123 IEC 60061-1. | |||||||||||||
Характеристики зажигания | |||||||||||||
Частота, кГц | Ток предварительного подогрева, А | Время предварительного подогрева, с | Напряжение холостого хода (действующее), В | Время зажигания, с | |||||||||
20 - 26 | 0,480 | 2 | 520 | 0,1 | |||||||||
Электрические параметры | |||||||||||||
Частота, кГц | Нормируемая мощность, Вт | Напряжение на лампе (действующее), В | Нормируемый ток лампы, А | ||||||||||
Нормируемое | Не менее | Не более | |||||||||||
20 - 26 | 97 | 229 | 214 | 244 | 0,430 | ||||||||
Испытательное положение: горизонтальное. | |||||||||||||
Характеристики электрода | |||||||||||||
Испытательный ток, А | Сопротивление каждого электрода, Ом | ||||||||||||
Нормируемое | Не менее | Не более | |||||||||||
0,365 | 11 | 8,3 | 13,8 | ||||||||||
60901-IEC-6997-1 | |||||||||||||
(A3:2004) | |||||||||||||
ЛАМПА ЛЮМИНЕСЦЕНТНАЯ ОДНОЦОКОЛЬНАЯ Лист с параметрами | С. 2 | ||||||||||
Высокочастотная | Кольцевая | ||||||||||
МСОЛ: FSCH-97-L/P-GU10q-20/40/400 | |||||||||||
Характеристики ДОИ | |||||||||||
Частота, кГц | Номинальная мощность, Вт | Нормируемое напряжение, В | Ток калибровки, А | Отношение напряжения к току, Ом | |||||||
20 - 26 | 97 | 458 | 0,430 | 530 | |||||||
Информация для расчета ВЧ ПРА | |||||||||||
Частота, кГц | >= 20 | ||||||||||
Ток в любом вводе электрода, А | Не более | 0,680 | |||||||||
Рабочий ток лампы, А | Не менее | 0,340 | |||||||||
Не более | 0,460 | ||||||||||
Требования зажигания к электродам предварительного подогрева для времени зажигания 0,4 s < ts < 3,0 s | |||||||||||
Наименьшая энергия предварительного подогрева электрода: Emin = Qmin + Pmin ts, Дж | Qmin | Дж | 1,3 | ||||||||
Pmin | Вт | 0,8 | |||||||||
Напряжение на каждом электроде для E (t) < Emin, В | Действующее значение, не более | 11 | |||||||||
Заменяющий резистор для каждого электрода для проверки наименьших требований к предварительному подогреву электродов, Ом | 6 | ||||||||||
Наибольшая энергия предварительного подогрева электрода: Emax = Qmax + Pmax ts, Дж | Qmax | Дж | 2,9 | ||||||||
Pmax | Вт | 1,9 | |||||||||
Заменяющий резистор для каждого электрода для проверки наибольших требований к предварительному подогреву электродов, Ом | 8 | ||||||||||
Напряжение холостого хода на лампе (без ВЗУ), В | Напряжение незажигания | t <= ts | Действующее значение, не более | 380 | |||||||
Напряжение зажигания | t > ts (+10 °C) | Действующее значение, не менее | 630 | ||||||||
t > ts (-15 °C) | 755 | ||||||||||
Диапазон резистора, заменяющего каждый электрод для проверки напряжения холостого хода, Ом | 6 - 18 | ||||||||||
60901-IEC-6997-1 | |||||||||||
(A3:2004) | |||||||||||
ОДНОЦОКОЛЬНАЯ Лист с параметрами | С. 1 | ||||||||||||
Высокочастотная | Многоканальная | ||||||||||||
МСОЛ: FSHM-32-L/P-GX24q=3 | |||||||||||||
Номинальная мощность, Вт | Схема | Электрод | Цоколь | ||||||||||
32 | ВЧ бесстартерная | Предварительного подогрева | GX24q-3 | ||||||||||
Размеры В миллиметрах | |||||||||||||
A, не более | B, не более | C, не более | |||||||||||
52 | 52 | 145 | |||||||||||
Цоколь: см. лист 7004-78 IEC 60061-1. | |||||||||||||
Характеристики зажигания | |||||||||||||
Частота, кГц | Ток предварительного подогрева, А | Время предварительного подогрева, с | Напряжение холостого хода (действующее), В | Время зажигания, с | |||||||||
20 - 26 | 0,360 | 2 | 560 <*> | 0,1 | |||||||||
Электрические параметры | |||||||||||||
Частота, кГц | Нормируемая мощность, Вт | Напряжение на лампе (действующее), В | Нормируемый ток лампы, А | ||||||||||
Нормируемое | Не менее | Не более | |||||||||||
20 - 26 | 32 | 100 | 90 | 110 | 0,320 | ||||||||
Испытательное положение: вертикальное, цоколем вверх. | |||||||||||||
Характеристики электрода | |||||||||||||
Испытательный ток, А | Сопротивление каждого электрода, Ом | ||||||||||||
Нормируемое | Не менее | Не более | |||||||||||
0,310 | 13 | 9,7 | 16,3 | ||||||||||
Информация для расчета светильника | |||||||||||||
Наибольший контур лампы: см. лист 60901-IEC-B410 с размером H, мм | 145 | ||||||||||||
-------------------------------- | |||||||||||||
60901-IEC-7432-3 | |||||||||||||
(A6:2014) | |||||||||||||
ЛАМПА ЛЮМИНЕСЦЕНТНАЯ ОДНОЦОКОЛЬНАЯ Лист с параметрами | С. 2 | ||||||||
Высокочастотная | Многоканальная | ||||||||
МСОЛ: FSMH-32-L/P-GX24q=3 | |||||||||
Характеристики ДОИ | |||||||||
Частота, кГц | Номинальная мощность, Вт | Нормируемое напряжение, В | Ток калибровки, А | Отношение напряжения к току, Ом | |||||
20 - 26 | 32 | 200 | 0,320 | 315 | |||||
Информация для расчета ВЧ ПРА | |||||||||
Работа в нормальном режиме и режиме диммирования | |||||||||
Частота, кГц | >= 20 | ||||||||
Ток перехода от работы в нормальном режиме к режиму диммирования ID перехода, А | 0,250 | ||||||||
Рабочий ток лампы ID, А | Не более | 0,400 | |||||||
Ток в любом вводе электродов, А | Не более | 0,430 | |||||||
Квалификация диммирующего ПРА с заменяющими резисторами (примечание 1) | |||||||||
Нагрев электрода рабочим током любой лампы, измеренного с заменяющими резисторами | |||||||||
Наименьшая сумма квадратов токов выводов: SoSmin: для ID30 < ID <= Iперехода (примечание 2) | А2 | X1 | 0,175 | ||||||
А | Y1 | 0,575 | |||||||
Нагрев электрода при конкретных рабочих токах, измеренных на заменяющих резисторах | |||||||||
Рабочий ток | Параметры нагрева | ||||||||
IDmin, А | 0,030 | Наименьшее напряжение на электроде, В | CVDmin | 3,40 | |||||
Резисторы, заменяющие разрядную лампу, Ом | RL10min | 3900 | |||||||
RL10max | 7500 | ||||||||
ID30, А | 0,095 | Наименьшая сумма квадратов токов выводов, А2 | SoS30 | X1 - Y1ID30 | |||||
Резистор, заменяющий разрядную лампу, Ом | RL30 | 1600 | |||||||
ID60, А | 0,190 | Наименьшая сумма квадратов токов выводов, А2 | SoS60 | X1 - Y1ID60 | |||||
Резистор, заменяющий разрядную лампу, Ом | RL60 | 620 | |||||||
Наибольшее напряжение на электроде, В | CVmax | 4,40 | |||||||
Заменяющие электрод резисторы для квалификации диммирующего ПРА | |||||||||
Заменяющий резистор каждого электрода для испытания требований диммирования, Ом | Rиспытания 1 | 13,0 | |||||||
Rиспытания 2 | 14,0 | ||||||||
Rиспытания 3 | 12,0 | ||||||||
Примечания | |||||||||
60901-IEC-7432-5 | |||||||||
(A6:2014) | |||||||||
ЛАМПА ЛЮМИНЕСЦЕНТНАЯ ОДНОЦОКОЛЬНАЯ Лист с параметрами | С. 3 | |||||||||
Высокочастотная | Многоканальная | |||||||||
МСОЛ: FSMH-32-L/P-GX24q=3 | ||||||||||
Требования зажигания к электродам предварительного подогрева для времени зажигания 0,4 с < ts < 3,0 с | ||||||||||
Наименьшая энергия предварительного подогрева электрода: Emin = Qmin + Pmin ts, Дж | Qmin | Дж | 1,0 | |||||||
Pmin | Дж/с | 0,8 | ||||||||
Напряжение на каждом электроде для E (t) < Emin, В | Действующее значение, не более | 11 | ||||||||
Заменяющий резистор каждого электрода для проверки минимальных требований к предварительному подогреву электродов, Ом | 9 | |||||||||
Наибольшая энергия предварительного подогрева электрода: Emax = Qmax + Pmax ts, Дж | Qmax | Дж | 2,0 | |||||||
Pmax | Дж/с | 1,6 | ||||||||
Заменяющий резистор каждого электрода для проверки максимальных требований к предварительному подогреву электродов, Ом | 12 | |||||||||
Напряжение холостого хода на лампе без ВЗУ, В | Напряжение незажигания | t <= ts | Действующее значение, не более | 265 <*> | ||||||
Напряжение зажигания | t > ts (+10 °C) | Действующее значение, не менее | 560 <*> | |||||||
t > ts (-15 °C) | 600 <*> | |||||||||
Диапазон заменяющего резистора каждого электрода для проверки требований к напряжению холостого хода, Ом | 9,0 - 27,0 | |||||||||
-------------------------------- | ||||||||||
60901-IEC-7432-1 | ||||||||||
(A6:2014) | ||||||||||
ОДНОЦОКОЛЬНАЯ Лист с параметрами | С. 1 | ||||||||||||
Высокочастотная | Многоканальная | ||||||||||||
МСОЛ: FSMH-42-L/P-GX24q=4 | |||||||||||||
Номинальная мощность, Вт | Схема | Электрод | Цоколь | ||||||||||
42 | ВЧ бесстартерная | Предварительного подогрева | GX24q-4 | ||||||||||
Размеры В миллиметрах | |||||||||||||
A, не более | B, не более | C, не более | |||||||||||
52 | 52 | 155 | |||||||||||
Цоколь: см. лист 7004-78 IEC 60061-1. | |||||||||||||
Характеристики зажигания | |||||||||||||
Частота, кГц | Ток предварительного подогрева, А | Время предварительного подогрева, с | Напряжение холостого хода (действующее), В | Время зажигания, с | |||||||||
20 - 26 | 0,360 | 2 | 600 <*> | 0,1 | |||||||||
Электрические параметры | |||||||||||||
Частота, кГц | Нормируемая мощность, Вт | Напряжение на лампе (действующее), В | Нормируемый ток лампы, А | ||||||||||
Нормируемое | Не менее | Не более | |||||||||||
20 - 26 | 43 | 135 | 125 | 145 | 0,320 | ||||||||
Испытательное положение: вертикальное, цоколем вверх. | |||||||||||||
Характеристики электрода | |||||||||||||
Испытательный ток, А | Сопротивление каждого электрода, Ом | ||||||||||||
Нормируемое | Не менее | Не более | |||||||||||
0,310 | 13 | 9,7 | 16,3 | ||||||||||
Информация для расчета светильника | |||||||||||||
Наибольший контур лампы: см. лист 60901-IEC-B410 с размером H, мм | 155 | ||||||||||||
-------------------------------- | |||||||||||||
60901-IEC-7442-3 | |||||||||||||
(A6:2014) | |||||||||||||
ЛАМПА ЛЮМИНЕСЦЕНТНАЯ ОДНОЦОКОЛЬНАЯ Лист с параметрами | С. 2 | ||||||||
Высокочастотная | Многоканальная | ||||||||
МСОЛ: FSMH-42-L/P-GX24q=4 | |||||||||
Характеристики ДОИ | |||||||||
Частота, кГц | Номинальная мощность, Вт | Нормируемое напряжение, В | Ток калибровки, А | Отношение напряжения к току, Ом | |||||
20 - 26 | 42 | 270 | 0,320 | 420 | |||||
Информация для расчета ВЧ ПРА | |||||||||
Работа в нормальном режиме и режиме диммирования | |||||||||
Частота, кГц | >= 20 | ||||||||
Ток перехода от работы в нормальном режиме к режиму диммирования ID перехода, А | 0,250 | ||||||||
Рабочий ток лампы ID, А | Не более | 0,400 | |||||||
Ток в любом вводе электродов, А | Не более | 0,430 | |||||||
Квалификация диммирующего ПРА с заменяющими резисторами (примечание 1) | |||||||||
Нагрев электрода рабочим током любой лампы, измеренного с заменяющими резисторами | |||||||||
Наименьшая сумма квадратов токов выводов: SoSmin: для ID30 < ID <= Iперехода (примечание 2) | А2 | X1 | 0,175 | ||||||
А | Y1 | 0,575 | |||||||
Нагрев электрода при конкретных рабочих токах, измеренных на заменяющих резисторах | |||||||||
Рабочий ток | Параметры нагрева | ||||||||
IDmin, А | 0,030 | Наименьшее напряжение на электроде, В | CVDmin | 3,40 | |||||
Резисторы, заменяющие разрядную лампу, Ом | RL10min | 4700 | |||||||
RL10max | 9100 | ||||||||
ID30, А | 0,095 | Наименьшая сумма квадратов токов выводов, А2 | SoS30 | X1 - Y1ID30 | |||||
Резистор, заменяющий разрядную лампу, Ом | RL30 | 2000 | |||||||
ID60, А | 0,190 | Наименьшая сумма квадратов токов выводов, А2 | SoS60 | X1 - Y1ID60 | |||||
Резистор, заменяющий разрядную лампу, Ом | RL60 | 820 | |||||||
Наибольшее напряжение на электроде, В | CVmax | 4,40 | |||||||
Заменяющие электрод резисторы для квалификации диммирующего ПРА | |||||||||
Заменяющий резистор каждого электрода для испытания требований диммирования, Ом | Rиспытания 1 | 13,0 | |||||||
Rиспытания 2 | 14,0 | ||||||||
Rиспытания 3 | 12,0 | ||||||||
Примечания | |||||||||
60901-IEC-7442-5 | |||||||||
(A6:2014) | |||||||||
ЛАМПА ЛЮМИНЕСЦЕНТНАЯ ОДНОЦОКОЛЬНАЯ Лист с параметрами | С. 3 | |||||||||
Высокочастотная | Многоканальная | |||||||||
МСОЛ: FSMH-42-L/P-GX24q=4 | ||||||||||
Требования зажигания к электродам предварительного подогрева для времени зажигания 0,4 с < ts < 3,0 с | ||||||||||
Наименьшая энергия предварительного подогрева электрода: Emin = Qmin + Pmin ts, Дж | Qmin | Дж | 1,0 | |||||||
Pmin | Дж/с | 0,8 | ||||||||
Напряжение на каждом электроде для E (t) < Emin, В | Действующее значение, не более | 11 | ||||||||
Заменяющий резистор каждого электрода для проверки минимальных требований к предварительному подогреву электродов, Ом | 9 | |||||||||
Наибольшая энергия предварительного подогрева электрода: Emax = Qmax + Pmax ts, Дж | Qmax | Дж | 2,0 | |||||||
Pmax | Дж/с | 1,6 | ||||||||
Заменяющий резистор каждого электрода для проверки максимальных требований к предварительному подогреву электродов, Ом | 12 | |||||||||
Напряжение холостого хода на лампе без ВЗУ, В | Напряжение незажигания | t <= ts | Действующее значение, не более | 265 <*> | ||||||
Напряжение зажигания | t > ts (+10 °C) | Действующее значение, не менее | 600 <*> | |||||||
t > ts (-15 °C) | 600 <*> | |||||||||
Диапазон заменяющего резистора каждого электрода для проверки требований к напряжению холостого хода, Ом | 9,0 - 27,0 | |||||||||
-------------------------------- | ||||||||||
60901-IEC-7442-1 | ||||||||||
(A6:2014) | ||||||||||
ОДНОЦОКОЛЬНАЯ Лист с параметрами | С. 1 | ||||||||||||
Высокочастотная | Многоканальная-6 | ||||||||||||
МСОЛ: FSM6H-57-L/P-GX24q=5 | |||||||||||||
Номинальная мощность, Вт | Схема | Электрод | Цоколь | ||||||||||
57 | ВЧ бесстартерная | Предварительного подогрева | GX24q-5 | ||||||||||
Размеры В миллиметрах | |||||||||||||
A, не более | B, не более | C, не более | |||||||||||
52 | 52 | 191 | |||||||||||
Цоколь: см. лист 7004-78 IEC 60061-1. | |||||||||||||
Характеристики зажигания | |||||||||||||
Частота, кГц | Ток предварительного подогрева, А | Время предварительного подогрева, с | Напряжение холостого хода (действующее), В | Время зажигания, с | |||||||||
20 - 26 | 0,420 | 2 | 640 | 0,1 | |||||||||
Электрические параметры | |||||||||||||
Частота, кГц | Нормируемая мощность, Вт | Напряжение на лампе (действующее), В | Нормируемый ток лампы, А | ||||||||||
Нормируемое | Не менее | Не более | |||||||||||
20 - 26 | 56 | 175 | 155 | 195 | 0,320 | ||||||||
Испытательное положение: вертикальное, цоколем вверх. | |||||||||||||
Характеристики электрода | |||||||||||||
Испытательный ток, А | Сопротивление каждого электрода, Ом | ||||||||||||
Нормируемое | Не менее | Не более | |||||||||||
0,310 | 13 | 9,7 | 16,3 | ||||||||||
Информация для расчета светильника | |||||||||||||
Наибольший контур лампы: см. лист 60901-IEC-B410 с размером H, мм | 191 | ||||||||||||
60901-IEC-7456-2 | |||||||||||||
(A3:2004), (A6:2014) | |||||||||||||
ЛАМПА ЛЮМИНЕСЦЕНТНАЯ ОДНОЦОКОЛЬНАЯ Лист с параметрами | С. 2 | ||||||||
Высокочастотная | Многоканальная-6 | ||||||||
МСОЛ: FSM6H-57-L/P-GX24q=5 | |||||||||
Характеристики ДОИ | |||||||||
Частота, кГц | Номинальная мощность, Вт | Нормируемое напряжение, В | Ток калибровки, А | Отношение напряжения к току, Ом | |||||
20 - 26 | 57 | 560 | 0,320 | 1200 | |||||
Информация для расчета ВЧ ПРА | |||||||||
Работа в нормальном режиме и режиме диммирования | |||||||||
Частота, кГц | >= 20 | ||||||||
Ток перехода от работы в нормальном режиме к режиму диммирования ID перехода, А | 0,250 | ||||||||
Рабочий ток лампы ID, А | Не более | 0,400 | |||||||
Ток в любом вводе электродов, А | Не более | 0,430 | |||||||
Квалификация диммирующего ПРА с заменяющими резисторами (примечание 1) | |||||||||
Нагрев электрода рабочим током любой лампы, измеренного с заменяющими резисторами | |||||||||
Наименьшая сумма квадратов токов выводов: SoSmin: для ID30 < ID <= Iперехода (примечание 2) | А2 | X1 | 0,175 | ||||||
А | Y1 | 0,575 | |||||||
Нагрев электрода при конкретных рабочих токах, измеренных на заменяющих резисторах | |||||||||
Рабочий ток | Параметры нагрева | ||||||||
IDmin, А | 0,030 | Наименьшее напряжение на электроде, В | CVDmin | 3,40 | |||||
Резисторы, заменяющие разрядную лампу, Ом | RL10min | 6200 | |||||||
RL10max | 12000 | ||||||||
ID30, А | 0,095 | Наименьшая сумма квадратов токов выводов, А2 | SoS30 | X1 - Y1ID30 | |||||
Резистор, заменяющий разрядную лампу, Ом | RL30 | 2700 | |||||||
ID60, А | 0,190 | Наименьшая сумма квадратов токов выводов, А2 | SoS60 | X1 - Y1ID60 | |||||
Резистор, заменяющий разрядную лампу, Ом | RL60 | 1100 | |||||||
Наибольшее напряжение на электроде, В | CVmax | 4,40 | |||||||
Заменяющие электрод резисторы для квалификации диммирующего ПРА | |||||||||
Заменяющий резистор каждого электрода для испытания требований диммирования, Ом | Rиспытания 1 | 13,0 | |||||||
Rиспытания 2 | 14,0 | ||||||||
Rиспытания 3 | 12,0 | ||||||||
Примечания | |||||||||
60901-IEC-7456-3 | |||||||||
(A3:2004), (A6:2014) | |||||||||
ЛАМПА ЛЮМИНЕСЦЕНТНАЯ ОДНОЦОКОЛЬНАЯ Лист с параметрами | С. 3 | |||||||||
Высокочастотная | Многоканальная-6 | |||||||||
МСОЛ: FSM6H-57-L/P-GX24q=5 | ||||||||||
Требования зажигания к электродам предварительного подогрева для времени зажигания 0,4 с < ts < 3,0 с | ||||||||||
Наименьшая энергия предварительного подогрева электрода: Emin = Qmin + Pmin ts, Дж | Qmin | Дж | 1,0 | |||||||
Pmin | Дж/с | 0,8 | ||||||||
Напряжение на каждом электроде для E (t) < Emin, В | Действующее значение, не более | 11 | ||||||||
Заменяющий резистор каждого электрода для проверки минимальных требований к предварительному подогреву электродов, Ом | 9 | |||||||||
Наибольшая энергия предварительного подогрева электрода: Emax = Qmax + Pmax ts, Дж | Qmax | Дж | 2,0 | |||||||
Pmax | Дж/с | 1,6 | ||||||||
Заменяющий резистор каждого электрода для проверки максимальных требований к предварительному подогреву электродов, Ом | 12 | |||||||||
Напряжение холостого хода на лампе без ВЗУ, В | Напряжение незажигания | t <= ts | Действующее значение, не более | 350 | ||||||
Напряжение зажигания | t > ts (+10 C°) | Действующее значение, не менее | 640 | |||||||
t > ts (-15 C°) | 660 | |||||||||
Диапазон заменяющего резистора каждого электрода для проверки требований к напряжению холостого хода, Ом | 9,0 - 27,0 | |||||||||
60901-IEC-7456-1 | ||||||||||
(A6:2014) | ||||||||||
ОДНОЦОКОЛЬНАЯ Лист с параметрами | С. 1 | ||||||||||||
Высокочастотная | Многоканальная-8 | ||||||||||||
МСОЛ: FSM8H-57-L/P-GX24q=5 | |||||||||||||
Номинальная мощность, Вт | Схема | Электрод | Цоколь | ||||||||||
57 | ВЧ бесстартерная | Предварительного подогрева | GX24q-5 | ||||||||||
Размеры В миллиметрах | |||||||||||||
A, не более | B, не более | C, не более | |||||||||||
52 | 52 | 169 | |||||||||||
Цоколь: см. лист 7004-78 IEC 60061-1. | |||||||||||||
Характеристики зажигания | |||||||||||||
Частота, кГц | Ток предварительного подогрева, А | Время предварительного подогрева, с | Напряжение холостого хода (действующее), В | Время зажигания, с | |||||||||
20 - 26 | 0,420 | 2 | 680 | 0,1 | |||||||||
Электрические параметры | |||||||||||||
Частота, кГц | Нормируемая мощность, Вт | Напряжение на лампе (действующее), В | Нормируемый ток лампы, А | ||||||||||
Нормируемое | Не менее | Не более | |||||||||||
20 - 26 | 56 | 175 | 155 | 195 | 0,320 | ||||||||
Испытательное положение: вертикальное, цоколем вверх. | |||||||||||||
Характеристики электрода | |||||||||||||
Испытательный ток, А | Сопротивление каждого электрода, Ом | ||||||||||||
Нормируемое | Не менее | Не более | |||||||||||
0,310 | 13 | 9,7 | 16,3 | ||||||||||
Информация для расчета светильника | |||||||||||||
Наибольший контур лампы: см. лист 60901-IEC-B410 с размером H, мм | 169 | ||||||||||||
60901-IEC-7457-2 | |||||||||||||
(A3:2004), (A6:2014) | |||||||||||||
ЛАМПА ЛЮМИНЕСЦЕНТНАЯ ОДНОЦОКОЛЬНАЯ Лист с параметрами | С. 2 | ||||||||
Высокочастотная | Многоканальная-8 | ||||||||
МСОЛ: FSM8H-57-L/P-GX24q=5 | |||||||||
Характеристики ДОИ | |||||||||
Частота, кГц | Номинальная мощность, Вт | Нормируемое напряжение, В | Ток калибровки, А | Отношение напряжения к току, Ом | |||||
20 - 26 | 57 | 560 | 0,320 | 1200 | |||||
Информация для расчета ВЧ ПРА | |||||||||
Работа в нормальном режиме и режиме диммирования | |||||||||
Частота, кГц | >= 20 | ||||||||
Ток перехода от работы в нормальном режиме к режиму диммирования ID перехода, А | 0,250 | ||||||||
Рабочий ток лампы ID, А | Не более | 0,400 | |||||||
Ток в любом вводе электродов, А | Не более | 0,430 | |||||||
Квалификация диммирующего ПРА с заменяющими резисторами (примечание 1) | |||||||||
Нагрев электрода рабочим током любой лампы, измеренного с заменяющими резисторами | |||||||||
Наименьшая сумма квадратов токов выводов: SoSmin: для ID30 < ID <= Iперехода (примечание 2) | А2 | X1 | 0,175 | ||||||
А | Y1 | 0,575 | |||||||
Нагрев электрода при конкретных рабочих токах, измеренных на заменяющих резисторах | |||||||||
Рабочий ток | Параметры нагрева | ||||||||
IDmin, А | 0,030 | Наименьшее напряжение на электроде, В | CVDmin | 3,40 | |||||
Резисторы, заменяющие разрядную лампу, Ом | RL10min | 6200 | |||||||
RL10max | 12000 | ||||||||
ID30, А | 0,095 | Наименьшая сумма квадратов токов выводов, А2 | SoS30 | X1 - Y1ID30 | |||||
Резистор, заменяющий разрядную лампу, Ом | RL30 | 2700 | |||||||
ID60, А | 0,190 | Наименьшая сумма квадратов токов выводов, А2 | SoS60 | X1 - Y1ID60 | |||||
Резистор, заменяющий разрядную лампу, Ом | RL60 | 1100 | |||||||
Наибольшее напряжение на электроде, В | CVmax | 4,40 | |||||||
Заменяющие электрод резисторы для квалификации диммирующего ПРА | |||||||||
Заменяющий резистор каждого электрода для испытания требований диммирования, Ом | Rиспытания 1 | 13,0 | |||||||
Rиспытания 2 | 14,0 | ||||||||
Rиспытания 3 | 12,0 | ||||||||
Примечания | |||||||||
60901-IEC-7457-3 | |||||||||
(A3:2004), (A6:2014) | |||||||||
ЛАМПА ЛЮМИНЕСЦЕНТНАЯ ОДНОЦОКОЛЬНАЯ Лист с параметрами | С. 3 | |||||||||
Высокочастотная | Многоканальная-8 | |||||||||
МСОЛ: FSM8H-57-L/P-GX24q=5 | ||||||||||
Требования зажигания к электродам предварительного подогрева для времени зажигания 0,4 с < ts < 3,0 с | ||||||||||
Наименьшая энергия предварительного подогрева электрода: Emin = Qmin + Pmin ts, Дж | Qmin | Дж | 1,0 | |||||||
Pmin | Дж/с | 0,8 | ||||||||
Напряжение на каждом электроде для E (t) < Emin, В | Действующее значение, не более | 11 | ||||||||
Заменяющий резистор каждого электрода для проверки минимальных требований к предварительному подогреву электродов, Ом | 9 | |||||||||
Наибольшая энергия предварительного подогрева электрода: Emax = Qmax + Pmax ts, Дж | Qmax | Дж | 2,0 | |||||||
Pmax | Дж/с | 1,6 | ||||||||
Заменяющий резистор каждого электрода для проверки максимальных требований к предварительному подогреву электродов, Ом | 12 | |||||||||
Напряжение холостого хода на лампе без ВЗУ, В | Напряжение незажигания | t <= ts | Действующее значение, не более | 350 | ||||||
Напряжение зажигания | t > ts (+10 C°) | Действующее значение, не менее | 680 | |||||||
t > ts (-15 C°) | 760 | |||||||||
Диапазон заменяющего резистора каждого электрода для проверки требований к напряжению холостого хода, Ом | 9,0 - 27,0 | |||||||||
60901-IEC-7457-1 | ||||||||||
(A6:2014) | ||||||||||
ОДНОЦОКОЛЬНАЯ Лист с параметрами | С. 1 | ||||||||||||
Высокочастотная | Многоканальная-6 | ||||||||||||
МСОЛ: FSM6H-70-L/P-GX24q=6 <*> | |||||||||||||
Номинальная мощность, Вт | Схема | Электрод | Цоколь | ||||||||||
70 | ВЧ бесстартерная | Предварительного подогрева | GX24q-6 <*> | ||||||||||
Размеры В миллиметрах | |||||||||||||
A, не более | B, не более | C, не более | |||||||||||
52 | 52 | 219 <*> | |||||||||||
Цоколь: см. лист 7004-78 IEC 60061-1. | |||||||||||||
Характеристики зажигания | |||||||||||||
Частота, кГц | Ток предварительного подогрева, А | Время предварительного подогрева, с | Напряжение холостого хода (действующее), В | Время зажигания, с | |||||||||
20 - 26 | 0,420 | 2 | 690 | 0,1 | |||||||||
Электрические параметры | |||||||||||||
Частота, кГц | Нормируемая мощность, Вт | Напряжение на лампе (действующее), В | Нормируемый ток лампы, А | ||||||||||
Нормируемое | Не менее | Не более | |||||||||||
20 - 26 | 70 | 219 | 199 | 239 | 0,320 | ||||||||
Испытательное положение: вертикальное, цоколем вверх. | |||||||||||||
Характеристики электрода | |||||||||||||
Испытательный ток, А | Сопротивление каждого электрода, Ом | ||||||||||||
Нормируемое | Не менее | Не более | |||||||||||
0,310 | 13 | 9,7 | 16,3 | ||||||||||
Информация для расчета светильника | |||||||||||||
Наибольший контур лампы: см. лист 60901-IEC-B410 с размером H, мм | 219 <*> | ||||||||||||
-------------------------------- | |||||||||||||
60901-IEC-7469-2 | |||||||||||||
(A4:2007), (A6:2014) | |||||||||||||
ЛАМПА ЛЮМИНЕСЦЕНТНАЯ ОДНОЦОКОЛЬНАЯ Лист с параметрами | С. 2 | ||||||||
Высокочастотная | Многоканальная-6 | ||||||||
МСОЛ: FSM6H-70-L/P-GX24q=6 <*> | |||||||||
Характеристики ДОИ | |||||||||
Частота, кГц | Номинальная мощность, Вт | Нормируемое напряжение, В | Ток калибровки, А | Отношение напряжения к току, Ом | |||||
20 - 26 | 70 | 560 | 0,320 | 1070 | |||||
Информация для расчета ВЧ ПРА | |||||||||
Работа в нормальном режиме и режиме диммирования | |||||||||
Частота, кГц | >= 20 | ||||||||
Ток перехода от работы в нормальном режиме к режиму диммирования ID перехода, А | 0,250 | ||||||||
Рабочий ток лампы ID, А | Не более | 0,400 | |||||||
Ток в любом вводе электродов, А | Не более | 0,430 | |||||||
Квалификация диммирующего ПРА с заменяющими резисторами (примечание 1) | |||||||||
Нагрев электрода рабочим током любой лампы, измеренного с заменяющими резисторами | |||||||||
Наименьшая сумма квадратов токов выводов: SoSmin: для ID30 < ID <= Iперехода (примечание 2) | А2 | X1 | 0,175 | ||||||
А | Y1 | 0,575 | |||||||
Нагрев электрода при конкретных рабочих токах, измеренных на заменяющих резисторах | |||||||||
Рабочий ток | Параметры нагрева | ||||||||
IDmin, А | 0,030 | Наименьшее напряжение на электроде, В | CVDmin | 3,40 | |||||
Резисторы, заменяющие разрядную лампу, Ом | RL10min | 8200 | |||||||
RL10max | 16000 | ||||||||
ID30, А | 0,095 | Наименьшая сумма квадратов токов выводов, А2 | SoS30 | X1 - Y1ID30 | |||||
Резистор, заменяющий разрядную лампу, Ом | RL30 | 3300 | |||||||
ID60, А | 0,190 | Наименьшая сумма квадратов токов выводов, А2 | SoS60 | X1 - Y1ID60 | |||||
Резистор, заменяющий разрядную лампу, Ом | RL60 | 1300 | |||||||
Наибольшее напряжение на электроде, В | CVmax | 4,40 | |||||||
Заменяющие электрод резисторы для квалификации диммирующего ПРА | |||||||||
Заменяющий резистор каждого электрода для испытания требований диммирования, Ом | Rиспытания 1 | 13,0 | |||||||
Rиспытания 2 | 14,0 | ||||||||
Rиспытания 3 | 12,0 | ||||||||
Примечания | |||||||||
60901-IEC-7469-2 | |||||||||
(A4:2007), (A6:2014) | |||||||||
ЛАМПА ЛЮМИНЕСЦЕНТНАЯ ОДНОЦОКОЛЬНАЯ Лист с параметрами | С. 3 | |||||||||
Высокочастотная | Многоканальная-6 | |||||||||
МСОЛ: FSM6H-70-L/P-GX24q=6 <*> | ||||||||||
Требования зажигания к электродам предварительного подогрева для времени зажигания 0,4 с < ts < 3,0 с | ||||||||||
Наименьшая энергия предварительного подогрева электрода: Emin = Qmin + Pmin ts, Дж | Qmin | Дж | 1,0 | |||||||
Pmin | Дж/с | 0,8 | ||||||||
Напряжение на каждом электроде для E (t) < Emin, В | Действующее значение, не более | 11 | ||||||||
Заменяющий резистор каждого электрода для проверки минимальных требований к предварительному подогреву электродов, Ом | 9 | |||||||||
Наибольшая энергия предварительного подогрева электрода: Emax = Qmax + Pmax ts, Дж | Qmax | Дж | 2,0 | |||||||
Pmax | Дж/с | 1,6 | ||||||||
Заменяющий резистор каждого электрода для проверки максимальных требований к предварительному подогреву электродов, Ом | 12 | |||||||||
Напряжение холостого хода на лампе без ВЗУ, В | Напряжение незажигания | t <= ts | Действующее значение, не более | 350 <*> | ||||||
Напряжение зажигания | t > ts (+10 C°) | Действующее значение, не менее | 700 <*> | |||||||
t > ts (-15 C°) | 750 <*> | |||||||||
Диапазон заменяющего резистора каждого электрода для проверки требований к напряжению холостого хода, Ом | 9,0 - 27,0 | |||||||||
-------------------------------- | ||||||||||
60901-IEC-7469-1 | ||||||||||
(A6:2014) | ||||||||||
ОДНОЦОКОЛЬНАЯ Лист с параметрами | С. 1 | ||||||||||||
Высокочастотная | Многоканальная-8 | ||||||||||||
МСОЛ: FSM8H-70-L/P-GX24q=6 <*> | |||||||||||||
Номинальная мощность, Вт | Схема | Электрод | Цоколь | ||||||||||
70 | ВЧ бесстартерная | Предварительного подогрева | GX24q-6 <*> | ||||||||||
Размеры В миллиметрах | |||||||||||||
A, не более | B, не более | C, не более | |||||||||||
52 | 52 | 197 | |||||||||||
Цоколь: см. лист 7004-78 IEC 60061-1. | |||||||||||||
Характеристики зажигания | |||||||||||||
Частота, кГц | Ток предварительного подогрева, А | Время предварительного подогрева, с | Напряжение холостого хода (действующее), В | Время зажигания, с | |||||||||
20 - 26 | 0,420 | 2 | 810 | 0,1 | |||||||||
Электрические параметры | |||||||||||||
Частота, кГц | Нормируемая мощность, Вт | Напряжение на лампе (действующее), В | Нормируемый ток лампы, А | ||||||||||
Нормируемое | Не менее | Не более | |||||||||||
20 - 26 | 70 | 219 | 199 | 239 | 0,320 | ||||||||
Испытательное положение: вертикальное, цоколем вверх. | |||||||||||||
Характеристики электрода | |||||||||||||
Испытательный ток, А | Сопротивление каждого электрода, Ом | ||||||||||||
Нормируемое | Не менее | Не более | |||||||||||
0,310 | 13 | 9,7 | 16,3 | ||||||||||
Информация для расчета светильника | |||||||||||||
Наибольший контур лампы: см. лист 60901-IEC-B410 с размером H, мм | 197 | ||||||||||||
-------------------------------- | |||||||||||||
60901-IEC-7470-2 | |||||||||||||
(A4:2007), (A6:2014) | |||||||||||||
ЛАМПА ЛЮМИНЕСЦЕНТНАЯ ОДНОЦОКОЛЬНАЯ Лист с параметрами | С. 2 | ||||||||
Высокочастотная | Многоканальная-8 | ||||||||
МСОЛ: FSM8H-70-L/P-GX24q=6 <*> | |||||||||
Характеристики ДОИ | |||||||||
Частота, кГц | Номинальная мощность, Вт | Нормируемое напряжение, В | Ток калибровки, А | Отношение напряжения к току, Ом | |||||
20 - 26 | 70 | 560 | 0,320 | 1070 | |||||
Информация для расчета ВЧ ПРА | |||||||||
Работа в нормальном режиме и режиме диммирования | |||||||||
Частота, кГц | >= 20 | ||||||||
Ток перехода от работы в нормальном режиме к режиму диммирования ID перехода, А | 0,250 | ||||||||
Рабочий ток лампы ID, А | Не более | 0,400 | |||||||
Ток в любом вводе электродов, А | Не более | 0,430 | |||||||
Квалификация диммирующего ПРА с заменяющими резисторами (примечание 1) | |||||||||
Нагрев электрода рабочим током любой лампы, измеренного с заменяющими резисторами | |||||||||
Наименьшая сумма квадратов токов выводов: SoSmin: для ID30 < ID <= Iперехода (примечание 2) | А2 | X1 | 0,175 | ||||||
А | Y1 | 0,575 | |||||||
Нагрев электрода при конкретных рабочих токах, измеренных на заменяющих резисторах | |||||||||
Рабочий ток | Параметры нагрева | ||||||||
IDmin, А | 0,030 | Наименьшее напряжение на электроде, В | CVDmin | 3,40 | |||||
Резисторы, заменяющие разрядную лампу, Ом | RL10min | 8200 | |||||||
RL10max | 16000 | ||||||||
ID30, А | 0,095 | Наименьшая сумма квадратов токов выводов, А2 | SoS30 | X1 - Y1ID30 | |||||
Резистор, заменяющий разрядную лампу, Ом | RL30 | 3300 | |||||||
ID60, А | 0,190 | Наименьшая сумма квадратов токов выводов, А2 | SoS60 | X1 - Y1ID60 | |||||
Резистор, заменяющий разрядную лампу, Ом | RL60 | 1300 | |||||||
Наибольшее напряжение на электроде, В | CVmax | 4,40 | |||||||
Заменяющие электрод резисторы для квалификации диммирующего ПРА | |||||||||
Заменяющий резистор каждого электрода для испытания требований диммирования, Ом | Rиспытания 1 | 13,0 | |||||||
Rиспытания 2 | 14,0 | ||||||||
Rиспытания 3 | 12,0 | ||||||||
Примечания | |||||||||
60901-IEC-7470-2 | |||||||||
(A4:2007), (A6:2014) | |||||||||
ЛАМПА ЛЮМИНЕСЦЕНТНАЯ ОДНОЦОКОЛЬНАЯ Лист с параметрами | С. 3 | |||||||||
Высокочастотная | Многоканальная-8 | |||||||||
МСОЛ: FSM8H-70-L/P-GX24q=6 <*> | ||||||||||
Требования зажигания к электродам предварительного подогрева для времени зажигания 0,4 с < ts < 3,0 с | ||||||||||
Наименьшая энергия предварительного подогрева электрода: Emin = Qmin + Pmin ts, Дж | Qmin | Дж | 1,0 | |||||||
Pmin | Дж/с | 0,8 | ||||||||
Напряжение на каждом электроде для E (t) < Emin, В | Действующее значение, не более | 11 | ||||||||
Заменяющий резистор каждого электрода для проверки минимальных требований к предварительному подогреву электродов, Ом | 9 | |||||||||
Наибольшая энергия предварительного подогрева электрода: Emax = Qmax + Pmax ts, Дж | Qmax | Дж | 2,0 | |||||||
Pmax | Дж/с | 1,6 | ||||||||
Заменяющий резистор каждого электрода для проверки максимальных требований к предварительному подогреву электродов, Ом | 12 | |||||||||
Напряжение холостого хода на лампе без ВЗУ, В | Напряжение незажигания | t <= ts | Действующее значение, не более | 450 <*> | ||||||
Напряжение зажигания | t > ts (+10 C°) | Действующее значение, не менее | 810 | |||||||
t > ts (-15 C°) | 880 | |||||||||
Диапазон заменяющего резистора каждого электрода для проверки требований к напряжению холостого хода, Ом | 9,0 - 27,0 | |||||||||
-------------------------------- | ||||||||||
60901-IEC-7470-1 | ||||||||||
(A6:2014) | ||||||||||
ОДНОЦОКОЛЬНАЯ Лист с параметрами | С. 1 | ||||||||||||
Высокочастотная | Многоканальная-6 | ||||||||||||
МСОЛ: FSM6H-60-L/P-2G8=1 | |||||||||||||
Номинальная мощность, Вт | Схема | Электрод | Цоколь | ||||||||||
60 | ВЧ бесстартерная | Предварительного подогрева | 2G8-1 | ||||||||||
Размеры В миллиметрах | |||||||||||||
A, не более | B, не более | C, не более | |||||||||||
59 | 59 | 167 | |||||||||||
Цоколь: см. лист 7004-141 IEC 60061-1. | |||||||||||||
Характеристики зажигания | |||||||||||||
Частота, кГц | Ток предварительного подогрева, А | Время предварительного подогрева, с | Напряжение холостого хода (действующее), В | Время зажигания, с | |||||||||
20 - 26 | 1,560 | 2 | 625 | 0,1 | |||||||||
Электрические параметры | |||||||||||||
Частота, кГц | Нормируемая мощность, Вт | Напряжение на лампе (действующее), В | Нормируемый ток лампы, А | ||||||||||
Нормируемое | Не менее | Не более | |||||||||||
20 - 26 | 63 | 79 | 69 | 89 | 0,800 | ||||||||
Испытательное положение: вертикальное, цоколем вверх. | |||||||||||||
Характеристики электрода | |||||||||||||
Испытательный ток, А | Сопротивление каждого электрода, Ом | ||||||||||||
Нормируемое | Не менее | Не более | |||||||||||
0,830 | 4,4 | 3,3 | 5,5 | ||||||||||
Информация для расчета светильника | |||||||||||||
Наибольший контур лампы: см. лист 60901-IEC-B420 с размером H, мм | 167 | ||||||||||||
60901-IEC-7660-2 | |||||||||||||
(A4:2007), (A6:2014) | |||||||||||||
ЛАМПА ЛЮМИНЕСЦЕНТНАЯ ОДНОЦОКОЛЬНАЯ Лист с параметрами | С. 2 | ||||||||||
Высокочастотная | Многоканальная-6 | ||||||||||
МСОЛ: FSM6H-60-L/P-2G8=1 | |||||||||||
Характеристики ДОИ | |||||||||||
Частота, кГц | Номинальная мощность, Вт | Нормируемое напряжение, В | Ток калибровки, А | Отношение напряжения к току, Ом | |||||||
20 - 26 | 60 | 158 | 0,800 | 100 | |||||||
Информация для расчета ВЧ ПРА | |||||||||||
Частота, кГц | >= 20 | ||||||||||
Работа в нормальном режиме | |||||||||||
Рабочий ток лампы ID, А | Не менее | 0,665 | |||||||||
Не более | 1,080 | ||||||||||
Ток в любом вводе электродов, А | Не более | 1,160 | |||||||||
Работа в режиме диммирования | |||||||||||
Рабочий ток лампы ID, А | Не менее | 0,080 | |||||||||
Не более | 0,665 | ||||||||||
Наименьшая сумма квадратов токов выводов: (см. примечание) | А2 | X1 | А2 | 1,240 | |||||||
Y1 | А | 1,540 | |||||||||
Наибольшая сумма квадратов токов выводов: ![]() | А2 | X2 | А2 | 1,515 | |||||||
Y2 | А | -0,390 | |||||||||
ILL max; ILH max, А | 0,870 | 1,160 | |||||||||
Заменяющий резистор каждого электрода для проверки требований к диммированию | Rисп1, Ом | 4,4 | |||||||||
Rисп2, Ом | 5,0 | ||||||||||
Заменяющий резистор лампы при n % испытательного тока | n = | 10% | R10 | Ом | Не менее | 1500 | |||||
Не более | 3300 | ||||||||||
30% | R30 | Ом | Номинальное | 450 | |||||||
60% | R60 | Ом | Номинальное | 180 | |||||||
Требования зажигания ламп к электродам предварительного подогрева, для времени зажигания 0,4 с < ts < 3,0 с | |||||||||||
Наименьшая энергия предварительного подогрева электрода: Emin = Qmin + Pmin ts, Дж | Qmin | Дж | 5,5 | ||||||||
Pmin | Дж/с | 2,1 | |||||||||
Напряжение на каждом электроде для E (t) < Emin, В | Действующее значение, не более | 11 | |||||||||
Заменяющий резистор каждого электрода для проверки минимальных требований к предварительному подогреву электродов, Ом | 2,4 | ||||||||||
Наибольшая энергия предварительного подогрева электрода: Emax = Qmax + Pmax ts, Дж | Qmax | Дж | 11 | ||||||||
Pmax | Дж/с | 4,2 | |||||||||
Заменяющий резистор каждого электрода для проверки максимальных требований к предварительному подогреву электродов, Ом | 3,6 | ||||||||||
Напряжение холостого хода на лампе без ВЗУ, В | Напряжение незажигания | t <= ts | Действующее значение, не более | 300 | |||||||
Напряжение зажигания | t > ts (+10 C°) | Действующее значение, не менее | 625 | ||||||||
t > ts (-15 C°) | 625 | ||||||||||
Диапазон заменяющего резистора каждого электрода для проверки требований к напряжению холостого хода, Ом | 2,4 - 7,2 | ||||||||||
60901-IEC-7660-2 | |||||||||||
(A4:2007), (A6:2014) | |||||||||||
ОДНОЦОКОЛЬНАЯ Лист с параметрами | С. 1 | ||||||||||||
Высокочастотная | Многоканальная-6 | ||||||||||||
МСОЛ: FSM6H-85-L/P-2G8=1 | |||||||||||||
Номинальная мощность, Вт | Схема | Электрод | Цоколь | ||||||||||
85 | ВЧ бесстартерная | Предварительного подогрева | 2G8-1 | ||||||||||
Размеры В миллиметрах | |||||||||||||
A, не более | B, не более | C, не более | |||||||||||
59 | 59 | 208 | |||||||||||
Цоколь: см. лист 7004-141 IEC 60061-1. | |||||||||||||
Характеристики зажигания | |||||||||||||
Частота, кГц | Ток предварительного подогрева, А | Время предварительного подогрева, с | Напряжение холостого хода (действующее), В | Время зажигания, с | |||||||||
20 - 26 | 1,560 | 2 | 675 | 0,1 | |||||||||
Электрические параметры | |||||||||||||
Частота, кГц | Нормируемая мощность, Вт | Напряжение на лампе (действующее), В | Нормируемый ток лампы, А | ||||||||||
Нормируемое | Не менее | Не более | |||||||||||
20 - 26 | 87 | 110 | 100 | 120 | 0,800 | ||||||||
Испытательное положение: вертикальное, цоколем вверх. | |||||||||||||
Характеристики электрода | |||||||||||||
Испытательный ток, А | Сопротивление каждого электрода, Ом | ||||||||||||
Нормируемое | Не менее | Не более | |||||||||||
0,830 | 4,4 | 3,3 | 5,5 | ||||||||||
Информация для расчета светильника | |||||||||||||
Наибольший контур лампы: см. лист 60901-IEC-B420 с размером H, мм | 208 | ||||||||||||
60901-IEC-7685-2 | |||||||||||||
(A4:2007), (A6:2014) | |||||||||||||
ЛАМПА ЛЮМИНЕСЦЕНТНАЯ ОДНОЦОКОЛЬНАЯ Лист с параметрами | С. 2 | ||||||||||
Высокочастотная | Многоканальная-6 | ||||||||||
МСОЛ: FSM6H-85-L/P-2G8=1 | |||||||||||
Характеристики ДОИ | |||||||||||
Частота, кГц | Номинальная мощность, Вт | Нормируемое напряжение, В | Ток калибровки, А | Отношение напряжения к току, Ом | |||||||
20 - 26 | 85 | 220 | 0,800 | 138 | |||||||
Информация для расчета ВЧ ПРА | |||||||||||
Частота, кГц | >= 20 | ||||||||||
Работа в нормальном режиме | |||||||||||
Рабочий ток лампы ID, А | Не менее | 0,665 | |||||||||
Не более | 1,080 | ||||||||||
Ток в любом вводе электродов, А | Не более | 1,160 | |||||||||
Работа в режиме диммирования | |||||||||||
Рабочий ток лампы ID, А | Не менее | 0,080 | |||||||||
Не более | 0,665 | ||||||||||
Наименьшая сумма квадратов токов выводов: (см. примечание) | А2 | X1 | А2 | 1,240 | |||||||
Y1 | А | 1,540 | |||||||||
Наибольшая сумма квадратов токов выводов: ![]() | А2 | X2 | А2 | 1,515 | |||||||
Y2 | А | -0,390 | |||||||||
ILL max; ILH max, А | 0,870 | 1,160 | |||||||||
Заменяющий резистор каждого электрода для проверки требований к диммированию | Rисп1, Ом | 4,4 | |||||||||
Rисп2, Ом | 5,0 | ||||||||||
Заменяющий резистор лампы при n % испытательного тока | n = | 10% | R10 | Ом | Не менее | 2100 | |||||
Не более | 4200 | ||||||||||
30% | R30 | Ом | Номинальное | 630 | |||||||
60% | R60 | Ом | Номинальное | 250 | |||||||
Требования зажигания ламп к электродам предварительного подогрева, для времени зажигания 0,4 с < ts < 3,0 с | |||||||||||
Наименьшая энергия предварительного подогрева электрода: Emin = Qmin + Pmin ts, Дж | Qmin | Дж | 5,5 | ||||||||
Pmin | Дж/с | 2,1 | |||||||||
Напряжение на каждом электроде для E (t) < Emin, В | Действующее значение, не более | 11 | |||||||||
Заменяющий резистор каждого электрода для проверки минимальных требований к предварительному подогреву электродов, Ом | 2,4 | ||||||||||
Наибольшая энергия предварительного подогрева электрода: Emax = Qmax + Pmax ts, Дж | Qmax | Дж | 11 | ||||||||
Pmax | Дж/с | 4,2 | |||||||||
Заменяющий резистор каждого электрода для проверки максимальных требований к предварительному подогреву электродов, Ом | 3,6 | ||||||||||
Напряжение холостого хода на лампе без ВЗУ, В | Напряжение незажигания | t <= ts | Действующее значение, не более | 350 | |||||||
Напряжение зажигания | t > ts (+10 C°) | Действующее значение, не менее | 675 | ||||||||
t > ts (-15 C°) | 675 | ||||||||||
Диапазон заменяющего резистора каждого электрода для проверки требований к напряжению холостого хода, Ом | 2,4 - 7,2 | ||||||||||
60901-IEC-7685-2 | |||||||||||
(A4:2007), (A6:2014) | |||||||||||
ОДНОЦОКОЛЬНАЯ Лист с параметрами | С. 1 | ||||||||||||
Высокочастотная | Многоканальная-6 | ||||||||||||
МСОЛ: FSM6H-120-L/P-2G8=1 | |||||||||||||
Номинальная мощность, Вт | Схема | Электрод | Цоколь | ||||||||||
120 | ВЧ бесстартерная | Предварительного подогрева | 2G8-1 | ||||||||||
Размеры В миллиметрах | |||||||||||||
A, не более | B, не более | C, не более | |||||||||||
59 | 59 | 285 | |||||||||||
Цоколь: см. лист 7004-141 IEC 60061-1. | |||||||||||||
Характеристики зажигания | |||||||||||||
Частота, кГц | Ток предварительного подогрева, А | Время предварительного подогрева, с | Напряжение холостого хода (действующее), В | Время зажигания, с | |||||||||
20 - 26 | 1,560 | 2 | 750 | 0,1 | |||||||||
Электрические параметры | |||||||||||||
Частота, кГц | Нормируемая мощность, Вт | Напряжение на лампе (действующее), В | Нормируемый ток лампы, А | ||||||||||
Нормируемое | Не менее | Не более | |||||||||||
20 - 26 | 122 | 153 | 133 | 173 | 0,800 | ||||||||
Испытательное положение: вертикальное, цоколем вверх. | |||||||||||||
Характеристики электрода | |||||||||||||
Испытательный ток, А | Сопротивление каждого электрода, Ом | ||||||||||||
Нормируемое | Не менее | Не более | |||||||||||
0,830 | 4,4 | 3,3 | 5,5 | ||||||||||
Информация для расчета светильника | |||||||||||||
Наибольший контур лампы: см. лист 60901-IEC-B420 с размером H, мм | 285 | ||||||||||||
60901-IEC-7719-2 | |||||||||||||
(A4:2007), (A6:2014) | |||||||||||||
ЛАМПА ЛЮМИНЕСЦЕНТНАЯ ОДНОЦОКОЛЬНАЯ Лист с параметрами | С. 2 | ||||||||||
Высокочастотная | Многоканальная-6 | ||||||||||
МСОЛ: FSM6H-120-L/P-2G8=1 | |||||||||||
Характеристики ДОИ | |||||||||||
Частота, кГц | Номинальная мощность, Вт | Нормируемое напряжение, В | Ток калибровки, А | Отношение напряжения к току, Ом | |||||||
20 - 26 | 120 | 310 | 0,800 | 194 | |||||||
Информация для расчета ВЧ ПРА | |||||||||||
Частота, кГц | >= 20 | ||||||||||
Работа в нормальном режиме | |||||||||||
Рабочий ток лампы ID, А | Не менее | 0,665 | |||||||||
Не более | 1,080 | ||||||||||
Ток в любом вводе электродов, А | Не более | 1,160 | |||||||||
Работа в режиме диммирования | |||||||||||
Рабочий ток лампы ID, А | Не менее | 0,080 | |||||||||
Не более | 0,665 | ||||||||||
Наименьшая сумма квадратов токов выводов: (см. примечание) | А2 | X1 | А2 | 1,240 | |||||||
Y1 | А | 1,540 | |||||||||
Наибольшая сумма квадратов токов выводов: ![]() | А2 | X2 | А2 | 1,515 | |||||||
Y2 | А | -0,390 | |||||||||
ILL max; ILH max, А | 0,870 | 1,160 | |||||||||
Заменяющий резистор каждого электрода для проверки требований к диммированию | Rисп1, Ом | 4,4 | |||||||||
Rисп2, Ом | 5,0 | ||||||||||
Заменяющий резистор лампы при n % испытательного тока | n = | 10% | R10 | Ом | Не менее | 2700 | |||||
Не более | 5100 | ||||||||||
30% | R30 | Ом | Номинальное | 820 | |||||||
60% | R60 | Ом | Номинальное | 330 | |||||||
Требования зажигания ламп к электродам предварительного подогрева, для времени зажигания 0,4 с < ts < 3,0 с | |||||||||||
Наименьшая энергия предварительного подогрева электрода: Emin = Qmin + Pmin ts, Дж | Qmin | Дж | 5,5 | ||||||||
Pmin | Дж/с | 2,1 | |||||||||
Напряжение на каждом электроде для E (t) < Emin, В | Действующее значение, не более | 11 | |||||||||
Заменяющий резистор каждого электрода для проверки минимальных требований к предварительному подогреву электродов, Ом | 2,4 | ||||||||||
Наибольшая энергия предварительного подогрева электрода: Emax = Qmax + Pmax ts, Дж | Qmax | Дж | 11 | ||||||||
Pmax | Дж/с | 4,2 | |||||||||
Заменяющий резистор каждого электрода для проверки максимальных требований к предварительному подогреву электродов, Ом | 3,6 | ||||||||||
Напряжение холостого хода на лампе без ВЗУ, В | Напряжение незажигания | t <= ts | Действующее значение, не более | 400 | |||||||
Напряжение зажигания | t > ts (+10 C°) | Действующее значение, не менее | 850 <*> | ||||||||
t > ts (-15 C°) | 850 <*> | ||||||||||
Диапазон заменяющего резистора каждого электрода для проверки требований к напряжению холостого хода, Ом | 2,4 - 7,2 | ||||||||||
60901-IEC-7719-2 | |||||||||||
(A4:2007), (A6:2014) | |||||||||||
ОДНОЦОКОЛЬНАЯ Лист с параметрами | С. 1 | ||||||||||||
Высокочастотная | Многоканальная-8 | ||||||||||||
МСОЛ: FSM8H-120-L/P-2G8=1 | |||||||||||||
Номинальная мощность, Вт | Схема | Электрод | Цоколь | ||||||||||
120 | ВЧ бесстартерная | Предварительного подогрева | 2G8-1 | ||||||||||
Размеры В миллиметрах | |||||||||||||
A, не более | B, не более | C, не более | |||||||||||
72 | 72 | 225 | |||||||||||
Цоколь: см. лист 7004-141 IEC 60061-1. | |||||||||||||
Характеристики зажигания | |||||||||||||
Частота, кГц | Ток предварительного подогрева, А | Время предварительного подогрева, с | Напряжение холостого хода (действующее), В | Время зажигания, с | |||||||||
20 - 26 | 1,560 | 2 | 850 | 0,1 | |||||||||
Электрические параметры | |||||||||||||
Частота, кГц | Нормируемая мощность, Вт | Напряжение на лампе (действующее), В | Нормируемый ток лампы, А | ||||||||||
Нормируемое | Не менее | Не более | |||||||||||
20 - 26 | 122 | 153 | 133 | 173 | 0,800 | ||||||||
Испытательное положение: вертикальное, цоколем вверх. | |||||||||||||
Характеристики электрода | |||||||||||||
Испытательный ток, А | Сопротивление каждого электрода, Ом | ||||||||||||
Нормируемое | Не менее | Не более | |||||||||||
0,830 | 4,4 | 3,3 | 5,5 | ||||||||||
Информация для расчета светильника | |||||||||||||
Наибольший контур лампы: см. лист 60901-IEC-B420 с размером H, мм | 225 | ||||||||||||
60901-IEC-7720-2 | |||||||||||||
(A4:2007), (A6:2014) | |||||||||||||
ЛАМПА ЛЮМИНЕСЦЕНТНАЯ ОДНОЦОКОЛЬНАЯ Лист с параметрами | С. 2 | ||||||||||
Высокочастотная | Многоканальная-8 | ||||||||||
МСОЛ: FSM8H-120-L/P-2G8=1 | |||||||||||
Характеристики ДОИ | |||||||||||
Частота, кГц | Номинальная мощность, Вт | Нормируемое напряжение, В | Ток калибровки, А | Отношение напряжения к току, Ом | |||||||
20 - 26 | 120 | 310 | 0,800 | 194 | |||||||
Информация для расчета ВЧ ПРА | |||||||||||
Частота, кГц | >= 20 | ||||||||||
Работа в нормальном режиме | |||||||||||
Рабочий ток лампы ID, А | Не менее | 0,665 | |||||||||
Не более | 1,080 | ||||||||||
Ток в любом вводе электродов, А | Не более | 1,160 | |||||||||
Работа в режиме диммирования | |||||||||||
Рабочий ток лампы ID, А | Не менее | 0,080 | |||||||||
Не более | 0,665 | ||||||||||
Наименьшая сумма квадратов токов выводов: (см. примечание) | А2 | X1 | А2 | 1,240 | |||||||
Y1 | А | 1,540 | |||||||||
Наибольшая сумма квадратов токов выводов: ![]() | А2 | X2 | А2 | 1,515 | |||||||
Y2 | А | -0,390 | |||||||||
ILL max; ILH max, А | 0,870 | 1,160 | |||||||||
Заменяющий резистор каждого электрода для проверки требований к диммированию | Rисп1, Ом | 4,4 | |||||||||
Rисп2, Ом | 5,0 | ||||||||||
Заменяющий резистор лампы при n % испытательного тока | n = | 10% | R10 | Ом | Не менее | 2700 | |||||
Не более | 5100 | ||||||||||
30% | R30 | Ом | Номинальное | 820 | |||||||
60% | R60 | Ом | Номинальное | 330 | |||||||
Требования зажигания ламп к электродам предварительного подогрева, для времени зажигания 0,4 с < ts < 3,0 с | |||||||||||
Наименьшая энергия предварительного подогрева электрода: Emin = Qmin + Pmin ts, Дж | Qmin | Дж | 5,5 | ||||||||
Pmin | Дж/с | 2,1 | |||||||||
Напряжение на каждом электроде для E (t) < Emin, В | Действующее значение, не более | 11 | |||||||||
Заменяющий резистор каждого электрода для проверки минимальных требований к предварительному подогреву электродов, Ом | 2,4 | ||||||||||
Наибольшая энергия предварительного подогрева электрода: Emax = Qmax + Pmax ts, Дж | Qmax | Дж | 11 | ||||||||
Pmax | Дж/с | 4,2 | |||||||||
Заменяющий резистор каждого электрода для проверки максимальных требований к предварительному подогреву электродов, Ом | 3,6 | ||||||||||
Напряжение холостого хода на лампе без ВЗУ, В | Напряжение незажигания | t <= ts | Действующее значение, не более | 400 | |||||||
Напряжение зажигания | t > ts (+10 C°) | Действующее значение, не менее | 850 <*> | ||||||||
t > ts (-15 C°) | 850 <*> | ||||||||||
Диапазон заменяющего резистора каждого электрода для проверки требований к напряжению холостого хода, Ом | 2,4 - 7,2 | ||||||||||
60901-IEC-7720-2 | |||||||||||
(A4:2007), (A6:2014) | |||||||||||
ОДНОЦОКОЛЬНАЯ Лист с параметрами | С. 1 | ||||||||||||
Высокочастотная | Многоканальная-8 | ||||||||||||
МСОЛ: FSM8H-62-L/P-2G8=2 | |||||||||||||
Номинальная мощность, Вт | Схема | Электрод | Цоколь | ||||||||||
62 | ВЧ бесстартерная | Предварительного подогрева | 2G8-2 | ||||||||||
Размеры В миллиметрах | |||||||||||||
A, не более | B, не более | C, не более | |||||||||||
70 | 70 | 161 | |||||||||||
Цоколь: см. лист 7004-141 IEC 60061-1. | |||||||||||||
Характеристики зажигания | |||||||||||||
Частота, кГц | Ток предварительного подогрева, А | Время предварительного подогрева, с | Напряжение холостого хода (действующее), В | Время зажигания, с | |||||||||
20 - 26 | 0,580 | 2 | 590 | 0,1 | |||||||||
Электрические параметры | |||||||||||||
Частота, кГц | Нормируемая мощность, Вт | Напряжение на лампе (действующее), В | Нормируемый ток лампы, А | ||||||||||
Нормируемое | Не менее | Не более | |||||||||||
20 - 26 | 62,0 | 144 | 124 | 164 | 0,430 | ||||||||
Испытательное положение: вертикальное, цоколем вверх. | |||||||||||||
Характеристики электрода | |||||||||||||
Испытательный ток, А | Сопротивление каждого электрода, Ом | ||||||||||||
Нормируемое | Не менее | Не более | |||||||||||
0,440 | 9,5 | 7,0 | 12,0 | ||||||||||
60901-IEC-7862-1 | |||||||||||||
(A4:2007) | |||||||||||||
ЛАМПА ЛЮМИНЕСЦЕНТНАЯ ОДНОЦОКОЛЬНАЯ Лист с параметрами | С. 2 | |||||||||
Высокочастотная | Многоканальная-8 | |||||||||
МСОЛ: FSM8H-62-L/P-2G8=2 | ||||||||||
Характеристики ДОИ | ||||||||||
Частота, кГц | Номинальная мощность, Вт | Нормируемое напряжение, В | Ток калибровки, А | Отношение напряжения к току, Ом | ||||||
20 - 26 | 62 | 320 | 0,430 | 410 | ||||||
Информация для расчета ВЧ ПРА | ||||||||||
Частота, кГц | >= 20 | |||||||||
Нормальная работа | ||||||||||
Рабочий ток лампы ID, А | Не менее | 0,350 | ||||||||
Не более | 0,480 | |||||||||
Ток в любом вводе электрода, А | Не более | 0,680 | ||||||||
Работа при затемнении | ||||||||||
Рабочий ток лампы ID, А | Не менее | 0,045 | ||||||||
Не более | 0,350 | |||||||||
Наименьшая сумма квадратов токов выводов: ![]() | А2 | X (А2) | 0,350 | |||||||
Наибольшая сумма квадратов токов выводов: ![]() | Y (А) | 0,815 | ||||||||
Заменяющий резистор каждого электрода, Ом | ||||||||||
Резистор, заменяющий лампу, Ом | ||||||||||
Требования зажигания ламп к электродам предварительного подогрева, для времени зажигания 0,4 с < ts < 3,0 с | ||||||||||
Наименьшая энергия предварительного подогрева электрода: Emin = Qmin + Pmin ts, Дж | Qmin | Дж | 1,7 | |||||||
Pmin | Вт | 1,2 | ||||||||
Напряжение на каждом электроде для E (t) < Emin, В | Действующее значение, не более | 11 | ||||||||
Заменяющий резистор каждого электрода для проверки минимальных требований к предварительному подогреву электродов, Ом | 6,0 | |||||||||
Наибольшая энергия предварительного подогрева электрода: Emax = Qmax + Pmax ts, Дж | Qmax | Дж | 3,4 | |||||||
Pmax | Вт | 2,4 | ||||||||
Заменяющий резистор каждого электрода для проверки максимальных требований к предварительному подогреву электродов, Ом | 8,0 | |||||||||
Напряжение холостого хода на лампе (без ВЗУ), В | Напряжение незажигания | t <= ts | Действующее значение, не более | 500 | ||||||
Напряжение зажигания | t > ts (+10 C°) | Действующее значение, не менее | 650 | |||||||
t > ts (-15 C°) | 740 | |||||||||
Диапазон заменяющего резистора каждого электрода для проверки требований к напряжению холостого хода, Ом | 6 - 18 | |||||||||
-------------------------------- | ||||||||||
60901-IEC-7862-1 | ||||||||||
(A4:2007) | ||||||||||
ОДНОЦОКОЛЬНАЯ Лист с параметрами | С. 1 | ||||||||||||
Высокочастотная | Многоканальная-8 | ||||||||||||
МСОЛ: FSM8H-82-L/P-2G8=2 | |||||||||||||
Номинальная мощность, Вт | Схема | Электрод | Цоколь | ||||||||||
82 | ВЧ бесстартерная | Предварительного подогрева | 2G8-2 | ||||||||||
Размеры В миллиметрах | |||||||||||||
A, не более | B, не более | C, не более | |||||||||||
70 | 70 | 203 | |||||||||||
Цоколь: см. лист 7004-141 IEC 60061-1. | |||||||||||||
Характеристики зажигания | |||||||||||||
Частота, кГц | Ток предварительного подогрева, А | Время предварительного подогрева, с | Напряжение холостого хода (действующее), В | Время зажигания, с | |||||||||
20 - 26 | 0,580 | 2 | 680 | 0,1 | |||||||||
Электрические параметры | |||||||||||||
Частота, кГц | Нормируемая мощность, Вт | Напряжение на лампе (действующее), В | Нормируемый ток лампы, А | ||||||||||
Нормируемое | Не менее | Не более | |||||||||||
20 - 26 | 82,0 | 191 | 171 | 211 | 0,430 | ||||||||
Испытательное положение: вертикальное, цоколем вверх. | |||||||||||||
Характеристики электрода | |||||||||||||
Испытательный ток, А | Сопротивление каждого электрода, Ом | ||||||||||||
Нормируемое | Не менее | Не более | |||||||||||
0,440 | 9,5 | 7,0 | 12,0 | ||||||||||
60901-IEC-7882-1 | |||||||||||||
(A4:2007) | |||||||||||||
ЛАМПА ЛЮМИНЕСЦЕНТНАЯ ОДНОЦОКОЛЬНАЯ Лист с параметрами | С. 2 | |||||||||
Высокочастотная | Многоканальная-8 | |||||||||
МСОЛ: FSM8H-82-L/P-2G8=2 | ||||||||||
Характеристики ДОИ | ||||||||||
Частота, кГц | Номинальная мощность, Вт | Нормируемое напряжение, В | Ток калибровки, А | Отношение напряжения к току, Ом | ||||||
20 - 26 | 82 | 420 | 0,430 | 530 | ||||||
Информация для расчета ВЧ ПРА | ||||||||||
Частота, кГц | >= 20 | |||||||||
Нормальная работа | ||||||||||
Рабочий ток лампы ID, А | Не менее | 0,350 | ||||||||
Не более | 0,480 | |||||||||
Ток в любом вводе электрода, А | Не более | 0,680 | ||||||||
Работа при затемнении | ||||||||||
Рабочий ток лампы ID, А | Не менее | 0,045 | ||||||||
Не более | 0,350 | |||||||||
Наименьшая сумма квадратов токов выводов: ![]() | А2 | X (А2) | 0,350 | |||||||
Наибольшая сумма квадратов токов выводов: ![]() | Y (А) | 0,815 | ||||||||
Заменяющий резистор каждого электрода, Ом | ||||||||||
Резистор, заменяющий лампу, Ом | ||||||||||
Требования зажигания ламп к электродам предварительного подогрева, для времени зажигания 0,4 с < ts < 3,0 с | ||||||||||
Наименьшая энергия предварительного подогрева электрода: Emin = Qmin + Pmin ts, Дж | Qmin | Дж | 1,7 | |||||||
Pmin | Вт | 1,2 | ||||||||
Напряжение на каждом электроде для E (t) < Emin, В | Действующее значение, не более | 11 | ||||||||
Заменяющий резистор каждого электрода для проверки минимальных требований к предварительному подогреву электродов, Ом | 6,0 | |||||||||
Наибольшая энергия предварительного подогрева электрода: Emax = Qmax + Pmax ts, Дж | Qmax | Дж | 3,4 | |||||||
Pmax | Вт | 2,4 | ||||||||
Заменяющий резистор каждого электрода для проверки максимальных требований к предварительному подогреву электродов, Ом | 8,0 | |||||||||
Напряжение холостого хода на лампе (без ВЗУ), В | Напряжение незажигания | t <= ts | Действующее значение, не более | 500 | ||||||
Напряжение зажигания | t > ts (+10 C°) | Действующее значение, не менее | 740 | |||||||
t > ts (-15 C°) | 820 | |||||||||
Диапазон заменяющего резистора каждого электрода для проверки требований к напряжению холостого хода, Ом | 6 - 18 | |||||||||
Информация для расчета светильника | ||||||||||
Наибольший контур лампы: см. лист 60901-IEC-B420 с размером H, мм | 203 | |||||||||
-------------------------------- | ||||||||||
60901-IEC-7862-1 | ||||||||||
(A4:2007) | ||||||||||
Номер листа 60901-IEC- | Форма | Цоколь | Мощность, Вт | |
Двухканальная | G23, GX23 | Все | ||
Двухканальная | 2G7 | Все | ||
Двухканальная | GY10q | 27, 28, 36 | ||
Двухканальная | GY10q | 30 | ||
Двухканальная | 2G11 | Все | ||
Четырехканальная | G24d, G24q | Все | ||
Четырехканальная | GX10q | Все | ||
Четырехканальная | GX32d | Все | ||
Квадратная | GR10q | 10 | ||
Квадратная | GR8, GR10q | 16, 21 | ||
Квадратная | GR8, GR10q | 28, 38 | ||
Прямоугольная | 2G10 | Все | ||
Многоканальная | GX24d, GX24q | Все | ||
Многоканальная | 2G8 | Все | ||
(A4:2007) | ||||
ОДНОЦОКОЛЬНАЯ Лист с наибольшим контуром лампы | |||
Цоколь: G23, GX23 | Двухканальная | ||
Размеры в миллиметрах Номинальная мощность - все ![]() Размер H приведен на соответствующем листе с параметрами лампы. | |||
60901-IEC-A010-1 | |||
ОДНОЦОКОЛЬНАЯ Лист с наибольшим контуром лампы | |||
Цоколь: 2G7 | Двухканальная | ||
Размеры в миллиметрах Номинальная мощность - все ![]() Размер H приведен на соответствующем листе с параметрами лампы. | |||
60901-IEC-A020-1 | |||
ОДНОЦОКОЛЬНАЯ Лист с наибольшим контуром лампы | |||
Цоколь: GY10q | Двухканальная | ||
Размеры в миллиметрах Номинальная мощность - 27, 28, 36 Вт ![]() Размер H приведен на соответствующем листе с параметрами лампы. | |||
60901-IEC-A110-1 | |||
ОДНОЦОКОЛЬНАЯ Лист с наибольшим контуром лампы | |||
Цоколь: GY10q | Двухканальная | ||
Размеры в миллиметрах Номинальная мощность - 30 Вт ![]() Размер H приведен на соответствующем листе с параметрами лампы. | |||
60901-IEC-A120-1 | |||
ОДНОЦОКОЛЬНАЯ Лист с наибольшим контуром лампы | |||
Цоколь: 2G11 | Двухканальная | ||
Размеры в миллиметрах Номинальная мощность - все ![]() Размер H приведен на соответствующем листе с параметрами лампы. | |||
60901-IEC-A210-1 | |||
ОДНОЦОКОЛЬНАЯ Лист с наибольшим контуром лампы | |||
Цоколь: G24d, G24q | Четырехканальная | ||
Размеры в миллиметрах Номинальная мощность - все ![]() Размер H приведен на соответствующем листе с параметрами лампы. | |||
60901-IEC-A510-1 | |||
ОДНОЦОКОЛЬНАЯ Лист с наибольшим контуром лампы | |||
Цоколь: GX10q | Четырехканальная | ||
Размеры в миллиметрах Номинальная мощность - все ![]() Размер H приведен на соответствующем листе с параметрами лампы. | |||
60901-IEC-A610-1 | |||
ОДНОЦОКОЛЬНАЯ Лист с наибольшим контуром лампы | |||
Цоколь: GX32d | Четырехканальная | ||
Размеры в миллиметрах Номинальная мощность - все ![]() Размер H приведен на соответствующем листе с параметрами лампы. | |||
60901-IEC-A710-1 | |||
ОДНОЦОКОЛЬНАЯ Лист с наибольшим контуром лампы | |||
Цоколь: GR10q | Квадратная | ||
Размеры в миллиметрах Номинальная мощность - 10 Вт ![]() | |||
60901-IEC-B010-1 | |||
ОДНОЦОКОЛЬНАЯ Лист с наибольшим контуром лампы | ||||
Цоколь: GR8, GR10q | Квадратная | |||
Размеры в миллиметрах Номинальная мощность - 16, 21 Вт ![]() (1) Лампа не должна перекрывать заштрихованные не допускаемые зоны. (2) Базовая плоскость I симметрична плоскости лампы и цоколя. (3) Базовая плоскость II такая же как основная плоскость размеров R, J и C в листах 7004-77-2 и 7004-68-3 IEC 60061-1. (4) Базовая плоскость III такая же как базовая плоскость в листах 7004-77-2 и 7004-68-3 IEC 60061-1. | ||||
60901-IEC-B020-2 | ||||
(A5:2011) | ||||
ОДНОЦОКОЛЬНАЯ Лист с наибольшим контуром лампы | ||||
Цоколь: GR8, GR10q | Квадратная | |||
Размеры в миллиметрах Номинальная мощность - 28, 38 Вт ![]() (1) Лампа не должна перекрывать заштрихованные не допускаемые зоны. (2) Базовая плоскость I симметрична плоскости лампы и цоколя. (3) Базовая плоскость II такая же как основная плоскость размеров R, J и C в листах 7004-77-2 и 7004-68-3 IEC 60061-1. (4) Базовая плоскость III такая же как базовая плоскость в листах 7004-77-2 и 7004-68-3 IEC 60061-1. | ||||
60901-IEC-B030-2 | ||||
(A5:2011) | ||||
ОДНОЦОКОЛЬНАЯ Лист с наибольшим контуром лампы | |||
Цоколь: 2G10 | Прямоугольная | ||
Размеры в миллиметрах Номинальная мощность - все ![]() Размер H приведен на соответствующем листе с параметрами лампы. | |||
60901-IEC-B110-1 | |||
ОДНОЦОКОЛЬНАЯ Лист с наибольшим контуром лампы | |||
Цоколь: GX24d, GX24q | Многоканальная | ||
Размеры в миллиметрах Номинальная мощность - все ![]() Размер H приведен на соответствующем листе с параметрами лампы. | |||
60901-IEC-B410-1 | |||
ОДНОЦОКОЛЬНАЯ Лист с наибольшим контуром лампы | ||||
Цоколь: 2G8 | Многоканальная | |||
Размеры в миллиметрах Номинальная мощность - все ![]() Размер H приведен на соответствующем листе с параметрами лампы. | ||||
60901-IEC-B420-1 | ||||
(A4:2007) | ||||





Примечание - При перевозке и нормальном обращении с лампами внутри разрядной трубки могут появиться небольшие капельки избыточной ртути. Стабилизация достигается тогда, когда вся ртуть сконцентрируется в наиболее холодном месте трубки. Опыт показывает, что первоначально этот процесс выдержки лампы может продолжаться до 24 ч. Лампа готова для измерения по истечении времени выдержки. Для выдержки и предварительного прогревания лампа может работать на удаленном расстоянии от места испытания. До перемещения амальгамной лампы в место испытания она должна охлаждаться в течение 1 мин в положении горения для отверждения амальгамы. При перемещении в место испытания лампа должна выдерживаться в том же положении, не подвергаться вибрации или удару и не касаться теплых стеклянных частей (создавая паразитическую холодную точку), в месте испытания требуется период стабилизации от 15 до 120 мин (см. таблицу B.1). Во избежание охлаждения теплых стеклянных частей при перемещении лампы в место испытания необходимо использовать изолированные перчатки или аналогичные меры предосторожности. Прерывание работы источника питания должно быть как можно меньше. При отклонении от значений, приведенных в таблице B.1, должна соблюдаться спецификация изготовителя. Таблица B.1 | |||
Выдержка (может быть частью отжига), ч | 20 | ||
Время отключения (перемещение в место испытания), мин | <= 5 | > 5 | |
Время стабилизации неамальгамных ламп, мин | 15 | 60 | |
Время стабилизации амальгамных ламп, мин | 60 | 120 | |
(A5:2011) | |||
![]() Примечание - Пунктирные линии обозначают факультативные пункты. Рисунок B.1 - Типичная маршрутная карта испытания световых параметров Измерение светового потока и рабочего напряжения лампы должно проводиться не менее одного раза в минуту. В течение последних 5 мин стабилизации разница максимальных и минимальных показаний светового потока и рабочего напряжения лампы должна быть менее 1% среднего показания. Если это невозможно, то заявляют реальное колебание. (A5:2011) |



B.2.3 Лампы для работы на ВЧ Ток, идущий через электрод, регулируют до значения, приведенного в соответствующем листе, и измеряют питающее напряжение. Из этих значений, после вычета разницы потенциала на амперметре, определяют сопротивление электрода. Для определения сопротивления выводов берут для измерения 5 типов ламп. Осторожно разбивают концы трубок. Из короткой части вынимают спираль, удерживая ее зажимами. Пропускают через выводы ток 100 мА. Измеряют напряжение в точке, обычно используемой для измерения, и подсчитывают сопротивление вывода. Результирующее значение среднего сопротивления вывода может быть использовано для любых дальнейших измерений ламп с той же конструкцией монтажа. (A6:2014) |
2 Если цикл отличается от требуемого трехчасового цикла, то используют двенадцатичасовой цикл (11 ч включено, 1 ч выключено). (A5:2011) |
D.5 Допустимое DC-смещение при предварительном подогреве Межпиковое значение напряжения холостого хода должно быть <= 2,8 максимального среднеквадратичного значения напряжения холостого хода для t <= ts. Узкие пики напряжения в течение первого полупериода сетевого напряжения после включения на предварительный подогрев не учитывают при испытании устройства управления по настоящему пункту. DC-смещение напряжения холостого хода не должно превышать среднеквадратичного напряжения холостого хода для t <= ts, как указано в соответствующем листе. Если среднеквадратичное напряжение холостого хода для t <= ts указано менее 200 В, то DC-смещение напряжения холостого хода должно быть менее или равно 200 В. D.6 Максимальная асимметричная мощность УУ должно иметь достаточную защиту для предотвращения перегрева лампы в конце продолжительности горения. Применяют значения максимальной мощности электрода по таблице D.1. Таблица D.1 | |||||
Номер листа 60901-IEC- | Номинальная мощность, Вт | Форма | Цоколь | Максимальная асимметричная мощность, Вт | |
5 | Двухканальная | G23 | 5 | ||
7 | G23 | 5 | |||
9 | G23 | 5 | |||
11 | G23 | 5 | |||
13 | GX23 | 5 | |||
10 | Четырехканальная | G24d-1 | 5 | ||
13 | G24d-1 | 5 | |||
18 | G24d-2 | 5 | |||
26 | G24d-3 | 5 | |||
15 | GX32d-1 | 5 | |||
20 | GX32d-2 | 5 | |||
27 | GX32d-3 | 5 | |||
(A5:2011), (A6:2014) | |||||
Номер листа 60901-IEC- | Номинальная мощность, Вт | Форма | Цоколь | Максимальная асимметричная мощность, Вт | |
13 | Многоканальная | GX24d-1 | 5 | ||
18 | GX24d-2 | 5 | |||
26 | GX24d-3 | 5 | |||
5 | Двухканальная | 2G7 | 5 | ||
7 | 2G7 | 5 | |||
9 | 2G7 | 5 | |||
11 | 2G7 | 5 | |||
27 | GY10q-4 | 10 | |||
28 | GY10q-5 | 10 | |||
30 | GY10q-4 | 10 | |||
36 | GY10q-6 | 10 | |||
18 | 2G11 | 7,5 | |||
24 | 2G11 | 7,5 | |||
36 | 2G11 | 7,5 | |||
10 | Четырехканальная | G24q-1 | 5 | ||
13 | G24q-1 | 5 | |||
18 | G24q-2 | 5 | |||
26 | G24q-3 | 5 | |||
13 | GX10q-2 | 7,5 | |||
18 | GX10q-3 | 7,5 | |||
27 | GX10q-4 | 7,5 | |||
10 | Квадратная | GR10q | 5 | ||
16 | GR10q | 5 | |||
21 | GR10q | 5 | |||
28 | GR10q | 7,5 | |||
38 | GR10q | 7,5 | |||
18 | GR10q | 7,5 | |||
24 | Прямоугольная | 2G10 | 7,5 | ||
36 | 2G10 | 7,5 | |||
22 | Кольцевая | G10q | 10 | ||
32 | G10q | 10 | |||
40 | G10q | 10 | |||
(A6:2014) | |||||
Номер листа 60901-IEC- | Номинальная мощность, Вт | Форма | Цоколь | Максимальная асимметричная мощность, Вт | |
13 | Многоканальная | GX24q-1 | 5 | ||
18 | GX24q-2 | 5 | |||
26 | GX24q-3 | 5 | |||
24/27 | Двухканальная | 2G11 | 7,5 | ||
36/39 | 2G11 | 7,5 | |||
10 | Квадратная | GR10q | 5 | ||
16 | GR10q | 5 | |||
21 | GR10q | 5 | |||
28 | GR10q | 7,5 | |||
38 | GR10q | 7,5 | |||
22 | Кольцевая | G10q | 10 | ||
32 | G10q | 10 | |||
40 | G10q | 10 | |||
14 | Многоканальная | GR14q-1 | 5 | ||
17 | GR14q-1 | 5 | |||
40 | Двухканальная | 2G11 | 7,5 | ||
55 | 2G11 | 7,5 | |||
80 | 2G11 | 7,5 | |||
42 | Кольцевая | 2GX13 | 7,5 | ||
40 | 2GX13 | 7,5 | |||
55 | 2GX13 | 7,5 | |||
60 | 2GX13 | 7,5 | |||
20 | GZ10q | 7,5 | |||
27 | GZ10q | 7,5 | |||
34 | GZ10q | 7,5 | |||
41 | GZ10q | 7,5 | |||
41 | GU10q | 10 | |||
68 | GU10q | 10 | |||
97 | GU10q | 10 | |||
32 | Многоканальная | GX24q-3 | 5 | ||
42 | GX24q-4 | 5 | |||
57 | Многоканальная-6 | GX24q-5 | 5 | ||
57 | Многоканальная-8 | GX24q-5 | 5 | ||
70 | Многоканальная-6 | GX24q-6 | 5 | ||
(A6:2014) | |||||
Номер листа 60901-IEC- | Номинальная мощность, Вт | Форма | Цоколь | Максимальная асимметричная мощность, Вт | |
70 | Многоканальная-8 | GX24q-6 | 5 | ||
60 | Многоканальная-6 | 2G8-1 | 7,5 | ||
85 | 2G8-1 | 7,5 | |||
120 | 2G8-1 | 7,5 | |||
120 | Многоканальная-8 | 2G8-1 | 7,5 | ||
62 | 2G8-2 | 7,5 | |||
82 | 2G8-2 | 7,5 | |||
(A6:2014) | |||||
Обозначение международного стандарта | Степень соответствия | Обозначение и наименование соответствующего межгосударственного стандарта |
IEC 60061-1:1969 | IDT | ГОСТ IEC 60061-1-2014 "Цоколи и патроны для источников света с калибрами для проверки взаимозаменяемости и безопасности. Часть 1. Цоколи" |
IEC 60081:1984 | NEQ | ГОСТ 6825-91 (МЭК 81-84) "Лампы люминесцентные трубчатые для общего освещения" <1> |
IEC 60155:1993 | IDT | ГОСТ IEC 60155-2012 "Стартеры тлеющего разряда для люминесцентных ламп" |
IEC 60598-1:1996 | IDT | ГОСТ 60598-1-2002 "Светильники. Часть 1. Требования и испытания" <2> |
IEC 60921:2004 | - | |
IEC 60927:1996 | - | |
IEC 60929:1990 | - | |
IEC 61199:1999 | IDT | ГОСТ IEC 61199-2011 "Лампы люминесцентные одноцокольные. Требования безопасности" |
IEC 60410:1973 | - | |
IEC/TS 61231:1999 | - | |
<*> Соответствующий межгосударственный стандарт отсутствует. До его утверждения рекомендуется использовать перевод на русский язык данного международного стандарта. Примечание - В настоящей таблице использованы следующие условные обозначения степени соответствия стандартов: - IDT - идентичные стандарты; - NEQ - неэквивалентный стандарт. | ||