Главная // Актуальные документы // ГОСТ (Государственный стандарт)
СПРАВКА
Источник публикации
М.: Стандартинформ, 2017
Примечание к документу
Документ введен в действие с 1 января 2018 года.

Взамен ГОСТ 18062-72 и ГОСТ 18063-72.
Название документа
"ГОСТ 34010-2016. Межгосударственный стандарт. Резцы расточные цельные твердосплавные со стальным хвостовиком. Типы и размеры"
(введен в действие Приказом Росстандарта от 14.03.2017 N 134-ст)


"ГОСТ 34010-2016. Межгосударственный стандарт. Резцы расточные цельные твердосплавные со стальным хвостовиком. Типы и размеры"
(введен в действие Приказом Росстандарта от 14.03.2017 N 134-ст)


Содержание


Введен в действие
Приказом Федерального
агентства по техническому
регулированию и метрологии
от 14 марта 2017 г. N 134-ст
МЕЖГОСУДАРСТВЕННЫЙ СТАНДАРТ
РЕЗЦЫ РАСТОЧНЫЕ ЦЕЛЬНЫЕ ТВЕРДОСПЛАВНЫЕ
СО СТАЛЬНЫМ ХВОСТОВИКОМ
ТИПЫ И РАЗМЕРЫ
Solid carbide boring tools with steel shank.
Types and dimensions
ГОСТ 34010-2016
Группа Г23
МКС 25.100.10
ОКП 39 2150
Дата введения
1 января 2018 года
Предисловие
Цели, основные принципы и основной порядок проведения работ по межгосударственной стандартизации установлены в ГОСТ 1.0-2015 "Межгосударственная система стандартизации. Основные положения" и ГОСТ 1.2-2015 "Межгосударственная система стандартизации. Стандарты межгосударственные, правила и рекомендации по межгосударственной стандартизации. Правила разработки, принятия, обновления и отмены"
Сведения о стандарте
1 РАЗРАБОТАН Открытым акционерным обществом "ВНИИИНСТРУМЕНТ" (ОАО "ВНИИИНСТРУМЕНТ")
2 ВНЕСЕН Межгосударственным техническим комитетом по стандартизации МТК 95 "Инструмент"
3 ПРИНЯТ Межгосударственным советом по стандартизации, метрологии и сертификации (протокол от 22 ноября 2016 г. N 93-П)
За принятие проголосовали:
Краткое наименование страны по МК (ИСО 3166) 004-97
Код страны по МК (ИСО 3166) 004-97
Сокращенное наименование национального органа по стандартизации
Беларусь
BY
Госстандарт Республики Беларусь
Грузия
GE
Грузстандарт
Киргизия
KZ
Кыргызстандарт
Россия
RU
Росстандарт
Таджикистан
TJ
Таджикстандарт
Узбекистан
UZ
Узстандарт
4 Приказом Федерального агентства по техническому регулированию и метрологии от 14 марта 2017 г. N 134-ст межгосударственный стандарт ГОСТ 34010-2016 введен в действие в качестве национального стандарта Российской Федерации с 1 января 2018 г.
5 ВЗАМЕН ГОСТ 18062-72 и ГОСТ 18063-72
Информация об изменениях к настоящему стандарту публикуется в ежегодном (по состоянию на 1 января текущего года) информационном указателе "Национальные стандарты", а текст изменений и поправок - в ежемесячном информационном указателе "Национальные стандарты". В случае пересмотра (замены) или отмены настоящего стандарта соответствующее уведомление будет опубликовано в ежемесячном информационном указателе "Национальные стандарты". Соответствующая информация, уведомление и тексты размещаются также в информационной системе общего пользования - на официальном сайте Федерального агентства по техническому регулированию и метрологии в сети Интернет (www.gost.ru)
1. Область применения
Настоящий стандарт распространяется на цельные твердосплавные резцы, предназначенные для растачивания сквозных и глухих отверстий в труднообрабатываемых материалах.
2. Нормативные ссылки
В настоящем стандарте использована нормативная ссылка на следующий межгосударственный стандарт:
ГОСТ 18064-2016 Резцы расточные цельные твердосплавные со стальным хвостовиком. Технические условия
Примечание - При пользовании настоящим стандартом целесообразно проверить действие ссылочного стандарта в информационной системе общего пользования - на официальном сайте Федерального агентства по техническому регулированию и метрологии в сети Интернет или по ежегодному информационному указателю "Национальные стандарты", который опубликован по состоянию на 1 января текущего года, и по выпускам ежемесячного информационного указателя "Национальные стандарты" за текущий год. Если ссылочный стандарт заменен (изменен), то при пользовании настоящим стандартом следует руководствоваться заменяющим (измененным) стандартом. Если ссылочный стандарт отменен без замены, то положение, в котором дана ссылка на него, применяется в части, не затрагивающей эту ссылку.
3. Типы
3.1 Резы следует изготовлять двух типов:
1 - для сквозных отверстий;
2 - для глухих отверстий.
3.2 Резцы типов 1 и 2 следует изготовлять трех исполнений:
1 - для координатно-расточных станков;
2 - для токарных автоматов;
3 - для токарных станков.
4. Основные размеры резцов типов 1 и 2
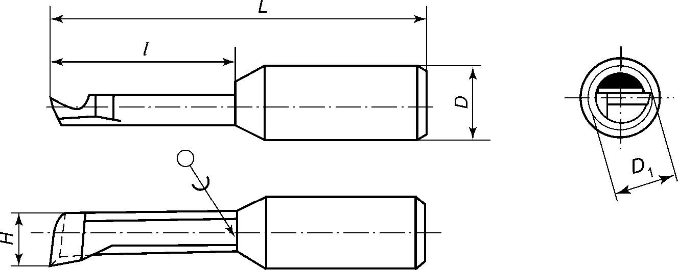
4.1 Основные размеры резцов исполнения 1 должны соответствовать указанным на рисунках 1, 2 и в таблице 1.
Форма 1
Форма 2
Рисунок 1 - Резцы типа 1
Форма 1
Форма 2
Рисунок 2 - Резцы типа 2
Таблица 1
В миллиметрах
H
D
L
I
Диаметр наименьшего растачиваемого отверстия D1
2,8
6
40
10
3
50
20
3,8
40
10
4
50
20
4,7
10
45
15
5
60
30
5,5
45
15
6
65
35
6,5
12
45
15
7
65
35
7,5
50
20
8
70
40
Пример условного обозначения резца типа 1, исполнения 1, формы 1 с размерами H = 2,8 мм, L = 40 мм из твердого сплава ВК6М:
Резец 1-1-1-2,8-40 ВК6М ГОСТ 34010-2016
То же, формы 2:
Резец 1-1-2-2,8-40 ВК6М ГОСТ 34010-2016
Пример условного обозначения резца типа 2, исполнения 1, формы 1 с размерами H = 2,8 мм, L = 40 мм из твердого сплава ВК6М:
Резец 2-1-1-2,8-40 ВК6М ГОСТ 34010-2016
То же, формы 2:
Резец 2-1-2-2,8-40 ВК6М ГОСТ 34010-2016
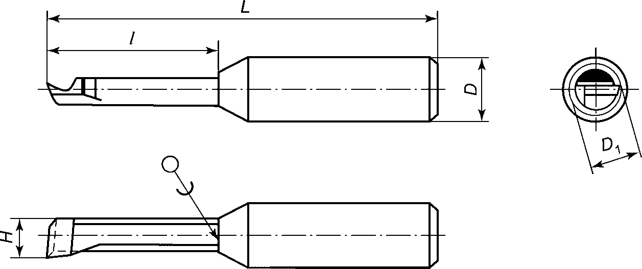
4.2 Основные размеры резцов исполнения 2 должны соответствовать указанным на рисунках 3, 4 и в таблице 2.
Форма 1
Форма 2
Рисунок 3 - Резцы типа 1
Форма 1
Форма 2
Рисунок 4 - Резцы типа 2
Таблица 2
В миллиметрах
H
D
L
I
Диаметр наименьшего растачиваемого отверстия D1
2,8
10
70
20
3
3,8
4
5,5
90
30
6
7,5
15
100
40
8
Пример условного обозначения резца типа 1, исполнения 2, формы 1 с размером H = 2,8 мм из твердого сплава ВК6М:
Резец 1-2-1-2,8 ВК6М ГОСТ 34010-2016
То же, формы 2:
Резец 1-2-2-2,8 ВК6М ГОСТ 34010-2016
Пример условного обозначения резца типа 2, исполнения 2, формы 1 с размером H = 2,8 мм из твердого сплава ВК6М:
Резец 2-2-1-2,8 ВК6М ГОСТ 34010-2016
То же, формы 2:
Резец 2-2-2-2,8 ВК6М ГОСТ 34010-2016
4.3 Основные размеры резцов исполнения 3, должны соответствовать указанным на рисунках 5, 6 и в таблице 3.
Форма 1
Форма 2
Рисунок 5 - Резцы типа 1
Форма 1
Форма 2
Рисунок 6 - Резцы типа 2
Таблица 3
В миллиметрах
H
L
I
Диаметр наименьшего растачиваемого отверстия D1
2,8
120
20
3
3,8
4
5,5
130
30
6
7,5
140
40
8
Пример условного обозначения резца типа 1, исполнения 3, формы 1 с размером H = 2,8 мм из твердого сплава ВК6М:
Резец 1-3-1-2,8 ВК6М ГОСТ 34010-2016
То же, формы 2:
Резец 1-3-2-2,8 ВК6М ГОСТ 34010-2016
Пример условного обозначения резца типа 2, исполнения 3, формы 1 с размером H = 2,8 мм из твердого сплава ВК6М:
Резец 2-3-1-2,8 ВК6М ГОСТ 34010-2016
То же, формы 2:
Резец 2-3-2-2,8 ВК6М ГОСТ 34010-2016
5. Технические требования
Технические требования - по ГОСТ 18064.