Главная // Актуальные документы // ГОСТ (Государственный стандарт)СПРАВКА
Источник публикации
М.: Стандартинформ, 2020
Примечание к документу
Текст данного документа приведен с учетом
поправки, опубликованной в "ИУС", N 1, 2021.
Документ
введен в действие с 01.01.2018.
Название документа
"ГОСТ 13496.0-2016. Межгосударственный стандарт. Комбикорма, комбикормовое сырье. Методы отбора проб"
(введен в действие Приказом Росстандарта от 20.10.2016 N 1463-ст)
"ГОСТ 13496.0-2016. Межгосударственный стандарт. Комбикорма, комбикормовое сырье. Методы отбора проб"
(введен в действие Приказом Росстандарта от 20.10.2016 N 1463-ст)
агентства по техническому
регулированию и метрологии
от 20 октября 2016 г. N 1463-ст
МЕЖГОСУДАРСТВЕННЫЙ СТАНДАРТ
КОМБИКОРМА, КОМБИКОРМОВОЕ СЫРЬЕ
МЕТОДЫ ОТБОРА ПРОБ
Compound feeds, feed raw materials. Methods of sampling
ГОСТ 13496.0-2016
Дата введения
1 января 2018 года
Цели, основные принципы и общие правила проведения работ по межгосударственной стандартизации установлены
ГОСТ 1.0 "Межгосударственная система стандартизации. Основные положения" и
ГОСТ 1.2 "Межгосударственная система стандартизации. Стандарты межгосударственные, правила и рекомендации по межгосударственной стандартизации. Правила разработки, принятия, обновления и отмены"
1 РАЗРАБОТАН Открытым акционерным обществом "Всероссийский научно-исследовательский институт комбикормовой промышленности" (ОАО "ВНИИКП")
2 ВНЕСЕН Межгосударственным техническим комитетом по стандартизации МТК 4 "Комбикорма, белково-витаминные добавки, премиксы"
3 ПРИНЯТ Межгосударственным советом по стандартизации, метрологии и сертификации (протокол от 28 июня 2016 г. N 49)
За принятие проголосовали:
Краткое наименование страны по МК (ИСО 3166) 004-97 | Код страны по МК (ИСО 3166) 004-97 | Сокращенное наименование национального органа по стандартизации |
Армения | AM | Минэкономики Республики Армения |
Беларусь | BY | Госстандарт Республики Беларусь |
Казахстан | KZ | Госстандарт Республики Казахстан |
Киргизия | KG | Кыргызстандарт |
Россия | RU | Росстандарт |
Таджикистан | TJ | Таджикстандарт |
4
Приказом Федерального агентства по техническому регулированию и метрологии от 20 октября 2016 г. N 1463-ст межгосударственный стандарт ГОСТ 13496.0-2016 введен в действие в качестве национального стандарта Российской Федерации с 1 января 2018 г.
5 ВВЕДЕН ВПЕРВЫЕ
6 ПЕРЕИЗДАНИЕ. Август 2020 г.
Информация о введении в действие (прекращении действия) настоящего стандарта и изменений к нему на территории указанных выше государств публикуется в указателях национальных стандартов, издаваемых в этих государствах, а также в сети Интернет на сайтах соответствующих национальных органов по стандартизации.
В случае пересмотра, изменения или отмены настоящего стандарта соответствующая информация будет опубликована на официальном интернет-сайте Межгосударственного совета по стандартизации, метрологии и сертификации в каталоге "Межгосударственные стандарты"
Настоящий стандарт распространяется на комбикормовое сырье и комбикормовую продукцию: комбикорма, кормовые смеси, белково(амидо)-витаминно-минеральные концентраты, премиксы и устанавливает методы отбора проб.
Настоящий стандарт не распространяется на комбикорма для непродуктивных животных.
В настоящем стандарте использованы нормативные ссылки на следующие межгосударственные стандарты:
ГОСТ 21669 <*> Комбикорма. Термины и определения
--------------------------------
<*> В Российской Федерации действует
ГОСТ Р 51848-2001 "Продукция комбикормовая. Термины и определения".
ГОСТ 23153 Кормопроизводство. Термины и определения
Примечание - При пользовании настоящим стандартом целесообразно проверить действие ссылочных стандартов и классификаторов на официальном интернет-сайте Межгосударственного совета по стандартизации, метрологии и сертификации (www.easc.by) или по указателям национальных стандартов, издаваемым в государствах, указанных в предисловии, или на официальных сайтах соответствующих национальных органов по стандартизации. Если на документ дана недатированная ссылка, то следует использовать документ, действующий на текущий момент, с учетом всех внесенных в него изменений. Если заменен ссылочный документ, на который дана датированная ссылка, то следует использовать указанную версию этого документа. Если после принятия настоящего стандарта в ссылочный документ, на который дана датированная ссылка, внесено изменение, затрагивающее положение, на которое дана ссылка, то это положение применяется без учета данного изменения. Если ссылочный документ отменен без замены, то положение, в котором дана ссылка на него, применяется в части, не затрагивающей эту ссылку.
В настоящем стандарте применены термины по ГОСТ 21669,
ГОСТ 23153,
ГОСТ ISO 6498, а также следующие термины с соответствующими определениями:
3.1 точечная проба: Количество продукта, отобранное единовременно из одной точки партии.
3.2 выборка: Количество фасованных единиц продукции, выделенное из контролируемой партии, для отбора точечных проб.
3.3 объединенная проба: Количество продукта, полученное путем объединения и перемешивания всех точечных проб.
4.1 Отбор проб должны проводить опытные, специально подготовленные работники, которые ознакомлены с рисками и опасностями, связанными с данной продукцией и процессом отбора проб. Они должны провести идентификацию партии, т.е. проверить соответствие массы партии, числа упаковочных единиц, маркировки на упаковке или этикетке (ярлыке, листе-вкладыше) той информации, которая указана в сопроводительных документах.
От соблюдения методов выделения выборки, отбора точечных проб и подготовки пробы для анализа во многом зависят конечные результаты испытаний продукции проверяемой партии.
4.2 Пробы должны быть представительными по отношению к проверяемой партии. При отборе и хранении проб должны быть приняты меры, препятствующие изменению их состава и качества.
Если партия неоднородная, ее делят на части, обладающие более близкими свойствами, и отбор проб осуществляют от каждой части как от отдельной партии.
Если часть партии повреждена во время транспортирования, то отделяют поврежденную часть и отбор проб от нее осуществляют отдельно.
4.3 Отбор проб следует проводить таким образом, чтобы предотвратить попадание в отобранные пробы пыли, влаги и другого случайного загрязнения.
4.4 Отбор проб от партии проводят путем многократного отбора точечных проб из различных мест партии. Точечные пробы объединяют и перемешивают, получая объединенную пробу, из которой путем деления получают лабораторные пробы, предназначенные для проведения испытаний.
Объем пробы должен быть достаточным для проведения испытаний по всем показателям качества, установленным нормативным или техническим документом, и показателям безопасности конкретного продукта, установленным нормативными правовыми актами, действующими на территории государства, принявшего настоящий стандарт.
4.5 Оборудование и вспомогательные материалы для отбора и подготовки проб должны быть чистыми, сухими, без посторонних запахов, простыми, надежными и легко очищаемыми. Материалы, из которых они изготовлены, не должны оказывать влияния на качество. Рекомендуется использовать нержавеющую сталь, при низкой кислотности проб допускается использовать алюминий. Запрещено использовать медь, сплавы из меди и другие токсичные материалы. В случае применения стеклянных материалов следует соблюдать особые меры предосторожности во избежание попадания стекла в продукт.
4.6 Емкости для хранения проб должны быть чистыми, сухими, без посторонних запахов, плотно закрывающимися и изготовленными из химически нейтрального материала. Если пробы предназначены для определения фоточувствительных веществ, например витаминов, то емкости должны быть из темного или светонепроницаемого материала. Запрещено для хранения проб использовать емкости из алюминия, меди, сплавов из меди и других токсичных материалов.
Емкости должны иметь размер, незначительно превышающий размер помещаемой пробы.
5 Классификация комбикормового сырья и комбикормовой продукции для отбора проб
По физическому состоянию и размерам частиц отбираемого продукта корма, комбикормовое сырье и комбикормовую продукцию классифицируют следующим образом:
- твердые продукты в виде муки, порошка, мелкоизмельченной продукции, зерен, бобов, семян, гранул, крупки, хлопьев, таблеток и др.;
- твердые продукты в виде кусков и блоков;
- твердые продукты в виде сена, соломы, корнеклубнеплодов, початков, силоса и др. (грубые корма);
- жидкие и полужидкие продукты.
6 Оборудование для отбора проб
6.1 Выбор оборудования для отбора проб
Оборудование для отбора проб выбирают в зависимости от места отбора проб, физического состояния и размеров частиц отбираемой продукции, объема отбираемой пробы, размера емкости и т.д.
6.2 Оборудование для отбора точечных проб твердой продукции
6.2.1 Для отбора проб из насыпи применяют ручные совки, ковши, цилиндрические пробоотборники, вагонные щупы и щупы с навинчивающимися штангами.
6.2.2 Для отбора проб из потока перемещаемого продукта применяют совки, ковши, цилиндрические пробоотборники или автоматические пробоотборники для периодического отбора проб.
6.2.3 Для отбора проб из мешков или контейнеров применяют ручные совки, ковши, цилиндрические пробоотборники, мешочные щупы, а также щупы с укороченными ручками и широким конусом.
Образцы некоторых пробоотборников приведены на
рисунках А.1 -
А.6 (приложение А).
6.3 Оборудование для отбора точечных проб жидкой и полужидкой продукции
6.3.1 Для отбора проб жидкой и полужидкой продукции из резервуаров всех размеров и на разной глубине следует использовать простой утяжеленный металлический сосуд или пластиковые емкости, закрепленные в утяжеленном металлическом каркасе, пробоотборный цилиндр с клапаном, донный пробоотборник, пробоотборные трубки, ковши и кружки. Образцы некоторых пробоотборников приведены на
рисунках А.7 -
А.11 (приложение А).
6.3.2 Отбор проб из железнодорожных или автомобильных цистерн осуществляют отведением трубопровода через равные промежутки времени в процессе перекачки, через выпускные отверстия или капельные краны, сделанные в горизонтальной части трубопровода, если жидкий отбираемый продукт не может их засорить, используя при этом пробоотборные трубки, ковши и кружки.
7.1 Отбор проб твердых продуктов в виде муки, порошка, мелкоизмельченной продукции, зерен, бобов, семян, гранул, крупки, хлопьев, таблеток и др.
7.1.1 Методика отбора точечных проб
7.1.1.1 Отбор проб продукции, хранящейся насыпью в складах напольного типа или транспортируемой насыпью
Перед отбором проб поверхность насыпи условно делят на шесть примерно равных секций. В каждой секции точечные пробы отбирают из пяти различных мест по схеме конверта. При высоте насыпи до 0,75 м точечные пробы отбирают из двух слоев: верхнего слоя на глубине 10 - 15 см от поверхности насыпи и нижнего слоя у самого пола. При высоте насыпи свыше 0,75 м точечные пробы отбирают из трех слоев: верхнего слоя на глубине 10 - 15 см от поверхности насыпи, среднего и нижнего слоя у самого пола. Во всех случаях точечные пробы отбирают сначала из верхнего, затем из нижележащего слоя (среднего и/или нижнего).
Количество отбираемых точечных проб определяют в зависимости от массы партии. Минимальное количество отбираемых точечных проб указано в таблице 1.
Масса партии m, т | Минимальное количество точечных проб |
До 2,5 включ. | 7 |
Св. 2,5 |  , но не более 100 |
7.1.1.2 Отбор проб продукции из производственных цехов, силосов, специального автомобильного, железнодорожного или другого транспорта
Точечные пробы продукции в производственных цехах отбирают с транспортеров, из-под бункеров, весов или технологического оборудования путем пересечения падающей струи через равные промежутки времени. Временные диапазоны отбора точечных проб устанавливают в зависимости от скорости перемещения продукта и объема партии.
Из силосов, специального автомобильного, железнодорожного и другого транспорта, из которого затруднен отбор проб как из насыпи, точечные пробы продукции отбирают при перемещении продукции из одного силоса в другой или разгрузке транспорта путем пересечения падающей струи.
Минимальное количество отбираемых точечных проб указано в
таблице 1.
7.1.1.3 Отбор проб упакованной продукции
Для продукции, транспортируемой или хранящейся в упакованном виде, от партии отбирают в соответствии с
таблицами 2 или
3 несколько упаковочных единиц, составляющих выборку, из которых затем отбирают точечные пробы.
Точечные пробы продукции, упакованной в тканевые мешки, отбирают, не расшивая мешков, из верхней и нижней его частей. Перед введением мешочного щупа в мешок его поверхность должна быть очищена от пыли. Щуп вводят желобком вниз, поворачивают его на 180° и вынимают. Отверстие в ткани мешка затягивают с помощью щупа.
Точечные пробы продукции, упакованной в бумажные, полипропиленовые мешки или мешки с полиэтиленовым вкладышем, в контейнеры, а также гранулированной продукции отбирают из расшитых мешков или контейнеров в трех местах: вверху, в середине и в нижней части мешка или контейнера. Если фасовка продукции мелкая и не совсем удобно использовать вышеуказанный метод, содержимое упаковки высыпают на чистую сухую поверхность, перемешивают, разравнивают и из разных случайно выбранных мест совком отбирают точечные пробы.
Для упаковок массой до 1 кг включительно минимальное количество контролируемых упаковок, входящих в выборку, указано в таблице 2.
Количество упаковок в партии n | Минимальное количество упаковок, входящих в выборку |
От 1 до 6 включ. | Каждая упаковка |
Св. 6 " 24 " | 6 |
" 24 |  , но не более 100 |
Для упаковок массой свыше 1 кг минимальное количество контролируемых упаковок, входящих в выборку, указано в таблице 3.
Количество упаковок в партии n | Минимальное количество упаковок, входящих в выборку |
От 1 до 4 включ. | Каждая упаковка |
Св. 4 " 16 " | 4 |
" 16 |  , но не более 100 |
7.1.2 Образование объединенной пробы
С целью образования объединенной пробы все точечные пробы помещают в чистую сухую емкость и тщательно перемешивают совком. Минимальная масса объединенной пробы должна соответствовать массе, указанной в таблице 4.
Таблица 4
Масса партии m, т | Минимальная масса объединенной пробы, кг |
До 1 включ. | 4 |
Св. 1 до 5 " | 8 |
" 5 " 50 " | 16 |
" 50 " 100 " | 32 |
" 100 " 500 " | 64 |
7.1.3 Выделение лабораторных проб
7.1.3.1 Объединенную пробу сокращают вручную или механическим способом до получения одной или нескольких лабораторных проб. Образцы некоторых устройств приведены на
рисунках А.12 -
А.14 (приложение А). Каждая лабораторная проба, предназначенная для исследования или хранения на предприятии для повторных исследований при необходимости, должна быть массой не менее 2 кг, что является минимальным количеством для получения анализируемой и контрольной проб.
7.1.3.2 Для сокращения объединенной пробы вручную ее высыпают на чистую гладкую поверхность и разравнивают в виде квадрата двумя планками со скошенными ребрами. Затем одновременно с двух противоположных сторон продукт подгребают к середине таким образом, чтобы получился валик. После этого продукт захватывают с концов валика и также подгребают к середине. Такое перемешивание продукта повторяют три раза, затем объединенную пробу вновь разравнивают тонким слоем и специальным металлическим устройством или планкой делят по диагонали на четыре приблизительно равных треугольника. Продукт, находящийся в двух противоположных треугольниках, отодвигают в сторону, а в двух оставшихся - соединяют, перемешивают и продолжают таким же образом делить, пока масса оставшейся части не составит 2 кг.
7.1.3.3 Для сокращения объединенной пробы с помощью механических устройств используют желобковые, конусные или роторные делители.
7.1.3.4 Выделенные лабораторные пробы помещают в отдельные емкости.
7.2 Отбор проб твердых продуктов в виде кусков и блоков
7.2.1 Методика отбора точечных проб
В качестве точечных проб отбирают вручную отдельные куски или блоки. Минимальное количество случайно отбираемых единиц кускового продукта в зависимости от их количества в партии указано в таблице 5.
Таблица 5
Количество единиц в партии n | Минимальное количество отбираемых единиц |
До 25 включ. | 4 |
Св. 25 " 100 " | 7 |
" 100 |  , но не более 40 |
7.2.2 Образование объединенной пробы
Для образования объединенной пробы отобранные куски и блоки разбивают на части, помещают в чистую сухую емкость и тщательно перемешивают.
Минимальная масса объединенной пробы должна быть не менее 4 кг.
7.2.3 Выделение лабораторных проб
Выделение лабораторных проб - по
7.1.3.
7.3 Отбор проб твердых продуктов в виде сена, соломы, корнеклубнеплодов, початков, силоса и др. (грубых кормов)
7.3.1 Методика отбора точечных проб
Грубые корма обычно хранят и транспортируют навалом. Случайным образом отбирают точечные пробы из всей совокупности продукта из разных мест скирды, штабеля, силосной ямы, автомашины, чтобы были представлены все слои в равной степени. Лучшим методом отбора проб для данной продукции является отбор точечных проб продукции, находящейся в движении, путем пересечения падающей струи (см.
7.1.1.2).
Если проводят отбор проб брикетированной продукции, то случайным образом из разных мест партии отбирают определенное количество брикетов и из каждого брикета отбирают одну точечную пробу в плоскости поперечного сечения.
Минимальное количество отбираемых точечных проб в зависимости от объема контролируемой партии указано в таблице 6.
Таблица 6
Масса партии m, т | Минимальное количество точечных проб |
До 5 включ. | 10 |
Св. 5 |  , но не более 50 |
7.3.2 Образование объединенной пробы
После объединения всех отобранных точечных проб их перемешивают.
Минимальная масса объединенной пробы в зависимости от вида грубого корма указана в таблице 7.
Таблица 7
Вид грубого корма | Минимальная масса объединенной пробы, кг |
Свежие зеленые продукты, силос, сенаж | 16 |
Высушенные продукты | 8 |
7.3.3 Выделение лабораторных проб
Выделение лабораторных проб - по
7.1.3.
Масса каждой лабораторной пробы должна быть не менее 4 кг, что является минимальным количеством для получения анализируемой и контрольной проб.
7.4 Отбор проб жидких и полужидких продуктов
7.4.1 Методика отбора точечных проб
7.4.1.1 Для жидкой и полужидкой продукции, поставляемой наливом или фасованной в бочки, точечные пробы отбирают из верхней, средней и нижней частей резервуаров или бочек после перемешивания продукта с целью достижения его однородности путем встряхивания, взбалтывания или с помощью специального оборудования. Точечные пробы из верхней части резервуара берут на уровне 1/10 общей глубины от поверхности, из средней части - на уровне 1/2 общей глубины, из нижней - у дна резервуара.
Если нет возможности провести перемешивание продукта, точечные пробы отбирают при наполнении резервуара или слива жидкости.
В некоторых случаях для достижения однородности продукта необходимо его подогреть.
Если точечные пробы, отобранные из разных уровней резервуара, показывают неоднородность продукции, то точечные пробы отбирают на разной глубине от поверхности до дна через каждые 300 мм до тех пор, пока не будет достигнут слой отличающегося состава. В этом слое берут большее количество точечных проб (например, через каждые 100 мм). Берут также пробу продукции у дна резервуара.
Точечные пробы каждого слоя собирают и перемешивают в разных емкостях.
7.4.1.2 Минимальное количество отбираемых точечных проб для продукции, поставляемой наливом, в зависимости от массы или объема контролируемой партии, указано в таблице 8.
Таблица 8
Размер партии | Минимальное количество точечных проб |
масса, т | объем, дм3 |
До 2,5 включ. | До 2500 включ. | 4 |
Св. 2,5 | Св. 2500 | 7 |
Если не представляется возможным добиться однородности жидкости, то для получения действительно представительной объединенной пробы допускается увеличение количества точечных проб.
7.4.1.3 При отборе точечных проб от фасованной продукции случайным образом от партии отбирают выборку из нескольких емкостей, из которых отбирают точечные пробы. Минимальное количество отбираемых точечных проб устанавливают в зависимости от количества емкостей в контролируемой партии и их вместимости.
7.4.1.4 Для продукции, фасованной в емкости вместимостью до 1 дм3 включительно, случайным образом из разных мест партии отбирают выборку из требуемого количества емкостей и в качестве точечной пробы используют содержимое одной емкости. Минимальное количество отбираемых емкостей указано в таблице 9.
Таблица 9
Количество емкостей в партии n | Минимальное количество отбираемых емкостей |
До 16 включ. | 4 |
Св. 16 |  , но не более 50 |
7.4.1.5 Для продукции, фасованной в емкости вместимостью более 1 дм3, количество отбираемых емкостей и точечных проб указано в таблице 10.
Таблица 10
Количество емкостей в партии n | Минимальное количество отбираемых емкостей |
От 1 до 4 включ. | Каждая емкость |
Св. 4 " 16 " | 4 |
" 16 |  , но не более 50 |
Точечные пробы отбирают из емкостей по
7.4.1.1.
7.4.2 Образование объединенной пробы
Для образования объединенной пробы однородной продукции, поставляемой или хранящейся наливом, точечные пробы, отобранные из разных слоев, смешивают в соответствующей по объему емкости в следующей пропорции: по одной части точечных проб из верхнего и нижнего слоев и три части из среднего слоя. Объединенную пробу тщательно перемешивают.
Для образования объединенной пробы неоднородной продукции смешивают точечные пробы однородного слоя и слоя, отличающегося по консистенции, в пропорции, соответствующей количеству слоев.
Масса или объем объединенной пробы должны быть не менее 8 кг или 8 дм3.
7.4.3 Выделение лабораторных проб
Для выделения лабораторных проб жидкой продукции объединенную пробу тщательно перемешивают, удаляют излишки продукта и оставляют пробу массой 2 кг или объемом 2 дм3.
Для выделения лабораторных проб полужидкой продукции, плохо поддающейся перемешиванию, объединенную пробу делят методом квартования (см.
7.1.3.2).
Выделенные лабораторные пробы помещают в отдельные емкости.
8 Упаковывание, маркирование и хранение лабораторных проб
8.1 Упаковывание проб
Каждую емкость для проб плотно закрывают и опечатывают. Если емкость трудно опечатать, она может быть помещена в льняной, хлопчатобумажный или пластиковый мешок, который плотно завязывают и опечатывают.
К емкости или таре, содержащей лабораторную или контрольную пробу, прикрепляют этикетку, на которую наносят следующую информацию:
- наименование организации, осуществляющей отбор проб, и фамилию лица, проводившего отбор проб;
- место и дату отбора проб;
- наименование и назначение продукта;
- наименование страны-изготовителя, наименование организации - изготовителя продукции, ее адрес;
- номер и размер партии;
- дату выработки продукции;
- массу пробы.
8.3 Хранение проб
Пробы хранят в условиях, установленных нормативными правовыми актами, действующими на территории государства, принявшего настоящий стандарт, или в нормативной и технической документации на данный продукт, чтобы предотвратить любые изменения пробы.
Срок хранения проб должен соответствовать сроку хранения продукции, указанному в нормативных правовых актах, действующих на территории государства, принявшего настоящий стандарт, или в нормативной и технической документации на данный продукт, но не более шести месяцев с момента отбора проб.
Отбор проб оформляют актом, который составляет и подписывает лицо, проводившее отбор проб. К акту прилагают копии этикеток, прикрепляемых к упаковке или емкости, или копию товарно-транспортной накладной.
Акт отбора проб должен содержать информацию по
8.2, а также цель отбора проб, количество и массу лабораторных проб, направляемых в испытательную лабораторию, информацию, касающуюся отступления от методики отбора проб, и все другие подробности.
(справочное)
ПРИМЕРЫ ПРОБООТБОРНИКОВ И ДЕЛИТЕЛЕЙ
Примеры пробоотборников и делителей приведены на рисунках А.1 -
А.14.
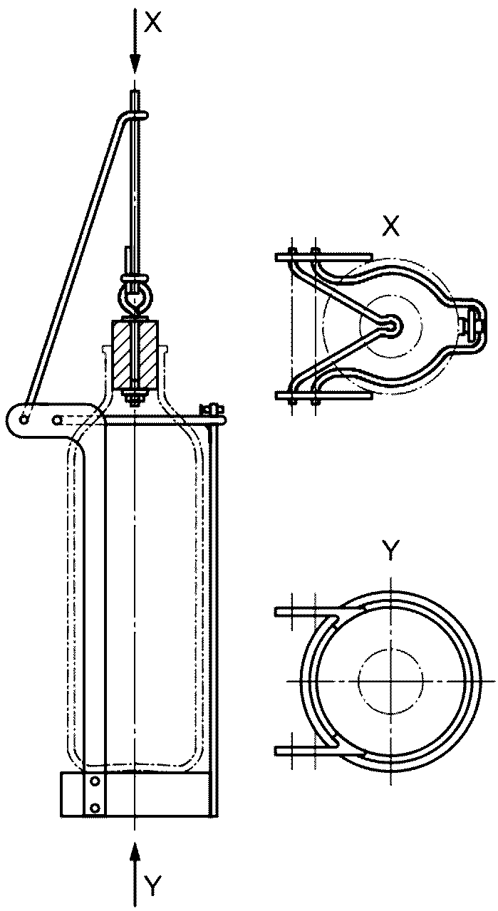
Рисунок А.1 - Щуп открытого типа
Рисунок А.2 - Совок
Рисунок А.3 - Секционный щуп открытого типа
Рисунок А.4 - Цилиндрический пробоотборник
(секционный для отбора проб из насыпи)
Рисунок А.5 - Пробоотборник для отбора проб
из мешков (мешочный щуп)
Рисунок А.6 - Пробоотборник для отбора проб
из перемещаемой струи (типа "Пеликан")
Рисунок А.7 - Простой утяжеленный металлический сосуд
Рисунок А.8 - Утяжеленный каркас для колбы с пробой
Рисунок А.9 - Пробоотборный цилиндр с клапаном
(пробоотборник-грузило)
а) С пружинно-возвратным клапаном
б) С клапаном собственного веса
Рисунок А.10 - Донный пробоотборник
Рисунок А.11 - Пробоотборные трубки
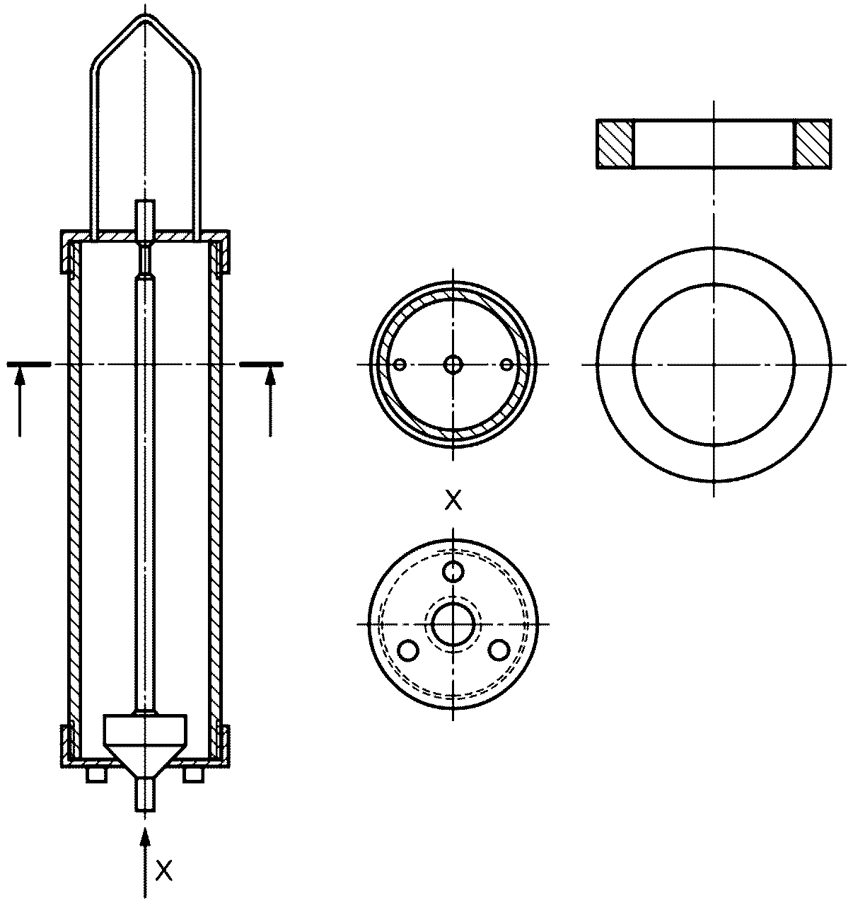
Рисунок А.12 - Металлическое устройство для деления пробы
на четыре части
1 - загрузочная воронка; 2 - задвижка; 3 - емкости,
открывающиеся во внешнюю воронку; 4 - каналы, отводящие
поток во внутреннюю воронку; 5 - внутренняя воронка;
6 - внешняя воронка; 7 - приемник; 8 - каналы, отводящие
поток во внутреннюю воронку; 9 - емкости, открывающиеся
во внешнюю воронку; 10 - каналы, соединенные ниже основания
конуса; 11 - вершина конуса; 12 - основание конуса
Рисунок А.13 - Конический делитель
Рисунок А.14 - Многожелобковый делитель