Главная // Актуальные документы // ГОСТ (Государственный стандарт)
СПРАВКА
Источник публикации
М.: Стандартинформ, 2018
Примечание к документу
Отдельные положения данного документа включены в Перечень международных и региональных (межгосударственных) стандартов (п. п. 185, 210, 215, 220), а в случае их отсутствия - национальных (государственных) стандартов, в результате применения которых на добровольной основе обеспечивается соблюдение требований технического регламента Таможенного союза "О безопасности упаковки" (ТР ТС 005/2011) и в Перечень международных и региональных (межгосударственных) стандартов (п. п. 311, 331, 336), а в случае их отсутствия - национальных (государственных) стандартов, содержащих правила и методы исследований (испытаний) и измерений, в том числе правила отбора образцов, необходимые для применения и исполнения требований технического регламента Таможенного союза "О безопасности упаковки" (ТР ТС 005/2011) и осуществления оценки соответствия объектов технического регулирования (Решение Коллегии Евразийской экономической комиссии от 29.01.2024 N 9).

Текст данного документа приведен с учетом поправки, введенной в действие с 25.01.2024, опубликованной в "ИУС", N 4, 2024.

Документ введен в действие с 01.10.2018.
Название документа
"ГОСТ 34257-2017. Межгосударственный стандарт. Упаковка. Пробки с дополнительным верхом и защитные колпачки для стеклянных бутылок. Общие технические условия"
(введен в действие Приказом Росстандарта от 09.02.2018 N 64-ст)

"ГОСТ 34257-2017. Межгосударственный стандарт. Упаковка. Пробки с дополнительным верхом и защитные колпачки для стеклянных бутылок. Общие технические условия"
(введен в действие Приказом Росстандарта от 09.02.2018 N 64-ст)


Содержание


Введен в действие
Приказом Федерального
агентства по техническому
регулированию и метрологии
от 9 февраля 2018 г. N 64-ст
МЕЖГОСУДАРСТВЕННЫЙ СТАНДАРТ
УПАКОВКА. ПРОБКИ С ДОПОЛНИТЕЛЬНЫМ ВЕРХОМ
И ЗАЩИТНЫЕ КОЛПАЧКИ ДЛЯ СТЕКЛЯННЫХ БУТЫЛОК
ОБЩИЕ ТЕХНИЧЕСКИЕ УСЛОВИЯ
Packaging. Bar-top stoppers and over capsule
for glass bottles. General specifications
ГОСТ 34257-2017
МКС 55.040
79.100
Дата введения
1 октября 2018 года
Предисловие
Цели, основные принципы и основной порядок проведения работ по межгосударственной стандартизации установлены в ГОСТ 1.0-2015 "Межгосударственная система стандартизации. Основные положения" и ГОСТ 1.2-2015 "Межгосударственная система стандартизации. Стандарты межгосударственные, правила и рекомендации по межгосударственной стандартизации. Правила разработки, принятия, обновления и отмены".
Сведения о стандарте
1 РАЗРАБОТАН Техническим комитетом по стандартизации ТК 415 "Средства укупорочные" (ООО "ЦСИ "Продмаштест")
2 ВНЕСЕН Федеральным агентством по техническому регулированию и метрологии
3 ПРИНЯТ Межгосударственным советом по стандартизации, метрологии и сертификации (протокол от 30 августа 2017 г. N 102-П)
За принятие проголосовали:
Краткое наименование страны по МК (ИСО 3166) 004-97
Код страны по МК (ИСО 3166) 004-97
Сокращенное наименование национального органа по стандартизации
Армения
AM
Минэкономики Республики Армения
Беларусь
BY
Госстандарт Республики Беларусь
Казахстан
KZ
Госстандарт Республики Казахстан
Киргизия
KG
Кыргызстандарт
Россия
RU
Росстандарт
Таджикистан
TJ
Таджикстандарт
Узбекистан
UZ
Узстандарт
Украина
UA
Минэкономразвития Украины
4 Приказом Федерального агентства по техническому регулированию и метрологии от 9 февраля 2018 г. N 64-ст межгосударственный стандарт ГОСТ 34257-2017 введен в действие в качестве национального стандарта Российской Федерации с 1 октября 2018 г.
5 Настоящий стандарт разработан с учетом основных нормативных положений национального стандарта Франции NF H 35-081:2008 "Производство бутылок. Пробки с дополнительным верхом 27, 29, 34 для стеклянных бутылок. Размеры горловины, комбинированной пробки и защитного колпачка" ("Industries de l'embouteillage - Bouteilles en verr - Bouchage par bouchon a tete de 27, 29, 34 - Bague verre - Bouchon composite - Capsule de surbouchage", NEQ)
6 ВВЕДЕН ВПЕРВЫЕ
Информация об изменениях к настоящему стандарту публикуется в ежегодном информационном указателе "Национальные стандарты", а текст изменений и поправок - в ежемесячном информационном указателе "Национальные стандарты". В случае пересмотра (замены) или отмены настоящего стандарта соответствующее уведомление будет опубликовано в ежемесячном информационном указателе "Национальные стандарты". Соответствующая информация, уведомление и тексты размещаются также в информационной системе общего пользования - на официальном сайте Федерального агентства по техническому регулированию и метрологии в сети Интернет (www.gost.ru).
1 Область применения
Настоящий стандарт распространяется на пробки с дополнительным верхом (далее - пробки), предназначенные для укупоривания бутылок, и защитные колпачки (далее - колпачки), предназначенные для предохранения упаковки от несанкционированного вскрытия и фальсификации продукции, и устанавливает их классификацию, параметры, технические требования, методы контроля, правила приемки, транспортирования и хранения.
2 Нормативные ссылки
В настоящем стандарте использованы нормативные ссылки на следующие межгосударственные стандарты:
ГОСТ 12.0.001-82 Система стандартов безопасности труда. Основные положения <*>
--------------------------------
<*> В Российской Федерации действует ГОСТ Р 12.0.001-2013.
ГОСТ 12.1.004-91 Система стандартов безопасности труда. Пожарная безопасность. Общие требования
ГОСТ 12.4.021-75 Система стандартов безопасности труда. Системы вентиляционные. Общие требования
ГОСТ 17.2.3.01-86 Охрана природы. Атмосфера. Правила контроля качества воздуха населенных пунктов
ГОСТ 17.2.3.02-2014 Правила установления допустимых выбросов загрязняющих веществ промышленными предприятиями
ГОСТ OIML R 76-1-2011 Весы неавтоматического действия. Часть 1. Метрологические и технические требования. Испытания
ГОСТ 166-89 (ИСО 3599-76) Штангенциркули. Технические условия
ГОСТ 427-75 Линейки измерительные металлические. Технические условия
ГОСТ ISO 2859-1-2009 Статистические методы. Процедуры выборочного контроля по альтернативному признаку. Часть 1. Планы выборочного контроля последовательных партий на основе приемлемого уровня качества <**>
--------------------------------
<**> В Российской Федерации действует ГОСТ Р ИСО 2859-1-2007.
ГОСТ 5541-2002 Средства укупорочные корковые. Общие технические условия
ГОСТ ISO 9727-3-2016 Пробки корковые цилиндрические. Методы определения физических свойств. Часть 3. Определение содержания влаги
ГОСТ 12026-76 Бумага фильтровальная лабораторная. Технические условия
ГОСТ 13837-79 Динамометр общего назначения. Технические условия
ГОСТ 14192-96 Маркировка грузов
ГОСТ 20477-86 Лента полиэтиленовая с липким слоем. Технические условия
ГОСТ ISO 22308-2016 Пробки корковые. Сенсорный метод контроля
ГОСТ 32180-2013 Средства укупорочные. Термины и определения
Примечание - При пользовании настоящим стандартом целесообразно проверить действие ссылочных стандартов в информационной системе общего пользования - на официальном сайте Федерального агентства по техническому регулированию и метрологии в сети Интернет или по ежегодному информационному указателю "Национальные стандарты", который опубликован по состоянию на 1 января текущего года, и по соответствующим выпускам ежемесячного информационного указателя "Национальные стандарты" за текущий год. Если ссылочный стандарт заменен (изменен), то при пользовании настоящим стандартом следует руководствоваться заменяющим (измененным) стандартом. Если ссылочный стандарт отменен без замены, то положение, в котором дана ссылка на него, применяется в части, не затрагивающей эту ссылку.
3 Термины и определения
В настоящем стандарте применены термины по ГОСТ 32180, ГОСТ 5541, а также следующие термины с соответствующими определениями:
3.1 защитный колпачок: Укупорочное средство, устанавливаемое поверх пробки, фиксируемое на венчике горловины бутылки, обеспечивающее визуальный контроль вскрытия упаковки и предохраняющее продукцию от фальсификации.
3.2 комбинированный колпачок: Полимерный колпачок с топ-диском из алюминиевой фольги.
3.3 колпачок из полиламината: Колпачок, изготовленный из комбинированного материала с использованием алюминиевой фольги и полиэтилена.
4 Классификация
4.1 Пробки с дополнительным верхом Т-образной формы подразделяют на:
- корковые (черенок пробок изготовляют из натуральной корковой пробки, натуральной кольматированной корковой пробки или агломерированной пробки; если фланец пробки изготовлен из материала, отличного от материала черенка, то должно быть указано - фланец: пластмассовый, деревянный, металлический или стеклянный);
- полимерные (черенок пробок изготовляют из различных видов пластмасс; если фланец пробки изготовлен из материала, отличного от материала черенка, то должно быть указано - фланец: деревянный, металлический или стеклянный).
4.1.1 Корпус пробки изготовляют цилиндрическим или коническим, конец пробки закругляют или изготовляют со снятой фаской.
4.2 Защитные колпачки подразделяют:
- на термоусадочные (полимерные и комбинированные);
- на обкаточные (металлические и из полиламината);
- на обжимные (металлические).
4.2.1 Колпачки изготовляют с:
- топ-диском из алюминиевой фольги или из поливинилхлоридной пленки или без него;
- отрывной лентой или без нее;
- перфорацией или без нее.
5 Основные параметры и размеры
5.1 Размеры пробок и колпачков должны соответствовать требованиям стандартов, технической и конструкторской документации, образцам-эталонам и рисункам на изделия конкретных типоразмеров. Рекомендуемые размеры приведены в приложениях А, Б, В и Г.
5.2 Размерные параметры черенка пробки должны соответствовать внутренним размерам венчика горловины бутылки.
5.3 Внутренние размеры колпачка должны соответствовать наружным размерам венчика горловины бутылки и размерам фланца пробки.
5.4 Массу укупорочных средств выражают в граммах с точностью до одной десятой.
6 Технические требования
6.1 Укупорочные средства изготовляют в соответствии с требованиями настоящего стандарта, по технической и конструкторской документации на изделия конкретных типоразмеров.
6.1.1 Корковые пробки изготовляют неосветленными и осветленными, полимерные пробки - неокрашенными и окрашенными, с надписями, рисунками и без них, с покрытиями (отделкой) лакокрасочными материалами. Виды и способы отделки, художественного оформления указывают в технической документации на укупорочные средства конкретных типоразмеров и согласовывают в виде оригинала-макета.
6.1.2 Надписи и рисунки должны иметь четкий отпечаток, без пропусков и искажений воспроизводимого оригинала с точной передачей цветов.
6.1.3 Покрытие, нанесенное на фланец пробки, должно быть без пузырей, вздутий и отслаивания.
6.1.4 Материалы и изделия, используемые для изготовления пробок, не должны выделять в контактирующие с ними модельные среды вещества в количествах, вредных для здоровья человека, превышающих допустимые количества миграции химических веществ, и должны соответствовать санитарно-гигиеническим показателям, установленным в [1].
6.2 Характеристики
Показатели качества и безопасности укупорочных средств должны соответствовать требованиям, указанным в таблице 1.
Таблица 1
Наименование показателя
Вид укупорочного средства
Требования
Метод контроля
1 Внешний вид
Все виды
Поверхность укупорочных средств должна быть чистой. Не допускаются дефекты, характеризующиеся нарушением целостности и геометрической формы изделия, определяемые визуально наружным осмотром.
Пробки:
Полимерные
Не допускаются: раковины, заусенцы, вздутия, трещины, сколы.
Корковые
Не допускаются:
- пробки (кроме агломерированных) с продольными и поперечными трещинами, которые занимают более 40% боковой поверхности черенка и могут вызвать ее обрыв в момент извлечения из бутылки;
- деформированная пробка (кроме агломерированной) с выраженным вздутием боковой поверхности;
- скошенная пробка на конце (кроме агломерированной), недостающая часть которой >= 1/3 окружности конца, глубиной >= 3 мм;
Колпачки
Не допускаются: трещины, царапины, вмятины, надрывы, заусенцы, дефекты перфорации
2 Геометрические размеры
Все виды
Размеры должны соответствовать значениям, установленным в стандартах и технической документации для изделий конкретных типоразмеров
3 Герметичность
Все виды пробок
Полимерные и корковые пробки с дополнительным верхом должны обеспечивать герметичность упаковки
4 Влажность
Корковые пробки
Влажность корковых пробок должна быть: (6 +/- 2)%
5 Капиллярность
Корковые пробки
Для натуральных и кольматированных корковых пробок <= 2,5 мм над уровнем реактива;
для агломерированных пробок <= 1/3 длины черенка
6 Прочность склеивания
Пробки
Черенок пробки должен выдерживать усилие отрыва от фланца не менее 50 Н.
Колпачки
Диск и отрывная лента должны быть плотно приклеены к колпачку
7 Прочность клеевого шва
Колпачки
Клеевой шов обжимных, обкаточных и термоусадочных колпачков должен быть прочным
8 Механическая прочность лакокрасочного покрытия
Все виды изделий с нанесенным лакокрасочным покрытием
Лакокрасочное покрытие, нанесенное на поверхность укупорочных средств, не должно переходить на поверхность липкой ленты
9 Органолептические показатели
Все виды пробок
Запах водной вытяжки - не более 1 балла.
Привкус водной вытяжки - не допускается. Изменение цвета и прозрачности водной вытяжки для изделий из пластмассы - не допускается.
Допускается окрашивание водной вытяжки и осадок при моделировании корковых пробок
6.3 Требования к сырью
Виды сырья и материалов для изготовления укупорочных средств устанавливают в стандартах и технической документации на изделия конкретного вида и типоразмера.
6.4 Маркировка
6.4.1 Маркировка должна содержать информацию, необходимую для идентификации материала, из которого изготовлены укупорочные средства.
6.4.2 Маркировка должна содержать цифровой код и/или буквенное обозначение (аббревиатуру) материала, из которого изготовлены укупорочные средства (приложение Д).
6.4.3 Маркировку наносят на упаковочный ярлык или упаковочный лист (вкладыш) и/или указывают в сопроводительной документации.
6.4.4 В сопроводительной документации указывают:
- наименование изделий;
- наименование и местонахождение изготовителя (производителя) и/или товарный знак предприятия-изготовителя (при наличии);
- дату изготовления;
- количество изделий;
- информацию о назначении изделий;
- условия хранения, транспортирования, возможности утилизации;
- информацию о подтверждении качества изделий (удостоверение о качестве, протокол испытаний и др.);
- обозначение стандарта и/или технической документации на изделия конкретного вида и типоразмера.
6.4.5 Транспортная маркировка - по ГОСТ 14192.
6.5 Упаковка
6.5.1 Пробки (полимерные) и колпачки помещают в транспортную упаковку (коробки, мешок и др.), обеспечивающую сохранность качества изделий и защиту от загрязнений, атмосферных осадков и механических повреждений.
6.5.2 Корковые пробки упаковывают в прочные и вентилируемые полимерные мешки или пакеты, или картонные коробки, или герметично запаянные полимерные пакеты или мешки с SO2.
6.5.3 В каждое грузовое место упаковывают изделия одного вида и типоразмера.
6.5.4 По согласованию с заказчиком допускается использовать другую упаковку, обеспечивающую сохранность качества изделий и защиту от загрязнений, атмосферных осадков и механических повреждений при транспортировании и хранении.
7 Требования безопасности и охраны окружающей среды
7.1 При изготовлении укупорочных средств соблюдают правила безопасности по ГОСТ 12.0.001, правила пожарной безопасности по ГОСТ 12.1.004, а также типовые правила пожарной безопасности для промышленных предприятий.
7.2 Концентрацию вредных веществ в воздухе рабочей зоны производственных помещений контролируют методами, утвержденными в установленном порядке. Параметры микроклимата производственных помещений должны соответствовать нормативам.
7.3 Производственные помещения должны быть оборудованы общеобменной вентиляцией, а рабочие места - местной вентиляцией, обеспечивающими концентрацию вредных веществ в воздухе рабочей зоны, не превышающую предельно допустимую. Система вентиляции производственных, складских и вспомогательных помещений - по ГОСТ 12.4.021.
7.4 Охрана окружающей среды - по ГОСТ 17.2.3.01. Выбросы вредных веществ в атмосферу - по ГОСТ 17.2.3.02.
В процессе изготовления укупорочных средств должна быть исключена возможность загрязнения окружающей среды отходами производства. Отходы, образующиеся при производстве полимерных укупорочных средств, подлежат вторичной переработке. Утилизацию отходов осуществляют в соответствии с действующим законодательством.
8 Правила приемки
8.1 Укупорочные средства принимают партиями. Партией считают количество изделий одного наименования, вида, типоразмера и состава, произведенных практически в одинаковых условиях, в один и тот же период времени и сопровождаемых одним документом о качестве, содержащим:
- наименование предприятия-изготовителя и товарный знак (при наличии);
- юридический и/или фактический адрес предприятия-изготовителя;
- наименование и обозначение изделий;
- типоразмер и состав (материалы) укупорочных средств;
- номер партии;
- количество изделий в партии;
- дату изготовления и срок хранения;
- обозначение стандарта и/или технической документации на изделия конкретного вида и типоразмера;
- результаты испытаний или подтверждение о соответствии качества укупорочных средств требованиям стандарта и/или технической документации на изделия конкретного типоразмера.
8.2 Каждую партию подвергают наружному осмотру, при котором определяют сохранность упаковки и правильность маркировки.
Для контроля сохранности упаковки и маркировки транспортной упаковки от партии отбирают выборку объемом в соответствии с таблицей 2.
Таблица 2
Количество единиц транспортной упаковки в партии, шт.
Количество единиц транспортной упаковки, подвергающейся контролю, шт.
Приемочное число
Браковочное число
До 15 включ.
Все единицы
0
1
Св. 15 до 200 "
15
0
1
" 200 " 1000 "
25
1
2
8.3 Контроль качества (полимерных пробок и колпачков) на соответствие требованиям настоящего стандарта проводят по двухступенчатому нормальному плану выборочного контроля при общем уровне контроля II и значениях предела приемлемого качества в соответствии с таблицей 3.
Таблица 3
Контролируемый показатель
Предел приемлемого качества AQL, %
Внешний вид
1,0
Геометрические размеры.
Герметичность.
Органолептический контроль
0,65
Прочность склеивания.
Прочность клеевого шва
2,5
Механическая прочность лакокрасочного покрытия
4,0
8.4 Для проведения контроля качества изделий методом выборочного контроля от партии случайным образом из разных мест отбирают выборки по ГОСТ ISO 2859-1 в объемах, указанных в таблице 4.
Таблица 4
Количество изделий в партии, шт.
Объем выборки, шт.
Двухступенчатый выборочный план нормального контроля при пределе приемлемого качества AQL, %, выборки
первой
второй
0,65
1,0
2,5
4,0
первой
второй
первой
второй
первой
второй
первой
второй
С1
С3
С2
С4
С1
С3
С2
С4
С1
С3
С2
С4
С1
С3
С2
С4
От 1201 до 3200 включ.
80
0
3
1
4
3
7
5
9
160
3
4
4
5
8
9
12
13
От 3201 до 10 000 включ.
125
1
4
2
5
5
9
7
11
250
4
5
6
7
12
13
18
19
От 10 001 до 35 000 включ.
200
2
5
3
7
7
11
11
16
400
6
7
8
9
18
19
26
27
От 35 001 до 150 000 включ.
315
3
7
5
9
11
16
11
16
630
8
9
12
13
26
27
26
27
От 150 001 до 500 000 включ.
500
5
9
7
11
11
16
11
16
1000
12
13
18
19
26
27
26
27
От 500 001 и выше
800
7
11
11
16
11
16
11
16
1600
18
19
26
27
26
27
26
27
8.5 По результатам контроля первой выборки партию принимают, если число несоответствующих изделий в выборке меньше или равно С1, и бракуют, если число несоответствующих изделий в выборке больше или равно С2.
Если число несоответствующих изделий в выборке больше С1, но меньше С2, для контроля качества отбирают вторую выборку.
По результатам контроля второй выборки партию принимают, если число несоответствующих изделий в двух выборках меньше или равно С3.
Партию бракуют, если число несоответствующих изделий в двух выборках больше или равно С4.
8.6 Результаты испытаний второй выборки являются окончательными.
8.7 Контроль качества корковых пробок с дополнительным верхом проводят в соответствии с таблицей 5 по ГОСТ 5541.
8.8 Отклонение количества укупорочных средств в единице упаковки не должно превышать +/- 1%.
9 Методы контроля
9.1 Перед испытаниями образцы полимерных пробок и колпачков выдерживают не менее 3 ч при температуре (21 +/- 3) °C и относительной влажности (70 +/- 5)%.
9.1.1 Корковые пробки, предназначенные для испытаний, должны быть выдержаны в помещении в течение 24 ч при температуре (21 +/- 4) °C и относительной влажности воздуха (60 +/- 20)%.
9.2 Внешний вид пробок и колпачков контролируют визуально без применения увеличительных приборов путем сравнения с требованиями стандартов и/или технической документации и утвержденными образцами-эталонами.
9.3 Размеры укупорочных средств контролируют штангенциркулем по ГОСТ 166 с ценой деления 0,05 мм, металлической линейкой по ГОСТ 427 или другими измерительными приборами, обеспечивающими точность измерения в соответствии с требованиями стандартов и технической документацией на конкретное изделие.
9.4 Массу укупорочных средств определяют на весах по ГОСТ OIML R 76-1 с ценой деления не более 0,1 г. За результат испытаний принимают среднеарифметическое значение десяти измерений. Отклонение массы изделия от номинального значения устанавливают в стандартах и технической документации на конкретное изделие.
9.5 Определение герметичности упаковки
9.5.1 Испытания проводят на контрольных образцах стеклянных бутылок. Испытанию подвергают по 10 шт. образцов корковых и полимерных пробок.
9.5.2 Для определения герметичности контрольную бутылку заполняют подкрашенным 10%-ным раствором этилового спирта или исследуемой жидкостью до номинального объема и укупоривают пробкой. Затем бутылку располагают горизонтально на фильтровальной бумаге по ГОСТ 12026 и выдерживают не менее 48 ч. Упаковку считают герметичной, если на фильтровальной бумаге отсутствуют следы просачивания жидкости.
9.6 Контроль механической прочности лакокрасочного покрытия
Испытанию подвергают не менее 10 шт. изделий с нанесенным лакокрасочным покрытием.
Рисунки и надписи на изделиях, выполненные с использованием фольги горячего тиснения не подлежат проверке на адгезию.
Полиэтиленовую ленту по ГОСТ 20477 накладывают на поверхность изделия, оставляя с одной стороны свободный конец липкой ленты, плотно прижимают ленту к материалу и, используя свободный конец, рывком срывают с покрытия.
Результат испытания считают положительным, если лакокрасочный материал не переходит на поверхность липкой ленты.
9.7 Контроль капиллярности
Контроль капиллярности корковых пробок проводят по ГОСТ 5541.
9.8 Контроль влажности
Контроль влажности корковых пробок проводят по ГОСТ 5541 или по ГОСТ ISO 9727-3.
9.9 Контроль прочности склеивания
Испытанию подвергают 10 шт. пробок, у которых черенок соединен с фланцем методом склеивания и не менее 80 шт. колпачков с приклеенным диском и отрывной лентой.
9.9.1 Для оценки минимальной прочности склеивания корпуса пробок с фланцем на испытательной установке с зажимом корпуса образца пробки проводят испытания целостности изделия до момента повреждения (определения усилия отрыва) или до заданного критического значения, установленного в стандартах и технической документации для пробок конкретных типоразмеров. Значение показателя считывают со шкалы динамометра по ГОСТ 13837, при этом методика испытания не определяет непрерывность склеивания или иную его характеристику, кроме усилия отрыва одной части изделия от другой.
9.9.2 Качество склеивания диска и отрывной ленты с поверхностью колпачка определяют путем визуального осмотра при нормальном освещении без применения увеличительных приборов. Диск и отрывная лента должны быть плотно приклеены к поверхности колпачка.
9.10 Контроль прочности клеевого шва
Испытанию подвергают не менее 10 шт. колпачков.
9.10.1 Клеевой шов колпачков (обкаточных и обжимных) должен обладать прочностью, которую определяют по значению разрушающего усилия материала, установленного в стандартах и/или технической документации на колпачки конкретных типоразмеров.
9.10.1.1 Прочность клеевого шва определяют на разрывной машине, обеспечивающей изменение нагрузки в диапазоне испытания с погрешностью не более 3% значения измеряемой нагрузки.
Для проведения испытаний перпендикулярно шву колпачка вырезают образцы шириной (15 +/- 0,2) мм и длиной не менее 30 мм от шва.
Затем устанавливают расстояние между зажимами разрывной машины (30 +/- 2) мм и закрепляют образец. Зажимы разрывной машины необходимо равномерно затянуть, чтобы избежать перекоса образца и его скольжения при испытании. Шов располагают на равном расстоянии от зажимов.
Испытания проводят при скорости подвижного зажима (100 +/- 10) мм/мин. Значение усилия от начала разрушения клеевого шва определяют по регистрирующему устройству.
За результат испытания принимают среднеарифметическое значение всех измерений.
9.10.2 Прочность клеевого шва термоусадочных колпачков определяют визуально, после усадки клеевой шов не должен расходиться.
Колпачки устанавливают на горловину бутылки соответствующего типоразмера и выдерживают в сушильном шкафу или в термотоннеле при температуре 105 °C в течение 30 с. Затем бутылку с колпачком охлаждают при комнатной температуре и осматривают. Клеевой шов должен быть сплошным, ровным, без складок, волнистости, прожженных мест и не должен расходиться.
9.11 Органолептический контроль
9.11.1 Органолептические показатели корковых пробок контролируют по ГОСТ ISO 22308.
9.11.2 Органолептические показатели полимерных пробок определяют в соответствии с требованиями, указанными в [1], и/или требованиями, установленными законодательством государства, принявшего настоящий стандарт.
10 Транспортирование и хранение
10.1 Укупорочные средства транспортируют всеми видами транспорта в чистых, сухих крытых транспортных средствах в соответствии с правилами перевозки грузов, действующими на каждом виде транспорта.
10.2 Полимерные пробки и колпачки хранят в транспортной упаковке в закрытом помещении, исключающем попадание прямых солнечных лучей, на расстоянии не менее 1 м от нагревательных приборов, при температуре от 5 °C до 25 °C и относительной влажности воздуха 40% - 80%.
10.2.1 Корковые пробки хранят в их исходной упаковке до начала использования в сухом, чистом, хорошо проветриваемом помещении, не содержащем горючие и летучие вещества, без посторонних запахов, при температуре от 15 °C до 20 °C и относительной влажности 40% - 70%, с обязательной изоляцией на некотором расстоянии от пола.
10.3 Упаковка с укупорочными средствами перед вскрытием должна быть выдержана не менее 12 ч в производственном помещении.
11 Гарантии изготовителя
11.1 Изготовитель гарантирует соответствие укупорочных средств требованиям настоящего стандарта при соблюдении условий хранения.
11.2 Гарантийный срок хранения:
- корковых пробок с дополнительным верхом - 6 месяцев со дня изготовления;
- полимерных пробок с дополнительным верхом и защитных колпачков - 12 месяцев со дня изготовления.
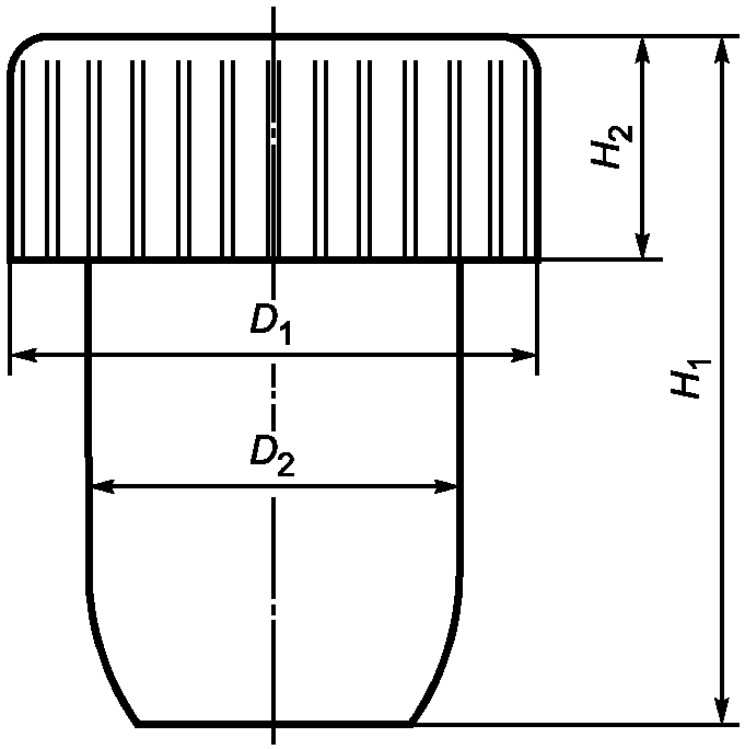
Приложение А
(рекомендуемое)
ПРОБКИ КОРКОВЫЕ С ДОПОЛНИТЕЛЬНЫМ ВЕРХОМ
Рисунок А.1 - Пробки корковые с дополнительным верхом
Таблица А.1
В миллиметрах
Контролируемый параметр
Размер
Отклонение
Размер
Отклонение
Размер
Отклонение
D2 черенка (корпуса)
19
+/- 0,3
20
+/- 0,3
23
+/- 0,3
H1 пробки с фланцем
31
+/- 2,0
31
+/- 2,0
33,5
+/- 2,0
D1 фланца
27
+/- 0,3
29
+0,2
-0,3
34
+0,2
-0,3
H2 фланца
10
+/- 1,0
10
+/- 1,0
10
+/- 1,0
Приложение Б
(рекомендуемое)
ЗАЩИТНЫЕ КОЛПАЧКИ
Рисунок Б.1 - Защитный колпачок
Таблица Б.1
В миллиметрах
Контролируемые параметры
Размеры защитных колпачков, изготовленных
механическим способом
на автоматах
D1
27,5
29
34
28
29,5
H1
55
55
60
55
55
l
6
Приложение В
(рекомендуемое)
ВЕНЧИК ГОРЛОВИНЫ БУТЫЛКИ
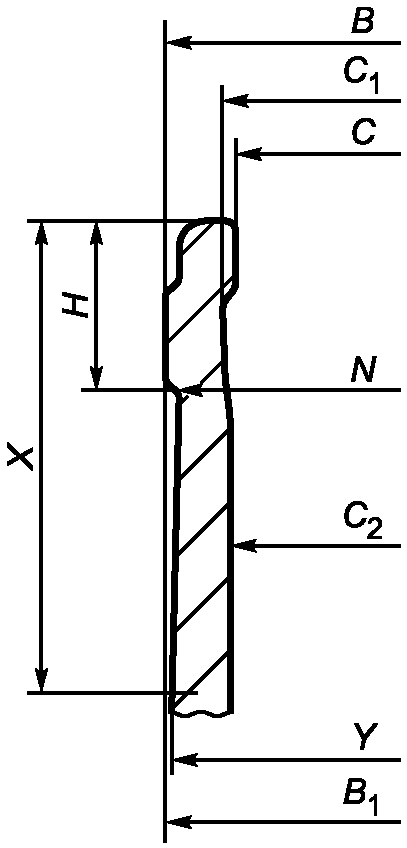
Рисунок В.1 - Венчик горловины бутылки
Рисунок В.2 - Сечение венчика горловины бутылки
Таблица В.1
В миллиметрах
Размер венчика горловины бутылки
Контролируемый параметр
27
29
34
D2
27,0
+/- 0,5
18,5
+/- 0,5
21,5
+/- 0,5
D1
27,5
+/- 0,4
9,3
+/- 0,4
34
+/- 0,4
D3
28
+/- 0,4
30,0
+/- 0,4
34,5
+/- 0,4
Таблица В.2
Параметры горловины бутылки
Обозначение
Наименование параметра
Контролируемый параметр
B
Наружный диаметр верхней части венчика горловины
Наружный диаметр укупорочного кольца
B1
Наружный диаметр нижней части венчика горловины
C
Внутренний диаметр отверстия венчика горловины
На глубине 3 мм от торца венчика
C1
Внутренний диаметр остальной части горловины
На глубине 10 мм от торца
C2
На глубине 20 мм от торца
H
Высота венчика горловины
N
Диаметр нижнего укрепляющего кольца венчика горловины
X
Высота от торца венчика горловины до основания защитного колпачка
Y
Диаметр горловины на основании корпуса защитного колпачка
<*> Значения контролируемых параметров согласовывают между заказчиком и поставщиком (изготовителем).
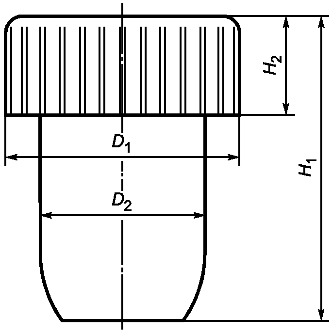
Приложение Г
(рекомендуемое)
ПРОБКИ ПОЛИМЕРНЫЕ С ДОПОЛНИТЕЛЬНЫМ ВЕРХОМ
Рисунок Г.1 - Пробки полимерные с дополнительным верхом
Таблица Г.1
В миллиметрах
Контролируемый параметр
Размеры полимерных пробок с дополнительным верхом
Отклонения
D1 фланца
27,0
27,0
27,0
27,0
27,0
29,0
29,0
29,0
29,0
29,0
34,0
+/- 0,3
H2 фланца
9,0
9,0
9,0
9,0
9,0
9,0
9,0
9,0
9,0
9,0
9,0
+/- 0,3
D2 черенка (корпуса)
17,5
18,0
18,5
19,0
19,5
17,5
18,0
18,5
19,0
19,5
19,5
+/- 0,3
H1 пробки с фланцем
29,0
29,0
29,0
29,0
29,0
29,0
29,0
29,0
29,0
29,0
33,0
+/- 0,3
Приложение Д
(справочное)
ИДЕНТИФИКАЦИЯ ИЗДЕЛИЙ
Д.1 Цифровой код и буквенное обозначение (аббревиатура) материала, из которого изготовляют укупорочные средства, указаны в таблице Д.1.
Таблица Д.1
Материал
Аббревиатура (сокращенный термин) и цифровой код
Полиэтилентерефталат
Полиэтилен высокой плотности
Поливинилхлорид
Полиэтилен низкой плотности
Полипропилен
Полистирол
Прочие пластмассы (другие)
Алюминий
Пробка
Пластмасса/алюминий
<*> Например:
- C/ALU, если слой алюминиевой фольги по массе больше, чем слой полимерного материала;
- C/PE или другой полимерный материал, слой которого по массе больше, чем слой алюминиевой фольги.
Д.2 Символы, наносимые на изделия, упаковочный ярлык, или упаковочный лист (вкладыш), или сопроводительную документацию (см. рисунки Д.1 и Д.2).
Рисунок Д.1 - Для укупорочных средств, предназначенных
для контакта с пищевой продукцией
а - знак применяют для информирования о том, что материал
может быть повторно переработан, или изделие частично
или полностью изготовлено из вторичного сырья; б - знак
означает, что изделие изготовлено из материала, который
может быть переработан (кроме материала с цифровым
кодом 7, который не подлежит переработке)
Рисунок Д.2 - Петля Мёбиуса - возможность утилизации изделий
БИБЛИОГРАФИЯ
ИС МЕГАНОРМ: примечание.
Нумерация пунктов дана в соответствии с официальным текстом документа.
[3] Технический регламент Таможенного союза ТР ТС 005/2011
"О безопасности упаковки" (утвержден Решением Комиссии Таможенного союза от 16 августа 2011 г. N 769)