Главная // Актуальные документы // ГОСТ (Государственный стандарт)СПРАВКА
Источник публикации
М.: Стандартинформ, 2018
Примечание к документу
Документ включен в
Перечень международных и региональных (межгосударственных) стандартов, а в случае их отсутствия - национальных (государственных) стандартов, содержащих правила и методы исследований (испытаний) и измерений, в том числе правила отбора образцов, необходимые для применения и исполнения требований технического
регламента Таможенного союза "О безопасности машин и оборудования" (ТР ТС 010/2011) и осуществления оценки соответствия объектов технического регулирования (
Решение Коллегии Евразийской экономической комиссии от 09.03.2021 N 28).
Документ
введен в действие с 01.03.2019.
Название документа
"ГОСТ 34251-2017 (ISO 20361:2015). Межгосударственный стандарт. Насосы гидравлические. Испытания на шум. Степени точности 2 и 3"
(введен в действие Приказом Росстандарта от 28.08.2018 N 535-ст)
"ГОСТ 34251-2017 (ISO 20361:2015). Межгосударственный стандарт. Насосы гидравлические. Испытания на шум. Степени точности 2 и 3"
(введен в действие Приказом Росстандарта от 28.08.2018 N 535-ст)
по техническому регулированию
и метрологии
от 28 августа 2018 г. N 535-ст
МЕЖГОСУДАРСТВЕННЫЙ СТАНДАРТ
НАСОСЫ ГИДРАВЛИЧЕСКИЕ
ИСПЫТАНИЯ НА ШУМ. СТЕПЕНИ ТОЧНОСТИ 2 И 3
Hydraulic pumps. Noise test code. Accuracy grades 2 and 3
(ISO 20361:2015, MOD)
ГОСТ 34251-2017
(ISO 20361:2015)
Дата введения
1 марта 2019 года
Цели, основные принципы и основной порядок проведения работ по межгосударственной стандартизации установлены в
ГОСТ 1.0-2015 "Межгосударственная система стандартизации. Основные положения" и
ГОСТ 1.2-2015 "Межгосударственная система стандартизации. Стандарты межгосударственные, правила и рекомендации по межгосударственной стандартизации. Правила разработки, принятия, обновления и отмены"
1 ПОДГОТОВЛЕН Российской ассоциацией производителей насосов (РАПН) на основе собственного перевода на русский язык англоязычной версии стандарта, указанного в
пункте 5
2 ВНЕСЕН Межгосударственным техническим комитетом по стандартизации МТК 245 "Насосы"
3 ПРИНЯТ Межгосударственным советом по стандартизации, метрологии и сертификации (протокол от 30 августа 2017 г. N 102-П)
За принятие проголосовали:
Краткое наименование страны по МК (ИСО 3166) 004-97 | Код страны по МК (ИСО 3166) 004-97 | Сокращенное наименование национального органа по стандартизации |
Армения | AM | Минэкономики Республики Армения |
Беларусь | BY | Госстандарт Республики Беларусь |
Казахстан | KZ | Госстандарт Республики Казахстан |
Киргизия | KG | Кыргызстандарт |
Россия | RU | Росстандарт |
4
Приказом Федерального агентства по техническому регулированию и метрологии от 28 августа 2018 г. N 535-ст межгосударственный стандарт ГОСТ 34251-2017 (ISO 20361:2015) введен в действие в качестве национального стандарта Российской Федерации с 1 марта 2019 г.
5 Настоящий стандарт является модифицированным по отношению к международному стандарту ISO 20361:2015 "Насосы жидкостные и установки. Акустические испытания. Степени точности 2 и 3" ("Liquid pumps and pump units - Noise test code - Grades 2 and 3 of accuracy", MOD) путем изменения отдельных фраз (слов, значений показателей, ссылок), которые выделены в тексте курсивом.
| | ИС МЕГАНОРМ: примечание. В официальном тексте документа, видимо, допущена опечатка: п. 9.2.6 в ГОСТ 1.5-2001 отсутствует. | |
В
таблицах 1 и
2 в тех случаях, когда не имеется межгосударственных стандартов на методы определения уровней звуковой мощности, указаны методы по
ГОСТ 23941. Кроме того,
таблицы 1 и
2 дополнены методом сравнения при измерениях шума на месте эксплуатации или на испытательном стенде в цехе по
ГОСТ 27243.
Подраздел 6.1 дополнен методами измерения уровня звука излучения по
ГОСТ 31171.
Текст примечания в подразделе 7.1 преобразован в содержание указанного
подраздела, поскольку в оригинале иного текста, кроме примечания, нет.
Подраздел 8.3 дополнен указанием о режиме работы объемного насоса.
Международный стандарт разработан Техническим комитетом по стандартизации ISO/TC 115 "Насосы" Международной организации по стандартизации (ISO).
Официальные экземпляры международного стандарта, на основе которого подготовлен настоящий межгосударственный стандарт, имеются в Федеральном агентстве по техническому регулированию и метрологии.
Сведения о соответствии ссылочных межгосударственных стандартов международным стандартам, использованным в качестве ссылочных в примененном международном стандарте, приведены в дополнительном
приложении ДА
6 ВВЕДЕН ВПЕРВЫЕ
Информация об изменениях к настоящему стандарту публикуется в ежегодном информационном указателе "Национальные стандарты", а текст изменений и поправок - в ежемесячном информационном указателе "Национальные стандарты". В случае пересмотра (замены) или отмены настоящего стандарта соответствующее уведомление будет опубликовано в ежемесячном информационном указателе "Национальные стандарты". Соответствующая информация, уведомление и тексты размещаются также в информационной системе общего пользования - на официальном сайте Федерального агентства по техническому регулированию и метрологии в сети Интернет (www.gost.ru)
Источниками шума насосного агрегата могут быть корпус насоса, привод (например, двигатель, корпус редуктора, муфта), трубопроводы, а также другие части агрегата.
На месте эксплуатации насосного агрегата шум может значительно возрастать за счет реверберации или шума посторонних источников.
В зависимости от типа насосного агрегата полезно знать:
a) шум насоса, включая трубопроводы;
b) шум насосного агрегата, включая привод, но исключая насос;
c) шум только насоса, исключая привод и трубопроводы;
d) шум каждой из этих частей насосного агрегата для сравнения с заданными требованиями или для оценки эффективности звукоизоляции.
Настоящий стандарт устанавливает методы определения шума насосного агрегата
[случай b)] или только насоса
[случай c)].
Шум характеризуют уровнем звуковой мощности и уровнем звука излучения на условном рабочем месте.
Настоящий стандарт позволяет изготовителю:
- показать эффективность снижения шума;
- заявлять значения шумовых характеристик.
Настоящий стандарт подготовлен на основе международного стандарта ISO 20361:2015, разработанного Техническим комитетом ISO/TC 115 "Насосы".
Настоящий стандарт устанавливает методы эффективного измерения шума, метод заявления и контроля (верификации) значений шумовых характеристик гидравлических насосов и насосных агрегатов (см.
4.1), режим работы и условия монтажа при испытаниях на шум.
Шумовые характеристики - корректированный по частотной характеристике A уровень звуковой мощности и уровень звука излучения на условном рабочем месте - определяют в целях:
- заявления их значений;
- управления шумом на этапе проектирования.
Определение шумовых характеристик необходимо также для сравнения уровней шума насосов различных производителей, представленных на рынке.
Применение настоящего стандарта обеспечивает воспроизводимость определения значений шумовых характеристик с точностью технического или ориентировочного метода измерений. Методы измерений, применимые в соответствии с настоящим стандартом: инженерные методы (степень 2) и методы обследования (степень 3).
Настоящий стандарт не устанавливает методы измерения шума, порождаемого вибрацией опорных конструкций, и гидравлического шума перекачиваемой жидкости.
В настоящем стандарте использованы нормативные ссылки на следующие межгосударственные стандарты:
ГОСТ ISO 17769-1-2014 Насосы жидкостные и установки. Основные термины, определения, количественные величины, буквенные обозначения и единицы измерения. Часть 1. Жидкостные насосы
ГОСТ 23941-2002 Шум машин. Методы определения шумовых характеристик. Общие требования
ГОСТ 27243-2005 (ИСО 3747:2000) Шум машин. Определение уровней звуковой мощности по звуковому давлению. Метод сравнения на месте установки
ГОСТ 30457-97 (ИСО 9614-1-93) Акустика. Определение уровней звуковой мощности источников шума на основе интенсивности звука. Измерение в дискретных точках. Технический метод
ГОСТ 30691-2001 (ИСО 4871-96) Шум машин. Заявление и контроль значений шумовых характеристик
ГОСТ 30720-2001 (ИСО 11203-95) Шум машин. Определение уровней звукового давления излучения на рабочем месте и в других контрольных точках по уровню звуковой мощности
ГОСТ 31171-2003 (ИСО 11200:1995) Шум машин. Руководство по выбору метода определения уровней звукового давления излучения на рабочем месте и в других контрольных точках
ГОСТ 31252-2004 (ИСО 3740:2000) Шум машин. Руководство по выбору метода определения уровней звуковой мощности
ГОСТ 31275-2002 (ИСО 3744-94) <1> Шум машин. Определение уровней звуковой мощности источников шума по звуковому давлению. Технический метод в существенно свободном звуковом поле над звукоотражающей плоскостью
--------------------------------
ГОСТ 31276-2002 (ИСО 3743-1-94, ИСО 3743-2-94) <2> Шум машин. Определение уровней звуковой мощности источников шума по звуковому давлению. Технические методы для малых переносных источников шума в реверберационных полях в помещениях с жесткими стенами и в специальных реверберационных камерах
--------------------------------
<2> В Российской Федерации действует
ГОСТ Р 51400-99 (ИСО 3743-1-94, ИСО 3743-2-94).
ГОСТ 31277-2002 (ИСО 3746-95) <3> Шум машин. Определение уровней звуковой мощности источников шума по звуковому давлению. Ориентировочный метод с использованием измерительной поверхности над звукоотражающей плоскостью
--------------------------------
Примечание - При пользовании настоящим стандартом целесообразно проверить действие ссылочных стандартов в информационной системе общего пользования - на официальном сайте Федерального агентства по техническому регулированию и метрологии в сети Интернет или по ежегодному информационному указателю "Национальные стандарты", который опубликован по состоянию на 1 января текущего года, и по выпускам ежемесячного информационного указателя "Национальные стандарты" за текущий год. Если ссылочный стандарт заменен (изменен), то при пользовании настоящим стандартом следует руководствоваться заменяющим (измененным) стандартом. Если ссылочный стандарт отменен без замены, то положение, в котором дана ссылка на него, применяется в части, не затрагивающей эту ссылку.
В настоящем стандарте применены термины по
ГОСТ ISO 17769-1, а также следующие термины с соответствующими определениями:
3.1
насос (pump): Устройство для перекачивания жидкости, ограниченное входным и выходным патрубками и оконечностью вала.
3.2
насосный агрегат (pump unit): Агрегат, включающий в себя насос
(3.1), его приводное устройство (например, электрический двигатель, паровую турбину) с трансмиссией (например, муфта, редуктор), основание и вспомогательное оборудование, поставляемое с насосом.
4.1 Настоящий стандарт распространяется на динамические и объемные, роторные и возвратно-поступательные насосы.
4.2 Измерения шума насоса проводят методами по
таблице 1, насосного агрегата - по
таблице 2. Испытуемые объекты должны быть установлены:
- на месте эксплуатации (см.
7.2.2);
- на испытательном стенде в цехе (см.
7.2.3);
- в испытательном помещении, предназначенном для акустических измерений (см.
7.2.4).
4.3 Ограждающие устройства (ограждения муфт, звукоизолирующие кожухи и т.д.), если они предусмотрены конструкцией, должны быть установлены в ходе измерений шума.
5 Определение уровня звуковой мощности
5.1 Общие положения
Для определения уровня звуковой мощности применяют один из технических методов (степень точности 2):
по ГОСТ 23941: методы сравнения (с использованием образцового источника шума) для измерений: в реверберационном (гулком) помещении по ГОСТ 31276 (далее - метод 1) или в специальной реверберационной камере по ГОСТ 31276 (далее - метод 2); метод в существенно свободном звуковом поле над звукоотражающей плоскостью для измерений в производственных помещениях, на открытых площадках и в заглушенных камерах со звукоотражающим полом по ГОСТ 31275; методы по ГОСТ 27243 и ГОСТ 30457; метод для измерений сканированием в производственных помещениях и на открытых площадках по интенсивности звука (далее - метод 3).
В случае, если доказано, что применить указанные методы невозможно, например из-за слишком высокого уровня фонового шума, используют один из ориентировочных методов (степень точности 3):
для измерений в производственных помещениях и на открытых площадках по ГОСТ 31277, ГОСТ 27243, ГОСТ 30457 или метод для измерений сканированием в производственных помещениях и на открытых площадках по интенсивности звука (далее - метод 4).
Общая характеристика указанных методов приведена в ГОСТ 31252. Ниже в примечаниях отражены их основные особенности.
1 По методам 1 и 2 измерения проводят в помещении с акустически жесткими стенами при низком уровне фонового шума или в специальной реверберационной камере. Измеряют октавные уровни звукового давления и рассчитывают уровень звуковой мощности.
2 В соответствии с методом по ГОСТ 31275 измерения проводят при низком уровне фонового шума. Измеряют октавные или третьоктавные уровни звукового давления или уровень звука и рассчитывают уровень звуковой мощности.
3 В соответствии с методом по ГОСТ 31277 измеряют уровень звука и рассчитывают корректированный по частотной характеристике A (далее - корректированный по A) уровень звуковой мощности.
4 Согласно техническому и ориентировочному методам сравнения по ГОСТ 27243 измеряют (для технического метода - в условиях близости звукового поля к реверберационному) октавные уровни звукового давления, по известной звуковой мощности образцового источника шума рассчитывают уровни звуковой мощности в октавных полосах частот, а по ним - корректированный по A уровень звуковой мощности.
5 Методы 3 и 4 можно использовать в любом испытательном пространстве, в том числе при наличии реверберации и интенсивных посторонних источников шума. Измеряют интенсивность звука и уровень звукового давления. В зависимости от степени реверберации и уровня шума посторонних источников определяют корректированный по A уровень звуковой мощности или уровни звуковой мощности в октавных или третьоктавных полосах частот. В соответствии с ориентировочным методом определяют только корректированный по A уровень звуковой мощности.
6 Метод по ГОСТ 30457 требует измерения интенсивности звука и одновременно уровня звукового давления в дискретных точках. Точек измерений обычно больше по сравнению с их числом согласно методам, основанным на измерениях звукового давления.
7 Метод 4 требует измерения интенсивности звука и одновременно уровня звукового давления при сканировании микрофона. Измерения проводят на части или на всей измерительной поверхности в зависимости от конфигурации испытуемого объекта. Метод обычно позволяет сократить время измерений.
Метод определения уровня звуковой мощности насоса выбирают по
таблице 1, насосного агрегата - по
таблице 2.
Звукоотражающая плоскость должна быть твердой поверхностью или поверхностью воды.
Таблица 1
Выбор метода определения уровня звуковой мощности насоса
Условия испытаний | Степень точности | Метод определения уровня звуковой мощности <b> |
Потребляемая мощность насоса P, кВт |
0,5 < P <= 15 | 15 < P <= 75 | 75 < P <= 300 | P > 300 |
Специальное испытательное помещение <a> | 2 | ГОСТ 31275, метод 2, | ГОСТ 31275, метод 2 | ГОСТ 31275 | ГОСТ 31275 |
Испытательный стенд в цехе | 2 | ГОСТ 27243 | Метод отсутствует |
3 | ГОСТ 31277, ГОСТ 27243 | ГОСТ 27243 |
На месте эксплуатации | 2 | ГОСТ 27243 (в помещении) | Метод отсутствует |
3 | ГОСТ 31277, ГОСТ 27243 (в помещении) | ГОСТ 27243 (в помещении) |
<a> Предназначено для измерений шума с точностью технического метода (степень точности 2). <b> Расшифровку методов, обозначенных номерами, см. 5.1. Примечание - Стандарты (или методы), обозначения которых выделены в таблице полужирным курсивом, - предпочтительны. Если их применение невозможно, то используют один из других указанных стандартов (или методов). |
Таблица 2
Выбор метода определения уровня
звуковой мощности насосного агрегата
Условия испытаний | Степень точности | Метод определения уровня звуковой мощности <b> |
Потребляемая мощность насоса P, кВт |
0,5 < P <= 15 | 15 < P <= 75 | 75 < P <= 300 | P > 300 |
Специальное испытательное помещение <a> | 2 | ГОСТ 31275, метод 2, | ГОСТ 31275, | ГОСТ 31275 |
Испытательный стенд в цехе | 2 | ГОСТ 31275, метод 1, ГОСТ 27243 | ГОСТ 31275, ГОСТ 27243 | ГОСТ 31275, ГОСТ 27243 | ГОСТ 27243 |
3 | ГОСТ 31277, ГОСТ 27243 | ГОСТ 31277, ГОСТ 27243 | ГОСТ 31277, ГОСТ 27243 |
На месте эксплуатации | 2 | ГОСТ 31275, ГОСТ 27243 (в помещении) | ГОСТ 27243 (в помещении) |
3 | ГОСТ 31277, ГОСТ 27243 (в помещении) | ГОСТ 31277, ГОСТ 27243 (в помещении) |
<a> Предназначено для измерений шума с точностью технического метода (степень точности 2). <b> Расшифровку методов, обозначенных номерами, см. 5.1. <c> Может быть применен на испытательном стенде в цехе, если трубопроводы хорошо звукоизолированы. Примечание - Стандарты (или методы), обозначения которых выделены в таблице полужирным курсивом, - предпочтительны. Если их применение невозможно, то используют один из других указанных стандартов (или методов). |
5.2 Требования к огибающему параллелепипеду, измерительной поверхности, положениям микрофонов и акустических зондов
5.2.1 Общие положения
При применении методов по ГОСТ 31275, ГОСТ 31277, ГОСТ 30457 или методов 3 и 4 соблюдают следующие требования.
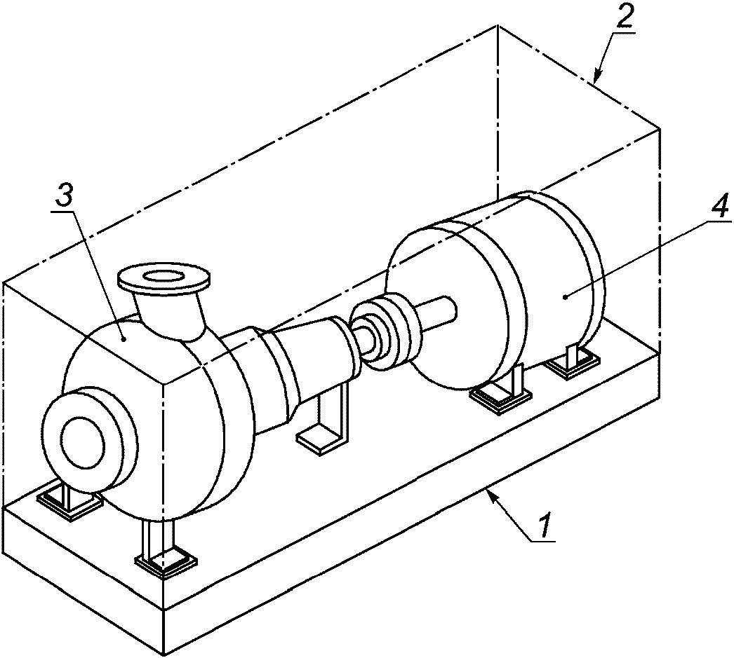
5.2.2 Огибающий параллелепипед
Огибающий параллелепипед должен иметь наименьший объем, охватывать испытуемый объект (насос с фланцами или насосный агрегат), исключая трубопроводы, а также в случае испытания насоса - приводной двигатель и трансмиссию, а также более мелкие детали, которые не влияют на уровень производимого шума. Огибающий параллелепипед опирается на звукоотражающую плоскость (твердую поверхность или поверхность воды). Примеры показаны на
рисунках 1 и
2.
1 - звукоотражающая плоскость; 2 - огибающий
параллелепипед; 3 - насос; 4 - привод
Рисунок 1 - Пример огибающего параллелепипеда
насосного агрегата
1 - звукоотражающая плоскость; 2 - огибающий
параллелепипед; 3 - насос; 4 - привод
Рисунок 2 - Пример огибающего параллелепипеда насоса
5.2.3 Измерительная поверхность и положения микрофона
Измерительная поверхность охватывает огибающий параллелепипед на заданном измерительном расстоянии d от него.
Измерительное расстояние зависит от метода измерений:
- в соответствии с методами по ГОСТ 31275 и ГОСТ 31277 предпочтительно оно должно быть равно 1 м.
Если требования к уровню фонового шума по этим методам не выполняются, то можно уменьшить измерительное расстояние, но оно не должно быть менее 0,25 м;
- в соответствии с методами по
ГОСТ 30457 или методами 3 и 4 измерительное расстояние должно быть:
- 0,2 м <= d2 <= 0,5 м для методов 3 и 4.
Измерительные поверхности (и точки измерений на них) показаны на
рисунках 3 -
6. Требования к ним приведены в
приложении A. В случае применения метода сравнения по
ГОСТ 27243 точки измерений выбирают по
10.1 указанного стандарта.
Размеры в метрах
1 - звукоотражающая плоскость; 2 - верхняя грань
измерительной поверхности; 3 - огибающий параллелепипед;
4 - медианная плоскость измерительной поверхности;

- положения микрофонов при измерениях ориентировочным
методом;

- дополнительные положения микрофонов
при измерениях техническим методом; L - высота огибающего
параллелепипеда, равная высоте верхней точки насосного
агрегата; h - высота медианной плоскости измерительной
поверхности h = (L + 1)/2; h1 - высота верхней грани
измерительной поверхности h1 = L + 1
Рисунок 3 - Типовая измерительная поверхность
и плоскости, в которых измеряют уровни
звукового давления насосного агрегата
Применительно к насосу измерительная поверхность показана на
рисунке 4. На грани поверхности, обращенной к приводу, измерения уровней звукового давления не проводят (см. также
приложение A).
Положения микрофонов для насосов различных типов и размеров указаны в
приложении B.
1 - звукоотражающая плоскость; 2 - верхняя грань
измерительной поверхности; 3 - огибающий параллелепипед;
4 - медианная плоскость измерительной поверхности;

- положения микрофонов при измерениях ориентировочным
методом;

- дополнительные положения микрофонов
при измерениях техническим методом; L - высота огибающего
параллелепипеда, равная высоте верхней точки насосного
агрегата; h - высота медианной плоскости измерительной
поверхности h = (L + 1)/2; h1 - высота верхней грани
измерительной поверхности h1 = L + 1
Рисунок 4 - Типовая измерительная поверхность и плоскости,
в которых измеряют уровни звукового давления насоса
1 - звукоотражающая плоскость; 2 - измерительная поверхность
при измерениях в дискретных точках; 3 - измерительная
поверхность при измерениях сканированием; 4 - огибающий
параллелепипед; L - высота огибающего параллелепипеда,
равная высоте верхней точки насосного агрегата;
d1 >= 0,5 м; h1 = L + d1; d2 = 0,2 - 0,5 м
Рисунок 5 - Типовые измерительные поверхности
при измерениях интенсивности звука насосного агрегата
1 - измерительная поверхность при измерениях в дискретных
точках; 2 - измерительная поверхность при измерениях
сканированием; 3 - огибающий параллелепипед; L - высота
огибающего параллелепипеда, равная высоте верхней точки
насосного агрегата; d1 >= 0,5 м; h1 = L + d1;
d2 = 0,2 - 0,5 м
Рисунок 6 - Типовые измерительные поверхности
при измерении интенсивности звука насоса
5.2.4 Положение микрофонов и акустических зондов
Расположение микрофонов или акустических зондов для измерения интенсивности звука на измерительной поверхности должно соответствовать установленному стандартом на применяемый метод измерения. Типовые положения микрофонов показаны на
рисунках 3 -
6 и в
приложении B. Однако при необходимости одно или несколько положений могут быть изменены для выполнения следующих требований:
- расстояние от микрофона до поверхности трубопровода должно быть не менее 0,5 м;
- расстояние от акустического зонда до поверхности трубопровода должно быть не менее 0,2 м.
Если точка измерений окажется на оси трубопровода или вала, то измерения в ней не проводят. Эту точку заменяют двумя точками, расположенными на направлении под углом 45° к оси согласно
рисунку 7.
a) Неправильное положение
b) Правильное положение

- положение микрофона для измерения; a - в этой точке
измерения не проводят
Рисунок 7 - Положение микрофона в особом случае
6 Определение уровня звука излучения
Уровень звука излучения определяют по
ГОСТ 30720 (метод с рассчитываемым
Q2) по известному корректированному по A уровню звуковой мощности. Принимают, что определенный таким образом уровень звука излучения равен среднему уровню звука излучения на поверхности, указанной в
6.2. Если значение
Q2 неизвестно, то допускается применять другие подходящие методы по
ГОСТ 31171.
6.2 Условное рабочее место
Поскольку гидравлические насосы (насосные агрегаты) не имеют рабочего места, уровень звука излучения определяют на условном рабочем месте, в качестве которого принимают поверхность в форме параллелепипеда, отстоящую от огибающего параллелепипеда на 1 м.
6.3 Неопределенность измерений
Неопределенность измерений при применении метода по ГОСТ 30720 указана в стандарте на используемый метод определения уровня звуковой мощности, при применении других методов - в соответствующем стандарте на метод измерения уровня звука излучения.
7 Условия установки и монтажа
Условия установки и монтажа зависят от требуемой степени точности измерений. Требования к уровню фонового шума метода на основе измерения интенсивности звука менее жесткие, чем методов на основе измерения уровней звукового давления, поскольку при измерениях интенсивности звука практически исключено влияние посторонних источников шума, таких как трубопроводы и их арматура.
7.2 Место проведения испытаний
7.2.1 Общие положения
Испытания могут быть проведены:
- на месте эксплуатации;
- на испытательном стенде в цехе;
- в специальном испытательном помещении.
Испытания, проводимые на испытательном стенде в цехе, за исключением испытаний маломощных механизмов при помощи безэховой испытательной камеры, проводят только в рекомендательных целях, а их результаты не учитываются при проектировании в связи с тем, что такие стенды подвержены воздействию вибрации рядом стоящих механизмов, что негативно сказывается на точности измерений.
7.2.2 Испытания на месте эксплуатации
Для улучшения акустических условий следует (см.
9.2):
- звукоизолировать трубопроводы на время испытаний;
- проводить испытания при работе минимального числа других источников шума;
- экранировать привод и трансмиссию при измерениях шума насоса;
- покрывать звукопоглощающими материалами поверхности, отражающие звук.
7.2.3 Испытания на испытательном стенде в цехе
Шум запорно-регулирующей арматуры в линии нагнетания и в трубопроводах обвязки не должен влиять на результаты испытаний.
Предпочтительна арматура с низким уровнем шума.
При испытаниях следует при необходимости:
- звукоизолировать трубопроводы обвязки;
- сократить до минимума число других источников шума;
- экранировать привод и трансмиссию при измерениях шума насоса;
- покрывать звукопоглощающими материалами поверхности, отражающие звук;
- применять средства снижения вибрации.
7.2.4 Испытания в специальном испытательном помещении
При испытаниях в специальном испытательном помещении как минимум:
- используют трубопроводную арматуру с низким уровнем шума;
- исключают эффект стоячей волны в подводящем и отводящем трубопроводах (например, используя заглушенные окончания на выходе перекачиваемой жидкости);
- звукоизолируют подводящие и отводящие трубопроводы;
- снижают вибрацию опорных поверхностей насоса или насосного агрегата;
- исключают механический резонанс;
- звукоизолируют привод и трансмиссию при измерениях шума насоса;
- исключают наличие воздуха в перекачиваемой жидкости, например закольцовывая насос.
8 Рабочий режим при проведении измерений
8.1 Общие положения
Измерения следует проводить при работе с гидравлической жидкостью по
8.2 в рабочей точке на характеристике насоса. Рабочая точка должна соответствовать:
- наибольшему коэффициенту полезного действия насоса при номинальных условиях;
- для насосов массового производства максимальному значению произведения Q·H (где Q - подача насоса, л/с; H - напор насоса, м).
Примечание - В контрактных требованиях могут быть указаны другие рабочие точки.
Если мощность испытательного стенда ограничена, то измерения проводят при пониженных нагрузках, рассчитанных на основе законов преобразования (подобия).
Рабочая жидкость должна соответствовать жидкости, используемой при испытаниях по определению гидравлических характеристик насоса.
При измерении шума насос должен работать с кавитационным запасом большим, чем допускаемый кавитационный запас, и давлением на входе большим, чем требуется для обеспечения работы насоса без изменения основных технических показателей.
Примечание - Кавитационный шум может значительно увеличивать уровень излучения звука.
При измерениях шума объемные насосы должны работать на номинальном режиме, указанном в технических условиях.
9 Регистрируемая информация
9.1 Общие положения
Регистрируемая информация включает в себя всю информацию, требуемую стандартом.
Отклонения от требований настоящего стандарта или стандарта на примененный метод измерения шума указывают вместе с причинами отклонений.
В протокол испытаний включают как минимум следующую информацию, необходимую изготовителю для заявления значений шумовых характеристик:
a) полное наименование насоса (насосного агрегата);
b) технические характеристики насоса (насосного агрегата);
c) отметку о том, что испытания проведены в соответствии с настоящим стандартом и стандартом на примененный метод измерения шума из числа указанных в настоящем стандарте;
d) утверждение о том, что требования настоящего стандарта и стандарта на примененный метод измерения шума соблюдены полностью. В противном случае указывают допущенные отклонения от требований стандартов и их причины;
e) описание условий испытаний по
7.2 и режима работы. Для измерений на месте эксплуатации к протоколу прилагают фотографию положения испытуемого объекта в испытательном пространстве;
f) полученные значения шумовых характеристик: корректированного по A уровня звуковой мощности, уровня звука излучения и по возможности уровни звуковой мощности в полосах частот.
Примечание - Протокол может также содержать информацию о контрактных требованиях к насосу (насосному агрегату).
10 Заявление и контроль значений шумовых характеристик
Заявление и контроль значений шумовых характеристик выполняют по
ГОСТ 30691. Изготовитель должен заявить корректированный по A уровень звуковой мощности и уровень звука излучения на условном рабочем месте по
6.2. В заявлении отмечают, что значения шумовых характеристик получены согласно настоящему стандарту, а также указывают стандарт на примененный метод определения шумовых характеристик и все отклонения от требований стандартов.
Шумовую характеристику заявляют в форме двухчислового значения по
ГОСТ 30691. Указывают как показатели уровня шума
L (
LpA и
LWA), так и параметр неопределенности измерений
K (
KpA и
KWA).
В качестве базовых значений K принимают:
- для технического метода (степень точности 2): K = KWA = KpA = 2,5 дБA;
- для ориентировочного метода (степень точности 3): K = KWA = KpA = 4 дБA.
Контроль шумовых характеристик (верификацию) проводят при тех же условиях монтажа и режиме работы насоса (насосного агрегата), что и при определении их заявленных значений. Контроль проводят по методу единичной машины по
ГОСТ 30691 и
6.2.
В заявление могут быть включены дополнительно уровни звуковой мощности в октавных полосах частот. В этом случае следует указать, что дополнительная информация является справочной и не подлежит контролю по
ГОСТ 30691.
(обязательное)
ИЗМЕРИТЕЛЬНАЯ ПОВЕРХНОСТЬ ДЛЯ НАСОСА
A.1 Измерение звукового давления на измерительной поверхности
Согласно
5.2.3 на измерительной поверхности, обращенной к приводу насоса, измерения не выполняют. Данное положение объясняется тем, что уровни звукового давления на указанной части измерительной поверхности зависят от шума привода насоса.
При расчете уровня звуковой мощности из площади измерительной поверхности, S, исключают площадь грани, на которой не проводят измерений.
A.2 Измерение интенсивности звука
Измерительное расстояние - по
5.2.3. Однако, принимая во внимание измерения на грани измерительной поверхности между насосом и приводом, соблюдают следующие требования:
- измерительная поверхность должна проходить через середину муфты, как показано на
рисунке A.1;
- если условия измерений не позволяют обеспечить измерительное расстояние, указанное в
5.2.3, то выбирают меньшее расстояние.
1 - привод; 2 - насос
Рисунок A.1 - Типовое расположение измерительной
поверхности при измерении интенсивности звука
(обязательное)
ПОЛОЖЕНИЕ МИКРОФОНОВ ДЛЯ ИЗМЕРЕНИЯ УРОВНЯ
ЗВУКОВОГО ДАВЛЕНИЯ НАСОСНОГО АГРЕГАТА
B.1 Общие положения
Устанавливаемые настоящим приложением точки измерений не в полной мере соответствуют ГОСТ 31275 и ГОСТ 31277.
Примечание - Для насосного агрегата рекомендуется располагать точки измерений на измерительных расстояниях, отсчитываемых от насоса и привода.
B.2 Горизонтальные насосные агрегаты
B.2.1 Горизонтальные насосные агрегаты габаритными размерами менее 1 м
Размеры в метрах
a) Медианная плоскость измерительной поверхности
b) Верхняя грань измерительной поверхности
1 - огибающий параллелепипед; 2 - привод; 3 - насос;

- положения микрофонов для ориентировочного метода
Рисунок B.1 - Положения микрофонов
B.2.2 Горизонтальные насосные агрегаты габаритными размерами от 1 до 4 м
Размеры в метрах
a) Медианная плоскость измерительной поверхности
b) Верхняя грань измерительной поверхности
1 - огибающий параллелепипед; 2 - привод; 3 - насос;

- положения микрофонов для ориентировочного метода
Рисунок B.2 - Положения микрофонов
B.2.3 Горизонтальные насосные агрегаты габаритными размерами более 4 м
Размеры в метрах
a) Медианная плоскость измерительной поверхности
b) Верхняя грань измерительной поверхности
1 - огибающий параллелепипед; 2 - привод; 3 - насос;

- положения микрофонов для ориентировочного метода
Рисунок B.3 - Положения микрофонов
B.2.4 Горизонтальные насосные агрегаты с редуктором
Если между приводом и насосом имеется редуктор, то вводят дополнительные точки измерений.
Размеры в метрах
a) Медианная плоскость измерительной поверхности
b) Верхняя грань измерительной поверхности
1 - огибающий параллелепипед; 2 - привод; 3 - насос;
4 - редуктор;

- дополнительные точки измерений;

- положения микрофонов для ориентировочного метода
Рисунок B.4 - Положения микрофонов
B.3 Вертикальные насосные агрегаты высотой от 1 до 5 м
B.3.1 Соосные насос и привод
1 - микрофон на вертикальной оси; 2 - привод; 3 - микрофоны
на плоскости сочленения привода и насоса;
4 - звукоотражающая плоскость; 5 - огибающий параллелепипед;
6 - насос;

- положения микрофонов для ориентировочного
метода;

и

- положения микрофонов для технического
метода
Рисунок B.5 - Положения микрофонов
B.3.2 Несоосные насос и привод
1 - микрофон на оси привода; 2 - привод; 3 - микрофоны
на плоскости сочленения привода и насоса;
4 - звукоотражающая плоскость; 5 - огибающий параллелепипед;
6 - насос;

- положения микрофонов для ориентировочного
метода;

и

- положения микрофонов для технического
метода
Рисунок B.6 - Положения микрофонов
(справочное)
СВЕДЕНИЯ О СООТВЕТСТВИИ ССЫЛОЧНЫХ МЕЖГОСУДАРСТВЕННЫХ
СТАНДАРТОВ МЕЖДУНАРОДНЫМ СТАНДАРТАМ, ИСПОЛЬЗОВАННЫМ
В КАЧЕСТВЕ ССЫЛОЧНЫХ В ПРИМЕНЕННОМ МЕЖДУНАРОДНОМ СТАНДАРТЕ
Таблица ДА.1
Обозначение ссылочного межгосударственного стандарта | Степень соответствия | Обозначение и наименование ссылочного международного стандарта |
| IDT | ISO 17769-1-2012 "Насосы и установки жидкостные. Общие термины, определения, величины, буквенные обозначения и единицы. Часть 1. Жидкостные насосы" |
ГОСТ 27243-2005 (ИСО 3747:2000) | MOD | ISO 3747:2000 "Акустика. Определение уровней звуковой мощности источников шума с помощью звукового давления. Метод сравнения на месте" |
| MOD | ISO 9614-1:1993 "Акустика. Определение уровней звуковой мощности источников шума по интенсивности звука. Часть 1. Измерение в дискретных точках" |
| MOD | ISO 4871:1996 "Акустика. Заявленные значения шумоизлучения машин и оборудования и их проверка" |
ГОСТ 30720-2001 (ИСО 11203-95) | MOD | ISO 11203:1995 "Акустика. Шум, издаваемый машинами и оборудованием. Измерение уровней звукового давления на рабочем месте и в других установленных точках в зависимости от уровня звуковой мощности" |
ГОСТ 31171-2003 (ИСО 11200:1995) | MOD | ISO 11200:1995 "Акустика. Шум, издаваемый машинами и оборудованием. Руководящие указания по применению базовых норм для определения уровней звукового давления на рабочем месте и в других установленных местах" |
ГОСТ 31252-2004 (ИСО 3740:2000) | MOD | ISO 3740:2000 "Акустика. Определение уровней звуковой мощности источников шума. Руководящие указания по применению основополагающих стандартов" |
ГОСТ 31275-2002 (ИСО 3744-94) | MOD | ISO 3744:1994 "Акустика. Определение уровней звуковой мощности источников шума с использованием звукового давления. Технический метод в условиях свободного звукового поля над отражающей поверхностью" |
ГОСТ 31276-2002 (ИСО 3743-1-94, ИСО 3743-2-94) | MOD | ISO 3743-1:1994 "Акустика. Определение уровней звуковой мощности источников шума. Технические методы для небольших подвижных источников в реверберационных полях. Часть 1. Сравнительный метод для твердостенных испытательных камер" ISO 3743-2:1994 "Акустика. Определение уровней звуковой мощности источников шума с использованием звукового давления. Технические методы для небольших подвижных источников в реверберационных полях. Часть 2. Методы для специальных реверберационных испытательных камер" |
ГОСТ 31277-2002 (ИСО 3746-95) | MOD | ISO 3746:1995 "Акустика. Определение уровня звуковой мощности источников шума по звуковому давлению. Контрольный метод с использованием огибающей поверхности измерения над плоскостью отражения" |
Примечание - В настоящей таблице использованы следующие условные обозначения степени соответствия стандартов: - IDT - идентичные стандарты; - MOD - модифицированные стандарты. |
[1] | ISO 12100-1 | Safety of machinery - Basic concepts, general principles for design - Part 1: Basic terminology, methodology (Безопасность машин. Основные понятия, общие принципы расчета. Часть 1. Основная терминология, методология) |
[2] | ISO 12100-2 | Safety of machinery - Basic concepts, general principles for design - Part 2: Technical principles (Безопасность машин. Основные понятия, общие принципы расчета. Часть 2. Технические принципы) |
УДК 62-762.6:006.354 | | MOD |
Ключевые слова: насосы, шум, вибрация, испытания на шум |