Главная // Актуальные документы // ГОСТ (Государственный стандарт)СПРАВКА
Источник публикации
М.: Стандартинформ, 2018
Примечание к документу
Текст данного документа приведен с учетом
поправки, опубликованной в "ИУС", N 12, 2021;
поправки, введенной в действие с 23.08.2021, опубликованной в "ИУС", N 1, 2022.
Документ включен в
Перечень международных и региональных (межгосударственных) стандартов, а в случае их отсутствия - национальных (государственных) стандартов, в результате применения которых на добровольной основе обеспечивается соблюдение требований технического
регламента Таможенного союза "О безопасности машин и оборудования" (ТР ТС 010/2011) (
Решение Коллегии Евразийской экономической комиссии от 09.03.2021 N 28).
Документ
введен в действие с 01.08.2018.
Название документа
"ГОСТ 34233.3-2017. Межгосударственный стандарт. Сосуды и аппараты. Нормы и методы расчета на прочность. Укрепление отверстий в обечайках и днищах при внутреннем и наружном давлениях. Расчет на прочность обечаек и днищ при внешних статических нагрузках на штуцер"
(введен в действие Приказом Росстандарта от 14.12.2017 N 1991-ст)
"ГОСТ 34233.3-2017. Межгосударственный стандарт. Сосуды и аппараты. Нормы и методы расчета на прочность. Укрепление отверстий в обечайках и днищах при внутреннем и наружном давлениях. Расчет на прочность обечаек и днищ при внешних статических нагрузках на штуцер"
(введен в действие Приказом Росстандарта от 14.12.2017 N 1991-ст)
агентства по техническому
регулированию и метрологии
от 14 декабря 2017 г. N 1991-ст
МЕЖГОСУДАРСТВЕННЫЙ СТАНДАРТ
СОСУДЫ И АППАРАТЫ
НОРМЫ И МЕТОДЫ РАСЧЕТА НА ПРОЧНОСТЬ
УКРЕПЛЕНИЕ ОТВЕРСТИЙ В ОБЕЧАЙКАХ И ДНИЩАХ ПРИ ВНУТРЕННЕМ
И НАРУЖНОМ ДАВЛЕНИЯХ. РАСЧЕТ НА ПРОЧНОСТЬ ОБЕЧАЕК И ДНИЩ
ПРИ ВНЕШНИХ СТАТИЧЕСКИХ НАГРУЗКАХ НА ШТУЦЕР
Vessels and apparatus. Norms and methods of strength
calculation. Reinforcement of openings in shells
and bottoms under internal and external pressure.
Strength calculation of shells and bottoms under
external static loads on the nozzle
(ISO 16528-1:2007, NEQ)
(ISO 16528-2:2007, NEQ)
ГОСТ 34233.3-2017
Дата введения
1 августа 2018 года
Цели, основные принципы и основной порядок проведения работ по межгосударственной стандартизации установлены в
ГОСТ 1.0-2015 "Межгосударственная система стандартизации. Основные положения" и
ГОСТ 1.2-2015 "Межгосударственная система стандартизации. Стандарты межгосударственные, правила и рекомендации по межгосударственной стандартизации. Правила разработки, принятия, обновления и отмены"
1 РАЗРАБОТАН Межгосударственным техническим комитетом по стандартизации МТК 523 "Техника и технологии добычи и переработки нефти и газа"; Закрытым акционерным обществом "ПЕТРОХИМ ИНЖИНИРИНГ" (ЗАО "ПХИ"); Акционерным обществом "Всероссийский научно-исследовательский и проектно-конструкторский институт нефтяного машиностроения" (АО "ВНИИНЕФТЕМАШ"); Обществом с ограниченной ответственностью "Научно-техническое предприятие ЦЕНТРХИММАШ" (ООО "НТП ЦЕНТРХИММАШ"); Акционерным обществом "Научно-исследовательский и конструкторский институт химического машиностроения" (АО "НИИХИММАШ")
2 ВНЕСЕН Федеральным агентством по техническому регулированию и метрологии
3 ПРИНЯТ Межгосударственным советом по стандартизации, метрологии и сертификации (протокол от 14 июля 2017 г. N 101-П)
За принятие проголосовали:
Краткое наименование страны по МК (ИСО 3166) 004-97 | Код страны по МК (ИСО 3166) 004-97 | Сокращенное наименование национального органа по стандартизации |
Азербайджан | AZ | Азстандарт |
Армения | AM | Минэкономики Республики Армения |
Беларусь | BY | Госстандарт Республики Беларусь |
Казахстан | KZ | Госстандарт Республики Казахстан |
Киргизия | KG | Кыргызстандарт |
Россия | RU | Росстандарт |
Туркмения | TM | Главгосслужба "Туркменстандартлары" |
Узбекистан | UZ | Узстандарт |
Украина | UA | Минэкономразвития Украины |
4
Приказом Федерального агентства по техническому регулированию и метрологии от 14 декабря 2017 г. N 1991-ст межгосударственный стандарт ГОСТ 34233.3-2017 введен в действие в качестве национального стандарта Российской Федерации с 1 августа 2018 г.
5 В настоящем стандарте учтены основные нормативные положения следующих международных стандартов:
- ISO 16528-1:2007 "Котлы и сосуды, работающие под давлением. Часть 1. Требования к рабочим характеристикам" ("Boilers and pressure vessels - Part 1: Performance requirements", NEQ);
- ISO 16528-2:2007 "Котлы и сосуды, работающие под давлением. Часть 2. Процедуры выполнения требований ISO 16528-1" ("Boilers and pressure vessels - Part 2: Procedures for fulfilling the requirements of ISO 16528-1", NEQ)
--------------------------------
7 ВВЕДЕН ВПЕРВЫЕ
Информация об изменениях к настоящему стандарту публикуется в ежегодном информационном указателе "Национальные стандарты", а текст изменений и поправок - в ежемесячном информационном указателе "Национальные стандарты". В случае пересмотра (замены) или отмены настоящего стандарта соответствующее уведомление будет опубликовано в ежемесячном информационном указателе "Национальные стандарты". Соответствующая информация, уведомление и тексты размещаются также в информационной системе общего пользования - на официальном сайте Федерального агентства по техническому регулированию и метрологии в сети Интернет (www.gost.ru)
Настоящий стандарт устанавливает нормы и методы расчета на прочность укрепления отверстий в цилиндрических и конических обечайках, конических переходах, выпуклых днищах и крышках сосудов и аппаратов, работающих под действием внутреннего избыточного или наружного давления, применяемых в химической, нефтегазоперерабатывающей и других отраслях промышленности.
В настоящем стандарте также приведен метод расчета на прочность обечаек и днищ при совместном действии внутреннего избыточного давления и внешних статических нагрузок на штуцер и нагружения, вызванного стесненностью температурных деформаций.
Настоящий стандарт применяется совместно с
ГОСТ 34233.1 и действителен при условии, что толщины стенок обечаек, переходов и днищ отвечают условиям прочности и устойчивости в соответствии с
ГОСТ 34233.2.
В настоящем стандарте использованы нормативные ссылки на следующие стандарты:
ГОСТ 34233.1-2017 Сосуды и аппараты. Нормы и методы расчета на прочность. Общие требования
ГОСТ 34233.2-2017 Сосуды и аппараты. Нормы и методы расчета на прочность. Расчет цилиндрических и конических обечаек, выпуклых и плоских днищ и крышек
ГОСТ 34233.6-2017 Сосуды и аппараты. Нормы и методы расчета на прочность. Расчет на прочность при малоцикловых нагрузках
Примечание - При пользовании настоящим стандартом целесообразно проверить действие ссылочных стандартов в информационной системе общего пользования - на официальном сайте Федерального агентства по техническому регулированию и метрологии в сети Интернет или по ежегодному информационному указателю "Национальные стандарты", который опубликован по состоянию на 1 января текущего года, и по выпускам ежемесячного информационного указателя "Национальные стандарты" за текущий год. Если ссылочный стандарт заменен (изменен), то при пользовании настоящим стандартом следует руководствоваться заменяющим (измененным) стандартом. Если ссылочный стандарт отменен без замены, то положение, в котором дана ссылка на него, применяется в части, не затрагивающей эту ссылку.
В настоящем стандарте применены следующие обозначения:
A | - | расчетная площадь вырезанного сечения обечайки или днища, подлежащего компенсации (см. рисунок А.1 приложения А), мм 2; |
A1 | - | площадь укрепляющего сечения внешней части штуцера (см. рисунок А.1 приложения А), мм 2; |
A2 | - | площадь поперечного сечения накладного кольца, мм2; |
A3 | - | площадь укрепляющего сечения внутренней части штуцера (см. рисунок А.1 приложения А), мм 2; |
a0, a1, a2, a3, a4 | - | коэффициенты разложения в степенной ряд; |
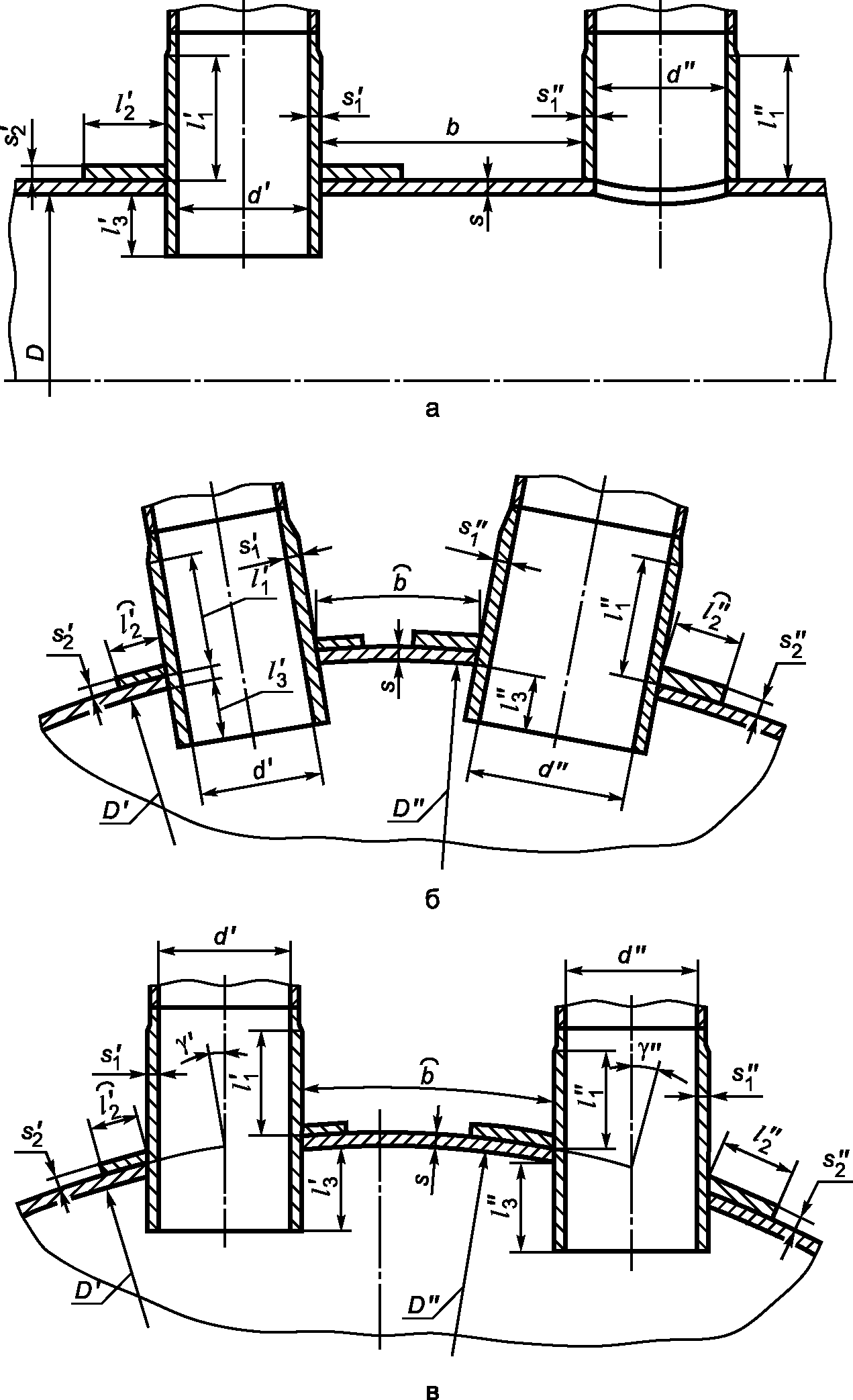
b | - | минимальное расстояние между наружными поверхностями двух соседних штуцеров, измеряемое по поверхности укрепляемого элемента (см. рисунки А.8 и А.9 приложения А), мм; |
c | - | сумма прибавок к расчетной толщине стенки обечайки, перехода или днища, мм; |
C1, C2, C3, C4 | - | параметры; |
cs,  ,  | - | сумма прибавок к расчетным толщинам стенок штуцеров, мм; |
cs1,  ,  | - | прибавка для компенсации коррозии стенки внутренней части штуцера, мм; |
D | - | внутренний диаметр цилиндрической обечайки или выпуклого днища, мм; |
Dк | - | внутренний диаметр конической обечайки по центру укрепляемого отверстия, мм; |
Dр,  ,  | - | расчетные внутренние диаметры укрепляемых элементов, мм; |
Dс | - | диаметр срединной поверхности обечайки у отверстия, мм; |
D2 | - | наружный диаметр накладного кольца, мм; |
d, d', d" | - | внутренние диаметры штуцеров, мм; |
d0 | - | наибольший допустимый диаметр одиночного отверстия, не требующего дополнительного укрепления, при наличии избыточной толщины стенки сосуда, мм; |
d0р | - | расчетный диаметр отверстия, не требующего укрепления, при отсутствии избыточной толщины стенки сосуда (см. рисунок А.1 приложения А), мм; |
d1 | - | максимальная ось симметрии отверстия некруглой формы или большая ось овального отверстия (см. рисунки А.11 а и А.16 приложения А), мм; |
d2 | - | минимальная ось симметрии отверстия некруглой формы или малая ось овального отверстия (см. рисунки А.11 а и А.16 приложения А), мм; |
dр | - | расчетный диаметр отверстия, мм; |
dс | - | диаметр срединной поверхности штуцера, мм; |
dmax | - | максимальный диаметр отверстия, мм; |
e | - | расстояние от наружной поверхности штуцера до внешнего края днища (см. рисунок А.13 приложения А), мм; |
Fz, Fx, Fy | - | внешняя осевая и внешние поперечные силы в месте пересечения оси штуцера с образующей цилиндрической обечайки или выпуклого днища (см. рисунок Б.1 приложения Б), Н; |
[F] | - | допускаемая сжимающая осевая сила, определяемая из условия прочности обечайки штуцера, Н; |
[Fz] | - | допускаемое осевое усилие на штуцер, Н; |
[Fz]; [Fz1]; [Fz2] | - | допускаемые осевые усилия из условия прочности обечайки и выпуклых днищ, Н; |
H | - | высота выпуклой части эллиптического днища до внутренней поверхности, мм; |
K1, K2, K3, K4 | - | вспомогательные коэффициенты; |
| - | эффективный коэффициент концентрации напряжений; |
L0 | - | ширина зоны укрепления отверстия (см. рисунок А.1 приложения А), мм; |
Lк | - | расстояние от наружной поверхности штуцера до ближайшего несущего конструктивного элемента (см. рисунок А.14 приложения А), мм; |
L2 | - | расчетная ширина зоны укрепления при наличии общего накладного кольца для двух отверстий, мм; |
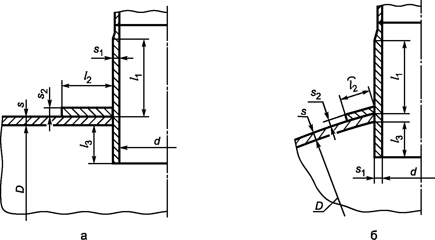
l | - | исполнительная ширина торообразной вставки или вварного кольца (см. рисунок А.7 приложения А), мм; |
lр | - | расчетная ширина зоны укрепления в стенке обечайки, перехода или днища в окрестности штуцера или торообразной вставки, мм; |
| - | |
l1р, l3р | - | расчетные длины штуцера (см. рисунок А.1 приложения А), мм; |
| - | расчетные длины взаимовлияющих штуцеров, мм; |
l2,  ,  | - | |
l2р | - | расчетная ширина накладного кольца, мм; |
l5 | - | расстояние от центральной оси выпуклого днища до наиболее удаленной точки кромки отверстия (см. рисунок Б.1 б приложения Б), мм; |
Mb | - | внешний изгибающий момент в месте пересечения оси штуцера с образующей выпуклого днища (см. рисунок Б.1 б приложения Б), Н·мм; |
Mx | - | внешний изгибающий момент в окружном направлении в месте пересечения оси штуцера с образующей цилиндрической обечайки (см. рисунок Б.1 а приложения Б), Н·мм; |
My | - | внешний изгибающий момент в продольном направлении в месте пересечения оси штуцера с образующей цилиндрической обечайки (см. рисунок Б.1 а приложения Б), Н·мм; |
Mz | - | крутящий момент в месте пересечения оси штуцера с образующей обечайки (см. рисунок Б.1 а приложения Б), Н·мм; |
[M] | - | допускаемый изгибающий момент, определяемый из условия прочности обечайки штуцера, Н·мм; |
[Mx]; [Mx1]; [Mx2]; [My]; [My1]; [My2] | - | допускаемые изгибающие моменты из условия прочности обечайки, Н·мм; |
[Mb]; [Mb1]; [Mb2] | - | допускаемые изгибающие моменты из условия прочности выпуклых днищ, Н·мм; |
p | - | расчетное давление в сосуде или аппарате (внутреннее избыточное или наружное), МПа; |
ppn | - | расчетное наружное давление для определения толщины стенки сосуда или аппарата с отверстием, не требующим дополнительного укрепления, МПа; |
[p] | - | допускаемое давление в элементе, МПа; |
[p]п | - | допускаемое давление в пределах пластичности из условия прочности, МПа; |
[p]E | - | допускаемое давление в пределах упругости из условия устойчивости, определяемое для соответствующих обечайки и днища без отверстий по ГОСТ 34233.2, МПа; |
R | - | наибольший внутренний радиус кривизны выпуклого днища, мм; |
Rс | - | радиус кривизны срединной поверхности выпуклого днища у отверстия, мм; |
Rн | - | радиус кругового накладного кольца при совместном укреплении отверстий (см. рисунок А.9 приложения А), мм; |
R' | - | радиус несимметричного накладного кольца около отверстия диаметром d' (см. рисунок А.9 приложения А), мм; |
R" | - | радиус несимметричного накладного кольца около отверстия диаметром d" (см. рисунок А.9 приложения А), мм; |
r | - | радиус отбортовки по внутренней поверхности укрепляемого элемента или торовой части торообразной вставки (см. рисунки А.6 и А.7 а приложения А), мм; |
s | - | исполнительная толщина стенки обечайки, перехода или днища в зоне расположения штуцера, а также толщина торообразной вставки или вварного кольца, мм; |
s0 | - | исполнительная толщина стенки обечайки, перехода или днища за пределами торообразной вставки или вварного кольца (см. рисунок А.7 приложения А), мм; |
sр | - | расчетная толщина стенки обечайки, перехода или днища, а также расчетная толщина торообразной вставки или вварного кольца, мм; |
sэ | - | эквивалентная толщина стенки, мм; |
spn | - | расчетная толщина стенки обечайки, перехода или днища для определения диаметра отверстия, не требующего дополнительного укрепления, мм; |
s1,  ,  | - | исполнительные толщины стенок штуцеров, мм; |
s1р,  ,  | - | расчетные толщины стенок штуцеров, мм; |
s2,  ,  | - | исполнительные толщины накладных колец, мм; |
s3,  ,  | - | исполнительные толщины внутренних частей штуцеров, мм; |
t | - | длина отверстия в окружном направлении (см. рисунок А.12 приложения А), мм; |
V | - | расчетный коэффициент снижения прочности стенки цилиндрической и конической обечаек или выпуклых днищ, ослабленных отверстиями, при действии внутреннего избыточного или наружного давления; |
x | - | расстояние от центра укрепляемого отверстия до оси эллиптического днища, мм; |
| - | коэффициенты концентрации напряжений около штуцера; |
| - | половина угла при вершине конической обечайки, град; |
| - | угол между линией, соединяющей центры двух взаимовлияющих отверстий, и образующей обечайки (см. рисунок А.10 а приложения А), град; |
 ,  | - | углы между линиями, соединяющими центры двух взаимовлияющих отверстий, и образующей обечайки (см. рисунок А.17 приложения), град; |
| - | угол между осью наклонного штуцера и нормалью к поверхности обечайки или днища в точке пересечения оси штуцера с внешней поверхностью обечайки или днища (см. рисунки А.11 б, А.13 а приложения А), град; |
 ,  | - | углы между осями наклонных штуцеров и нормалями к поверхности обечаек или днищ в случае взаимовлияющих отверстий (см. рисунок А.8 в приложения А), град; |
| - | геометрический параметр для цилиндрической обечайки; |
| - | геометрический параметр для выпуклого днища; |
| - | амплитуда напряжений, МПа; |
| - | расчетные напряжения, МПа; |
| - | размахи напряжений, МПа; |
| - | допускаемое напряжение для материала обечайки, конического перехода или выпуклого днища при расчетной температуре, МПа; |
| - | допускаемое напряжение для материала внешней части штуцера при расчетной температуре, МПа; |
| - | допускаемое напряжение для материала накладного кольца при расчетной температуре, МПа; |
| - | допускаемое напряжение для материала внутренней части штуцера при расчетной температуре, МПа; |
| - | допускаемое напряжение для материала торообразной вставки или вварного кольца при расчетной температуре, МПа; |
Фp, Фz, Фb | - | отношения нагрузок; |
| - | коэффициент прочности сварного соединения; |
| - | коэффициенты прочности продольных сварных швов штуцеров; |
| - | отношения допускаемых напряжений; |
| - | угол между плоскостью, проходящей через ось продольного шва штуцера и ось этого штуцера, и плоскостью продольного осевого сечения цилиндрической или конической обечайки, проходящей через центр отверстия (см. рисунок А.15 приложения А), град; |
 ,  | - | углы между плоскостями, проходящими через оси и продольные швы штуцеров, и плоскостью, проходящей через оси штуцеров (см. рисунок А.15 приложения А), град; |
| - | угол между большей осью овального отверстия и проекцией образующей обечайки на плоскость продольного осевого сечения сосуда (см. рисунки А.11 а и А.16 приложения А), град. |
4.1 Свойства материалов, требования к конструкции, изготовлению и контролю должны отвечать требованиям нормативных документов на сосуды и аппараты.
4.2 Расчет укрепления отверстий в обечайках и днищах основан на теории предельных нагрузок. В настоящем стандарте приведены условия прочности цилиндрических обечаек, конических переходов и выпуклых днищ, ослабленных круглыми и овальными отверстиями. Теория предельных нагрузок предполагает, что материал в условиях эксплуатации пластичен.
4.3 Расчет укрепления отверстий в обечайках и днищах под действием внутреннего избыточного или наружного давления представлен в
разделе 5 в форме модифицированного метода замещения площадей.
4.4 Пределы применения расчетных формул настоящего стандарта ограничиваются условиями, приведенными в таблице 1. Кроме того, методика расчета на прочность обечаек и днищ при внешних статических нагрузках на штуцер применима при выполнении условий, приведенных в
6.1.1 и
6.2.1.
Таблица 1
Пределы применения расчетных формул
Наименование параметра | Пределы применения формул для расчета укрепления отверстий |
в цилиндрических обечайках | в конических обечайках, переходах или днищах (крышках) | в эллиптических днищах (крышках) | в сферических и торосферических днищах (крышках) |
Отношение диаметров <1> | | | | |
Отношение толщины стенки обечайки или днища к диаметру <2> | | | | |
<1> При расчете на прочность обечаек и днищ при внешних статических нагрузках на штуцер для цилиндрических обечаек  , для выпуклых днищ и крышек -  . <2> Допускается выполнять расчет укрепления отверстий в трубах диаметром D < 200 мм при  по разделу 5. |
4.5 Расчет на прочность обечаек и днищ под совместным действием давления, внешних статических нагрузкок на штуцер и нагружения, вызванного стесненностью температурных деформаций, представлен в
разделе 6. В стандарте приведены условия прочности цилиндрических обечаек и выпуклых днищ в зонах врезки штуцеров с круглым поперечным сечением, нормально расположенных к поверхности.
При выполнении расчета в соответствии с
разделом 6 обязательным является также проведение расчета укрепления отверстий при действии только давления в соответствии с
разделом 5.
4.6 Если сосуд работает в условиях малоциклового нагружения, то в дополнение к расчету узлов врезки штуцеров по настоящему стандарту выполняют расчет на малоцикловую прочность в соответствии с
ГОСТ 34233.6.
4.7 В тех случаях, когда соотношения размеров превышают пределы, указанные в
таблице 1 или в
6.1.1 и
6.2.1, или когда материал не обладает достаточной пластичностью, или когда по каким-либо другим параметрам и условиям эксплуатации не выполняются условия применения настоящего стандарта, допускается применять другие методы расчета. Методы определения напряжений могут быть численными, аналитическими или экспериментальными. Для качественного определения напряжений рекомендуется использование проверенных и общепризнанных методов. Ответственность за выбранную методику расчета и правильность результатов расчета несет организация, выполнявшая расчет.
Проверку выполнения условий прочности проводят в соответствии с ГОСТ 34233.1
(пункт 8.10).
5 Расчет укрепления отверстий при действии давления
5.1 Условия применения расчетных формул
5.1.1 Расчетные формулы применимы при отношениях диаметров отверстий и расчетных толщин стенок укрепляемых элементов к внутреннему диаметру цилиндрических обечаек, конических переходов и выпуклых днищ, представленных в
таблице 1.
Расчетные схемы узлов соединения штуцеров с обечайками и днищами приведены в
приложении А.
Рисунки настоящего стандарта не определяют конструкции, а являются справочными для указания необходимых расчетных размеров.
Основная расчетная схема соединения штуцера со стенкой сосуда или аппарата представлена на
рисунке А.2 приложения А.
Расчет укрепления отверстий при действии внутреннего давления можно проводить как относительно величины допускаемого давления - в соответствии с
5.3.2, так и относительно необходимых площадей укрепляющих элементов - в соответствии с
5.3.4.
Расчет укрепления отверстий при действии наружного давления следует проводить в соответствии с
5.3.3.
Учет взаимного влияния отверстий в сосудах и аппаратах при расчете укрепления отверстий производится в соответствии с
5.4.
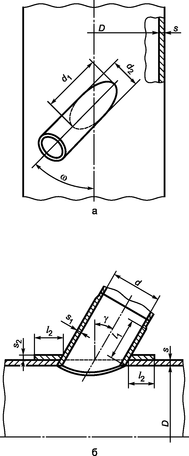
5.1.2 При установке наклонных штуцеров с круговым поперечным сечением на цилиндрических и конических обечайках метод расчета укрепления отверстий на основе теории предельного равновесия применим, если угол

(см.
рисунок А.11 б приложения А) не превышает 45°, а отношение осей овального отверстия
d1 и
d2 (см.
рисунок А.11 а приложения А) удовлетворяет условию

(1)
Эти ограничения не распространяются на тангенциальные штуцеры (см.
рисунок А.12 а приложения А), на наклонные штуцеры, ось которых лежит в плоскости поперечного сечения обечайки (см.
рисунок А.12 б приложения А).
Для смещенных штуцеров на эллиптических днищах угол

(см.
рисунок А.13 а приложения А) не должен превышать 60°.
Для смещенных штуцеров на сферических и торосферических днищах угол

не регламентируется.
5.1.3 Расстояние от края штуцера до края внешней поверхности сферического неотбортованного и торосферического днища, измеряемое по проекции образующей днища на плоскость его основания (см.
рисунок А.13 а приложения А), должно быть не менее
e = max{0,1(D + 2
s); 0,09
D +
s}.
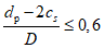
Допускается размещать в краевой зоне выпуклых днищ без специальных расчетных или экспериментальных обоснований малые отверстия, диаметр которых удовлетворяет условию

(2)
5.1.4 При размещении отверстий в краевой зоне цилиндрических и конических обечаек необходим учет ограничений, указанных в
5.2.6.4.
5.1.5 В краевой зоне эллиптических и полусферических днищ допускается размещение отверстий без ограничений.
5.2 Основные формулы расчета укрепления отверстий
5.2.1 Расчетные диаметры укрепляемых элементов
Расчетные диаметры укрепляемых элементов вычисляют по формулам:
- для цилиндрической обечайки
Dр = D; (3)
- для конической обечайки, перехода или днища

(4)
- для эллиптических днищ и крышек

(5)
- для эллиптических днищ при H = 0,25D

(6)
- для сферических днищ, а также торосферических днищ вне зоны отбортовки
Dр = 2R, (7)
где
R - для торосферических днищ определяют по
ГОСТ 34233.2.
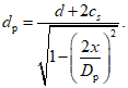
5.2.2 Расчетные диаметры отверстий
5.2.2.1 Расчетный диаметр отверстия в стенке цилиндрической обечайки, конического перехода или выпуклого днища при наличии штуцера с круглым поперечным сечением, ось которого совпадает с нормалью к поверхности в центре отверстия (см.
рисунки А.1,
А.2 -
А.5,
А.8 а,
А.8 б,
А.9,
А.13 б,
А.14 приложения А), или кругового отверстия без штуцера, вычисляют по формуле
5.2.2.2 Расчетный диаметр отверстия в стенке цилиндрической обечайки или конической обечайки при наличии наклонного штуцера, ось которого лежит в плоскости поперечного сечения укрепляемой обечайки (см.
рисунок А.12 приложения А), вычисляют по формуле
dр = max{d; 0,5t} + 2cs. (9)
5.2.2.3 Расчетный диаметр отверстия в стенке эллиптического днища при наличии смещенного штуцера, ось которого параллельна оси днища (см.
рисунок А.13 а приложения А), вычисляют по формуле

(10)
5.2.2.4 При наличии наклонного штуцера с круглым поперечным сечением, когда максимальная ось симметрии отверстия некруглой формы составляет угол

с образующей цилиндрической обечайки (см.
рисунок А.11 приложения А) или с проекцией образующей конической обечайки на плоскость продольного сечения обечайки, расчетный диаметр отверстия вычисляют по формуле

(11)
5.2.2.5 Для цилиндрической и конической обечаек, когда ось наклонного штуцера (см.
рисунок А.11 б приложения А) лежит в плоскости продольного сечения обечайки

, а также для всех отверстий в сферическом и торосферическом днищах при наличии смещенного штуцера расчетный диаметр отверстия вычисляют по формуле

(12)
5.2.2.6 Расчетный диаметр овального отверстия для перпендикулярно расположенного к поверхности обечайки штуцера с овальным поперечным сечением (см.
рисунок А.16 приложения А) вычисляют по формуле

(13)
Для выпуклых днищ

.
5.2.2.7 Расчетный диаметр отверстия для перпендикулярно расположенного к поверхности обечайки или днища штуцера с круглым поперечным сечением при наличии отбортовки или торообразной вставки (см.
рисунки А.6 и
А.7 а приложения А) при условии
r >=
sр вычисляют по формуле
dр = d + 1,5(r - sр) + 2cs, (14)
если
r <
sр, расчетный диаметр отверстия вычисляют по
формуле (8).
5.2.3 Коэффициент прочности сварных соединений
Если ось стыкового сварного шва обечайки или днища удалена от наружной поверхности штуцера на расстояние более чем три толщины укрепляемого элемента 3
s, то коэффициент прочности этого сварного соединения при расчете укрепления отверстий следует принимать

.
В исключительных случаях, когда сварной шов пересекает отверстие или расположен от наружной поверхности штуцера на расстоянии менее 3
s, принимают

равным значению, приведенному в ГОСТ 34233.1
(приложение Д), в зависимости от типа шва и объема его контроля.
Если плоскость, проходящая через продольный шов вальцованного штуцера и ось этого штуцера, образует угол

не менее 60° с плоскостью продольного осевого сечения цилиндрической или конической обечайки (см.
рисунок А.15 приложения А), то принимают

равным 1.
5.2.4 Расчет толщины стенок
5.2.4.1 Расчетные толщины стенок укрепляемых элементов определяют в соответствии с
ГОСТ 34233.2. Для эллиптических днищ, работающих под внутренним избыточным давлением, расчетную толщину стенки
sр вычисляют по формуле

(15)
где коэффициент

определяют по
5.2.3.
5.2.4.2 Расчетную толщину стенки штуцера с круглым поперечным сечением, нагруженного как внутренним, так и наружным давлением, вычисляют по формуле

(16)
где коэффициент

определяют по
5.2.3.
Для штуцера с овальным поперечным сечением в формуле (16) d = d1.
5.2.5 Расчетные длины штуцеров
Расчетные длины внешней и внутренней частей штуцера с круглым поперечным сечением, участвующие в укреплении отверстий и учитываемые при расчете (см.
рисунок А.1 приложения А), вычисляют по формулам:

(17)

(18)
Для штуцера с овальным поперечным сечением (см.
рисунок А.16 приложения А) в этих формулах
d =
d2.
5.2.6 Расчетные значения ширины зоны укрепления
5.2.6.1 Ширину зоны укрепления отверстия в обечайках, переходах и днищах вычисляют по формуле

(19)
5.2.6.2 Расчетную ширину зоны укрепления отверстия в стенке обечайки, перехода или днища в окрестности штуцера с отбортовкой (см.
рисунок А.6 приложения А), а также при отсутствии торообразной вставки или вварного кольца вычисляют по формуле
5.2.6.3 Расчетную ширину зоны укрепления отверстия в стенке обечайки, перехода или днища в окрестности штуцера при наличии торообразной вставки или вварного кольца (см.
рисунок А.7 приложения А) вычисляют по формуле
5.2.6.4 Расчетную ширину накладного кольца вычисляют по формуле

(22)
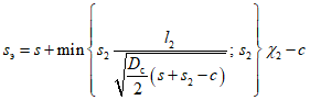
5.2.6.5 Для отверстий, расположенных от других конструктивных элементов на расстоянии
Lк <
L0 (см.
рисунок А.14 приложения А), расчетную ширину зоны укрепления
lр и расчетную ширину накладного кольца
l2р определяют следующим образом:
- для зоны соединения обечайки с плоским, коническим или выпуклым днищем, для зоны соединения конической обечайки с другой обечайкой, а также для зоны соединения обечайки и днища с фланцем или седловой опорой сосуда (см.
рисунки А.14 б,
А.14 в,
А.14 г приложения А) - по формулам:
lр = Lк; l2р = min{l2; Lк}. (23)
5.2.7 Учет применения различного материального исполнения
Применение различных материалов при расчете укрепления отверстий учитывают введением параметров, зависимых от отношения допускаемых напряжений:
- для внешней части штуцера

;
- для накладного кольца

;
- для внутренней части штуцера

;
- для торообразной вставки или вварного кольца

,
в случае использования других способов укрепления

.
5.2.8 Расчетный диаметр отверстия, не требующего укрепления при отсутствии избыточной толщины стенки сосуда и при наличии штуцера
Расчетный диаметр отверстия, не требующего укрепления в стенке цилиндрической обечайки, конического перехода или выпуклого днища при отсутствии избыточной толщины стенки сосуда и при наличии штуцера, вычисляют по формуле

(24)
5.3 Одиночные отверстия в сосудах и аппаратах
Отверстие считается одиночным, если ближайшее к нему отверстие не оказывает на него влияния, что имеет место, когда минимальное расстояние между наружными поверхностями соответствующих штуцеров (см.
рисунки А.8 и
А.9 приложения А) удовлетворяет условию

(25)
5.3.1 Расчетный диаметр одиночного отверстия, не требующего дополнительного укрепления при наличии избыточной толщины стенки сосуда
5.3.1.1 Наибольший допустимый диаметр одиночного отверстия, не требующего дополнительного укрепления при наличии избыточной толщины стенки сосуда, вычисляют по формуле

(26)
где

(27)

(28)
K1 = 1 - для цилиндрических и конических обечаек;
K1 = 2 - для выпуклых днищ;

(29)
[
p]
E - допускаемое наружное давление из условия устойчивости в пределах упругости, определяемое по
ГОСТ 34233.2 для соответствующих обечайки и днища без отверстий.
5.3.1.2 Если расчетный диаметр одиночного отверстия удовлетворяет условию
dр <= d0 (30)
и на узел врезки не действуют никакие нагрузки, кроме давления, то дальнейших расчетов укрепления отверстий не требуется.
В случае невыполнения условия (30), а также если отверстие нельзя рассматривать как одиночное или если необходимо учитывать другие нагрузки, кроме давления, то расчет укрепления отверстий проводят в соответствии с 5.3.2,
5.3.3,
5.4,
6.1.1 -
6.1.5 и
6.2.1 -
6.2.5.
5.3.2 Укрепление одиночных отверстий в сосудах и аппаратах, нагруженных внутренним избыточным давлением
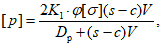
5.3.2.1 Допускаемое внутреннее избыточное давление элемента сосуда с учетом ослабления стенки отверстием вычисляют по формуле

(31)
где K1 = 1 - для цилиндрических и конических обечаек;
K1 = 2 - для выпуклых днищ.
Коэффициент снижения прочности стенки сосуда, ослабленной одиночным отверстием, вычисляют по формуле

(32)
Для овального штуцера в этой формуле d = d1.
5.3.2.2 При отсутствии вварного кольца или торообразной вставки в формуле (32) следует принимать
s0 =
s,

.
При отсутствии накладного кольца и укреплении отверстия штуцером расчет следует проводить по формуле (32), в которой
s2 = 0,
s0 =
s,

.
При отсутствии штуцера и укреплении отверстия накладным кольцом расчет следует проводить по
формуле (32), в которой
l1р =
l3р = 0,
s0 =
s,

, при этом исполнительную ширину накладного кольца отсчитывают от края отверстия.
5.3.3 Укрепление одиночных отверстий в сосудах и аппаратах, нагруженных наружным давлением
Допускаемое наружное давление вычисляют по формуле

(33)
где [
p]
п - допускаемое наружное давление в пределах пластичности определяется по
формуле (31) как допускаемое внутреннее избыточное давление для сосуда или аппарата с отверстием при

, равном 1;
[
p]
E - допускаемое наружное давление из условия устойчивости в пределах упругости, определяемое по
ГОСТ 34233.2 для соответствующих обечайки и днища без отверстий.
5.3.4 Условие укрепления одиночных отверстий
5.3.4.1 Площадь сечений укрепляющих элементов при укреплении штуцером равна сумме площадей поперечных сечений внешней и внутренней (пропущенной) части штуцера (см.
рисунок А.1 приложения А). При этом должно выполняться условие
A1 + A3 >= A = 0,5(dр - d0р)sр. (34)
Здесь площади A1 и A3 определяются без учета прибавок c, cs и расчетных толщин стенок штуцера s1р и сосуда sр.
Длины штуцера, учитываемые при определении площадей
A1 и
A3, вычисляют следующим образом:
l1р - по
формуле (17),
l3р - по
формуле (18).
Если по конструктивным соображениям выполнение условия (34) невозможно, то для укрепления отверстия используют накладные кольца, отбортовки или местные утолщения стенки обечаек или днищ. При увеличении толщины стенки укрепляемого элемента изменяется d0р и уменьшается площадь вырезанного сечения, подлежащего компенсации.
5.3.4.2 В случае укрепления отверстия утолщением стенки сосуда или штуцера, или накладным кольцом, или вварным кольцом, или торообразной вставкой, или отбортовкой расчет проводят по формуле

(35)
При отсутствии вварного кольца или торообразной вставки в формуле (35) следует принимать

.
5.3.4.3 Расчет укрепления отверстия с помощью накладного кольца при необходимости определения площади этого кольца проводят по формуле

(36)
где A2 = l2р·s2 - площадь накладного кольца.
Если s2 > 2s, то накладные кольца рекомендуется устанавливать снаружи и изнутри сосуда или аппарата, причем толщина наружного кольца принимается (0,5s2), толщина внутреннего кольца принимается (0,5s2 + c).
5.4 Учет взаимного влияния отверстий в сосудах и аппаратах
5.4.1 Допускаемое внутреннее избыточное давление при наличии взаимовлияния отверстий
5.4.1.1 Расчет по 5.4 не применим, если одно из взаимовлияющих отверстий выполнено в соответствии с
рисунком А.7 приложения А.
5.4.1.2 В случае невыполнения
условия (25) расчет взаимовлияющих отверстий (см.
рисунки А.8 -
А.10 приложения А) проводят следующим образом: вначале рассчитывают укрепления для каждого из этих отверстий отдельно в соответствии с
5.3, затем проверяют достаточность укрепления перемычки между отверстиями, для чего вычисляют допускаемое давление для перемычки по формуле

(37)
где

(38)
При совместном укреплении двух взаимовлияющих отверстий общим накладным кольцом (см.
рисунок А.9 приложения А) коэффициент понижения прочности вычисляют по формуле

(39)
где

.
5.4.1.3 Коэффициент
K2 в
формулах (38) и (39) вычисляют по формуле

(40)
где коэффициент K3 для цилиндрических и конических обечаек вычисляют по формуле

(41)
Для выпуклых днищ K3 = 1.
5.4.1.4 Если ось сварного шва обечайки или днища удалена от наружных поверхностей обоих штуцеров более чем на три толщины стенки укрепляемого элемента (3
s) и не пересекает перемычку, то коэффициент прочности этого сварного шва в
формулах (37),
(38),
(39) и
(40) следует принимать

. В остальных случаях

в соответствии с ГОСТ 34233.1
(приложение Д).
Коэффициенты прочности продольных сварных швов штуцеров

и

равны 1, если центральные углы

и

между плоскостями продольных сечений штуцеров, проходящих через эти сварные швы, и линией, соединяющей центры отверстий (см.
рисунок А.15 приложения А), составляют не менее 60°. В остальных случаях

и

в соответствии с ГОСТ 34233.1
(приложение Д).
5.4.1.5 При укреплении двух близко расположенных отверстий другими способами нужно, чтобы половина площади, необходимой для укрепления в продольном сечении (см.
рисунок А.8 приложения А), размещалась между этими отверстиями. Для ряда отверстий (см.
рисунок А.17 приложения А) коэффициент понижения прочности вычисляют по формуле

(42)
5.4.2 Допускаемое наружное давление при наличии взаимовлияния отверстий
Допускаемое наружное давление вычисляют по
формуле (33), где [
p]
п определяется аналогично [
p] по
5.4.1 для каждого отверстия в отдельности и для перемычки, а затем из полученных значений принимается меньшее.
Для обечаек или днищ с кольцами жесткости расчет проводят отдельно для каждого участка с отверстиями между соседними кольцами.
6 Расчет на прочность при внешних статических нагрузках на штуцер
6.1 Цилиндрические обечайки под локальным воздействием, вызванным внешними статическими нагрузками на штуцер
6.1.1 Условия применения расчетных формул
6.1.1.2 Метод расчета применим для сосудов и аппаратов, работающих под внутренним избыточным давлением.
6.1.1.3 Расчетные формулы применимы при выполнении следующих условий:
а) условие тонкостенности цилиндрической обечайки: 0,001 <= (s - c)/Dс <= 0,1, где Dс = D + s;
б) ограничение значения геометрического параметра:

,
где sэ - эквивалентная толщина обечайки с накладным кольцом;
в) расстояние до любого другого штуцера, нагруженного внешней локальной нагрузкой в любом направлении, должно быть не менее

;
г) исполнительная толщина штуцера
s1 должна сохраняться на длине не менее

.
6.1.2 Определение эквивалентной толщины стенки обечайки около штуцера
Эквивалентную толщину стенки обечайки около штуцера, то есть в месте его врезки, вычисляют по формулам:
а) если накладное кольцо не предусмотрено, то sэ = (s - c);
б) если установлено накладное кольцо, то
при

,
при

.
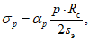
6.1.3 Определение допускаемых нагрузок
6.1.3.1 Допускаемые значения давления, осевой нагрузки и изгибающих моментов на узлы врезки штуцера определяют независимо друг от друга.
6.1.3.2 Допускаемое давление для одиночного отверстия определяют по
5.3.2.
6.1.3.3 Для вычислений допускаемых нагрузок определяют вспомогательные параметры
C1,
C2,
C3, зависящие от геометрического параметра

и от коэффициентов
a0 -
a4, приведенных в таблице 2.
Таблица 2
Коэффициенты для определения параметров
C1,
C2,
C3
Параметр | Коэффициент для определения параметров |
a0 | a1 | a2 | a3 | a4 |
C1 | 0,60072181 | 0,95196257 | 0,0051957881 | -0,001406381 | 0 |
C2 | 4,526315 | 0,064021889 | 0,15887638 | -0,021419298 | 0,0010350407 |
C3 при  | 4,8844124 | -0,071389214 | 0,79991259 | -0,024155709 | 0 |
C3 при  | 6,3178075 | -3,6618209 | 4,5145391 | -0,83094839 | 0,050698494 |
6.1.3.4 Допускаемое осевое усилие на штуцер [Fz] из условия прочности обечайки при отсутствии накладного кольца вычисляют по формуле

(43)
где
C1 определяют в зависимости от

по графику, приведенному на
рисунке Б.2 приложения Б, или вычисляют по формуле

(44)
где параметр

определяют при
sэ = (
s -
c), коэффициенты
a0 -
a4 принимают по соответствующей строке
таблицы 2.
6.1.3.5 Допускаемое осевое усилие на штуцер [
Fz] из условия прочности обечайки при наличии накладного кольца и при условии

определяют по формуле
[Fz] = min{[Fz1]; [Fz2]}. (45)
Допускаемое осевое усилие [Fz1] из условия прочности обечайки в месте пересечения штуцера с обечайкой вычисляют по формуле

(46)
где
C1 определяют в зависимости от

по графику, приведенному на
рисунке Б.2 приложения Б, или вычисляют по
формуле (44), где параметр

определяют при
sэ, вычисляемой по
6.1.2, коэффициенты
a0 -
a4 принимают по соответствующей строке
таблицы 2.
Допускаемое осевое усилие [Fz2] из условия прочности обечайки у внешней кромки накладного кольца вычисляют по формуле

(47)
где
C1 определяют в зависимости от

по графику, приведенному на
рисунке Б.2 приложения Б, или вычисляют по
формуле (44), где параметр

определяют при
sэ = (
s -
c) и
dс =
D2, коэффициенты
a0 -
a4 принимают по соответствующей строке
таблицы 2.
6.1.3.6 Допускаемый изгибающий момент [Mx], действующий на штуцер в плоскости, перпендикулярной оси сосуда, при отсутствии накладного кольца вычисляют по формуле

(48)
где
C2 определяют в зависимости от

по графику, приведенному на
рисунке Б.3 приложения Б, или вычисляют по формуле

(49)
где параметр

определяют при
sэ = (
s -
c), коэффициенты
a0 -
a4 принимают по соответствующей строке
таблицы 2.
6.1.3.7 Допускаемый изгибающий момент [
Mx] при наличии накладного кольца и при условии

вычисляют по формуле
[Mx] = min{[Mx1]; [Mx2]}. (50)
Допускаемый изгибающий момент [Mx1] из условия прочности в месте пересечения штуцера с обечайкой вычисляют по формуле

(51)
где
C2 определяют в зависимости от

по графику, приведенному на
рисунке Б.3 приложения Б, или вычисляют по
формуле (49), где параметр

определяют при
sэ, вычисляемой по
6.1.2, коэффициенты
a0 -
a4 принимают по соответствующей строке
таблицы 2.
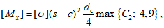
Допускаемый изгибающий момент [Mx2] из условия прочности у внешней кромки накладного кольца вычисляют по формуле

(52)
где
C2 определяют в зависимости от

по графику, приведенному на
рисунке Б.3 приложения Б, или вычисляют по
формуле (49), где параметр

определяют при
sэ = (
s -
c) и
dc =
D2, коэффициенты
a0 -
a4 принимают по соответствующей строке
таблицы 2.
6.1.3.8 Допускаемый изгибающий момент [My], действующий на штуцер в плоскости, совпадающей с осью сосуда, при отсутствии накладного кольца вычисляют по формуле

(53)
где
C3 определяют в зависимости от

по графику, приведенному на
рисунке Б.4 приложения Б, или вычисляют по формуле

(54)
где параметр

определяют при
sэ = (
s -
c), коэффициенты
a0 -
a4 принимают по соответствующей строке
таблицы 2.
Если отношение

находится между 0,2 и 0,5, то коэффициент
C3 определяют с помощью линейной интерполяции.
6.1.3.9 Допускаемый изгибающий момент [My] при наличии накладного кольца равен
[My] = min{[My1]; [My2]}. (55)
Допускаемый изгибающий момент [My1] из условия прочности в месте пересечения штуцера с обечайкой вычисляют по формуле

(56)
где
C3 определяют в зависимости от

по графику, приведенному на
рисунке Б.4 приложения Б, или вычисляют по
формуле (54), где параметр

определяют при
sэ, вычисляемой по
6.1.2, коэффициенты
a0 -
a4 принимают по соответствующей строке
таблицы 2.
Допускаемый изгибающий момент [My2] из условия прочности у внешней кромки накладного кольца вычисляют по формуле

(57)
где
C3 определяют в зависимости от

по графику, приведенному на
рисунке Б.4 приложения Б, или вычисляют по
формуле (54), где параметр

определяют при
sэ = (
s -
c) и
dс =
D2, коэффициенты
a0 -
a4 принимают по соответствующей строке
таблицы 2.
6.1.4 Совместное действие нагрузок
Предварительно проверяют выполнение условий прочности для каждой нагрузки в отдельности:

(58)

(59)

(60)
Кроме того, определяют выполнение условий прочности при совместном действии нагрузок

(61)
Если нагрузка была определена с учетом стесненности температурных деформаций, то коэффициент C4 равен 1,1. В остальных случаях C4 = 1.
Отношение нагрузок Фz определяют с учетом направления осевой силы. Если осевая сила является растягивающей (направлена наружу от поверхности стенки сосуда или аппарата), то в формуле (61) Фz следует принимать со знаком плюс. Если осевая сила является сжимающей (направлена в противоположном направлении), то в формуле (61) Фz следует принимать со знаком минус.
6.1.5 Проверка прочности штуцера
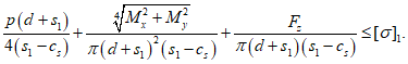
Максимальные продольные растягивающие напряжения в штуцере должны удовлетворять условию

(62)
Если осевая сила Fz создает сжимающее напряжение, то в формуле (62) Fz следует принять равной нулю.
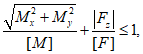
Кроме расчета на прочность проводят расчет на устойчивость штуцера по формуле

(63)
где [
M] и [
F] - допускаемый изгибающий момент и допускаемая сжимающая осевая сила соответственно, определяемые по
ГОСТ 34233.2 для обечайки штуцера.
Если осевая сила Fz создает растягивающее напряжение (направлена наружу от поверхности стенки сосуда или аппарата), то в формуле (63) Fz следует принимать равной нулю.
6.1.6 Определение максимальных расчетных напряжений
6.1.6.1 С целью проверки прочности узла врезки штуцера при действии повторно-статических нагрузок дополнительно к
6.1.1 -
6.1.5 определяют расчетные напряжения в месте пересечения цилиндрической обечайки со штуцером. Рассматривают штуцер с круглым поперечным сечением, нормально расположенный к поверхности, под действием внутреннего избыточного давления, внешних нагрузок на штуцер и нагружений, вызванных стесненностью температурных деформаций.
6.1.6.2 Максимальное расчетное напряжение от внутреннего давления p вычисляют по формуле

(64)
6.1.6.3 Максимальное расчетное напряжение от осевой силы Fz вычисляют по формуле

(65)
6.1.6.4 Максимальное расчетное напряжение от изгибающего момента Mx вычисляют по формуле

(66)
6.1.6.5 Максимальное расчетное напряжение от изгибающего момента My вычисляют по формуле

(67)
6.1.6.6 При наличии нагружения, вызванного стесненностью температурных деформаций в месте пересечения цилиндрической обечайки со штуцером, следует определять температурные напряжения

специальными методами расчета.
6.1.7 Условия прочности при совместном действии нагрузок
Для пластичного в условиях эксплуатации материала условия прочности выполняются, если

(68)
Если осевая сила
Fz является растягивающей (направлена наружу от поверхности стенки сосуда или аппарата), то в формуле (68)

следует принимать со знаком плюс.
Если осевая сила
Fz является сжимающей (направлена в противоположном направлении), то в формуле (68)

следует принимать со знаком минус.
Если материал не обладает достаточной пластичностью, то допускаемое напряжение определяют на основании специальных исследований.
6.1.8 Условия прочности при малоцикловой нагрузке
Условия прочности при циклическом нагружении давлением, внешними и температурными нагрузками проверяют по
ГОСТ 34233.6.
Для нагрузки каждого вида вычисляют размахи напряжений

,

,

,

,

.
По размахам напряжений определяют амплитуду напряжений

и проверяют условие прочности по допускаемым амплитудам напряжений, определяемым по
ГОСТ 34233.6 для заданного числа циклов нагружений.
6.2 Выпуклые днища под локальным воздействием, вызванным внешними статическими нагрузками на штуцер
6.2.1 Условия применения расчетных формул
6.2.1.2 Метод расчета применим для сосудов и аппаратов, работающих под внутренним избыточным давлением.
6.2.1.3 Метод расчета применим при расположении штуцеров внутри центральной части выпуклого днища, ограниченной 0,4 наружного диаметра днища (см.
рисунок Б.1 б приложения Б), где
l5 - расстояние от центральной оси выпуклого днища до наиболее удаленной точки кромки отверстия).
6.2.1.4 Радиус кривизны срединной поверхности днища Rс принимается равным радиусу в вершине выпуклого днища.
6.2.1.5 Формулы применимы при выполнении следующих условий:
а) условия тонкостенности выпуклого днища:

, где

;
допускается применять методику при

, если отклонение формы поверхности днища от идеальной сферической формы не превышает половины толщины его стенки;
б) ограничение значения геометрического параметра

,
где sэ - эквивалентная толщина днища с накладным кольцом;
в) расстояние до любого другого штуцера, нагруженного внешней локальной нагрузкой в любом направлении, должно быть не менее

;
г) штуцер расположен перпендикулярно поверхности выпуклого днища (в пределах позиционного отклонения оси штуцера от перпендикуляра к поверхности днища в радиусном измерении не более 10 мм);
д) исполнительная толщина штуцера
s1 должна сохраняться на длине не менее

.
6.2.2 Определение эквивалентной толщины стенки выпуклого днища около штуцера
Эквивалентную толщину стенки днища около штуцера, то есть в месте его врезки, вычисляют по формулам:
а) если накладное кольцо не предусмотрено, то sэ = (s - c);
б) если установлено накладное кольцо, то
при

,
при

.
6.2.3 Определение допускаемых нагрузок
6.2.3.1 Допускаемые значения давления, осевой нагрузки и изгибающих моментов определяют независимо друг от друга.
Для оценки прочности узла врезки штуцера при совместном действии нагрузок используют выпуклую поверхность предельного состояния.
6.2.3.2 Допускаемое давление для одиночного отверстия определяют по
5.3.3.
6.2.3.3 Вспомогательные параметры:

;

.
6.2.3.4 Допускаемое осевое усилие на штуцер [
Fz] при отсутствии накладного кольца определяют по графику, приведенному на
рисунке Б.5 приложения Б, или вычисляют по формуле

(69)
где

и
K4 вычисляют при
sэ = (
s -
c).
6.2.3.5 Допускаемое осевое усилие на штуцер [Fz] при наличии накладного кольца определяют по формуле
[Fz] = min{[Fz1]; [Fz2]}, (70)
где допускаемое осевое усилие [
Fz1] из условия прочности в месте пересечения штуцера с днищем определяют по графику, приведенному на
рисунке Б.5 приложения Б, или вычисляют по формуле

(71)
где

и
K4 вычисляют при
sэ, определяемой по
6.2.2.
Допускаемое осевое усилие из условия прочности у внешней кромки накладного кольца вычисляют по формуле

(72)
где

вычисляют при
sэ = (
s -
c) и
dс =
D2, а параметр
K4 = 1.
6.2.3.6 Допускаемый изгибающий момент [
Mb] при отсутствии накладного кольца определяют по графику, приведенному на
рисунке Б.6 приложения Б, или вычисляют по формуле

(73)
где

и
K4 вычисляют при
sэ = (
s -
c).
6.2.3.7 Допускаемый изгибающий момент [Mb] при наличии накладного кольца вычисляют по формуле
[Mb] = min{[Mb1]; [Mb2]}, (74)
где [
Mb1] - опускаемый изгибающий момент из условия прочности в месте пересечения штуцера с днищем определяют по графику, приведенному на
рисунке Б.6 приложения Б, или вычисляют по формуле

(75)
где

и
K4 вычисляют при
sэ, определяемой по
6.2.2.
Допускаемый изгибающий момент [
Mb2] из условия прочности у внешней кромки накладного кольца определяют по графику, приведенному на
рисунке Б.6 приложения Б, или вычисляют по формуле

(76)
где

вычисляют при
sэ = (
s -
c) и
dс =
D2, а параметр
K4 = 1.
6.2.4 Совместное действие нагрузок
Предварительно проверяют условие прочности для каждой нагрузки в отдельности:

(77)

(78)

(79)
Кроме того, определяют выполнение условий прочности при совместном действии нагрузок
max{|Фp + Фz|; |Фz|; |Фp - 0,2Фz|} + |Фb| <= 1. (80)
Параметр Фz определяют с учетом направления осевой силы. Если осевая сила направлена наружу от поверхности днища, то в формуле (80) Фz следует принимать со знаком плюс. Если осевая сила направлена в противоположном направлении, то в формуле (80) Фz следует принимать со знаком минус.
6.2.5 Проверка прочности штуцера
Максимальные расчетные продольные растягивающие напряжения в штуцере должны удовлетворять условию

(81)
Если осевая сила Fz создает сжимающее напряжение, то в формуле (81) Fz следует принять равной нулю.
Устойчивость штуцера должна быть проверена по формуле

(82)
Если осевая сила Fz создает растягивающее напряжение, то в формуле (82) Fz следует принять равной нулю.
Допускаемый изгибающий момент [
M] и допускаемую сжимающую осевую силу [
F] для обечайки штуцера определяют по
ГОСТ 34233.2.
6.2.6 Определение максимальных расчетных напряжений
6.2.6.1 С целью проверки прочности узла врезки штуцера при действии повторно-статических нагрузок дополнительно к
6.2.1 -
6.2.5 определяют расчетные напряжения в месте пересечения выпуклого днища со штуцером. Рассматривается штуцер с круглым поперечным сечением, нормально расположенный к поверхности, при нагружении внутренним избыточным давлением, внешними нагрузками на штуцер и напряжениями, вызванными стесненностью температурных деформаций.
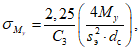
6.2.6.2 Максимальное расчетное напряжение в месте пересечения выпуклого днища со штуцером от внутреннего давления вычисляют по формуле

(83)
где

- коэффициент концентрации, определяемый по графикам, приведенным на
рисунках Б.7 и
Б.8 приложения Б.
6.2.6.3 Максимальное расчетное напряжение от осевой силы вычисляют по формуле

(84)
где

- коэффициент концентрации, определяемый по графикам, приведенным на
рисунках Б.9 и
Б.10 приложения Б.
6.2.6.4 Максимальное расчетное напряжение от изгибающего момента вычисляют по формуле

(85)
где

- коэффициент концентрации, определяемый по графикам, приведенным на
рисунках Б.11 и
Б.12 приложения Б.
6.2.6.5 При наличии нагружения, вызванного стесненностью температурных деформаций в месте пересечения выпуклого днища со штуцером, следует определять температурные напряжения

специальными методами расчета.
6.2.7 Условия прочности при совместном действии нагрузок
Для пластичных в условиях эксплуатации материалов условия прочности выполняются, если в месте пересечения выпуклого днища со штуцером

(86)
Если материал не обладает достаточной пластичностью, то допускаемое напряжение определяют на основании специальных исследований.
6.2.8 Условия прочности при малоцикловой нагрузке
Условия прочности при циклическом нагружении давлением, внешними и температурными нагрузками проверяют по
ГОСТ 34233.6.
Для нагрузки каждого вида вычисляют размахи напряжений

,

,

,

.
По размахам напряжений определяют амплитуду напряжений

и проверяют условие прочности по допускаемым амплитудам напряжений, определяемым по
ГОСТ 34233.6 для заданного числа циклов нагружений.
6.3 Альтернативные численные методы расчета
Допускается вместо расчета узлов врезки штуцеров на совместное действие нагрузок в соответствии с
6.1 и
6.2 выполнять расчет численными методами, например, методом конечных элементов, с последующей оценкой полученных результатов в соответствии с ГОСТ 34233.1
(пункт 8.10).
При этом, если соотношения размеров элементов рассматриваемых узлов не превышают пределов, указанных в
таблице 1, а также в
5.1.2 и
5.1.3, в дополнение к численному расчету должен быть выполнен расчет укрепления отверстий в соответствии с
разделом 5.
(обязательное)
Рисунок А.1 - Компенсация вырезанного сечения
штуцером произвольной формы
Рисунок А.2 - Основная расчетная схема соединения
штуцера со стенкой сосуда
Рисунок А.3 - Укрепление отверстий утолщением
стенки сосуда или штуцера
Рисунок А.4 - Укрепление отверстий накладным кольцом
Рисунок А.5 - Укрепление отверстий накладным кольцом
при наличии проходящего штуцера
Рисунок А.6 - Укрепление отверстий отбортовкой
Рисунок А.7 - Укрепление отверстий торообразной вставкой
или вварным кольцом
Рисунок А.8 - Укрепление взаимовлияющих отверстий
а - укрепление круговым накладным кольцом;
б - укрепление несимметричным кольцом
Рисунок А.9 - Совместное укрепление
взаимовлияющих отверстий
Рисунок А.10 - Общий случай расположения
взаимовлияющих отверстий
Рисунок А.11 - Наклонные штуцеры на обечайке
Рисунок А.12 - Наклонные штуцеры на обечайке
в плоскости поперечного сечения
Рисунок А.13 - Смещенные штуцеры на выпуклом днище
Рисунок А.14 - Укрепление отверстий при наличии
близко расположенных конструктивных элементов
Рисунок А.15 - Учет влияния сварных швов
Рисунок А.16 - Отверстие для овального штуцера,
перпендикулярного поверхности обечайки
Рисунок А.17 - Ряды отверстий
(обязательное)
а - цилиндрическая обечайка при внешних
статических нагрузках на штуцер
б - сферическое днище при внешних статических
нагрузках на штуцер
Рисунок Б.1 - Внешние статические нагрузки
Рисунок Б.2 - График для определения
C1
Рисунок Б.3 - График для определения
C2
Рисунок Б.4 - График для определения
C3
Рисунок Б.5 - График для определения [
Fz]
(верхняя кривая при K4 = 1; нижняя кривая - минимальное
значение при K4 < 1)
Рисунок Б.6 - График для определения [
Mb]
(верхняя кривая при K4 = 1; нижняя кривая - минимальное
значение при K4 < 1)
Рисунок Б.7 - Коэффициенты концентрации

в месте
пересечения штуцера со сферической оболочкой при внутреннем
давлении в зависимости от

и отношения
s1/
sэ
Рисунок Б.8 - Коэффициенты концентрации

в месте
пересечения проходящего штуцера со сферической
оболочкой при внутреннем давлении в зависимости
от

и отношения
s1/
sэ
Рисунок Б.9 - Коэффициенты концентрации

в месте
пересечения штуцера со сферической оболочкой при осевом
усилии на штуцер в зависимости от

и отношения
s1/
sэ
Рисунок Б.10 - Коэффициенты концентрации

в месте
пересечения проходящего штуцера со сферической оболочкой
при осевом усилии на штуцер в зависимости от

и отношения s1/sэ
Рисунок Б.11 - Коэффициенты концентрации

в месте
пересечения штуцера со сферической оболочкой при нагружении
штуцера изгибающим моментом в зависимости от

и отношения s1/sэ
Рисунок Б.12 - Коэффициенты концентрации

в месте
пересечения проходящего штуцера со сферической оболочкой
при нагружении штуцера изгибающим моментом в зависимости
от

и отношения
s1/
sэ