Главная // Актуальные документы // ГОСТ (Государственный стандарт)СПРАВКА
Источник публикации
М.: Стандартинформ, 2018
Примечание к документу
Документ
введен в действие с 1 января 2019 года.
Название документа
"ГОСТ 34213-2017. Межгосударственный стандарт. Сырье эфиромасличное цветочно-травянистое. Методы отбора проб, определения влаги, примесей и эфирного масла"
(введен в действие Приказом Росстандарта от 14.12.2017 N 1957-ст)
"ГОСТ 34213-2017. Межгосударственный стандарт. Сырье эфиромасличное цветочно-травянистое. Методы отбора проб, определения влаги, примесей и эфирного масла"
(введен в действие Приказом Росстандарта от 14.12.2017 N 1957-ст)
агентства по техническому
регулированию и метрологии
от 14 декабря 2017 г. N 1957-ст
МЕЖГОСУДАРСТВЕННЫЙ СТАНДАРТ
СЫРЬЕ ЭФИРОМАСЛИЧНОЕ ЦВЕТОЧНО-ТРАВЯНИСТОЕ
МЕТОДЫ ОТБОРА ПРОБ, ОПРЕДЕЛЕНИЯ ВЛАГИ,
ПРИМЕСЕЙ И ЭФИРНОГО МАСЛА
Essential oil floral-herbal raw material.
Methods of sampling, determining the moisture,
impurities and essential oil
ГОСТ 34213-2017
Дата введения
1 января 2019 года
Цели, основные принципы и основной порядок проведения работ по межгосударственной стандартизации установлены в
ГОСТ 1.0-2015 "Межгосударственная система стандартизации. Основные положения" и
ГОСТ 1.2-2015 "Межгосударственная система стандартизации. Стандарты межгосударственные, правила и рекомендации по межгосударственной стандартизации. Правила разработки, принятия, обновления и отмены"
1 ПОДГОТОВЛЕН Автономной некоммерческой организацией "Научно-исследовательский центр "Кубаньагростандарт" (АНО "НИЦ "Кубаньагростандарт") и Федеральным государственным бюджетным учреждением науки "Научно-исследовательский институт сельского хозяйства Крыма" (ФГБУН "НИИСХ Крым")
2 ВНЕСЕН Федеральным агентством по техническому регулированию и метрологии
3 ПРИНЯТ Межгосударственным советом по стандартизации, метрологии и сертификации (протокол от 14 июля 2017 г. N 101-П)
За принятие проголосовали:
Краткое наименование страны по МК (ИСО 3166) 004-97 | Код страны по МК (ИСО 3166) 004-97 | Сокращенное наименование национального органа по стандартизации |
Армения | AM | Минэкономики Республики Армения |
Беларусь | BY | Госстандарт Республики Беларусь |
Киргизия | KG | Кыргызстандарт |
Россия | RU | Росстандарт |
Узбекистан | UZ | Узстандарт |
4
Приказом Федерального агентства по техническому регулированию и метрологии от 14 декабря 2017 г. N 1957-ст межгосударственный стандарт ГОСТ 34213-2017 введен в действие в качестве национального стандарта Российской Федерации с 1 января 2019 г.
--------------------------------
<*>
Приказом Федерального агентства по техническому регулированию и метрологии от 14 декабря 2017 г. N 1957-ст
ГОСТ Р 53989-2010 отменен с 1 января 2019 г.
6 ВВЕДЕН ВПЕРВЫЕ
Информация об изменениях к настоящему стандарту публикуется в ежегодном информационном указателе "Национальные стандарты", а текст изменений и поправок - в ежемесячном информационном указателе "Национальные стандарты". В случае пересмотра (замены) или отмены настоящего стандарта соответствующее уведомление будет опубликовано в ежемесячном информационном указателе "Национальные стандарты". Соответствующая информация, уведомление и тексты размещаются также в информационной системе общего пользования - на официальном сайте Федерального агентства по техническому регулированию и метрологии в сети Интернет (www.gost.ru)
Настоящий стандарт распространяется на свежесрезанное эфиромасличное цветочно-травянистое сырье (далее - сырье), предназначенное для промышленной переработки, и устанавливает методы отбора проб, определения массовой доли влаги, содержания (массовой доли) примесей и массовой доли эфирного масла.
В настоящем стандарте использованы нормативные ссылки на следующие межгосударственные стандарты:
ГОСТ OIML R 76-1-2011 Государственная система обеспечения единства измерений. Весы неавтоматического действия. Часть 1. Метрологические и технические требования. Испытания
ГОСТ 427-75 Линейки измерительные металлические. Технические условия
ГОСТ 450-77 Кальций хлористый технический. Технические условия
ГОСТ 1770-74 (ИСО 1042-83, ИСО 4788-80) Посуда мерная лабораторная стеклянная. Цилиндры, мензурки, колбы, пробирки. Общие технические условия
ГОСТ 4153-93 Секаторы. Технические условия
ГОСТ 5774-76 Вазелин конденсаторный. Технические условия
ГОСТ 12026-76 Бумага фильтровальная лабораторная. Технические условия
ГОСТ 14919-83 Электроплиты, электроплитки и жарочные электрошкафы бытовые. Общие технические условия
ГОСТ 21239-93 (ИСО 7741-86) Инструменты хирургические. Ножницы. Общие требования и методы испытаний
ГОСТ 25336-82 Посуда и оборудование лабораторные стеклянные. Типы, основные параметры и размеры
ГОСТ 28498-90 Термометры жидкостные стеклянные. Общие технические требования. Методы испытаний
ГОСТ 31791-2017 Продукция и сырье эфиромасличное травянистое и цветочное. Технические условия
Примечание - При пользовании настоящим стандартом целесообразно проверить действие ссылочных стандартов в информационной системе общего пользования - на официальном сайте Федерального агентства по техническому регулированию и метрологии в сети Интернет или по ежегодному информационному указателю "Национальные стандарты", который опубликован по состоянию на 1 января текущего года, и по выпускам ежемесячного информационного указателя "Национальные стандарты" за текущий год. Если ссылочный стандарт заменен (изменен), то при пользовании настоящим стандартом следует руководствоваться заменяющим (измененным) стандартом. Если ссылочный стандарт отменен без замены, то положение, в котором дана ссылка на него, применяется в части, не затрагивающей эту ссылку.
В настоящем стандарте применены термины по
ГОСТ 31791, а также следующие термины с соответствующими определениями:
3.1 партия сырья: Определенное количество сырья одного ботанического вида и времени сбора, которое находится в одном транспортном средстве.
3.2 точечная (мгновенная) проба: Количество сырья одного наименования, отобранного единовременно из одной точки определенной партии.
3.3 объединенная проба: Проба, полученная путем объединения всех точечных проб, отобранных из различных мест партии, и характеризующая качество всей партии.
3.4 средняя (сокращенная) проба: Часть объединенной пробы, полученная в процессе последовательного деления или сокращения таким образом, чтобы масса или объем соответствовали требованиям, предъявляемым к лабораторным и контрольным пробам.
3.5 лабораторная проба: Часть средней пробы, предназначенная для проведения лабораторных испытаний (анализов) сырья.
3.6 массовая доля влаги: Уменьшение массы лабораторной пробы сырья при высушивании к абсолютно сухому состоянию за счет гигроскопической влаги и летучих веществ.
3.7 массовая доля посторонней влаги: Количество поверхностной влаги, которое может присутствовать на поверхности сырья.
3.8 массовая доля примесей: Содержание различных видов примесей (сорной, других видов эфиромасличных растений) в лабораторной пробе.
3.9 массовая доля примеси данного эфиромасличного растения: Содержание примесей данного эфиромасличного растения, которые не содержат эфирное масло (или содержат незначительное его количество) в лабораторной пробе.
3.10 декантированное эфирное масло: Объем эфирного масла, выделенный из лабораторной пробы сырья при дистилляции.
3.11 массовая доля эфирного масла: Отношение массы декантированного эфирного масла к массе сырья, которое анализируется.
4.1 Средства измерений и вспомогательные устройства
Весы неавтоматического действия по
ГОСТ OIML R 76-1 с пределами допускаемой абсолютной погрешности +/- 0,01 г.
Секатор по ГОСТ 4153.
Допускается применение других средств измерения и вспомогательного оборудования с метрологическими и техническими характеристиками не хуже вышеуказанных.
4.2 Отбор проб
4.2.1 Из партии сырья отбирают точечные пробы, из которых составляют объединенную пробу.
Точечные пробы сырья отбирают вручную от каждой транспортной единицы в пяти точках (в углах и в центре) из трех слоев: нижнего, среднего и верхнего при транспортировании свежеубранного целого сырья насыпью.
Точечные пробы отбирают от каждой пятой единицы тары из трех слоев: нижнего, среднего и верхнего при транспортировании свежеубранного целого сырья в таре.
Отбор точечных проб сырья в поле проводят по диагонали поля через равные промежутки перед уборкой сырья.
Масса точечной пробы должна быть от 400 до 450 г.
Примечание - Осыпавшиеся частицы сырья собирают и присоединяют к средней пробе. Остатки объединенной пробы присоединяют к партии сырья.
4.2.2 Из объединенной пробы выделяют среднюю пробу.
4.2.3 Объединенную пробу после перемешивания распределяют ровным слоем в виде квадрата на чистой, гладкой влагонепроницаемой поверхности.
Квадрат делят по диагонали на четыре треугольника, если сырьем являются цветки, листья или измельченные растения; или делят пополам, если сырьем являются целые растения. Из двух противоположных треугольников или половины квадрата сырье удаляют. Оставшееся сырье вновь перемешивают, распределяют ровным слоем и повторяют деление до тех пор, пока масса сырья будет равна массе средней пробы - от 3000 до 4000 г.
При этом осыпавшиеся частицы и мелочь тщательно собирают и присоединяют к средней пробе. Остатки объединенной пробы присоединяют к партии.
Если масса средней пробы оказалась недостаточной, из разных мест партии отбирают дополнительные точечные пробы.
4.2.4 На упаковку со средней пробой прикрепляют этикетку, на которой указывают следующее: наименование поставщика, наименование сырья, дату и время отбора пробы, массу партии. Если пробу отбирают в поле, то в этикетке указывают номер поля.
4.2.5 Анализ средней пробы проводят в тот же день, когда были отобраны пробы.
4.2.6 Из средней пробы отбирают лабораторную пробу сырья в зависимости от вида сырья и определяемого показателя так же, как и среднюю пробу из объединенной, - методом квартования по
4.2.3.
4.2.7 Рекомендуемые массы лабораторных проб различных видов сырья для проведения конкретных определений приведены в таблице 1.
Ботаническое наименование растения (вид сырья) | Масса лабораторной пробы, г |
Определение массовой доли эфирного масла | Определение массовой доли примеси | Определение массовой доли влаги <*> |
Метод Далматова | Метод Гинзберга или Клевенджера | сорных, других эфиромасличных растений | данного растения |
Анис обыкновенный (Pimpinella anisum L.), надземная масса | 400 - 450 | 50 - 200 | 900 - 1000 | 150 - 200 | 250 - 300 |
Базилик эвгенольный (Ocimum gratissimum L.), надземная масса | 400 - 450 | 50 - 200 | 900 - 1000 | 150 - 200 | 250 - 300 |
Бархатцы (Tagetes minuta L., T. signata Bartl.), надземная масса | 400 - 450 | 50 - 200 | - | - | 250 - 300 |
Герань розовая (Pelargonium roseum Willd.), надземная масса | 600 - 700 | 150 - 200 | 900 - 1000 | 150 - 200 | 250 - 300 |
Змееголовник молдавский (Dracocephalum moldavica L.), надземная масса | 400 - 450 | 50 - 200 | 900 - 1000 | 150 - 200 | 250 - 300 |
Иссоп лекарственный (Hyssopus officinalis L.), надземная масса | 400 - 450 | 50 - 200 | 900 - 1000 | 200 - 300 | 250 - 300 |
Котовник (Nepeta spp.), надземная масса | 600 - 700 | 50 - 200 | 900 - 1000 | 150 - 200 | 250 - 300 |
Лаванда узколистная (Lavandula angustifolia Miller), соцветия | 400 - 450 | 50 - 200 | 900 - 1000 | 150 - 200 | 250 - 300 |
Лавандин (Lavandula angustifolia Miller x Lavandula latifolia Mediku), соцветия | 400 - 450 | 50 - 200 | 900 - 1000 | 150 - 200 | 250 - 300 |
Лофант анисовый (Lophanthus anisatus Benth), надземная масса | 400 - 450 | 50 - 200 | 900 - 1000 | 200 - 300 | 250 - 300 |
Мелисса лекарственная (Melissa officinalis L.), надземная масса | 600 - 700 | 150 - 200 | 900 - 1000 | 150 - 200 | 250 - 300 |
Мята перечная (Mentha piperita L.), надземная масса | 400 - 450 | 150 - 200 | 900 - 1000 | 150 - 200 | 250 - 300 |
Пижма обыкновенная (Tanacetum vulgare L.), надземная масса | 400 - 450 | 50 - 200 | 900 - 1000 | 150 - 200 | 250 - 300 |
Полынь эстрагонная (Artemisia dracunculus L.), надземная масса | 500 - 600 | 50 - 200 | 900 - 1000 | 200 - 300 | 250 - 300 |
Полынь таврическая (Artemisia taurica Will.), надземная масса | 500 - 600 | 50 - 200 | 900 - 1000 | 150 - 200 | 250 - 300 |
Розмарин лекарственный (Rosmarinus officinalis L.), надземная масса | 400 - 450 | 50 - 200 | 900 - 1000 | 150 - 200 | 250 - 300 |
Роза эфиромасличная (Rosa spp.), цветки | - | 500 | 200 - 300 | 150 - 200 | 250 - 300 |
Тысячелистник обыкновенный (Achillea millefolium L.), надземная масса | 400 - 450 | 50 - 200 | 400 - 500 | 150 - 200 | 250 - 300 |
Укроп пахучий (Anethum graveolens L.), надземная масса | 400 - 450 | 100 - 200 | 900 - 1000 | 200 - 300 | 250 - 300 |
Шалфей лекарственный (Salvia officinalis L.), надземная масса | 400 - 450 | 50 - 200 | 900 - 1000 | 200 - 300 | 250 - 300 |
Шалфей мускатный (Salvia sclarea L.), соцветия | 400 - 450 | 100 - 200 | 900 - 1000 | 200 - 300 | 250 - 300 |
Фенхель обыкновенный (Foeniculum vulgare Mill.), надземная масса | 400 - 450 | 100 - 200 | 900 - 1000 | 200 - 300 | 250 - 300 |
<*> При наличии посторонней влаги на сырье масса лабораторной пробы составляет 300 - 350 г. |
5 Методы определения массовой доли влаги
5.1 Метод определения массовой доли посторонней влаги
5.1.1 Сущность метода
Метод основан на механическом удалении посторонней влаги с поверхности сырья при ее наличии при помощи фильтровальной бумаги. Массовую долю посторонней влаги определяют по разности между массой лабораторной пробы до и после удаления влаги.
5.1.2 Средства измерений и материалы
Весы неавтоматического действия по
ГОСТ OIML R 76-1 с пределами допускаемой абсолютной погрешности +/- 0,01 г.
5.1.3 Проведение измерений
5.1.3.1 Из лабораторной пробы отбирают и взвешивают анализируемую пробу сырья массой 250 - 300 г (см.
таблицу 1), помещают между листами фильтровальной бумаги, располагая сырье в один слой, и промокают влагу с его поверхности. Промокание повторяют несколько раз, до полного удаления влаги с поверхности сырья. Затем сырье вновь взвешивают с записью результата до второго десятичного знака. Проводят два параллельных определения.
5.1.3.2 Массовую долю посторонней влаги в сырье Wп.в, %, вычисляют по формуле

(1)
где m - масса лабораторной пробы сырья до удаления влаги, г;
m1 - масса лабораторной пробы сырья после удаления влаги, г;
100 - коэффициент пересчета.
Вычисления проводят до второго десятичного знака с последующим округлением результата до первого десятичного знака.
За окончательный результат измерения принимают среднее арифметическое значение результатов двух параллельных измерений, выполненных в одной лаборатории в одинаковых условиях, в пределах короткого промежутка времени, допускаемое расхождение между которыми не должно превышать 0,5% (по массе).
5.2 Метод определение массовой доли влаги
5.2.1 Сущность метода
Метод основан на высушивании лабораторной пробы сырья (без наличия посторонней влаги) при температуре 145 °C до постоянной массы и вычислении потери массы при испарении гигроскопической влаги и летучих веществ по отношению к массе лабораторной пробы до высушивания.
5.2.2 Средства измерений, вспомогательное оборудование, материалы и реактивы
Весы неавтоматического действия по
ГОСТ OIML R 76-1 с пределами допускаемой абсолютной погрешности +/- 0,01 г.
Шкаф сушильный лабораторный электрический с диапазоном регуляции температуры в рабочей камере от 50 до 200 °C, с погрешностью стабилизации температуры +/- 2 °C.
Термометр жидкостный стеклянный с ценой деления шкалы 1 °C и диапазоном измерения температуры от 0 до 200 °C по
ГОСТ 28498.
Эксикатор 2-250 по
ГОСТ 25336 с эффективным осушителем (например, кальций хлористый безводный, силикагель, цеолит).
Секатор по ГОСТ 4153.
Вазелин конденсаторный по ГОСТ 5774.
Щипцы тигельные.
Допускается применение других средств измерений с метрологическими характеристиками не ниже вышеуказанных и вспомогательного оборудования, материалов и реактивов с техническими характеристиками не ниже вышеуказанных.
5.2.3 Условия выполнения измерений
5.2.3.1 При подготовке проб к анализу и выполнении измерений соблюдают следующие условия:
- температура воздуха .................................. (20 +/- 5) °C;
- относительная влажность воздуха, не более ............ 80%.
Частота переменного тока и напряжение в сети поддерживаются в соответствии с инструкциями по эксплуатации средств измерений и вспомогательного оборудования.
В помещениях, предназначенных для проведения измерений, не допускается загрязненность воздуха рабочей зоны пылью, агрессивными веществами, вибрация, электромагнитные помехи или другие факторы, влияющие на измерения.
5.2.3.2 Для обеспечения точности измерений не допускается скопление испарений влаги в шкафу, которое регулируется посредством исполнительного устройства воздушного клапана.
5.2.3.3 Сухой хлористый кальций, используемый в эксикаторе, следует не менее одного раза в месяц прокаливать в фарфоровой чашке при температуре от 105 до 110 °C до сыпучего состояния.
5.2.3.4 Пришлифованные края крышки эксикатора смазывают тонким слоем вазелина.
5.2.3.5 Чашки Петри (далее - чашки) тщательно моют и высушивают в сушильном шкафу при температуре 145 °C в течение 1 ч. В охлажденные чашки на дно помещают фильтровальную бумагу, диаметр которой равен диаметру чашки. Подготовленные чашки хранят в эксикаторе.
5.2.3.6 Лабораторные пробы сырья непосредственно перед измерением измельчают на отрезки длиной 2 - 3 см.
5.2.4 Проведение измерений
Лабораторную пробу сырья массой (10,00 +/- 0,01) г помещают в чашку, предварительно взвешенную вместе с крышкой. Результаты взвешивания записывают до второго десятичного знака.
В предварительно нагретый до (150 +/- 2) °C сушильный шкаф помещают чашки с сырьем и снятыми крышками.
Высушивание сырья проводят при температуре (145 +/- 2) °C в течение 1 ч после установления в шкафу заданной температуры.
Чашки с высушенными лабораторными пробами вынимают из шкафа тигельными щипцами, быстро закрывают крышками и переносят в эксикатор для охлаждения не менее чем на 30 мин.
После охлаждения и взвешивания чашки с лабораторными пробами сырья и снятыми крышками вновь помещают в сушильный шкаф на 30 мин и проводят повторное высушивание, затем вынимают чашки Петри, охлаждают в эксикаторе не менее 30 мин и взвешивают с записью результата в граммах до второго десятичного знака.
Так повторяют до тех пор, пока расхождение между результатами двух последующих взвешиваний будет не более 0,01 г. Проводят два параллельных измерения.
5.2.5 Обработка результатов измерений
5.2.5.1 Массовую долю влаги в сырье Wв, %, вычисляют по формуле

(2)
где m - масса чашки с лабораторной пробой до высушивания, г;
m1 - масса чашки с лабораторной пробой после высушивания, г;
m2 - масса предварительно высушенной чашки, г;
100 - коэффициент пересчета в проценты.
Вычисления проводят до второго десятичного знака с последующим округлением результата до первого десятичного знака.
За окончательный результат измерения принимают среднее арифметическое значение результатов двух параллельных измерений, выполненных в одной лаборатории, в одинаковых условиях, в пределах короткого промежутка времени, допускаемое расхождение между которыми не должно превышать 1,0% (по массе). Пределы абсолютной погрешности измерения +/- 0,5% при доверительной вероятности P = 0,95.
6 Метод определения содержания (массовой доли) примесей
6.1 Сущность метода
Метод основан на механическом выделении сорной примеси, примеси других эфиромасличных растений и примеси данного эфиромасличного растения из лабораторной пробы сырья. Массовую долю каждого вида примеси в сырье рассчитывают по отношению к массе анализируемой лабораторной пробы.
6.2 Средства измерений и вспомогательное оборудование
Весы неавтоматического действия по
ГОСТ OIML R 76-1 с пределами допускаемой абсолютной погрешности +/- 0,01 г.
Секатор по ГОСТ 4153.
Пинцет.
Допускается применение других средств измерений с метрологическими характеристиками не ниже вышеуказанных и вспомогательного оборудования с техническими характеристиками не ниже вышеуказанных.
6.3 Проведение определения
6.3.1 Определение содержания сорной примеси и примеси других эфиромасличных растений
Лабораторную пробу сырья массой от 900 до 1000 г размещают на лабораторном столе и вручную пинцетом отдельно выделяют сорную примесь и примесь других эфиромасличных растений. Каждую фракцию примесей взвешивают с точностью до второго десятичного знака.
6.3.2 Определение содержания примеси данного эфиромасличного растения
Из лабораторной пробы сырья после выделения сорной примеси и примеси других эфиромасличных растений отбирают анализируемую пробу массой от 150 до 300 г и размещают на лабораторном столе, выделяя примеси данного растения в соответствии с требованиями стандарта на сырье конкретного вида. Выделенную примесь взвешивают с точностью до второго десятичного знака.
Примеры определения массовой доли примесей данного растения в сырье.
Пример 1 - Определение массовой доли примесей данного растения в сырье лаванды узколистной.
Соцветия лаванды укладывают пучком с расположением нижних полумутовок на одном уровне. Затем ножницами или секатором отрезают части стеблей на расстоянии 10 см от нижних полумутовок. Из лабораторной пробы сырья выбирают листья, части стеблей и присоединяют их к отрезанным стеблям. В результате получают примесь "листья и стебли". Из сырья, освобожденного от примеси "листья и стебли", отбирают примесь "недозревшие и перезревшие соцветия" лаванды. Выделенные фракции примесей отдельно взвешивают.
Пример 2 - Определение массовой доли примесей данного растения в сырье шалфея мускатного.
От каждого цветоносного побега шалфея мускатного отрезают части стебля с листьями, включая верхнюю пару черешковых листьев, добавляют черешковые листья и части стебля, попавшие в лабораторную пробу, и получают примесь "листья и стебли". Из пробы, освобожденной от указанных выше примесей, выделяют фракцию "перезревшие и недозревшие соцветия шалфея". Выделенные фракции примесей отдельно взвешивают.
6.3.3 Обработка результатов измерений
6.3.3.1 Массовую долю каждого вида примеси в сырье Xn, %, вычисляют по формуле

(3)
где mn - масса примеси данного вида в анализируемой пробе, г;
m - масса лабораторной пробы сырья, г;
100 - коэффициент пересчета в проценты.
Вычисления проводят до второго десятичного знака с последующим округлением результата до первого десятичного знака. Проводят два параллельных измерения.
За окончательный результат измерений массовой доли примеси принимают среднее арифметическое двух параллельных измерений.
6.3.3.2 Допускаемые расхождения между результатами двух параллельных измерений, выполненных в одной лаборатории при одинаковых условиях, одним оператором в пределах короткого промежутка времени, не должны превышать:
- для сырья с массовой долей примеси до 5,0% включительно - 0,5%;
- для сырья с массовой долей примеси от 5,1 до 10,0% включительно - 1,0%;
- для сырья с массовой долей примеси от 10,1 до 25,0% включительно - 3,0%.
7 Методы определения массовой доли эфирного масла
7.1 Сущность метода
Для определения массовой доли эфирного масла в эфиромасличном цветочно-травянистом сырье применяют: метод Далматова, метод Гинзберга или метод Клевенджера, которые основаны на способности эфирного масла перегоняться с водяным паром и конденсации паров воды и эфирного масла в холодильнике с последующей декантацией эфирного масла в градуированной части приемника с измерением его объема.
7.2 Средства измерений и вспомогательное оборудование
Аппарат перегонный лабораторный (приложение А,
рисунок А.1).
Приемник Далматова с объемом градуированной части не менее чем 2,5 см
3, ценой деления не более чем 0,05 см
3 (приложение А,
рисунок А.2).
Приемник Гинзберга с объемом градуированной части не менее чем 2,5 см
3, ценой деления не более чем 0,05 см
3 (приложение А,
рисунок А.4).
Насадка Клевенджера с объемом градуированной части не более чем 3,0 см
3, ценой деления не более чем 0,02 см
3 (приложение А,
рисунок А.7 или
А.8).
Весы неавтоматического действия по
ГОСТ OIML R 76-1 с пределами допускаемой абсолютной погрешности +/- 0,01 г.
Холодильник стеклянный лабораторный ХШ-3-300(400) ХС по
ГОСТ 25336.
Секундомер.
Штатив лабораторный с держателями.
Допускается применение других средств измерений с метрологическими характеристиками не ниже вышеуказанных и вспомогательного оборудования с техническими характеристиками не ниже вышеуказанных.
7.3 Определение массовой доли эфирного масла в свежесрезанном сырье методом Далматова
Метод основан на отгонке эфирного масла из сырья способом паровой дистилляции в лабораторном перегонном аппарате и измерении объема, отделившегося (декантированного) эфирного масла в градуированной части приемника Далматова.
Примечание
а) Сырье не контактирует с водой, приемник расположен вне перегонного аппарата.
б) Эфирное масло, не отогнанное из сырья, и масло, растворенное в дистилляционной воде, не учитывают.
в) Эфирное масло, полученное данным методом, рекомендуется для определения его качества (органолептические, физико-химические и газохроматографические показатели).
7.3.1 Технологические параметры дистилляции эфирного масла методом Далматова приведены в таблице 2.
Ботаническое наименование растения (вид сырья) | Параметры дистилляции |
Масса лабораторной пробы, г | Скорость, см3/мин | Продолжительность, мин |
Анис обыкновенный, надземная масса | 400 - 450 | 8 - 10 | 90 |
Базилик эвгенольный, надземная масса | 400 - 450 | 10 - 12 | 60 |
Бархатцы, надземная масса | 400 - 450 | 10 - 12 | 45 |
Герань розовая, надземная масса | 600 - 700 | 10 - 12 | 45 |
Змееголовник молдавский, надземная масса | 400 - 450 | 10 - 12 | 45 |
Иссоп лекарственный, надземная масса | 400 - 450 | 10 - 12 | 45 |
Котовник, надземная масса | 600 - 700 | 10 - 12 | 45 |
Лаванда узколистная, соцветия | 400 - 450 | 10 - 12 | 60 |
Лавандин, соцветия | 400 - 450 | 10 - 12 | 60 |
Лофант анисовый, надземная масса | 400 - 450 | 10 - 12 | 60 |
Мелисса лекарственная, надземная масса | 600 - 700 | 10 - 12 | 60 |
Мята перечная, надземная масса | 400 - 450 | 10 - 12 | 60 |
Пижма обыкновенная, надземная масса | 400 - 450 | 10 - 12 | 60 |
Полынь эстрагонная, надземная масса | 500 - 600 | 8 - 10 | 90 |
Полынь таврическая, надземная масса | 500 - 600 | 10 - 12 | 60 |
Розмарин лекарственный, надземная масса | 400 - 450 | 10 - 12 | 60 |
Тысячелистник обыкновенный, надземная масса | 400 - 450 | 8 - 10 | 90 |
Укроп пахучий, надземная масса | 400 - 450 | 8 - 10 | 90 |
Шалфей лекарственный, надземная масса | 400 - 450 | 8 - 10 | 90 |
Шалфей мускатный, соцветия | 400 - 450 | 10 - 12 | 60 |
Фенхель обыкновенный, надземная масса | 400 - 450 | 8 - 10 | 90 |
Примечание - Лабораторные пробы сырья непосредственно перед определением массовой доли эфирного масла измельчают на отрезки длиной 2 - 3 см. |
7.3.2 Проведение измерений
7.3.2.1 На дно патрона перегонного лабораторного аппарата (приложение А,
рисунок А.1), заполненного нагретой водой для ускорения процесса дистилляции, помещают марлю в два слоя во избежание попадания сырья в парообразователь. Лабораторную пробу измельченного сырья (см.
таблицу 2, примечание) количественно переносят в патрон, равномерно распределяют и уплотняют. Количество воды в парообразователе должно быть таким, чтобы уровень воды был ниже дна патрона с анализируемой пробой на 2 - 3 см.
7.3.2.2 Паз гидравлического затвора перегонного лабораторного аппарата
(рисунок А.1) должен быть заполнен водой. Аппарат закрывают крышкой, устанавливают на электроплитку и соединяют переходником с холодильником. Под холодильником помещают приемник Далматова, заполненный водой, и приемную емкость для сбора дистилляционной воды. Косо срезанный конец форштоса холодильника должен касаться края воронки приемника, чтобы капли дистиллята стекали по стенкам воронки приемника в его градуированную часть во избежание расслоения декантированного масла. Продолжительность дистилляции конкретного вида сырья приведена в
таблице 2. Начало дистилляции - с момента появления первой капли дистиллята из холодильника.
7.3.2.3 За 1 - 2 мин до конца дистилляции (см.
таблицу 2) прекращают подачу воды в холодильник с целью его прогревания. При этом оставшиеся на внутренних стенках холодильника капли эфирного масла стекают в приемник. С появлением пара в воздушной трубке холодильника подачу воды возобновляют. Такую процедуру повторяют 2 - 3 раза.
7.3.2.4 После окончания дистилляции эфирное масло в приемнике охлаждают до температуры окружающей среды, а затем измеряют его объем в градуированной части приемника Далматова.
7.4 Определение массовой доли эфирного масла в свежесрезанном сырье методом Гинзберга или методом Клевенджера
Методы основаны на отгонке эфирного масла из сырья способом гидродистилляции на лабораторных установках и измерении объема, отделившегося (декантируемого) эфирного масла в градуированной части приемника Гинзберга или насадок Клевенджера (приложение А,
рисунки А.4 и
А.7,
А.8).
Примечание
а) Метод Гинзберга - сырье контактирует с водой в перегонной колбе, приемник расположен в колбе, получаемый при такой перегонке дистиллят непрерывно возвращается в перегонную колбу, а эфирное масло декантируется в приемнике.
б) Усовершенствованный метод Гинзберга - метод Гинзберга с использованием дефлегматора для повышения концентрации эфирного масла в паровой фазе и улучшения его декантации.
в) Метод Клевенджера - сырье контактирует с водой в перегонной колбе, приемная часть насадки вынесена за пределы перегонной колбы, получаемый при такой перегонке дистиллят непрерывно возвращается в перегонную колбу, а эфирное масло декантируется в градуированной части насадки Клевенджера.
7.4.1 Технологические параметры дистилляции эфирного масла методом Гинзберга или методом Клевенджера приведены в таблице 3.
Ботаническое наименование растения (вид сырья) | Параметры дистилляции |
Масса лабораторной пробы, г | Вместимость колбы, см3 | Гидромодуль, г/см3 | Продолжительность, мин | Скорость, капель/мин |
Анис обыкновенный, надземная масса | 50 - 200 | 1000 - 2000 | 1:6 | 120 | 50 - 60 |
Базилик эвгенольный, надземная масса | 50 - 200 | 1000 - 2000 | 1:6 | 90 | 50 - 60 |
Бархатцы, надземная масса | 50 - 200 | 1000 - 2000 | 1:5 | 45 | 50 - 60 |
Герань розовая <*>, надземная масса | 500 | 6000 | 1:5 | 60 | 50 - 60 |
Змееголовник молдавский, надземная масса | 50 - 200 | 1000 - 2000 | 1:6 | 60 | 50 - 60 |
Иссоп лекарственный, надземная масса | 50 - 200 | 1000 - 2000 | 1:5 | 60 | 50 - 60 |
Котовник, надземная масса | 50 - 200 | 1000 - 2000 | 1:6 | 45 | 50 - 60 |
Лаванда узколистная, соцветия | 50 - 200 | 1000 - 2000 | 1:6 | 45 | 50 - 60 |
Лавандин, соцветия | 50 - 200 | 1000 - 2000 | 1:6 | 45 | 50 - 60 |
Лофант анисовый, надземная масса | 50 - 200 | 1000 - 2000 | 1:6 | 60 | 50 - 60 |
Мелисса лекарственная, надземная масса | 150 - 200 | 2000 | 1:6 | 60 | 50 - 60 |
Мята перечная, надземная масса | 50 - 200 | 1000 - 2000 | 1:6 | 60 | 50 - 60 |
Пижма обыкновенная, надземная масса | 50 - 200 | 1000 - 2000 | 1:5 | 60 | 50 - 60 |
Полынь эстрагонная, надземная масса | 50 - 200 | 1000 - 2000 | 1:6 | 120 | 50 - 60 |
Полынь таврическая, надземная масса | 50 - 200 | 1000 - 2000 | 1:6 | 120 | 50 - 60 |
Розмарин лекарственный, надземная масса | 50 - 200 | 1000 - 2000 | 1:5 | 60 | 50 - 60 |
Роза эфиромасличная, цветки | 500 | 6000 | 1:5 | 150 | 60 - 80 |
Тысячелистник обыкновенный, надземная масса | 50 - 200 | 1000 - 2000 | 1:6 | 90 | 50 - 60 |
Укроп пахучий, надземная масса | 100 - 200 | 2000 | 1:8 | 120 | 50 - 60 |
Шалфей лекарственный, надземная масса | 50 - 200 | 1000 - 2000 | 1:6 | 60 | 50 - 60 |
Шалфей мускатный, соцветия | 100 - 200 | 2000 | 1:6 | 45 | 50 - 60 |
Фенхель обыкновенный, надземная масса | 100 - 200 | 2000 | 1:6 | 150 | 50 - 60 |
<*> Для сырья герани розовой и розы эфиромасличной применяют усовершенствованный метод Гинзберга (приложение А, рисунок А.5). |
7.4.2 Проведение определения по методу Гинзберга
7.4.2.1 Лабораторную пробу измельченного сырья (1 - 3 см) количественно переносят в колбу, добавляют воды в соотношении 1:5 - 1:8 (см.
таблицу 3). Колбу закрывают пробкой, в которую входит нижний конец холодильника. При этом под холодильником подвешивают на прочной нити заполненный водой приемник Гинзберга так, чтобы край форштоса холодильника касался края воронки приемника. Приемник наклоняют в сторону сливания во избежание его переполнения в процессе дистилляции.
7.4.2.2 Колбу ставят на электроплитку и отгоняют эфирное масло в течение времени, указанного в
таблице 3, начиная отсчет времени с момента появления первых капель дистиллята из холодильника.
7.4.2.3 Перед окончанием дистилляции проводят пропаривание холодильника по
7.3.2.3.
7.4.2.4 После окончания дистилляции эфирное масло в приемнике охлаждают до температуры окружающей среды, а затем измеряют его объем в градуированной части приемника Гинзберга. Общий вид установки Гинзберга представлен в приложении А,
рисунок А.3.
7.4.3 Проведение определения по методу Клевенджера
7.4.3.1 Лабораторную пробу измельченного сырья (1 - 3 см) количественно переносят в колбу, добавляют воды в соотношении 1:5 - 1:8 (см.
таблицу 3).
7.4.3.2 Колбу ставят на электроплитку, соединяют с насадкой Клевенджера, заполняя ее водой в градуированной части. Отгонку эфирного масла проводят по
7.4.2.2.
7.4.3.3 Перед окончанием дистилляции проводят пропаривание холодильника по
7.3.2.3.
7.4.3.4 После окончания дистилляции эфирное масло в приемнике охлаждают до температуры окружающей среды, а затем измеряют его объем в градуированной части насадки Клевенджера. Общий вид установки Клевенджера представлен в приложении А,
рисунок А.6.
7.4.4 Проводят два параллельных измерения.
7.5 Обработка результатов измерений
7.5.1 Массовую долю эфирного масла Eсыр, %, в пересчете на сырую массу сырья вычисляют по формуле

(4)
где n - количество делений в приемнике, которое занимает декантированное эфирное масло;

- цена деления в градуированной части приемника, см
3;

- плотность эфирного масла соответствующего вида сырья, г/см
3 (приложение Б,
таблица Б.1);
m - масса пробы, г;
100 - коэффициент пересчета в проценты.
7.5.2 Массовую долю эфирного масла Eа.с, %, в пересчете на абсолютно сухую массу сырья вычисляют по формуле

(5)
где
Eсыр - массовая доля эфирного масла, вычисленная по
формуле (4), %;
W - массовая доля влаги в сырье (см.
5.2), %.
Вычисления проводят до третьего десятичного знака с последующим округлением до второго десятичного знака.
7.5.3 За окончательный результат измерений принимают среднее арифметическое результатов двух параллельных измерений, полученных при использовании одного и того же метода, в одной лаборатории, одним оператором на одном и том же оборудовании, в пределах короткого промежутка времени. Допускаемое расхождение между результатами двух параллельных измерений не должно превышать 1,0% (по объему).
7.5.4 При оформлении результатов измерения по показателю "массовой доли эфирного масла" необходимо конкретно указывать применяемый метод.
(справочное)
ПЕРЕГОННЫЙ АППАРАТ И УСТАНОВКИ ДЛЯ ДИСТИЛЛЯЦИИ ЭФИРНЫХ МАСЕЛ
А.1 Перегонный аппарат
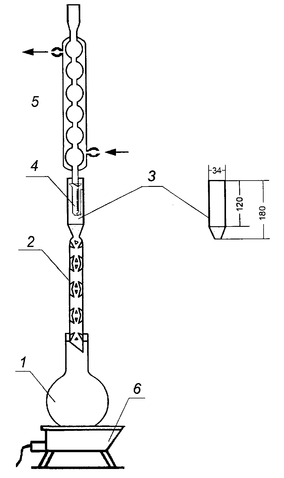
А.1.1 Общий вид лабораторного перегонного аппарата с гидравлическим затвором для определения массовой доли эфирного масла по методу Далматова приведен на рисунке А.1.
1 - электроплита; 2 - парообразователь; 3 - емкость
для сырья (патрон); 4 - переходник; 5 - холодильник;
6 - приемник Далматова; 7 - мерный цилиндр; 8 - корпус
аппарата; 9 - крышка; 10 - гидравлический затвор
Рисунок А.1 - Общий вид лабораторного перегонного аппарата
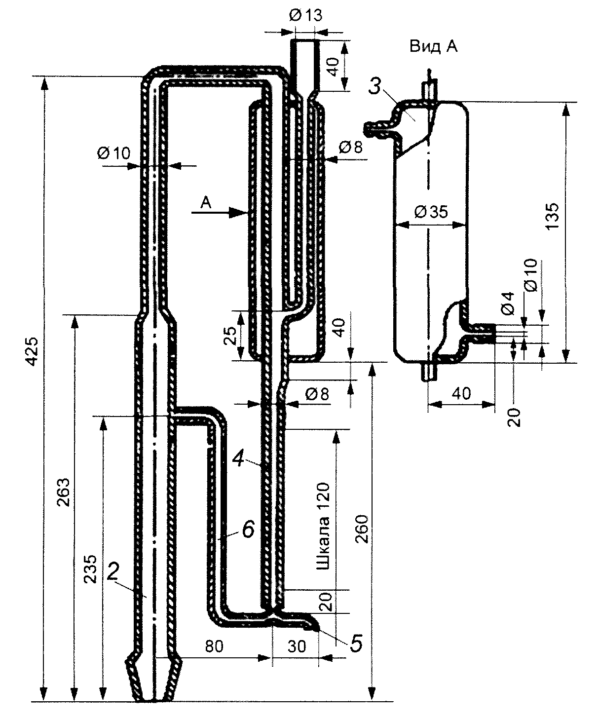
А.1.2 Чертеж приемника Далматова приведен на рисунке А.2.
Рисунок А.2 - Чертеж приемника Далматова
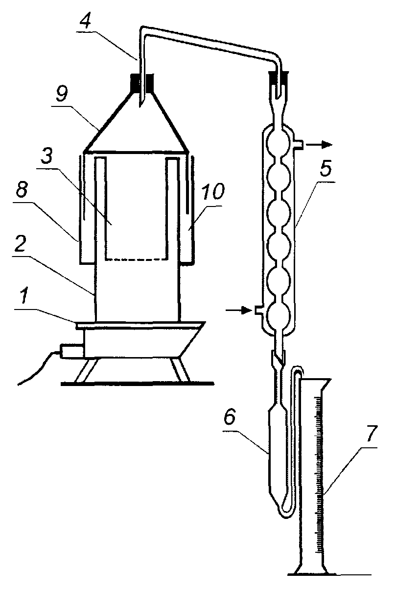
А.2 Лабораторная установка Гинзберга
А.2.1 Схема лабораторной установки для определения содержания эфирного масла по методу Гинзберга приведена на
рисунке А.3.
1 - электроплитка; 2 - перегонная колба;
3 - приемник Гинзберга; 4 - холодильник
Рисунок А.3 - Общий вид лабораторной установки Гинзберга
А.2.2 Чертеж приемника Гинзберга приведен на рисунке А.4.
Рисунок А.4 - Чертеж приемника Гинзберга
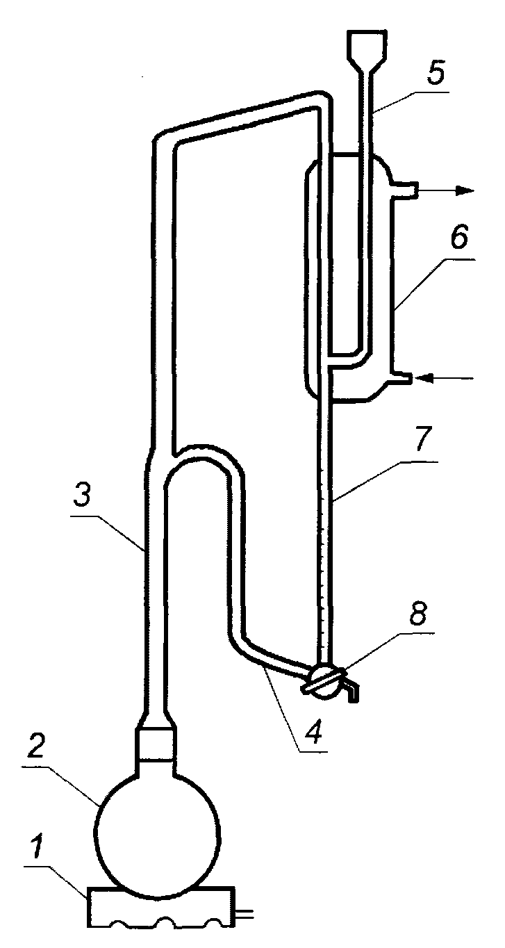
А.2.3 Общий вид усовершенствованной установки Гинзберга для отделения декантированного гераниевого и розового эфирных масел приведен на рисунке А.5.
1 - перегонная колба; 2 - дефлегматор; 3 - расширенная
трубка для размещения приемника Гинзберга; 4 - приемник
Гинзберга; 5 - холодильник; 6 - электроплитка
Рисунок А.5 - Общий вид усовершенствованной установки
Гинзберга для отделения декантированного гераниевого
и розового эфирных масел
А.3 Лабораторная установка Клевенджера
А.3.1 Общий вид лабораторной установки для определения содержания эфирного масла по методу Клевенджера приведен на рисунках А.6 -
А.8.
1 - электроплитка; 2 - колба; 3 - трубка паропроводная;
4 - трубка сливная; 5 - трубка воздушная; 6 - холодильник;
7 - приемник градуированный; 8 - кран спусковой
Рисунок А.6 - Общий вид установки Клевенджера
А.3.2 Чертеж насадки Клевенджера (тип 1) приведен на рисунке А.7.
Рисунок А.7 - Чертеж насадки Клевенджера (тип 1)
А.3.3 Общий вид насадки Клевенджера (тип 2) приведен на рисунке А.8.
Рисунок А.8 - Насадка Клевенджера (тип 2)
(справочное)
СРЕДНЯЯ ВЕЛИЧИНА ПЛОТНОСТИ ЭФИРНЫХ МАСЕЛ
Наименование эфирного масла | Средняя величина плотности, г/см3 |
Анисовое | 0,981 |
Базиликовое: | |
- легкое | 0,971 |
- тяжелое | 1,041 |
Бархатцевое | 0,883 |
Гераниевое | 0,888 |
Змееголовника молдавского | 0,925 |
Иссоповое | 0,941 |
Котовниковое | 0,871 |
Лавандовое | 0,884 |
Лавандиновое | 0,883 |
Лофантовое | 0,969 |
Мелиссовое | 0,912 |
Мятное | 0,903 |
Пижмовое | 0,918 |
Полыни эстрагонной | 0,933 |
Полыни таврической | 0,906 |
Розмариновое | 0,888 |
Розовое | 0,861 |
Тысячелистника | 0,913 |
Укропное | 0,893 |
Шалфея лекарственного | 0,918 |
Шалфея мускатного | 0,913 |
Фенхелевое | 0,933 |