Главная // Актуальные документы // ГОСТ (Государственный стандарт)СПРАВКА
Источник публикации
М.: Стандартинформ, 2018
Примечание к документу
Документ включен в
Перечень международных и региональных (межгосударственных) стандартов, а в случае их отсутствия - национальных (государственных) стандартов, содержащих правила и методы исследований (испытаний) и измерений, в том числе правила отбора образцов, необходимые для применения и исполнения требований технического
регламента Таможенного союза "О требованиях к автомобильному и авиационному бензину, дизельному и судовому топливу, топливу для реактивных двигателей и мазуту" (ТР ТС 013/2011) и осуществления оценки соответствия объектов технического регулирования (
Решение Коллегии Евразийской экономической комиссии от 15.08.2023 N 114).
Документ включен в
Перечень стандартов, содержащих правила и методы исследований (испытаний) и измерений, в том числе правила отбора образцов, необходимые для применения и исполнения требований технического
регламента Таможенного союза "О требованиях к автомобильному и авиационному бензину, дизельному и судовому топливу, топливу для реактивных двигателей и мазуту" (ТР ТС 013/2011) и осуществления оценки соответствия объектов технического регулирования (
Решение Комиссии Таможенного союза от 18.10.2011 N 826).
Документ
введен в действие с 1 января 2019 года.
Название документа
"ГОСТ 33193-2014. Межгосударственный стандарт. Топлива авиационные для газотурбинных двигателей и керосин. Определение максимальной высоты некоптящего пламени"
(введен в действие Приказом Росстандарта от 31.10.2018 N 890-ст)
"ГОСТ 33193-2014. Межгосударственный стандарт. Топлива авиационные для газотурбинных двигателей и керосин. Определение максимальной высоты некоптящего пламени"
(введен в действие Приказом Росстандарта от 31.10.2018 N 890-ст)
по техническому регулированию
и метрологии
от 31 октября 2018 г. N 890-ст
МЕЖГОСУДАРСТВЕННЫЙ СТАНДАРТ
ТОПЛИВА АВИАЦИОННЫЕ ДЛЯ ГАЗОТУРБИННЫХ ДВИГАТЕЛЕЙ И КЕРОСИН
ОПРЕДЕЛЕНИЕ МАКСИМАЛЬНОЙ ВЫСОТЫ НЕКОПТЯЩЕГО ПЛАМЕНИ
Aviation turbine fuels and kerosine. Determination
of smoke point
ГОСТ 33193-2014
Дата введения
1 января 2019 года
Цели, основные принципы и основной порядок проведения работ по межгосударственной стандартизации установлены в
ГОСТ 1.0-2015 "Межгосударственная система стандартизации. Основные положения" и
ГОСТ 1.2-2015 "Межгосударственная система стандартизации. Стандарты межгосударственные, правила и рекомендации по межгосударственной стандартизации. Правила разработки, принятия, обновления и отмены"
1 ПОДГОТОВЛЕН Научно-производственным республиканским унитарным предприятием "Белорусский государственный институт стандартизации и сертификации" (БелГИСС) на основе собственного перевода на русский язык англоязычной версии стандарта, указанного в
пункте 5
2 ВНЕСЕН Государственным комитетом по стандартизации Республики Беларусь
3 ПРИНЯТ Межгосударственным советом по стандартизации, метрологии и сертификации (протокол от 22 декабря 2014 г. N 73-П)
За принятие проголосовали:
Краткое наименование страны по МК (ИСО 3166) 004-97 | Код страны по МК (ИСО 3166) 004-97 | Сокращенное наименование национального органа по стандартизации |
Армения | AM | Минэкономики Республики Армения |
Беларусь | BY | Госстандарт Республики Беларусь |
Казахстан | KZ | Госстандарт Республики Казахстан |
Киргизия | KG | Кыргызстандарт |
Молдова | MD | Институт стандартизации Молдовы |
Россия | RU | Росстандарт |
Таджикистан | TJ | Таджикстандарт |
Узбекистан | UZ | Узстандарт |
4
Приказом Федерального агентства по техническому регулированию и метрологии от 31 октября 2018 г. N 890-ст межгосударственный стандарт ГОСТ 33193-2014 введен в действие в качестве национального стандарта Российской Федерации с 1 января 2019 г.
5 Настоящий стандарт идентичен стандарту ASTM D1322-12 "Стандартный метод определения максимальной высоты некоптящего пламени керосина и топлива для газотурбинных двигателей" ("Standard test method for smoke point of kerosine and aviation turbine fuel", IDT).
Стандарт разработан Техническим комитетом по стандартизации ASTM D02 "Нефтепродукты и смазочные материалы", ответственность за него несет Подкомитет D02.03 "Элементный анализ".
Наименование настоящего стандарта изменено относительно наименования указанного стандарта ASTM для приведения в соответствие с ГОСТ 1.5
(подраздел 3.6).
При применении настоящего стандарта рекомендуется использовать вместо ссылочных стандартов ASTM и IP соответствующие им межгосударственные стандарты,
сведения о которых приведены в дополнительном приложении ДА
6 ВВЕДЕН ВПЕРВЫЕ
Информация об изменениях к настоящему стандарту публикуется в ежегодном информационном указателе "Национальные стандарты", а текст изменений и поправок - в ежемесячном информационном указателе "Национальные стандарты". В случае пересмотра (замены) или отмены настоящего стандарта соответствующее уведомление будет опубликовано в ежемесячном информационном указателе "Национальные стандарты". Соответствующая информация, уведомление и тексты размещаются также в информационной системе общего пользования - на официальном сайте Федерального агентства по техническому регулированию и метрологии в сети Интернет (www.gost.ru)
1.1 Настоящий стандарт устанавливает два метода определения максимальной высоты некоптящего пламени авиационных топлив для газотурбинных двигателей и керосина - ручной и автоматический, различающихся прецизионностью результатов определения.
1.2 В 2012 г. было проведено межлабораторное исследование (подтверждающие материалы, приведенные в ASTM RR:D02-1747) с участием 11 лабораторий, применявших ручную аппаратуру, и 13 лабораторий - автоматическую, испытывавших 15 проб вслепую в двух повторностях. Автоматический метод характеризуется объективностью результатов и лучшей контролируемостью и поэтому является предпочтительным.
1.3 Значения, выраженные в единицах СИ, следует считать стандартными. Настоящий стандарт не содержит значений, выраженных в других единицах измерения.
1.4 Настоящий стандарт не рассматривает всех проблем безопасности, связанных с его применением, если они существуют. Пользователь настоящего стандарта несет ответственность за обеспечение техники безопасности, охрану здоровья и определение границ применимости стандарта до начала его применения.
Для применения настоящего стандарта необходимы следующие ссылочные стандарты. Для недатированных ссылок применяют последнее издание ссылочного стандарта (включая все изменения к нему).
--------------------------------
<1> Уточнить ссылки на стандарты ASTM можно на сайте ASTM www.astm.org или в службе поддержки клиентов ASTM service@astm.org. В информационном томе ежегодного сборника стандартов (Annual Book of ASTM Standards) следует обращаться к сводке стандартов ежегодного сборника стандартов на странице сайта.
ASTM D4057, Practice for manual sampling of petroleum and petroleum products (Руководство по отбору проб нефти и нефтепродуктов вручную)
ASTM D6299, Practice for applying statistical quality assurance and control charting techniques to evaluate analytical measurement system performance (Руководство по применению методов статистического контроля качества для оценки функционирования системы аналитических измерений)
2.2 Стандарты Института энергии
<2>:
--------------------------------
<2> Информацию о стандартах можно получить в Институте энергии по адресу: 61 New Cavendish St., London, WiG 7AR, U.K., http://www.energyinst.org.uk.
IP 367/2007, Petroleum products - Determination and application of precision data in relation to methods of test (Нефтепродукты. Определение и применение данных прецизионности в отношении методов испытаний)
IP 598/2012, Petroleum products - Determination of the smoke point of kerosine, manual and automated method (Нефтепродукты. Определение максимальной высоты некоптящего пламени керосина, ручной и автоматический метод)
Примечание 1 - Только стандарт IP 598, опубликованный в 2012 г. Институтом нефти (переименован в Институт энергии), идентичен ASTM D1322; стандарт IP 57 идентичным не является.
3.1 Определения
3.1.1 авиационное топливо для газотурбинных двигателей (aviation turbine fuel): Очищенный нефтяной дистиллят, обычно используемый в качестве топлива для авиационных газовых турбин.
3.1.1.1 Различные сорта топлива характеризуются разными пределами испаряемости, температурой кристаллизации и вспышки.
3.1.2 керосин (kerosine): Очищенный нефтяной дистиллят, кипящий в диапазоне температур от 140 °C до 300 °C, обычно используемый для целей освещения и отопления.
3.1.2.1 Различные сорта керосина характеризуются разными пределами испаряемости и содержанием серы.
3.2 Определения терминов, применяемых только в настоящем стандарте:
3.2.1 максимальная высота некоптящего пламени (smoke point): Максимальная высота (в миллиметрах) бездымного пламени топлива, сжигаемого в фитильной лампе определенной конструкции.
4.1 Пробу сжигают в закрытой фитильной лампе, откалиброванной с использованием смесей чистых углеводородов с известной максимальной высотой некоптящего пламени. Максимальную высоту пламени, которую можно достичь при испытании топлива без дымообразования, определяют с точностью до 0,5 мм при использовании ручной аппаратуры и с точностью до 0,1 мм при использовании автоматической аппаратуры.
5 Значение и применение метода
5.1 Настоящий метод испытания обеспечивает определение соответствующих дымообразующих свойств керосинов и авиационных топлив для газотурбинных двигателей в диффузионном пламени. Максимальная высота некоптящего пламени зависит от углеводородного состава топлив. Как правило, чем больше ароматических углеводородов содержится в топливе, тем более коптящим является его пламя. Высокие значения высоты некоптящего пламени характеризуют низкую способность топлив к дымообразованию.
5.2 Максимальная высота некоптящего пламени количественно зависит от склонности продуктов горения топлива к тепловому излучению. Поскольку тепловое излучение оказывает сильное влияние на температуру металла камеры сгорания и других частей газовых турбин, на основании максимальной высоты некоптящего пламени может быть установлена корреляция между характеристиками топлива и сроком службы указанных элементов (узлов).
6.1 Лампа для определения максимальной высоты некоптящего пламени (ручной аппарат), приведенная на
рисунке 1 и подробно описанная в
приложении A1.
Рисунок 1 - Лампа для определения максимальной высоты
некоптящего пламени (ручной аппарат)
6.2 Лампа для определения максимальной высоты некоптящего пламени (автоматический аппарат), оснащенная, помимо основных компонентов, подробно описанных в
приложении A1, также цифровой камерой, соединенной с компьютером для анализа и вычисления высоты пламени, системой перемещения резервуара для регулировки высоты пламени и системой определения барометрического давления, связанной с базой калибровочных данных, для выбора правильного калибровочного значения при автоматическом вычислении поправочного коэффициента в соответствии с
10.1.2.
Рисунок 2 - Принцип работы аппарата (автоматического)
для определения максимальной высоты некоптящего пламени
6.2.1 Цифровая камера, оснащенная специализированным программным обеспечением, способная измерять высоту пламени с разрешением не менее 0,05 мм.
6.3 Барометр, обеспечивающий измерение давления с погрешностью +/- 0,5 кПа.
6.4 Фитиль из обычного тканого твердого круглого хлопчатобумажного жгута со следующими характеристиками:
- оболочка - 17 нитей, 66 текс x 3;
- основа - 9 нитей, 100 текс x 4;
- уток - 40 текс x 2;
- число нитей - 6 на 1 см.
6.5 Пипетки или бюретки класса A.
7.1 Толуол - эталонное топливо ASTM. (
Предупреждение - Легковоспламеняющаяся жидкость, пары вредны (см. приложение A.2,
A.2.1).
7.2 2,2,4-триметилпентан (изооктан) чистотой не менее 99,75% (
m/
m)
. (
Предупреждение - Легковоспламеняющаяся жидкость, пары вредны (см. приложение A.2,
A.2.2).
7.3 Метанол (метиловый спирт) безводный. (
Предупреждение - Легковоспламеняющаяся жидкость, пары вредны (см. приложение A.2,
A.2.3).
7.4 Эталонные топливные смеси (состав приведен в
таблице 1), соответствующие испытуемым топливам, приготавливаемые из толуола и 2,2,4-триметилпентана с помощью калиброванных пипеток и бюреток с погрешностью +/- 0,2%.
Таблица 1
Эталонные топливные смеси
Стандартная максимальная высоты некоптящего пламени при 101,3 кПа | Толуол | 2,2,4-триметилпентан |
мм | % (V/V) | % (V/V) |
14,7 | 40 | 60 |
20,2 | 25 | 75 |
22,7 | 20 | 80 |
25,8 | 15 | 85 |
30,2 | 10 | 90 |
35,4 | 5 | 95 |
42,8 | 0 | 100 |
7.5 Гептан чистотой не менее 99,75% (
m/
m)
. (
Предупреждение - Чрезвычайно легковоспламеняющаяся жидкость, вдыхание паров вредно (см. приложение A.2,
A.2.4).
8 Отбор и подготовка проб
8.1 Отбор проб рекомендуется производить в соответствии с требованиями ASTM D4057. Пробу испытывают сразу после получения. Температуру проб доводят до температуры окружающей среды (2 +/- 5) °C, не нагревая их. Если проба мутная или содержит примеси, ее необходимо профильтровать через фильтровальную бумагу.
Ручной аппарат
9.1 Располагают лампу в вертикальном положении в помещении, защищенном от сквозняков. Каждую новую лампу внимательно осматривают, чтобы удостовериться, что все вентиляционные отверстия камеры и втулки резервуара чистые, незасоренные и имеют соответствующие размеры. Камеру следует располагать таким образом, чтобы вентиляционные отверстия были свободны (не закрыты).
Примечание 2 - Даже небольшие отклонения от всех перечисленных требований имеют значительное влияние на прецизионность полученных результатов.
9.1.1 Если в помещении все же имеются сквозняки, лампу располагают в вертикальном положении в ящике, изготовленном из негорючего материала (не содержащего асбест), открытом спереди. Расстояние от верха ящика до верха трубы должно быть не менее 150 мм. Внутренняя поверхность ящика должна быть окрашена матовой черной краской.
Автоматический аппарат
9.2 Подготавливают аппарат в соответствии с инструкцией по эксплуатации изготовителя.
9.3 Все фитили, как новые, так и использовавшиеся в предыдущих испытаниях, экстрагируют в экстракторе, выполняя не менее 25 циклов экстракции с использованием смеси, состоящей из одинаковых объемов толуола и безводного метанола. Фитили перед помещением в сушильный шкаф подсушивают в вытяжном шкафу или высушивают во взрывобезопасном сушильном шкафу с принудительной вентиляцией (или используют и то и другое). Фитили сушат в течение 30 мин при температуре от 100 °C до 110 °C и перед применением хранят в эксикаторе.
9.3.1 Экстрагированные фитили имеются в продаже и могут использоваться при наличии документов, подтверждающих, что экстракция была проведена в соответствии с
9.3. Эти экстрагированные фитили перед применением хранят в эксикаторе с осушителем. Использовавшиеся фитили перед повторным применением экстрагируют в соответствии с
9.3.
Ручной аппарат
10.1 Ежедневно перед первым испытанием проверяют калибровку аппарата в соответствии с
10.1.3 или калибруют его (при необходимости) в соответствии с
10.1.1. Повторную калибровку выполняют при изменении параметров аппарата, смене оператора или в случае изменения бараметрического давления более чем на 0,7 кПа.
10.1.1 Калибровку аппарата выполняют в соответствии с
разделом 11 путем испытания двух эталонных топливных смесей, указанных в
7.4 и имеющих по возможности такие значения максимальной высоты некоптящего пламени, чтобы значение максимальной высоты некоптящего пламени пробы находилось между ними (ограничивалось данными значениями). Если выполнение указанного условия невозможно, используют две смеси, имеющие значения максимальной высоты некоптящего пламени, близкие к значению максимальной высоты некоптящего пламени пробы.
10.1.2 Определяют поправочный коэффициент
f аппарата по формуле

, (1)
где As - стандартная максимальная высота некоптящего пламени первой эталонной топливной смеси;
Ad - максимальная высота некоптящего пламени, определенная для первой эталонной топливной смеси;
Bs - стандартная максимальная высота некоптящего пламени второй эталонной топливной смеси;
Bd - максимальная высота некоптящего пламени, определенная для второй эталонной топливной смеси.
Если максимальная высота некоптящего пламени, определенная для испытуемого топлива, точно совпадает с высотой некоптящего пламени, определенной для одной из эталонных топливных смесей, то в качестве второй ограничивающей эталонной топливной смеси следует использовать топливную смесь со следующим, более высоким значением высоты некоптящего пламени, если таковая имеется. В противном случае в качестве второй эталонной смеси используют смесь с наиболее близким значением высоты некоптящего пламени.
10.1.3 Альтернативный способ проверки калибровки аппарата заключается в проведении оператором испытания контрольного образца каждый день перед использованием аппарата. Результаты определений записывают и сравнивают их среднее значение со значением для данного контрольного образца из базы данных, используя контрольные карты или эквивалентные статистические методы. Если расхождение сравниваемых значений превышает пределы допустимых отклонений или используется новый аппарат, следует провести его повторную калибровку.
Автоматический аппарат
10.2 В аппарате должна храниться база данных со значениями для эталонных топливных смесей, указанных в
таблице 1. В базе данных также должны сохраняться результаты всех проведенных калибровок прибора с указанием барометрического давления в момент проведения калибровки.
10.2.1 Аппарат должен обладать возможностью автоматического вычисления поправочного коэффициента
f в соответствии с
формулой (1) путем автоматического выбора из калибровочной базы данных значений для эталонных топливных смесей, указанных в
таблице 1, полученных в соответствии с
разделом 12 и ограничивающих по возможности максимальную высоту некоптящего пламени пробы. Если это невозможно, используются две смеси, имеющие значения максимальной высоты некоптящего пламени, близкие к значению максимальной высоты некоптящего пламени пробы.
Примечание 3 - Цифровая камера со специализированным программным обеспечением заменяет глаз оператора при наблюдении за пламенем. Следовательно, необходимость в проведении повторной калибровки в случае смены оператора отсутствует.
10.2.2 Регистрируют барометрическое давление, используя калибровочную базу данных, убеждаются в том, что аппарат откалиброван при зарегистрированном барометрическом давлении +/- 7 кПа. Если калибровочные значения для семи смесей, указанных в
таблице 1, при зарегистрированном барометрическом давлении +/- 7 кПа в базе данных отсутствуют, то проводят калибровку аппарата в соответствии с
10.2.3. Если калибровочные значения для семи эталонных смесей, указанных в
таблице 1, имеются в базе данных, т.е. если аппарат уже откалиброван при зарегистрированном барометрическом давлении, то проводят проверку его калибровки в соответствии с
10.2.4.
Примечание 4 - Поскольку автоматический аппарат сохраняет значения максимальной высоты некоптящего пламени, полученные для эталонных топливных смесей при различном барометрическом давлении, необходимость проведения калибровки при изменении барометрического давления более чем на 7 кПа отсутствует. В зависимости от значения барометрического давления, вводимого в начале испытания, аппарат автоматически выбирает из базы данных требуемые калибровочные значения, полученные для топливных смесей. Если необходимые значения в базе данных отсутствуют, то аппарат известит оператора о необходимости проведения калибровки при зарегистрированном давлении.
10.2.3 Калибровку аппарата проводят в соответствии с
разделом 11 путем испытания семи эталонных топливных смесей, указанных в
7.4.
10.2.4 Периодически (не реже одного раза в течение семи дней) или при изменении параметров аппарата проверяют его надлежащее функционирование путем испытания образцов контроля качества (QC), являющихся типовыми образцами топлив(а), обычно испытываемых в лаборатории, для подтверждения нахождения аппарата в рамках статистического контроля в соответствии ASTM D6299. Если расхождение сравниваемых значений превышает пределы допустимых отклонений, проводят повторную калибровку аппарата.
11.1 Кусок высушенного после экстрагирования фитиля длиной не менее 125 мм пропитывают пробой и вставляют в фитильную трубку резервуара
(рисунок 3). Если при выполнении этой операции произошло закручивание фитиля, его осторожно раскручивают. При возникновении спорных ситуаций или при проведении арбитражных испытаний следует всегда использовать новый фитиль, подготовленный в соответствии с
9.3.
Рисунок 3 - Фитильная трубка
11.1.1 После помещения фитиля в фитильную трубку зажигаемый конец фитиля рекомендуется снова смочить пробой топлива.
11.2 В чистый сухой резервуар лампы при комнатной температуре наливают приблизительно 20 мл (но не менее 10 мл) подготовленной пробы.
11.3 Фитильную трубку вставляют в резервуар и завинчивают до упора. Следят за тем, чтобы в вентиляционных отверстиях отсутствовало топливо. Если устройство для установки и обрезки фитиля не используется, то фитиль обрезают горизонтально, подстригая неровные концы таким образом, чтобы фитиль выступал из трубки на расстояние 6 мм. Для обрезания используют чистое лезвие бритвы или другой острый режущий инструмент.
11.3.1 Некоторые лезвия бритвы имеют защитное покрытие; перед использованием данных лезвий покрытие следует удалить с использованием растворителя.
Рисунок 4 - Устройство для обрезки фитиля
Рисунок 5 - Пошаговая установка фитиля
Ручной аппарат
11.4 Устанавливают резервуар в лампу
11.5 Зажигают лампу и регулируют фитиль таким образом, чтобы высота пламени составляла приблизительно 10 мм (см.
рисунки 6 и
7). Оставляют лампу гореть в течение 5 мин. Поднимают резервуар до появления копоти, а затем медленно опускают. При этом форма пламени меняется следующим образом:
11.5.1 Длинный кончик пламени, дым едва заметен; пламя подвижное и неустойчивое.
11.5.2 Пламя с удлиненным острым концом и вогнутыми сторонами, как показано на
рисунке 6 (пламя A).
11.5.3 Острый кончик пламени исчезает, форма пламени становится слегка закругленной, как показано на
рисунке 6 (пламя B). Иногда рядом с правильным кончиком пламени появляется зубчатое яркое пламя, которое не учитывают.
| | ИС МЕГАНОРМ: примечание. В официальном тексте документа, видимо, допущена опечатка: имеется в виду рисунок 6, а не 2. | |
11.5.4 Пламя с сильно закругленным концом, как показано на
рисунке 2 (пламя C). Определяют высоту пламени B с точностью до 0,5 мм. Записывают отмеченную высоту пламени.
Рисунок 6 - Типовые формы пламени
Рисунок 7 - Примеры типовых изображений коптящего пламени
11.5.4.1 Чтобы избежать погрешностей вследствие параллакса, глаз наблюдателя должен находиться слегка в стороне от центральной линии так, чтобы отражение пламени было видно на шкале по одну сторону от центральной вертикальной белой линии, а само пламя находилось по другую сторону шкалы. Показание шкалы в обоих случаях должно быть одинаковым.
11.5.5 Проводят три отдельных наблюдения максимальной высоты некоптящего пламени, повторяя последовательность изменения формы пламени, указанную в
11.5. Если результаты данных наблюдений будут отличаться более чем на 1,0 мм, испытание повторяют, используя новую пробу и другой фитиль.
11.5.6 Резервуар извлекают из лампы, промывают гептаном и продувают воздухом для подготовки к последующему применению.
Автоматический аппарат
11.6 Устанавливают резервуар в подъемник (система перемещения резервуара для регулировки высоты пламени) анализатора, как показано на
рисунке 8 (позиции 1 -
3).
Рисунок 8 - Положение резервуара в автоматическом аппарате
11.6.1 Вводят с помощью клавиатуры данные, касающиеся всех проб, вводят текущее барометрическое давление и запускают испытание. Более подробная информация приведена в инструкции по эксплуатации изготовителя.
11.6.2 Резервуар автоматически устанавливается в лампу и зажигается.
11.6.3 Расположение резервуара автоматически регулируется таким образом, чтобы высота пламени составляла приблизительно 10 мм и продолжительность горения лампы составляла 5 мин.
11.6.4 После завершения периода стабилизации длительностью 5 мин резервуар автоматически поднимается до появления копоти, а затем медленно опускается. Программным обеспечением аппарата осуществляется автоматический анализ изображений пламени, полученных с помощью цифровой камеры, с автоматическим детектированием формы пламени, соответствующей пламени B согласно
11.5.3, и определением высоты пламени B с точностью до 0,1 мм. Наблюдаемое значение высоты регистрируется аппаратом. Подъемник с резервуаром опускается, пламя автоматически гаснет, и подъемник возвращается в исходное положение.
Примечание 5 - Значение максимальной высоты пламени регистрируется с точностью до 0,1 мм, что обусловлено разрешающей способностью цифровой камеры при измерении высоты пламени.
11.6.5 Проводят три отдельных наблюдения максимальной высоты некоптящего пламени на аппарате, повторяя последовательность изменения формы пламени, указанную в
11.5. Если расхождения между результатами данных наблюдений превысит 1,0 мм, аппарат известит об этом оператора. Испытание повторяют, используя новую пробу и другой фитиль.
11.6.6 Резервуар снимают с подъемника, промывают гептаном и продувают воздухом для подготовки к последующему применению.
12.1 Максимальную высоту некоптящего пламени вычисляют с точностью до 0,1 мм по формуле
максимальная высота некоптящего пламени = L x f, (2)
где L - среднее значение результатов трех отдельных наблюдений, округленное до 0,1 мм;
f - поправочный коэффициент (см.
10.2), округленный до 0,01.
13.1 Ручной аппарат
Результат определения максимальной высоты некоптящего пламени пробы с округлением до 0,5 мм записывают в протокол испытания как результат, полученный с использованием ручного аппарата со ссылкой на настоящий стандарт.
13.2 Автоматический аппарат
Результат определения максимальной высоты некоптящего пламени пробы записывают непосредственно с аппарата как результат, полученный с использованием автоматического аппарата со ссылкой на настоящий стандарт.
14 Прецизионность и смещение метода <3>
--------------------------------
<3> Подтверждающие материалы имеются в наличии в архиве штаб-квартиры ASTM International и могут быть получены по запросу исследовательского отчета RR:D02-1178.
Таблица 2
Типовые показатели прецизионности
Примечание 1 - r - повторяемость; R - воспроизводимость.
Среднее значение | Ручной метод | Автоматический метод |
r | R | r | R |
15 | 2,12 | 2,90 | 0,33 | 0,74 |
20 | 2,46 | 3,37 | 0,45 | 0,83 |
25 | 2,80 | 3,84 | 0,56 | 0,91 |
30 | 3,15 | 4,31 | 0,67 | 0,99 |
35 | 3,49 | 4,78 | 0,78 | 1,07 |
40 | 3,83 | 5,24 | 0,89 | 1,16 |
42 | 3,97 | 5,43 | 0,94 | 1,19 |

r (ручной метод)

R (ручной метод)

r (автоматический метод)

R (автоматический метод)
Показатели прецизионности ручного и автоматического методов
Рисунок 9 - Графическое представление прецизионности
14.1 Повторяемость r
Расхождение между последовательными результатами испытания, полученными одним и тем же оператором на одном и том же оборудовании при одинаковых условиях испытания на идентичном испытуемом продукте в течение продолжительного периода времени при правильном выполнении метода, только в одном случае из двадцати может превысить значения, приведенные ниже.
r = 0,06840 (x + 16), (3)
где r - повторяемость;
x - максимальная высота некоптящего пламени, мм.
14.2 Воспроизводимость R
Расхождение между двумя отдельными и независимыми результатами испытаний, полученными различными операторами в различных лабораториях на идентичном испытуемом продукте в течение продолжительного периода времени при правильном выполнении метода, только в одном случае из двадцати может превысить значения, приведенные ниже.
R = 0,09363 (x + 16), (4)
где R - воспроизводимость;
x - максимальная высота некоптящего пламени, мм.
14.3 Повторяемость r
Расхождение между последовательными результатами испытания, полученными одним и тем же оператором на одном и том же оборудовании при одинаковых условиях испытания на идентичном испытуемом продукте в течение продолжительного периода времени при правильном выполнении метода, только в одном случае из двадцати может превысить значения, приведенные ниже.
r = 0,02231x, (5)
где r - повторяемость;
x - максимальная высота некоптящего пламени, мм.
14.4 Воспроизводимость R
Расхождение между двумя отдельными и независимыми результатами испытаний, полученными различными операторами в различных лабораториях на идентичном испытуемом продукте в течение продолжительного периода времени при правильном выполнении метода, только в одном случае из двадцати может превысить значения, приведенные ниже.
R = 0,01651 (x + 30), (6)
где R - воспроизводимость;
x - максимальная высота некоптящего пламени, мм.
Примечание 6 - Показатели прецизионности были получены при выполнении в 2012 г. Институтом энергии (IE) (Великобритания) совместно с Американским обществом по испытаниям и материалам (ASTM) программы межлабораторных исследований
<4> с участием 11 лабораторий, применявших ручную аппаратуру, и 13 лабораторий - автоматическую, испытывавших 15 проб вслепую в двух повторностях. Прецизионность результатов определялась в соответствии со статистическими процедурами, установленными в IP 367, с использованием компьютерной программы D2PP, применяемой комитетом ASTM D02.
--------------------------------
<4> Подтверждающие материалы имеются в наличии в архиве штаб-квартиры ASTM International и могут быть получены по запросу исследовательского отчета RR:D02-1747.
14.5 Смещение метода
14.5.1 Для установленного в настоящем стандарте метода определения максимальной высоты некоптящего пламени керосина и авиационных топлив для газотурбинных двигателей смещение не установлено, поскольку данный показатель определяется только в условиях настоящего метода.
14.5.2 Существует относительное смещение между результатами ручного и автоматических методов. Данное смещение описывается постоянным соотношением, применимым ко всему диапазону результатов определения. Соотношение, описывающее указанное смещение, имеет следующий вид:
(A + 16) = (M + 16)/1,016, (7)
где M - результат ручного метода;
A - результат автоматического метода.
14.5.3 Результаты, полученные с использованием автоматического аппарата, записывают в протокол испытания без поправки на смещение.
(обязательные)
A.1.1 Лампа для определения максимальной высоты некоптящего пламени, приведенная на
рисунке 1, с размерами, указанными в
таблице A.1.1 и на
рисунках A.1.1 и
A.1.2. Лампа должна соответствовать основным требованиям, приведенным ниже.
Примечание A.1.1 - Для уменьшения утомляемости глаз при наблюдении за пламенем можно использовать кобальтовое стекло средней плотности.
A.1.1.1 Верхний конец направляющей фитиля должен точно совпадать с нулевой отметкой на шкале.
A.1.1.2 Шкала должна быть нанесена белыми линиями на черном стекле по обе стороны черной или белой полосы шириной 2 мм с диапазоном от 0 до 50 мм, с ценой деления 1 мм, оцифровка должна быть через каждые 10 мм, цена большого деления - 5 мм.
A.1.1.3 Лампа должна быть оснащена соответствующим устройством для подъема и опускания пламени. Устройство должно перемещаться на расстояние не менее 10 мм, перемещение должно быть плавным и равномерным.
A.1.1.4 Стекло дверцы должно быть изогнутым для предотвращения многократных отражений.
A.1.1.5 Соединение между основанием и резервуаром горелки должно быть непроницаемым для топлива.
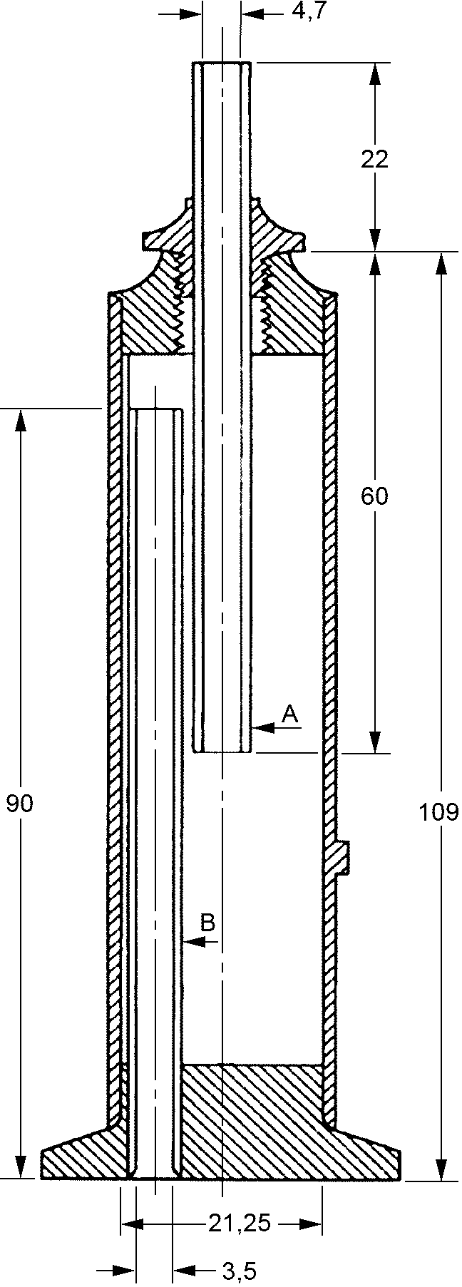
Таблица A.1.1
Основные размеры лампы для определения максимальной высоты
некоптящего пламени
| Размер, мм | Допуск, мм |
|
Втулка резервуара C, внутренний диаметр | 23,8 | +/- 0,05 |
Направляющая фитиля D, внутренний диаметр | 6,0 | +/- 0,02 |
Вентиляционные отверстия E (20 шт.), диаметр | 2,9 | +/- 0,05 |
Камера F: | | |
- внутренний диаметр; | 35,0 | +/- 0,05 |
- диаметр вентиляционного отверстия (20 шт.) | 3,5 | +/- 0,05 |
Корпус лампы G: | | |
- внутренний диаметр; | 81,0 | +/- 1,0 |
- глубина | 81,0 | +/- 1,0 |
Вытяжная труба H, внутренний диаметр | 40,0 | +/- 1,0 |
Высота от верхней части до центра корпуса лампы | 130 | +/- 1,0 |
|
Корпус резервуара: | | |
- внутренний диаметр; | 21,25 | - |
- наружный диаметр; | Скользящая посадка на держатель |
- длина без крышки; | 109 | +/- 0,05 |
- резьба на крышке | Шаг резьбы 1,0 мм |
Фитильная трубка A: | | |
- внутренний диаметр; | 4,7 | +/- 0,05 |
- наружный диаметр; | Неподвижная посадка |
- длина | 82,0 | +/- 0,05 |
Воздушный канал B | | |
- внутренний диаметр; | 3,5 | +/- 0,05 |
- длина | 90,0 | +/- 0,05 |
Примечание 1 - Размеры в миллиметрах.
Рисунок A.1.1 - Корпус лампы
Примечание 1 - Размеры в миллиметрах.
Рисунок A.1.2 - Резервуар
A.2.1.1 Предупреждение - Легковоспламеняющаяся жидкость. Пары вредны. Следует хранить вдали от источников тепла, искр и открытого огня. Сосуд должен быть закрытым. Используют при соответствующей вентиляции. Следует избегать вдыхания его паров или аэрозоля. Необходимо исключить длительные или многократные контакты с кожей.
A.2.2 2,2,4-Триметилпентан (изооктан)
A.2.2.1 Предупреждение - Чрезвычайно легковоспламеняющаяся жидкость. Вреден при вдыхании. Пары могут мгновенно воспламеняться. Следует хранить вдали от источников тепла, искр и открытого огня. Сосуд должен быть закрытым. Используют при соответствующей вентиляции. Следует предотвращать накопление паров и исключать присутствие любых источников воспламенения, в первую очередь электроаппаратуры и нагревателей во взрывоопасном исполнении. Следует избегать вдыхания паров или аэрозоля. Необходимо исключить длительные или многократные контакты с кожей.
A.2.3 Метанол (метиловый спирт)
A.2.3.1 Предупреждение - Легковоспламеняющаяся жидкость. Пары вредны. При проглатывании или вдыхании может быть смертельно опасным или вызывать слепоту. Пары могут мгновенно воспламеняться. Следует хранить вдали от источника накаливания, искр и открытого пламени. Сосуд должен быть закрытым. Следует предотвратить попадание в глаза или на кожу. Следует избегать вдыхания паров или аэрозоля. Используют при соответствующей вентиляции. Не допускается принимать внутрь.
A.2.4.1 Предупреждение - Чрезвычайно легковоспламеняющаяся жидкость. Вреден при вдыхании. Пары могут мгновенно воспламеняться. Следует хранить вдали от источников тепла, искр и открытого огня. Сосуд должен быть закрытым. Используют при соответствующей вентиляции. Следует предотвращать накопление паров и исключать присутствие любых источников воспламенения, в первую очередь электроаппаратуры и нагревателей во взрывоопасном исполнении. Следует избегать вдыхания паров или аэрозоля. Необходимо исключить длительные или многократные контакты с кожей.
(справочное)
СВЕДЕНИЯ О СООТВЕТСТВИИ ССЫЛОЧНЫХ СТАНДАРТОВ ASTM И IP
МЕЖГОСУДАРСТВЕННЫМ СТАНДАРТАМ
Таблица ДА.1
Обозначение ссылочных стандартов ASTM и IP | Степень соответствия | Обозначение и наименование соответствующего межгосударственного стандарта |
ASTM D4052 | - | <*> |
ASTM D4057 | NEQ | |
ASTM D4177 | NEQ | |
ASTM D6299 | - | <*> |
IP 367/2007 | - | <*> |
IP 598/2012 | - | <*> |
<*> Соответствующий межгосударственный стандарт отсутствует. До его утверждения рекомендуется использовать перевод на русский язык данных стандартов ASTM и IP. Примечание - В настоящей таблице использовано следующее условное обозначение степени соответствия стандартов: - NEQ - неэквивалентные стандарты. |