Главная // Актуальные документы // ГОСТ (Государственный стандарт)
СПРАВКА
Источник публикации
М.: Стандартинформ, 2018
Примечание к документу
Текст данного документа приведен с учетом поправки, опубликованной в "ИУС", N 2, 2020.

Документ введен в действие с 01.04.2019.

Взамен ГОСТ 15829-89.
Название документа
"ГОСТ 15829-2017. Межгосударственный стандарт. Насосы топливоподкачивающие поршневые дизелей. Технические требования и методы испытаний"
(введен в действие Приказом Росстандарта от 05.07.2018 N 390-ст)


"ГОСТ 15829-2017. Межгосударственный стандарт. Насосы топливоподкачивающие поршневые дизелей. Технические требования и методы испытаний"
(введен в действие Приказом Росстандарта от 05.07.2018 N 390-ст)


Содержание


Введен в действие
Приказом Федерального
агентства по техническому
регулированию и метрологии
от 5 июля 2018 г. N 390-ст
МЕЖГОСУДАРСТВЕННЫЙ СТАНДАРТ
НАСОСЫ ТОПЛИВОПОДКАЧИВАЮЩИЕ ПОРШНЕВЫЕ ДИЗЕЛЕЙ
ТЕХНИЧЕСКИЕ ТРЕБОВАНИЯ И МЕТОДЫ ИСПЫТАНИЙ
Piston fuel feeding pumps for diesels.
Technical requirements and test methods
ГОСТ 15829-2017
МКС 43.060.40
Дата введения
1 апреля 2019 года
Предисловие
Цели, основные принципы и основной порядок проведения работ по межгосударственной стандартизации установлены в ГОСТ 1.0-2015 "Межгосударственная система стандартизации. Основные положения" и ГОСТ 1.2-2015 "Межгосударственная система стандартизации. Стандарты межгосударственные, правила и рекомендации по межгосударственной стандартизации. Правила разработки, принятия, обновления и отмены".
Сведения о стандарте
1 РАЗРАБОТАН Федеральным государственным унитарным предприятием "Центральный ордена Трудового Красного Знамени научно-исследовательский автомобильный и автомоторный институт "НАМИ" (ФГУП "НАМИ")
2 ВНЕСЕН Межгосударственным техническим комитетом по стандартизации МТК 56 "Дорожный транспорт"
3 ПРИНЯТ Межгосударственным советом по стандартизации, метрологии и сертификации (протокол от 30 ноября 2017 г. N 52)
За принятие проголосовали:
Краткое наименование страны по МК (ИСО 3166) 004-97
Код страны по МК (ИСО 3166) 004-97
Сокращенное наименование национального органа по стандартизации
Армения
AM
Минэкономики Республики Армения
Беларусь
BY
Госстандарт Республики Беларусь
Казахстан
KZ
Госстандарт Республики Казахстан
Киргизия
KG
Кыргызстандарт
Россия
RU
Росстандарт
Узбекистан
UZ
Узстандарт
Украина
UA
Минэкономики развития Украины
4 Приказом Федерального агентства по техническому регулированию и метрологии от 5 июля 2018 г. N 390-ст межгосударственный стандарт ГОСТ 15829-2017 введен в действие в качестве национального стандарта Российской Федерации с 1 апреля 2019 г.
5 ВЗАМЕН ГОСТ 15829-89
Информация об изменениях к настоящему стандарту публикуется в ежегодном информационном указателе "Национальные стандарты", а текст изменений и поправок - в ежемесячном информационном указателе "Национальные стандарты". В случае пересмотра (замены) или отмены настоящего стандарта соответствующее уведомление будет опубликовано в ежемесячном информационном указателе "Национальные стандарты". Соответствующая информация, уведомление и тексты размещаются также в информационной системе общего пользования - на официальном сайте Федерального агентства по техническому регулированию и метрологии в сети Интернет (www.gost.ru).
1 Область применения
Настоящий стандарт распространяется на топливоподкачивающие поршневые насосы одинарного и двойного действия, устанавливаемые на топливные насосы высокого давления дизелей по ГОСТ 10578, и определяет технические требования и методы испытаний.
Примечание - В настоящем стандарте применены термины по ГОСТ 15888.
2 Нормативные ссылки
В настоящем стандарте использованы нормативные ссылки на следующие межгосударственные стандарты:
ГОСТ 9.014-78 Единая система защиты от коррозии и старения. Временная противокоррозионная защита изделий. Общие требования
ГОСТ 15.309-98 Система разработки и постановки продукции на производство. Испытания и приемка выпускаемой продукции. Основные положения
ГОСТ 305-2013 Топливо дизельное. Технические условия
ГОСТ 6572-91 Покрытия лакокрасочные тракторов и сельскохозяйственных машин. Общие технические требования
ГОСТ 10578-95 Насосы топливные дизелей. Общие технические условия
ГОСТ 15150-69 Машины, приборы и другие технические изделия. Исполнения для различных климатических районов. Категории, условия эксплуатации, хранения и транспортирования в части воздействия климатических факторов внешней среды
ГОСТ 15888-90 (ИСО 7876-1-84) Аппаратура дизелей топливная. Термины и определения
Примечание - При пользовании настоящим стандартом целесообразно проверить действие ссылочных стандартов в информационной системе общего пользования - на официальном сайте Федерального агентства по техническому регулированию и метрологии в сети Интернет или по ежегодному информационному указателю "Национальные стандарты", который опубликован по состоянию на 1 января текущего года, и по выпускам ежемесячного информационного указателя "Национальные стандарты" за текущий год. Если ссылочный стандарт заменен (изменен), то при пользовании настоящим стандартом следует руководствоваться заменяющим (измененным) стандартом. Если ссылочный стандарт отменен без замены, то положение, в котором дана ссылка на него, применяется в части, не затрагивающей эту ссылку.
3 Основные параметры и размеры
3.1 Подача топливоподкачивающего насоса при работе на топливе по ГОСТ 305 или технологической жидкости при противодавлении не ниже 0,08 МПа (0,8 кгс/см2) должна соответствовать одному из значений, указанных в таблице 1.
Таблица 1
Частота циклов поршня, Гц (цикл/мин)
Подача, л/мин, не менее, при ходе привода, мм
4,0
6,0
8,0
10,0
10,8 (650)
0,6
0,75
1,0
1,25
14,1 (850)
0,8
1,0
1,3
1,65
16,7 (1000)
1,0
1,15
1,55
1,90
Разрежение на всасывании устанавливают в технических условиях (далее - ТУ) на топливоподкачивающие насосы конкретных марок и (или) в конструкторской документации (далее - КД), утвержденной в установленном порядке.
При частоте циклов поршня и ходе привода, отличающихся от приведенных в таблице 1, подачу насоса следует определять интерполированием или экстраполированием.
3.2 Максимальное давление топлива, создаваемое топливоподкачивающим насосом, следует устанавливать в ТУ на топливоподкачивающие насосы конкретных марок и (или) в КД, утвержденной в установленном порядке.
Для топливоподкачивающих насосов двойного действия максимальное давление не регламентируется.
3.3 Устройство для ручного прокачивания топлива должно обеспечивать подачу топлива в топливный насос высокого давления при частоте циклов поршня (1 +/- 0,1) Гц [(60 +/- 6) цикл/мин]. Разрежение на всасывании устанавливают в ТУ на топливоподкачивающие насосы конкретных марок и (или) в КД, утвержденной в установленном порядке.
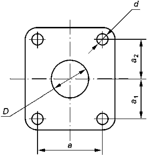
3.4 Присоединительные размеры фланцев крепления топливоподкачивающих насосов должны соответствовать указанным на рисунках 1 - 3 и в таблице 2.
Фланец 1
Рисунок 1
Фланец 2
Рисунок 2
Фланец 3
Рисунок 3
Таблица 2
Фланец
a
a1
a2
d
D
1
34
21
30
6,5
32
36
24
48
28
36
40
2
50
(48)
-
-
6,5 (8,5)
32
56
(58)
-
-
8,5
(9,0)
32
3
42
20
32
6,5 (8,5)
32
Примечание - Размеры, заключенные в скобках, при новом проектировании применять не рекомендуется.
4 Технические требования
4.1 Топливоподкачивающие насосы должны изготовлять в соответствии с требованиями настоящего стандарта по КД, утвержденной в установленном порядке, и (или) ТУ на насосы конкретного типа.
4.2 Сортамент применяемых топлив - по ГОСТ 10578.
4.3 Топливоподкачивающие насосы должны быть герметичны в местах уплотнений, соединений, а также по наружной поверхности корпуса.
4.4 Требования к исполнению топливоподкачивающих насосов в части воздействия климатических факторов внешней среды устанавливают в ТУ в соответствии с требованиями ГОСТ 15150.
4.5 Покрытие наружных поверхностей топливоподкачивающих насосов выполняют по ТУ на топливоподкачивающие насосы конкретного типа и (или) по КД, утвержденной в установленном порядке, в соответствии с требованиями ГОСТ 6572.
Детали топливоподкачивающих насосов, изготовленные из алюминиевого сплава или пластмасс, а также топливоподкачивающие насосы, предназначенные для комплектации топливных насосов высокого давления собственного производства, допускается защитным покрытиям не подвергать.
4.6 Номенклатура показателей надежности топливоподкачивающих насосов - по ТУ на насосы конкретных типов.
Ресурс, устанавливаемый до проведения капитального ремонта топливоподкачивающего насоса (для комбайновых дизелей - срок службы), должен быть не менее значений соответствующего показателя топливного насоса высокого давления или дизеля, для которого он предназначен.
Значения показателей безотказности (установленная безотказная наработка или средняя наработка на отказ) устанавливают в ТУ на топливоподкачивающие насосы конкретного типа.
Критерии предельного состояния, определяющие необходимость капитального ремонта топливоподкачивающих насосов, устанавливают в эксплуатационной (ремонтной) документации.
4.7 Каждый топливоподкачивающий насос должен иметь маркировку, содержащую товарный знак или сокращенное наименование предприятия-изготовителя. Место, размеры и способ нанесения маркировки - по ТУ на топливоподкачивающие насосы конкретных типов и (или) КД, утвержденной в установленном порядке.
По согласованию изготовителя с потребителем допускается не наносить маркировку на топливоподкачивающие насосы, предназначенные для укомплектования топливных насосов высокого давления.
4.8 При транспортировании и хранении на топливоподкачивающие насосы в местах присоединения топливопроводов должны быть установлены защитные заглушки, предохраняющие внутренние полости насоса от загрязнений.
4.9 Противокоррозионная защита топливоподкачивающих насосов, предназначенных для использования в качестве запасных частей, - по ГОСТ 9.014.
Срок действия консервации - 12 мес.
По требованию потребителя (заказчика) допускается устанавливать другие методы и сроки защиты.
Противокоррозионная защита топливоподкачивающих насосов, предназначенных для укомплектования топливных насосов высокого давления, - по действующим стандартам и ТУ на топливные насосы высокого давления.
4.10 Комплектность топливоподкачивающих насосов - по ТУ на насосы конкретного типа и (или) КД, утвержденной в установленном порядке.
5 Правила приемки
5.1 Топливоподкачивающие насосы подвергают приемке службой технического контроля (СТК) и периодическим испытаниям по ГОСТ 15.309 на соответствие требованиям настоящего стандарта.
5.2 При приемке СТК топливоподкачивающие насосы следует проверять на соответствие требованиям по 3.1 - 3.4 и 4.3.
Допускается топливоподкачивающие насосы, предназначенные для комплектации насосов высокого давления собственного производства, подвергать испытаниям на соответствие требованиям по 3.3 в сборе с насосом высокого давления.
5.3 Периодические испытания топливоподкачивающих насосов - по КД, утвержденной в установленном порядке.
6 Методы испытаний
6.1 Испытания топливоподкачивающих насосов следует проводить на дизельном топливе по ГОСТ 305 или технологической жидкости.
6.2 Подачу топливоподкачивающего насоса определяют при условиях, изложенных в 3.1. Конкретная величина хода поршня и частоты циклов, а также продолжительность и количество измерений - по ТУ на насосы конкретного типа или КД, утвержденной в установленном порядке.
6.3 Максимальное давление, развиваемое топливоподкачивающим насосом, следует проверять при закрытом нагнетательном топливопроводе. Частота циклов и ход поршня - по ТУ на насосы конкретного типа или КД, утвержденной в установленном порядке.
6.4 Герметичность топливоподкачивающих насосов по 4.3 следует проверять на насосах, погруженных в испытательную жидкость при опрессовке воздухом под давлением не ниже 0,3 МПа (3 кгс/см2) в течение 20 с или при давлении воздуха не менее 0,4 МПа (4 кгс/см2) в течение 10 с. Допускается пропуск воздуха в виде отдельных пузырьков между втулкой и штоком.
При проверке герметичности топливоподкачивающих насосов путем создания давления топлива не ниже 0,3 МПа (3 кгс/см2) время выдержки - 180 с.
Течь топлива в местах уплотнений, соединений, а также по наружной поверхности корпуса не допускается.
6.5 Комплектность, маркировку, покрытие и консервацию проверяют визуально.
6.6 В процессе изготовления допускается применять другие методы испытаний, обеспечивающие получение эквивалентных результатов.
6.7 Показатели надежности топливоподкачивающих насосов проверяют при испытаниях топливных насосов высокого давления или дизелей, для которых они предназначены, а также ускоренными испытаниями по методике, согласованной между изготовителем и потребителем.
Порядок проведения испытаний на надежность - по ТУ на топливоподкачивающие насосы или насосы высокого давления конкретных типов и (или) КД, утвержденной в установленном порядке.
6.8 Испытание устройства для ручного прокачивания топлива по 3.3 проводят в системе, обеспечивающей разрежение на входе в топливоподкачивающий насос и противодавление на выходе в соответствии с требованиями 3.1.
7 Гарантии изготовителя
Гарантийный срок эксплуатации и гарантийная наработка топливоподкачивающего насоса должны быть не менее гарантийного срока эксплуатации и гарантийной наработки топливного насоса высокого давления или дизеля, для которого он предназначен.