Главная // Актуальные документы // ГОСТ (Государственный стандарт)СПРАВКА
Источник публикации
М.: ФГБУ "Институт стандартизации", 2023
Примечание к документу
Документ
введен в действие с 01.01.2024.
Название документа
"ГОСТ ISO 19932-2-2023. Межгосударственный стандарт. Оборудование для защиты растений. Ранцевые опрыскиватели. Часть 2. Методы испытаний"
(введен в действие Приказом Росстандарта от 22.06.2023 N 430-ст)
"ГОСТ ISO 19932-2-2023. Межгосударственный стандарт. Оборудование для защиты растений. Ранцевые опрыскиватели. Часть 2. Методы испытаний"
(введен в действие Приказом Росстандарта от 22.06.2023 N 430-ст)
по техническому регулированию
и метрологии
от 22 июня 2023 г. N 430-ст
МЕЖГОСУДАРСТВЕННЫЙ СТАНДАРТ
ОБОРУДОВАНИЕ ДЛЯ ЗАЩИТЫ РАСТЕНИЙ
РАНЦЕВЫЕ ОПРЫСКИВАТЕЛИ
ЧАСТЬ 2
МЕТОДЫ ИСПЫТАНИЙ
Equipment for crop protection. Knapsack
sprayers. Part 2. Test methods
(ISO 19932-2:2013, IDT)
ГОСТ ISO 19932-2-2023
Дата введения
1 января 2024 года
Цели, основные принципы и общие правила проведения работ по межгосударственной стандартизации установлены
ГОСТ 1.0 "Межгосударственная система стандартизации. Основные положения" и
ГОСТ 1.2 "Межгосударственная система стандартизации. Стандарты межгосударственные, правила и рекомендации по межгосударственной стандартизации. Правила разработки, принятия, обновления и отмены"
1 ПОДГОТОВЛЕН Российской ассоциацией производителей специализированной техники и оборудования (Ассоциацией "Росспецмаш") на основе собственного перевода на русский язык англоязычной версии стандарта, указанного в
пункте 5
2 ВНЕСЕН Федеральным агентством по техническому регулированию и метрологии
3 ПРИНЯТ Межгосударственным советом по стандартизации, метрологии и сертификации (протокол от 28 апреля 2023 г. N 161-П)
За принятие проголосовали:
Краткое наименование страны по МК (ИСО 3166) 004-97 | Код страны по МК (ИСО 3166) 004-97 | Сокращенное наименование национального органа по стандартизации |
Армения | AM | ЗАО "Национальный орган по стандартизации и метрологии" Республики Армения |
Беларусь | BY | Госстандарт Республики Беларусь |
Киргизия | KG | Кыргызстандарт |
Россия | RU | Росстандарт |
Узбекистан | UZ | Узстандарт |
4
Приказом Федерального агентства по техническому регулированию и метрологии от 22 июня 2023 г. N 430-ст межгосударственный стандарт ГОСТ ISO 19932-2-2023 введен в действие в качестве национального стандарта Российской Федерации с 1 января 2024 г.
5 Настоящий стандарт идентичен международному стандарту ISO 19932-2:2013 "Оборудование для защиты растений. Ранцевые опрыскиватели. Часть 2. Методы испытаний" ("Equipment for crop protection - Knapsack sprayers - Part 2: Test methods", IDT).
Международный стандарт разработан Техническим комитетом по стандартизации ISO/TC 23 "Тракторы и машины для сельского и лесного хозяйства" Международной организации по стандартизации (ISO).
При применении настоящего стандарта рекомендуется использовать вместо ссылочных международных стандартов соответствующие им межгосударственные стандарты, сведения о которых приведены в дополнительном
приложении ДА
6 ВВЕДЕН ВПЕРВЫЕ
Информация о введении в действие (прекращении действия) настоящего стандарта и изменений к нему на территории указанных выше государств публикуется в указателях национальных стандартов, издаваемых в этих государствах, а также в сети Интернет на сайтах соответствующих национальных органов по стандартизации.
В случае пересмотра, изменения или отмены настоящего стандарта соответствующая информация будет опубликована на официальном интернет-сайте Межгосударственного совета по стандартизации, метрологии и сертификации в каталоге "Межгосударственные стандарты"
При применении для защиты растений ранцевых опрыскивателей следует учитывать биологические, экономические, экологические требования и требования безопасности оператора.
Целью настоящего стандарта является введение методов испытаний для проверки соответствия ранцевых опрыскивателей требованиям безопасности и охраны окружающей среды.
Использование ISO 19932-1 и настоящего стандарта должно обеспечить надлежащий уровень безопасности оператора и отсутствие избыточного рассеивания средств защиты растений в окружающей среде.
Настоящий стандарт устанавливает методы испытаний для проверки соответствия ранцевых опрыскивателей, переносимых за спиной или на плече оператора и используемых для защиты растений, требованиям ISO 19932-1 безопасности и охраны окружающей среды, а также методы испытаний конструкции ранцевых опрыскивателей, переносимых на спине или на плече оператора для работы со средствами защиты растений (далее - опрыскиватели).
Настоящий стандарт применяется к ранцевым опрыскивателям с рычажным приводом, компрессионным, с приводом от двигателя внутреннего сгорания или электродвигателя, использующим гидравлическое давление для распыления жидкости, с номинальным объемом более 3 л, для использования их по назначению преимущественно в сельском хозяйстве и садоводстве.
Настоящий стандарт не распространяется на ранцевые аэрозольные опрыскиватели по ISO 28139.
В настоящем стандарте использованы нормативные ссылки на следующие стандарты [для датированных ссылок применяют только указанное издание ссылочного стандарта, для недатированных - последнее издание (включая все изменения)]:
ISO 5681:1992 <1>, Equipment for crop protection - Vocabulary (Оборудование для защиты посевов. Словарь)
--------------------------------
<1> Заменен на ISO 5681:2020, однако для однозначного соблюдения требования настоящего стандарта, выраженного в датированной ссылке, рекомендуется использовать только указанное в этой ссылке издание.
ISO 19932-1:2013, Equipment for crop protection - Knapsack sprayers - Part 1: Safety and environmental requirements (Оборудование для защиты посевов. Ранцевые опрыскиватели. Часть 1. Требования безопасности и охраны окружающей среды)
В настоящем стандарте применены термины по ISO 5681 и ISO 19932-1.
4 Испытательные жидкости и оборудование
4.1 Чистая вода без механических примесей.
4.2 Подготовительное устройство, позволяющее удерживать опрыскиватель и постоянно управлять рычагом насоса. Ход и частота движений рычага должны быть регулируемыми. Пример подготовительного устройства приведен в
приложении A.
4.3 Оборудование для испытания отключающего устройства, состоящее из рамы для фиксации, удерживаемой рукой части отключающего устройства и блока управления отключающим устройством, например рычага для периодического открывания с заданной частотой и усилием. Ход рычага должен быть регулируемым. Пример оборудования приведен в
приложении B.
4.4 Устройство для испытания лямок, позволяющее сбрасывать опрыскиватель в вертикальном направлении на каждую лямку с высоты 200 мм с помощью горизонтального ограждения диаметром 75 мм. Устройство должно обеспечивать возможность испытаний опрыскивателей с одной или двумя верхними и/или нижними точками крепления лямок. Пример устройства приведен в
приложении C. Допускается использовать другие устройства с аналогичными характеристиками.
ПРЕДУПРЕЖДЕНИЕ - Данное испытательное устройство представляет опасность во время проведения испытаний. Весь персонал должен находиться вне испытательной зоны или быть иным образом защищен от опасностей, таких как смещение элементов конструкции опрыскивателя при испытании.
4.5 Устройство для испытания падением, позволяющее сбрасывать поддерживаемый в вертикальном положении опрыскиватель с высоты (600 +/- 20) мм на плоскую ровную поверхность размером 800 x 800 мм и высотой 50 мм, изготовленную из полиэтилена высокой плотности (HDPE) или твердой древесины, размещенную на ровном полу. Устройство не должно влиять на силу удара падающего опрыскивателя.
Пример устройства приведен в
приложении D. Допускается использовать другие устройства с аналогичными характеристиками.
4.6 Заливочное устройство, с помощью которого можно контролировать и регулировать объем и расход воды или испытательной жидкости.
Пример устройства приведен в
приложении E. Допускается использовать другие устройства с аналогичными характеристиками.
4.7 Весы, способные взвешивать до:
a) 25 кг с максимальной погрешностью +/- 1 г;
b) 2 кг с максимальной погрешностью +/- 0,1 г.
4.8 Мерный цилиндр для измерения объемов до 1 л с максимальной погрешностью +/- 10 мл.
4.9 Таймер (секундомер) с максимальной погрешностью +/- 0,5 с для периодов измерения до 5 мин.
4.10 Устройство подачи давления для создания давления в опрыскивателе с помощью воздуха или воды. Давление должно быть регулируемым до 10 бар с максимальной погрешностью +/- 5% от измеренного значения.
4.11 Манометры для измерения давления от 0 до 25 бар с максимальной погрешностью +/- 0,15 бар (соответствует манометру класса 0,6 по EN 837-1).
4.12 Полиэтиленовые пакеты размером не менее 30 x 40 см.
4.13 Полиэтиленовые листы размером не менее 2 x 1 м.
5.1 Условия проведения испытаний
Испытания проводят на одном новом образце каждого типа опрыскивателей при температуре воздуха от 10 °C до 30 °C и относительной влажности воздуха не менее 30%, без воздействия ветра и солнечных лучей.
5.2 Подготовка опрыскивателя
Ранцевый опрыскиватель собирают в соответствии с инструкцией по эксплуатации. Проверяют затяжку крышки заливной горловины, сливной пробки и других соединений, управляемых оператором. Взвешивают пустой опрыскиватель с помощью весов по
4.7 a) и записывают массу в килограммах.
5.3 Функциональные испытания
5.3.1 Надежность отключающего устройства
Отсоединяют узел отключающего устройства с распылителем от опрыскивателя и устанавливают его на раму (см.
4.3).
Подсоединяют отключающее устройство к водопроводу под давлением (3 +/- 0,2) бар. Открывают и закрывают отключающее устройство с частотой (15 +/- 5) циклов/мин при общей продолжительности 25 000 циклов. Проверяют работоспособность и записывают любые утечки, возникшие в течение 1 мин +/- 5 с после завершения последнего цикла.
Расход жидкости qm распылителя для каждой комбинации наконечника/регулятора давления, поставляемых для использования с опрыскивателем, должен быть измерен с максимальной погрешностью +/- 1% при оптимальном давлении опрыскивания, указанном в руководстве по эксплуатации, или при настройках, указанных в руководстве по эксплуатации.
Записывают расход жидкости и рассчитывают процентное отклонение

от значений
qs, указанных в руководстве по эксплуатации, используя следующую формулу

.
5.3.3 Лямки и места их крепления
ПРЕДУПРЕЖДЕНИЕ - Данное испытание может представлять опасность. Весь персонал должен находиться вне испытательной зоны или быть иным образом защищен от опасностей, таких как смещение элементов конструкции опрыскивателя при испытании.
Заполняют бак опрыскивателя водой так, чтобы общая масса опрыскивателя составляла 7 кг +/- 10 г. Если масса пустого опрыскивателя превышает 7 кг, испытание проводят с пустым опрыскивателем, и если максимальная масса опрыскивателя, заполненного до номинального объема, меньше 7 кг, записывают данную массу и проводят испытания при данной массе. Прикрепляют опрыскиватель к устройству для испытания лямок (см.
4.4), чтобы можно было проверить каждую лямку индивидуально. От положения, при котором опрыскиватель находится, вися на лямке в испытательном устройстве, поднимают опрыскиватель вертикально на (200 +/- 20) мм и дают ему свободно упасть. Повторяют процедуру 10 раз для каждой лямки или ремня.
Осматривают лямки на наличие повреждений.
Устанавливают пустой опрыскиватель на плоскую твердую поверхность с наклоном 8,5° +/- 0,2° так, чтобы лямки были расположены на стороне, направленной под уклон. Устанавливают все рычаги и распылители в положение для переноски. Если положение для переноски не предусмотрено, устанавливают рычаг в крайнее верхнее положение, направляя распылитель вниз по склону.
Проверяют устойчивость опрыскивателя, поворачивая его с интервалом в 90°.
Заполняют бак опрыскивателя до номинального объема и повторяют испытание.
Записывают любое положение, при котором опрыскиватель опрокидывается.
5.3.5 Шкала уровня содержимого и общий объем
Устанавливают пустой опрыскиватель в вертикальное положение на плоскую горизонтальную поверхность так, чтобы любой рычаг находился в исходном положении.
Измеряют и записывают объем между делениями шкалы уровня содержимого бака опрыскивателя при заполнении бака опрыскивателя с помощью мерного цилиндра (см.
4.8) или с помощью весов по
4.7. Продолжают заполнять бак опрыскивателя до тех пор, пока он не будет заполнен до номинального объема.
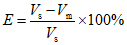
Вычисляют погрешность шкалы E, в процентах, используя следующую формулу

,
где Vs - объем по шкале бака опрыскивателя, мл;
Vm - измеренный объем воды, залитой в бак опрыскивателя, мл.
Затем заполняют бак опрыскивателя до верхней кромки заливной горловины.
Для опрыскивателей с рычажным приводом и опрыскивателей с приводом от двигателя внутреннего сгорания или электродвигателя вставляют заливочный фильтр и закрывают крышку бака опрыскивателя.
Для компрессионных опрыскивателей вставляют и закрепляют воздушный насос и удаляют всю жидкость из встроенной заливочной воронки. Если заливная горловина расположена ниже каких-либо частей бака опрыскивателя, так что образуются воздушные карманы, снимают рукав и заполняют опрыскиватель через выпускное отверстие бака опрыскивателя с установленным воздушным насосом.
Взвешивают опрыскиватель с помощью весов по
4.7 a).
Вычисляют общий объем
Vt по разнице между массой полностью заполненного опрыскивателя и массой по
5.2.
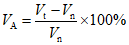
Вычисляют дополнительный объем VA бака опрыскивателя в процентах по следующей формуле

,
где Vn - номинальный объем.
5.3.6 Скорость заполнения
Данное испытание проводят на укомплектованном опрыскивателе, пустом в начале испытания, как описано в
5.2.
Промывают все внешние поверхности опрыскивателя водным 0,5%-ным раствором неионизированного поверхностно-активного вещества и затем высушивают их.
Устанавливают рычаг и распылитель в положение для переноски. Снимают крышку бака опрыскивателя или воздушный насос, но оставляют заливочный фильтр на месте.
Располагают опрыскиватель в центре полиэтиленового листа (см.
4.13).
Располагают заливочное устройство (см.
4.6) таким образом, чтобы его выходное отверстие располагалось на 100 мм выше заливной горловины. Опрыскиватель должен быть расположен лямками напротив заливочного устройства так, чтобы линия, соединяющая верхние точки крепления лямок, была перпендикулярна к оси заливочного устройства (см.
приложение E). Точка попадания струи испытательной жидкости должна находиться в середине заливной горловины.
Заполняют заливочное устройство объемом воды до его максимального объема без перелива.
Заливают объем воды, равный номинальному объему бака опрыскивателя, из заливочного устройства в заливную горловину опрыскивателя для имитации заполнения опрыскивателя. Расход жидкости из заливочного устройства должен быть настроен таким образом, чтобы номинальный объем резервуара был заполнен в течение 60 с при максимальном отклонении расхода 10%.
Вытирают остатки жидкости на опрыскивателе салфеткой. Определяют массу брызг на полиэтиленовом листе (см.
4.13) и салфетке, с учетом их собственной массы, при помощи весов по
4.7 b).
5.3.7 Опорожнение опрыскивателя
Данное испытание проводят на укомплектованном опрыскивателе, пустом в начале испытания, как описано в
5.2.
Заполняют опрыскиватель водой до номинального объема. Опорожняют опрыскиватель в соответствии с руководством по эксплуатации. Повторно заполняют и опорожняют опрыскиватель, а затем взвешивают его с помощью весов по
4.7 a).
Вычисляют количество жидкости, оставшейся в опрыскивателе, как разность массы опрыскивателя после слива воды и массы до заполнения водой.
5.3.8 Впитывающая способность лямок
Данные испытания проводят при температуре воздуха от 20 °C до 25 °C и относительной влажности воздуха от 50% до 70%.
Перед погружением в жидкость снимают лямки, а также любые прокладки и любые металлические или пластмассовые детали, прикрепленные к ним (чтобы минимизировать, насколько это возможно, массу лямок), и взвешивают их с помощью весов по
4.7 b). Полностью погружают лямки в воду на 2 мин. Извлекают лямки из воды, стряхивают воду с поверхностей лямок и оставляют их свободно висеть в течение 10 мин перед повторным взвешиванием.
Вычисляют увеличение массы лямок

, в процентах, по следующей формуле

,
где mb - масса перед испытанием;
ma - масса после проведения испытания.
Примечание - Данный метод будет пересмотрен после получения достаточного количества данных.
5.3.9 Проверка работоспособности компонентов опрыскивателя
ПРЕДУПРЕЖДЕНИЕ - При выполнении данного испытания следует соблюдать осторожность, так как испытательные жидкости потенциально токсичны и легковоспламеняющиеся.
Данное испытание проводят при температуре воздуха от 20 °C до 25 °C и относительной влажности воздуха от 50% до 70%.
Испытание предназначено для определения любого неблагоприятного воздействия на материал путем проверки того, поглощает ли он жидкость или есть какой-либо видимый эффект (например, деформация), изменение физических свойств (например, гибкости) или массы из-за любого воздействия испытательных жидкостей на материал.
Данное испытание применяется к компонентам, которые вступают в непосредственный контакт со средством для защиты растений.
Для испытаний используют целые компоненты (например, целое уплотнительное кольцо, шайбу, прокладку, трубку) либо образцы материала более крупных компонентов, таких как бак опрыскивателя.
Перед испытанием записывают массу mb каждого образца материала.
Образцы испытывают погружением в:
а) 10%-ный раствор ацетона (EC-N: 200-662-2) в дистиллированной воде в течение 72 ч; затем
б) смесь 50% неэтилированного бензина и 50% дизельного топлива в течение 72 ч.
По истечении времени погружения удаляют излишнюю жидкость с внешней поверхности образцов и сушат их на воздухе в течение 24 ч. Затем для каждого образца записывают массу ma.
Вычисляют изменение массы

, в процентах, после погружения в каждую жидкость по следующей формуле

,
где mb - масса перед испытанием;
ma - масса после проведения испытания.
После испытаний отдельные компоненты, снятые с опрыскивателя для проведения испытания, должны быть установлены обратно в опрыскиватель. Проверяют работоспособность опрыскивателя после сборки.
ПРЕДУПРЕЖДЕНИЕ - Данное испытание может представлять опасность. Весь персонал должен находиться вне испытательной зоны или быть иным образом защищен от опасностей, таких как смещение элементов конструкции опрыскивателя при испытании.
Испытываемые опрыскиватели с рычажным приводом должны быть сначала подвергнуты испытанию падением (см.
6.2).
Заполняют бак опрыскивателя водой до номинального объема. Подключают выход отключающего устройства к устройству подачи внешнего давления (см.
4.10).
Опрыскиватели с рычажным приводом и опрыскиватели с приводом от двигателя испытывают со снятой крышкой бака опрыскивателя. Компрессионные опрыскиватели испытывают с установленными крышкой бака опрыскивателя и насосом.
Повышают давление до момента срабатывания предохранительного клапана или пока давление не превысит в два раза указанное изготовителем максимальное допустимое давление и поддерживают его в течение 30 с.
Записывают результат испытания и давление открытия предохранительного клапана (при его наличии).
Это испытание должно быть проведено на укомплектованном опрыскивателе, полностью пустом в начале испытания, как описано в
5.2. Опрыскиватель должен быть сначала подвергнут испытанию давлением (см.
5.3).
Если к опрыскивателю прилагается рукоятка, прикрепленная к крышке бака или к воздушному насосу, необходимо провести испытание рукоятки перед испытанием на утечку. Для проверки рукоятки заполняют бак опрыскивателя водой до номинального значения объема, закрывают бак крышкой или насосом и вытирают жидкость с внешних поверхностей. Прикрепляют к опрыскивателю дополнительный вес, равный его полной массе. Прикрепляют опрыскиватель с рукояткой к раме с помощью ремня шириной не менее 50 мм и оставляют свободно висеть в течение 2 мин. Затем снимают опрыскиватель с рамы и отсоединяют дополнительный груз.
Накачивают опрыскиватель до максимального давления, указанного в руководстве по эксплуатации, и распыляют жидкость в течение (10 +/- 1) с, чтобы распыляемая жидкость не загрязняла внешнюю поверхность распылителя. Заменяют насадку заглушкой и вытирают все остатки жидкости на внешних поверхностях.
Помещают опрыскиватель в вертикальном положении на полиэтиленовый лист (см.
4.13). Распылитель с рукавом и закрытым отключающим устройством оставляют свободно висеть.
Оставляют опрыскиватель на (300 +/- 5) с и затем сбрасывают давление в баке, убедившись в отсутствии утечек.
Повторяют испытание дважды, сначала с опрыскивателем, наклоненным под углом 45° (в сторону лямок), в течение (60 +/- 1) с, а затем с опрыскивателем в горизонтальном положении (лямками вниз) в течение (60 +/- 1) с.
Проверяют герметичность для каждого испытания отдельно.
Удаляют остатки жидкости на внешних поверхностях опрыскивателя салфеткой.
Вычисляют количество утечек как массу воды, собранной на полиэтиленовом листе (см.
4.13) и салфетке, с учетом их собственной массы, с помощью весов по
4.7 b).
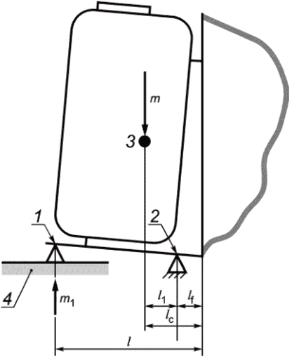
5.6 Определение положения центра тяжести
Заполняют бак опрыскивателя водой до номинального объема. Устанавливают опрыскиватель задней частью на весы по
4.7 a) и передней частью на фиксированные точки с использованием уголка или аналогичного оборудования с минимальной площадью контакта, как показано на
рисунке 1. Выравнивают опрыскиватель так, чтобы плоскость через точки крепления лямок была расположена вертикально. Устанавливают распылитель и рычаг насоса, если таковые имеются, в рабочее положение.
1 - точка взвешивания; 2 - зафиксированная точка; 3 - центр
тяжести;
4 - весы по
4.7 a);
l1 - расстояние от точки
взвешивания 1 до зафиксированной точки 2; lf - расстояние
между вертикальной плоскостью, проходящей через точки
крепления лямок до зафиксированной точки
Рисунок 1 - Определение положения центра тяжести
Измеряют массу m1 и расстояние l и рассчитывают расстояние lc до центра тяжести по следующим формулам:
lc = l1 + lf,

,
где m - полная масса опрыскивателя;
lf - расстояние между вертикальной плоскостью, проходящей через точки крепления лямок до точки установки передней части опрыскивателя.
6 Дополнительные методы испытаний ранцевых опрыскивателей с рычажным приводом
6.1 Подготовка опрыскивателя
6.1.1 Общие положения
Устанавливают опрыскиватель лямками на подготовительное устройство (см.
4.2). Заполняют бак опрыскивателя водой не менее чем на 75% от номинального объема.
Устанавливают манометр (см.
4.11) перед регулятором давления. Активируют рычаг с частотой, необходимой для обеспечения давления распыления перед регулятором давления на (10...30)% выше значения, указанного в руководстве по эксплуатации. Заполняют бак опрыскивателя, когда уровень воды упадет примерно до 5% от номинального объема бака. Продолжают данную процедуру в течение 25 ч.
6.1.2 Определение количества скопившейся на опрыскивателе жидкости
Данное испытание проводят на укомплектованном опрыскивателе, пустом в начале испытания, как описано в
5.2.
Снимают лямки и промывают все внешние поверхности опрыскивателя водным 0,5%-ным раствором неионизированного поверхностно-активного вещества и затем высушивают их.
Взвешивают опрыскиватель вместе с крышкой бака опрыскивателя с помощью весов по
4.7 a).
Устанавливают рычаг и распылитель в положение для переноски. Снимают крышку бака опрыскивателя. Помещают заливочный фильтр в полиэтиленовый пакет (см.
4.12) и устанавливают его в заливную горловину так, чтобы пакет повторял форму корзины фильтра.
Устанавливают опрыскиватель над емкостью объемом не менее 20% от номинального объема бака опрыскивателя.
Располагают заливочное устройство (см.
4.6) таким образом, чтобы его выходное отверстие находилось на 100 мм выше заливной горловины бака опрыскивателя, чтобы имитировать заполнение. Опрыскиватель должен быть расположен лямками напротив заливочного устройства так, чтобы линия, соединяющая верхние точки крепления лямок, была перпендикулярна к оси заливочного устройства (см.
приложение E). Точка попадания струи испытательной жидкости должна находиться в середине заливной горловины.
Наливают из заливочного устройства объем воды, равный 20% от номинального объема бака опрыскивателя на закрытую горловину бака опрыскивателя, чтобы имитировать переполнение. Расход жидкости из заливочного устройства должен быть настроен таким образом, чтобы номинальный объем резервуара был заполнен в течение 60 с при максимальном отклонении расхода 10%.
Снимают полиэтиленовый пакет (см.
4.12) сразу после наливания воды и взвешивают опрыскиватель вместе с крышкой бака опрыскивателя с помощью весов по
4.7 a).
Вычисляют количество скопившейся на опрыскивателе жидкости как разность массы опрыскивателя после того, как на него наливали воду, и предварительно измеренной массы пустого опрыскивателя.
6.1.3 Определение количества оставшейся в опрыскивателе жидкости
Данное испытание проводят на укомплектованном опрыскивателе, пустом в начале испытания, как описано в
5.2.
Взвешивают опрыскиватель вместе с крышкой бака опрыскивателя с помощью весов по
4.7 a).
Заполняют бак опрыскивателя водой до номинального объема и закрепляют опрыскиватель на испытательном устройстве в рабочем положении. Допускается использовать подготовительное устройство (см.
4.2).
Распылитель с рукавом закрепляют в горизонтальном положении на уровне самой нижней части опрыскивателя.
Распыляют жидкость самой большой насадкой из комплекта поставки при оптимальном давлении распыления, указанном в руководстве по эксплуатации.
Для опрыскивателей с рычажным приводом делают пять дополнительных полных ходов рычага насоса сразу после прекращения распыления или когда давление распыления упадет ниже 1 бар, а затем закрывают отключающее устройство.
Взвешивают опрыскиватель с помощью весов по
4.7 a).
Вычисляют объем оставшейся в опрыскивателе жидкости как разность массы опрыскивателя после испытания и массы, измеренной ранее при полностью пустом опрыскивателе.
ПРЕДУПРЕЖДЕНИЕ - Данное испытание может представлять опасность. Весь персонал должен находиться вне испытательной зоны или быть иным образом защищен от опасностей, таких как смещение элементов конструкции опрыскивателя при испытании.
Данное испытание проводят на укомплектованном опрыскивателе, пустом в начале испытания, как описано в
5.2, в качестве подготовки к испытаниям по
5.3 и
5.4.
Заполняют бак опрыскивателя водой до номинального объема.
Устанавливают опрыскиватель на устройство для испытания падением (см.
4.5). Сбрасывают опрыскиватель один раз с высоты 600 мм.
7 Дополнительные методы испытаний ранцевых опрыскивателей с приводом от электродвигателя или двигателя внутреннего сгорания
7.1 Определение количества скопившейся на опрыскивателе жидкости
Данное испытание проводят на укомплектованном опрыскивателе, пустом в начале испытания, как описано в
5.2.
Снимают лямки и промывают все внешние поверхности опрыскивателя водным 0,5%-ным раствором неионизированного поверхностно-активного вещества и затем высушивают их.
Взвешивают опрыскиватель вместе с крышкой бака опрыскивателя с помощью весов по
4.7 a).
Снимают крышку бака опрыскивателя. Помещают заливочный фильтр в полиэтиленовый пакет (см.
4.12) и устанавливают его в заливную горловину так, чтобы пакет повторял форму корзины фильтра.
Устанавливают опрыскиватель над емкостью объемом не менее 20% от номинального объема бака опрыскивателя.
Располагают заливочное устройство (см.
4.6) таким образом, чтобы его выходное отверстие находилось на 100 мм выше заливной горловины бака опрыскивателя, чтобы имитировать заполнение. Опрыскиватель должен быть расположен лямками напротив заливочного устройства так, чтобы линия, соединяющая верхние точки крепления лямок, была перпендикулярна к оси заливочного устройства (см.
приложение E). Точка попадания струи испытательной жидкости должна находиться в середине заливной горловины.
Наливают из заливочного устройства объем воды, равный 20% от номинального объема бака опрыскивателя на закрытую горловину бака опрыскивателя, чтобы имитировать переполнение. Расход жидкости из заливочного устройства должен быть настроен таким образом, чтобы номинальный объем резервуара был заполнен в течение 60 с при максимальном отклонении расхода 10%.
Снимают полиэтиленовый пакет (см.
4.12) сразу после наливания воды и взвешивают опрыскиватель вместе с крышкой бака опрыскивателя с помощью весов по
4.7 a).
Вычисляют количество скопившейся жидкости как разность массы опрыскивателя после того, как на него наливали воду, и предварительно измеренной массы пустого опрыскивателя.
7.2 Определение количества оставшейся в опрыскивателе жидкости
Данное испытание проводят на укомплектованном опрыскивателе, пустом в начале испытания, как описано в
5.2.
Взвешивают опрыскиватель вместе с крышкой бака опрыскивателя с помощью весов по
4.7 a).
Заполняют бак опрыскивателя водой до номинального объема и закрепляют опрыскиватель в рабочем положении.
Распылитель с рукавом закрепляют в горизонтальном положении на уровне самой нижней части опрыскивателя. Распыляют жидкость самой большой насадкой из комплекта поставки при оптимальном давлении распыления, указанном в руководстве по эксплуатации.
Через 5 с после прекращения распыления или когда давление распыления упадет ниже 25% от рабочего давления закрывают отключающее устройство.
Взвешивают опрыскиватель с помощью весов по
4.7 a).
Вычисляют количество оставшейся в опрыскивателе жидкости как разность массы опрыскивателя после испытания и массы, измеренной ранее при полностью пустом опрыскивателе.
8 Дополнительные методы испытаний компрессионных ранцевых опрыскивателей
8.1 Определение количества жидкости
8.1.1 Определение количества скопившейся на опрыскивателе жидкости
Данное испытание проводят на укомплектованном опрыскивателе, пустом в начале испытания, как описано в
5.2.
Снимают лямки и промывают все внешние поверхности опрыскивателя водным 0,5%-ным раствором неионизированного поверхностно-активного вещества и затем высушивают их.
Взвешивают опрыскиватель вместе с крышкой бака опрыскивателя с помощью весов по
4.7 a).
Вставляют резиновую пробку в заливную горловину или, если она снабжена встроенной воронкой, закрывают ее натянутой полиэтиленовой пленкой.
Устанавливают опрыскиватель над емкостью объемом не менее 20% от номинального объема бака опрыскивателя.
Располагают заливочное устройство (см.
4.6) таким образом, чтобы его выходное отверстие находилось на 100 мм выше заливной горловины бака опрыскивателя, чтобы имитировать заполнение. Опрыскиватель должен быть расположен лямками напротив заливочного устройства так, чтобы линия, соединяющая верхние точки крепления лямок, была перпендикулярна к оси заливочного устройства (см.
приложение E). Точка попадания струи испытательной жидкости должна находиться в середине заливной горловины.
Выливают из заливочного устройства объем воды, равный 20% от номинального объема бака опрыскивателя, на закрытую горловину бака опрыскивателя, чтобы имитировать переполнение. Расход жидкости из заливочного устройства должен быть настроен таким образом, чтобы номинальный объем резервуара был заполнен в течение 60 с при максимальном отклонении расхода 10%.
Снимают полиэтиленовую пленку или резиновую пробку сразу после выливания воды и взвешивают опрыскиватель вместе с крышкой бака опрыскивателя с помощью весов по
4.7 a).
Вычисляют количество скопившейся на опрыскивателе жидкости как разность массы опрыскивателя после того, как на него наливали воду, и предварительно измеренной массы пустого опрыскивателя.
8.1.2 Определение количества оставшейся в опрыскивателе жидкости
Данное испытание проводят на укомплектованном опрыскивателе, пустом в начале испытания, как описано в
5.2.
Взвешивают опрыскиватель вместе с крышкой бака опрыскивателя с помощью весов по
4.7 a).
Заполняют бак опрыскивателя водой до номинального объема и закрепляют опрыскиватель на испытательном устройстве в рабочем положении.
Опрыскиватели с двумя лямками обычно устанавливают вертикально, с одной лямкой - наклонно в соответствии с расположением лямки.
Распылитель с рукавом закрепляют в горизонтальном положении на уровне самой нижней части опрыскивателя.
Распыляют жидкость самой большой насадкой из комплекта поставки при оптимальном давлении распыления, указанном в руководстве по эксплуатации.
Закрывают отключающее устройство сразу после прекращения распыления даже при наличии давления (1 +/- 0,2) бар свыше давления, установленного на регуляторе давления в баке.
Взвешивают опрыскиватель с помощью весов по
4.7 a).
Вычисляют объем оставшейся в опрыскивателе жидкости как разность массы опрыскивателя после испытания и массы, измеренной ранее при полностью пустом опрыскивателе.
ПРЕДУПРЕЖДЕНИЕ - Данное испытание может представлять опасность. Весь персонал должен находиться вне испытательной зоны или быть иным образом защищен от опасностей, таких как смещение элементов конструкции опрыскивателя при испытании.
Данное испытание проводят на укомплектованном опрыскивателе, пустом в начале испытания, как описано в
5.2, в качестве подготовки к испытаниям по
5.3 и
5.4.
Заполняют бак опрыскивателя водой до номинального объема. Накачивают давление в баке до номинального давления распыления, указанного в руководстве по эксплуатации.
Устанавливают опрыскиватель на устройство для испытания падением (см.
4.5). Сбрасывают опрыскиватель один раз с высоты 600 мм.
Результаты испытаний оформляют в виде протокола испытаний. Минимальное содержание протокола испытаний приведено в
приложении F.
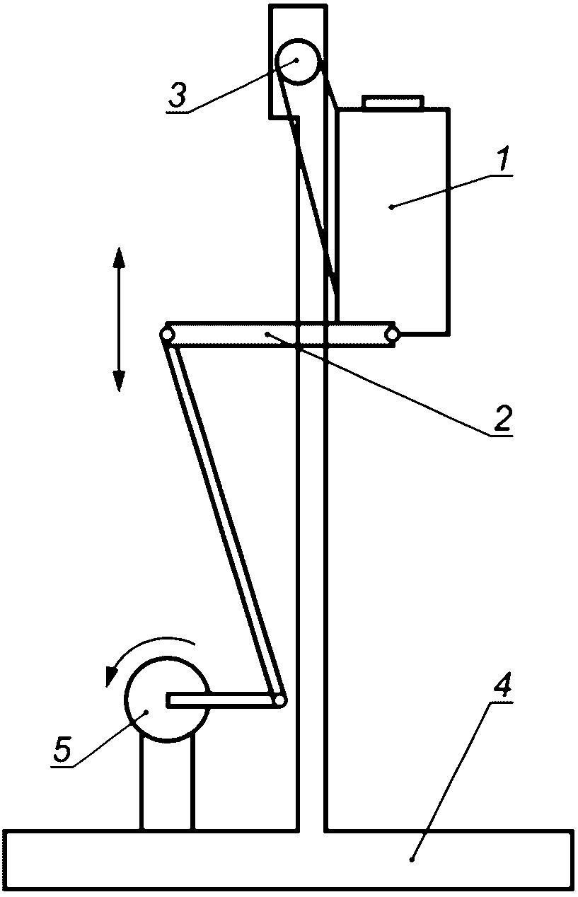
(справочное)
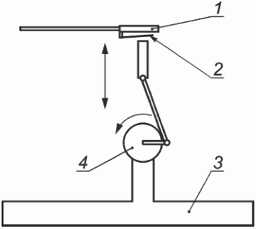
ПРИМЕР ПОДГОТОВИТЕЛЬНОГО УСТРОЙСТВА
1 - опрыскиватель; 2 - рычаг опрыскивателя; 3 - поддержка
лямок; 4 - рама устройства; 5 - электродвигатель
Рисунок A.1 - Пример подготовительного устройства
(справочное)
ПРИМЕР ОБОРУДОВАНИЯ ДЛЯ ИСПЫТАНИЯ ОТКЛЮЧАЮЩЕГО УСТРОЙСТВА
1 - распылитель; 2 - отключающее устройство; 3 - рама
испытательного устройства; 4 - электродвигатель
Рисунок B.1 - Пример оборудования для испытания
отключающего устройства
(справочное)
ПРИМЕР УСТРОЙСТВА ДЛЯ ИСПЫТАНИЯ ЛЯМОК
Устройство для испытания лямок - это устройство, способное прикладывать контролируемое и воспроизводимое усилие к лямкам, как показано на
рисунке C.1.
a) Ненагруженное положение
b) Положение удара
1 - опрыскиватель; 2 - лямки; 3 - ограничитель;
4 - направляющие; h - высота 200 мм
Рисунок C.1 - Усилие, прикладываемое к лямкам
(справочное)
ПРИМЕР УСТРОЙСТВА ДЛЯ ИСПЫТАНИЯ ПАДЕНИЕМ
Устройство для испытания падением представляет собой устройство, способное оказывать контролируемое и воспроизводимое воздействие на основание опрыскивателя, как показано на
рисунке D.1. Направляющие должны быть отрегулированы таким образом, чтобы обеспечить свободное движение опрыскивателя вниз после касания его основания поверхности.
a) Ненагруженное положение
b) Положение удара
1 - ролики; 2 - опрыскиватель; 3 - регулируемые
направляющие; 4 - поверхность установленного типа;
5 - зажим; h - высота 600 мм
Рисунок D.1 - Падение опрыскивателя на основание
(справочное)
ПРИМЕР ЗАЛИВОЧНОГО УСТРОЙСТВА
Заливочное устройство представляет собой стационарное устройство, имитирующее заполнение опрыскивателя жидкостью из непрофилированной емкости.
Устройство (см.
рисунок E.1) состоит из системы подачи жидкости, способной подавать объем, равный номинальному объему испытуемого опрыскивателя в течение 1 мин при контролируемом и регулируемом расходе с максимальным отклонением 10%.
1 - непрофилированная емкость, закрепленная
на основании; 2 - подключение источника воды;
3 - регулятор расхода жидкости; 4 - точка падения
струи жидкости; 5 - опрыскиватель
Рекомендуемые размеры:
r - 150 мм;
h - 100 мм;

- 10°
Рисунок E.1 - Схема заливочного устройства
(обязательное)
МИНИМАЛЬНОЕ СОДЕРЖАНИЕ ПРОТОКОЛА ИСПЫТАНИЙ
Протокол испытаний ранцевого опрыскивателя в соответствии с ISO 19932-2 |
Испытательная лаборатория (наименование и адрес): |
Место проведения испытаний: | | Дата: | |
|
Опрыскиватель |
Тип: | | Изготовитель: | |
Описание конструкции: | |
Номинальный объем бака, л: | | |
Масса комплектного пустого опрыскивателя, г | |
Общая масса заполненного опрыскивателя, г | |
Простота замены изнашивающихся частей | ... | Да | ... | Нет |
Наличие ручки для переноски | ... | Да | ... | Нет |
Лямки |
Количество лямок: | | |
Из неводопоглощающего материала | ... | Да | ... | Нет |
Длина, мм | мин: | | |
макс: | | |
Наличие быстроразъемной муфты | ... | Да | ... | Нет |
Возможность непреднамеренного разъединения | ... | Да | ... | Нет |
Ширина несущей части муфты, мм | | |
Бак опрыскивателя |
Наличие устройства компенсации давления | ... | Да | ... | Нет |
Видимость пределов наполнения | ... | Да | ... | Нет |
Диаметр заливной горловины, мм: | |
Наличие заливочного фильтра | Размер ячеек, мм | ... |
Наличие защиты разъемов рукава | | ... | Да | ... | Нет |
Шкала указателя содержимого | Диапазон, л: | ... | |
Разрешение, л: | ... | |
Регулировочное устройство |
Наличие быстродействующего отключающего клапана | ... | Да | ... | Нет |
Клапан закрыт, когда отпущен | ... | Да | ... | Нет |
Рукава |
Наличие острых кромок | ... | Да | ... | Нет |
Фильтры |
Фильтр под давлением | ... | Насадка | ... | Клапан |
| ... | Иное | ... | Отсутствует |
Размер ячеек, мм | |
Насадки |
Регулируемый | ... | Да | ... | Нет |
Крепление распылителя в положение для переноски | ... | Да | ... | Нет |
Указатель давления |
Наличие указателя давления | ... | Указатель | ... | Предохранительный клапан |
| ... | Отсутствует |
Видимость показаний указателя давления во время работы опрыскивателя | ... | Да | ... | Нет |
Стабильность показаний | ... | Да | ... | Нет |
Разрешение шкалы указателя давления, кПа: | |
Примечания: |
Испытания |
Условия проведения испытаний |
Температура окружающей среды, °C: | |
Относительная влажность воздуха, %: | |
Подготовка опрыскивателя |
Давление распыления, кПа: | |
Частота работы насоса, мин-1: | |
Продолжительность, ч: | |
Повреждения: | ... | Да | ... | Нет |
Примечания: |
5.3.1 Надежность отключающего устройства |
Давление распыления, кПа: | |
Частота срабатывания, мин-1: |
Общее количество циклов: |
Повреждения: | ... | Да | ... | Нет |
Утечки: | ... | Да | ... | Нет |
Примечания: |
5.3.2 Расход распыляемой жидкости |
Тип насадки | Настройка | Давление распыления, кПа | Заявленный расход жидкости, л/мин | Измеренный расход жидкости, л/мин | Отклонение, % |
| | | | | | | | | |
| | | | | | | | | |
| | | | | | | | | |
| | | | | | | | | |
5.3.3 Лямки и места их крепления |
Повреждения, влияющие на работоспособность | ... | Да | ... | Нет |
Примечания |
|
Наполненность бака опрыскивателя | Расположение опрыскивателя | Устойчивость |
Пустой | Лямками под уклон | ... | Да | ... | Нет |
| Левой стороной под уклон | ... | Да | ... | Нет |
| Лямками напротив уклона | ... | Да | ... | Нет |
| Правой стороной под уклон | ... | Да | ... | Нет |
Номинальный объем | Лямками под уклон | ... | Да | ... | Нет |
| Левой стороной под уклон | ... | Да | ... | Нет |
| Лямками напротив уклона | ... | Да | ... | Нет |
| Правой стороной под уклон | ... | Да | ... | Нет |
Примечания: |
5.3.5 Точность указателя уровня заполнения и общий объем |
Уровень Vs, л | Масса, г (Vm, мл) | Отклонение (Vs - Vm), л | Погрешность E, % |
1 | | | |
2 | | | |
3 | | | |
4 | | | |
5 | | | |
6 | | | |
7 | | | |
8 | | | |
9 | | | |
10 | | | |
11 | | | |
12 | | | |
13 | | | |
14 | | | |
15 | | | |
16 | | | |
17 | | | |
18 | | | |
19 | | | |
20 | | | |
21 | | | |
22 | | | |
Примечания: |
Общий объем |
Масса полностью заполненного опрыскивателя, г: | | |
Общий объем, л: | | |
Дополнительный объем VA, %: | | |
Примечания: |
5.3.6 Скорость заполнения |
Расход заливаемой воды, л/мин | |
Масса листа полиэтилена и (или) салфеток до испытания (сухих), г: | |
Масса листа полиэтилена и (или) салфеток после испытания, г: | |
Объем пролитой воды Vs, мл: | |
Примечания: |
5.3.7 Опорожнение опрыскивателя |
Масса опрыскивателя после испытания, г: | |
Объем оставшейся в опрыскивателе жидкости, мл: | |
Примечания: |
5.3.8 Впитывающая способность лямок |
Масса лямок до испытания, г: | |
Масса лямок после испытания, г: | |
Увеличение массы, %: | |
5.3.9 Проверка работоспособности компонентов опрыскивателя |
Компонент | Масса до испытания, г | Масса после испытания, г | Изменение массы, % |
1 | | | |
2 | | | |
3 | | | |
4 | | | |
5 | | | |
Работоспособность после повторной сборки | ... | Да | ... | Нет |
|
Достигнутое давление, кПа |
Предохранительный клапан открылся | ... | Да | ... | Нет |
Повреждения: | ... | Да | ... | Нет |
Примечания: |
|
Давление распыления, кПа: |
Продолжительность, с | Вертикальное положение | Наклон 45° | Горизонтальное положение |
300 | 60 | 60 |
Масса листа полиэтилена и (или) салфеток до испытания (сухих), г: | | | |
Масса листа полиэтилена и (или) салфеток после испытания, г: | | | |
Масса утечек, г | | | |
Объем утечек VL, мл: | | | |
Примечания: |
5.6 Определение положения центра тяжести |
Расстояние l, мм: | |
Расстояние lf, мм: | |
Полная масса заправленного опрыскивателя, г: | |
Масса m1, г: | |
Расстояние до центра тяжести lc, мм: | |
Примечания: |
6.1; 7.1; 8.1.1 Количество скопившейся на опрыскивателе жидкости |
Расход заливаемой воды, л/мин | |
Масса опрыскивателя после испытания, г: | |
Объем скопившейся жидкости, VD, мл: | |
Примечания: |
6.1.3; 8.1.2 Объем оставшейся в опрыскивателе жидкости |
Положение | Вертикально | С наклоном, ° |
Давление распыления, кПа: | |
Масса опрыскивателя после испытания, г: | |
Объем оставшейся в опрыскивателе жидкости, мл: | |
Примечания: |
|
Повреждения: | ... | Да | ... | Нет |
Примечания: |
(справочное)
СВЕДЕНИЯ О СООТВЕТСТВИИ ССЫЛОЧНЫХ МЕЖДУНАРОДНЫХ СТАНДАРТОВ
МЕЖГОСУДАРСТВЕННЫМ СТАНДАРТАМ
Таблица ДА.1
Обозначение ссылочного международного стандарта | Степень соответствия | Обозначение и наименование соответствующего межгосударственного стандарта |
ISO 5681:1992 | IDT | |
ISO 19932-1:2013 | IDT | ГОСТ ISO 19932-1-2023 "Оборудование для защиты растений. Ранцевые опрыскиватели. Часть 1. Требования безопасности и охраны окружающей среды" |
Примечание - В настоящей таблице использовано следующее условное обозначение степени соответствия стандартов: - IDT - идентичные стандарты. |
УДК 631.347.3:006.354 | | IDT |
Ключевые слова: ранцевые опрыскиватели, методы испытаний |