Главная // Актуальные документы // ГОСТ (Государственный стандарт)СПРАВКА
Источник публикации
М.: ФГБУ "Институт стандартизации", 2024
Примечание к документу
Документ включен в
Перечень международных и региональных (межгосударственных) стандартов, а в случае их отсутствия - национальных (государственных) стандартов, в результате применения которых на добровольной основе обеспечивается соблюдение требований технического
регламента Таможенного союза "О безопасности машин и оборудования" (ТР ТС 010/2011) и в
Перечень международных и региональных (межгосударственных) стандартов, а в случае их отсутствия - национальных (государственных) стандартов, содержащих правила и методы исследований (испытаний) и измерений, в том числе правила отбора образцов, необходимые для применения и исполнения требований технического
регламента Таможенного союза "О безопасности машин и оборудования" (ТР ТС 010/2011) и осуществления оценки соответствия объектов технического регулирования (
Решение Коллегии Евразийской экономической комиссии от 09.03.2021 N 28).
Документ
введен в действие с 01.07.2024.
Название документа
"ГОСТ EN 860-2015. Межгосударственный стандарт. Безопасность деревообрабатывающих станков. Рейсмусовые станки для односторонней обработки"
(введен в действие Приказом Росстандарта от 26.01.2024 N 93-ст)
"ГОСТ EN 860-2015. Межгосударственный стандарт. Безопасность деревообрабатывающих станков. Рейсмусовые станки для односторонней обработки"
(введен в действие Приказом Росстандарта от 26.01.2024 N 93-ст)
Приказом Федерального
агентства по техническому
регулированию и метрологии
от 26 января 2024 г. N 93-ст
МЕЖГОСУДАРСТВЕННЫЙ СТАНДАРТ
БЕЗОПАСНОСТЬ ДЕРЕВООБРАБАТЫВАЮЩИХ СТАНКОВ
РЕЙСМУСОВЫЕ СТАНКИ ДЛЯ ОДНОСТОРОННЕЙ ОБРАБОТКИ
Safety of woodworking machines.
One side thickness planning machines
(EN 860:2007+A2:2012, IDT)
ГОСТ EN 860-2015
Дата введения
1 июля 2024 года
Цели, основные принципы и общие правила проведения работ по межгосударственной стандартизации установлены
ГОСТ 1.0 "Межгосударственная система стандартизации. Основные положения" и
ГОСТ 1.2 "Межгосударственная система стандартизации. Стандарты межгосударственные, правила и рекомендации по межгосударственной стандартизации. Правила разработки, принятия, обновления и отмены"
1 ПОДГОТОВЛЕН Научно-производственным республиканским унитарным предприятием "Белорусский государственный институт стандартизации и сертификации" (БелГИСС) на основе собственного перевода на русский язык англоязычной версии стандарта, указанного в
пункте 5
2 ВНЕСЕН Госстандартом Республики Беларусь
3 ПРИНЯТ Межгосударственным советом по стандартизации, метрологии и сертификации (протокол от 27 февраля 2015 г. N 75-П)
За принятие проголосовали:
Краткое наименование страны по МК (ИСО 3166) 004-97 | Код страны по МК (ИСО 3166) 004-97 | Сокращенное наименование национального органа по стандартизации |
Армения | AM | ЗАО "Национальный орган по стандартизации и метрологии" Республики Армения |
Беларусь | BY | Госстандарт Республики Беларусь |
Казахстан | KZ | Госстандарт Республики Казахстан |
Киргизия | KG | Кыргызстандарт |
Молдова | MD | Молдова-Стандарт |
Россия | RU | Росстандарт |
Таджикистан | TJ | Таджикстандарт |
Узбекистан | UZ | Узстандарт |
4 Приказом Федерального агентства по техническому регулированию и метрологии от 26 января 2024 г. N 93-ст межгосударственный стандарт ГОСТ EN 860-2015 введен в действие в качестве национального стандарта Российской Федерации с 1 июля 2024 г.
5 Настоящий стандарт идентичен европейскому стандарту EN 860:2007+A2:2012 "Безопасность деревообрабатывающих станков. Рейсмусовые станки для односторонней обработки" ("Safety of woodworking machines - One side thickness planning machines", IDT).
Европейский стандарт разработан Техническим комитетом по стандартизации CEN/TC 142 "Деревообрабатывающие станки. Безопасность" Европейского комитета по стандартизации (CEN).
Настоящий стандарт реализует существенные требования безопасности Директивы
2006/42/ЕС, приведенные в
приложении ZA.
При применении настоящего стандарта рекомендуется использовать вместо ссылочных международных и европейских стандартов соответствующие им межгосударственные стандарты, сведения о которых приведены в дополнительном
приложении ДА
6 ВВЕДЕН ВПЕРВЫЕ
Информация о введении в действие (прекращении действия) настоящего стандарта и изменений к нему на территории указанных выше государств публикуется в указателях национальных стандартов, издаваемых в этих государствах, а также в сети Интернет на сайтах соответствующих национальных органов по стандартизации.
В случае пересмотра, изменения или отмены настоящего стандарта соответствующая информация будет опубликована на официальном интернет-сайте Межгосударственного совета по стандартизации, метрологии и сертификации в каталоге "Межгосударственные стандарты"
Настоящий стандарт представляет собой стандарт типа C по EN ISO 12100.
В области применения приведены существенные опасности, опасные ситуации и события, рассматриваемые в настоящем стандарте.
Если требования настоящего стандарта отличаются от положений, которые установлены в стандартах типа A или B, то требования настоящего стандарта имеют приоритет над положениями других стандартов для машин, которые сконструированы и изготовлены в соответствии с положениями настоящего стандарта типа C.
Настоящий стандарт рассматривает все существенные опасности, опасные ситуации и события, приведенные в
разделе 4, которые относятся к стационарным и передвижным рейсмусовым станкам для односторонней обработки с механической подачей, фиксированным положением ножевого вала и ручной загрузкой и выгрузкой заготовки (далее - станки), предназначенные для обработки древесины, древесностружечных, древесноволокнистых плит и фанеры, при использовании станков по назначению и в соответствии с условиями, предусмотренными изготовителем, включая неправильное использование, которое можно предусмотреть.
Станки, предназначенные для обработки древесных материалов, могут также использоваться для обработки материалов, укрепленных пластмассой, с похожими физическими характеристиками, как у древесины.
Настоящий стандарт не распространяется на:
a) станки, устанавливаемые на верстаке или столе, подобном верстаку, предназначенные для стационарного использования в работе и возможности переноса их вручную одним человеком.
Примечание 1 - Переносные настольные электроприводные станки рассмотрены в EN 61029-1:2009 совместно с EN 61029-2-3:2011;
b) ручные рубанки и любые приспособления, допускающие использование их различным способом, например установкой на верстаке.
Примечание 2 - Ручные электрические машины рассмотрены в EN 60745-1:2009 совместно с EN 60745-2-14:2009;
c) рейсмусовые станки, у которых ножевой вал регулируется по глубине резания.
Требования настоящего стандарта не распространяются на станки, которые изготовлены до даты введения в действие настоящего стандарта.
Примечание 3 - Станки, рассматриваемые в настоящем стандарте, перечислены в Директиве 2006/42/ЕС (
раздел 3 приложения IV).
В настоящем стандарте использованы нормативные ссылки на следующие стандарты [для датированных ссылок применяют только указанное издание ссылочного стандарта, для недатированных ссылок применяют последнее издание ссылочного стандарта (включая все его изменения)]:
EN 847-1:2005+A1:2007 Tools for woodworking - Safety requirements - Part 1: Milling tools, circular saw blades (Инструменты деревообрабатывающие. Требования безопасности. Часть 1. Инструменты для обработки фрезерованием и резанием, полотна дисковой пилы)
EN 1005-4:2005+A1:2008 Safety of machinery - Human physical performance - Part 4: Evaluation of working postures and movements in relation to machinery (Безопасность машин. Физические характеристики человека. Часть 4. Оценка рабочих положений и движений относительно машин)
EN 1037:1995+A1:2008 Safety of machinery - Prevention of unexpected start-up (Безопасность машин. Предотвращение неожиданного пуска)
EN 1088:1995+A2:2008 Safety of machinery - Interlocking devices associated with guards - Principles for design and selection (Безопасность машин. Блокировочные устройства, связанные с защитными устройствами. Принципы конструирования и выбора)
EN 50178:1997 Electronic equipment for use in power installations (Оборудование электронное, используемое в силовых электроустановках)
EN 50370-1:2005 Electromagnetic compatibility (EMC) - Product family standard for machine tools - Part 1: Emission (Электромагнитная совместимость. Станки металлообрабатывающие. Часть 1. Помехоэмиссия)
EN 50370-2:2003 Electromagnetic compatibility (EMC) - Product family standard for machine tools - Part 2: Immunity (Электромагнитная совместимость. Станки металлообрабатывающие. Часть 2. Помехоустойчивость)
EN 60204-1:2006 Safety of machinery - Electrical equipment of machines - Part 1: General requirements (IEC 60204-1:2005, modified) (Безопасность машин. Электрооборудование машин и механизмов. Часть 1. Общие требования)
EN 60439-1:1999 Low-voltage switchgear and controlgear assemblies - Part 1: Type-tested and partially type-tested assemblies (IEC 60439-1:1999) (Низковольтные комплектные устройства распределения и управления. Часть 1. Устройства, подвергаемые типовым испытаниям полностью и частично)
EN 60529:1991 Degrees of protection provided by enclosures (IP code) (IEC 60529:1989) (Степени защиты, обеспечиваемые оболочками (код IP))
EN 61496-1:2004 Safety of machinery - Electro-sensitive protective equipment - Part 1: General requirements and tests (IEC 61496-1:2004, modified) (Безопасность машин. Электрочувствительные защитные устройства. Часть 1. Общие требования и испытания)
EN 61800-5-2:2007 Adjustable speed electrical power drive systems - Part 5-2: Safety requirements - Functional (IEC 61800-5-2:2007) (Системы силовых электрических приводов с регулируемой скоростью. Часть 5-2. Требования безопасности. Функциональная безопасность)
EN ISO 3743-1:2010 Acoustics - Determination of sound power levels and sound energy levels of noise sources using sound pressure - Engineering methods for small movable sources in reverberant fields - Part 1: Comparison method for a hard-walled test room (ISO 3743-1:2010) (Акустика. Определение уровней звуковой мощности и уровней звуковой энергии источников шума по звуковому давлению. Технические методы для малых переносных источников в реверберационных полях. Часть 1. Метод сравнения для испытательной камеры с жесткими стенами)
EN ISO 3743-2:2009 Acoustics - Determination of sound power levels of noise sources using sound pressure - Engineering methods for small, movable sources in reverberant fields - Part 2: Methods for special reverberant test rooms (ISO 3743-2:1994) (Акустика. Определение уровней звуковой мощности источников шума по звуковому давлению. Технические методы для малых переносных источников в реверберационных полях. Часть 2. Методы для специальных реверберационных камер)
EN ISO 3744:2010 Acoustics - Determination of sound power levels and sound energy levels of noise sources using sound pressure - Engineering methods for an essentially free field over a reflecting plane (ISO 3744:2010) (Акустика. Определение уровней звуковой мощности и уровней звуковой энергии источников шума по звуковому давлению. Технические методы в условиях свободного звукового поля над отражающей поверхностью)
EN ISO 3745:2009 Acoustics - Determination of sound power levels of noise sources using sound pressure - Precision methods for anechoic and semi-anechoic rooms (ISO 3745:2003) (Акустика. Определение уровней звуковой мощности источников шума по звуковому давлению. Точные методы звукопоглощающих и звукоотражающих камер)
EN ISO 3746:2010 Acoustics - Determination of sound power levels and sound energy levels of noise sources using sound pressure - Survey method using an enveloping measurement surface over a reflecting plane (ISO 3746:2010) (Акустика. Определение уровней звуковой мощности и уровней звуковой энергии источников шума по звуковому давлению. Ориентировочный метод с использованием охватывающей измерительной поверхности над звукоотражающей плоскостью)
EN ISO 4413:2010 Hydraulic fluid power - General rules and safety requirements for systems and their components (ISO 4413:2010) (Приводы гидравлические. Общие правила и требования безопасности для систем и их компонентов)
EN ISO 4414:2010 Pneumatic fluid power - General rules and safety requirements for systems and their components (ISO 4414:2010) (Приводы пневматические. Общие правила и требования безопасности для систем и их компонентов)
EN ISO 4871:2009 Acoustics - Declaration and verification of noise emission values of machinery and equipment (ISO 4871:1996) (Акустика. Декларация и верификация значений шумовых характеристик машин и оборудования)
EN ISO 9614-1:2009 Acoustics - Determination of sound power levels of noise sources using sound intensity - Part 1: Measurement at discrete points (ISO 9614-1:1993) (Акустика. Определение уровней звуковой мощности источников шума по интенсивности звука. Часть 1. Измерение в дискретных точках)
EN ISO 11202:2010 Acoustics - Noise emitted by machinery and equipment - Determination of emission sound pressure levels at a work station and at other specified positions applying approximate environmental corrections (ISO 11202:2010) (Акустика. Шум от машин и оборудования. Определение уровней звукового давления излучения на рабочем месте и в других установленных положениях с введением приближенной поправки на внешние воздействующие факторы)
EN ISO 11204:2010 Acoustics - Noise emitted by machinery and equipment - Determination of emission sound pressure levels at a work station and at other specified positions applying approximate environmental corrections (ISO 11202:2010) (Акустика. Шум от машин и оборудования. Определение уровней звукового давления излучения на рабочем месте и в других установленных положениях с введением точных поправок на внешние воздействующие факторы)
EN ISO 11688-1:2009 Acoustics - Recommended practice for the design of low-noise machinery and equipment - Part 1: Planning (ISO/TR 11688-1:1995) (Акустика. Практические рекомендации для проектирования машин и оборудования с низким уровнем шума. Часть 1. Планирование)
EN ISO 12100:2010 Safety of machinery - General principles for design - Risk assessment and risk reduction (ISO 12100:2010) (Безопасность машин. Общие принципы конструирования. Оценка рисков и снижение рисков)
EN ISO 13849-1:2008 Safety of machinery - Safety-related parts of control systems - Part 1: General principles for design (ISO 13849-1:2006) (Безопасность машин. Элементы систем управления, связанные с обеспечением безопасности. Часть 1. Общие принципы конструирования)
EN ISO 13849-2:2008 Safety of machinery - Safety-related parts of control systems - Part 2: Validation (ISO 13849-2:2003) (Безопасность машин. Элементы систем управления, связанные с обеспечением безопасности. Часть 2. Валидация)
HD 22.4 S4:2004 Cables of rated voltages up to and including 450/750 V and having crosslinked insulation - Part 4: Cords and flexible cables (Кабели на номинальное напряжение до 450/750 В включительно и со сшитой изоляцией. Часть 4. Шнуры и гибкие кабели)
ISO 7568:1986 Woodworking machines - Thickness planing machines with rotary cutterblock for one-side dressing - Nomenclature and acceptance conditions (Станки деревообрабатывающие. Рейсмусовые станки с вращающейся режущей головкой для одностороннего строгания. Номенклатура и условия приемки)
ISO 7960:1995 Airborne noise emitted by machine tools - Operating conditions for woodworking machines (Шум, распространяющийся по воздуху при работе станков. Условия эксплуатации деревообрабатывающих станков)
В настоящем стандарте применены термины, установленные в EN ISO 12100:2010, а также следующие термины с соответствующими определениями.
3.2.1 рейсмусовый станок для односторонней обработки (one side thickness planing machine): Станок, предназначенный для срезания слоя с верхней поверхности заготовки вращающимся вокруг горизонтальной оси ножевым валом, установленным под прямым углом к направлению подачи заготовки и расположенным сверху стола, предназначенного для установки и поддержания обрабатываемой заготовки в процессе обработки.
Примечание - Ножевой вал является составным инструментом цилиндрической формы, оснащенный плоскими ножами с горизонтальной прямолинейной режущей кромкой, который режет в процессе вращения (см. также описание составного инструмента по EN 847-1:2005+A1:2007). Заготовка подается в станок навстречу вращению ножевого вала.
3.2.2 стол (table): Стол, предназначенный для установки и подачи обрабатываемой заготовки, который может состоять из роликов и ремней или других неподвижных или механически движущихся элементов.
3.2.3 ножевой вал (cutterblok): Элемент станка, предназначенный для крепления режущих ножей и режущих пластин.
3.2.4 инструмент (tool): Сборный инструмент, как определено в EN 847-1:2005+A1:2007, который состоит из ножевого вала, строгальных ножей и крепежных деталей.
3.2.5 механическая подача (integrated feed): Подача заготовки при помощи механизма, который удерживает и направляет заготовку механически во время обработки.
3.2.6 загрузка рейсмусового станка для односторонней обработки (loading of a one side thicknessing machine): Ручное размещение обрабатываемой заготовки на встроенный в станок механизм подачи, содержащий подающие вальцы.
3.2.7 стационарный станок (stationary machine): Станок, предназначенный для размещения и закрепления на полу или в других местах рабочего помещения и не предназначенный для перемещения во время его эксплуатации.
3.2.8 передвижной станок (displaceable machine): Станок, закрепленный на полу, неподвижный при эксплуатации и оснащенный устройством (обычно колесами), позволяющим перемещать его с одного места на другое.
3.2.9 обратный удар (kickback): Особая форма выбрасывания, заключающаяся в непредусмотренном движении заготовки, ее частей или частей станка, во время обработки в направлении, противоположном подаче.
3.2.10 устройство, предотвращающее обратный удар (anti-kickback device): Противовыбрасывающее устройство, уменьшающее возможность отдачи либо останавливающее выбрасывание во время отдачи заготовки, ее частей или частей станка.
3.2.11 время выбега (run-down time): Время от момента приведения в действие устройства управления остановом станка до остановки шпинделя.
3.2.12 время разгона (run-up time): Время от приведения в действие устройства управления пуском станка до достижения шпинделем заданной частоты вращения.
3.2.13 информация от поставщика (information from the supplier): Заявления, коммерческая литература, буклеты и другая документация, в которых изготовитель (поставщик) указывает либо характеристики, например материала или продукции, либо подтверждает соответствие данного материала или продукции требованиям соответствующего стандарта.
3.2.14 привод станка (machine actuator): Устройство, с помощью которого станок приводится в действие.
3.2.15 встроенное программное обеспечение (embedded software (SRESW)): Программное обеспечение, которое является частью системы управления, поставляемое изготовителем и которое не доступно для модификации пользователем станка.
Примечание 1 - Аппаратно-программное обеспечение или системное программное обеспечение являются примерами встроенного программного обеспечения (см. EN ISO 13849-1:2008, терминологическая статья 3.1.37).
Примечание 2 - "Изготовитель" означает "Изготовитель системы".
Примечание 3 - В качестве примера можно привести систему управления устройства контроля частоты вращения.
3.2.16 прикладное программное обеспечение (application software (SRASW)): Программное обеспечение конкретного приложения, реализованное изготовителем станка и содержащее логические последовательности, пределы и выражения, которые контролируют соответствующие входы, выходы, расчеты и решения, необходимые для выполнения требований SRP/CS (см. EN ISO 13849-1:2008, терминологическая статья 3.1.36).
3.2.17 элемент системы управления, связанный с безопасностью (SRP/CS) (safety related part of a control system (SRP/CS)): Часть или элемент(ы) системы управления, которые реагируют на входные сигналы, связанные с безопасностью, и генерируют выходные сигналы, связанные с безопасностью.
Примечание 1 - Комбинация элементов системы управления, связанная с безопасностью, начинающаяся от точки возникновения сигнала, связанного с обеспечением безопасности на входе (в том числе, например, приводного кулачка или ролика позиционного выключателя), и заканчивающаяся конечным элементом системы управления на выходе (в том числе, например, главный контактный пускатель). Система управления также включает в себя систему контроля (см. EN ISO 13849-1:2008, подраздел 3.1).
Примечание 2 - Если система контроля используется для диагностики, она также считается SRP/CS (см. EN ISO 13849-1:2008, терминологическая статья 3.1.1).
3.2.18 характеристический уровень PL (performance level PL): Дискретный уровень, который используется для оценки способности элементов систем управления, связанных с безопасностью, обеспечивать безопасное функционирование оборудования в прогнозируемых условиях (см. EN ISO 13849-1:2008, терминологическая статья 3.1.23).
3.3 Составные элементы станка
Наименования основных элементов станка показаны на
рисунках 1 и
2.
1 - загрузочный стол; 2 - устройство, предотвращающее
обратный удар; 3 - верхнее защитное ограждение; 4 - панель
управления; 5 - механизм вертикального перемещения стола;
6 - вытяжной колпак
Рисунок 1 - Пример устройства станка
для односторонней обработки
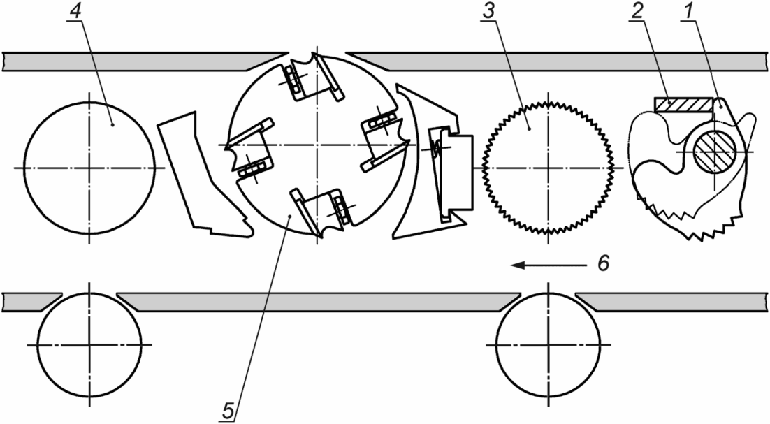
1 - устройство, предотвращающее обратный удар;
2 - ограничитель поворота клина; 3 - передний подающий
валец; 4 - задний подающий валец; 5 - ножевой вал;
6 - направление подачи
Рисунок 2 - Пример устройства рейсмусового станка
для односторонней обработки
4 Перечень существенных опасностей
В настоящем разделе рассматриваются все существенные опасности, опасные ситуации и события (см. EN ISO 12100:2010), которые идентифицированы оценкой риска как существенные для данного типа станков, указанных в области применения, и описаны применяемые меры для устранения или уменьшения рисков. Настоящий стандарт рассматривает существенные опасности путем определения требований безопасности и/или защитных мер, или включением ссылок на соответствующие стандарты.
Таблица 1
Перечень существенных опасностей
Пункт | Опасности, опасные ситуации и события | EN ISO 12100:2010 | Пункт в настоящем стандарте |
1 | Механические опасности, касающиеся: - частей станка или заготовки | 6.2.2.1, 6.2.2.2, 6.3 | |
a) форма; |
b) взаимное расположение; | |
c) масса и устойчивость (потенциальная энергия элементов, которые могут перемещаться под действием силы тяжести); | |
d) масса и скорость (кинетическая энергия элементов при контролируемом и неконтролируемом движении); | |
e) механическая прочность; | |
- накопленная энергия внутри станка: | |
f) жидкость и газы под давлением | 6.2.10, 6.3.5.4 | |
1.1 | Опасность раздавливания | | |
1.2 | Опасность пореза | | |
1.3 | Опасность разрезания или разрыва | | |
1.4 | Опасность наматывания | | |
1.5 | Опасности затягивания или захвата | | |
1.6 | Опасность удара | | |
1.9 | Опасность выброса жидкостей под высоким давлением | 6.2.10 | |
2 | Электрические опасности: |
2.1 | контакт персонала с токоведущими частями (прямой контакт) | 6.2.9, 6.3.5.4 | |
2.2 | соприкосновение персонала с частями, которые попали под напряжение в результате неисправности (косвенный контакт) | 6.2.9 | |
4 | Опасности от шума, приводящие: |
4.1 | к потере слуха (глухота), другим физиологическим нарушениям (потеря равновесия, потеря сознания) | 6.2.2.2, 6.3 | |
4.2 | к нарушению речевой коммуникации, ухудшению восприятия звуковых сигналов | | |
7 | Опасности, возникающие от воздействия материалов и веществ (и их составляющих элементов), обрабатываемых или используемых оборудованием: |
7.1 | опасности контактирования или вдыхания ядовитых жидкостей и пыли | 6.2.3, 6.2.4 | |
7.2 | пожар | 6.2.4 | |
8 | Опасности, возникающие из-за несоблюдения эргономических принципов при конструировании станка и касающиеся: |
8.1 | неправильной осанки или повышенного физического напряжения | 6.2.7, 6.2.8, 6.2.11.12, 6.3.5.5, 6.3.5.6 | |
8.2 | анатомии "кисть-рука" или "ступня-нога" | 6.2.8.3 | |
8.4 | местного освещения | 6.2.8.6 | |
| человеческой ошибки и поведения | 6.2.8, 6.2.11.8, 6.2.11.10, 6.3.5.2, 6.4 | |
8.7 | конструкции, расположения или идентификации элементов ручного управления | 6.2.8.7, 6.2.11.8 | |
8.8 | конструкции, расположения средств визуального наблюдения | 6.2.8, 6.4.2 | |
9 | Комбинация опасностей | 6.3.2.1 | |
10 | Непреднамеренный пуск, неожиданное повышение скорости (или любой подобный сбой) от: |
10.1 | отказа/сбоя в работе системы управления | 6.2.11, 6.3.5.4 | |
10.2 | восстановления подачи энергоснабжения после прерывания | 6.2.11.4 | |
10.3 | внешних воздействий на электрооборудование | 6.2.11.11 | |
10.5 | ошибок в программном обеспечении | 6.2.11.7 | |
10.6 | ошибок оператора (несоответствие между оборудованием и возможностями персонала, см. 8.6) | 6.2.8, 6.2.11.8, 6.2.11.10, 6.3.5.2, 6.4 | |
11 | Невозможность останова станка в оптимальных условиях | 6.2.11.1, 6.2.11.3, 6.3.5.2 | |
13 | Отказ системы энергоснабжения | 6.2.11.1, 6.2.11.4 | |
14 | Отказ систем управления | 6.2.11, 6.3.5.4 | |
15 | Ошибки установки | 6.2.7, 6.4.5 | |
16 | Поломки во время работы | 6.2.3, 6.2.3.10 | |
17 | Падение или выброс предметов или жидкостей | 6.2.3, 6.2.10 | |
18 | Потери устойчивости/опрокидывание станка | 6.3.2.6 | |
5 Требования безопасности и/или защитные меры
Станки должны соответствовать требованиям безопасности и/или защитным мерам, установленным настоящим разделом.
Кроме того, станки следует проектировать в соответствии с EN ISO 12100:2010 для соответствующих опасностей, но не значительных, которые не рассматриваются в настоящем стандарте (например, острые кромки станины станка).
Требования, направленные на снижение риска, обусловленные конструкцией, установлены в EN ISO 12100:2010 (подраздел 6.2) и для защитных мер в EN ISO 12100:2010 (подраздел 6.3).
5.2.1 Безопасность и надежность органов управления
В настоящем стандарте система безопасного управления представляет собой систему от исходного привода или датчика положения до элемента регулирования приводного механизма конечного привода станка (например, двигателя или тормоза). Элементы системы управления станком, связанные с безопасностью, должны соответствовать требованиям не ниже характеристического уровня PL (далее - уровня PL) по EN ISO 13849-1:2008:
- устройство нормального останова - PL = c (см.
5.2.4);
- устройство аварийного останова - PL = c (см.
5.2.5);
- система торможения - PL = c (см.
5.3.4);
- устройство предотвращения непреднамеренного пуска из-за нарушения энергоснабжения - PL = c (см.
5.2.6 и
5.2.7);
- устройство блокировки между приводом подачи и приводом ножевого вала - PL = c (см.
5.2.3);
- удержание органа управления в рабочем положении - PL = c (см.
5.2.3);
- механизм вертикального перемещения стола - PL = с (см.
5.2.3).
Контроль. Проверка соответствующих чертежей и/или схем и осмотр станка.
5.2.2 Расположение органов управления
Электрические приводы органов управления пуском, нормальным остановом, аварийным остановом и механизма регулировки перемещения стола (если имеется) должны быть расположены на расстоянии не менее 600 мм от пола и со стороны подачи заготовки.
Дополнительные включатели аварийного останова, если требуется в соответствии с
5.2.5, должны быть расположены на высоте не менее 600 мм от пола и со стороны выхода заготовки.
Контроль. Проверка соответствующих чертежей, проведение измерений и осмотр станка.
Перед пуском или повторным пуском станка все защитные ограждения должны быть на месте и в рабочем состоянии. Это достигается с помощью блокирующих устройств, описанных в
5.3.7. Пуск или повторный пуск должны быть возможными только с помощью приведения в действие органа управления пуском, предусмотренного для этой цели.
Станки с электроприводом должны соответствовать требованиям EN 60204-1:2006 (подпункт 9.2.5.2) и следующим дополнительным требованиям:
a) согласно настоящему стандарту термин "работа" означает движение ножевого вала и/или встроенной подачи и/или вертикального регулирования стола;
b) пуск двигателя подачи должен быть возможен только, когда работает двигатель ножевого вала, например, с помощью реле времени, соответствующего уровню PL = b по EN ISO 13849-1:2008. Для станков с одним двигателем начало подачи должно быть возможным только тогда, когда ножевой вал приведен в действие;
c) конструкция системы управления должна быть такой, чтобы обеспечивать требования к последовательности пусков. Если используется реле времени, то время задержки должно быть как минимум равно времени разгона ножевого вала. Время задержки должно быть фиксированным или настройка времени должна быть опломбирована.
Если регулирование перемещения стола механизировано, то настройка должна осуществляться через орган управления с автоматическим возвратом в исходное положение или предварительно настроенное электронное управление.
Для станков с механизированной вертикальной регулировкой стола с помощью электронного управления должны соблюдаться следующие требования:
- вертикальное регулирование стола должно быть начато командой пуск (например, нажатием кнопки), система управления должна соответствовать уровню PL = c по EN ISO 13849-1:2008;
- после того, как стол отрегулирован, привод вертикального регулирования стола должен быть отключен, соответствуя уровню PL = b. Для выполнения дополнительного регулирования должно быть необходимо новое приведение в действие.
Элементы системы управления, связанные с безопасностью (см. также
5.2.1), для пуска и повторного пуска станка и для взаимоблокирования двигателя ножевого вала и двигателя подачи должны соответствовать уровню PL = c по EN ISO 13849-1:2008.
Элементы системы управления, связанные с безопасностью (см. также
5.2.1), для органа управления с автоматическим возвратом в исходное положение должны соответствовать уровню PL = c по EN ISO 13849-1:2008.
Контроль. Проверка соответствующих чертежей и/или схем, осмотр и соответствующее функциональное тестирование станка.
Станок должен быть оснащен системой управления остановом, с помощью которого его можно безопасно полностью остановить. Действие устройства нормального останова должно обеспечить отключение от энергоснабжения всех приводов станка и включение привода системы торможения (если имеется, см.
5.3.4).
Порядок нормального останова системы силового привода, связанной с безопасностью [PDS (SR)], "безопасного выключения крутящего момента (STO)", приведен в EN 61800-5-2:2007 (подпункт 4.2.2.2), а "безопасный останов 1 (SS1)" в EN 61800-5-2:2007 (подпункт 4.2.2.3).
Система управления нормальным остановом должна соответствовать:
a) категории 1 в соответствии с требованиями EN 60204-1:2006 (пункт 9.2.2), если станок оснащен электрической системой торможения;
b) категории 0 в соответствии с требованиями EN 60204-1:2006 (пункт 9.2.2), если станок оснащен механической системой торможения с пружинным устройством или без него.
Для системы управления нормальным остановом категории 1 последовательность останова должна быть следующей:
1) одновременное отключение от энергоснабжения привода подачи, если он приводится в движение отдельным двигателем, двигателя ножевого вала и привода механизма вертикального регулирования стола, если имеется электронное управление и применяется система торможения;
2) отключение энергоснабжения системы торможения после полного останова ножевого вала, например применение реле времени надежным способом, например устройством емкостного типа, которое должно соответствовать уровню PL = c по EN ISO 13849-1:2008.
Конструкция системы управления должна быть такой, чтобы удовлетворять требованиям последовательности нормального останова. Если используется реле времени, то время задержки должно быть равно как минимум времени выбега. Время задержки должно быть установлено на постоянную величину или устройство для его регулирования должно быть опломбировано.
Элементы системы управления, связанные с безопасностью (см. также
5.2.1), для обеспечения нормального останова должны соответствовать уровню PL = c по EN ISO 13849-1:2008.
Контроль. Проверка соответствующих чертежей и/или схем, осмотр и соответствующее функциональное тестирование станка.
В станке должно быть предусмотрено устройство аварийного останова, которое должно быть доступным с рабочего положения оператора и расположено со стороны подачи. Допускается отсутствие устройства аварийного останова для станков, которые оснащены только одним двигателем и где устройство управления нормальным остановом не закрыто и легко доступно с рабочего положения оператора.
Порядок нормального останова системы силового привода, связанной с безопасностью [PDS (SR)], "безопасного выключения крутящего момента (STO)", приведен в EN 61800-5-2:2007 (подпункт 4.2.2.2), а "безопасный останов 1 (SS1)" в EN 61800-5-2:2007 (пункт 4.2.2.3).
Для станков с отдельным приводом подачи и/или рабочей шириной обработки более 500 мм и/или с использованием электронного управления для вертикального регулирования стола должно быть предусмотрено второе устройство аварийного останова со стороны выхода заготовки.
Если станок оснащен системой торможения с пружинным устройством без отдельного привода подачи и/или без блокируемого защитного ограждения, функция аварийного останова должна соответствовать категории 0 в соответствии с требованиями EN ISO 13850:2008 (пункт 4.1.4), а система управления аварийным остановом должна соответствовать категории 0 в соответствии с требованиями EN 60204-1:2006 (пункт 9.2.2) и удовлетворять требованиям EN 60204-1:2006 (подпункт 9.2.5.4.2).
Если станок оснащен системой торможения любого другого типа, например электрическая система торможения, и/или с приводом подачи с отдельным двигателем, и/или с блокируемым защитным ограждением, функция аварийного останова должна соответствовать категории 1 в соответствии с требованиями EN ISO 13850:2008 (пункт 4.1.4), а система управления аварийным остановом должна соответствовать категории 0 в соответствии с требованиями EN 60204-1:2006 (пункт 9.2.2) и удовлетворять требованиям EN 60204-1:2006 (подпункт 9.2.5.4.2).
Устройства аварийного останова должны соответствовать EN 60204-1:2006 (подраздел 10.7) и должны все время оставаться зафиксированными при срабатывании.
Последовательность аварийного останова должна быть такой же, как и для нормального останова (см.
5.2.4).
Конструкция системы управления должна быть такой, чтобы удовлетворять требованиям последовательности аварийного останова. Если используется реле времени, то задержка должна быть не менее максимального времени выбега. Время задержки должно быть установлено на постоянную величину или устройство для его регулирования должно быть опломбировано.
Элементы системы управления, связанные с безопасностью (см. также
5.2.1), для обеспечения аварийного останова должны соответствовать уровню PL = c по EN ISO 13849-1:2008.
Контроль. Проверка соответствующих чертежей и/или схем, осмотр и соответствующее функциональное тестирование станка.
5.2.6 Нарушение энергоснабжения
Восстановление энергоснабжения после его прерывания не должно приводить к перезапуску любого привода станка в соответствии с требованиями EN 1037:1995+A1:2008. Для станков с электрическим приводом это достигается, например, путем обеспечения защиты от падения напряжения при определенном уровне пониженного напряжения в соответствии с требованиями EN 60204-1:2006 (подраздел 7.5, абзацы 1 и 3).
Для станков с пневматическим и/или гидравлическим приводом должно быть предусмотрено исключение самопроизвольного повторного пуска и опасных движений станка после нарушения энергоснабжения.
Контроль. Проверка соответствующих чертежей и/или схем, осмотр и соответствующее функциональное тестирование станка.
5.2.7 Сбои в системе управления
Системы управления должны соответствовать требованиям EN 1037:1995+A1:2008 (раздел 6) и следующим дополнительным требованиям.
Системы управления должны быть сконструированы таким образом, чтобы разрыв в любом месте цепи (например, разрыв электропровода, трубопровода или рукава) не мог привести к потере функций безопасности, например непроизвольный пуск, в соответствии с EN 60204-1:2006, EN ISO 4413:2010 и EN ISO 4414:2010.
Требования к системам управления см.
5.2.1.
Контроль. Проверка соответствующих чертежей и/или схем, осмотр и соответствующее функциональное тестирование станка.
5.3 Защита от механических опасностей
Должна быть обеспечена возможность крепления стационарных станков к неподвижной поверхности, например полу. Должны быть обеспечены условия для фиксации, например, отверстия для креплений или необходимые фиксирующие устройства в корпусе станка (см.
6.3, перечисление f)).
Для передвижных станков должна быть обеспечена возможность их фиксации во время работы (например, путем предусмотрения тормоза для колес или устройств для подъема колес над полом).
Контроль. Проверка соответствующих чертежей, осмотр и соответствующее функциональное тестирование для передвижных станков в соответствии с
приложением B.
5.3.2 Опасность поломки во время эксплуатации
Для уменьшения вероятности поломки при эксплуатации станка необходимо выполнять требования
5.3.3 и
5.3.6. Для уменьшения последствий после поломки станка необходимо выполнять требования
5.3.8.
Конструкция прижима (при наличии) должна быть такой, чтобы не было контакта с инструментом.
Контроль. Проверка соответствующих чертежей и осмотр станка.
5.3.3 Конструкция ножевого вала
Ножевой вал должен быть круглой цилиндрической формы и промаркирован "MEC" или "MEN" в соответствии с EN 847-1:2005+A1:2007.
Для станков, где ножи устанавливаются не автоматически, должен быть обеспечен установочный шаблон для их правильной установки.
Контроль. Проверка соответствующих чертежей и осмотр станка.
Для шпинделя ножевого вала должен быть предусмотрен автоматический тормоз, если время выбега на холостом ходу превышает 10 с.
Время выбега с торможением должно быть менее 10 с.
Для функции торможения должен быть достигнут уровень PLr не менее c.
Если применяется механический тормоз, то EN 60204-1:2006 (пункт 9.3.4, последний абзац) не применяется.
При использовании электрической системы торможения не допускается использовать противотоковое торможение.
За исключением случаев, когда используется электрический тормоз с системой электронного управления, конструкция системы управления должна соответствовать как минимум уровню PL = b в соответствии с требованиями EN ISO 13849-1:2008 и категории 2 по EN ISO 13849-1:2008; при этом не должно применяться ускоренное испытание по EN ISO 13849-1:2008 (пункт 4.5.4). Элементы системы управления торможением для обеспечения безопасности должны подвергаться периодическим испытаниям, например контроль времени выбега с торможением. Сигнал обратной подачи должен поступать либо с датчика положения, установленного на шпинделе двигателя, либо с датчика измерения остаточного тока в проводах, питающих двигатель.
Испытание должно проводиться:
a) независимо от основной системы управления торможением или с установкой таймера внутри системы управления;
b) независимо от намерений оператора;
c) при каждом останове шпинделя ножевого вала.
Если результаты испытаний окажутся отрицательными в результате трех последовательных испытаний, станок к эксплуатации не допускается. В протоколе испытаний указывается отрицательный результат.
Диагностическое покрытие (DCavg) должно быть >= 60%.
Расчет величины диагностического покрытия DC приведен в EN 13849-1:2008 (приложение E).
Как исключение может применяться просто электронный тормоз (с применением таких простых устройств, как выпрямители, транзисторы, симисторы, диоды, резисторы или тиристоры) с уровнем PL = b и категории 1 по EN ISO 13849-1:2008, если среднее "время наработки на опасный отказ" (MTTFd) в соответствии с требованиями EN ISO 13849-1:2008 (таблица 5) достигает уровня "высокий" (не менее 30 лет).
Примечание - Сложные электронные компоненты, такие как микропроцессоры или программируемые логические контролеры (ПЛК) не могут рассматриваться или проходить испытания в соответствии с EN ISO 13849-1:2008 и поэтому не выполняют требования категории 1.
Для вычисления вероятности опасного отказа простого элемента электронного тормоза, без обнаружения неисправностей (без диагностического покрытия) и без возможности тестирования (категория 1) может использоваться процедура, приведенная в EN ISO 13849-1:2008 (приложение 1).
Контроль. Проверка времени выбега без торможения и времени выбега с торможением проводят соответствующие испытания, приведенные в
приложении D.
5.3.4.2 Отключение системы торможения
Если есть орган управления отключением системы торможения ножевого вала, обеспечивающий возможность его проворачивания и регулирования вручную, отключение системы торможения должно быть возможным только при полной остановке ножевого вала (например, посредством реле времени надежным способом, например устройством емкостного типа, которое должно соответствовать уровню PL = c по EN ISO 13849-1:2008 для обеспечения времени задержки между срабатыванием и отключением системы торможения).
Привод пускового устройства системы торможения должен быть сблокирован с приводом ножевого вала таким образом, чтобы этот привод невозможно было включить при включенной системе торможения. Элементы системы управления, связанные с безопасностью (см. также
5.2.1), для отключения системы торможения должны иметь уровень не ниже PL = c по EN ISO 13849-1:2008 (см. также
5.2.1).
Непреднамеренный пуск двигателя должен быть предотвращен следующим образом:
а) пуск станка возможен, только когда система торможения отключена;
б) отключение системы торможения не должно приводить к пуску станка.
Элементы системы управления, связанные с безопасностью (см. также
5.2.1), для функции блокировки должны соответствовать уровню PL = c по EN ISO 13849-1:2008.
Контроль. Проверка соответствующих чертежей, осмотр и соответствующее функциональное тестирование станка.
5.3.5 Устройства, снижающие вероятность или предотвращающие выбрасывание
Станок должен иметь устройство, предотвращающее обратный удар клинового типа, охватывающее всю рабочую ширину станка. Устройство, предотвращающее обратный удар, должно соответствовать требованиям
приложения A.
Устройства, предотвращающие обратный удар, клинового типа должны быть спроектированы, изготовлены и установлены таким образом, чтобы удовлетворять следующим требованиям:
a) должны быть расположены перед передним падающим вальцом и закреплены на столе, если смотреть сверху;
b) должны иметь ударную вязкость не менее 15 Дж/см2 и поверхность твердостью не менее 100 HB;
c) толщина должна быть от 8 до 15 мм для станков с рабочей шириной не менее 260 мм и от 3 до 8 мм - для станков с рабочей шириной менее 260 мм;
d) радиус закругления клина не должен превышать 0,3 мм;
e) угол

должен соответствовать значениям, приведенным на
рисунке 3; для любой глубины резания, для которой предназначен станок, угол

должен быть от 32° до 45°;
f) общее боковое смещение клиньев, которые могут свободно перемещаться, не должно превышать 1% от рабочей ширины станка;
g) клин должен возвращаться под собственным весом в исходное положение. Для предотвращения его вращения вокруг оси, за исключением углового сектора, соответствующего минимальной и максимальной толщине обрабатываемой заготовки, должны быть предусмотрены упоры;
h) в исходном положении концы клиньев должны быть не менее чем на 2 мм ниже горизонтальной касательной к наружному диаметру резания;
i) применение упоров, которые делают использование клиньев неэффективным, не допускается.
Рисунок 3 - Примеры устройств, предотвращающих обратный
удар, клинового типа (стрелка указывает направление подачи)
Контроль. Проверка соответствующих чертежей, осмотр, измерения и соответствующее функциональное тестирование станка в соответствии с
приложением A.
Примечание - Для подтверждения упругости и твердости элементов могут быть использованы документы изготовителя.
5.3.6 Упоры и направляющие
Поверхность стола должна быть плоской.
Механический концевой упор должен быть установлен таким образом, чтобы предотвратить контакт между столом и устройством, предотвращающим обратный удар, или ножевым валом в любом положении.
Устройство ограничения глубины резания должно быть расположено со стороны подачи заготовки для того, чтобы предотвратить подачу крупногабаритных (слишком толстых) заготовок.
Стол должен быть оснащен с двух сторон боковыми направляющими для ограничения заготовки по ширине и удержанию заготовки на столе.
Ширина стола между боковыми направляющими должна быть меньше или равна значению ширины обработки, а его длина должна быть как минимум от устройства для ограничения глубины резания до заднего падающего вальца.
Контроль. Проверка соответствующих чертежей и/или схем, осмотр, испытания G1 по ISO 7568:1986 и соответствующее функциональное тестирование станка.
5.3.7 Предотвращение доступа к подвижным частям станка
5.3.7.1 Ограждение рабочей зоны ножевого вала и механизма подачи
Доступ к подвижным частям станка (таким как ножевой вал и механизм подачи), за исключением проемов входа и выхода из станка, должен быть предотвращен с помощью неподвижных защитных ограждений, а при необходимости замены ножей - с помощью подвижного защитного ограждения.
Если необходимо демонтировать неподвижные защитные ограждения, например для технического обслуживания, то при снятии таких ограждений крепежные изделия должны оставаться на них или на станке, например применение невыпадающих винтов (см.
6.3, перечисление x)).
Подвижные защитные ограждения должны быть сблокированы с приводом ножевого вала и приводом механизма подачи. При этом подвижное защитное ограждение на верхней части станка должно быть устойчивым в открытом положении.
Защитные ограждения ножевого вала должны соответствовать требованиям
5.3.8.
Блокирующее устройство(а) должны соответствовать требованиям EN 1088:1995+A2:2008.
Элементы системы управления, связанные с безопасностью (см. также
5.2.1), для функции блокировки должны соответствовать не ниже уровня PL = c по EN ISO 13849-1:2008.
Контроль. Проверка соответствующих чертежей и/или схем, осмотр и соответствующее функциональное тестирование станка.
5.3.7.2 Ограждения приводов
Доступ ко всем приводам (например, привод ножевого вала, механизм подачи и вертикальной регулировки стола (при наличии) должен быть огражден путем:
a) неподвижных защитных ограждений, обеспечиваемых с помощью крепежных изделий, которые должны оставаться на защитных ограждениях или станках, когда защитные ограждения демонтируются, например, применение невыпадающих винтов (см.
6.3, перечисление x));
b) подвижных защитных ограждений, сблокированных с различными приводами в соответствии с EN 1088:1995+A2:2008, если необходим частый доступ к приводам для их обслуживания или регулирования, т.е. более чем один раз в смену.
Элементы системы управления, связанные с безопасностью, для блокировки должны быть не менее уровня PL = c в соответствии с требованиями EN ISO 13849-1:2008.
Контроль. Проверка соответствующих чертежей и/или схем, осмотр и соответствующее функциональное тестирование станка.
5.3.8 Требования к защитным ограждениям ножевого вала
Защитные ограждения ножевого вала должны быть изготовлены из одного из следующих материалов:
a) стали с пределом прочности при растяжении не менее 350 Н/мм2 и толщиной стенок не менее 1,5 мм;
b) сплавов легких металлов с характеристиками, указанными в
таблице 2;
c) поликарбоната с толщиной стенок не менее 3 мм или другого пластикового материала, прошедшего испытания в соответствии с
приложением C;
d) литейного чугуна с пределом прочности при растяжении не менее 200 Н/мм2 и толщиной стенок не менее 5 мм.
Таблица 2
Толщины стенок и их предел прочности при растяжении
для защитных ограждений ножевого вала, изготовленных
из сплавов легких металлов
Предел прочности при растяжении, Н/мм2 | Минимальная толщина стенок, мм |
180 | 5 |
240 | 4 |
300 | 3 |
Контроль. Проверка соответствующих чертежей, измерения и для пластмасс, кроме поликарбоната, испытания в соответствии с
приложением C.
Примечание - Для подтверждения материала относительно данных по пределу прочности при растяжении могут быть использованы документы изготовителя материала.
5.4 Меры защиты от воздействия опасностей другого характера
Предотвращение искр в результате контакта между ножами и столом в соответствии с
5.3.6.
Контроль. Проверка соответствующих чертежей, осмотр и соответствующее функциональное тестирование станка.
5.4.2.1 Снижение шума при конструировании станка
При проектировании станков должны быть выполнены требования EN ISO 11688-1:2009 и приняты соответствующие меры по снижению уровня шума, исходящего от источника. Кроме того, может быть принята во внимание информация, приведенная в EN ISO 11688-2:2000. Основным источником шума является вращающийся ножевой вал.
Производственные условия для измерения шума должны соответствовать требованиям ISO 7960:1995 (приложение C).
Условия монтажа и эксплуатации станков для определения уровней звукового давления и звуковой мощности на рабочем месте должны быть одинаковы.
Для станков, к которым неприменимы требования ISO 7960:1995 (приложение C), например для расположения ограждений, ширины резки или глубины резки, в протоколе испытаний должны быть подробно приведены условия установки и эксплуатации.
Уровни звуковой мощности должны определяться по методу измерительной поверхности в соответствии с требованиями EN ISO 3746:2010 со следующими дополнениями:
a) показатель акустических условий K2A должен быть менее или равен 4 дБ;
b) разность между уровнем звукового давления окружающей среды и уровнем звукового давления в любой точке замера должна быть равной или больше 6 дБ. Поправочная формула для этой разности приведена в EN ISO 3746:2010 (пункт 8.3.3, формула (12));
c) должна использоваться только поверхность огибающего параллелепипеда на расстоянии 1,0 м от поверхности корпуса станка;
d) если расстояние между станком и вспомогательными устройствами меньше, чем 2,0 м, то вспомогательное устройство должно включаться в поверхность корпуса станка;
e) точность измерения должна составлять не более 3 дБ;
f) количество точек измерения должно быть не менее 9 в соответствии с ISO 7960:1995 (приложение C).
Если в наличии имеется необходимое оборудование и тип станка соответствует используемому методу измерения, уровни звуковой мощности могут измеряться с использованием более точного метода, включая методы, приведенные в EN ISO 3743-1:2010, EN ISO 3743-2:2009, EN ISO 3744:2010 и EN ISO 3745:2009 без внесения изменений в методики, указанные выше.
Для измерения уровня звуковой мощности на основе интенсивности звука необходимо использовать методику, приведенную в EN ISO 9614-1:2009 (по согласованию между поставщиком и покупателем).
Измерения уровней звукового давления на рабочем месте необходимо проводить в соответствии с EN ISO 11202:2010 со следующими изменениями:
1) показатель акустических условий K2A и локальная коррекция на акустические условия K3A должны быть менее или равны 4 дБ;
2) разность между уровнем звукового давления окружающей среды и уровнем звукового давления на рабочем месте должна быть более или равна 6 дБ; в соответствии EN ISO 11201:2010 (пункт 6.4.1, класс точности 2 (технический));
3) локальная коррекция на акустические условия K3A должна рассчитываться в соответствии с требованиями EN ISO 11204:2010 (раздел A.2) со ссылкой, ограниченной EN ISO 3746:2010, вместо метода, приведенного в EN ISO 11202:2010, или в соответствии с требованиями EN ISO 3743-1:2010, EN ISO 3743-2:2009, EN ISO 33743-1:2010, EN ISO 3744-1:2010 или EN ISO 3745:2009, если один из данных стандартов использовался в качестве метода измерения.
5.4.3 Выброс опилок и пыли
Должны быть предусмотрены меры для удаления опилок и пыли из станка с помощью вытяжного колпака опилок и пыли (см.
рисунок 1, позиция 6) и с возможностью дальнейшего подключения станка к системе сбора опилок и пыли.
Уловитель не может противостоять проекции, поток стружки и пыли должен направляться к уловителю.
Уловители должны иметь достаточно большое отверстие для захвата опилок и пыли.
Примечание 1 - Размер отверстия уловителя зависит от интенсивности выбросов и расстояния между источником выбросов и уловителем.
Конструкция уловителя должна обеспечивать минимальный перепад давления и скопления материалов, например посредством исключения резких изменений направления транспортируемых опилок и пыли, острых углов и препятствий, ведущих к скоплению опилок и пыли.
Транспортирование опилок и пыли между уловителем и подсоединением станка к системе CADES (система вытяжки опилок и пыли) и гибкие соединения подвижных узлов должны быть направлены на минимизацию перепада давления и скопления материала.
Для удаления опилок и пыли от места их образования до системы сбора конструкция вытяжных колпаков, воздуховодов и заслонок должна проектироваться с учетом скорости движения удаляемого воздуха в вытяжной системе для сухих опилок - 20 м/с и 28 м/с - для влажных опилок (влажность 18% и более).
Перепад давления между входом всех улавливаемых устройств и подсоединением к системе CADES должен составлять не более 1500 Па (при номинальном расходе воздуха).
Требования по статическому электричеству см.
5.4.10.
Примечание 2 - Низкий уровень выбросов пыли можно достигнуть, если выполнять требования, приведенные в
таблице 3.
Таблица 3
Низкий уровень выброса пыли
Конструктивные характеристики | Минимальный диаметр патрубка, мм | Минимальная скорость движения воздуха, м/с | Минимальный расход воздуха, м3/h |
Ширина обработки, w | | | |
w <= 300 мм | 100 | 20 | 565 |
300 < w <= 520 мм | 120 | 20 | 815 |
w > 520 мм | 140 | 20 | 1110 |
Контроль. Проверка соответствующих чертежей и осмотр станка. Запуск станка (отключенного от вытяжной системы опилок и пыли) в условиях, предусмотренных ISO 7960:1995 (приложение C). Используя дым, проверить, что станок создает воздушный поток от входа(ов) в уловитель(и) соединительного(ых) патрубка(ов) вытяжной системы опилок и пыли. Определить перепад давления (станок подключен к вытяжной системе опилок и пыли) на выбранной скорости потока воздуха путем измерения в условиях, предусмотренных для измерения уровней шума в соответствии с ISO 7960:1995 (приложение C).
Примечание 3 - Для измерения характеристик вытяжной системы опилок и пыли применяют два стандартных метода: метод концентрации (EN 1093-9:1998+A1:2008) и индексный метод (EN 1093-11:2001+A1:2008).
5.4.4 Электрооборудование
Применяются требования EN 60204-1:2006, если не указано иное, за исключением
6.3.
Предотвращения поражения электрическим током за счет прямых контактов приведены в EN 60204-1:2006 (подраздел 6.2) и для защиты от короткого замыкания и перегрузки приведены в EN 60204-1:2006 (раздел 7).
Защита персонала от поражения электрическим током из-за непрямого контакта обеспечивается автоматическим отключением станка от источника энергопитания, применением защитного устройства, установленного пользователем в линии питания станка [см. информацию, указанную изготовителем в руководстве по эксплуатации
(6.3, перечисление w)].
- Раздел 8 для эквипотенциальных соединений.
- Раздел 12 для проводов и кабелей.
- Раздел 13 для монтажа электропроводки.
- Раздел 14 для электродвигателей и сопутствующего оборудования.
Степень защиты всех электрических компонентов должна соответствовать как минимум IP54 в соответствии с требованиями EN 60529:1991 и EN 60529:1991/A1:2000.
Силовой кабель (если имеется) передвижных станков должен соответствовать типу H07 по HD 22.4 S 4:2004.
Испытания для контроля целостности соединительной цепи проводят в соответствии с EN 60204-1:2006 (подраздел 18.2) (только метод 1) и для функциональных испытаний в соответствии с EN 60204-1:2006 (подраздел 18.6).
Контроль. Проверка соответствующих чертежей и/или схем, визуальный контроль станка. Испытания для контроля целостности соединительной цепи и функциональные испытания проводят в соответствии с EN 60204-1:2006 (подразделы 18.2 (только метод 1) и 18.6).
5.4.5 Эргономика и управление
Максимальное усилие или крутящий момент для управления регулировкой высоты стола должны быть соответственно 35 Н или 2,5 Нм.
Емкости для гидравлической жидкости, устройства выпуска сжатого воздуха и масленки должны размещаться в таких местах и таким образом, чтобы заливные горловины и сливные патрубки находились в легкодоступном месте.
Станок и его органы управления должны разрабатываться с учетом эргономических принципов, в соответствии с EN 1005-4:A+1:2008 для рабочего положения оператора, которое не вызывает усталость.
Станок должен быть оснащен шкалой, указывающей глубину резания заготовки. Эта шкала должна быть спроектирована и расположена так, чтобы заданная толщина заготовки указывалась сразу и четко, например, с помощью увеличительного стекла.
Детали станка с массой более 25 кг должны быть оснащены необходимыми приспособлениями для размещения установки подъемных устройств; приспособления должны быть расположены так, чтобы исключить возможность опрокидывания или падения данной детали или ее движения в неуправляемом направлении во время транспортировки, сборки, демонтажа и утилизации.
Контроль. Проверка соответствующих чертежей, измерения и осмотр станка.
5.4.6 Пневматическая система
Если станок оснащен пневматической системой, то необходимо выполнять требования EN ISO 4414:2010.
Контроль. Проверка соответствующих чертежей и/или схем, осмотр станка.
5.4.7 Гидравлическая система
Если станок оснащен гидравлической системой, то необходимо выполнять требования EN ISO 4413:2010.
Контроль. Проверка соответствующих чертежей и/или схем, осмотр станка.
5.4.8 Электромагнитная совместимость
Станок должен обладать устойчивостью к воздействию электромагнитных помех для обеспечения нормальной работы в соответствии с EN 60349-1:2009 и EN 60349-1-1999/A1:2004, EN 50370-1:2005, EN 50370-2:2003.
Примечание - Если электрические компоненты станка имеют маркировку CE и если такие детали и кабели станка смонтированы в соответствии с требованиями инструкций изготовителя, считается, что станок защищен от внешних электромагнитных помех.
Контроль. Проверка соответствующих чертежей и/или схем, осмотр станка.
5.4.9 Отключение энергоснабжения (выключатель)
Электроснабжение станка должно управляться устройством отключения энергоснабжения (выключателем), которое должно соответствовать требованиям EN 60204-1:2006 (подраздел 5.3).
Если станок оснащен электрической системой торможения, то электрический выключатель:
a) должен быть оснащен блокирующим устройством, отключение сетевого энергоснабжения должно быть возможно только после ручного включения разблокировочного устройства;
b) не должен размещаться на той стороне станка или той стороне пульта управления, на которой находятся устройства пуска/останова.
Гидравлическое и/или пневматическое энергоснабжение (если имеется) должно отключаться с помощью устройства отключения энергоснабжения.
Если используется пневматическая энергия, то достаточно применения быстроразъемной муфты без блокировочного устройства в соответствии с требованиями EN ISO 4414:2010; при этом отсоединенный станок (или часть станка), как и отсоединенная муфта, должны все время находиться под контролем оператора, выполняющего определенные работы на станке, в соответствии с требованиями EN 1037:1995+A1:2008 (подраздел 5.2).
Если станок имеет гидравлическую систему, то отключение гидравлической системы должно осуществляться:
1) с помощью отключения электроснабжения гидравлического привода в соответствии с EN 60204-1:2006 (подраздел 5.3);
2) с помощью использования отключающего устройства, например клапана с механической блокировкой в выключенном положении, в соответствии с EN ISO 4413:2010.
Если возникает накопление остаточной энергии, например в сосуде или трубопроводе, то в системе должны быть предусмотрены устройства для снижения остаточного давления. Такие устройства могут включать в себя клапаны, но не включают отсоединение трубопровода.
Контроль. Проверка соответствующих чертежей и/или схем электрических соединений, осмотр и проведение соответствующего функционального испытания станка.
5.4.10 Статическое электричество
Если станок оснащен встроенными гибкими рукавами для вытяжки стружки и пыли, то рукава должны быть пригодны для снятия статического заряда и отвода к земле.
Контроль. Проверка соответствующих чертежей и осмотр станка.
5.4.11 Техническое обслуживание
Конструкция станка должна быть спроектирована таким образом, чтобы техническое обслуживание и очистка могли производиться только после отсоединения всех источников энергоснабжения (см.
6.3, перечисления j),
o) и
s)).
Контроль. Проверка на соответствие требованиям руководства по эксплуатации.
6 Информация для потребителя
Должны соблюдаться основные принципы EN ISO 12100:2010 (подраздел 6.4), а также следующие требования в соответствии с EN 847-1:2005+A1:2007.
Контроль. Проверка соответствующих чертежей и осмотр станка.
Должны применяться основные принципы EN ISO 12100:2010 (пункт 6.4.4) со следующими дополнениями:
a) торговое наименование и адрес изготовителя, а также его уполномоченного представителя (при наличии);
b) год выпуска, т.е. тот год, в котором завершен процесс изготовления;
c) обозначение станка и обозначение серии или типа;
d) идентификационные данные или серийный номер станка (при наличии);
e) номинальные данные (обязательные для электротехнической продукции: напряжение, частота, мощность в соответствии с EN 60204-1:2006 (подраздел 16.4));
f) номинальное давление для пневматических/гидравлических контуров (если станок оснащен пневматической/гидравлической системой);
g) если станок оснащен пневматическими/гидравлическими выключателями, то их функции, местоположение и рабочее расположение необходимо указать, например, с применением указательной таблички или пиктограммы.
Если станок оснащен пневматической/гидравлической подачей энергии и отключение которой осуществляется неэлектрическим выключателем, то на или около электрического устройства отключения энергопитания должен устанавливаться постоянный знак, предупреждающий, что пневматическая/гидравлическая подача энергии не отключается путем выключения электропитания.
Указательные таблички или пиктограммы, используемые для маркировки номинального давления и выключателей (при наличии), должны размещаться рядом с выключателем электропитания станка.
Маркировка должна быть на языке страны, в которой используется станок, или по возможности она должна выражаться в виде пиктограмм.
Если используются графические символы, связанные с эксплуатацией приводов, то они должны быть выполнены в соответствии с EN 61310-1:2008 (таблица A.1).
Если станок оборудован шкалами, то они должны соответствовать требованиям EN 894-2:1997+A1:2008.
Маркировки ножевого вала в соответствии с EN 847-1:2005+A1:2007.
Контроль. Проверка соответствующих чертежей и осмотр станка.
6.3 Руководство по эксплуатации
Необходимо соблюдать требования EN ISO 12100:2010 (пункт 6.4.5). Руководство по эксплуатации должно содержать:
a) дублирование маркировки, пиктограмм и других инструкций для станка и при необходимости информацию об их значениях в соответствии
6.1 и
6.2;
b) предполагаемую область назначения станка с учетом возможных нарушений;
c) предположения относительно остаточных рисков, включая пыль, шум, контакт с ножевым валом при подаче заготовки или на выходе, обратные удары;
d) инструкции по безопасной работе станка в соответствии с EN ISO 12100:2010 (подпункт 6.4.5.1, перечисление d));
e) описание типа и размера ножей, которые предназначены для установки в станки, включая меры предосторожности во время механической обработки при работе с острыми лезвиями;
f) инструкцию по установке стационарных станков на пол;
g) информацию о перемещении станка, о переносе его за рукоятку и обеспечение стабильности станка во время обработки;
h) информацию о том, что операторы прошли соответствующую подготовку по использованию, настройке и эксплуатации станка, включая меры предосторожности при установке и эксплуатации станка, такие как:
1) отключать станок, когда он находится без надзора;
2) убедиться, что пол вокруг станка ровный, чистый и без наличия рассыпчатых материалов, например щепок;
3) после выявления неисправностей в станке, включая защитные ограждения или ножевой вал, сообщить соответствующим лицам;
4) необходимо принимать и соблюдать правила техники безопасности по проведению регулярной очистки, технического обслуживания и удаления опилок и пыли для предотвращения возникновения пожара;
5) соблюдать инструкции по настройке и эксплуатации станков и безопасному обращению с заготовкой;
6) правильное отключение станка от источника питания;
7) при установке и креплении ножей обращать особое внимание на максимальный выступ ножей и обеспечивать оптимальный крутящий момент для крепежных винтов ножей;
8) использование соответствующих приспособлений для специальных заготовок;
9) использование средств индивидуальной защиты, например для защиты слуха, в соответствии с требованиями техники безопасности на предприятии;
i) информацию о необходимости общего или локального освещения;
j) требования к установке и техническому обслуживанию, включая перечень устройств, которые должны быть проконтролированы, как часто должен проводиться контроль и какими методами. Эти требования должны содержать следующее:
1) аварийную остановку - проведение функциональных испытаний;
2) блокируемые защитные ограждения - открытие каждого защитного устройства для остановки станка и установления, что запуск станка не возможен при любом открытом устройстве;
3) тормоза - проведение функционального тестирования, что станок тормозит в течение 10 с;
4) грейфер защиты от обратного удара - осмотр не реже одного раза в рабочую смену, что он находится в хорошем рабочем состоянии, например проверка контактной поверхности грейфера на наличие повреждений от ударов и того, что он при толкании пальцев свободно возвращается под собственным весом;
5) указания того, что станок не должен использоваться, если все вышеперечисленные условия не будут выполнены;
k) рекомендации по использованию станка только при подключении его к системе удаления пыли и стружки.
Наружные установки для удаления стружки и пыли рассматриваются в EN 12779:2004+A1:2009;
l) информацию, касающуюся вытяжного оборудования для отсоса пыли, установленного на станке:
1) расход воздуха, м3/ч;
2) нижнее давление на каждом измерительном штуцере вытяжного устройства;
3) рекомендуемая скорость воздуха в вытяжном трубопроводе, м/с;
4) геометрические размеры каждого измерительного штуцера;
m) данные по уровням шума, выделяемого станком, с указанием фактических значений, полученных при измерениях, выполненных на соответствующем оборудовании в соответствии с методами, приведенными в
5.4.2.2.
Уровни звукового давления по шкале A на рабочем месте.
Уровни звуковой мощности по шкале A, исходящие от оборудования.
Заявление должно сопровождаться указанием использованных методов измерения и условий эксплуатации при испытании и значениями параметра неопределенности K, используя двухзначное значение в соответствии с EN ISO 4871:2009:
- 4 дБ при применении EN ISO 3746:2010 и EN ISO 11202:2010;
- 2 дБ при применении EN ISO 3743-1:2010 или EN ISO 3743-2:2009 или EN ISO 3744:2010;
- 1 дБ при применении EN ISO 3745:2009.
Пример для уровня звуковой мощности:
LWA = xx дБ (измеренное значение).
Параметр неопределенности K = 4 дБ.
Измерения выполнены в соответствии с EN ISO 3746:2010.
Проверку точности измерения заявленного уровня шума должны производить с применением того же метода и тех же условий эксплуатации, которые указаны в заявлении.
Заявление об уровне шума должно быть дополнено следующим указанием:
"Указанные значения уровня звука достоверно не оценивают шумовое воздействие на рабочем месте. Несмотря на то, что корреляция между уровнями звука и шумового воздействия и существует, выводов о необходимости дополнительных мер предосторожности из нее сделать невозможно.
Факторами, влияющими на уровень шумового воздействия на рабочем месте, могут быть: особенности рабочего помещения, наличие других источников шума (количество станков или создающие звук технологические процессы, происходящие по соседству). Допустимые значения на рабочем месте могут быть разными для разных стран. Однако данная информация позволяет пользователю лучше оценивать имеющиеся опасность и степени риска".
Информация об уровне шума должна быть приведена в рекламно-коммерческой литературе вместе с рабочими характеристиками;
n) информацию о запрещении технического обслуживания станка, если он не отключен от всех источников энергии;
o) инструкции по техническому обслуживанию, перечисленные в EN ISO 12100:2010 (подпункт 6.4.5.1, перечисление e)), в том числе график проведения;
p) информацию об отключении станка от источника питания перед заменой ножевого вала;
q) информацию по безопасной очистке станка;
r) информацию о способах обеспечения безопасного отвода остаточной энергии станка, если он оснащен пневматической/гидравлической системой (см.
5.4.9);
s) информацию о поддержании в хорошем состоянии звукоизолирующих материалов, установленных на станке, в соответствии с инструкциями изготовителя;
t) информацию об условиях, необходимых для того, чтобы на протяжении всего прогнозируемого срока службы станок и его узлы не могли опрокинуться и упасть или подвергнуться неуправляемому перемещению во время транспортирования, сборки, демонтажа, разборки и утилизации;
u) рабочий метод, который должен применяться в случае аварии или поломки, а в случае рабочей блокировки следует разработать рабочий метод, который должен применяться для безопасной блокировки;
v) идентификационные данные на запасные части, которые должны заменяться пользователем и которые оказывают воздействие на его здоровье и безопасность (исключаются те части, которые заменяются изготовителем или его официальным представителем);
w) информацию о том, как обеспечить защиту людей от удара электрическим током при непрямом контакте со станком, используя для этого устройства автоматического отключения энергоснабжения, которые должны устанавливаться пользователем в линии энергоснабжения станка;
x) описание стационарных защитных ограждений, которые должны сниматься пользователем для проведения технического обслуживания и ремонта (демонтаж защитных ограждений изготовителем или его представителем запрещен).
Контроль. Проверка руководства по эксплуатации и соответствующих чертежей.
(обязательное)
ИСПЫТАНИЯ НА ОБРАТНЫЙ УДАР
Эти испытания проверяют статическую прочность устройств, предотвращающих обратный удар. Испытания проводят при неподвижном ножевом вале. Усилие прикладывается в направлении, противоположном направлению подачи.
Испытательный образец должен быть изготовлен из бука шириной 60 мм и высотой
D и должен быть предварительно простроган с обеих сторон. Подающий стол станка должен быть установлен на высоту
D + 1,5 мм, а испытательный образец помещен под устройства, предотвращающие обратный удар, в центральном положении. Испытательное усилие
F, зависящее от ширины обработки (см.
таблицу A.1), прикладывают к испытательному образцу в течение 1 с.
Таблица A.1
Усилие
F в зависимости от ширины обработки
W
Ширина обработки W, мм | Усилие F, Н |
W < 260 | 300 |
W >= 260 | 500 |
Испытания повторяют с установкой стола на высоте D - максимальная глубина резания.
Устройства, предотвращающие обратный удар, считаются выдержавшими испытание, если они удерживают испытательный образец и отсутствуют деформации.
(обязательное)
ИСПЫТАНИЯ НА УСТОЙЧИВОСТЬ ПЕРЕДВИЖНЫХ СТАНКОВ
Станок должен быть установлен в рабочее положение на древесностружечной плите, закрепленной на полу, применены тормозные устройства к колесам (если имеются), или колеса могут быть подняты от пола (если имеется устройство для поднятия от пола). Горизонтальное усилие
F1 = 500 Н прикладывают к середине передней поверхности рейсмусового стола, установленного в его самом верхнем положении в направлении, как показано на
рисунке B.1.
1 - Древесностружечная плита
Рисунок B.1 - Испытание на устойчивость передвижных станков
Затем горизонтальное усилие
F2 = 500 Н прикладывают к середине боковой поверхности неподвижного ограждения, закрывающего ножевой вал, в направлении, как показано на
рисунке B.1.
В обоих случаях станок не должен передвигаться и опрокидываться.
(обязательное)
ИСПЫТАНИЯ ЗАЩИТНЫХ ОГРАЖДЕНИЙ НА УДАР
C.1 Общие требования
В данном приложении рассматриваются испытания защитных ограждений, которые применяются с целью минимизации риска выброса частей ножевого вала или заготовок из рабочей зоны.
Настоящее приложение распространяется на ограждения, а также образцы материалов ограждения.
C.2 Метод испытаний
C.2.1 Предварительные испытания
Данный метод испытаний воспроизводит опасность выброса режущих частей ножевого вала или заготовок. Испытание помогает определить сопротивление/прочность защитных ограждений и/или выбрать материалы для ограждений, защищающих от проникновения и смещения выбрасываемых частей из станка или заготовок.
C.2.2 Испытательное оборудование
Испытательное оборудование состоит из устройства толчка, выбрасываемого предмета, опоры для объекта испытания и системы, позволяющих измерить или зарегистрировать скорость удара с точностью +/- 5%.
C.2.3 Выброс частей на защитные ограждения
В качестве выбрасываемого предмета используется стальной шарик диаметром 8 мм, обладающий следующими характеристиками:
a) прочность при растяжении - Rm от 560 до 690 Н/мм2;
b) условный предел текучести - R0,2 >= 330 Н/мм2;
c) относительное удлинение при растяжении - A >= 20%;
d) закалка до

на глубину не менее 0,5 мм.
C.2.4 Выбор образцов
Для испытания используется защитное ограждение и/или образец материала, из которого изготовлено защитное ограждение. Опора для защитного ограждения должна быть эквивалентна ограждению, установленному на станке. Для испытания допускается использование образцов материалов, закрепленных на раме с внутренним отверстием 450 мм x 450 мм. Рама должна быть достаточно жесткой. Для крепления образцов должна быть использована надежная фиксация.
C.2.5 Процедура испытаний
Для ударных испытаний используют летящий предмет
(C.2.3) со скоростью соударения 70 м/с +/- 5%. Удар должен наноситься под максимально прямым углом к поверхности образца материала или поверхности защитного ограждения. В качестве мишеней должны выбираться самые слабые места, расположенные в наиболее неудобных местах на защитном ограждении или по центру образца материала.
C.3 Результаты
После удара проводится оценка повреждений, обнаруженных на защитном ограждении или на образце материала:
a) выгибание/выпучивание (остаточная деформация без трещин);
b) едва заметная трещина (видимая только на одной поверхности);
c) сквозная трещина (видимая с одной поверхности до другой);
d) проникновение ("прошивание" испытываемого объекта летящим предметом);
e) ослабление крепления окошка защитного ограждения;
f) ослабление защитного ограждения на опоре.
C.4 Оценка
Считается, что испытание прошло успешно, если в испытуемом объекте нет сквозных трещин и проникновения и если нет повреждений согласно требованиям
C.3, перечисления e) и
f).
C.5 Протокол испытаний
В протоколе испытаний должна содержаться следующая минимальная информация:
a) дата, место испытаний и наименование организации, проводившей испытания;
b) масса летящего предмета, размеры, скорость;
c) идентификационные данные заявителя;
d) конструкция, материал и размеры испытуемого объекта;
e) зажатие или крепление испытуемого объекта;
f) направление удара, точка удара летящего объекта;
g) результаты испытания.
C.6 Оборудование для проведения ударных испытаний
Двигательная установка состоит из сосуда сжатого воздуха с фланцевыми соединениями ствольного канала (см.
рисунок C.1). Сжатый воздух подается через клапан для ускорения летящего предмета в направлении испытуемого объекта.
1 - спидометр; 2 - ствольный канал; 3 - летящий предмет;
4 - пульт управления; 5 - сосуд со сжатым воздухом;
6 - испытуемый объект
Рисунок C.1 - Пример оборудования для проведения
испытаний на удар
Воздушная пушка приводится в действие воздушным компрессором. Скорость летящего предмета может регулироваться давлением воздуха.
Скорость летящего предмета измеряется возле сопла ствольного канала с помощью соответствующего спидометра с использованием, например, бесконтактного датчика или фотореле.
(обязательное)
D.1 Условия для всех испытаний
a) Шпиндель должен быть установлен в соответствии с предполагаемым использованием станка по инструкциям изготовителя (например, натяжение ремня) (см.
6.3, перечисление h)).
b) Перед началом испытаний прогреть шпиндель на протяжении 15 мин, включив станок без нагрузки.
c) Убедиться, что фактическая скорость шпинделя находится в пределах 10% от предполагаемой скорости.
D.2 Время выбега без торможения
Время выбега без торможения измеряется следующим образом:
a) включить двигатель привода шпинделя ножевого вала и дать ему возможность проработать с заданной частотой вращения в течение 1 мин (холостой ход);
b) отключить энергоснабжение двигателя привода ножевого вала и измерить время выбега без торможения;
Время выбега без торможения определяется как среднее арифметическое трех результатов измерений.
D.3 Время выбега с торможением
Время выбега с торможением измеряется следующим образом:
a) включить двигатель привода ножевого вала и дать ему проработать с заданной частотой вращения в течение 1 мин (холостой ход);
b) отключить энергоснабжение двигателя привода ножевого вала и измерить время выбега с торможением;
c) оставить шпиндель пилы в неподвижном состоянии на 1 мин;
d) повторно включить привод шпинделя ножевого вала и оставить вращаться на холостом ходу в течение 1 мин;
Время выбега с торможением определяется как среднее арифметическое 10 результатов измерений.
(справочное)
ВЗАИМОСВЯЗЬ МЕЖДУ ЕВРОПЕЙСКИМ СТАНДАРТОМ
И СУЩЕСТВЕННЫМИ ТРЕБОВАНИЯМИ ДИРЕКТИВЫ 2006/42/ЕС
Европейский стандарт, на основе которого подготовлен настоящий межгосударственный стандарт, разработан Европейским комитетом по стандартизации (CEN) по поручению Комиссии Европейского сообщества и Европейской ассоциации свободной торговли (EFTA) и реализует существенные требования Директивы
2006/42/ЕС.
Европейский стандарт размещен в официальном журнале Европейского сообщества как взаимосвязанный с этой директивой и применен как национальный стандарт не менее чем в одной стране - члене сообщества. Соответствие обязательным требованиям европейского стандарта обеспечивает в пределах области применения настоящего стандарта презумпцию соответствия существенным требованиям этой директивы и регламентирующим документам EFTA.
Таблица ZA.1
Соответствие разделов настоящего стандарта
Раздел/пункт настоящего стандарта | |
| 1.1.2 Принципы полноты обеспечения безопасности |
| |
| b) устранение или снижение рисков, принятие мер, уведомление пользователей |
| c) использование по назначению и довольно предсказуемое неправильное использование |
| d) ограничение использования |
| |
| 1.1.3 Материалы и изделия |
| |
| 1.1.5 Конструирование машины с учетом упрощенного обращения с нею |
| |
| |
| 1.2.1 Безопасность и надежность управления |
| |
| |
| |
| |
| |
| 1.2.6 Неполадки в энергообеспечении |
| 1.3.1 Риск потери устойчивости |
| 1.3.2 Риск поломки при эксплуатации |
| 1.3.3 Риски, вызванные падающими или выбрасываемыми предметами |
| 1.3.4 Риски, вызванные поверхностями, кромками и углами |
| 1.3.7 Риски, вызванные подвижными деталями |
| 1.3.8 Выбор защитных устройств от рисков, вызванных подвижными деталями |
| 1.3.8.1 Подвижные детали трансмиссии |
| 1.3.8.2 Подвижные детали, задействованные в рабочем процессе |
| 1.3.9 Риск, вызванный неконтролируемыми движениями |
| 1.4.1 Требования к характеристикам защитных устройств. Общие требования |
| 1.4.2.1 Неподвижные ограждающие защитные устройства |
Таблица ZA.2
Соответствие разделов настоящего стандарта
Раздел/пункт настоящего стандарта | |
| 1.4.2.2 Подвижные ограждающие защитные устройства с блокировкой |
| 1.4.2.3 Регулируемые защитные устройства, ограничивающие доступ |
| 1.5.1 Снабжение электроэнергией |
| 1.5.2 Статическое электричество |
| 1.5.3 Неэлектрическое снабжение энергией |
| 1.5.4 Неправильный монтаж |
| |
| |
| |
| 1.5.13 Выброс опасных веществ и частиц |
| 1.6.1 Техническое обслуживание машин |
| 1.6.2 Доступ к постам управления и местам для технического обслуживания |
| 1.6.3 Отсоединение от источников энергии |
| 1.6.4 Вмешательства обслуживающего персонала |
| 1.6.5 Чистка деталей, расположенных внутри машины |
| 1.7.1 Информация и предупредительные указания на машине |
| 1.7.1.1 Информация и информационные устройства |
| 1.7.2 Предупреждение остаточных рисков |
| |
| 1.7.4 Руководство по эксплуатации |
| 2.3 Машины для обработки древесины и материалов с аналогичными физическими свойствами |
| |
| |
| |
| d) случайный контакт с инструментом |
Внимание - Другие требования и другие директивы ЕС могут распространяться на станки в пределах, указанных в области применения настоящего стандарта.
(справочное)
СВЕДЕНИЯ О СООТВЕТСТВИИ ССЫЛОЧНЫХ МЕЖДУНАРОДНЫХ
И ЕВРОПЕЙСКИХ СТАНДАРТОВ МЕЖГОСУДАРСТВЕННЫМ СТАНДАРТАМ
Таблица ДА.1
Обозначение ссылочного международного и европейского стандарта | Степень соответствия | Обозначение и наименование соответствующего межгосударственного стандарта |
EN 847-1:2005+A1:2007 | - | |
EN 1005-4:2005+A1:2008 | IDT | ГОСТ EN 1005-4-2013 "Безопасность машин. Физические возможности человека. Часть 4. Положение тела при работе с машинами и механизмами" |
EN 1037:1995+A1:2008 | - | |
EN 1088:1995+A2:2008 | - | |
EN 50178:1997 | - | |
EN 50370-1:2005 | IDT | ГОСТ EN 50370-1-2012 "Электромагнитная совместимость технических средств. Станки металлообрабатывающие. Часть 1. Помехоэмиссия" |
EN 50370-2:2003 | IDT | ГОСТ EN 50370-2-2012 "Электромагнитная совместимость технических средств. Станки металлообрабатывающие. Часть 2. Помехоустойчивость" |
EN 60204-1:2006 | - | |
EN 60439-1:1999 | - | |
EN 60529:1991 | - | |
EN 61496-1:2004 | - | |
EN 61800-5-2:2007 | - | |
EN ISO 3743-1:2010 | - | |
EN ISO 3743-2:2009 | - | |
EN ISO 3744:2010 | - | |
EN ISO 3745:2009 | - | |
EN ISO 3746:2010 | - | |
EN ISO 4413:2010 | - | |
EN ISO 4414:2010 | - | |
EN ISO 4871:2009 | - | |
EN ISO 9614-1:2009 | - | |
EN ISO 11202:2010 | - | |
EN ISO 11204:2010 | - | |
EN ISO 11688-1:2009 | - | |
EN ISO 13849-1:2008 | - | |
EN ISO 13849-2:2008 | - | |
HD 22.4 S4:2004 | - | |
ISO 7568:1986 | MOD | ГОСТ 7228-93 "Деревообрабатывающее оборудование. Станки рейсмусовые. Основные параметры. Нормы точности и жесткости" |
ISO 7960:1995 | - | |
<*> Соответствующий межгосударственный стандарт отсутствует. До его принятия рекомендуется использовать перевод на русский язык данного международного стандарта. Примечание - В настоящей таблице использованы следующие условные обозначения степени соответствия стандартов: - IDT - идентичные стандарты; - MOD - модифицированный стандарт. |
[1] | EN 1093-9:1998+A1:2008 | Safety of machinery - Evaluation of the emission of airborne hazardous substances - Part 9: Pollutant concentration parameter, room method (Безопасность машин. Оценка выброса в атмосферу вредных веществ. Часть 9. Параметры концентрации вредных веществ. Метод испытания в испытательном помещении) |
[2] | EN 1093-11:2001+A1:2008 | Safety of machinery - Evaluation of the emission of airborne hazardous substances - Part 11: Decontamination index (Безопасность машин. Оценка выброса в атмосферу вредных веществ. Часть 11. Индекс очистки) |
[3] | EN 12779:2004+A1:2009 | Safety of woodworking machines - Chip and dust extraction systems with fixed installation - Safety related performance and safety requirements (Безопасность деревообрабатывающих станков. Стационарные установки для удаления стружки и пыли. Рабочие характеристики, связанные с безопасностью) |
[4] | EN 60745-1:2009 | Hand-held motor-operated electric tools - Safety - Part 1: General requirements (IEC 60745-1:2006, modified) (Инструменты ручные электромеханические. Безопасность. Часть 1. Общие требования) |
[5] | EN 60745-2-14:2009 | Hand-held motor-operated electric tools - Safety - Part 2-14: Particular requirements for planers (IEC 60745-2-14:2003, modified+A1:2006, modified) (Инструменты ручные электромеханические. Безопасность. Часть 2-14. Дополнительные требования к строгальным инструментам) |
[6] | EN 60947-4-1:2001 | Low-voltage switchgear and controlgear - Part 4-1: Contractors and motor-starters - Electromechanical contractors and motor-starters (IEC 60947-4-1:2000) (Аппаратура распределения и управления низковольтная. Часть 4-1. Контакторы и пускатели. Электромеханические контакторы и пускатели) |
[7] | EN 60947-5-1:2004 | Low-voltage switchgear and controlgear - Part 5-1: Control circuits devices and switching elements - Electromechanical control circuit devices (IEC 60947-5-1:2003) (Аппаратура распределения и управления низковольтная. Часть 5-1. Аппараты и коммутационные элементы цепей управления. Электромеханические аппараты для цепей управления) |
[8] | EN 61029-1:2009 | Safety of transportable motor-operated electric tools - Part 1: General requirements (IEC 61029-1:1990, modified) (Безопасность переносных электрических инструментов с приводом от электродвигателя. Часть 1. Общие положения) |
[9] | EN 61029-2-3:2011 | Safety of transportable motor-operated electric tools - Part 2-3: Particular requirements for planers and thicknessers (IEC 61029-2-3:1993, modified + A1:2001) (Безопасность переносных электрических инструментов с приводом от электродвигателя. Часть 2-3. Дополнительные требования к рубанкам и строгальным станкам с устанавливаемой толщиной для обработанной детали) |
[10] | EN ISO 11688-2:2000 | Acoustics - Recommended practice for the design of low-noise machinery and equipment - Part 2: Introduction to the physics of low-noise design (ISO/TR 11688-2:1998) (Акустика. Практические рекомендации для проектирования машин и оборудования с низким уровнем шума. Часть 2. Введение в физику проектирования оборудования с низким уровнем шума) |
[11] | HD 21.1 S4:2002 | Cables of rated voltages up to and including 450/750 V and having thermoplastic insulation - Part 1: General requirements (Кабели на номинальное напряжение до 450/750 В, включительно, с изоляцией из термопластика. Часть 1. Общие требования) |
[12] | EN 894-2:1997+A1:2008 | Safety of machinery - Ergonomics requirements for the design of displays and control actuators - Part 2: Displays (Безопасность машин. Эргономические требования к оформлению индикаторов и органов управления. Часть 2. Индикаторы) |
[13] | EN 61310-1:2008 | Safety of machinery - Indication, marking and actuation - Part 1: Requirements for visual, auditory and tactile signals (IEC 61310-1:2007) (Безопасность машин. Индикация, маркировка и включение. Часть 1. Требования к визуальным, звуковым и тактильным сигналам) |
[14] | EN ISO 13850:2008 | Safety of machinery - Emergency stop - Principles for design (ISO 13850:2006) (Безопасность машин. Аварийный останов. Принципы конструирования) |
УДК 621.912.252-783(083.74)(476):006.354 | | IDT |
Ключевые слова: безопасность станков, деревообрабатывающие станки, рейсмусовые станки, требования безопасности, станки для односторонней обработки |