Главная // Актуальные документы // ГОСТ (Государственный стандарт)СПРАВКА
Источник публикации
М.: Издательство стандартов, 1987
Примечание к документу
Документ утратил силу на территории Российской Федерации с 1 июля 2012 года в связи с изданием
Приказа Росстандарта от 28.09.2011 N 375-ст. Взамен введен в действие
ГОСТ Р ИСО 7132-2011.
Документ включен в
Перечень международных и региональных (межгосударственных) стандартов, а в случае их отсутствия - национальных (государственных) стандартов, в результате применения которых на добровольной основе обеспечивается соблюдение требований технического
регламента Таможенного союза "О безопасности машин и оборудования" (ТР ТС 010/2011) (
Решение Коллегии Евразийской экономической комиссии от 09.03.2021 N 28).
С 1 июля 2003 года до вступления в силу технических регламентов акты федеральных органов исполнительной власти в сфере технического регулирования носят рекомендательный характер и подлежат обязательному исполнению только в части, соответствующей целям, указанным в
пункте 1 статьи 46 Федерального закона от 27.12.2002 г. N 184-ФЗ.
Ограничение срока действия снято Постановлением Госстандарта РФ от 17.07.1992 N 722 ("ИУС", N 10, 1992).
Введен в действие с 1 января 1988 года.
Название документа
"ГОСТ 27249-87 (ИСО 7132-84). Машины землеройные. Землевозы. Термины, определения и техническая характеристика для коммерческой документации"
(введен в действие Постановлением Госстандарта СССР от 30.03.1987 N 1027)
"ГОСТ 27249-87 (ИСО 7132-84). Машины землеройные. Землевозы. Термины, определения и техническая характеристика для коммерческой документации"
(введен в действие Постановлением Госстандарта СССР от 30.03.1987 N 1027)
Постановлением Госстандарта СССР
от 30 марта 1987 г. N 1027
ГОСУДАРСТВЕННЫЙ СТАНДАРТ СОЮЗА ССР
МАШИНЫ ЗЕМЛЕРОЙНЫЕ. ЗЕМЛЕВОЗЫ
ТЕРМИНЫ, ОПРЕДЕЛЕНИЯ И ТЕХНИЧЕСКАЯ ХАРАКТЕРИСТИКА
ДЛЯ КОММЕРЧЕСКОЙ ДОКУМЕНТАЦИИ
Earth-moving machinery. Dumpers.
Terminology and commercial specifications
ГОСТ 27249-87
(ИСО 7132-84)
Срок действия
с 1 января 1988 года
до 1 января 1993 года
1. Внесен Министерством строительного, дорожного и коммунального машиностроения СССР.
2. Постановлением Государственного комитета СССР по стандартам от 30.03.1987 N 1027 введен в действие государственный стандарт СССР ГОСТ 27249-87, в качестве которого непосредственно применен международный стандарт ИСО 7132-84, с 01.01.1988.
Настоящий стандарт устанавливает термины, определения и содержание технической характеристики для коммерческой документации по самоходным землевозам.
Настоящий стандарт распространяется на землевозы по ИСО 6165.
3.1. Ссылочные нормативно-технические документы приведены в обязательном
Приложении 2.
4.1. Землевоз - самоходная колесная машина с открытым кузовом, которая транспортирует, разгружает или распределяет материал. Загрузка землевоза осуществляется внешними средствами (см. ИСО 6165).
4.2. Базовая машина - землевоз по технической документации изготовителя.
4.3. Рабочее оборудование - комплект составных частей, монтируемых на базовой машине для обеспечения выполнения ее основной функции в соответствии с назначением.
4.4. Дополнительное оборудование - поставляемая по выбору заказчика сборочная единица из составных частей, которая может быть смонтирована на базовой машине для специального использования.
4.5. Составная часть - деталь или сборочная единица из деталей базовой машины, рабочего оборудования или дополнительного оборудования.
| | Применение на добровольной основе раздела 5 обеспечивает соблюдение требований технического регламента "О безопасности машин и оборудования", утв. Постановлением Правительства Российской Федерации от 15.09.2009 N 753 (Приказ Росстандарта от 20.08.2010 N 3108). | |
5.1. Типы землевозов
5.1.1. По способу разгрузки
5.1.1.1. С задней разгрузкой (черт. 1).
Землевоз с задней разгрузкой
Черт. 1
5.1.1.2. С донной разгрузкой (черт. 2).
Землевоз с донной разгрузкой
Черт. 2
5.1.1.3. С боковой разгрузкой (черт. 3).
Землевоз с боковой разгрузкой
Черт. 3
5.1.2. По системе управления поворотом
5.1.2.1. С передними управляемыми колесами (черт. 4).
Землевоз с передними управляемыми колесами
1 - управляемые колеса
Черт. 4
5.1.2.2. С шарнирно-сочлененной рамой (черт. 5).
Землевоз с шарнирно-сочлененной рамой
1 - центр поворота
Черт. 5
5.1.3. По системе привода хода
5.1.3.1. С задними ведущими колесами (черт. 6).
Землевоз с задними ведущими колесами
1 - ведущие колеса
Черт. 6
5.1.3.2. Со всеми ведущими колесами (черт. 7).
Землевоз со всеми ведущими колесами
1 - ведущие колеса
Черт. 7
5.1.3.3. Со средними ведущими колесами (черт. 8).
Землевоз со средними ведущими колесами
1 - ведущие колеса
Черт. 8
5.1.4. По числу осей
5.1.4.1. Двухосные (черт. 9).
Двухосный землевоз
Черт. 9
5.1.4.2. Трехосные (черт. 10).
Трехосный землевоз
Черт. 10
5.1.4.3. С числом осей более трех (черт. 11).
Землевоз с числом осей более трех
Черт. 11
5.2. Размерные характеристики (черт. 12).
Размерные характеристики базовой машины (землевоза)

- радиус поворота;

- габаритный радиус поворота;
a - землевоз с жесткой рамой; b - землевоз
со сдвоенным задним мостом; c - полуприцепной землевоз
Черт. 12
Определения размерных характеристик - по ИСО 6746/1.
Определения размерных характеристик приведены в
Приложении 1.
5.3. Масса
5.3.1. Эксплуатационная масса - масса базовой машины с порожним кузовом, с полностью заправленными топливным баком, гидросистемой, системами смазывания и охлаждения и с учетом массы оператора (75 кг).
5.3.2. Масса груженой машины - сумма эксплуатационной массы и массы номинального груза, указанной изготовителем.
5.3.3. Распределение массы по осям - масса, приходящаяся на каждую ось машины в порожнем и груженом состояниях.
5.3.4. Отгрузочная масса - масса базовой машины без оператора, с порожним кузовом, с полностью заправленными гидросистемой, системами смазывания и охлаждения, с 10%-ной заправкой топливного бака, а также с кабиной, тентом и устройством ROPS <*> или без них по указанию изготовителя.
--------------------------------
<*> ROPS - устройства защиты при опрокидывании.
5.3.5. Масса кабины, тента, устройства ROPS - масса кабины, тента и устройства ROPS со всеми их составными частями и элементами крепления к базовой машине.
5.4. Наименования составных частей
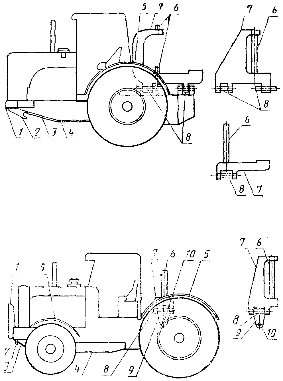
5.4.1. Наименования составных частей двухосного землевоза: 1 - бампер; 2 - шкворень буксирного приспособления; 3 - кабина; 4 - крыло; 5 - колесо; 6 - шина; 7 - тормоз; 8 - брус выталкивателя кусков породы; 9 - подвеска (дополнительная); 10 - ось шарнира крепления кузова; 11 - мост (мосты); 12 - стойка, удерживающая поднятый кузов; 13 - кузов; 14 - гидроцилиндр подъема кузова; 15 - система привода; 16 - трубопровод отвода выхлопных газов в атмосферу или на обогрев кузова; 17 - козырек; 18 - основная рама; 19 - капот; 20 - лестница; 21 - силовая установка; 22 - решетка радиатора.
5.4.2. Наименования составных частей двух- и четырехколесного трактора (тягача): 1 - бампер; 2 - буксирный крюк; 3 - нижний защитный лист картера; 4 - основная рама; 5 - крыло; 6 - шкворень сцепного устройства; 7 - сцепное устройство; 8 - ось шарнира поперечного качания; 9 - серьга сцепного устройства; 10 - ось шарнира продольного качания.
5.4.3. Наименования составных частей полуприцепа: 1 - гнездо шкворня сцепного устройства; 2 - хобот; 3 - кузов; 4 - донные заслонки; 5 - основная рама; 6 - толкающая рама; 7 - тяговая рама; 8 - выталкиватель; 9 - задняя заслонка; 10 - гидроцилиндр подъема кузова.
a - донная разгрузка; b - боковая разгрузка;
c - задняя разгрузка; d - задняя разгрузка;
e - задняя разгрузка
| | Применение на добровольной основе раздела 6 обеспечивает соблюдение требований технического регламента "О безопасности машин и оборудования", утв. Постановлением Правительства Российской Федерации от 15.09.2009 N 753 (Приказ Росстандарта от 20.08.2010 N 3108). | |
6. ЭКСПЛУАТАЦИОННАЯ ТЕРМИНОЛОГИЯ
6.1. Мощность нетто двигателя - по ИСО 1585.
6.2. Максимальная скорость движения - по ИСО 6014.
6.3. Тяговое усилие на ведущих колесах - усилие в точке контакта шины с опорной поверхностью, приводящее землевоз в движение.
6.3.1. Тяговое усилие на ведущих колесах машины с механической трансмиссией - усилие, определяемое расчетом или измерениями при номинальной частоте вращения коленчатого вала и максимальном крутящем моменте двигателя на каждой передаче переднего хода. Максимальное тяговое усилие может быть ограничено массой машины и условиями сцепления шин с грунтом.
6.3.2. Тяговое усилие на ведущих колесах машины с гидромеханической, электрической или гидрообъемной трансмиссией - усилие, характеризуемое кривыми зависимости тягового усилия от скорости движения машины на каждой передаче переднего хода, полученными расчетом или измерением. Максимальное тяговое усилие может быть ограничено массой машины и условиями сцепления шин с грунтом.
6.4. Время разгрузки порожнего кузова с возвратом - время, необходимое для имитации разгрузки и возврата кузова, заслонок или выталкивателя в исходное положение при номинальной частоте вращения коленчатого вала двигателя.
6.5. Управляемость
6.5.2. Габаритный диаметр поворота - по
ГОСТ 27257-87 (ИСО 7457).
6.6. Эффективность торможения - по ИСО 3450.
6.7. Масса номинального груза - указанная изготовителем масса груза для перевозки в кузове.
| | Применение на добровольной основе раздела 7 обеспечивает соблюдение требований технического регламента "О безопасности машин и оборудования", утв. Постановлением Правительства Российской Федерации от 15.09.2009 N 753 (Приказ Росстандарта от 20.08.2010 N 3108). | |
7. ТЕХНИЧЕСКАЯ ХАРАКТЕРИСТИКА ДЛЯ КОММЕРЧЕСКОЙ
ДОКУМЕНТАЦИИ, ВЫРАЖЕННАЯ В ЕДИНИЦАХ СИ (ПРИМЕРЫ)
7.1. Двигатель (привести характеристики):
изготовитель и модель;
с воспламенением от сжатия или с искровым зажиганием;
тактность (двух- или четырехтактный);
с естественным всасыванием, механическим наддувом или газотурбонаддувом;
число цилиндров;
диаметр цилиндра;
ход поршня;
рабочий объем цилиндров;
система охлаждения (воздушное или водяное);
вид топлива;
мощность-нетто на маховике ... при ... об/мин;
максимальный крутящий момент ... при ... об/мин;
тип стартера;
напряжение в системе электрооборудования ... В.
7.2. Трансмиссия (указать тип)
Примеры:
с ручным переключением, со сцеплением на маховике;
с сервопереключением передач, с гидротрансформатором;
объемная гидропередача;
электрическая трансмиссия;
число скоростей переднего и заднего хода.
Скорости движения вперед и назад (следует привести график зависимости тягового усилия на ведущих колесах от скорости движения).
7.3. Ведущий мост (мосты) (указать тип)
Примеры:
управляемый;
жестко закрепленный, балансирный и (или) с подвеской;
гидрообъемный;
электрический;
коническая передача;
дифференциал: стандартный, самоблокирующийся с муфтой свободного хода, с механизмом блокировки;
планетарная конечная передача.
| | ИС МЕГАНОРМ: примечание. ГОСТ 27254-87 утратил силу на территории Российской Федерации с 1 января 2008 года в связи с введением в действие ГОСТ Р ИСО 5010-2006 (Приказ Ростехрегулирования от 27.12.2006 N 371-ст). | |
7.4. Рулевое управление (указать тип) (ГОСТ 27254-87 (ИСО 5010))
Примеры:
шарнирно-сочлененная рама;
передние управляемые колеса;
с усилителем, ручное, гидрообъемное;
аварийное.
7.4.1. Эффективность:
радиус поворота ..... , влево и вправо;
габаритный диаметр поворота машины.
7.5. Тормоза
7.5.1. Рабочие тормоза
Примеры:
тип (колодочные, дисковые, мокрые или сухие);
система привода (механическая, пневматическая, гидравлическая, электрическая, комбинированная и т.д.).
7.5.2. Стояночный тормоз (указать тип)
7.5.3. Резервный тормоз (указать тип)
7.5.4. Тормоз-замедлитель:
тип;
система привода.
7.5.5. Эффективность торможения (указать) (см. ИСО 3450)
7.6. Шины:
тип и размер;
норма слойности;
размер обода.
7.7. Гидросистема
7.7.1. Подъем кузова:
подача насоса ... при давлении ... и номинальной частоте вращения коленчатого вала двигателя;
давление открывания предохранительного клапана ... ;
тип насоса;
гидроцилиндры подъема кузова: число, тип;
время подъема кузова ... .
7.7.2. Рулевое управление:
подача насоса ... при давлении ... ;
тип насоса;
давление открывания предохранительного клапана ... .
7.8. Подвеска - отдельного колеса или всего моста
7.8.1. Тип (указать)
Примеры:
механическая подвеска: спиральная пружина, листовая рессора;
цилиндр амортизатора: пневматический, гидравлический, пневмогидравлический;
с применением эластомера;
пневматическая.
7.8.2. Предельные возможности:
ход поршня.
7.8.3. Зависимость прогиба от нагрузки (жесткость):
порожний землевоз;
груженый землевоз.
7.9. Вместимость кузова, м3 (см. ИСО 6483)
7.10. Масса:
распределение эксплуатационной массы порожнего землевоза: передний мост; ведущий мост; поддерживающий мост;
общая эксплуатационная масса порожнего землевоза;
масса полезного груза;
распределение массы груженого землевоза: передний мост; ведущий мост; поддерживающий мост;
общая масса груженого землевоза.
7.11. Заправочные емкости:
топливный бак;
картер двигателя;
система охлаждения;
гидросистема;
трансмиссия;
дифференциал;
конечная передача.
7.12. Габаритные размеры землевоза (представить контурный чертеж)
Примеры основных размеров:
максимальная общая высота без кузова;
дорожный просвет под мостами;
дорожный просвет под днищем кузова с донной разгрузкой при закрытых заслонках;
дорожный просвет под открытыми заслонками;
высота загрузки;
высота в положении разгрузки;
высота разгрузки;
максимальная высота с кузовом;
максимальная ширина;
колея;
максимальная длина;
колесная база;
расстояние между осями сдвоенного моста;
радиус поворота;
габаритный диаметр поворота.
Обязательное
РАЗМЕРНЫЕ ХАРАКТЕРИСТИКИ.
УСЛОВНЫЕ ОБОЗНАЧЕНИЯ, ТЕРМИНЫ И ОПРЕДЕЛЕНИЯ
──────┬──────────┬───────────────────────────────┬─────────────────────────
Услов-│ Термин │ Определение │ Схема
ное │ │ │
обоз- │ │ │
наче- │ │ │
ние │ │ │
──────┴──────────┴───────────────────────────────┴─────────────────────────
H11 Высота Расстояние по координате Z от
загрузки опорной плоскости отсчета (GRP)
до верхней точки бортов порож-
него кузова
───────────────────────────────────────────────────────────────────────────
H12 Высота в Расстояние по координате Z от
положении GRP до верхней точки землевоза
разгрузки с максимально поднятым кузовом
───────────────────────────────────────────────────────────────────────────
H13 Высота Расстояние по координате Z
разгрузки от GRP до нижней точки
(задней максимально поднятого кузова
или
боковой)
───────────────────────────────────────────────────────────────────────────
H14 Макси- Расстояние по координате Z
мальная от GRP до верхней точки кузова
высота или сцепного устройства при
кузова установке порожнего кузова в
землевоза положение загрузки с устройст-
или вом защиты от просыпающегося
сцепного материала, если землевоз
устройства оборудован этим устройством
───────────────────────────────────────────────────────────────────────────
L8 Колесная Расстояние по координате X
база между двумя плоскостями X,
полу- проходящими через центры задних
прицепа колес тягача и задних колес
полуприцепа. Для машин со
сдвоенным мостом за центр колес
принимают линию, проходящую
посредине расстояния между
двумя осями колес сдвоенного
моста
───────────────────────────────────────────────────────────────────────────
L9 Расстоя- Расстояние по координате X
ние между между двумя плоскостями X,
осями проходящими через центры
колес передних и задних колес
сдвоен- сдвоенного моста
ного
моста
───────────────────────────────────────────────────────────────────────────
L10 Длина Расстояние по координате X
грузовой между двумя плоскостями X,
части проходящими через крайнюю
кузова заднюю внутреннюю точку кузова
и крайнюю переднюю внутреннюю
точку грузовой части кузова
───────────────────────────────────────────────────────────────────────────
A7 Угол Угол в плоскости Y между
разгрузки днищем максимально поднятого
кузова кузова и GRP
с задней
разгрузкой
───────────────────────────────────────────────────────────────────────────
Обязательное
ССЫЛОЧНЫЕ НОРМАТИВНО-ТЕХНИЧЕСКИЕ ДОКУМЕНТЫ
────────────────────┬──────────────────┬───────────────────────────────────
Раздел, пункт, │ Обозначение │ Обозначение отечественного
в котором │ соответствующего │ нормативно-технического
приведена ссылка │ стандарта ИСО │ документа, на который дана ссылка
────────────────────┼──────────────────┼───────────────────────────────────
2.4.1 │ИСО 6746/1 │ -
ИС МЕГАНОРМ: примечание.
ГОСТ 27254-87 утратил силу на территории Российской Федерации
с 1 января 2008 года в связи с введением в действие
N 371-ст).
7.1 │ИСО 5010 │ ГОСТ 27254-87 (ИСО 5010)