Главная // Актуальные документы // ГОСТ (Государственный стандарт)СПРАВКА
Источник публикации
М.: ИПК Издательство стандартов, 2002
Примечание к документу
Документ утратил силу с 01.08.2024 в связи с изданием
Приказа Росстандарта от 04.07.2024 N 899-ст. Взамен введен в действие
ГОСТ 21924-2024.
С 01.07.2003 до вступления в силу технических регламентов акты федеральных органов исполнительной власти в сфере технического регулирования носят рекомендательный характер и подлежат обязательному исполнению только в части, соответствующей целям, указанным в
пункте 1 статьи 46 Федерального закона от 27.12.2002 N 184-ФЗ.
Документ
введен в действие с 01.01.1985.
Название документа
"ГОСТ 21924.1-84. Межгосударственный стандарт. Плиты железобетонные предварительно-напряженные для покрытий городских дорог. Конструкция и размеры"
(утв. и введен в действие Постановлением Госстроя СССР от 30.09.1983 N 210)
(ред. от 01.12.1987)
"ГОСТ 21924.1-84. Межгосударственный стандарт. Плиты железобетонные предварительно-напряженные для покрытий городских дорог. Конструкция и размеры"
(утв. и введен в действие Постановлением Госстроя СССР от 30.09.1983 N 210)
(ред. от 01.12.1987)
Утвержден и введен в действие
Постановлением Государственного
комитета СССР по делам строительства
от 30 сентября 1983 г. N 210
МЕЖГОСУДАРСТВЕННЫЙ СТАНДАРТ
ПЛИТЫ ЖЕЛЕЗОБЕТОННЫЕ ПРЕДВАРИТЕЛЬНО-НАПРЯЖЕННЫЕ
ДЛЯ ПОКРЫТИЙ ГОРОДСКИХ ДОРОГ
КОНСТРУКЦИЯ И РАЗМЕРЫ
Reinforced concrete рrestressed slabs for pavements
of city roads. Structure and dimensions
ГОСТ 21924.1-84
| | Список изменяющих документов (в ред. Изменения N 1, утв. в декабре 1987 г.) | |
Дата введения
1 января 1985 года
ИНФОРМАЦИОННЫЕ ДАННЫЕ
1. Разработан и внесен Министерством жилищно-коммунального хозяйства РСФСР.
2. Утвержден и введен в действие Постановлением Государственного комитета СССР по делам строительства от 30.09.83 N 210.
3. Введен впервые.
4. Ссылочные нормативно-технические документы
Обозначение НТД, на который дана ссылка | Номер пункта |
| |
| |
| |
| |
| |
| |
| |
5. Издание (январь 2002 г.) с Изменением N 1, утвержденным в декабре 1987 г. (ИУС 5-88).
1. Настоящий стандарт распространяется на железобетонные предварительно-напряженные плиты, изготовляемые из тяжелого бетона и предназначенные для устройства покрытий постоянных и временных городских дорог под автомобильную нагрузку Н-30 и Н-10, и устанавливает конструкцию этих плит.
Плиты применяют для дорог в районах с расчетной температурой наружного воздуха (средней наиболее холодной пятидневки района строительства по
СНиП 2.01.01) до минус 40 °С включ.
При применении плит в климатическом подрайоне IVА должны учитываться дополнительные требования
СНиП 2.03.01 к конструкциям, предназначенным для эксплуатации в этих условиях.
Допускается применение данных плит для дорог в районах с расчетной температурой наружного воздуха ниже минус 40 °С при соблюдении требований, предъявляемых
СНиП 2.03.01 к конструкциям, предназначенным для эксплуатации в этих условиях.
(Измененная редакция, Изм. N 1).
3. Технические показатели плит приведены в табл. 1.
Таблица 1
Марка плиты | Класс бетона по прочности на сжатие | Объем бетона, м3 | Напрягаемая арматура | Расход арматурной стали на плиту, кг | Площадь постели, м2 |
Поз. | Сечение | Длина позиции, мм | Общая длина позиции, м | Арматура | Всего |
Напрягаемая | Ненапрягаемая |
На позицию | Общий |
1П60.38-30АV | В30 | 3,14 | Н1 | 24  10АV | 6000 | 144,00 | 88,85 | 148,79 | 30,72 | 179,51 | 22,5 |
Н4 | 18  12АV | 3750 | 67,50 | 59,94 |
1П60.35-30АV | 2,93 | Н1 | 22  10АV | 6000 | 132,00 | 81,44 | 137,38 | 30,44 | 167,82 | 21,0 |
Н5 | 18  12АV | 3500 | 63,00 | 55,94 |
2П60.35-30АV | В22,5 | Н1 | 22  10АV | 6000 | 132,00 | 81,44 | 26,12 | 163,50 |
Н5 | 18  12АV | 3500 | 63,00 | 55,94 |
1П60.30-30АV | В30 | 2,51 | Н1 | 20  10АV | 6000 | 120,00 | 74,04 | 121,99 | 30,16 | 152,15 | 17,9 |
Н6 | 18  12АV | 3000 | 54,00 | 47,95 |
2П60.30-30АV | В22,5 | Н1 | 20  10АV | 6000 | 120,00 | 74,04 | 25,84 | 147,83 |
Н6 | 18  12АV | 3000 | 54,00 | 47,95 |
1П60.19-30АV | В30 | 1,56 | Н1 | 10  10АV | 6000 | 60,00 | 37,02 | 37,02 | 70,38 | 107,40 | 11,2 |
1П60.18-30АV | 1,46 | 67,48 | 104,50 | 10,4 |
2П60.18-30АV | В22,5 | 64,60 | 101,62 |
1ПБ60.18-30АV | В30 | 1,79 | 66,40 | 103,42 | 11,7 |
1ПББ55.20-30АV | 1,76 | Н2 | 5920 | 59,20 | 36,53 | 36,53 | 65,56 | 102,09 | 11,8 |
1ПТ55-30АV | 1,34 | Н3 | 5510 | 55,10 | 34,00 | 34,00 | 70,08 | 104,08 | 9,6 |
2ПТ55-30АV | В22,5 |
1П60.38-30АIV | В30 | 3,14 | Н7 | 24  12АIV | 6000 | 144,00 | 127,87 | 209,55 | 30,72 | 240,27 | 22,5 |
Н10 | 18  14АIV | 3750 | 67,50 | 81,68 |
1П60.35-30АIV | 2,93 | Н7 | 22  12АIV | 6000 | 132,00 | 117,22 | 193,45 | 30,44 | 223,89 | 21,0 |
Н11 | 18  14АIV | 3500 | 63,00 | 76,23 |
2П60.35-30АIV | В22,5 | Н7 | 22  12АIV | 6000 | 132,00 | 117,22 | 26,12 | 219,57 |
Н11 | 18  14АIV | 3500 | 63,00 | 76,23 |
1П60.30-30АIV | В30 | 2,51 | Н7 | 20  12АIV | 6000 | 120,00 | 106,56 | 171,90 | 30,16 | 202,06 | 17,9 |
Н12 | 18  14АIV | 3000 | 54,00 | 65,34 |
2П60.30-30АIV | В22,5 | Н7 | 20  12АIV | 6000 | 120,00 | 106,56 | 25,84 | 197,74 |
Н12 | 18  14АIV | 3000 | 54,00 | 65,34 |
1П60.19-30АIV | В30 | 1,56 | Н7 | 10  12АIV | 6000 | 60,00 | 53,28 | 53,28 | 70,38 | 123,66 | 11,2 |
1П60.18-30АIV | 1,46 | 67,48 | 120,76 | 10,4 |
2П60.18-30АIV | В22,5 | 64,60 | 117,88 |
1ПБ60.18-30АIV | В30 | 1,79 | 66,40 | 119,68 | 11,7 |
1ПББ55.20-30АIV | 1,76 | Н8 | 5920 | 59,20 | 52,57 | 52,57 | 65,56 | 118,13 | 11,8 |
1ПББ55.20-10АIV | Н13 | 10  10АIV | 36,53 | 36,53 | 102,09 |
1ПТ55-30АIV | 1,34 | Н9 | 10  12АIV | 5510 | 55,10 | 48,93 | 48,93 | 70,08 | 119,01 | 9,6 |
2ПТ55-30АIV | В22,5 |
Примечание. Расход напрягаемой арматуры и общий расход арматуры на плиту приведен для условной длины стержней, равной длине плиты, и уточняется с учетом действительной длины напрягаемой арматуры, принимаемой в зависимости от способа натяжения арматуры и конструкции захватных устройств.
Для арматурной стали классов Ат-V, Ат-IV и Ат-IVC сечение напрягаемой арматуры, ее длину и расход следует принимать такими же, как для арматурной стали соответственно классов А-V и А-IV.
При применении в качестве напрягаемой арматуры термомеханически упрочненной арматурной стали классов Ат-V, Ат-IV и Ат-IVC в марке плиты необходимо приводить обозначение этой арматуры вместо соответственно А-V и А-IV.
(Измененная редакция, Изм. N 1).
4. Плиты должны удовлетворять всем требованиям
ГОСТ 21924.0 и настоящего стандарта.
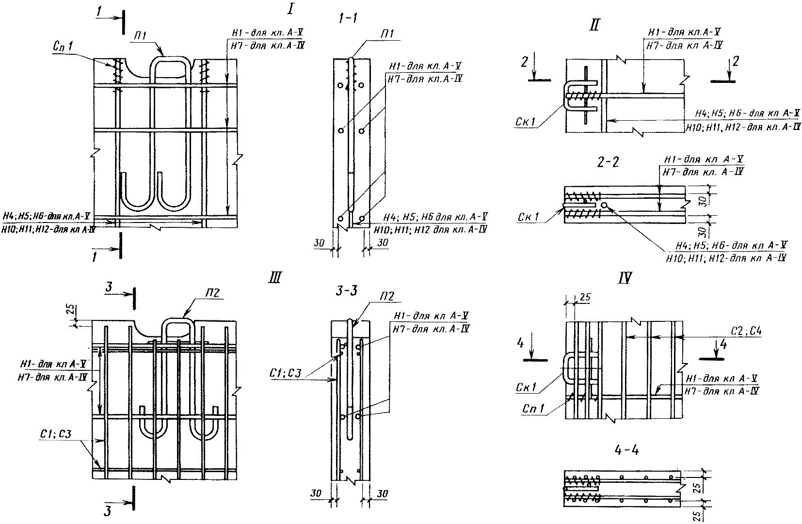
5. Армирование плит должно соответствовать приведенному на черт. 1 - 8.
Плиты П60.38, П60.35 и П60.30
Черт. 1
Плиты П60.19 и П60.18
Черт. 2
Примечание. Размеры в скобках даны для плит П60.19.
Плита ПБ60.18
Черт. 3
Плита ПББ55.20
Черт. 4
Плита ПТ55
Черт. 5
Черт. 6
Черт. 7
Черт. 8
Армирование плит с напрягаемой арматурой из арматурной стали классов Ат-V, Ат-IV и Ат-IVC и с ненапрягаемой - из арматурной стали класса Ат-IIIC следует выполнять аналогично армированию арматурной сталью соответственно классов А-V, А-IV и А-III.
Напрягаемую арматуру из несвариваемой арматурной стали классов Ат-V и Ат-IV применяют в виде целых стержней без сварных стыков.
Примечание. Допускается применение монтажных петель П1а и П2а взамен петель соответственно П1 и П2.
6. Спецификация арматурных и монтажно-стыковых элементов приведена в табл. 2, выборка арматурной стали для их изготовления на одну плиту - в
табл. 3.
Таблица 2
Марка плиты | Арматурные сетки | Монтажные сетки | Скобы | Спирали |
Марка | Число | Марка | Число | Марка | Число | Марка | Число | Марка | Число | Марка | Число |
1П60.38-30АV, 1П60.38-30АIV | - | - | - | - | П1 | 4 | - | - | Ск1 | 6 | Сп1 | 84 |
1П60.35-30АV, 1П60.35-30АIV | 80 |
2П60.35-30АV, 2П60.35-30АIV | - | - |
1П60.30-30АV, 1П60.30-30АIV | Ск1 | 6 | 76 |
2П60.30-30АV, 2П60.30-30АIV | - | - |
1П60.19-30АV, 1П60.19-30АIV | С1 | 2 | С2 | 4 | П2 | 4 | - | - | Ск1 | 4 | 20 |
1П60.18-30АV, 1П60.18-30АIV | С3 | С4 |
2П60.18-30АV, 2П60.18-30АIV | - | - |
1ПБ60.18-30АV, 1ПБ60.18-30АIV | С1 | С2 | П2 | 2 | П3 | 2 | Ск1 | 4 |
1ПББ55.20-30АV, 1ПББ55.20-30АIV, 1ПББ55.20-10АIV | С5 | С6 | - | - | 4 |
1ПТ55-30АV, 1ПТ55-30АIV, 2ПТ55-30АV, 2ПТ55-30АIV | С7 | - | - | П2 | 4 | - | - | - | - |
Примечание. В плитах для постоянных дорог с пазами для беспетлевого монтажа или с отверстиями для цангового захвата (
п. 1.2 ГОСТ 21924.0) монтажные петли П1 (П1а) и П2 (П2а) заменяют скобами Ск1.
кг
Марка плит | | | Всего |
Класс А-III | Класс А-I | Класс Вр-I |
Диаметр, мм | Итого | Диаметр, мм | Итого | Диаметр, мм | Итого |
8 | 8 | 10 | 14 | 16 | 20 | 22 | 3 | 5 |
160.38-30АV, 160.38-30АIV | - | - | - | 1,50 | - | 3,42 | - | 19,92 | 24,84 | 5,88 | - | 5,88 | 30,72 |
160.35-30АV, 160.35-30АIV | 5,60 | 5,60 | 30,44 |
160.35-30АV, 160.35-30АIV | 0,60 | - | 20,52 | 26,12 |
160.30-30АV, 160.30-30АIV | 1,50 | 3,42 | 24,84 | 5,32 | 5,32 | 30,16 |
160.30-30АV, 160.30-30АIV | 0,60 | - | 20,52 | 25,84 |
160.19-30АV, 160.19-30АIV | 18,40 | 18,40 | 1,20 | 2,28 | 14,04 | - | 17,52 | 1,40 | 33,06 | 34,46 | 70,38 |
160.18-30АV, 160.18-30АIV | 17,28 | 17,28 | 31,28 | 32,68 | 67,48 |
2П60.18-30АV, 2П60.18-30АIV | 0,60 | - | 14,64 | 32,68 | 64,60 |
1ПБ60.18-30АV, 1ПБ60.18-30АIV | 18,40 | 18,40 | 1,20 | 3,04 | 2,28 | 7,02 | 13,54 | 33,06 | 34,46 | 66,40 |
1ПББ55.20-30АV 1ПББ55.20-30АIV 1ПББ55.20-10АIV | 19,64 | 19,64 | 6,08 | - | 9,56 | 34,96 | 36,36 | 65,56 |
1ПТ55-30АV 1ПТ55-30АIV 2ПТ55-30АV 2ПТ55-30АIV | - | - | 42,64 | 0,60 | - | - | 14,04 | 57,28 | 11,40 | 12,80 | 70,08 |
Примечание. При применении арматурной стали класса Ат-IIIC по
ГОСТ 10884 ее диаметр, расход стали следует принимать одинаковым с арматурной сталью класса А-III.
5, 6. (Измененная редакция, Изм. N 1).
7. Форма и размеры арматурных и монтажно-стыковых элементов - по
ГОСТ 21924.3.
8. Значения напряжений в напрягаемой арматуре, контролируемые по окончании натяжения на упоры, должны соответствовать указанным в
табл. 4. Предельные отклонения напряжений не должны превышать при натяжении механическим способом -5 и +10%, а при натяжении электротермическим способом:
- продольной арматуры при длине плиты:
6000 и 5920 мм - 88,2 МПа (900 кгс/см2),
5500 мм - 94,1 МПа (960 кгс/см2);
- поперечной арматуры при ширине плиты:
3750 мм - 123,6 МПа (1260 кгс/см2),
3500 мм - 130,4 МПа (1330 кгс/см2),
3000 мм - 147,1 МПа (1500 кгс/см2).
Напрягаемая арматура | Марка плиты | Значения напряжений в напрягаемой арматуре, МПа (кгс/см2) |
Продольная | 1П60.38-30АV, 1П60.35-30АV, 2П60.35-30АV, 1П60.30-30АV, 2П60.30-30АV, 1П60.19-30АV, 1П60.18-30АV, 2П60.18-30АV, 1ПБ60.18-30АV, 1ПББ55.20-30АV | 696 (7100) |
1П60.38-30АIV, 1П60.35-30АIV, 2П60.35-30АIV, 1П60.30-30АIV, 2П60.30-30АIV, 1П60.19-30АIV, 1П60.18-30АIV, 2П60.18-30АIV, 1ПБ60.18-30АIV, 1ПББ55.20-30АIV, 1ПББ55.20-10AIV | 500 (5100) |
1ПТ55-30АV, 2ПТ55-30АV | 690 (7040) |
1ПТ55-30АIV, 2ПТ55-30АIV | 494 (5040) |
Поперечная | 1П60.38-30АV | 661 (6740) |
1П60.38-30АIV | 465 (4740) |
1П60.35-30АV, 2П60.35-30АV | 654 (6670) |
1П60.35-30АIV, 2П60.35-30АIV | 458 (4670) |
1П60.30-30АV, 2П60.30-30АV | 637 (6500) |
1П60.30-30АIV, 2П60.30-30АV | 441 (4500) |
9. Значения контрольной нагрузки при испытании плит по прочности и трещиностойкости приведены в табл. 5.
Таблица 5
Марка плиты | Контрольная нагрузка (без учета собственного веса плиты), кН (тс), при испытании плит |
по прочности | по трещиностойкости |
1П60.38-30АV | 173,5 (17,7) | 95,1 (9,7) |
1П60.35-300АV | 157,8 (16,1) | 87,2 (8,9) |
2П60.35-30АV | 153,9 (15,7) | 84,3 (8,6) |
1П60.30-30АV | 145,0 (14,8) | 79,4 (8,1) |
2П60.30-30АV | 140,1 (14,3) | 77,4 (7,9) |
1П60.19-30АV | 73,5 (7,5) | 40,2 (4,1) |
1П60.18-30АV |
2П60.18-30АV | 72,5 (7,4) | 39,2 (4,0) |
1ПБ60.18-30АV | 70,6 (7,2) |
1ПББ55.20-30АV | 77,4 (7,9) | 43,1 (4,4) |
1ПТ55-30АV | 86,2 (8,8) | 47,0 (4,8) |
2ПТ55-30АV | 84,3 (8,6) | 46,1 (4,7) |
1П60.38-30АIV | 164,6 (16,8) | 90,2 (9,2) |
1П60.35-30АIV | 150,9 (15,4) | 82,3 (8,4) |
2П60.35-30АIV | 147,0 (15,0) | 80,4 (8,2) |
1П60.30-30АIV | 138,2 (14,1) | 75,5 (7,7) |
2П60.30-30АIV | 134,3 (13,7) | 73,5 (7,5) |
1П60.19-30АIV | 67,6 (6,9) | 37,2 (3,8) |
1П60.18-30АIV |
2П60.18-30АIV | 66,6 (6,8) | 37,2 (3,8) |
1ПБ60.16-30АIV | 65,7 (6,7) | 36,3 (3,7) |
1ПББ55.20-30АIV | 71,5 (7,3) | 39,2 (4,0) |
1ПББ55.20-10АIV | 49,0 (5,0) | 26,5 (2,7) |
1ПТ55-30АIV | 79,4 (8,1) | 73,5 (7,5) |
2ПТ55-30АIV | 77,4 (7,9) | 43,1 (4,4) |
10. Контрольная ширина раскрытия трещин при испытании плит по трещиностойкости не должна превышать 0,1 мм.