Главная // Актуальные документы // ГОСТ (Государственный стандарт)СПРАВКА
Источник публикации
В данном виде документ опубликован не был.
Первоначальный текст документа опубликован в издании:
М.: Издательство стандартов, 1988.
Информацию о публикации документов, создающих данную редакцию, см. в справке к этим документам.
Примечание к документу
Документ утратил силу с 1 марта 2019 года в связи с изданием
Приказа Росстандарта от 16.10.2018 N 775-ст. Взамен введен в действие
ГОСТ 18846-2018.
С 1 июля 2003 года до вступления в силу технических регламентов акты федеральных органов исполнительной власти в сфере технического регулирования носят рекомендательный характер и подлежат обязательному исполнению только в части, соответствующей целям, указанным в
пункте 1 статьи 46 Федерального закона от 27.12.2002 N 184-ФЗ.
Ограничение срока действия снято по Протоколу N 4-93 Межгосударственного совета по стандартизации, метрологии и сертификации ("ИУС", N 4, 1994).
Изменение N 4, утв. Постановлением Госстандарта СССР от 23.03.1989 N 619, введено в действие с 1 октября 1989 года.
Название документа
"ГОСТ 18846-73*. Фольга цинковая. Технические условия"
(введен Постановлением Госстандарта СССР от 30.05.1973 N 1371)
(ред. от 23.03.1989)
"ГОСТ 18846-73*. Фольга цинковая. Технические условия"
(введен Постановлением Госстандарта СССР от 30.05.1973 N 1371)
(ред. от 23.03.1989)
Постановлением Госстандарта СССР
от 30 мая 1973 г. N 1371
ГОСУДАРСТВЕННЫЙ СТАНДАРТ СОЮЗА ССР
ФОЛЬГА ЦИНКОВАЯ
ТЕХНИЧЕСКИЕ УСЛОВИЯ
Zinc foil. Specifications
ГОСТ 18846-73*
| | Список изменяющих документов (в ред. Изменения N 1, утв. в феврале 1979 г., Изменения N 2, утв. в декабре 1983 г., Изменения N 3, утв. в августе 1986 г., Госстандарта СССР от 23.03.1989 N 619) | |
Постановлением Государственного комитета стандартов Совета Министров СССР от 30 мая 1973 г. N 1371 срок введения установлен с 01.01.1975.
Проверен в 1983 г. Постановлением Госстандарта от 06.12.1983 N 5711 срок действия продлен до 01.01.1990.
Переиздание (март 1987 г.) с Изменениями N 1, 2, 3, утвержденными в феврале 1979 г., декабре 1983 г., августе 1986 г. (ИУС 4-79, 3-84, 11-86).
Настоящий стандарт распространяется на цинковую фольгу, предназначенную для источников тока специального назначения.
1.1. Размеры и предельные отклонения фольги должны соответствовать указанным в таблице.
мм
──────────────────────────┬─────────────────────────┬─────────────
Толщина │ Ширина │ Длина,
─────────────┬────────────┼────────────┬────────────┤ не менее
номин. │пред. откл. │ номин. │пред. откл. │
─────────────┼────────────┼────────────┼────────────┼─────────────
0,07 │+/- 0,01 │240 │+/- 1,0 │3000
0,07 │+/- 0,01 │420 - 480 │+/- 1,0 │3000
0,09 │+/- 0,01 │420 - 450 │+/- 1,0 │3000
Условное обозначение проставить по схеме:
Фольга Д│ ПР│ Х│ Х│ │ НД│ ЦО│ ГОСТ │
│ │ │ │ │ │ │ 18846-73│
Способ изготовления │ │ │ │ │ │ │ │
─────────────────────────────┘ │ │ │ │ │ │ │
Форма сечения │ │ │ │ │ │ │
─────────────────────────────────┘ │ │ │ │ │ │
Точность изготовления │ │ │ │ │ │
─────────────────────────────────────┘ │ │ │ │ │
Состояние │ │ │ │ │
─────────────────────────────────────────┘ │ │ │ │
Размер сечения │ │ │ │
─────────────────────────────────────────────┘ │ │ │
Длина │ │ │
─────────────────────────────────────────────────┘ │ │
Марка сплава │ │
──────────────────────────────────────────────────────┘ │
Обозначение стандарта │
─────────────────────────────────────────────────────────────────┘
Принятые сокращения:
способ изготовления: холоднодеформированный - Д
форма сечения: прямоугольная - ПР
отсутствующий показатель - Х
Пример условного обозначения фольги холоднодеформированной, прямоугольного сечения, толщиной 0,07 мм, шириной 480 мм, из цинка марки ЦО
Фольга ДПРХХ 0,07 х 480 НД ЦО ГОСТ 18846-73
(Измененная редакция, Изм. N 2).
2. ТЕХНИЧЕСКИЕ ТРЕБОВАНИЯ
| | ИС МЕГАНОРМ: примечание. Взамен ГОСТ 3640-79 Постановлением Госстандарта РФ от 27.06.1996 N 433 с 1 января 1997 года введен в действие ГОСТ 3640-94. | |
2.1. Фольга должна изготовляться в соответствии с требованиями настоящего стандарта по технологическому регламенту, утвержденному в установленном порядке, из цинка марки ЦО с химическим составом по ГОСТ 3640-79.
2.2. Поверхность фольги должна быть чистой и гладкой, без плен, пузырей, надрывов, вмятин, забоин, следов коррозии и посторонних включений.
На фольге допускаются волнистость, небольшие отпечатки от валков и единичные мелкие отверстия, видимые глазом против света, при отсутствии строчечного расположения.
Допускается качество поверхности устанавливать по образцам, утвержденным в установленном порядке.
(в ред.
Изменения N 4, утв. Постановлением Госстандарта СССР от 23.03.1989 N 619)
2.3. Фольга должна быть очищена от технологической смазки.
Допускается на фольге наличие следов смазки.
2.4. Фольга должна быть намотана на втулку с внутренним диаметром 34 мм и наружным диаметром не более 38 мм. Длина втулки должна быть равна ширине фольги с предельным отклонением +/- 1 мм.
(в ред.
Изменения N 4, утв. Постановлением Госстандарта СССР от 23.03.1989 N 619)
2.1 - 2.4. (Измененная редакция, Изм. N 2).
2.5. Диаметр намотанного рулона должен быть от 50 до 200 мм.
По согласованию изготовителя с потребителем диаметр намотанного рулона должен быть не более 150 мм.
(абзац введен
Изменением N 4, утв. Постановлением Госстандарта СССР от 23.03.1989 N 619)
2.6. Количество отрезков в рулоне должно быть не более четырех. Длина отдельных отрезков должна быть не менее 3 м.
2.7. Фольга должна быть ровно обрезана. Торцы рулонов не должны иметь забоин, вмятин и загрязнений.
2.8. Фольга должна быть намотана с натяжением, не допускающим выпадения втулки и смещения витков, и свободно сматываться по всей длине рулона.
По согласованию изготовителя с потребителем допускается смещение витков в торцах рулона не более 2 мм.
(абзац введен
Изменением N 4, утв. Постановлением Госстандарта СССР от 23.03.1989 N 619)
2.9. Временное сопротивление разрыву фольги вдоль направления прокатки (

) должно быть не менее 70 МПа (7 кгс/мм2).
2.10. Фольга должна быть коррозионно-стойкой.
При испытании фольги на коррозионную стойкость в растворе 8,5 NKOH + 0,22 NZnO в течение трех суток количество выделившегося водорода с 3 дм2 поверхности фольги должно быть не более 8 см3.
2.9, 2.10. (Измененная редакция, Изм. N 2).
3.1. Фольгу принимают партиями.
Партия должна состоять из фольги одной марки цинка, одного размера и оформлена одним документом о качестве, содержащим:
товарный знак или товарный знак и наименование предприятия-изготовителя;
условное обозначение фольги;
результаты испытаний (по требованию потребителя);
номер партии;
массу партии.
Масса партии должна быть не более 6000 кг.
(в ред.
Изменения N 4, утв. Постановлением Госстандарта СССР от 23.03.1989 N 619)
(Измененная редакция, Изм. N 2).
3.2. (Исключен, Изм. N 2).
3.3. Проверке внешнего вида и размеров подвергают каждый рулон партии.
(Измененная редакция, Изм. N 2).
3.4. Для испытаний фольги на коррозионную стойкость отбирают три рулона от каждых полных и неполных 4000 кг.
(п. 3.4 в ред.
Изменения N 4, утв. Постановлением Госстандарта СССР от 23.03.1989 N 619)
3.5. Для испытания фольги на растяжение от партии отбирают 2% рулонов (по массе), но не менее трех рулонов от каждых полных и неполных 4000 кг.
(в ред.
Изменения N 4, утв. Постановлением Госстандарта СССР от 23.03.1989 N 619)
3.6. Для определения химического состава фольги от партии отбирают 3% рулонов (по массе), но не менее трех рулонов от каждых полных и неполных 4000 кг. Допускается у изготовителей контролировать химический состав от расплавленного металла.
(в ред.
Изменения N 4, утв. Постановлением Госстандарта СССР от 23.03.1989 N 619)
3.7. При получении неудовлетворительных результатов испытаний фольги хотя бы по одному из показателей по нему проводят повторное испытание на удвоенной выборке, взятой от той же партии. Результаты повторного испытания распространяются на всю партию.
3.6, 3.7. (Измененная редакция, Изм. N 2).
4.1. Контроль качества поверхности фольги должен производиться визуально без применения увеличительных приборов.
| | ИС МЕГАНОРМ: примечание. Взамен ГОСТ 6507-78 Постановлением Госстандарта СССР от 25.01.1990 N 86 с 1 января 1991 года введен в действие ГОСТ 6507-90. | |
4.2. Толщину фольги измеряют на расстоянии не менее 100 мм от конца и не менее 10 мм от кромки микрометром по ГОСТ 6507-78. Ширину фольги измеряют металлической линейкой по
ГОСТ 427-75.
Допускается определять размер фольги другими инструментами, обеспечивающими точность измерения.
4.3. Для испытаний фольги на коррозионную стойкость от каждого из отобранных рулонов отбирают четыре образца шириной, равной ширине фольги, и длиной 400 мм. Испытание проводят по методике, приведенной в
Приложении.
(п. 4.3 в ред.
Изменения N 4, утв. Постановлением Госстандарта СССР от 23.03.1989 N 619)
4.2, 4.3. (Измененная редакция, Изм. N 2).
4.4. Для испытания фольги на растяжение от каждого из отобранных рулонов отрезают кусок фольги длиной до 0,5 м для изготовления образцов. Испытание проводят по
ГОСТ 11701-84 на образцах типа II с

= 12,5 мм и

= 4

. От каждого рулона должно быть испытано не менее трех образцов.
4.5. Химический анализ проводят по ГОСТ 19251.0-79 - ГОСТ 19251.6-79 на одной пробе, взятой от каждого рулона.
Отбор и подготовку проб для определения химического состава проводят по
ГОСТ 24231-80.
| | ИС МЕГАНОРМ: примечание. ГОСТ 17261-77 утратил силу с 1 ноября 2016 года в связи с введением в действие ГОСТ 17261-2008 (Приказ Росстандарта от 07.04.2016 N 245-ст). | |
Допускается химический анализ проводить по ГОСТ 17261-77.
При возникновении разногласий в оценке химического состава анализ проводят по ГОСТ 19251.0-79 - ГОСТ 19251.6-79.
(абзац введен
Изменением N 4, утв. Постановлением Госстандарта СССР от 23.03.1989 N 619)
(Измененная редакция, Изм. N 2, 3).
5. УПАКОВКА, МАРКИРОВКА, ТРАНСПОРТИРОВАНИЕ И ХРАНЕНИЕ
5.1. Каждый рулон фольги по ширине и с торцов должен быть упакован парафинированной бумагой по
ГОСТ 9569-79.
По требованию потребителя рулоны фольги могут быть упакованы в полиэтиленовые чехлы взамен парафинированной бумаги по
ГОСТ 9569-79.
(в ред.
Изменения N 4, утв. Постановлением Госстандарта СССР от 23.03.1989 N 619)
5.2. К каждому рулону должен быть приклеен ярлык с указанием:
а) товарного знака или товарного знака и наименования предприятия-изготовителя;
б) условного обозначения фольги;
в) номера партии;
г) штампа технического контроля;
(подпункты "б" - "г" в ред.
Изменения N 4, утв. Постановлением Госстандарта СССР от 23.03.1989 N 619)
д) Исключен с 1 октября 1989 года. -
Изменение N 4, утв. Постановлением Госстандарта СССР от 23.03.1989 N 619;
е) Исключен с 1 октября 1989 года. -
Изменение N 4, утв. Постановлением Госстандарта СССР от 23.03.1989 N 619.
5.3. Рулоны фольги должны быть упакованы в деревянные ящики типа III-2 по
ГОСТ 2991-85, выложенные изнутри парафинированной бумагой. При упаковке в ящики каждый рулон фольги надевают на деревянный стержень, укрепленный вкладышами в ящике. Допускается укладывать рулоны фольги в ящики без стержней при условии защиты фольги от механических повреждений.
(в ред.
Изменения N 4, утв. Постановлением Госстандарта СССР от 23.03.1989 N 619)
| | ИС МЕГАНОРМ: примечание. ГОСТ 12256-76 утратил силу с 1 января 1991 года (ИУС "Государственные стандарты", N 5, 1990). | |
Для предохранения торцов рулонов от царапин, забоин, потертости и вмятин каждый рулон перекладывают прокладочным материалом по ГОСТ 12256-76, ГОСТ 891-75 или ГОСТ 7376-84.
(в ред.
Изменения N 4, утв. Постановлением Госстандарта СССР от 23.03.1989 N 619)
Размеры ящиков - по
ГОСТ 21140-88 или по нормативно-технической документации, утвержденной в установленном порядке.
(в ред.
Изменения N 4, утв. Постановлением Госстандарта СССР от 23.03.1989 N 619)
Допускается транспортирование цинковой фольги в железнодорожных контейнерах с прокладкой каждого ряда прокладочным материалом.
| | ИС МЕГАНОРМ: примечание. Взамен ГОСТ 17065-77 Постановлением Госстандарта РФ от 20.12.1994 N 320 с 1 января 1996 года введен в действие ГОСТ 17065-94. | |
При перевозках автомобильным транспортом допускается упаковка цинковой фольги в тару барабанного типа по ГОСТ 17065-77.
По согласованию изготовителя с потребителем допускается упаковка фольги в потребительскую тару.
Пакетирование проводится на поддонах по
ГОСТ 9557-87 или без поддонов с использованием брусков высотой не менее 50 мм с обвязкой в продольном и поперечном направлении проволокой диаметром не менее 2 мм по
ГОСТ 3282-74 или лентой размерами не менее 0,3 х 30 мм по
ГОСТ 3560-73. Скрепление концов: скрутка проволокой не менее 5 витков, лентой - в замок.
(в ред.
Изменения N 4, утв. Постановлением Госстандарта СССР от 23.03.1989 N 619)
Масса грузового места не более 500 кг.
5.5. Транспортная маркировка грузовых мест и способы ее нанесения должны проводиться по
ГОСТ 14192-77 с нанесением манипуляционных знаков "Боится сырости" и "Осторожно, хрупкое".
5.1 - 5.5. (Измененная редакция, Изм. N 2).
5.6. (Исключен, Изм. N 2).
5.7. Транспортирование фольги проводится транспортом всех видов в крытых транспортных средствах в соответствии с правилами перевозки грузов, действующими на транспорте данного вида.
(Измененная редакция, Изм. N 2).
5.8. Цинковую фольгу хранят в закрытых складских помещениях, обеспечивающих защиту фольги от механических повреждений, действия влаги и активных химических веществ.
Обязательное
МЕТОДИКА ОТБОРА ПРОБ И ПРОВЕДЕНИЯ ИСПЫТАНИЙ
ДЛЯ ОПРЕДЕЛЕНИЯ КОРРОЗИОННОЙ СТОЙКОСТИ
ЦИНКОВОЙ ФОЛЬГИ ТОЛЩИНОЙ 0,07 мм
1. Из каждого образца вырезают по одной пластине размером 100 х 150 мм (черт. 1).
Черт. 1
2. Каждую пластину разрезают на четыре части размером 25 х 150 мм (см. черт. 1), которые свертывают в рулончик и подвергают химическому обезжириванию в растворе состава:

б/в - 50 - 60 г/л;
жидкое стекло - 8 - 10 г/л.
3. Обезжиривание рекомендуется вести в стеклянном стакане вместимостью 300 - 350 мл при 60 - 80 °С в течение 3 мин. Обезжиренные образцы промывают сначала в проточной горячей воде (70 - 80 °С) в течение 3 мин, затем в холодной проточной воде также в течение 3 мин.
4. Испытания проводят при температуре 20 +/- 5 °С в растворе состава:
КОН - 470 - 490 г/л;
ZnO - 13 - 18 г/л.
Допускается накопление в растворе:

до 20 г/л;
Fe до 0,0006 г/л.
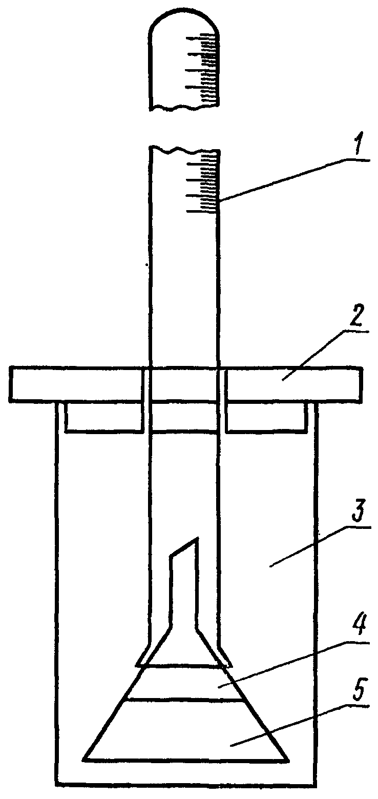
Подготовленные образцы промывают пятикратным погружением в свободный объем щелочи, каждый образец отдельно кладут на дно стакана вместимостью 500 - 700 мл и покрывают сверху стеклянной воронкой диаметром 55 - 65 мм так, чтобы воронка садилась на дно стакана, не опираясь на образец.
Щелочной раствор наливают (черт. 2) в стеклянный сосуд 3 так, чтобы верхняя часть стеклянной воронки 4 оказалась под раствором, затем в бюретку 1, на которую надета крышка из оргстекла 2.
1 - бюретка с делением на 25 - 50 мл; 2 - крышка
из оргстекла; 3 - стеклянный сосуд емкостью 0,5 - 0,75 л;
4 - стеклянная воронка диаметром 55 - 65 мм; 5 - испытуемая
фольга (рулон высотой 30 - 25 мм, диаметром 30 - 40 мм).
Черт. 2
Бюретку переворачивают и надевают на воронку 4. Отмечают уровень раствора в бюретке, от которого в дальнейшем ведут отсчет.
Примечания. 1. Все работы со щелочью проводят в резиновых перчатках.
2. Допускается использовать щелочной раствор для 10 испытаний.
3. Растворы готовят на дистиллированной воде.
4. Реактивы для приготовления раствора берут не ниже квалификации "чистый".
(Измененная редакция, Изм. N 1).
5. Одновременно проводят испытания коррозионной стойкости на трех образцах (по одному от каждого листа).
6. Отсчет количества выделившегося водорода проводят через трое суток.
7. (Исключен, Изм. N 2).