Главная // Актуальные документы // ГОСТ (Государственный стандарт)СПРАВКА
Источник публикации
М.: Стандартинформ, 2014
Примечание к документу
Документ утратил силу с 1 марта 2019 года в связи с изданием
Приказа Росстандарта от 25.09.2018 N 645-ст. Взамен введен в действие
ГОСТ IEC 60851-5-2017.
Текст данного документа приведен с учетом
поправки, опубликованной в "ИУС", N 2, 2016.
Документ
введен в действие с 1 января 2013 года.
Название документа
"ГОСТ IEC 60851-5-2011. Межгосударственный стандарт. Провода обмоточные. Методы испытаний. Часть 5. Электрические свойства"
(введен в действие Приказом Росстандарта от 13.12.2011 N 1452-ст)
"ГОСТ IEC 60851-5-2011. Межгосударственный стандарт. Провода обмоточные. Методы испытаний. Часть 5. Электрические свойства"
(введен в действие Приказом Росстандарта от 13.12.2011 N 1452-ст)
агентства по техническому
регулированию и метрологии
от 13 декабря 2011 г. N 1452-ст
МЕЖГОСУДАРСТВЕННЫЙ СТАНДАРТ
ПРОВОДА ОБМОТОЧНЫЕ. МЕТОДЫ ИСПЫТАНИЙ
ЧАСТЬ 5
ЭЛЕКТРИЧЕСКИЕ СВОЙСТВА
Winding wires. Test methods. Part 5. Electrical properties
(IEC 60851-5:1996, IDT)
ГОСТ IEC 60851-5-2011
Дата введения
1 января 2013 года
Цели, основные принципы и основной порядок проведения работ по межгосударственной стандартизации установлены
ГОСТ 1.0-92 "Межгосударственная система стандартизации. Основные положения" и
ГОСТ 1.2-2009 "Межгосударственная система стандартизации. Стандарты межгосударственные, правила и рекомендации по межгосударственной стандартизации. Порядок разработки, принятия, обновления и отмены".
1 ПОДГОТОВЛЕН Федеральным государственным унитарным предприятием "Всероссийский научно-исследовательский институт стандартизации и сертификации в машиностроении" (ВНИИНМАШ)
2 ВНЕСЕН Федеральным агентством по техническому регулированию и метрологии (Росстандарт)
3 ПРИНЯТ Межгосударственным советом по стандартизации, метрологии и сертификации (протокол от 29 ноября 2011 г. N 40)
За принятие проголосовали:
Краткое наименование страны по МК (ИСО 3166) 004-97 | Код страны по МК (ИСО 3166) 004-97 | Сокращенное наименование национального органа по стандартизации |
Беларусь | BY | Госстандарт Республики Беларусь |
Казахстан | KZ | Госстандарт Республики Казахстан |
Киргизия | KG | Кыргызстандарт |
Россия | RU | Росстандарт |
Таджикистан | TJ | Таджикстандарт |
Узбекистан | UZ | Узстандарт |
4
Приказом Федерального агентства по техническому регулированию и метрологии от 13 декабря 2011 г. N 1452-ст межгосударственный стандарт ГОСТ IEC 60851-5-2011 введен в действие в качестве национального стандарта Российской Федерации с 1 января 2013 г.
| | ИС МЕГАНОРМ: примечание. Изменения, выделенные двойной вертикальной линией в официальном тексте документа, в электронной версии документа отмечены знаком "&". | |
5 Настоящий стандарт идентичен международному стандарту IEC 60851-5:1996 Methods of test for winding wires - Part 5: Electrical properties (Провода обмоточные. Методы испытаний. Часть 5. Электрические свойства), включая его изменения Amd 1:1997 и Amd 2:2004, которые выделены в тексте двойной вертикальной линией слева.
Перевод с английского языка (en).
Степень соответствия - идентичная (IDT).
Сведения о соответствии межгосударственных стандартов ссылочным международным стандартам приведены в дополнительном
приложении ДА.
6 ВВЕДЕН ВПЕРВЫЕ
Информация о введении в действие (прекращении действия) настоящего стандарта публикуется в указателе "Национальные стандарты".
Информация об изменениях к настоящему стандарту публикуется в ежегодном указателе "Национальные стандарты", а текст изменений - в ежемесячных информационных указателях "Национальные стандарты". В случае пересмотра или отмены настоящего стандарта соответствующая информация будет опубликована в информационном указателе "Национальные стандарты"
Настоящий стандарт устанавливает требования к методам испытаний обмоточных проводов (далее - проводов) по определению их электрических свойств.
Настоящий стандарт устанавливает следующие методы испытаний:
&Метод определения коэффициента диэлектрических потерь приведен в
Приложении А.&
Определения терминов, общие указания по проведению испытаний и полный перечень методов испытаний проводов приведены в IEC 60851-1.
В настоящем стандарте использована ссылка на следующий международный стандарт:
IEC 60851-1:1996. Methods of test for winding wires - Part 1: General (Провода обмоточные. Методы испытаний. Часть 1. Общие положения)
3. Испытание 5. Электрическое сопротивление
Электрическое сопротивление - это сопротивление провода постоянному току при температуре 20 °C на длине 1 м.
Погрешность применяемого метода не должна превышать 0,5%.
Для проводов пучковой скрутки используют отрезок длиной до 10 м включительно, концы которого перед измерением сопротивления должны быть спаяны. Если измерение сопротивления применяют для определения количества оборванных проволок, испытывают отрезок провода пучковой скрутки длиной 10 м.
Если измерение сопротивления

проводят при температуре t, отличной от 20 °C, то сопротивление

при температуре 20 °C определяют по формуле

, (1)
&где

- температурный коэффициент,

;
t - фактическая температура во время измерения, °C.
В диапазоне температур 15 °C - 25 °C температурный коэффициент

принимают равным:
- для меди

;
- для алюминия

.
Проводят одно измерение. Фиксируют электрическое сопротивление.&
4. Испытание 13. Пробивное напряжение
Испытательное напряжение - это напряжение переменного тока номинальной частотой 50 или 60 Гц. Испытательное напряжение повышают от нуля с постоянной скоростью согласно таблице 1.
Таблица 1
Скорость подъема испытательного напряжения
Пробивное напряжение, В | Скорость подъема, В/с |
До 500 включ. | 20 |
Св. 500 " 2500 " | 100 |
" 2500 | 500 |
4.2. Испытательное оборудование
Используют следующее оборудование:
- испытательный трансформатор номинальной мощностью не менее 500 В x А, обеспечивающий напряжение переменного тока с достаточно устойчивой синусоидальной формой волны при проведении испытаний, амплитудным фактором

(1,34 - 1,48) и обеспечивающий при токе 5 мА падение напряжения не более 2%;
- устройство фиксации пробоя, которое срабатывает при прохождении тока 5 мА и более;
- устройство, обеспечивающее подъем испытательного напряжения с установленной постоянной скоростью;
- термостат с принудительной циркуляцией воздуха;
&- полированный металлический цилиндр диаметром (25 +/- 1) мм, установленный горизонтально
(рисунок 1) и присоединенный к одному из выводов источника напряжения питания;&
- устройство
(рисунок 2), при помощи которого скручивают два отрезка провода на длине 125 мм;
- полоски металлической фольги шириной 6 мм и липкую ленту шириной 12 мм;
- контейнер с дробью из нержавеющей или никелированной стали. Диаметр дроби должен быть не более 2 мм. Дробь периодически очищают соответствующими средствами;
&- металлическую оправку диаметром (50 +/- 2) мм;
- металлическую оправку диаметром (25 +/- 1) мм.&
1 - образец; 2 - изоляционный материал; 3 - верхний зажим;
4 - цилиндр; 5 - испытательное напряжение
Рисунок 1. Расположение цилиндра и образца
при испытании пробивным напряжением
1 - неподвижная распорка; 2 - вращающийся крюк-распорка;
3 - образец
Рисунок 2. Устройство для скручивания образца
для испытания пробивным напряжением
4.3. Круглые эмалированные провода с жилой номинальным диаметром до 0,100 мм включительно
Конец образца провода с удаленной изоляцией присоединяют к зажиму в соответствии с
рисунком 1, и образец наматывают одним витком вокруг цилиндра. Для плотного прилегания образца к цилиндру к нижнему концу провода прикладывают усилие в соответствии с таблицей 2.
Таблица 2
Усилие, прикладываемое к проводу
Номинальный диаметр жилы, мм | Усилие, Н |
До 0,018 включ. | 0,013 |
Св. 0,018 " 0,020 " | 0,015 |
" 0,020 " 0,022 " | 0,020 |
" 0,022 " 0,025 " | 0,025 |
" 0,025 " 0,028 " | 0,030 |
" 0,028 " 0,032 " | 0,040 |
" 0,032 " 0,036 " | 0,050 |
" 0,036 " 0,040 " | 0,060 |
" 0,040 " 0,045 " | 0,080 |
" 0,045 " 0,050 " | 0,100 |
" 0,050 " 0,056 " | 0,120 |
" 0,056 " 0,063 " | 0,150 |
" 0,063 " 0,071 " | 0,200 |
" 0,071 " 0,080 " | 0,250 |
" 0,080 " 0,090 " | 0,300 |
" 0,090 " 0,100 " | 0,400 |
Испытательное напряжение прикладывают в соответствии с
4.1 между жилой провода и цилиндром.
Испытание проводят на пяти образцах. Фиксируют пять отдельных значений.
4.4. Круглые эмалированные провода с жилой номинальным диаметром свыше 0,100 до 2,500 мм включительно
&4.4.1. Испытание при комнатной температуре
Образец провода в виде прямого отрезка длиной около 400 мм с удаленной с обоих концов изоляцией складывают пополам и скручивают на длине (125 +/- 5) мм с помощью устройства, приведенного на
рисунке 2. Концы провода должны быть соединены. Усилие, прикладываемое к проводу во время скручивания, и число кручений указаны в таблице 3. Петлю на конце скрученного участка образца разрезают в двух местах, чтобы обеспечить максимальное расстояние между образовавшимися концами. При раздвижении двух концов провода следует избегать резких перегибов или повреждения изоляции.
Таблица 3
Усилие, прикладываемое к проводу, и число кручений&
Номинальный диаметр жилы, мм | Усилие, Н | Число кручений |
Св. 0,100 до 0,250 включ. | 0,85 | 33 |
" 0,250 " 0,355 " | 1,70 | 23 |
" 0,355 " 0,500 " | 3,40 | 16 |
" 0,500 " 0,710 " | 7,00 | 12 |
" 0,710 " 1,060 " | 13,50 | 8 |
" 1,060 " 1,400 " | 27,00 | 6 |
" 1,400 " 2,000 " | 54,00 | 4 |
" 2,000 " 2,500 " | 108,00 | 3 |
&Испытательное напряжение прикладывают в соответствии с
4.1 между жилами проводов.
Испытание проводят на пяти образцах. Фиксируют пять отдельных значений.&
4.4.2. Испытание при повышенной температуре
Образец провода, подготовленный в соответствии с
4.4.1, помещают в термостат, предварительно нагретый до установленной температуры испытания с предельными отклонениями +/- 3 °C. Испытательное напряжение прикладывают в соответствии с
4.1 между жилами провода не менее чем через 15 мин после выдержки образца в термостате. Испытание должно быть проведено не более чем за 30 мин.
Испытание проводят на пяти образцах. Фиксируют пять отдельных значений.
&4.5. Круглые провода с жилой номинальным диаметром свыше 2,500 мм
4.5.1. Испытание при комнатной температуре
Образец провода в виде прямого отрезка достаточной длины, с одного конца которого удалена изоляция, изгибают вокруг оправки, как показано на
рисунке 3. Диаметр оправки должен быть (50 +/- 2) мм.&
1 - образец в виде изогнутого провода;
2 - металлическая дробь диаметром не более 2 мм;
3 - контейнер
Рисунок 3. Образец для испытания пробивным напряжением
(образец в контейнере с дробью)
&Образец помещают в контейнер так, чтобы толщина слоя дроби, окружающей его, составляла не менее 5 мм. Концы образца должны быть достаточной длины во избежание короткого замыкания.
Контейнер постепенно заполняют дробью до тех пор, пока образец не покроется слоем толщиной не менее 5 мм. Диаметр дроби должен быть не более 2 мм; можно применять дробь из нержавеющей или никелированной стали, а также никеля. Дробь периодически очищают соответствующим растворителем, например 1,1,1-трихлорэтаном.
Испытательное напряжение прикладывают в соответствии с
4.1 между жилой и дробью.
Примечание. По согласованию между заказчиком и изготовителем испытание можно проводить на образце, погруженном в масло.
Испытание проводят на пяти образцах. Фиксируют пять отдельных значений.
4.5.2. Испытание при повышенной температуре
Образец, подготовленный в соответствии с
4.5.1, помещают в термостат, предварительно нагретый до установленной температуры испытания с предельными отклонениями +/- 3 °C. Дробь и контейнер предварительно нагревают в термостате при температуре испытания и оставляют там во время загрузки испытуемого образца. Процесс загрузки испытуемого образца проводят очень осторожно во избежание повреждения образца.
Испытательное напряжение прикладывают в соответствии с
4.1 между жилой и дробью не менее чем через 15 мин после помещения образца в термостат. Испытание должно быть проведено не более чем за 30 мин.
Температура должна поддерживаться с предельными отклонениями +/- 3 °C.&
Испытание проводят на пяти образцах. Фиксируют пять отдельных значений.
&4.6. Круглые провода с волокнистой изоляцией
4.6.1. Испытание при комнатной температуре
Образец провода в виде прямого отрезка достаточной длины, с одного конца которого удалена изоляция, навивают десятью витками вокруг оправки, как показано на
рисунке 3а. Диаметр оправки должен быть, мм:
- (25 +/- 1) - для проводов с жилой номинальным диаметром до 2,500 мм включительно;
- (50 +/- 2) - для проводов с жилой номинальным диаметром свыше 2,500 мм.
1 - образец в виде изогнутого провода;
2 - металлическая дробь диаметром не более 2 мм;
3 - контейнер
Рисунок 3а. Образец для испытания пробивным напряжением
Образец помещают в контейнер, как показано на рисунке 3а, так, чтобы толщина слоя дроби, окружающей его, составляла не менее 5 мм. Концы образца должны быть достаточной длины, во избежание короткого замыкания.
Контейнер постепенно заполняют дробью до тех пор, пока образец не покроется слоем дроби толщиной не менее 5 мм. Диаметр металлической дроби должен быть не более 2 мм; можно применять дробь из нержавеющей или никелированной стали, а также никеля. Дробь очищают один раз в год.
Испытательное напряжение прикладывают в соответствии с
4.1 между жилой и дробью.
Примечание. По согласованию между заказчиком и изготовителем испытание можно проводить на образце, погруженном в масло.
Испытание проводят на пяти образцах. Фиксируют пять отдельных значений.
4.6.2. Испытание при повышенной температуре
Образец, подготовленный в соответствии с
4.6.1, помещают в термостат, предварительно нагретый до установленной температуры испытания с предельными отклонениями +/- 3 °C. Дробь и контейнер предварительно нагревают в термостате при температуре испытания и оставляют там во время загрузки испытуемого образца. Процесс загрузки испытуемого образца проводят очень осторожно, во избежание повреждения образца. Испытательное напряжение прикладывают в соответствии с
4.1 между жилой и дробью не менее чем через 15 мин после помещения образца в термостат. Испытание должно быть проведено не более чем за 30 мин.
Температура должна поддерживаться с предельными отклонениями +/- 3 °C. Испытание проводят на пяти образцах. Фиксируют пять отдельных значений.
4.7. Прямоугольные провода
4.7.1. Испытание при комнатной температуре
Образец провода в виде прямого отрезка длиной около 350 мм, с одного конца которого удалена изоляция, изгибают широкой стороной вокруг оправки, как показано на
рисунке 3. Диаметр оправки должен быть, мм:
- (25 +/- 1) - для проводов с жилой номинальной толщиной до 2,500 мм включительно;
- (50 +/- 2) - для проводов с жилой номинальной толщиной свыше 2,500 мм.
Образец помещают в контейнер так, чтобы толщина слоя дроби, окружающей его, составляла не менее 5 мм. Концы образца должны быть достаточной длины, во избежание короткого замыкания.
Контейнер постепенно заполняют дробью до тех пор, пока образец не покроется слоем дроби толщиной не менее 5 мм. Диаметр металлической дроби не должен быть более 2 мм; можно применять дробь из нержавеющей или никелированной стали, а также никеля. Дробь периодически очищают.
Испытательное напряжение прикладывают в соответствии с
4.1 между жилой и дробью.
Примечание. По согласованию между заказчиком и изготовителем испытание можно проводить на образце, погруженном в масло.
Испытание проводят на пяти образцах. Фиксируют пять отдельных значений.
4.7.2. Испытание при повышенной температуре
Образец, подготовленный в соответствии с
4.7.1, помещают в термостат, предварительно нагретый до установленной температуры испытания с предельными отклонениями +/- 3 °C. Дробь и контейнер предварительно нагревают в термостате при температуре испытания и оставляют там во время загрузки испытуемого образца. Процесс загрузки испытуемого образца проводят очень осторожно, во избежание повреждения образца. Испытательное напряжение прикладывают в соответствии с
4.1 между жилой и дробью не менее чем через 15 мин после помещения образца в термостат. Испытание должно быть проведено не более чем за 30 мин.
Температура должна поддерживаться с предельными отклонениями +/- 3 °C.
Испытание проводят на пяти образцах. Фиксируют пять отдельных значений.&
5. Испытание 14. Число точечных повреждений
(для эмалированных круглых проводов и круглых проводов
с пленочной изоляцией)
Целостность изоляции выражается числом точечных повреждений на проводе определенной длины, зафиксированных с помощью электрического испытательного устройства.
5.1. Точечные повреждения при низком напряжении (для проводов с жилой номинальным диаметром до 0,050 мм включительно)
&Образец провода длиной (30 +/- 1) м протягивают со скоростью (275 +/- 25) мм/с между двумя фетровыми пластинами, погруженными в электролитический раствор сернокислого натрия

в воде (концентрация 30 г/л); при этом между жилой провода и раствором, соединенными в электрическую цепь, прикладывают испытательное напряжение постоянного тока (50 +/- 3) В при разомкнутой цепи (рисунок 4). Усилие, прикладываемое к проводу, должно быть не более 0,03 Н. Точечные повреждения фиксируют соответствующим реле со счетчиком. Счетчик должен срабатывать при сопротивлении изоляции провода менее 10 кОм в течение не менее 0,04 с. Счетчик не должен срабатывать при сопротивлении 15 кОм и более. Цепь для определения повреждений должна работать со скоростью срабатывания (5 +/- 1) мс, обеспечивая регистрацию с частотой (500 +/- 25) повреждений в минуту при протягивании провода без изоляции.
Проводят одно испытание. Фиксируют число точечных повреждений на длине провода 30 м.&
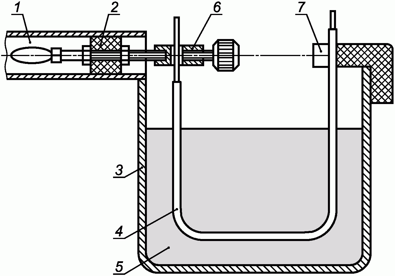
1 - провод; 2 - фетровые пластины; 3 - ванна с раствором
электролита (30 г

на 1 дм воды); 4 - источник
постоянного тока; 5 - реле; 6, 7 - резистор 50 кОм;
8 - счетчик; 9 - сигнальная лампа; 10 - отдающая катушка
с проводом; 11 - приемная катушка
Рисунок 4. Схема установки для определения числа
точечных повреждений при низком напряжении
5.2. Точечные повреждения при высоком напряжении (для проводов с жилой номинальным диаметром свыше 0,050 до 1,600 мм включительно)
5.2.1. Принцип
Образец провода с заземленной жилой протягивают с постоянной скоростью через электрод с U-образной канавкой. Испытательное напряжение постоянного тока прикладывают между электродом и землей. Повреждения изоляции провода фиксируют и регистрируют счетчиком. Определяют число повреждений провода на длине 30 м.
5.2.2. Испытательное оборудование
Используют следующее оборудование:
&- источник высокого напряжения, обеспечивающий равномерную подачу устойчивого напряжения постоянного тока с содержанием пульсаций не более 5%, регулируемого от 350 до 2000 В при разомкнутой цепи, с током короткого замыкания (25 +/- 5) мкА при любом значении испытательного напряжения и падением напряжения не более чем на 75% при сопротивлении повреждения 50 МОм;&
- устройство, предназначенное для выявления повреждений, которое срабатывает при токе, указанном в
таблице 4, со скоростью срабатывания (5 +/- 1) мс, и имеющее счетчик повреждений, обеспечивающий регистрацию с частотой (500 +/- 25) повреждений в минуту при испытании провода без изоляции;
- высоковольтный электрод в виде двух роликов в соответствии с
рисунком 5. Ролики должны быть из нержавеющей стали и обеспечивать (каждый) контакт с проводом на длине (25 +/- 2,5) мм;
- высоковольтный электрод в виде ролика в соответствии с
рисунком 6. Ролик должен быть из нержавеющей стали и обеспечивать контакт с проводом на длине 25 - 30 мм;
- направляющие заземленные ролики согласно
рисункам 5 и
6, имеющие те же размеры, что и ролики электрода на
рисунке 6, и находящиеся на расстояниях, указанных на соответствующих рисунках;
- гасящий резистор сопротивлением 4,7 МОм +/- 10%, установленный в высоковольтной цепи.
Примечание. Изоляция высоковольтного электрода от земли должна иметь высокое удельное сопротивление, быть негигроскопичной, на ее поверхности не должны образовываться следы токов утечки; она должна легко очищаться и иметь конструкционные зазоры, которые должны выдерживать постоянное напряжение 3000 В. На высоковольтный вывод экран не устанавливают, так как в процессе включения и подсчета пробоев требуется минимальная емкость на землю. Приводной электродвигатель должен быть бесколлекторного типа и иметь достаточную мощность для поддержания требуемой скорости протягивания провода диаметром 1,600 мм.
Таблица 4
Ток срабатывания при повреждении
Испытательное напряжение постоянного тока, В | Ток срабатывания при повреждении, мкА |
2000 | 12 |
1500 | 10 |
1000 | 8 |
750 | 7 |
500 | 6 |
350 | 5 |
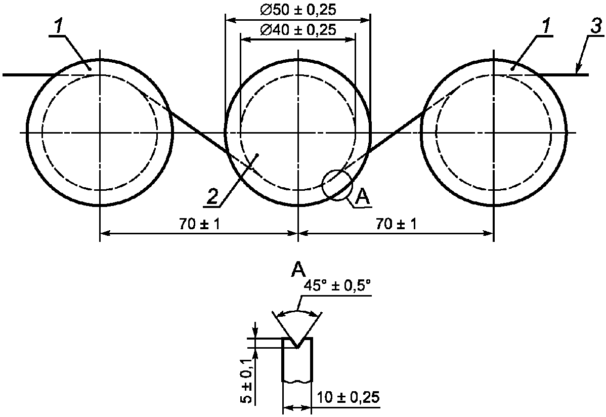
1 - направляющий ролик; 2 - образец провода; 3 - электрод;
4 - длина (25 +/- 0,25) мм, на которой провод имеет контакт
с каждым роликом
Рисунок 5. Точечные повреждения при высоком напряжении
постоянного тока. Ролики для проводов с жилой
диаметром от 0,050 до 0,250 мм
1 - направляющий ролик; 2 - электрод; 3 - образец провода
Рисунок 6. Размеры роликов и их расположение для проводов
с жилой диаметром от 0,250 до 1,600 мм
5.2.3. Проведение испытания
&Образец провода длиной (30 +/- 1) м протягивают со скоростью (275 +/- 25) мм/с по ролику высоковольтного электрода, при этом жила провода и электрод соединены в электрическую цепь. Испытательное напряжение постоянного тока при разомкнутой цепи устанавливают в соответствии с таблицей 5 с предельными отклонениями +/- 5% при положительной полярности по отношению к заземленной жиле провода.&
Таблица 5
Испытательное напряжение
Материал жилы | Номинальный диаметр жилы, мм | Напряжение постоянного тока, В (+ 5%) |
Тип 1 | Тип 2 | Тип 3 |
Медь | Св. 0,050 до 0,125 включ. | 350 | 500 | 750 |
" 0,125 " 0,250 " | 500 | 750 | 1000 |
" 0,250 " 0,500 " | 750 | 1000 | 1500 |
" 0,500 " 1,600 " | 1000 | 1500 | 2000 |
Алюминий | Св. 0,400 до 1,600 включ. | 500 | 1500 | - |
5.2.4. Результат
Проводят одно испытание. Фиксируют число точечных повреждений провода на длине 30 м.
6. Испытание 19. Тангенс угла диэлектрических потерь
(для эмалированных проводов и проводов пучковой скрутки)
6.1. Принцип
Образец провода рассматривают как конденсатор, диэлектриком которого является изоляция провода, жила - первым, а проводящая среда - вторым электродом. Конденсатор включают в цепь, работающую на заданной частоте, и измеряют емкость и сопротивление для определения тангенса угла диэлектрических потерь.
6.2. Испытательное оборудование
&Применяют следующее оборудование:
- измеритель импеданса, работающий на частоте, установленной в стандарте или технических условиях на провод конкретного типа и обеспечивающий погрешность не более +/- 1% при измерении, основанном на емкости образца при заданной частоте;
- генератор, имеющий на выходе синусоидальное напряжение частотой, установленной в стандарте или технических условиях на провод конкретного типа.
Метод испытания A:
- металлическую ванну
(рисунок 7), содержащую соответствующий жидкий металл (сплав) и имеющую систему нагрева, поддерживающую заданную температуру с предельными отклонениями +/- 1 °C.&
1 - разъем; 2 - изоляционная вставка; 3 - металлическая
ванна; 4 - образец; 5 - электрод; 6 - контактный зажим
для жилы; 7 - изолированный зажим
Рисунок 7. Устройство электродов при измерении
тангенса угла диэлектрических потерь
&Метод испытания B:
- два металлических блока, имеющих систему нагрева, поддерживающую заданную температуру с предельными отклонениями +/- 1 °C;
- проводящий состав.&
6.3. Образцы
6.3.1. Испытания в металлической ванне
Образец провода в виде прямого отрезка изгибают U-образно и опускают в металлическую ванну в соответствии с
рисунком 7.
6.3.2. Испытания с применением проводящего состава
6.3.2.1. Круглые эмалированные провода с жилой номинальным диаметром до 0,100 мм включительно
Образец провода в виде прямого отрезка длиной (100 +/- 5) мм навивают на прямой отрезок неизолированной медной проволоки диаметром 1 - 2 мм, а затем кисточкой наносят на образец проводящий состав, например водную дисперсию графита, и высушивают, например, в течение 30 мин при температуре 100 °C в термостате с принудительной циркуляцией воздуха.
6.3.2.2. Круглые эмалированные провода с жилой номинальным диаметром свыше 0,100 мм и прямоугольные эмалированные провода
Образец провода в виде прямого отрезка длиной около 150 мм покрывают проводящим составом согласно
6.3.2.1 на длине (100 +/- 5) мм. Образец высушивают, например, в течение 30 мин при температуре 100 °C в термостате с принудительной циркуляцией воздуха.
6.4. Проведение испытания
&Метод испытания A. Образец по
6.3.1 погружают в металлическую ванну, как показано на
рисунке 7.
Метод испытания B. Образец по
6.3.2 помещают между двумя металлическими блоками.
Образец соединяют с измерителем импеданса и выдерживают до достижения заданной температуры испытания. После этого при помощи измерителя импеданса определяют тангенс угла диэлектрических потерь.&
6.5. Результат
Испытание проводят на одном образце. Фиксируют тангенс угла диэлектрических потерь, частоту и температуру испытания.
&7. Испытание 23. Испытание по обнаружению микротрещин
Назначение настоящего испытания - обнаружение дефектов изоляции после выдержки ее в солевом растворе. Цель настоящего испытания аналогична цели испытания по определению точечных повреждений при высоком напряжении по
5.2.
Для проводов с жилой номинальным диаметром менее 0,07 мм отбирают образец провода длиной около 1,5 м, а для проводов с жилой номинальным диаметром, равным 0,07 мм и более, - длиной около 6 м.
Для проводов с жилой номинальным диаметром менее 0,07 мм образцу провода на длине (1 +/- 0,05) м придают круглую форму диаметром (100 +/- 50) мм.
Для проводов с жилой номинальным диаметром 0,07 мм и более образцу провода на длине (5 +/- 0,2) м придают круглую форму диаметром (300 +/- 100) мм.
Образец выдерживают в термостате с принудительной циркуляцией воздуха в течение 10 мин при температуре (125 +/- 3) °C, если в стандарте или технических условиях на провод конкретного типа не указано иное.
Примечание. Без тепловой обработки результаты не могут быть достоверными.
После указанной тепловой обработки, без излишних изгибов и натяжения, образец после охлаждения до комнатной температуры погружают в электролитический раствор хлористого натрия (концентрация 2 г/л) с добавлением соответствующего количества спиртового раствора фенолфталеина (концентрация 30 г/л) для получения более четких признаков наличия микротрещин (обычно в виде розовых струйных образований в растворе); при этом между жилой провода и раствором, соединенными в электрическую цепь, прикладывают испытательное напряжение (12 +/- 2) В постоянного тока в разомкнутой цепи.
Примечание. Деформация провода может привести к дополнительному образованию микротрещин в электролитическом растворе.
Напряжение прикладывают в течение 1 мин, используя образец в качестве отрицательного электрода по отношению к раствору, и во избежание чрезмерного нагрева ток короткого замыкания ограничивают 500 мА.
Фиксируют число микротрещин, наблюдаемых без применения увеличительных приборов.
Примечание. Поскольку настоящее испытание проводят в водном растворе, могут быть получены недостоверные результаты при испытании проводов с изоляцией из определенных типов эмали, на которой в воде образуется сетка волосяных трещин.&
(обязательное)
МЕТОДЫ ОПРЕДЕЛЕНИЯ КОЭФФИЦИЕНТА ДИЭЛЕКТРИЧЕСКИХ ПОТЕРЬ
&А.1. Тангенс дельта - Точка пересечения
Существует несколько методов определения этого параметра. В настоящем приложении в качестве примеров приведены следующие.
Принцип испытания. Образец эмалированного провода рассматривается как конденсатор, жила которого является одним электродом, а слой высушенной графитовой пленки или ванна с жидким металлом - другим электродом. Температуру образца повышают с контролируемой постоянной скоростью, фиксируют значения коэффициента диэлектрических потерь (d) и строят график зависимости коэффициента диэлектрических потерь

от температуры. Анализ кривой позволяет определить значение температуры, которая непосредственно связана со степенью спекания эмалевой пленки.
Применяют альтернативные методы, при которых образец с высокой температурой охлаждают до более низкой температуры.
А.2. Методы испытаний
А.2.1. Метод A - Использование жидкого металлического сплава
Используют электронный мост, позволяющий непосредственно определить значение d.
Образец эмалированного провода протирают мягкой тканью и закрепляют в держателе. Образец провода с держателем погружают в ванну с жидким металлом, предварительно отрегулированную до исходной низкой температуры. Образец подсоединяют к мосту, используя токопроводящую жилу в качестве одного электрода, а жидкий металл - в качестве другого. Температуру ванны повышают с постоянной скоростью от температуры окружающей среды до температуры, обеспечивающей получение четко выраженной кривой. Регулярно регистрируют значения

и температуры, а результаты наносят на график с линейной осью для температуры и логарифмической или линейной осью для

. Поскольку показания могут меняться очень быстро, предпочтительно использование автоматического записывающего устройства или компьютерной системы. Использование автоматической записи позволяет проводить испытание с более интенсивным повышением температуры, хотя следует предпринять особые меры для обеспечения того, чтобы между показанием и фактической температурой не было значительного расхождения. Применяемое оборудование, повышение температуры и интерпретация результатов должны быть согласованы между заказчиком и изготовителем.
А.2.2. Метод B - Использование покрытия из проводящей пленки
Используют электронный мост, позволяющий непосредственно определить значение d.
Образец подсоединяют к мосту, используя токопроводящую жилу в качестве одного электрода, а графитное покрытие - в качестве другого.
Температуру образца с графитовым покрытием повышают с постоянной скоростью от температуры окружающей среды до температуры, обеспечивающей получение четко выраженной кривой. Показание температуры снимают при помощи датчика, находящегося в контакте с образцом. Положение датчика температуры и способ контакта могут оказывать влияние на показания, кроме того, неодинаковые результаты могут давать разные приборы. Регулярно регистрируют значения

и температуры, а результаты наносят на график с линейной осью для температуры и логарифмической или линейной осью для

. Поскольку показания могут меняться очень быстро, предпочтительно использование автоматического записывающего устройства или компьютерной системы. Использование автоматической записи позволяет проводить испытание с более интенсивным повышением температуры, хотя следует предпринять особые меры для обеспечения того, чтобы между показанием и фактической температурой не было значительного расхождения. Применяемое оборудование, повышение температуры и интерпретация результатов должны быть согласованы между заказчиком и изготовителем.
А.3. Интерпретация результатов
На полученном графике кривая

может быть представлена двумя способами.
Значение d может быть представлено на линейной или на логарифмической оси Y. Для этих двух методов определение значения

проводят двумя способами. При представлении результатов должно быть указано, какой метод был использован. Следующие графики приведены только для понимания этих методов, а не для установления каких-либо специальных требований, предъявляемых к материалам.
А.3.1. Линейный метод
Рисунок А.1. Пример линейного метода
Проводят касательную к самой крутой части первого подъема кривой зависимости

от температуры. Горизонтальную линию проводят через точку на кривой, соответствующую температуре, согласованной между заказчиком и изготовителем. Определяют температуру, соответствующую точке пересечения этой линии с вышеуказанной касательной. Это значение представляют как

.
А.3.2. Логарифмический метод
Рисунок А.2. Пример логарифмического метода
Проводят две горизонтальные линии от оси Y на уровне значений, согласованных между заказчиком и изготовителем. Затем через точки пересечения этих линий и кривой проводят линию и продолжают ее до пересечения с горизонтальной линией, проведенной на уровне минимального значения на кривой.
Определяют температуру, соответствующую последней указанной точке пересечения. Это значение представляют как

.&
(справочное)
СВЕДЕНИЯ О СООТВЕТСТВИИ МЕЖГОСУДАРСТВЕННЫХ СТАНДАРТОВ
ССЫЛОЧНЫМ МЕЖДУНАРОДНЫМ СТАНДАРТАМ
Таблица ДА.1
Обозначение и наименование ссылочного международного стандарта | Степень соответствия | Обозначение и наименование соответствующего межгосударственного стандарта |
IEC 60851-1:1996. Провода обмоточные. Методы испытаний. Часть 1. Общие положения | IDT | |
Примечание. В настоящей таблице использовано следующее условное обозначение степени соответствия стандартов: IDT - идентичные стандарты. |