Главная // Актуальные документы // ГОСТ (Государственный стандарт)СПРАВКА
Источник публикации
М.: Стандартинформ, 2017
Примечание к документу
Текст данного документа приведен с учетом
поправки, опубликованной в "ИУС", N 12, 2021.
Документ
введен в действие с 01.07.2017.
Название документа
"ГОСТ 27019-2016. Межгосударственный стандарт. Материалы полимерные рулонные для полов. Ускоренный метод определения звукоизоляционных свойств"
(введен в действие Приказом Росстандарта от 02.12.2016 N 1925-ст)
"ГОСТ 27019-2016. Межгосударственный стандарт. Материалы полимерные рулонные для полов. Ускоренный метод определения звукоизоляционных свойств"
(введен в действие Приказом Росстандарта от 02.12.2016 N 1925-ст)
агентства по техническому
регулированию и метрологии
от 2 декабря 2016 г. N 1925-ст
МЕЖГОСУДАРСТВЕННЫЙ СТАНДАРТ
МАТЕРИАЛЫ ПОЛИМЕРНЫЕ РУЛОННЫЕ ДЛЯ ПОЛОВ
УСКОРЕННЫЙ МЕТОД ОПРЕДЕЛЕНИЯ ЗВУКОИЗОЛЯЦИОННЫХ СВОЙСТВ
Rolled polymer materials for floors. Method for rapid
determination of sound-insulation properties
ГОСТ 27019-2016
Дата введения
1 июля 2017 года
Цели, основные принципы и основной порядок проведения работ по межгосударственной стандартизации установлены в
ГОСТ 1.0-2015 "Межгосударственная система стандартизации. Основные положения" и
ГОСТ 1.2-2015 "Межгосударственная система стандартизации. Стандарты межгосударственные, правила и рекомендации по межгосударственной стандартизации. Правила разработки, принятия, обновления и отмены"
1 РАЗРАБОТАН Федеральным государственным бюджетным учреждением "Научно-исследовательский институт строительной физики Российской академии архитектуры и строительных наук" (НИИСФ РААСН)
2 ВНЕСЕН Техническим комитетом по стандартизации ТК 465 "Строительство"
3 ПРИНЯТ Межгосударственным советом по стандартизации, метрологии и сертификации (протокол от 22 ноября 2016 г. N 93-П)
За принятие проголосовали:
Краткое наименование страны по МК (ИСО 3166) 004-97 | Код страны по МК (ИСО 3166) 004-97 | Сокращенное наименование национального органа по стандартизации |
Армения | AM | Минэкономики Республики Армения |
Грузия | GE | Грузстандарт |
Киргизия | KG | Кыргызстандарт |
Россия | RU | Росстандарт |
Туркмения | TM | Главгосслужба "Туркменстандартлары" |
4
Приказом Федерального агентства по техническому регулированию и метрологии от 2 декабря 2016 г. N 1925-ст межгосударственный стандарт ГОСТ 27019-2016 введен в действие в качестве национального стандарта Российской Федерации с 1 июля 2017 г.
Информация об изменениях к настоящему стандарту публикуется в ежегодном информационном указателе "Национальные стандарты", а текст изменений и поправок - в ежемесячном информационном указателе "Национальные стандарты". В случае пересмотра (замены) или отмены настоящего стандарта соответствующее уведомление будет опубликовано в ежемесячном информационном указателе "Национальные стандарты". Соответствующая информация, уведомление и тексты размещаются также в информационной системе общего пользования - на официальном сайте Федерального агентства по техническому регулированию и метрологии в сети Интернет (www.gost.ru)
Настоящий стандарт распространяется на полимерные рулонные материалы (линолеум, ворсовое покрытие) (далее - материалы), предназначенные для покрытия полов в помещениях жилых и общественных зданий, укладываемые непосредственно по несущей плите перекрытия, и устанавливает ускоренный метод определения звукоизоляционных свойств этих материалов.
Метод предназначен для оперативной оценки звукоизоляционных свойств полимерного покрытия при выборе материала подосновы, при отработке технологии его изготовления, при изменении состава смеси волокна подосновы или поступления ее от другого изготовителя, а также для контроля звукоизоляционных свойств готовой продукции в сокращенные сроки по сравнению с методом, приведенным в
ГОСТ 27296.
В настоящем стандарте использованы нормативные ссылки на следующие межгосударственные стандарты:
ГОСТ 166-89 (ИСО 3599-76) Штангенциркули. Технические условия
ГОСТ 427-75 Линейки измерительные металлические. Технические условия
ГОСТ 577-68 Индикаторы часового типа с ценой деления 0,01 мм. Технические условия
ГОСТ 11358-89 Толщиномеры и стенкомеры индикаторные с ценой деления 0,01 и 0,1 мм. Технические условия
ГОСТ 16297-80 Материалы звукоизоляционные и звукопоглощающие. Методы испытаний
ГОСТ 27296-2012 Здания и сооружения. Методы измерения звукоизоляции ограждающих конструкций
Примечание - При пользовании настоящим стандартом целесообразно проверить действие ссылочных стандартов в информационной системе общего пользования - на официальном сайте Федерального агентства по техническому регулированию и метрологии в сети Интернет или по ежегодному информационному указателю "Национальные стандарты", который опубликован по состоянию на 1 января текущего года, и по выпускам ежемесячного информационного указателя "Национальные стандарты" за текущий год. Если ссылочный стандарт заменен (изменен), то при пользовании настоящим стандартом следует руководствоваться заменяющим (измененным) стандартом. Если ссылочный стандарт отменен без замены, то положение, в котором дана ссылка на него, применяется в части, не затрагивающей эту ссылку.
В настоящем стандарте приведены следующие термины с соответствующими определениями:
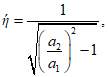
3.1 амплитуда ускорения стола вибратора a1, м/с2: Изменения амплитуды смещения стола вибратора.
3.2 амплитуда ускорения груза на частоте fр резонанса a2: Величина, характеризующая скорость изменения смещения стола вибратора на частоте резонанса fр.
3.3 звукоизоляционные свойства: Свойство материала уменьшать (снижать) передачу звука при распространении от места его возникновения.
3.4 динамический коэффициент потерь

: Величина, характеризующая рассеяние энергии при продольных колебаниях.
3.5 индекс снижения приведенного уровня ударного шума

: Величина, характеризующая снижение уровня ударного шума полимерным рулонным материалом.
3.6 приведенный уровень ударного шума Lпр: Уровень ударного шума под перекрытием с уложенным на нем полимерным рулонным материалом при работе на нем ударной машины.
3.7 средний диаметр площади контакта молотка с поверхностью образца dср: Средняя величина, получаемая в результате двукратного измерения в двух взаимно перпендикулярных направлениях диаметра площади отпечатка, получающегося при соприкосновении падающего молотка с поверхностью образца материала.
3.8 статическая осадка

: Величина, характеризующая изменение толщины под действием постоянной нагрузки.
3.9 частота звука f, Гц: Число колебаний в секунду, которое совершает звуковая волна.
3.10 частота резонанса fр: Частота звука, при которой амплитуда колебаний стола вибратора с образцом материала и груза достигает максимума.
4.1 Сущность метода заключается в измерении значений статической осадки материала

и динамического коэффициента потерь

образца материала с последующим определением индекса снижения приведенного уровня ударного шума

и использованием
таблицы, приведенной в приложении Г.
4.2 Воздух помещения, в котором проводят испытания, должен иметь температуру (22 +/- 5) °C и относительную влажность (60 +/- 5)%. Перед испытанием образцы должны быть выдержаны в помещении при температуре (22 +/- 5) °C не менее 3 ч.
4.3 Если в результате испытаний по ускоренному методу материал не обеспечивает нормативных требований по изоляции ударного шума, образцы испытуемого материала необходимо повторно испытать по
ГОСТ 27296.
| | ИС МЕГАНОРМ: примечание. В официальном тексте документа, видимо, допущена опечатка: имеется в виду ГОСТ ИСО 5348, а не ГОСТ 5348. | |
5.1 Аппаратура для определения динамического коэффициента потерь

по
ГОСТ 16297. Допускается применение вибродинамического стенда, обеспечивающего амплитуду ускорения вибраций в пределах от 0,5 до 5 м/с
2 с погрешностью не более 5% в частотном диапазоне от 5 до 1000 Гц, и виброизмерителя с измерительным усилителем и акселерометром по
ГОСТ 5348.
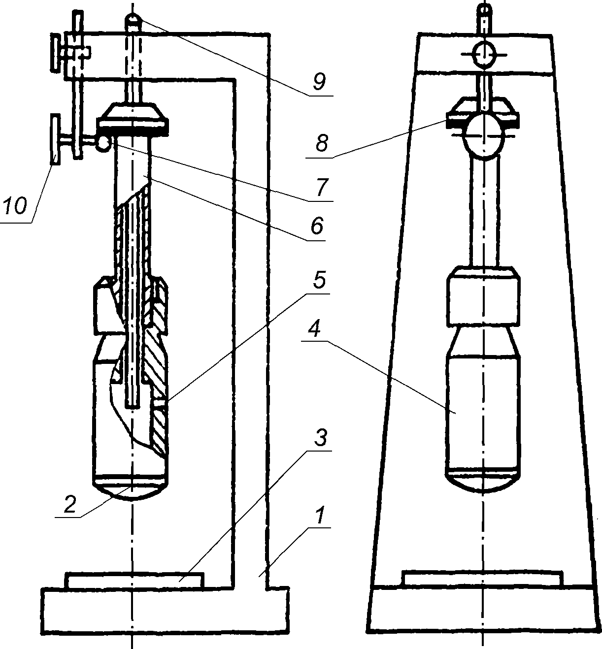
5.2 Устройство для определения статической осадки образца материала под нагрузкой (
рисунок А.1 приложения А), включающее в себя: основание 1, столик 2, наконечник молотка 8, представляющий собой цилиндр диаметром 3 см, имеющий на конце сферическую поверхность радиусом 50 см. Наконечник 8 жестко связан с опорной пластиной 5, со штоком 3 и тарелкой 10. Опорная пластина 5 фиксирует шток индикатора часового типа 9, закрепленного в подвижной траверсе 7.
5.3 Устройство для определения среднего диаметра площади контакта молотка с поверхностью образца (
рисунок Б.1 приложения Б), включающий в себя: станину 1, молоток 4 диаметром (30 +/- 1) мм, массой (500 +/- 5) г и высотой свободного падения (40 +/- 1) мм, наконечник молотка 2, представляющий собой цилиндр диаметром 3 см со сферической поверхностью радиусом (50 +/- 1) см. Золотник молотка 6 перемещается по направляющему стержню 9, который фиксируется в верхней части станины фиксатором 10 и кулачком 7. При смещении фиксатора молоток освобождается и скользит по направляющему стержню 9.
5.4 Индикатор часового типа по
ГОСТ 577.
5.5 Секундомер.
5.8 Толщиномер индикаторный ТР-10-60 по
ГОСТ 11358.
6.1 Испытания по определению звукоизоляционных свойств материалов следует проводить на образцах материала одного предприятия-изготовителя, изготовленного по одной технологии, из одних составляющих и удовлетворяющего всем физико-механическим требованиям стандартов или технических условий на материал конкретного вида.
6.2 Испытания проводят на трех образцах цилиндрической формы диаметром (160 +/- 5) мм.
6.3 Образцы сопровождают документом, в котором указывают:
- наименование и адрес предприятия-изготовителя материала;
- номер партии и дату изготовления;
- наименование подосновы;
- вид и условное обозначение;
- рецептуру смеси волокон подосновы линолеума и ворсового покрытия для полов.
7. Подготовка к испытанию
7.1 Перед началом динамических испытаний для каждого образца определяют значения статической осадки

в миллиметрах, средний диаметр площади контакта молотка с поверхностью образца
dср в метрах и массу груза
M в килограммах для последующих динамических испытаний.
7.2 Для определения значения статической осадки на тарелку 10 (
рисунок А.1 приложения А) устройства для определения статической осадки образца под нагрузкой укладывают груз, масса которого должна быть такой, чтобы суммарная масса груза, наконечника, штока с опорной пластиной для индикатора и тарелки была равна 10 кг.
Значения статической осадки

отсчитывают по индикатору часового типа через 30 с после начала загрузки образца.
7.3 Средний диаметр площади контакта молотка с поверхностью образца измеряют на устройстве, предназначенном для этих измерений (см.
рисунок Б.1 приложения Б).
Диаметр площади контакта определяют по отпечатку тонкого слоя краски, нанесенного на наконечник молотка, измеряя диаметр отпечатка в двух взаимно перпендикулярных направлениях.
7.4 Массу груза M, кг, определяют по формуле

(1)
где

- значение статической осадки образца, мм;
dср - средний диаметр площади отпечатка молотка на поверхности образца, м.
7.5 Образец материала укладывают на стол вибратора и нагружают грузом массой M. На образец груз опирается через три опорных цилиндра диаметром 8 мм, размещаемых в плоскости образца равномерно через 120°. Общая площадь опорных поперечных сечений цилиндров - 150 мм2.
7.6 До начала испытания образец должен находиться на столе вибратора и быть нагружен грузом массой M в течение 120 с.
8.1 Вибратор устанавливают в режиме автоматического поддержания постоянной амплитуды ускорения a1. Амплитуду ускорения стола вибратора принимают 1 м/с2 с погрешностью 5%.
8.2 Вибратор приводят в движение с помощью звукового генератора с частотой 5 Гц, установив на измерительном усилителе режим автоматического поддержания постоянной амплитуды ускорения.
8.3 Частоту резонанса fр, Гц, при которой амплитуда ускорения a2 груза, установленного на испытуемом образце, становится максимальной, определяют в процессе плавного изменения частоты колебаний вибратора.
9. Обработка результатов испытания
9.1 Для определения индекса снижения приведенного уровня ударного шума образцом материала

определяют динамический коэффициент потерь

, собственную частоту колебаний молотка на испытуемом образце
f0, Гц, и строят зависимость снижения приведенного уровня ударного шума

от частоты.
9.2 Динамический коэффициент потерь

при каждом испытании вычисляют с точностью до второго знака после запятой по формуле

(2)
где a1 - амплитуда ускорения стола вибратора, м/с2;
a2 - амплитуда ускорения груза на частоте резонанса fp м/с2.
9.3 Собственную частоту колебаний молотка f0 вычисляют по формуле

(3)
где fр - частота резонанса молотка, при которой амплитуда ускорения груза a2 становится максимальной, Гц;
9.4 Для каждой партии рулонного материала определяют средние арифметические значения величин

и
f0.
9.5 Для определения снижения приведенного уровня ударного шума материалом

, дБ, строят график в соответствии с
приложением В.
Для полосы частот от 100 до 800 Гц по значениям отношения текущей частоты вибратора
f и измеренной собственной частоты колебаний молотка
f0b =
f/
f0, Гц, и значениям коэффициента потерь

, пользуясь
таблицей Г.1 приложения Г, определяют значение снижения приведенного уровня ударного шума

. Полученные значения наносят на диаграмму в виде ломаной линии.
В диапазоне частот от 800 до 3200 Гц построение зависимости

от частоты проводят с учетом определенных ранее значений статической осадки

.
Для диапазона частот от 800 до 1600 Гц и значений

от 0,5 до 3,2 мм на графике (см.
приложение В) между точками 800 и 1600 Гц проводят прямую, увеличив значение

на частоте 1600 Гц на 18 дБ, в диапазоне 1600 - 3200 Гц - прямую, параллельную оси абсцисс со значением ординаты

, равным значению на частоте 1600 Гц.
Для образцов с

более 3,2 мм между точками 800 и 3200 Гц проводят прямую, увеличив значения

на частоте 1600 Гц на 18 дБ, на частоте 3200 - на 36 дБ.
9.6 По графику (см.
приложение В) определяют значения снижения приведенного уровня ударного шума

на частотах, соответствующих среднегеометрическим частотам третьоктавных полос.
9.7 По
таблице Г.1 приложения Г определяют значения индекса снижения приведенного уровня ударного шума с погрешностью 1 дБ.
9.8 Результаты испытаний заносят в протокол, включающий в себя:
- наименование организации, проводившей измерения;
- лабораторию, проводившую измерения;
- дату проведения измерений;
- должность и фамилию лица, проводившего измерения;
- наименование материала, прошедшего испытания;
- наименование нормативного документа, по которому изготовлен материал, прошедший испытания;
- номер партии и дату изготовления;
- характеристики образцов материала:
массу 1 м2,
толщину,
плотность;
- значение индекса снижения приведенного уровня ударного шума.
(обязательное)
УСТРОЙСТВО ДЛЯ ОПРЕДЕЛЕНИЯ СТАТИЧЕСКОЙ ОСАДКИ
ОБРАЗЦА ПОД НАГРУЗКОЙ
1 - основание; 2 - столик; 3 - шток; 4 - образец;
5 - опорная пластина; 6 - втулка; 7 - подвижная траверса;
8 - наконечник молотка; 9 - индикатор часового типа;
10 - тарелка; 11 - стопорный винт; 12 - груз; 13 - опорные
стальные цилиндры диаметром 8 мм, высотой 10 мм
(обязательное)
УСТРОЙСТВО ДЛЯ ОПРЕДЕЛЕНИЯ ДИАМЕТРА ПЛОЩАДИ КОНТАКТА
МОЛОТКА С ПОВЕРХНОСТЬЮ ОБРАЗЦА
1 - станина; 2 - наконечник молотка; 3 - образец;
4 - молоток; 5 - выпускное отверстие; 6 - золотник;
7 - кулачок фиксатора; 8 - резиновая прокладка;
9 - направляющий стержень; 10 - фиксатор
(обязательное)
ПОСТРОЕНИЕ ГРАФИКА ДЛЯ ОПРЕДЕЛЕНИЯ СНИЖЕНИЯ ПРИВЕДЕННОГО
УРОВНЯ УДАРНОГО ШУМА

ПОЛИМЕРНЫМ РУЛОННЫМ МАТЕРИАЛОМ
Частота 1/3-октавных полос, Гц
Описание примера расчета. Дано:

;

;
f0 = 169 Гц.
Частотная характеристика отношения f/f0: | 100 Гц - 0,59; |
| 315 Гц - 2,36; |
| 630 Гц - 4,72; |
| 1250 Гц - 9,44; |
| 1600 Гц - 18,88; |
| 3200 Гц - 18,88. |
Рисунок В.1
(справочное)
ЗНАЧЕНИЯ СНИЖЕНИЯ ПРИВЕДЕННОГО УРОВНЯ УДАРНОГО ШУМА

ЗА СЧЕТ ПОЛИМЕРНОГО РУЛОННОГО МАТЕРИАЛА
Отношение частот b = f/f0 | Значения  , дБ, при коэффициенте потерь  |
0 | 0,1 | 0,2 | 0,3 | 0,4 | 0,5 |
0,1 | -1,3 | -0,4 | 0,4 | 1,0 | 1,2 | 0,9 |
0,2 | -1,3 | -0,3 | 0,5 | 1,2 | 1,6 | 1,4 |
0,3 | -1,3 | -0,2 | 0,7 | 1,5 | 2,0 | 2,0 |
0,4 | -1,2 | 0 | 1,0 | 1,8 | 2,4 | 2,6 |
0,5 | -0,9 | 0,3 | 1,3 | 2,2 | 2,9 | 3,2 |
0,6 | -0,6 | 0,6 | 1,7 | 2,7 | 3,4 | 3,9 |
0,7 | -0,3 | 1,0 | 2,1 | 3,1 | 4,0 | 4,5 |
0,8 | 0,2 | 1,5 | 2,6 | 3,6 | 4,5 | 5,1 |
0,9 | 0,7 | 1,9 | 3,1 | 4,2 | 5,1 | 5,8 |
1,0 | 1,2 | 2,5 | 3,7 | 4,7 | 5,7 | 6,4 |
1,1 | 1,8 | 3,1 | 4,2 | 5,3 | 6,3 | 7,8 |
1,2 | 2,4 | 3,7 | 4,8 | 5,9 | 6,9 | 8,4 |
1,3 | 3,1 | 4,3 | 5,5 | 6,5 | 7,5 | 9,1 |
1,4 | 3,8 | 5,0 | 6,1 | 7,2 | 8,2 | 9,7 |
1,5 | 4,5 | 5,7 | 6,8 | 7,8 | 8,8 | 10,4 |
1,6 | 5,3 | 6,4 | 7,5 | 8,5 | 9,4 | 11,1 |
1,7 | 6,1 | 7,2 | 8,2 | 9,1 | 10,1 | 11,7 |
1,8 | 6,8 | 7,9 | 8,9 | 9,9 | 10,7 | 11,7 |
1,9 | 7,6 | 8,7 | 9,6 | 10,5 | 11,4 | 12,3 |
2,0 | 8,4 | 9,4 | 10,3 | 11,2 | 12,0 | 13,0 |
2,1 | 9,2 | 10,2 | 11,0 | 11,8 | 12,0 | 13,6 |
2,2 | 10,0 | 10,9 | 11,7 | 12,5 | 13,3 | 14,2 |
2,3 | 10,9 | 11,7 | 12,4 | 13,2 | 14,0 | 14,8 |
2,4 | 11,7 | 12,5 | 13,2 | 13,8 | 14,6 | 15,4 |
2,5 | 12,4 | 13,2 | 13,9 | 14,5 | 15,2 | 16,0 |
2,6 | 13,2 | 13,9 | 14,6 | 15,1 | 15,8 | 16,6 |
2,7 | 14,0 | 14,7 | 15,2 | 15,8 | 16,4 | 17,2 |
2,8 | 14,8 | 15,4 | 15,9 | 16,4 | 17,0 | 17,7 |
2,9 | 15,5 | 16,1 | 16,6 | 17,0 | 17,6 | 18,3 |
3,0 | 16,3 | 16,8 | 17,2 | 17,6 | 18,1 | 18,8 |
3,1 | 17,0 | 17,5 | 17,9 | 18,2 | 18,7 | 19,3 |
3,2 | 17,7 | 18,2 | 18,5 | 18,8 | 19,2 | 19,8 |
3,3 | 18,4 | 18,9 | 19,1 | 19,4 | 19,7 | 20,3 |
3,4 | 19,0 | 19,5 | 19,7 | 19,9 | 20,3 | 20,8 |
3,5 | 19,7 | 20,1 | 20,3 | 20,4 | 20,7 | 21,2 |
3,6 | 20,3 | 20,7 | 20,8 | 21,0 | 21,2 | 21,7 |
3,7 | 20,9 | 21,3 | 21,4 | 21,5 | 21,7 | 22,1 |
3,8 | 21,5 | 21,8 | 21,9 | 22,0 | 22,2 | 22,5 |
3,9 | 22,1 | 22,4 | 22,4 | 22,4 | 22,6 | 23,0 |
4,0 | 22,6 | 22,9 | 22,9 | 22,9 | 23,0 | 23,4 |
4,1 | 23,1 | 23,4 | 23,4 | 23,3 | 23,4 | 23,7 |
4,2 | 23,6 | 23,9 | 23,9 | 23,8 | 23,8 | 24,1 |
4,3 | 24,1 | 24,4 | 24,3 | 24,2 | 24,2 | 24,5 |
4,4 | 24,6 | 24,8 | 24,7 | 24,6 | 24,6 | 24,8 |
4,5 | 25,0 | 25,3 | 25,1 | 24,9 | 24,9 | 25,2 |
4,6 | 25,5 | 25,7 | 25,5 | 25,3 | 25,3 | 25,5 |
4,7 | 25,9 | 26,1 | 25,9 | 25,7 | 25,6 | 25,8 |
4,8 | 26,3 | 26,5 | 26,2 | 26,0 | 25,9 | 26,1 |
4,9 | 26,6 | 26,8 | 26,6 | 26,3 | 26,2 | 26,4 |
5,0 | 27,7 | 27,2 | 26,9 | 26,6 | 26,5 | 26,7 |