Главная // Актуальные документы // ГОСТ (Государственный стандарт)СПРАВКА
Источник публикации
М.: Стандартинформ, 2020
Примечание к документу
Текст данного документа приведен с учетом
поправки, опубликованной в "ИУС", N 8, 2020;
поправки, опубликованной в "ИУС", N 1, 2021;
поправки, опубликованной в "ИУС", N 8, 2023.
Документ
введен в действие с 01.08.2020.
Название документа
"ГОСТ 34644-2020 (ISO 10952:2014). Межгосударственный стандарт. Трубы и детали трубопроводов из реактопластов, армированных стекловолокном. Методы определения химической стойкости внутренней поверхности в условиях нагружения"
(введен в действие Приказом Росстандарта от 28.07.2020 N 418-ст)
"ГОСТ 34644-2020 (ISO 10952:2014). Межгосударственный стандарт. Трубы и детали трубопроводов из реактопластов, армированных стекловолокном. Методы определения химической стойкости внутренней поверхности в условиях нагружения"
(введен в действие Приказом Росстандарта от 28.07.2020 N 418-ст)
агентства по техническому
регулированию и метрологии
от 28 июля 2020 г. N 418-ст
МЕЖГОСУДАРСТВЕННЫЙ СТАНДАРТ
ТРУБЫ И ДЕТАЛИ ТРУБОПРОВОДОВ ИЗ РЕАКТОПЛАСТОВ,
АРМИРОВАННЫХ СТЕКЛОВОЛОКНОМ
МЕТОДЫ ОПРЕДЕЛЕНИЯ ХИМИЧЕСКОЙ СТОЙКОСТИ
ВНУТРЕННЕЙ ПОВЕРХНОСТИ В УСЛОВИЯХ НАГРУЖЕНИЯ
Fiberglass-reinforced thermosetting plastic pipes
and parts of pipelines. Methods for determination
of resistance to chemical attack for the inside
of a section in a deflected condition
(ISO 10952:2014, Plastics piping systems -
Glass-reinforced thermosetting plastics (GRP) pipes
and fittings - Determination of the resistance
to chemical attack for the inside of a section
in a deflected condition, MOD)
ГОСТ 34644-2020
(ISO 10952:2014)
Дата введения
1 августа 2020 года
Цели, основные принципы и общие правила проведения работ по межгосударственной стандартизации установлены
ГОСТ 1.0 "Межгосударственная система стандартизации. Основные положения" и
ГОСТ 1.2 "Межгосударственная система стандартизации. Стандарты межгосударственные, правила и рекомендации по межгосударственной стандартизации. Правила разработки, принятия, обновления и отмены"
1 ПОДГОТОВЛЕН Автономной некоммерческой организацией "Центр нормирования, стандартизации и классификации композитов" (АНО "Стандарткомпозит"), Объединением юридических лиц "Союз производителей композитов" (Союзкомпозит) на основе официального перевода на русский язык англоязычной версии стандарта, указанного в
пункте 5, который выполнен АНО "Стандарткомпозит"
2 ВНЕСЕН Техническим комитетом по стандартизации ТК 497 "Композиты, конструкции и изделия из них"
3 ПРИНЯТ Межгосударственным советом по стандартизации, метрологии и сертификации (протокол от 28 февраля 2020 г. N 127-П)
За принятие проголосовали:
Краткое наименование страны по МК (ИСО 3166) 004-97 | Код страны по МК (ИСО 3166) 004-97 | Сокращенное наименование национального органа по стандартизации |
Азербайджан | AZ | Азстандарт |
Армения | AM | ЗАО "Национальный орган по стандартизации и метрологии" Республики Армения |
Беларусь | BY | Госстандарт Республики Беларусь |
Казахстан | KZ | Госстандарт Республики Казахстан |
Киргизия | KG | Кыргызстандарт |
Россия | RU | Росстандарт |
Узбекистан | UZ | Узстандарт |
4
Приказом Федерального агентства по техническому регулированию и метрологии от 28 июля 2020 г. N 418-ст межгосударственный стандарт ГОСТ 34644-2020 введен в действие в качестве национального стандарта Российской Федерации с 1 августа 2020 г.
5 Настоящий стандарт является модифицированным по отношению к международному стандарту ISO 10952:2014 "Системы трубопроводов из пластмасс. Трубы и фитинги из реактопластов, армированных стекловолокном. Определение сопротивления химическому воздействию с внутренней стороны сечения в условиях деформации" ("Plastics piping systems - Glass-reinforced thermosetting plastics (GRP) pipes and fittings - Determination of the resistance to chemical attack for the inside of a section in a deflected condition", MOD) путем изменения содержания отдельных структурных элементов, которые выделены вертикальной линией, расположенной на полях напротив соответствующего текста.
Оригинальный текст модифицированных структурных элементов примененного международного стандарта приведен в дополнительном
приложении ДА.
Наименование настоящего стандарта изменено относительно наименования указанного международного стандарта для приведения в соответствие с ГОСТ 1.5-2001
(подраздел 3.6).
Сведения о соответствии межгосударственных стандартов международным стандартам, использованным в качестве ссылочных в примененном международном стандарте, приведены в дополнительном
приложении ДБ.
Сопоставление структуры настоящего стандарта со структурой указанного международного стандарта приведено в дополнительном
приложении ДВ
6 ВВЕДЕН ВПЕРВЫЕ
Информация о введении в действие (прекращении действия) настоящего стандарта и изменений к нему на территории указанных выше государств публикуется в указателях национальных стандартов, издаваемых в этих государствах, а также в сети Интернет на сайтах соответствующих национальных органов по стандартизации.
В случае пересмотра, изменения или отмены настоящего стандарта соответствующая информация будет опубликована на официальном интернет-сайте Межгосударственного совета по стандартизации, метрологии и сертификации в каталоге "Межгосударственные стандарты"
Настоящий стандарт устанавливает метод определения химической стойкости труб и фитингов из реактопластов, армированных стекловолокном, номинальным диаметром DN >= 100 в условиях нагружения. |
В настоящем стандарте использована нормативная ссылка на следующий межгосударственный стандарт:
ГОСТ 34647-2020 (ISO 10471:2018) Трубы и детали трубопроводов из реактопластов, армированных стекловолокном. Метод определения долговременной предельной деформации изгиба и долговременной предельной относительной кольцевой деформации при воздействии влаги
Примечание - При пользовании настоящим стандартом целесообразно проверить действие ссылочных стандартов и классификаторов на официальном интернет-сайте Межгосударственного совета по стандартизации, метрологии и сертификации (www.easc.by) или по указателям национальных стандартов, издаваемым в государствах, указанных в предисловии, или на официальных сайтах соответствующих национальных органов по стандартизации. Если на документ дана недатированная ссылка, то следует использовать документ, действующий на текущий момент, с учетом всех внесенных в него изменений. Если заменен ссылочный документ, на который дана датированная ссылка, то следует использовать указанную версию этого документа. Если после принятия настоящего стандарта в ссылочный документ, на который дана датированная ссылка, внесено изменение, затрагивающее положение, на которое дана ссылка, то это положение применяется без учета данного изменения. Если ссылочный документ отменен без замены, то положение, в котором дана ссылка на него, применяется в части, не затрагивающей эту ссылку.
В настоящем стандарте применены следующие термины с соответствующими определениями:
3.1
средний диаметр dm, мм: Диаметр окружности, соответствующей середине поперечного сечения стенки трубы.
Примечание - Средний диаметр dm, мм, вычисляют по формуле
где de - среднее значение наружного диаметра трубы, мм;
em - среднее значение толщины стенки трубы.
Допускается определять dm по формуле
dm = di + em, (2)
где di - среднее значение внутреннего диаметра трубы, мм.
3.2
разрушение при утечке: Нарушение целостности стенки трубы вследствие одновременного воздействия испытательной среды и кольцевой деформации/растяжения стенки трубы, приводящее к утечке испытательной среды.
Примечание - Нарушение целостности стенки трубы вдоль горизонтальной оси вращения и/или выше уровня испытательной среды не учитывают в качестве результата испытаний.
Внутреннюю поверхность образца подвергают воздействию испытательной среды при заданной кольцевой деформации или при заданном растяжении стенки образца и фиксируют время до разрушения при утечке. Испытание повторяют при нескольких значениях кольцевой деформации или растяжения стенки трубы, используя каждый раз новый образец. Результаты анализируют методами регрессионного анализа в соответствии с ГОСТ 34647 (приложение ДБ). |
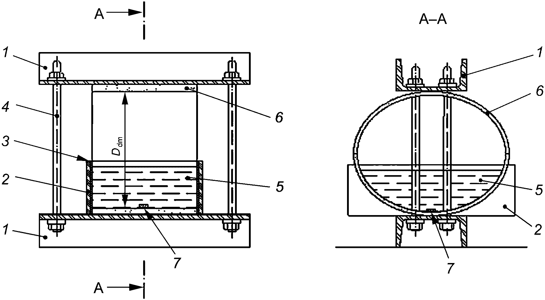
5.1 Средства измерения линейных размеров образца (длина, диаметр, толщина стенки), обеспечивающие погрешность измерения не более +/- 0,5%. 5.2 Средство измерения кольцевой деформации, обеспечивающее погрешность измерения +/- 1% от максимального значения измеряемой величины. 5.3 При использовании фольговых тензорезисторов рекомендуется применять тензорезисторы с длиной чувствительного элемента от 6 до 12 мм при испытании образцов номинальным диаметром 300 <= DN < 600. При испытании образцов с другим номинальным диаметром длину чувствительного элемента выбирают в соответствии с рекомендациями производителя тензорезисторов. Тензорезисторы должны быть стойкими к воздействию испытательной среды. 5.4 Испытательная установка, в состав которой входят следующие основные элементы: - нагрузочная рама, состоящая из двух параллельных металлических пластин с ребрами жесткости; - стержни с резьбой и гайками, при помощи которых устанавливают и поддерживают постоянное значение кольцевой деформации образца. Схема испытательной установки, а также перечень дополнительного оборудования приведены на рисунке 1. |

1 - металлическая пластина; 2 - заглушка; 3 - уплотнитель;
4 - стержень с резьбой; 5 - испытательная среда;
6 - образец; 7 - тензорезистор (необязательно);
Ddm - средний диаметр, уменьшенный в результате
кольцевой деформации
Рисунок 1 - Схема испытательной установки
Металлические пластины должны быть достаточно жесткими, чтобы не деформироваться во время испытания. Металлические пластины должны иметь длину на 30 мм больше, чем длина образца, и ширину - не менее 100 мм. 5.5 Химический состав и концентрацию испытательной среды устанавливают в нормативном документе или технической документации на изделие. |
6 Подготовка к проведению испытаний
6.1 Образец изготавливают в виде отрезка трубы, длину которого устанавливают в нормативном документе или технической документации на изделие. Отклонение длины образца от номинального значения должно быть не более +/- 5%.
6.2 Торцевые срезы образца должны быть ровными и перпендикулярными к оси образца.
Вдоль образца по внутренней поверхности трубы с шагом 180° по окружности наносят две прямые линии, выполняющие роль опорных линий, любым способом, не нарушающим целостность поверхности.
6.3 Количество образцов для испытаний устанавливают в нормативном документе или технической документации на изделие, но не менее 18 образцов.
6.4 Если условия кондиционирования образцов не указаны в нормативном документе или технической документации на изделие, образцы перед испытанием кондиционируют не менее 8 ч при температуре, соответствующей температуре проведения испытаний.
6.5 Если температура проведения испытания не указана в нормативном документе или технической документации на изделие, испытания проводят при температуре (23 +/- 2) °C.
6.6 Перед проведением испытания определяют линейные размеры образца.
6.6.1 Измеряют длину образца вдоль каждой линии (см.
6.2) с точностью +/- 1,0%. При несоответствии длины образца требованиям
6.1 образец укорачивают или заменяют новым.
6.6.2 Измеряют толщину стенки каждого образца вдоль одной из опорных линий (см.
6.2) в шести равноудаленных друг от друга точках.
Рассчитывают среднюю толщину стенки em, мм, по результатам шести измерений.
Примечание - При испытаниях по
7.1 или
7.2 за низ образца принимают ту сторону образца, где нанесена линия, вдоль которой проводились измерения толщины.
6.6.3 Измеряют внутренний или наружный диаметр по середине образца. Вычисляют средний диаметр по
формуле (1).
7.1.1 Задают кольцевую деформацию образцов таким образом, чтобы время до разрушения при утечке не менее 18 образцов распределялось в диапазоне от 0,1 до 10000 ч. Распределение времени до разрушения при утечке для не менее 10 значений должно соответствовать пределам, приведенным в
таблице 1.
Примечание - Кольцевая деформация, превышающая 28% номинального диаметра, может быть причиной местной деформации (смятие стенки) образца, что приводит к неравномерному распределению растяжения. Для кольцевой деформации, значение которой близко к 28% номинального диаметра, высокая точность измерения достигается благодаря использованию дополнительных тензорезисторов или установлению для образцов калиброванных значений кольцевой деформации в соответствии с измеренным растяжением. Эти калиброванные значения также важны на всех уровнях кольцевой деформации для проверки вычислений, в которых используется допущение, что нейтральная ось располагается посередине толщины стенки трубы.
Таблица 1
Распределение времени разрушения
Время разрушения tf, ч | Количество разрушений, не менее |
10 <= tf <= 1000 | 4 |
1000 < tf <= 6000 | 3 |
tf > 6000 | |
<*> Как минимум, одно разрушение должно произойти при значении времени разрушения более 10000 ч. |
7.1.2 Устанавливают образец в установку для испытаний таким образом, чтобы противоположные опорные линии (см.
6.2), нанесенные на образец, контактировали с металлическими пластинами и были параллельны и отцентрированы по отношению к продольным осям металлических пластин.
Необходимо осмотреть образец и убедиться, что контакт между образцом и металлическими пластинами максимально равномерный и что металлические пластины параллельны друг другу (не наклонены).
7.1.3 К нагрузочной раме прикладывают усилие, чтобы деформировать образец, сохраняя при этом параллельность между верхней и нижней пластиной.
При достижении соответствующей кольцевой деформации (см.
7.1.1) отмечают время и фиксируют пластины, чтобы поддерживать заданную кольцевую деформацию образца.
7.1.4 Устанавливают уплотнитель и заглушку (см.
рисунок 1) таким образом, чтобы только внутренняя поверхность образца подвергалась воздействию испытательной среды. Заглушка не должна служить дополнительной опорой для образца.
7.1.5 После достижения образцом заданного значения кольцевой деформации (см.
7.1.3) заполняют образец испытательной средой (высота уровня испытательной среды должна быть от 25 до 50 мм), после чего записывают время в качестве нулевой временной отметки. Интервал времени между установлением заданного значения кольцевой деформации и заполнением образца испытательной средой не должен превышать 2 ч.
7.1.6 При проведении испытания поддерживают высоту уровня испытательной среды не менее 25 мм, отклонение концентрации от заданного значения не должно превышать +/- 5%.
Примечание - Растворы становятся более концентрированными из-за испарения воды. Для некоторых реагентов необходимо периодически чистить поверхность образца для испытания и заменять испытательную среду на свежую. Для уменьшения испарения допускается укрывать поверхность испытательной среды пластмассовой пленкой соответствующего размера.
7.1.7 Разрушение при утечке образца определяют визуально через промежутки времени, установленные в таблице 2, если другого не установлено в нормативном документе или технической документации на изделие.
Таблица 2
Время, прошедшее от нулевой временной отметки, ч | Инспекционный интервал | Допустимое отклонение от инспекционного интервала |
От | 0 | до | 10 | Каждый 1,00 ч | +/- 0,25 ч |
от | 10 | до | 600 | Каждые 24 ч | +/- 6 ч |
от | 600 | до | 6000 | Каждые 72 ч | +/- 10 ч |
Св. 6000 | Каждая неделя | +/- 1 день |
При замене испытательной среды влажную поверхность исследуют на наличие признаков растрескивания или расслоения.
Для облегчения распознавания разрушения при утечке при необходимости внешнюю поверхность образца обрабатывают известью, либо применяют иные методы капиллярной дефектоскопии. Для контроля времени до разрушения, особенно в коротких испытаниях, допускается применение электронных таймеров.
7.1.8 Записывают время до разрушения при утечке каждого образца. Образцы, которые не разрушились более чем за 10000 ч, могут быть приняты как разрушенные, чтобы определить регрессионную линию. Для неразрушенных образцов допускается увеличение времени испытания, в этом случае регрессионная линия пересчитывается на момент, когда происходит разрушение.
7.1.9 Если при испытании не произошло разрушения при утечке ни одного образца, задают новые значения кольцевой деформации, установленные в нормативном документе или технической документации на изделие, и проводят испытание заново. |
7.2.1 Задают растяжение стенки образца таким образом, чтобы время до разрушения при утечке не менее 18 образцов распределялось в диапазоне от 0,1 до 10000 ч. Распределение времени разрушения до утечки не менее 10 значений должно соответствовать пределам, приведенным в
таблице 1.
Значения растяжения устанавливают в нормативном документе или технической документации на изделие. В случае отсутствия таких указаний растяжение

, %, вычисляют по формуле

, (3)
где ddm - среднее значение кольцевой деформации, мм.
Примечание -
Формула (3) учитывает изменение диаметра в горизонтальной плоскости по мере увеличения кольцевой деформации.
Среднее значение кольцевой деформации ddm, мм, вычисляют по формуле
ddm = di - Ddm. (4)
При вычислениях делают допущение, что нейтральная ось находится посередине толщины стенки трубы. Для стенки образца, в которой нейтральная ось смещена, необходимо при расчете в
формуле (3) заменить
em на 2
d, где
d - расстояние от внутренней поверхности трубы до нейтральной оси, мм. Расположение нейтральной оси определяют при помощи пары тензорезисторов
(5.3).
7.2.2 Прикрепляют три тензорезистора
(5.3) на внутренней поверхности в нижней части образца в направлении вдоль окружности, чтобы измерить начальное окружное растяжение. Тензорезисторы размещают на равном удалении друг от друга вдоль нижней опорной линии (см.
6.2), нанесенной на образец. Клеящий состав, используемый для крепления тензорезисторов, не должен в общей сложности покрывать более 37% длины нижней части образца. Обнуляют показания регистрирующих приборов, к которым подключены тензорезисторы.
Примечание - При обнулении устанавливают образец в вертикальное положение.
7.2.3 После установки тензорезисторов образец устанавливают в испытательную установку, как показано на
рисунке 1, так чтобы тензорезисторы находились внизу.
7.2.4 К нагрузочной раме прикладывают усилие, чтобы деформировать образец, сохраняя при этом параллельность между верхней и нижней пластинами.
При достижении желаемого растяжения, которое измеряют тензорезисторами, фиксируют расположение пластин нагрузочной рамы, чтобы поддерживать достигнутую деформацию образца. Как только нагрузочная рама зафиксирована, с регистрирующих приборов, к которым подключены тензорезисторы, снимают показания.
Записывают значение растяжения, измеренного каждым тензорезистором по истечении 2 мин после фиксации нагрузочной рамы. Расхождение между показаниями двух тензорезисторов не должно превышать +/- 2,5% от среднего значения. Если показания одного из тензорезисторов отличаются больше, чем на 7,5% от среднеарифметического значения показаний остальных двух, проведенное измерение не учитывают.
Вычисляют среднеарифметическое значение растяжения по показаниям тензорезисторов и записывают его как начальное растяжение.
7.2.5 Устанавливают уплотнитель и заглушку (см.
рисунок 1) таким образом, чтобы только внутренняя поверхность образца подвергалась воздействию испытательной среды. Заглушка не должна служить дополнительной опорой для образца.
7.2.6 После достижения образцом заданного значения растяжения (см.
7.2.1) заполняют образец испытательной средой (высота уровня испытательной среды должна быть от 25 до 50 мм), после чего записывают время в качестве нулевой временной отметки. Интервал времени между установлением заданного значения кольцевой деформации и заполнением образца испытательной средой не должен превышать 2 ч.
7.2.7 В ходе проведения испытания поддерживают высоту уровня испытательной среды не менее 25 мм; отклонение концентрации от заданного значения не должно превышать +/- 5%.
7.2.8 Разрушение при утечке образца определяют визуально через промежутки времени, установленные в
таблице 2, если другого не установлено в нормативном документе или технической документации на изделие.
При замене испытательной среды влажную поверхность исследуют на наличие признаков растрескивания или расслоения.
Для облегчения распознавания разрушения при утечке при необходимости внешнюю поверхность образца обрабатывают известью. Для контроля времени до разрушения, особенно в коротких испытаниях, допускается применение электронных таймеров.
7.2.9 Записывают время до разрушения при утечке каждого образца. Образцы, которые не разрушились более чем за 10000 ч, могут быть приняты как разрушенные, чтобы определить регрессионную линию. Для неразрушенных образцов допускается увеличение времени испытания, в этом случае регрессионная линия пересчитывается на момент, когда происходит разрушение.
7.2.10 Если при испытании не произошло разрушения при утечке ни одного образца, задают новые значения растяжения, установленные в нормативном документе или технической документации на изделие, и проводят испытание заново. |
Используя данные, полученные в соответствии с
7.1 или
7.2, определяют в соответствии с ГОСТ 34647
(приложение ДБ) экстраполированные значения кольцевой деформации или растяжения за соответствующее время, указанное в нормативном документе или технической документации на изделие.
Результаты испытаний заносят в протокол испытаний, который должен содержать:
- ссылку на настоящий стандарт;
- все необходимые детали для полной идентификации испытуемой трубы;
- количество испытанных образцов;
- место трубы или фитинга, откуда были вырезаны образцы;
- номинальные параметры и размеры образцов;
- среднее значение диаметра dm образца до деформации;
- среднее значение толщины стенки e внизу образца;
- метод испытания (испытание с измерением кольцевой деформации или испытание с измерением растяжения) и кольцевую деформацию в процентах или начальное растяжение для каждого образца и параметры тензорезисторов, если они используются;
- температуру испытания и температуру кондиционирования;
- описание испытательной среды и ее концентрацию;
- интервал между моментом времени, когда достигнута соответствующая кольцевая деформация или растяжение образца (см.
7.1.3 или
7.2.4), и заливкой испытательной среды;
- факт разрушения (см.
7.1.7 или
7.1.8) и время до разрушения при утечке для каждого образца;
- экстраполированное значение кольцевой деформации или растяжения для соответствующего значения времени (см.
раздел 8);
- любые факторы, которые могли повлиять на результаты испытания, такие как случайный отказ оборудования или функциональные детали, которые не описаны в настоящем стандарте;
- дату проведения испытания.
(справочное)
ОРИГИНАЛЬНЫЙ ТЕКСТ МОДИФИЦИРОВАННЫХ СТРУКТУРНЫХ ЭЛЕМЕНТОВ
ДА.1
1 Область применения
Настоящий международный стандарт устанавливает требования к методу определения свойств химической стойкости труб и фитингов из реактопластов, армированных стекловолокном DN 100 или больше в условиях деформации.
Совместно с ISO 10928 настоящий международный стандарт определяет метод оценки воздействия химической среды после заданного периода времени на внутреннюю часть трубы или фитинга. Условия испытания и требования установлены в ссылочном международном стандарте. ISO 10467 ссылается на данный международный стандарт.
Примечание - Было выявлено, что воздействие химических сред может быть ускорено из-за растяжения, вызванного деформацией, поэтому часто применяют термин коррозия растяжения.
Примечание - Редакция раздела изменена для приведения в соответствие с требованиями ГОСТ 1.5-2001
(пункт 3.7).
ДА.2
4 Сущность метода
Внутренняя часть образца для испытаний подвергается воздействию коррозирующей испытательной среды при заданной температуре, при поддерживаемой диаметральной деформации. Испытание повторяется при нескольких значениях деформации, используя каждый раз новый образец для испытаний и записывая время до разрушения при утечке при каждой деформации. Результаты используют для расчета экстраполированного значения деформации для заданного периода времени.
Альтернативно экстраполяция может быть построена по расчетному или измеренному растяжению. Растяжение может быть измерено при помощи датчика деформаций.
Примечание - Использование растяжения позволяет испытывать образцы для испытаний различной толщины и прочности. Деформация и растяжение взаимосвязаны при расчете.
При установлении требований к испытаниям в стандарте необходимо ссылаться на настоящий стандарт:
a) состав испытательной среды (см. раздел 5);
b) количество и длина образцов для испытаний (см. раздел 7);
c) применяемое предварительное кондиционирование (см. раздел 9);
d) температура испытаний (см. 10.1 или 11.1);
e) если разрушение не происходит (см. 10.11 и 11.11), установленные уровни деформации и соответствующие минимальные временные интервалы;
f) промежуток времени, для которого должна быть построена экстраполяция (см. раздел 12).
Примечание - Редакция раздела изменена в соответствии с требованием ГОСТ 1.5-2001
(пункт 7.9.5).
ДА.3
5 Испытательная среда
Испытательная среда должна быть установлена в ссылочном стандарте. Количество должно быть существенным, чтобы достичь и поддерживать во время проведения испытания установленную высоту уровня среды (см. 10.7 или 11.7).
Примечание - Редакция раздела изменена в соответствии с требованием ГОСТ 1.5-2001
(пункт 7.9.5).
ДА.4
6 Оборудование
6.1 Нагрузочная рама, состоящая из двух параллельных металлических секций и стержней с резьбой, при помощи которых поддерживается постоянное значение деформации образца для испытаний (см. рисунок 1 для стандартного комплекта для испытаний). Секции должны быть жесткими, и во время сжимания образца не должно происходить видимого сгибания или деформации секций. Каждая секция должна иметь длину на 30 мм больше, чем длина образца, и ширину не меньше 100 мм.
6.2 Средства измерения линейных размеров:
a) измерение длины, диаметра и толщины стенки с точностью +/- 0,5%;
b) изменение диаметра образца для испытаний в вертикальном направлении с точностью +/- 1,0% от максимального значения изменения;
c) если используется фольговый тензорезистор, он должен подходить для максимально ожидаемого растяжения и быть соответствующей длины, подходящей для диаметра трубы.
Тензорезисторы длиной 6 мм и 12 мм эффективны для труб диаметрами от 300 мм до 600 мм. Необходима консультация с производителем тензорезистора по подбору длины для труб других диаметров.
Примечание - Редакция раздела изменена в соответствие с требованием ГОСТ 1.5-2001
(пункт 7.9.6).
ДА.5
10.11 Если же разрушения не происходит совсем, необходимо применить альтернативные процедуры (специальные уровни), как описано в ссылочном стандарте или ISO 10467.
Примечание - Редакция раздела изменена, так как ссылка на ISO 10467, который не разработан в качестве межгосударственного стандарта, заменена соответствующим текстом.
ДА.6
11.11 Если же разрушения не происходит совсем, следует применить процедуры с использованием специальных уровней, как описано в ссылочном стандарте или ISO 10467.
Примечание - Редакция раздела изменена, так как ссылка на ISO 10467, который не разработан в качестве межгосударственного стандарта, заменена соответствующим текстом.
(справочное)
СВЕДЕНИЯ О СООТВЕТСТВИИ ССЫЛОЧНОГО МЕЖГОСУДАРСТВЕННОГО
СТАНДАРТА МЕЖДУНАРОДНОМУ СТАНДАРТУ, ИСПОЛЬЗОВАННОМУ
В КАЧЕСТВЕ ССЫЛОЧНОГО В ПРИМЕНЕННОМ МЕЖДУНАРОДНОМ СТАНДАРТЕ
Таблица ДБ.1
Обозначение ссылочного межгосударственного стандарта | Степень соответствия | Обозначение и наименование ссылочного международного стандарта |
| NEQ | ISO 10928:2009 "Трубопроводы пластмассовые. Трубы и фитинги из термореактивных стеклопластиков (GRP). Методы регрессионного анализа и их применение" |
Примечание - В настоящей таблице использовано следующее условное обозначение степени соответствия стандарта: - NEQ - неэквивалентный стандарт. |
(справочное)
СОПОСТАВЛЕНИЕ СТРУКТУРЫ НАСТОЯЩЕГО СТАНДАРТА
СО СТРУКТУРОЙ ПРИМЕНЕННОГО В НЕМ МЕЖДУНАРОДНОГО СТАНДАРТА
Таблица ДВ.1
Структура настоящего стандарта | Структура международного стандарта ISO 10952 |
Раздел | Подраздел | Пункт | Раздел | Подраздел | Пункт |
| - | - | 1 | - | - |
| - | - | 2 | - | - |
| | - | 3 | 3.1 - 3.2 | - |
| - | - | 4 | - | - |
| | - | 6 | 6.2 | - |
| - | 6.1 | - |
| - | 5 | - | - |
| | - | 7 | 7.1 | - |
| - | 7.2 | - |
| - | 9 | - | - |
| - | 10, 11 | 10.1, 11.1 | - |
| - | 8 | 8.1 | - |
- | | 8.1 | - |
- | | 8.2 | - |
- | | 8.3 | - |
| | | 10 | 10.2 | - |
| 10.3 | - |
| 10.4 | - |
| 10.5 | - |
| 10.7 | - |
| 10.8 | - |
| 10.9 | - |
| 10.10 | - |
| 10.11 | - |
| | 10, 11 | 10.6, 11.2 | - |
| 11 | 11.3 | - |
| 11.4 | - |
| 11.5 | - |
| 11.6 | - |
| 11.7 | - |
| 11.8 | - |
| 11.9 | - |
| 11.10 | - |
| 11.11 | - |
| - | - | 12 | - | - |
| - | - | 13 | - | - |
| - |
Примечания 1 Структура настоящего стандарта изменена относительно примененного международного стандарта для приведения в соответствие с требованиями, установленными в ГОСТ 1.5-2001 ( подразделы 4.2 - 4.3, 7.9). 2 Внесены дополнительные приложения ДА - ДВ в соответствии с требованиями, установленными к оформлению межгосударственного стандарта, модифицированного по отношению к международному стандарту. |
УДК 678.742-462:006.354 | | (MOD) |
Ключевые слова: стеклокомпозитные трубы и фитинги, реактопласты, методы испытаний, химическая стойкость, кольцевая деформация, растяжение, регрессионный анализ |