Главная // Актуальные документы // ГОСТ Р (Государственный стандарт)СПРАВКА
Источник публикации
М.: ФГБУ "РСТ", 2022
Примечание к документу
Документ
введен в действие с 01.12.2022.
Название документа
"ГОСТ Р 56427-2022. Национальный стандарт Российской Федерации. Пайка электронных модулей радиоэлектронных средств. Автоматизированный смешанный и поверхностный монтаж с применением бессвинцовой и традиционной технологии. Требования к технологии сборки и монтажа"
(утв. и введен в действие Приказом Росстандарта от 26.05.2022 N 378-ст)
"ГОСТ Р 56427-2022. Национальный стандарт Российской Федерации. Пайка электронных модулей радиоэлектронных средств. Автоматизированный смешанный и поверхностный монтаж с применением бессвинцовой и традиционной технологии. Требования к технологии сборки и монтажа"
(утв. и введен в действие Приказом Росстандарта от 26.05.2022 N 378-ст)
Утвержден и введен в действие
по техническому регулированию
и метрологии
от 26 мая 2022 г. N 378-ст
НАЦИОНАЛЬНЫЙ СТАНДАРТ РОССИЙСКОЙ ФЕДЕРАЦИИ
ПАЙКА ЭЛЕКТРОННЫХ МОДУЛЕЙ РАДИОЭЛЕКТРОННЫХ СРЕДСТВ
АВТОМАТИЗИРОВАННЫЙ СМЕШАННЫЙ И ПОВЕРХНОСТНЫЙ МОНТАЖ
С ПРИМЕНЕНИЕМ БЕССВИНЦОВОЙ И ТРАДИЦИОННОЙ ТЕХНОЛОГИИ
ТРЕБОВАНИЯ К ТЕХНОЛОГИИ СБОРКИ И МОНТАЖА
Soldering of electronic modules of radio-electronic
means. Automated mixed and surface mounting using lead-free
and conventional technology. Requirements for assembly
and installation technology
ГОСТ Р 56427-2022
Дата введения
1 декабря 2022 года
1 Разработан Обществом с ограниченной ответственностью "Научно-технический центр технологической стандартизации и сертификации" (ООО "Авангард-ТехСт"), Открытым акционерным обществом "Авангард" (ОАО "Авангард") и Федеральным государственным бюджетным учреждением "Российский институт стандартизации" (ФГБУ "РСТ")
2 ВНЕСЕН Техническим комитетом по стандартизации ТК 420 "Базовые несущие конструкции, печатные платы, сборка и монтаж электронных модулей"
3 УТВЕРЖДЕН И ВВЕДЕН В ДЕЙСТВИЕ
Приказом Федерального агентства по техническому регулированию и метрологии от 26 мая 2022 г. N 378-ст
Правила применения настоящего стандарта установлены в статье 26 Федерального закона от 29 июня 2015 г. N 162-ФЗ "О стандартизации в Российской Федерации". Информация об изменениях к настоящему стандарту публикуется в ежегодном (по состоянию на 1 января текущего года) информационном указателе "Национальные стандарты", а официальный текст изменений и поправок - в ежемесячном информационном указателе "Национальные стандарты". В случае пересмотра (замены) или отмены настоящего стандарта соответствующее уведомление будет опубликовано в ближайшем выпуске ежемесячного информационного указателя "Национальные стандарты". Соответствующая информация, уведомление и тексты размещаются также в информационной системе общего пользования - на официальном сайте Федерального агентства по техническому регулированию и метрологии в сети Интернет (www.rst.gov.ru)
Настоящий стандарт распространяется на электронные модули радиоэлектронных средств и устанавливает технические требования к выполнению технологических операций пайки электронных модулей радиоэлектронных средств при поверхностном монтаже, монтаже в сквозные отверстия и смешанном монтаже с применением бессвинцовой и традиционной технологий.
Требования настоящего стандарта предназначены для использования всеми производителями и распространяются на изделия, поставляемые контрагентами.
В настоящем стандарте использованы нормативные ссылки на следующие стандарты:
ГОСТ 23752 Платы печатные. Общие технические условия
ГОСТ 29137 Формовка выводов и установка изделий электронной техники на печатные платы. Общие требования и нормы конструирования
ГОСТ IEC 61340-5-1 Электростатика. Защита электронных устройств от электростатических явлений. Общие требования
ГОСТ Р 53432 Платы печатные. Общие технические требования к производству
ГОСТ Р 54849 (IPC-SM-840E:2010) Маска паяльная защитная для печатных плат. Общие технические условия
ГОСТ Р МЭК 61191-1 Печатные узлы. Часть 1. Поверхностный монтаж и связанные с ним технологии. Общие технические требования
ГОСТ Р МЭК 61192-1 Печатные узлы. Требования к качеству. Часть 1. Общие технические требования
ГОСТ Р МЭК 61192-3 Печатные узлы. Требования к качеству. Часть 3. Монтаж в сквозные отверстия
Примечание - При пользовании настоящим стандартом целесообразно проверить действие ссылочных стандартов в информационной системе общего пользования - на официальном сайте Федерального агентства по техническому регулированию и метрологии в сети Интернет или по ежегодному информационному указателю "Национальные стандарты", который опубликован по состоянию на 1 января текущего года, и по выпускам ежемесячного информационного указателя "Национальные стандарты" за текущий год. Если заменен ссылочный стандарт, на который дана недатированная ссылка, то рекомендуется использовать действующую версию этого стандарта с учетом всех внесенных в данную версию изменений. Если заменен ссылочный стандарт, на который дана датированная ссылка, то рекомендуется использовать версию этого стандарта с указанным выше годом утверждения (принятия). Если после утверждения настоящего стандарта в ссылочный стандарт, на который дана датированная ссылка, внесено изменение, затрагивающее положение, на которое дана ссылка, то это положение рекомендуется применять без учета данного изменения. Если ссылочный стандарт отменен без замены, то положение, в котором дана ссылка на него, рекомендуется применять в части, не затрагивающей эту ссылку.
3 Термины, определения и сокращения
3.1 В настоящем стандарте применены следующие термины с соответствующими определениями:
3.1.1 автоматизированный монтаж: Сборка и монтаж электронной компонентной базы на печатные платы с применением технологических материалов, выполняемые с помощью специального оборудования.
3.1.2 автоматизированный смешанный монтаж: Автоматизированный монтаж с возможностью установки компонентов в отверстия.
3.1.3 бессвинцовая технология монтажа: Монтаж электронной компонентной базы с применением припоев, финишных покрытий печатных плат и выводов компонентов, не содержащих свинец.
3.1.4 гарантийный срок хранения: Период времени, в течение которого изготовитель гарантирует сохраняемость всех установленных стандартами эксплуатационных показателей и потребительских свойств продукции при условии соблюдения потребителем правил ее хранения.
3.1.5 комбинированная технология монтажа: Поверхностный монтаж радиоэлектронных изделий в корпусах с матрично расположенными бессвинцовыми шариковыми выводами (BGA) по традиционной технологии.
3.1.6 монтаж в сквозные отверстия: Монтаж изделий электронной техники в отверстия печатной платы.
3.1.7 неэвтектическое соединение: Оловянно-свинцовое паяное соединение, образованное припоями системы олово - свинец и содержащее менее 30% свинца в составе.
3.1.8 околоэвтектическое соединение: Оловянно-свинцовое паяное соединение, образованное припоями системы олово - свинец и содержащее от 30% до 40% свинца в составе.
3.1.9 поверхностный монтаж: Монтаж поверхностно-монтируемых изделий на поверхность печатной платы.
3.1.10 реболлинг: Технология удаления и последующего восстановления шариковых выводов компонентов в корпусах с матрично расположенными шариковыми выводами (BGA).
3.1.11 смешанный монтаж: Установка на одну печатную плату компонентов в корпусах для поверхностного монтажа и монтажа в отверстие.
3.1.12 срок годности: Время, в течение которого чувствительные к влаге поверхностно-монтируемые изделия или печатные платы, упакованные в сухом состоянии, могут храниться в закрытом влагонепроницаемом пакете с сохранением требуемого уровня влажности внутри упаковки.
3.1.13 температура пайки: Температура в контакте соединяемых электромонтажных элементов и расплавленного припоя, при которой обеспечивается формирование паяного соединения.
3.1.14 традиционная [оловянно-свинцовая] технология пайки: Монтаж электронной компонентной базы с применением припоев, содержащих не менее 30% свинца.
3.2 В настоящем стандарте применены следующие сокращения:
ИМС - интегральная микросхема;
ИЭТ - изделия электронной техники;
КТЛР - коэффициент теплового линейного расширения;
НД - нормативные документы;
ПМИ - поверхностно-монтируемые изделия;
ПП - печатная плата;
ПУ - печатный узел;
РЭС - радиоэлектронные средства;
ТУ - технические условия;
ЭКБ - электронная компонентная база;
ЭМ - электронный модуль;
BGA - компонент с матричным расположением выводов (Ball Grid Array);
CSP - корпус с размерами кристалла (Chip Scale Package);
ENEPIG - иммерсионное золото, поверх подслоя химического никеля и палладия (Electroless Ni/Electroless Pd/Immersion Au);
ENIG - покрытие иммерсионным золотом по подслою никеля (Electroless nickel/immersion gold);
QFN - квадратный плоский безвыводной корпус (Quad-flat no-leads);
HASL - горячее лужение с выравниванием воздушным ножом (Hot Air Solder Leveling);
IMAG - иммерсионное серебро (Immersion argentum);
IMSN - иммерсионное олово (Immersion stannum);
MSL - уровень чувствительности к влаге (Moisture Sensitivity Level);
OSP - органическое защитное покрытие (Organic solderability preservative).
4.1 Производственный персонал, занятый на технологических операциях пайки, должен проходить периодическую аттестацию в соответствии с действующими на предприятиях положениями.
4.2 На всех этапах производства, а также на складах и непосредственно на рабочих местах, в том числе при любых операциях с ЭКБ, следует руководствоваться мероприятиями по защите от влияния статического электричества в соответствии с
ГОСТ IEC 61340-5-1.
4.3 В зависимости от конструкции ПУ и ЭМ, их области применения и типа используемого оборудования разрабатывают технологический процесс сборки и монтажа. Типовые схемы технологического процесса сборки и монтажа ПУ и ЭМ различных конструкций приведены на
рисунках 1 -
5.
Рисунок 1 - Типовая структурная схема технологического
процесса изготовления ЭМ одностороннего поверхностного
монтажа
Рисунок 2 - Типовая структурная схема технологического
процесса изготовления электронных модулей двустороннего
поверхностного монтажа
Рисунок 3 - Типовая структурная схема технологического
процесса изготовления ЭМ смешанного совмещенного монтажа
Рисунок 4 - Типовая структурная схема технологического
процесса изготовления ЭМ сложного смешанного монтажа
а - без применения клея
б - с применением клея
Примечание - Для схемы б не допускается применять компоненты с матричными выводами типа BGA, компоненты типа QFN и компоненты в металлокерамических корпусах.
Рисунок 5 - Типовые структурные схемы технологического
процесса изготовления ЭМ смешанного разнесенного монтажа
5 Общие требования к технологии пайки электронных модулей радиоэлектронных средств
5.1.1 Общие требования к технологии пайки электромонтажных соединений ЭМ РЭС - в соответствии с
ГОСТ Р МЭК 61191-1.
5.1.2 Требования к технологии пайки электромонтажных соединений ЭМ РЭС различаются в зависимости от классификации электронных и электрических сборок в соответствии с их назначением в РЭС по
ГОСТ Р МЭК 61191-1:
- класс A - электронные изделия общего применения;
- класс B - специализированная электронная аппаратура;
- класс C - электронная аппаратура ответственного назначения.
Ответственным за определение класса электронных и электрических сборок, к которому принадлежит изделие, является заказчик. Реальные требования к РЭС могут находиться между приведенными классами. Класс задается в контракте, в котором указываются исключения или дополнительные требования к параметрам изделия.
5.2 Общие требования к применяемым материалам
5.2.1 Общие требования к применяемым сплавам
5.2.1.1 При пайке ЭМ РЭС класса C по традиционной технологии должны быть использованы только сплавы, содержащие не менее 30% свинца (ПОС-61, ПОСК 50-18 и аналогичные).
Примечание - При необходимости ступенчатой пайки электронных модулей РЭС допускается применение низкотемпературных припоев с температурой плавления ниже 179 °C и указанных в НД и технической документации.
5.2.1.2 При пайке ЭМ РЭС классов A и B для Российской Федерации должны быть использованы содержащие свинец сплавы. По требованию заказчика допускается использовать бессвинцовые сплавы.
5.2.1.3 Для пайки ЭМ РЭС классов A и B, предназначенных для продажи за пределами Российской Федерации, а также при работе по бессвинцовой технологии, следует применять бессвинцовые сплавы, если иное не предусмотрено контрактом.
5.2.1.4 При работе по комбинированной технологии (при пайке РЭС классов A и B) должны быть использованы сплавы, содержащие не менее 30% свинца (ПОС-61, ПОСК 50-18 и аналогичные).
5.2.2 Общие требования к применяемым флюсам
5.2.2.1 Флюсы для пайки электромонтажных соединений ЭМ РЭС должны быть классифицированы по следующим признакам:
- температурному интервалу активности (низкотемпературные до 450 °C и высокотемпературные свыше 450 °C);
- природе растворителя (водные и неводные);
- природе активатора определяющего действия (для низкотемпературных флюсов: канифольные, кислотные, галогенидные, гидразиновые, фторборатные, анилиновые и стеариновые; для высокотемпературных флюсов: галогенидные, фторборатные и боридно-углекислые);
- механизму действия (защитные, химического действия, электрохимического действия и реактивные);
- агрегатному состоянию (твердые, жидкие и пастообразные);
- классам активности (класс L - низкая активность флюса или отсутствие активности остатков флюса, класс M - средняя активность флюса/остатков флюса, класс H - высокая активность флюса/остатков флюса).
Примечания
1 В наименовании флюса, содержащего несколько активаторов, необходимо называть все активаторы (канифольно-галогенидный флюс, фторборатно-галогенидный флюс и т.п.).
2 Допускается применять флюсы, указанные в НД и технической документации.
5.2.2.2 Классы флюсов для пайки электромонтажных соединений ЭМ РЭС по
5.2.2.1 должны дополнительно характеризоваться добавлением индекса 0 или 1, который показывает соответственно отсутствие или наличие во флюсе галогенов.
5.2.2.3 Для пайки электромонтажных соединений ЭМ РЭС класса C должны быть использованы только флюсы класса L0. Отмывка изделий от остатков флюса после пайки обязательна.
5.2.2.4 Для пайки электромонтажных соединений ЭМ РЭС классов A и B по традиционной и бессвинцовой технологиям, допускается использовать флюсы любого класса. Рекомендуется отмывка изделий от остатков флюса после пайки.
5.2.2.5 Для пайки электромонтажных соединений ЭМ РЭС класса B по комбинированной технологии рекомендовано применять флюсы классов M0 и H0 с последующей обязательной отмывкой изделий от остатков флюса после пайки.
5.3 Общие требования к применяемой электронной компонентной базе
5.3.1 При пайке ЭМ РЭС класса C по традиционной технологии допускается применение выводных и безвыводных компонентов поверхностного монтажа, выводных компонентов, монтируемых в отверстия, с финишными покрытиями выводов, приведенными в
6.2, при условии их качественного смачивания оловянно-свинцовым припоем, а также допускается применение компонентов в корпусах типа BGA с шариковыми выводами из оловянно-свинцового припоя. Во всех указанных случаях при пайке должны образовываться традиционные оловянно-свинцовые паяные соединения околоэвтектического состава.
5.3.2 При пайке ЭМ классов A и B по бессвинцовой технологии допускается применение выводных и безвыводных компонентов поверхностного монтажа, выводных компонентов, монтируемых в отверстия, с финишными покрытиями выводов, приведенными в
6.2, при условии их качественного смачивания бессвинцовым припоем, а также допускается применение компонентов в корпусах типа BGA с шариковыми выводами из бессвинцового припоя. Покрытия выводных компонентов, монтируемых в отверстие, а также выводных и безвыводных компонентов поверхностного монтажа, не должны содержать свинец в своем составе.
5.3.3 При пайке ЭМ классов A и B оловянно-свинцовым припоем компонентов в корпусах типа BGA с шариковыми выводами из бессвинцового припоя допускается проводить монтаж по комбинированной технологии, если иное не предусмотрено контрактом. При монтаже должны образовываться оловянно-свинцовые паяные соединения неэвтектического состава.
5.4 Общие требования к финишным покрытиям контактных площадок печатных плат
5.4.1 При пайке ЭМ РЭС класса C по традиционной технологии следует применять ПП с финишным покрытием контактных площадок из оловянно-свинцового припоя (HASL Sn-Pb), иммерсионного золота (ENIG) или иммерсионного олова (IMSN).
5.4.2 Для пайки ЭМ классов A и B по традиционной технологии, по согласованию с заказчиком, допускается использование в качестве покрытия контактных площадок ПП иммерсионное серебро (IMAG), химическое олово и органическое финишное покрытие.
5.4.3 При пайке ЭМ классов A и B по бессвинцовой технологии не допускается применение ПП с финишным покрытием контактных площадок, содержащим свинец. Допускается применять любые финишные покрытия контактных площадок ПП, не содержащие свинец, при условии обеспечения ими хорошей смачиваемости припоем используемого сплава.
5.4.4 При пайке ЭМ классов A и B с применением комбинированной технологии допускается использование ПП с любыми финишными покрытиями контактных площадок (кроме бессвинцового HASL), при условии обеспечения ими хорошей смачиваемости припоем используемого сплава.
6 Требования к электронной компонентной базе
6.1 Требования к механической обработке выводов компонентов
6.1.1 Требования к механической обработке выводов компонентов, монтируемых в сквозные отверстия, такие как: формовка, обрезка, загиб выводов - в соответствии с ГОСТ 29137 и
ГОСТ Р МЭК 61192-3.
6.1.2 Требования к формовке компонентов поверхностного монтажа - в соответствии с ГОСТ 29137 и
ГОСТ Р МЭК 61191-2.
6.1.2.1 Компоненты в корпусах типа BGA, чип-компоненты и ПМИ, имеющие форму выводов в виде торцевых контактных поверхностей, не требуют предварительной механической подготовки выводов.
6.1.3 Компоненты в корпусах типа BGA, чип-компоненты и большинство компонентов для поверхностного монтажа зарубежного производства не требуют предварительной механической подготовки выводов.
6.2 Требования к предварительному лужению и финишным покрытиям выводов компонентов
6.2.1 Требования к предварительному лужению выводов компонентов - в соответствии с
ГОСТ Р МЭК 61192-3.
6.2.1.1 Требования к предварительному лужению выводов компонентов, монтируемых в отверстия - в соответствии с
ГОСТ Р МЭК 61192-3.
Примечание - Допускается руководствоваться требованиями к лужению, приведенными в НД и технической документации.
6.2.2 Компоненты в корпусах типа BGA, чип-компоненты и большинство компонентов для поверхностного монтажа не требуют предварительного лужения выводов.
6.2.2.1 При необходимости лужение поверхностно монтируемых компонентов - в соответствии с
ГОСТ Р МЭК 61191-1.
6.2.2.2 При автоматизированной установке ЭРИ и групповом монтаже с использованием паяльной пасты допускается лужение не проводить.
6.2.3 При пайке ЭМ классов A и B по традиционной, бессвинцовой или комбинированной технологии допускается использование компонентов без предварительного лужения или финишного покрытия выводов при условии использования высокоактивных флюсов класса M или H. При пайке ЭМ класса C лужение компонентов, монтируемых в сквозные отверстия, - в соответствии с
ГОСТ Р МЭК 61191-1,
ГОСТ Р МЭК 61192-3.
6.2.4 Финишные покрытия выводов, монтируемых в отверстие, выводных и безвыводных компонентов поверхностного монтажа (кроме BGA и аналогичных) и их область применения приведены в
таблице 1.
Тип покрытия выводного компонента | Область применения | Срок сохранения паяемости компонентов, мес |
Свинцовая технология | Бессвинцовая технология |
Блестящее олово (Sn) | + | + | 12 |
Блестящее олово (Sn), отожженное | + | + | 12 |
Блестящее олово (Sn), оплавленное | + | + | 12 |
Блестящее олово (Sn), оплавленное поверх слоя никеля (Ni) | + | + | 12 |
Блестящее олово (Sn), с защитным слоем никеля (Ni) | + | + | 12 |
Блестящее олово (Sn), с защитным слоем серебра (Ag) | + | + | 3 |
Полуматовое олово (Sn) | + | + | 12 |
Матовое олово/медь (Sn/Cu) | + | + | 12 |
Матовое олово (Sn) | + | + | 12 |
Матовое олово (Sn), отожженное | + | + | 12 |
Матовое олово (Sn), оплавленное | + | + | 12 |
Матовое олово (Sn), оплавленное поверх слоя никеля (Ni) | + | + | 12 |
Матовое олово (Sn), с защитным слоем никеля (Ni) | + | + | 12 |
Матовое олово (Sn), с защитным слоем серебра (Ag) | + | + | 12 |
Олово (Sn) | + | + | 12 |
Олово (Sn), нанесенное погружением в расплав | + | + | 12 |
Олово (Sn), иммерсионное | + | + | 12 |
Олово (Sn), оплавленное | + | + | 12 |
Никель (Ni) | + | + | 12 |
Никель/золото (Ni/Au) менее 2% Au | + | + | 12 |
Никель/золото (Ni/Au), электролитическое покрытие менее 2% Au | + | + | 12 |
Никель/палладий (Ni/Pd) | + | + | 12 |
Никель/палладий/золото (Ni/Pd/Au) менее 2% Au | + | + | 12 |
Палладий (Pd) | + | + | 12 |
Платина/палладий/серебро (Pt/Pd/Ag) | + | + | 1 |
Серебро (Ag) | + | + | 1 |
Серебро (Ag), электроосажденное | + | + | 1 |
Серебро (Ag), иммерсионное | + | + | 1 |
Серебро (Ag), с защитным слоем никеля (Ni) | + | + | 3 |
Серебро/палладий (Ag/Pd) | + | + | 6 |
Серебро/палладий (Ag/Pd), защитный слой Ni | + | + | 6 |
Олово/висмут (SnBi), менее 3% Bi | + | + | 12 |
Олово/медь (Sn/Cu) | + | + | 12 |
Олово/медь (Sn/Cu), отожженное | + | + | 12 |
Олово/медь (Sn/Cu), нанесенное погружением в расплав | + | + | 12 |
Олово/свинец (Sn85Pb15), гальваническое | + | - | 12 |
Олово/серебро (Sn/Ag) | + | + | 6 |
Олово/серебро (Sn/Ag), нанесенное погружением в расплав | + | + | 6 |
Олово/серебро (Sn/Ag), гальваническое | + | + | 6 |
Олово/серебро/висмут (Sn/Ag/Bi), менее 3% Bi | + | + | 12 |
Олово/серебро/висмут/медь (Sn/Ag/Bi/Cu), менее 3% Bi | + | + | 12 |
Олово/серебро/медь (Sn/Ag/Cu) | + | + | 12 |
Олово/серебро/медь (Sn/Ag/Cu), погружение в расплав | + | + | 12 |
Примечания 1 Типы покрытий ИЭТ отечественного производства и сроки сохранения паяемости указаны в ТУ на них. 2 Хранение ИЭТ в шкафу сухого хранения (влажность не более 5%) имеет неограниченный срок годности. 3 Сушку влагочувствительных электронных компонентов, предназначенных для точечной ручной пайки, паяльником не производить. |
6.3 Требования к визуальному осмотру компонентов
6.3.1 Визуальный осмотр проводят для компонентов поверхностного монтажа в случае автоматизированной сборки без оснащения установщика функцией визуального контроля компонентов. Компоненты должны быть проверены на отсутствие повреждений, иметь сопроводительные документы и быть уложены в антистатическую тару, а влагочувствительные компоненты - во влагостойкую защитную тару.
6.3.2 Перед сборкой следует визуально проверить расположение компонентов (в ленте, паллете, тубе и т.п.) в приспособлении оборудования для их установки, которые должны быть сориентированы в одном направлении с помощью метки (ключа) первого вывода.
6.3.3 Диапазон размеров шарикового вывода для наиболее распространенных типов BGA приведен в
таблице 2. В общем случае разница диаметров между самым маленьким и самым большим выводом компонента не должна превышать 30%.
В миллиметрах
Минимальный размер | Номинальный размер | Максимальный размер |
0,65 | 0,75 | 0,90 |
0,50 | 0,60 | 0,70 |
0,45 | 0,50 | 0,55 |
0,40 | 0,45 | 0,50 |
0,35 | 0,40 | 0,45 |
0,25 | 0,30 | 0,35 |
0,22 | 0,25 | 0,28 |
0,18 | 0,20 | 0,22 |
0,13 | 0,15 | 0,17 |
6.3.4 Проверка количества и расположения выводов BGA
6.3.4.1 Для ПУ РЭС классов C и B не допускается отсутствие шарикового вывода, не предусмотренное конструкцией компонента. Для ПУ РЭС класса A по решению главного конструктора допускается отсутствие незначительного количества предусмотренных конструкцией компонента шариковых выводов, если оно не несет функциональной нагрузки.
6.3.4.2 Для сборки и монтажа ПУ РЭС класса C не допускается использовать компоненты типа BGA, у которых контактные площадки ограничены паяльной маской.
6.3.4.3 Для ЭМ РЭС классов A и B допускается применять компоненты с матричными выводами как с не ограниченными маской, так и с ограниченными маской шариковыми выводами.
6.4 Требования к сушке электронных компонентов
6.4.1 Для обеспечения качества и повторяемости технологического процесса пайки перед монтажом на ПП электронные компоненты должны проходить процедуру сушки, так как влага, скопившаяся в теле компонента при нагреве и кипении, может привести к смещению компонента или образованию пустот в паяном соединении.
6.4.2 Компоненты отечественного производства должны содержать надлежащую упаковку и иметь четкую маркировку, условия хранения и обращения с ними после вскрытия упаковки. Сушку отечественных компонентов следует проводить в соответствии с НД (например, ТУ) на них.
6.4.3 Компоненты иностранного производства следует характеризовать уровнем чувствительности к влаге (MSL), определяющим надлежащую упаковку компонента, условия хранения и обращения с ними после вскрытия упаковки. Информация по уровню MSL для компонентов иностранного производства должна быть указана на упаковке или в спецификации на компонент или в сопроводительной документации.
6.4.4 Классификацию MSL следует применять к ИМС в пластмассовой конструкции. Керамические конструкции полупроводниковых элементов являются герметичными и не классифицируются по уровню чувствительности к влажности.
6.4.5 Порядок обращения с электронными компонентами, чувствительными к влажности, приведен в
таблице 3.
Уровень (класс) MSL | Хранение без упаковки |
Время | Условия, не более |
Температура, °C | Влажность, % |
1 | Неограниченно | 30 | 85 |
2 | Один год | 30 | 60 |
2a | Четыре недели | 30 | 60 |
3 | 168 ч | 30 | 60 |
4 | 72 ч | 30 | 60 |
5 | 48 ч | 30 | 60 |
Примечания 1 Материал блистерной ленты выдерживает температуру до 50 °C, при превышении этой температуры лента повреждается. Поэтому сушка чувствительных к влажности компонентов на ленте может занять несколько дней. 2 Необходимо проводить сушку чип-компонентов, упакованных в ленты на катушках, в соответствии с уровнем MSL, указанным на упаковке, или в спецификации на компонент, или в сопроводительной документации. |
6.4.6 Компоненты, чувствительные к влажности, следует хранить в запечатанной упаковке с вложенным внутрь веществом - поглотителем влаги. После вскрытия упаковки компоненты следует хранить в камерах (шкафах) сухого хранения при контролируемых температуре и влажности. При превышении времени хранения во вскрытой упаковке перед использованием компоненты должны быть подвергнуты термообработке на стандартных либо ускоренных режимах (см.
таблицу 3).
6.4.7 Компоненты, хранящиеся во вскрытой упаковке в условиях производства при несоблюдении условий микроклимата, должны быть просушены в режимах, указанных в
таблице 4, в зависимости от толщины корпуса и времени пребывания ПМИ в нерегламентируемых условиях.
Толщина корпуса ПМИ, мм | Уровень (класс) MSL | Сушка при 125 °C, ч | Сушка при 90 °C и относительной влажности 5% | Сушка при 40 °C и относительной влажности 5% |
<= 1,5 | 2 | 5 | 17 ч | 8 дней |
2a | 7 | 23 ч | 9 дней |
3 | 9 | 33 ч | 13 дней |
4 | 11 | 37 ч | 15 дней |
5 | 12 | 41 ч | 17 дней |
5a | 16 | 54 ч | 22 дня |
> 1,5 <= 2,0 | 2 | 18 | 63 ч | 25 дней |
2a | 21 | 3 дня | 29 дней |
3 | 27 | 4 дня | 37 дней |
4 | 34 | 5 дней | 47 дней |
5 | 40 | 6 дней | 57 дней |
5a | 48 | 8 дней | 79 дней |
> 2,0 <= 5,0 | 2 | 48 | 10 дней | 79 дней |
2a | 48 | 10 дней | 79 дней |
3 | 48 | 10 дней | 79 дней |
4 | 48 | 10 дней | 79 дней |
5 | 48 | 10 дней | 79 дней |
5a | 48 | 10 дней | 79 дней |
BGA > 17 x 17 мм или любые многослойные ПМИ | 2 - 6 | 96 | Не применимо | Не применимо |
6.4.8 Для изделий РЭС класса C сушка компонентов в корпусах BGA обязательна. Если иные параметры не указаны в технической документации на компонент, сушка должна осуществляться при температуре 125 °C в течение 24 ч. После сушки компоненты должны быть смонтированы в течение 8 ч.
6.4.9 Для изделий РЭС классов A и B рекомендуется проводить сушку компонентов в корпусах BGA.
6.5 Требования к реболлингу компонентов с матричными выводами
6.5.1 При производстве РЭС класса C по традиционной технологии пайки, не допускается применение компонентов типа BGA с выводами в бессвинцовом исполнении. При отсутствии необходимого компонента в исполнении с оловянно-свинцовыми шариковыми выводами, должна быть проведена замена бессвинцовых выводов оловянно-свинцовыми.
6.5.2 При необходимости восстановления поврежденных (отсутствующих) шариковых выводов допускается проведение операции допайки отсутствующих выводов.
6.5.3 Допускается использовать операцию реболлинга в процессе ремонта компонентов типа BGA на ПУ.
6.5.4 Требования к процессу реболлинга
6.5.4.1 Перед проведением реболлинга компонент должен быть высушен согласно
6.4 для удаления в нем накопленной влаги, негативно влияющей на процесс оплавления припоя.
6.5.4.2 При проведении реболлинга должны быть приняты меры по защите от воздействия статического электричества.
6.5.4.3 Применяемые при реболлинге материалы должны иметь сертификаты с указанием даты изготовления, марки и срока годности.
6.5.4.4 Для проведения реболлинга применяют специализированные трафареты различных конструкций.
6.5.4.5 Диаметр апертуры трафарета для реболлинга должен быть на 4 - 10 мкм более диаметра устанавливаемого шарикового вывода.
6.5.4.6 Шаг выводов компонента должен совпадать с шагом апертур трафарета.
6.5.4.7 Трафарет для реболлинга должен быть выполнен из несмачиваемого припоем материала.
6.5.4.8 Для удаления бессвинцовых выводов с контактных площадок компонента BGA, в зависимости от имеющегося в распоряжении оборудования, должны быть использованы либо термофен (паяльник) с вакуумным отсосом, либо паяльник и медная плетенка для удаления припоя, либо ванна с расплавленным припоем.
6.5.4.9 Во время удаления бессвинцовых выводов не должно быть повреждения защитной маски компонента BGA.
6.6 Требования к маркировке и упаковке поверхностно-монтируемых изделий электронной компонентной базы
6.6.1 Упаковка ПМИ ЭКБ должна удовлетворять требованиям автоматизированного монтажа компонентов на ПП.
6.6.2 Маркировка ПМИ ЭКБ должна быть устойчивой к воздействию разрешенных к применению отмывочных жидкостей.
7 Требования к печатным платам
7.1 Требования к финишным покрытиям контактных площадок печатных плат
7.1.1 Требования к печатным платам с покрытием горячим лужением оловянно-свинцовым припоем (HASL Sn-Pb)
7.1.1.1 Горячее лужение оловянно-свинцовым припоем обладает наилучшей паяемостью и может сохранять свои свойства 6 мес без герметичной упаковки и 12 мес при условии герметичной упаковки. ПП, хранившиеся более 12 мес перед использованием, следует проверять на паяемость.
Примечание - При истечении срока хранения ПП перед запуском в производство следует проверять на паяемость.
7.1.1.2 Горячее лужение оловянно-свинцовым припоем следует применять для пайки плат 4-го класса по
ГОСТ Р 53429 и ниже.
7.1.2 Требование к печатным платам с покрытием иммерсионным золотом по подслою химического никеля (ENIG, химический никель - золото)
7.1.2.1 Покрытие из химического никеля/иммерсионного золота (ENIG) представляет собой тонкую (приблизительно от 0,05 до 0,2 мкм) золотую пленку, наносимую поверх подслоя никеля (приблизительно от 4 до 5 мкм). Золото хорошо растворяется в припое, не подвержено быстрому потускнению и окислению. Срок хранения ПП с финишным покрытием контактных площадок химический никель - золото составляет 12 мес без герметичной упаковки, но ПП, хранившиеся более 18 мес, перед использованием следует проверять на паяемость.
7.1.2.2 ENIG покрытие рекомендовано как для микросварки алюминиевой (или золотой) проволокой компонентов (кристаллы, диоды и т.д.), так и для пайки. Рекомендовано к использованию при реализации вышеуказанных процессов на одном электронном модуле или ПУ.
7.1.2.3 ПП следует поставлять с паспортом контроля контактных площадок ПП ENIG. При отсутствии паспорта по контролю контактных площадок ПП ENIG перед пайкой должен быть проведен контроль качества покрытия ENIG контактных площадок ПП, так как при нарушении технологического процесса нанесения покрытия ENIG имеется риск "отравления" фосфором поверхности контактных площадок ПП в визуально выраженном почернении (так называемого Black-Pad). Дефект вызывает отсутствие качественного паяного соединения, наблюдается отрыв компонентов от контактных площадок после процесса пайки и характерное почернение контактных площадок.
7.1.2.4 При использовании ПП с финишным покрытием контактных площадок ENIG целесообразно обеспечить минимальное содержание золота в оловянно-свинцовом припое, накопление которого более 4% по массе приводит к охрупчиванию паяного соединения и соответственно к снижению усталостной долговечности паяного соединения, а также слишком большое количество золота придает получающемуся паяному соединению тусклый, зернистый вид.
7.1.3 Требование к печатным платам с покрытием иммерсионным оловом (IMSN)
7.1.3.1 Иммерсионное олово - это тонкое покрытие из чистого олова, как правило, толщиной от 0,6 до 1,5 мкм, защищающее лежащую под ним медь от окисления и обеспечивающее высоко паяемую поверхность. Покрытие контактных площадок ПП иммерсионным оловом (IMSN) чувствительно к условиям хранения. С оловянными покрытиями связано два важных явления: оловянные усы [длинные (до 150 мкм) тонкие кристаллические нити разнообразной формы, растущие в различных направлениях из материала покрытия] и оловянная чума. Срок хранения ПП с финишным покрытием контактных площадок иммерсионным оловом (IMSN) составляет 6 мес без герметичной упаковки, а при условии герметичности упаковки - 12 мес.
7.1.3.2 Покрытие контактных площадок ПП иммерсионным оловом (IMSN) допускается применять для пайки ответственной аппаратуры классов B и C, при условии применения оловянно-свинцовых припоев.
7.1.3.3 Покрытие контактных площадок ПП иммерсионным оловом (IMSN) не рекомендуется применять для пайки аппаратуры с применением бессвинцовых припоев, кроме аппаратуры класса A, из-за высокой вероятности возникновения оловянных усов.
7.1.3.4 Покрытие контактных площадок ПП иммерсионным оловом рекомендуется применять для выполнения соединений разъемов с платой методом запрессовки.
7.1.4 Требование к печатным платам с покрытием иммерсионным серебром (IMAG)
7.1.4.1 Толщина покрытия контактных площадок ПП иммерсионным серебром (IMAG) должна составлять от 0,05 до 0,2 мкм. В процессе пайки слой серебра полностью растворяется в паяном соединении, образуя однородный сплав Sn/Pb/Ag непосредственно на медной поверхности, что дает хорошую надежность соединения.
7.1.4.2 Покрытие контактных площадок ПП иммерсионным серебром (IMAG) наиболее чувствительно к условиям хранения и упаковки. Упаковочные материалы, которые содержат серу, разрушают это покрытие за очень короткий период времени. Поглотители влаги (в большинстве содержащие серу, однако доступны и без серы), резиновые ленты и прокладочная бумага с высоким значением pH и содержанием серы никогда не должны быть частью упаковки ПП. Никогда не следует вынимать ПП из упаковки до сушки перед монтажом ЭМ и ПУ. Если ПП осталась без упаковки, следует положить ее в пакет и плотно закрыть, чтобы не допустить попадания воздуха. Воздействие воздуха приведет к потускнению поверхности (формирование сульфатов), которое ухудшит паяемость - это может произойти всего за 1 мес. При условии герметичной упаковки срок сохранения паяемости составляет 6 мес.
7.1.4.3 Перед пайкой должен быть проведен контроль качества покрытия IMAG контактных площадок ПП, так как при нарушении технологического процесса нанесения покрытия IMAG могут образоваться дефекты (микропустоты) и характерное почернение контактных площадок.
7.1.5 Требование к печатным платам с покрытием химическим оловом
7.1.5.1 Допустимый срок хранения ПП с финишным покрытием контактных площадок химическим оловом составляет 6 мес без герметичной упаковки и 12 мес для герметично упакованных ПП.
7.1.5.2 Финишное покрытие контактных площадок с химическим оловом должно обладать планарностью поверхности с толщиной от 1,5 до 3 мкм. Покрытия контактных площадок с химическим оловом обеспечивают более хорошее растекание припоя при пайке ЭКБ на волне припоя, чем гальванически осажденное олово, и на таких тонких покрытиях не было замечено случаев образования нитевидных кристаллов (оловянных усов) при длительном хранении. Финишное покрытие контактных площадок химическим оловом может быть использовано как для изготовления соединений опрессовкой, так и для токопроводящих клеевых соединений. Покрытие химическим оловом является наиболее предпочтительным для гибких ПП.
7.1.6 Требование к печатным платам с органическим защитным покрытием (OSP)
7.1.6.1 Органическое покрытие контактных площадок ПП должно применяться только при изготовлении изделий класса A или B без повышенных требований к надежности. Толщина покрытия, как правило, составляет от 0,2 до 0,6 мкм. Плоскостность поверхности, обеспечиваемая данным покрытием, крайне высока. Оно также прекрасно подходит для контактных площадок ПП, расположенных с малым шагом.
7.1.6.2 При неправильном нанесении отпечатков припойной пасты, когда ПП требует очистки от ошибочных отпечатков или мазков припойной пасты, большинство органических растворителей, используемых для удаления пасты, могут удалять, уменьшать толщину или реагировать с OSP-покрытием, уменьшая его эффективность в плане предотвращения окисления меди. Чтобы гарантировать защитные свойства покрытия после очистки, необходимо проявлять осторожность и обеспечить совместимость растворителя и OSP-покрытия.
7.1.6.3 OSP-покрытие для окружающей среды является более безопасным, чем HASL. Не следует допускать непосредственного контакта поверхностей плат при их транспортировании, так как они могут подвергаться абразивному износу при трении друг о друга. Следует проложить между ними бумагу либо осуществлять транспортирование в специальной таре, исключающей соприкосновение плат.
7.1.6.4 OSP-покрытие по своей природе является неметаллическим и, следственно, непроводящим, поэтому не предназначено для проведения внутрисхемного электрического тестирования.
7.1.6.5 OSP-покрытие наилучшим образом используется там, где не требуется внутрисхемный контроль, например в потребительских товарах (изделий класса A).
7.1.6.6 Платы, изготовленные с применением покрытия OSP, могут не подходить для применения в высокочастотных изделиях, так как не будет непосредственного контакта металлического экрана с металлом проводника, покрытым OSP.
7.1.6.7 Допустимый срок хранения ПП с финишным покрытием контактных площадок OSP составляет 3 мес без герметичной упаковки и 6 мес при условии герметичной упаковки.
7.1.7 Требование к печатным платам с покрытием иммерсионным золотом поверх подслоя химического никеля и палладия (ENEPIG)
7.1.7.1 Покрытие из иммерсионного золота поверх подслоя химического никеля и палладия представляет собой тонкую (0,03 - 0,05 мкм) золотую пленку, наносимую поверх подслоя палладия (0,05 - 0,1 мкм) и никеля (3,0 - 5,0 мкм). Плоскостность поверхности, обеспечиваемая данным покрытием, крайне высока.
7.1.7.2 Допустимый срок хранения ПП с финишным покрытием контактных площадок ENEPIG составляет 12 мес без герметичной упаковки, но ПП, хранившиеся более 18 мес, перед использованием следует проверять на паяемость.
7.1.7.3 Покрытие ENEPIG рекомендовано для микросварки золотой проволокой компонентов (кристаллы, диоды и т.д.), а также к использованию при реализации вышеуказанных процессов на одном электронном модуле или ПУ.
7.2 Требования к реперным знакам на печатной плате
7.2.1 Для РЭС классов B и C с целью обеспечения точности позиционирования ПП должны быть предусмотрены минимум два реперных знака на противоположных углах ПП. При мультиплицировании ПП должны быть предусмотрены по два реперных знака, как для каждой отдельной платы, так и для мультиплаты в целом.
7.2.2 Реперные знаки следует выполнять одновременно с операцией нанесения контактных площадок.
7.2.3 Если иного не оговорено потребителем, реперные знаки должны представлять собой круглые контактные площадки одинакового размера. Для улучшения распознавания реперные знаки по возможности должны находиться на свободном от контактных площадок участке ПП и должны быть выделены по периметру отсутствием маски.
7.2.4 Для обеспечения точности установки компонентов типа BGA на ПП должно быть предусмотрено минимум два реперных знака на противоположных углах относительно посадочного места компонента. Для ПУ класса A допускается устанавливать BGA без применения реперных знаков.
7.3 Общие требования к защитным паяльным маскам
7.3.1 Вся поверхность ПП должна быть покрыта паяльной маской. Допускается отсутствие паяльной маски на контактных площадках ПП, в местах установки ИМС с шагом 0,5 и менее, а также в местах установки компонентов типа BGA.
7.3.2 Проводники, проходящие вблизи контактных площадок, должны быть полностью закрыты маской.
7.3.3 Зазор между паяльной маской и краем контактной площадки ПП должен быть не менее 0,1 мм.
7.3.4 Высота защитной паяльной маски по отношению к контактным площадкам - в соответствии с ГОСТ Р 54849.
7.3.5 При выборе паяльной маски в зависимости от используемых припойных паст и флюсов следует руководствоваться ГОСТ Р 54849.
7.4 Требования к материалам печатных плат
7.4.1 Выбор материала для ПП осуществляют в соответствии с требованиями к характеристикам материала, включая температуру стеклования материала и его КТЛР, а также условиями эксплуатации изделия в соответствии с ГОСТ Р 53432 и
ГОСТ 23752.
7.4.2 Выбор материала для ПП осуществляют опираясь на температуру стеклования материала и его КТЛР (он должен быть максимально приближен к КТЛР компонентной базы).
7.5 Требования к сушке печатных плат перед пайкой
7.5.1 Во избежание образования пор, раковин и пустот в паяных соединениях ПП непосредственно перед пайкой, с целью удаления влаги, рекомендуется подвергать их сушке при температуре от 100 °C до 110 °C в течение от 1,5 до 2 ч или при температуре от 60 °C до 70 °C в течение от 3 до 4 ч.
Примечания
1 При несоблюдении условий хранения ПП во избежание образования пор, раковин и пустот в паяных соединениях ПП следует сушить непосредственно перед пайкой.
2 Сушка ПП, монтаж ИЭТ на которую будет проводиться точечной ручной пайкой, паяльником не требуется.
7.5.2 В случае, если ПП подвергались предварительному лужению погружением, причем между операцией лужения и пайкой прошло не более 2 сут, сушку ПП допускается не проводить.
7.5.3 Допускается сушка ПП с установленными на них (но не запаянными) ИЭТ, при этом температура сушки не должна превышать предельного значения, указанного в национальных стандартах или ТУ на ИЭТ.
7.6 Требования к хранению печатных плат
При хранении ПП следует руководствоваться
ГОСТ 23752.
8 Технические требования, предъявляемые к выполнению технологических операций поверхностного и смешанного монтажа электронной компонентной базы широкой номенклатуры на печатные платы, включая монтаж в отверстия
8.1 Требования к установке компонентов
8.1.1 Требования к установке компонентов поверхностного монтажа - в соответствии с
ГОСТ Р МЭК 61192-2.
8.1.2 Требование к установке компонента BGA
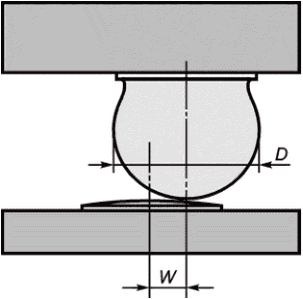
Смещение центров шарикового вывода BGA и контактных площадок на ПП относительно друг друга в момент установки компонента на припойную пасту, не должно превышать 10% от диаметра вывода
(рисунок 6).
W <= 0,1D (W - смещение от центра контактной
площадки ПП, мм; D - диаметр шарика, мм)
Рисунок 6 - Смещение компонента BGA при установке
8.2 Требования к монтажу компонентов в отверстие
8.3 Требования по дозированному нанесению припойной пасты
8.3.1 При проведении операции автоматизированной сборки и монтажа ЭМ РЭС класса C допускается применять любой метод дозирования припойной пасты с целью обеспечения формирования качественных традиционных оловянно-свинцовых паяных соединений околоэвтектического состава.
8.3.2 При проведении операции автоматизированной сборки и монтажа ЭМ РЭС класса C с применением трафаретной печати для широкой номенклатуры ЭКБ (например, чип-компонентов типоразмера 0402, микросхем с шагом от 0,4 до 0,5 мм, танталовых конденсаторов, дросселей и т.д.) допускается применять многоуровневый трафарет для обеспечения формирования качественных традиционных оловянно-свинцовых паяных соединений околоэвтектического состава.
Примечание - Многоуровневый трафарет предоставляет возможность обеспечить необходимое количество пасты для широкой номенклатуры компонентов с различными количественными требованиями (дозами) припойной пасты на одной ПП.
8.3.3 При проведении операции автоматизированной сборки и монтажа ЭМ РЭС классов A и B допускается применять любой метод дозирования припойной пасты.
8.3.4 Для изделий РЭС класса B при пайке ЭМ по традиционной технологии рекомендуется обеспечивать формирование качественных традиционных оловянно-свинцовых паяных соединений околоэвтектического состава.
8.3.5 Требования к нанесению припойной пасты с применением трафаретов
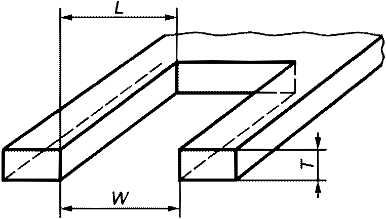
8.3.5.1 Требования к толщине фольги и размерам апертур трафарета
Для определения максимальной толщины фольги трафарета должны быть учтены размеры минимальной апертуры трафарета и выдержаны следующие соотношения относительно ее размеров. Схема и соотношения для определения максимальной толщины трафарета приведены на
рисунке 7.

;

; (
W - ширина минимальной
апертуры трафарета, мм; L - длина минимальной апертуры
трафарета, мм; T - толщина трафарета, мм)
Рисунок 7 - Схема и соотношения для определения
максимальной толщины трафарета
Отношение ширина минимальной апертуры трафарета к его толщине должно быть более или равно 1,5 (см.
рисунок 7).
Для всех апертур трафарета должно быть применено закругление углов для качественного нанесения припойной пасты на ПП и лучшей его очистки.
При проектировании трафаретов для бессвинцовой припойной пасты в качестве общего правила должно быть использовано максимальное приближение размеров апертур к размерам контактных площадок платы. Небольшое уменьшение размера (например - 0,0127 мм на сторону площадки) допустимо.
8.3.5.2 Требования по уменьшению апертур трафарета различных типов компонентов при сборке и монтаже ЭМ и ПУ с применением оловянно-свинцовой припойной пасты.
Для компонентов поверхностного монтажа с выводами с шагом 0,3 - 0,4 мм уменьшение апертур трафарета должно составлять от 0,03 до 0,08 мм по ширине и от 0,05 до 0,13 мм по длине.
Уменьшение диаметра круглой апертуры под вывод BGA в пластиковом корпусе должно составлять 0,05 мм.
Уменьшение диаметра круглой апертуры под вывод BGA в керамическом корпусе должно составлять от 0 до 0,03 мм.
Апертура для вывода BGA с малым шагом и CSP должна представлять собой квадрат со стороной равной или на 0,025 мм меньшей, чем диаметр площадки на плате. Квадраты должны иметь скругленные углы радиусом 0,06 мм - для квадрата 0,25 мм и 0,09 - для квадрата 0,35 мм.
Для апертур под установку чип-компонентов должны быть использованы как стандартные формы без уменьшения.
8.3.6 Требования к выбору класса припойной пасты
Выбор класса припойной пасты должен осуществляться с учетом размера частиц припоя. Выбор размера частиц припойной пасты должен учитывать минимальный шаг используемых ПМИ и размер апертур в трафарете для нанесения припойной пасты. Ширина апертуры трафарета должна быть не менее пяти диаметров частиц припоя.
Рекомендуемые тип и размер частиц припоя, толщина трафарета и минимальная ширина апертуры в зависимости от шага выводов ПМИ приведены в
таблице 5.
Минимальный шаг выводов ПМИ, мм | Рекомендуемая толщина трафарета, мкм | Минимальная ширина апертуры трафарета L, мм | Рекомендуемый тип пасты | Размер частиц припоя, мкм |
0,65 | 150 | 0,40 | Тип 2 | От 75 до 45 |
0,50 | От 125 до 150 | 0,25 | Тип 3 | От 45 до 25 |
0,40 | От 75 до 100 | 0,20 | Тип 4 | От 38 до 20 |
8.3.7 Требования к количеству припойной пасты после нанесения
8.3.7.1 С целью повышения надежности паяных соединений для изделий РЭС классов B и C необходимо закладывать максимальную высоту паяных соединений за счет выбора толщины трафарета с учетом правил, приведенных в
8.3.5.1 и
8.3.6.
8.3.7.2 Максимально допустимое отклонение массы отпечатка пасты должно составлять 20% от номинального.
8.3.7.3 Не допускается загрязнение пастой базового материала ПП.
8.3.8 Требования по приклейке поверхностно-монтируемых изделий перед пайкой
8.3.8.1 Отверженные клеи должны выдерживать температуру до 250 °C. Данная термостойкость будет удовлетворять требованиям пайки как по традиционной, так и бессвинцовой технологии.
8.3.8.2 Клей должен быть полностью отвержден. В противном случае велика вероятность потери приклеенных ПМИ во время пайки.
8.3.8.3 Особое внимание необходимо уделять приклейке чип-компонентов и диодов в стеклянном корпусе. Для их фиксации необходимо использовать одну клеевую точку. В противном случае при неблагоприятном стечении всех факторов возможно возникновение дефектов оплавления типа "надгробный камень"
(рисунок 17).
8.4 Требование к пайке оплавлением
8.4.1 Требование к конвекционной пайке оплавлением
8.4.1.1 При автоматизированной сборке и монтаже ЭКБ на ПП оплавлением следует руководствоваться требованиями
ГОСТ Р МЭК 61192-1.
Примечание - Пайка компонентов поверхностного монтажа в конвекционной печи оплавления припоя должна отвечать требованиям
ГОСТ Р МЭК 61192-1.
8.4.1.2 Требование к пайке оплавлением ЭМ, ПУ и аппаратуры РЭС с применением оловянно-свинцовых припоев
При пайке оплавлением ЭМ, ПУ и аппаратуры РЭС класса C по традиционной технологии (с применением оловянно-свинцовых припоев) следует использовать профиль оплавления, указанный предприятием - производителем припойной пасты, при этом пиковая температура такого профиля не должна превышать 225 °C.
При отсутствии информации о профиле оплавления применяемой оловянно-свинцовой припойной пасты следует использовать профиль, приведенный на
рисунке 8, в том числе для электронных модулей РЭС классов A и B.
Рисунок 8 - Рекомендованный профиль оплавления
с применением оловянно-свинцовых припоев при пайке
аппаратуры РЭС классов A, B и C
В зависимости от конструкции ЭМ РЭС класса C (платы-теплоотводы с медным или алюминиевым основанием, керамические платы с толстым слоем меди (от 100 до 400 мкм), платы с большим количеством теплоемких СВЧ-транзисторов и т.д.) допускается увеличивать по времени стадию предварительного нагрева до 180 с, при этом недопустимо превышать время (90 с) нахождения припоя в расплавленном состоянии.
Для ЭМ РЭС классов A и B при пайке оплавлением по комбинированной технологии компонентов типа BGA рекомендуется применять профиль, указанный на
рисунке 9.
Рисунок 9 - Рекомендуемый профиль оплавления
при пайке ЭМ и ПУ с применением бессвинцовых припоев
8.4.1.3 Требование к пайке оплавлением ЭМ и ПУ с применением бессвинцовых припоев
При пайке оплавлением ЭМ, ПУ и изделий классов A и B по бессвинцовой технологии (с применением бессвинцовых припоев) следует использовать профиль оплавления, указанный предприятием - производителем припойной пасты, при этом пиковая температура такого профиля не должна превышать 245 °C.
При отсутствии информации о профиле оплавления применяемой бессвинцовой припойной пасты следует использовать профиль, приведенный на
рисунке 9.
8.4.2 Требование к пайке в паровой фазе (конденсационная пайка)
8.4.2.1 При пайке в паровой фазе ЭМ, ПУ и аппаратуры РЭС класса C по традиционной технологии в оборудовании следует применять жидкость с температурой кипения от 200 °C до 215 °C, причем время нахождения припоя в расплавленном состоянии должно составлять от 30 до 90 с.
8.4.2.2 При пайке в паровой фазе ЭМ, ПУ и аппаратуры РЭС классов A и B по традиционной технологии рекомендуется руководствоваться требованиями
8.4.2.1.
8.4.2.3 При пайке в паровой фазе ЭМ, ПУ и аппаратуры РЭС классов A и B по бессвинцовой технологии в оборудовании следует применять жидкость с температурой кипения от 230 °C до 245 °C, причем время нахождения припоя в расплавленном состоянии должно составлять от 40 до 90 с.
8.4.2.4 Для ЭМ РЭС классов A и B при пайке в паровой фазе по комбинированной технологии компонентов типа BGA следует применять жидкость с температурой кипения от 200 °C до 215 °C, причем время нахождения припоя в расплавленном состоянии должно составлять от 30 до 90 с.
8.4.2.5 При одновременной двусторонней пайке в паровой фазе ЭМ, ПУ и аппаратуры РЭС тяжелые компоненты (реле, разъемы, трансформаторы, микросхемы и т.д.), расположенные с нижней части платы, должны быть приклеены.
8.4.2.6 При пайке в паровой фазе ЭМ, ПУ и аппаратуры РЭС класса C, чувствительной к перегреву ЭКБ, проводят процесс ступенчатой пайки с применением низкотемпературных припоев, указанных в
5.2.1.1, в оборудовании должна применяться жидкость с температурой кипения от 150 °C до 160 °C, причем время нахождения припоя в расплавленном состоянии должно составлять от 30 до 60 с.
8.5 Требования к качеству паяных соединений
8.5.1 Внешний вид паяных соединений должен быть с четко выраженными галтелями, отсутствием трещин, каверн и посторонних включений. Допускается применять любые доступные методы контроля, в том числе визуальные, оптические, рентгеновские, а также металлографические исследования шлифов паяных соединений.
Примечание - Требования к ИЭТ, установленным в отверстия, должны соответствовать требованиям
ГОСТ Р МЭК 61192-3.
8.5.2 Поверхность галтелей припоя по всему периметру паяного шва должна быть вогнутой, непрерывной, гладкой, глянцевой или светло-матовой, без темных пятен.
8.5.3 При пайке ИЭТ время пайки не должно превышать времени, указанного в НД или ТУ на данный ИЭТ.
8.5.4 При необходимости ступенчатой пайки соединений, в том числе по технологии монтажа выводных компонентов в отверстия, расположенные в непосредственной близости друг от друга, пайку каждого последующего соединения следует осуществлять припоем, температура начала кристаллизации которого должна быть на 30 °C - 40 °C ниже температуры кристаллизации первого.
8.5.5 Каждое из дефектных паяных соединений, не допускаемых к приемке, должно быть подпаяно вручную электропаяльником или механизировано. Примеры дефектных паяных соединений приведены на
рисунках 10 -
17.
Рисунок 10 - Пример качественного паяного соединения
чип-компонента
Рисунок 11 - Пример качественного паяного соединения
компонента с выводами по типу "крыло чайки"
Рисунок 12 - Пример недостаточной дозы для формирования
качественного паяного соединения
Рисунок 13 - Пример плохого смачивания припойной пастой
контактной площадки ПП (слева) и плохого смачивания
припойной пастой компонента (справа)
Рисунок 14 - Дефект установки компонента (более 15°)
Рисунок 15 - Перемыкание соседних компонентов
Рисунок 16 - Дефект наличия шариков припоя
Рисунок 17 - Дефект оплавления компонента
8.5.6 Подпайку дефектных соединений печатного монтажа с металлизированными отверстиями следует проводить с обязательным предварительным флюсованием паяного шва с обеих сторон платы с последующей подпайкой со стороны, с которой производилась первоначальная пайка. Не допускается подпайка дефектных соединений с противоположной стороны из-за опасности непрочных пустотелых соединений. Качество паяных соединений после их подпайки должно соответствовать требованиям настоящего раздела. Устранение дефектных соединений не считается вторичной пайкой. Подпайку дефектных соединений проводят по тем же режимам, что и первоначальную пайку, в соответствии с режимами, приведенными в ТУ и ИЭТ.
8.6 Требования к анализу дефектов компонентов с матричными выводами после пайки
8.6.1 Для контроля и анализа дефектов компонентов с матричными выводами типа BGA после пайки допускается применять любые доступные методы контроля, в том числе визуальные, оптические, рентгеновские, а также металлографические исследования шлифов паяных соединений.
8.6.2 Внешний вид традиционных оловянно-свинцовых паяных соединений околоэвтектического состава, а также комбинированных паяных соединений компонентов с матричными выводами типа BGA должен быть с четко выраженными галтелями, отсутствием трещин, каверн и посторонних включений
(рисунок 18).
Рисунок 18 - Пример качественного паяного соединения BGA
8.6.3 В паяном соединении не должно быть пустот более 25% от общего объема паяного соединения. На
рисунке 19 приведено схематичное изображение пустоты в паяном соединении компонентов с матричными выводами типа BGA.
Рисунок 19 - Пустоты в паяном соединении компонентов
с матричными выводами типа BGA
8.6.4 Для ПУ РЭС классов C и B не должно быть перемыканий между шариковыми выводами BGA (см.
рисунок 20). Для ПУ класса A по решению главного конструктора изделия допустимы перемыкания шариковых выводов BGA, если они не приводят к некорректной работе изделия.
Рисунок 20 - Перемыкание шариковых выводов компонентов
с матричными выводами типа BGA
8.6.5 Для ПУ РЭС классов C и B не допускается "потеря шаров" - отсутствие шарикового вывода компонентов с матричными выводами типа BGA, не предусмотренное конструкцией компонента. Для ПУ класса A по решению допускается отсутствие незначительного количества предусмотренных конструкцией компонента шариковых выводов, если они не несут функциональной нагрузки.
8.6.6 Припой шарикового вывода в процессе пайки должен полностью растечься по контактной площадке ПП.
8.6.7 Припойная паста и припой шарикового вывода компонентов с матричными выводами типа BGA должны быть полностью перемешаны (иметь равномерную структуру паяного соединения), без четко выделенной границы перехода и эффекта "голова на подушке" (см.
рисунок 21).
Рисунок 21 - Отсутствие перемешивания припойной пасты
и припоя шарикового вывода компонентов с матричными
выводами, дефект типа "голова на подушке"
9 Требования безопасности
При пайке ЭМ следует руководствоваться требованиями безопасности, установленными на предприятии.
10.1 Требования и методы обеспечения экологической безопасности при пайке ЭМ - в соответствии с руководящими документами предприятия и требованиями настоящего стандарта.
10.2 При внедрении технологического процесса должны быть предусмотрены мероприятия, направленные на экономию природных ресурсов.
10.3 Образующиеся отходы в результате внедрения технологического процесса следует утилизировать в соответствии с руководящими документами предприятия.
УДК 681.3.023-182.77:006.354 | |
Ключевые слова: пайка, электронные модули, технические требования, радиоэлектронные средства, поверхностный монтаж, смешанный монтаж, автоматизированный монтаж, бессвинцовая технология, традиционная технология, комбинированная технология |