Главная // Актуальные документы // ГОСТ Р (Государственный стандарт)СПРАВКА
Источник публикации
М.: ФГБУ "Институт стандартизации", 2023
Примечание к документу
Документ
введен в действие с 01.11.2023.
Название документа
"ГОСТ Р ИСО 80369-7-2023. Национальный стандарт Российской Федерации. Соединители малого диаметра для жидкостей и газов, используемые в здравоохранении. Часть 7. Частные требования к соединителям внутрисосудистого или подкожного применения"
(утв. и введен в действие Приказом Росстандарта от 06.03.2023 N 96-ст)
"ГОСТ Р ИСО 80369-7-2023. Национальный стандарт Российской Федерации. Соединители малого диаметра для жидкостей и газов, используемые в здравоохранении. Часть 7. Частные требования к соединителям внутрисосудистого или подкожного применения"
(утв. и введен в действие Приказом Росстандарта от 06.03.2023 N 96-ст)
Утвержден и введен в действие
агентства по техническому
регулированию и метрологии
от 6 марта 2023 г. N 96-ст
НАЦИОНАЛЬНЫЙ СТАНДАРТ РОССИЙСКОЙ ФЕДЕРАЦИИ
СОЕДИНИТЕЛИ МАЛОГО ДИАМЕТРА ДЛЯ ЖИДКОСТЕЙ И ГАЗОВ,
ИСПОЛЬЗУЕМЫЕ В ЗДРАВООХРАНЕНИИ
ЧАСТЬ 7
ЧАСТНЫЕ ТРЕБОВАНИЯ К СОЕДИНИТЕЛЯМ ВНУТРИСОСУДИСТОГО
ИЛИ ПОДКОЖНОГО ПРИМЕНЕНИЯ
Small-bore connectors for liquids and gases in healthcare
applications. Part 7. Particular requirements for connectors
of intravascular or hypodermic applications
(ISO 80369-7:2021, Small-bore connectors for liquids
and gases in healthcare applications - Part 7: Connectors
for intravascular or hypodermic applications, IDT)
ГОСТ Р ИСО 80369-7-2023
Дата введения
1 ноября 2023 года
1 ПОДГОТОВЛЕН Обществом с ограниченной ответственностью "МЕДИТЕСТ" (ООО "МЕДИТЕСТ") на основе собственного перевода на русский язык англоязычной версии стандарта, указанного в
пункте 4
2 ВНЕСЕН Техническим комитетом по стандартизации ТК 436 "Менеджмент качества и общие аспекты медицинских изделий"
3 УТВЕРЖДЕН И ВВЕДЕН В ДЕЙСТВИЕ
Приказом Федерального агентства по техническому регулированию и метрологии от 6 марта 2023 г. N 96-ст
4 Настоящий стандарт идентичен международному стандарту ИСО 80369-7:2021 "Соединители малого диаметра для жидкостей и газов, используемые в здравоохранении. Часть 7. Соединители для внутрисосудистых или подкожных применений" (ISO 80369-7:2021 "Small-bore connectors for liquids and gases in healthcare applications - Part 7: Connectors for intravascular or hypodermic applications", IDT).
Наименование настоящего стандарта изменено относительно наименования указанного международного стандарта для приведения в соответствие с ГОСТ Р 1.5-2012
(пункт 3.5).
При применении настоящего стандарта рекомендуется использовать вместо ссылочных международных стандартов соответствующие им национальные и межгосударственные стандарты, сведения о которых приведены в дополнительном
приложении ДА
5 ВВЕДЕН ВПЕРВЫЕ
Правила применения настоящего стандарта установлены в статье 26 Федерального закона от 29 июня 2015 г. N 162-ФЗ "О стандартизации в Российской Федерации". Информация об изменениях к настоящему стандарту публикуется в ежегодном (по состоянию на 1 января текущего года) информационном указателе "Национальные стандарты", а официальный текст изменений и поправок - в ежемесячном информационном указателе "Национальные стандарты". В случае пересмотра (замены) или отмены настоящего стандарта соответствующее уведомление будет опубликовано в ближайшем выпуске ежемесячного информационного указателя "Национальные стандарты". Соответствующая информация, уведомление и тексты размещаются также в информационной системе общего пользования - на официальном сайте Федерального агентства по техническому регулированию и метрологии в сети Интернет (www.rst.gov.ru)
Настоящий стандарт разработан в связи с несколькими инцидентами с трагическими последствиями, возникшими в результате внутривенного введения неподходящего лекарственного средства, жидких питательных смесей или воздуха. Было зарегистрировано множество инцидентов, что привело к международному признанию важности данных вопросов и необходимости разработки конкретных соединителей для медицинских изделий и их принадлежностей, используемых для доставки жидкостей в других применениях.
Серия стандартов ИСО 80369 была разработана для предупреждения неправильного соединения между соединителями малого диаметра, используемыми в различных применениях. ИСО 80369-1 определяет требования, необходимые для проверки конструкции и размеров соединителей малого диаметра, чтобы гарантировать следующее:
a) они не соединяются неправильно с другими соединителями малого диаметра; и
b) они безопасно и надежно соединяются со своей половинкой.
Настоящий стандарт устанавливает конструкцию, размеры и чертежи соединителей малого диаметра, предназначенных для использования в качестве конических фитингов с конусностью 6% (Luer) для соединений внутрисосудистых или подкожных
применений. В
приложениях D -
G описываются методы, с помощью которых была оценена данная конструкция. Другие стандарты серии ИСО 80369 включают требования к
соединителям малого диаметра, используемым в различных категориях применения.
Соединители, изготовленные в соответствии с размерами, указанными в настоящем стандарте, несовместимы по размерам с любыми другими
соединителями для
применений, указанных в стандартах серии ИСО 80369 для
соединителей малого диаметра, за исключением случаев, указанных в
приложении G. При установке на соответствующие
медицинские изделия и их
принадлежности данные
соединители должны снизить
риск попадания воздуха, несосудистых лекарственных средств и жидких питательных смесей альтернативным путем, например внутривенно или через изделие для обеспечения проходимости дыхательных путей.
В настоящем стандарте союз "или" используют как "включающий или", в том смысле, что положение считается истинным при любой комбинации условий, являющихся истинными.
В настоящем стандарте используют следующие глагольные формы:
- "должен" указывает на требование;
- "следует" означает, что соответствие установленному требованию или проведение испытания является рекомендацией, но не обязательным требованием для обеспечения соответствия положениям настоящего стандарта;
- "могло бы" указывает на разрешение;
- "может" указывает на возможность или способность.
Настоящий стандарт устанавливает размеры и требования к конструкции и функциональным характеристикам соединителей малого диаметра, предназначенных для использования в качестве соединений во внутрисосудистых или подкожных применениях медицинских изделий и принадлежностей.
Примеры - Шприцы и иглы для подкожных инъекций или внутрисосудистые (IV) канюли со штекерными и гнездовыми скользящими соединителями Luer slip и соединителями Luer lock.
Примечание 2 - Соединитель Luer изначально был разработан для применения под давлением до 300 кПа.
Настоящий стандарт не устанавливает требования к медицинским изделиям или принадлежностям, в которых применяют данные соединители. Данные требования приведены в отдельных документах на конкретные медицинские изделия или принадлежности.
Настоящий стандарт не устанавливает требования к следующим соединителям малого диаметра, которые указаны в других стандартах:
- порты гемодиализатора, гемодиафильтра и гемофильтра для отсеков крови (ИСО 8637
[5] и применимая часть стандартов серии ИСО 8638
[6] со ссылками на порты отсеков для крови);
-
соединители для оборудования гемодиализа, гемодиафильтрации и гемофильтрации (ИСО 8637
[5]);
-
соединители для прокалывания крышки инфузионной системы (ИСО 8536-4
[4]).
Примечание 3 - Изготовителям рекомендуется включать соединители малого диаметра, указанные в настоящем стандарте, в медицинские изделия или принадлежности, даже если в настоящее время это не требуется соответствующими документами на конкретные медицинские изделия. Ожидается, что при пересмотре соответствующих документов по конкретному медицинскому изделию будут включены требования к соединителям малого диаметра, как указано в ИСО 80369.
Примечание 4 - ИСО 80369-1:2018, раздел 7, определяет альтернативные методы обеспечения соответствия ИСО 80369-1:2018 для соединителей малого диаметра, предназначенных для использования с медицинскими изделиями или принадлежностями для внутрисосудистого или подкожного применения, которые не соответствуют настоящему стандарту.
В настоящем стандарте использованы нормативные ссылки на следующие стандарты [для датированных ссылок применяют только указанное издание ссылочного стандарта, для недатированных - последнее издание (включая все изменения к нему)]:
ISO 14971:2019, Medical devices - Application of risk management to medical devices (Медицинские изделия. Применение менеджмента риска к медицинским изделиям)
ISO 80369-1:2018, Small-bore connectors for liquids and gases in healthcare applications - Part 1: General requirements (Соединители малого диаметра для жидкостей и газов, используемые в здравоохранении. Часть 1. Общие требования)
ISO 80369-6:2016, Small bore connectors for liquids and gases in healthcare applications - Part 6: Connectors for neuraxial applications (Соединители малого диаметра для жидкостей и газов, используемые в здравоохранении. Часть 6. Соединители для нейроаксиального применения)
ISO 80369-20:2015, Small-bore connectors for liquids and gases in healthcare applications - Part 20: Common test methods (Соединители малого диаметра для жидкостей и газов, используемые в здравоохранении. Часть 20. Общие методы испытаний)
IEC 62366-1:2015, Medical devices - Part 1: Application of usability engineering to medical devices (Медицинские изделия. Часть 1. Проектирование медицинских изделий с учетом эксплуатационной пригодности)
В настоящем стандарте применены термины по ИСО 80369-1:2018, ИСО 80369-20:2015, ИСО 14971:2019 и МЭК 62366-1:2015, как указано в
приложении J, а также следующие термины с соответствующими определениями.
ИСО и МЭК ведут терминологические базы данных для использования в стандартизации по следующим адресам:
- Электропедия МЭК: доступна на http://www.electropedia.org/;
- платформа онлайн-просмотра ИСО: доступна на http://www.iso.org/obp.
3.1
вспомогательный размер (
auxiliary dimension): Размер, полученный из других размеров, приведенных только для информационных целей.
[ИСО 10209:2012
[7], 4.2]
3.2
соединитель Luer (
Luer connector): Соединитель
малого диаметра, который имеет коническую сопрягаемую поверхность с конусностью 6% (Luer), предназначенный для использования в
медицинских изделиях и связанных с ними
принадлежностей для внутрисосудистых или подкожных
применений.
Примечание 1 - Соединитель Luer может быть либо соединителем Luer slip, либо соединителем Luer lock.
3.3
соединитель Luer slip (
Luer slip connector):
Соединитель Luer без фиксирующего механизма.
Примечание 1 - Соединитель Luer slip обозначается аббревиатурой L1.
3.4 соединитель Luer lock (
Luer lock connector):
Соединитель Luer, содержащий фиксирующий механизм.
Примечание 1 - Соединитель Luer lock обозначается аббревиатурой L2.
3.5
нормальное применение (
normal use): Применение, включая повседневный осмотр и регулировки, осуществляемые
любым пользователем, а также поддержание работоспособности изделий в соответствии с инструкциями по применению.
Примечание 1 - Понятие "нормальное применение" не следует путать с понятием "предназначенное применение". Хотя оба данных термина предполагают применение изделия по назначению, предусмотренному изготовителем, понятие "предназначенное применение" отражает применение в медицинских целях, а понятие "нормальное применение" определяет не только применение в медицинских целях, но и устанавливает условия технического обслуживания, транспортирования и так далее.
[МЭК 60601-1:2005+A1:2012
[12], 3.71, изменено - заменено
"оператор" на
"пользователь"]
3.6 нормированное <значение> (rated <value>): Термин, относящийся к значению, установленному изготовителем для определенных условий применения.
[МЭК 60601-1:2005
[12], 3.97]
3.7
твердый материал (
rigid material): Материал с модулем упругости при изгибе или растяжении более 3433 МПа.
Пример - Металлы, стекло, некоторые полимеры, армированные волокном, и полимеры с высокими функциональными характеристиками.
3.8
полутвердый материал (
semi-rigid material): Материал с модулем упругости при изгибе или растяжении от 700 до 3433 МПа.
Пример - Термопласты.
4.1 Общие требования для соединителей Luer
Соединители Luer, изготовленные в соответствии с настоящим стандартом, соответствуют общим требованиям ИСО 80369-1:2018, если в настоящем стандарте не указано иное.
В некоторых комбинациях допусков внутренний диаметр жидкостного просвета штекерного
соединителя Luer может контактировать с уплотняющими поверхностями штекерного
соединителя N1 (N1), как указано в ИСО 80369-6, в
LMC, и, таким образом, данные
соединители взаимно выходят из строя при испытаниях для демонстрации характеристик
несоединимости по приложению B ИСО 80369-1:2018. Дополнительная информация представлена в
G.2.2.
Эталонные
соединители для демонстрации характеристик
несоединимости описаны в приложении C (
рисунки C.1,
C.2,
C.4 и
C.5 соответственно).
Если медицинское изделие или принадлежность спроектированы так, чтобы обеспечивать элементы соединителя Luer, указанные в настоящем стандарте, то данные элементы должны быть включены в проверку (верификацию) по настоящему стандарту. При необходимости следует установить соединитель малого диаметра на медицинское изделие или принадлежность, чтобы продемонстрировать соответствие приложению B ИСО 80369-1:2018.
Примечание 1 - Оценка
медицинских изделий и их показателей с
соединениями в рамках данного
применения описана в
приложении D.
Примечание 2 - Краткое изложение требований к эксплуатационной пригодности
соединителей Luer для внутрисосудистых или подкожных
применений приведено в
приложении E.
Примечание 3 - Краткое изложение требований к конструкции
соединителя Luer для внутрисосудистых или подкожных
применений приведено в
приложении F.
Примечание 4 - Краткое изложение оценки конструкции
соединителя Luer для внутрисосудистых или подкожных
применений в соответствии с ИСО 80369-1:2018, 6.1, содержится в
приложении G.
Примечание 5 - Настоящий стандарт подготовлен с учетом соответствующих существенных принципов безопасности и функциональных характеристик ИСО 16142-1:2016
[9], как указано в
приложении H.
Примечание 6 - Настоящий стандарт подготовлен с учетом соответствующих общих требований к безопасности и функциональным характеристикам Европейского
регламента (EC) 2017/745
[15], как указано в
приложении I.
Соответствие требованиям настоящего стандарта должно быть определено типовыми испытаниями.
5 Требования к размерам соединителей Luer
Соединители Luer должны соответствовать размерам и допускам, представленным:
-
рисунке B.6 и в
таблице B.6 для гнездового
соединителя Luer lock (L2) с наконечниками под прямым углом к оси, вариант A;
-
рисунке B.7 и в
таблице B.7 для гнездового
соединителя Luer lock (L2) с наконечниками под прямым углом к оси, вариант B;
-
рисунке B.8 и в
таблице B.8 для гнездового
соединителя Luer lock (L2) с наконечниками под прямым углом к оси, вариант C.
Необходимо проверить соответствие, подтвердив размеры и допуски, указанные в
приложении B, для соответствующего рисунка и таблицы.
6 Требования к функциональным характеристикам
6.1.1 Требование к утечке жидкости
Соединители Luer должны быть оценены на утечку, используя либо метод испытания на утечку с падением давления, либо метод испытания на утечку жидкости под избыточным давлением.
6.1.2 Утечка в результате падения давления
Соединители Luer, оцененные на такую функциональную характеристику, как утечка жидкости с помощью метода испытания на утечку с падением давления, не должны превышать скорость утечки 0,005 Па·м3/с при воздействии приложенного давления от 300 до 330 кПа в течение периода выдержки от 15 до 20 с при использовании воздуха в качестве среды.
Необходимо проверить соответствие, применяя испытания по ИСО 80369-20:2015, приложение B, используя эталонный
соединитель утечки, указанный в приложении C (
рисунки C.1,
C.2,
C.4 и
C.5 соответственно). Может быть использовано большее приложенное давление.
6.1.3 Утечка по просачиванию жидкости при подаче давления
Соединители Luer, оцененные на такую функциональную характеристику, как утечка жидкости с помощью метода испытания на утечку по просачиванию жидкости при подаче давления, не должны иметь признаков утечки, достаточных для образования падающей капли воды, в течение периода выдержки от 30 до 35 с при воздействии приложенного давления от 300 и 330 кПа.
Необходимо проверить соответствие, применяя испытания по ИСО 80369-20:2015, приложение C, используя эталонный
соединитель утечки, указанный в приложении C (
рисунки C.1,
C.2,
C.4 и
C.5 соответственно). Может быть использовано большее приложенное давление.
6.2 Утечка воздуха под воздействием пониженного давления
Соединители Luer должны быть оценены на утечку воздуха под воздействием пониженного давления. Соединители Luer не должны протекать более чем на 0,005 Па·м3/с при воздействии приложенного давления ниже атмосферного от 80,0 до 88,0 кПа в течение периода выдержки от 15 до 20 с.
Необходимо проверить соответствие, применяя испытания по ИСО 80369-20:2015, приложение D, используя эталонный
соединитель утечки, указанный в приложении C (
рисунки C.1,
C.2,
C.4 и
C.5 соответственно). Можно использовать более высокое приложенное давление ниже атмосферного.
6.3 Формирование щелей под действием нагрузки
Соединители Luer должны быть оценены на формирование щелей под действием нагрузки.
Соединители Luer должны соответствовать требованиям
6.1.1 после воздействия нагрузок по ИСО 80369-20:2015, приложение E.
Необходимо проверить соответствие, применяя испытания по ИСО 80369-20:2015, приложение E, используя эталонный
соединитель растрескивания под действием нагрузки, указанный в приложении C (
рисунки C.1,
C.2,
C.4 и
C.5 соответственно).
6.4 Устойчивость к разъединению при приложении продольной нагрузки
Соединители Luer должны быть оценены на устойчивость к разъединению при приложении продольной нагрузки. Соединители Luer не должны отрываться от эталонного соединителя в течение периода удержания от 10 до 15 с, когда они подвергаются отсоединению, приложенному осевой силой между:
a) 23 и 25 Н для соединителей Luer slip;
b) 32 и 35 Н для соединителей Luer lock.
Необходимо проверить соответствие, применяя испытания по ИСО 80369-20:2015, приложение F, используя эталонный
соединитель устойчивости к разъединению при приложении продольной нагрузки, указанный в приложении C (
рисунки C.2,
C.3,
C.5 и
C.6 соответственно). Можно использовать большее осевое усилие отсоединения или более длительный период удержания.
6.5 Устойчивость к разъединению откручиванием
Соединители Luer lock должны быть оценены на устойчивость к разъединению откручиванием. Соединители Luer lock не должны отрываться от эталонного соединителя в течение периода удерживания от 10 до 15 с при воздействии крутящего момента отвинчивания от 0,018 до 0,020 Н·м.
Необходимо проверить соответствие, применяя испытания по ИСО 80369-20:2015, приложение G, используя эталонный
соединитель устойчивости к разъединению откручиванием, указанный в приложении C (
рисунки C.1 и
C.4 соответственно). Можно использовать больший приложенный крутящий момент отвинчивания или более длительный период удержания.
6.6 Устойчивость к проворачиванию
Соединители Luer lock должны быть оценены на устойчивость к проворачиванию. Соединители Luer lock не должны выходить за пределы резьбы или наконечников эталонного соединителя при приложении крутящего момента от 0,15 до 0,17 Н·м в течение периода удержания от 5 до 10 с.
Необходимо проверить соответствие, применяя испытания по ИСО 80369-20:2015, приложение H, используя эталонный
соединитель устойчивости к проворачиванию, указанный в приложении C (
рисунки C.3 и
C.6 соответственно). Можно использовать больший приложенный крутящий момент или более длительный период удержания.
(справочное)
ОБОСНОВАНИЕ И РУКОВОДСТВО
A.1 Общее руководство
Настоящее приложение предназначено для специалистов, знакомых с предметом настоящего стандарта, но не участвовавших в его разработке, и содержит обоснования некоторых требований настоящего стандарта. Понимание обоснования, лежащего в основе данных требований, считается существенным для их надлежащего применения. Кроме того, в связи с изменениями, происходящими в клинической практике и технологических процессах, это обоснование будет способствовать внесению любых изменений в настоящий стандарт.
A.2 Обоснование конкретных пунктов и подпунктов
Пункты и подпункты в этом приложении пронумерованы в соответствии с нумерацией пунктов и подпунктов настоящего стандарта, на которые они ссылаются. Таким образом, нумерация не является последовательной.
Раздел 1 Область применения
Объем включает фитинги, описанные ранее в ИСО 594-1 и ИСО 594-2.
В 2000 году рабочая группа Европейской организации по стандартизации CEN предложила стратегию по сокращению случаев случайного неправильного соединения терапевтических линий
пациентов за счет применения серии
несоединяемых соединителей, различающихся по конструкции, для использования в различных медицинских
применениях. Стратегия резервирует использование
соединителей Luer исключительно для применения в
медицинских изделиях, используемых для доступа к сосудистой системе или для подкожных применений, чтобы они могли выполнять предполагаемую функцию
[14].
Во время разработки настоящего стандарта комитеты часто обсуждали, как следует интерпретировать медицинские изделия, взаимодействующие с соединителем Luer (LAD). В контексте настоящего стандарта LAD считаются "компонентом" медицинского изделия и, как правило, представляют собой гнездовой клапан, предназначенный для соединения со штекерным соединителем Luer. Следующее руководство относится конкретно к компоненту LAD (или гнездовому концу клапана) и не распространяется на остальную часть медицинского изделия.
LAD, как правило, включает в себя клапан, который открывает и обеспечивает доступ к каналу для жидкости, когда в него вставлен стандартный штекерный
соединитель Luer. По своей конструкции он образует половину
соединения, которое образует канал для жидкости со штекерным
соединителем Luer. Однако такие LAD, как правило, не соответствуют настоящему стандарту. В частности, они часто изготавливаются из более мягких материалов, чем
полутвердые материалы (поскольку их сопрягаемые поверхности часто включают эластомерные материалы), и при этом они не полностью соответствуют по размерам требованиям
раздела 5. Таким образом, типичный LAD не является
соединителем Luer. Как таковые, они не входят в область применения настоящего стандарта.
Комитеты, однако, сочли необходимым предоставить некоторые рекомендации по LAD из-за очевидного сходства предполагаемого применения с соединителями Luer. Изготовителям LAD рекомендуется по возможности использовать несоединяемые элементы, приведенные в настоящем стандарте, для снижения риска неправильного соединения к своим медицинским изделиям. Данные элементы могут включать:
- соответствие материалов (т.е. >= 700 МПа) для элементов помех;
- соответствие размеров (т.е. размеры
H,
J,
D и
G по
приложению B);
- размерный анализ и/или анализ CAD, показывающие элементы помех;
- испытание характеристик несоединимости в соответствии с приложением B ИСО 80369-1:2018;
- испытание эксплуатационной пригодности, демонстрирующее характеристики несоединимости.
Кроме того, для компонента LAD следует также учитывать требования к функциональным характеристикам
раздела 6.
Таким образом, LAD могут быть оценены как по характеристикам несоединимости, так и по функциональным характеристикам, связанным со стандартами серии ИСО 80369.
LAD по определению по-прежнему не считаются "соответствующими" соединителям Luer (т.е. не соответствующими настоящему стандарту), однако их можно считать "совместимыми с" медицинским изделием, в котором применяется штекерный соединитель Luer (с точки зрения функциональных характеристик).
Изготовителям и ответственным организациям рекомендуется сообщать о своем опыте применения соединителей Luer, указанных в настоящем стандарте, в Секретариат ИСО/ТК 210, чтобы он мог учесть обратную связь при пересмотре соответствующей части серии стандартов ИСО 80369.
Определение
3.2 Соединитель Luer
Определение
3.3 Соединитель Luer slip
Определение
3.4 Соединитель Luer lock
Приведенные в настоящем стандарте термины "соединитель Luer", "соединитель Luer slip" и "соединитель Luer lock" заменяют противоречивые и вводящие в заблуждение термины, используемые в ИСО 594-1 и ИСО 594-2. Используемые в настоящем стандарте термины согласовывают и гармонизируют настоящий стандарт с ИСО 80369-1, в котором не применяются устаревшие термины "фитинг", "конический" или "конусный". Данные термины эквивалентны тем, которые в настоящее время, как правило, применяются для описания соединителей малого диаметра, названных в честь их изобретателя, немецкого изготовителя медицинских инструментов XIX века Германа Вюльфинга Люэра.
Раздел 5 Требования к размерам соединителей Luer
Устаревшие калибры
Luer не могут быть использованы для проверки (верификации) функциональных характеристик
соединителей, предназначенных для предотвращения неправильного
соединения, поскольку они не имеют размеров для поверхностей, не предназначенных для образования
соединений с
соединителями Luer. Поддержание качества продукции (т.е. применение калибров) выходит за рамки настоящего стандарта. Требования к размерам в
приложении B являются более точным описанием конструкции и функциональных характеристик как для предполагаемых соединений, так и для предотвращения неправильных соединений.
Размеры и допуски, ранее не указанные в ИСО 594-1 и ИСО 594-2, добавлены в настоящий стандарт, чтобы снизить риск неправильного соединения между медицинскими изделиями или между принадлежностями для различных применений с соединителями не Luer, которые разрабатываются в рамках других частей стандартов серии ИСО 80369. Данные новые требования были выбраны, чтобы представить внутреннюю конструкцию и размеры соединителей Luer для клинического применения на момент разработки настоящего стандарта.
Поскольку конфигурации соединителей, предлагаемых в настоящем стандарте, представляют собой соединители малого диаметра с резьбовым выступом или без него, там, где это применимо, используют требования и параметры по ИСО 594-1 и ИСО 594-2.
Максимальный внутренний диаметр на конце штекерного конуса (сквозное отверстие)

выбран для описания большинства
соединителей Luer, доступных
пользователям на момент публикации настоящего стандарта. Комитеты рассмотрели клинические потребности внутрисосудистых
медицинских изделий с высокой скоростью потока и определили, что постепенное увеличение потока, если

увеличивается до теоретического острого края 3,50 мм, не является оправданным ввиду повышенного
риска неправильного соединения с меньшими размерами
соединителей малого диаметра согласно стандартам серии ИСО 80369.
Коммерчески разработанные предварительно заполненные стеклянные шприцы
[8], как правило, сочетаются с
медицинскими изделиями, оснащенными
соединителем Luer, чтобы эффективно вводить лекарственное средство, содержавшееся в шприце.
Примеры - Одноразовые иглы, безыгольные порты и другие формы доступа Luer.
Текущее состояние технологии формования стекла наконечника шприца для изготовления предварительно наполненных стеклянных шприцев не может полностью соответствовать ни ИСО 594, ни настоящему стандарту. Как и ИСО 594, так и настоящий стандарт были разработаны с использованием технологий матового стекла, металла и литья под давлением, а также пластиковых смол в качестве основы для соответствия и возможностей.
Минимальный внутренний диаметр на конце штекерного конуса (сквозное отверстие)

не определен для очень маленького диаметра стеклянных шприцев.
Комитеты признают различия в методологиях производства и необходимость расширенных допусков в производственном процессе формовки стекла. Базовые характеристики конического наконечника должны оставаться одинаковыми. Тем не менее, чтобы приспособить производственный процесс формования стекла, необходимо расширить допуски на размеры. Несмотря на то, что эти допуски выходят за рамки настоящего стандарта в отношении некоторых размеров, наконечник из формованного стекла успешно стыкуется с отлитыми под давлением гнездовыми
соединителями Luer. Следует применять ИСО 11040-4
[8], в котором приведены данные критических размеров, их расширенные соответствующие допуски и
методы функциональных
испытаний, которые подходят для
процесса изготовления формованного наконечника.
При разработке настоящего стандарта был проведен размерный анализ гнездового соединителя Luer, формы резьбы вариант A, чтобы обеспечить:
- как надлежащее подключение к другим штекерным соединителям Luer;
- так и предупреждение неправильного подключения к другим соединителям согласно стандартам серии ИСО 80369.
Анализ демонстрирует, что в некоторых случаях форма резьбы, представленная на
рисунке B.6 и в
таблице B.6, может, если довести до определенных пределов, столкнуться с негерметизирующими элементами сопрягаемого штекерного
соединителя Luer (
рисунки B.3 и
B.4) до достижения герметичного уплотнения. В частности, расстояние по диагонали между углами прямоугольной резьбы гнездового
соединителя Luer на
рисунке B.6 может совпадать с соседней резьбой сопрягаемого штекерного
соединителя Luer.
Рисунки A.1 и
A.2 иллюстрируют эту возможную помеху. Это может быть усугублено допустимыми отклонениями профиля резьбы, шага резьбы и хода винта, а также элементов сопрягаемого штекерного
соединителя Luer. Данные ситуации не отличаются от ситуаций, приведенных в ИСО 594-2, такой же уровень помех был возможен с соответствующими
соединителями.
1 - углы, которые могут мешать
Рисунок A.1 - Углы наконечника, которые могут мешать
1 - область потенциальных помех
Рисунок A.2 - Область потенциальных помех
Из-за большого количества существующих соединителей Luer и общего отсутствия данных, указывающих на проблему при применении, комитеты определили, что требования настоящего стандарта допускают такой же уровень помех (т.е. допустимая конструкция не изменилась).
Анализ также демонстрирует, что в некоторых случаях конические поверхности штекерных и гнездовых
соединителей Luer, изготовленных из
полутвердых материалов, если довести их до определенных крайностей, могут не войти в зацепление достаточно глубоко, чтобы обеспечить правильное зацепление резьбы. В данных случаях полученное
соединение эквивалентно только
соединителю Luer slip и не имеет преимуществ от дополнительного удержания фиксирующей резьбы. Данный потенциал смягчается деформируемостью
полутвердых материалов, из которых изготовлено большинство
соединителей, что позволяет конусам зацепляться дальше по мере их деформации при соединении. Существует общий недостаток данных, указывающих на проблему при фактическом применении. По этим причинам размеры не были изменены для устранения этой возможности, но было добавлено новое рекомендуемое (справочное) минимальное значение для размеров

и

. Соблюдение данной рекомендации снижает вероятность такой возможности. Все
соединители по-прежнему должны соответствовать функциональному испытанию на сопротивление отрыву от осевой нагрузки по
6.4.
Расстояние от конца
соединителя до нижней части первого полного профиля внутренней резьбы, т.е. размер
t, также важно для эффективного фиксирующего
соединения. Также было отмечено, что существует общий недостаток данных, указывающих на наличие проблемы, даже когда многие из имеющихся на рынке штекерных
соединителей Luer lock, изготовленных из
полутвердых материалов, не соответствуют идеальному максимальному размеру 3200 мм. По этой причине, в сочетании со сложностью измерения этого элемента, рекомендуемый размер
соединителей, изготовленных из
полутвердых материалов, был изменен и сделан вспомогательным размером. Все
соединители по-прежнему должны соответствовать функциональному испытанию на устойчивость к разъединению при приложении продольной нагрузки по
6.4.
Кроме того, из-за коммерческого развития существующих соединителей Luer соединитель, соответствующий ИСО 594-2:1988, рисунок 3, вариант A (гнездовой соединитель Luer с резьбовым наконечником под прямым углом), было трудно найти для целей испытания. Большинство изготовителей, предлагающих вариант резьбы с выступом, используют версию, в которой одна сторона находится под прямым углом, а другая наклонена под шагом "p", таким образом, это гибрид между приведенным в ИСО 594-2:1988, рисунок 3, вариант A, и ИСО 594-2:1988, рисунок 4. Поскольку диаметры предусматривают элементы, обеспечивающие сохранение характеристик несоединимости, комитеты решили разрешить данные гибридные резьбовые наконечники с включением элементов N1 и N2 (ширина резьбового наконечника в основании переднего и заднего концов, соответственно).
Примечание - Такой же уровень помех, как описано выше (с резьбой под прямым углом), возможен в пределах указанных допусков. Каждому изготовителю рекомендуется проверить функциональные характеристики своей конструкции, чтобы свести к минимуму риск утечки.
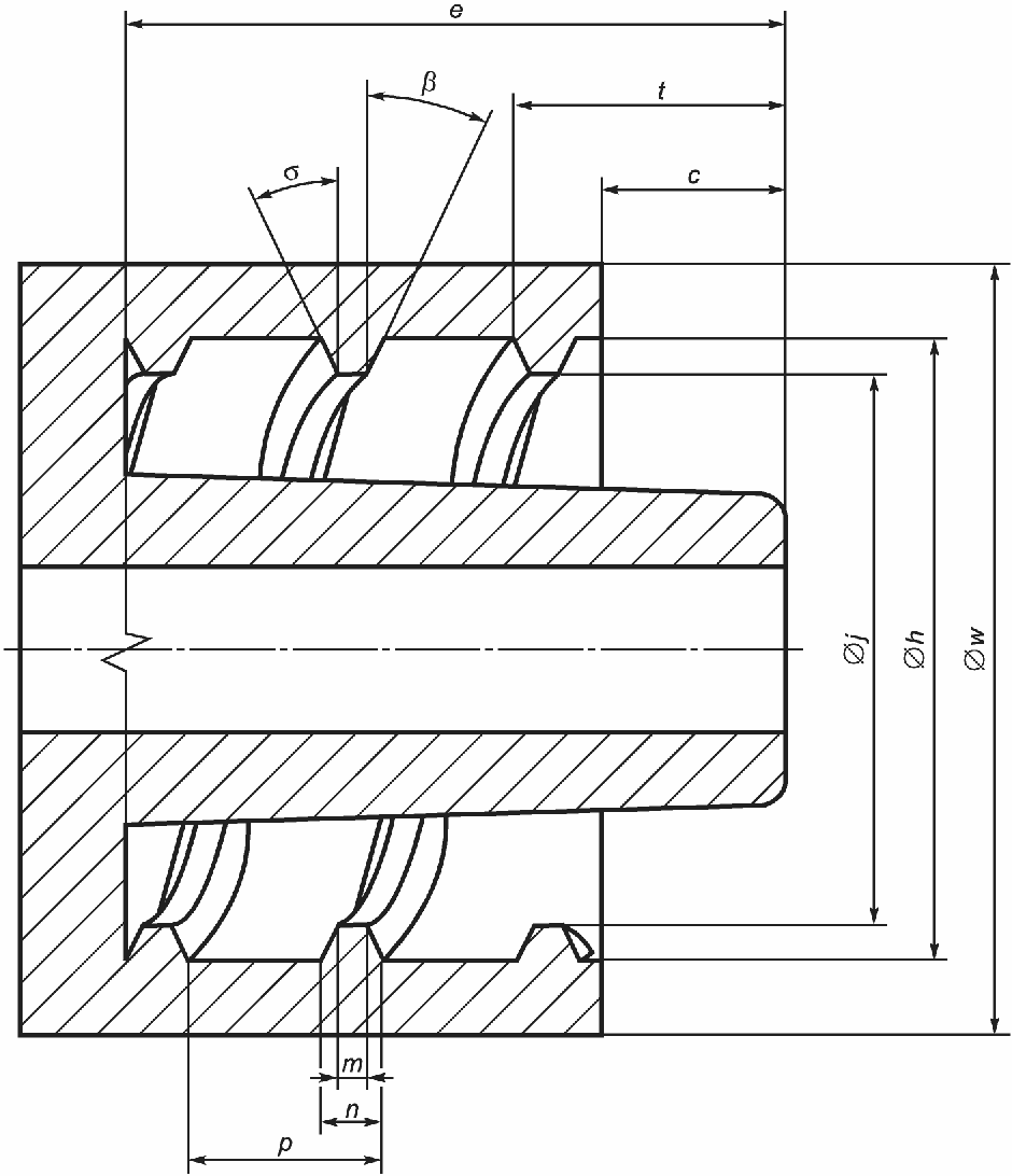
(обязательное)
Рисунок B.1 - Штекерный
соединитель Luer slip (L1)
Таблица B.1
Размеры штекерного
соединителя Luer slip (L1)
Вспомогательные размеры указаны в скобках
Штекерный соединитель Luer slip (L1) |
Обозначение | Наименование | Размер (мм, если не указано иное) |
минимальный | номинальный | максимальный |
| Угол конуса (номинальный конус 6%) (градусы, вспомогательный размер) | - | (3,44°) | - |
| Для твердого материала: наружный диаметр на конце штекерного конуса на расстоянии 0,750 (основной размер) от конца (малого конца) штекерного конуса | 3,970 | - | 4,035 |
Для полутвердого материала: наружный диаметр на конце штекерного конуса на расстоянии 0,750 (основной размер) от конца (малого конца) штекерного конуса | 3,970 | - | 4,072 |
e | Длина штекерного конуса <a> | 7,500 | - | 10,500 |
| Внутренний диаметр на конце штекерного конуса | - | - | 2,900 |
| Для твердого материала: внешний диаметр большего конца штекерного конуса на расстоянии 7,500 (основной размер) от конца (малого конца) штекерного конуса | 4,375 | - | 4,440 |
Для полутвердого материала: внешний диаметр большего конца штекерного конуса на расстоянии 7,500 (основной размер) от конца (малого конца) штекерного конуса | 4,375 | - | 4,477 |
r | Радиус или фаска на внешнем конце штекерного конуса | 0,000 | - | 0,500 |
<a> Данный размер также определяет протяженность соединителя. |

Рисунок B.2 - Гнездовой
соединитель Luer slip (L1)
Таблица B.2
Размеры гнездового
соединителя Luer slip (L1)
Вспомогательные размеры указаны в скобках
Гнездовой соединитель Luer slip (L1) |
Обозначение | Наименование | Размер (мм, если не указано иное) |
минимальный | номинальный | максимальный |
| Угол конуса (номинальный конус 6%) (градусы, вспомогательный размер) | - | (3,44°) | - |
| Для твердого материала: внутренний диаметр на открытом конце гнездового конуса на расстоянии 0,750 (основной размер) от отверстия (большего конца) гнездового конуса | 4,225 | - | 4,270 |
Для полутвердого материала: внутренний диаметр на открытом конце гнездового конуса на расстоянии 0,750 (основной размер) от отверстия (большего конца) гнездового конуса | | - | 4,298 |
E | Глубина гнездового конуса <a> | 7,500 | - | 10,500 |
| Для твердого материала: внутренний диаметр меньшего конца гнездового конуса на расстоянии 7,500 (основной размер) от отверстия (большего конца) гнездового конуса | 3,820 | - | 3,865 |
Для полутвердого материала: внутренний диаметр меньшего конца гнездового конуса на расстоянии 7,500 (основной размер) от отверстия (большего конца) гнездового конуса | | - | 3,893 |
| Внешний диаметр гнездового соединителя Luer slip наименьшего цилиндра, который охватывает внешние поверхности внешних элементов соединителя. Этот диаметр не должен быть больше максимального на расстоянии 5,5 мм от поверхности ступицы | 6,000 | - | 6,730 |
R | Радиус или фаска на входе гнездового конуса | - | - | 0,500 |
<a> Данный размер также определяет протяженность соединителя. <b> Рекомендуется при изготовлении соединителей из полутвердых материалов использовать минимальное значение  и минимальное значение  , для обеспечения зацепления резьбы со всеми штекерными соединителями Luer lock. См. приложение A, раздел 5. |

Рисунок B.3 - Штекерный
соединитель Luer lock (L2)
с фиксированным выступом
Таблица B.3
Размеры штекерного
соединителя Luer lock (L2)
с фиксированным выступом
Вспомогательные размеры указаны в скобках
Штекерный соединитель Luer lock (L2) с фиксированным выступом |
Обозначение | Наименование | Размер (мм, если не указано иное) |
минимальный | номинальный | максимальный |
| Угол профиля внутренней резьбы на ненесущей поверхности против отрыва (градусы) | 25,0° | - | - |
c | Проекция конца соединителя из резьбового выступа | 2,100 | - | - |
e | Длина штекерного конуса <a> | 7,500 | - | 10,500 |
| Диаметр основной внутренней резьбы (диаметр в основании резьбы) | 7,900 | - | 8,100 |
| Второстепенный диаметр внутренней резьбы (диаметр вершины резьбы) | 6,800 | - | 7,200 |
m | Ширина профиля резьбы по вершине | 0,300 | - | - |
n | Ширина профиля резьбы у основания | - | - | 1,000 |
p | Номинальный шаг двухзаходной правой резьбы (вспомогательный размер) (шаг 5 мм) | - | (2,500) | |
| Угол профиля внутренней резьбы на опорной поверхности против отрыва (градусы) | 25,0° | - | 30,0° |
| Для твердого материала: расстояние от конца соединителя до низа первого полного профиля внутренней резьбы (вспомогательный размер) | - | - | (3,200) |
Для полутвердого материала: расстояние от конца соединителя до низа первого полного профиля внутренней резьбы (вспомогательный размер) | - | - | |
| Диаметр наименьшего цилиндра, охватывающего наружные поверхности внешних элементов выступа <b> | 8,800 | - | 11,500 |
Конструкция и размеры профиля резьбы (  ,  и m) могут отличаться от указанных при условии, что соединитель соответствует требованиям раздела 6. Примечание 1 - Конструкция и размеры профиля резьбы (  ,  и m) не считаются важными для обеспечения характеристик несоединимости. Примечание 2 - Размер t важен для эффективного соединения с Luer lock, но его очень трудно измерить, поэтому эффективность этого элемента оценивают с помощью функционального испытания сопротивления отрыву от осевой нагрузки по 6.4. Длина резьбы не указывается, но должна обеспечивать зазор для резьбы гнездового соединителя. Штекерный соединитель с Luer lock должен иметь размеры и допуски штекерного соединителя Luer slip, как указано на рисунке B.1 и в таблице B.1, за исключением случаев, указанных в данной таблице. -------------------------------- <a> Данный размер также определяет протяженность соединителя. <b> Указанный диапазон размеров должен сохраняться на расстоянии не менее 1 мм от открытого конца выступа. На расстоянии свыше 1 мм диаметр может быть меньше указанного минимума. Указанный максимальный диаметр должен сохраняться для минимальной длины e. Данный размер может быть обеспечен либо соединителем, либо медицинским изделием, которое включает в себя этот соединитель. В качестве альтернативы характеристики несоединимости могут быть продемонстрированы с использованием приложения B ИСО 80369-1:2018. <c> Рекомендуется при изготовлении соединителей из полутвердых материалов использовать минимальное значение  и минимальное значение  , для обеспечения зацепления резьбы со всеми штекерными соединителями Luer lock. См. приложение A, раздел 5. |

Рисунок B.4 - Штекерный
соединитель Luer lock (L2)
с вращающимся выступом
Таблица B.4
Размеры штекерного
соединителя Luer lock (L2)
с вращающимся выступом
Вспомогательные размеры указаны в скобках
Штекерный соединитель Luer lock (L2) с вращающимся выступом |
Обозначение | Наименование | Размер (мм, если не указано иное) |
минимальный | номинальный | максимальный |
| Проекция конца соединителя из резьбового выступа | 2,100 | - | - |
e | Длина штекерного конуса <b> | 7,500 | - | 10,500 |
| Для твердого материала: расстояние от конца соединителя до низа первого полного профиля внутренней резьбы (вспомогательный размер) | - | - | (3,200) |
Для полутвердого материала: расстояние от конца соединителя до низа первого полного профиля внутренней резьбы (вспомогательный размер) | - | - | |
Штекерный соединитель Luer lock с вращающимся выступом должен иметь размеры и допуски штекерного соединителя Luer lock, как указано на рисунке B.3 и в таблице B.3, за исключением случаев, указанных в данной таблице. Примечание - Размер t важен для эффективного фиксирующего соединения, но его очень трудно измерить. Поэтому эффективность данного элемента оценивают с помощью функционального испытания сопротивления отрыву от осевой нагрузки по 6.4. -------------------------------- <a> Данный размер соответствует тому, когда плавающий или вращающийся выступ полностью прилегает к концу соединителя. <b> Данный размер также определяет протяженность соединителя. <c> Рекомендуется при изготовлении соединителей из полутвердых материалов использовать минимальное значение  и минимальное значение  , для обеспечения зацепления резьбы со всеми штекерными соединителями Luer lock. См. приложение A, раздел 5. |

Таблица B.5 содержит размеры данной фигуры. Данная конструкция и соответствующие размеры должны применяться к любому гнездовому
соединителю Luer, который имеет резьбу в плоскости, наклонной к оси
соединителя. Размерные ограничения по длине резьбы отсутствуют.
Рисунки B.6,
B.7 и
B.8 относятся к конструкциям, в которых применяются наконечники, расположенные под прямым углом к оси
соединителя.
Рисунок B.5 - Гнездовой соединитель Luer lock (L2)
Таблица B.5
Размеры гнездового
соединителя Luer lock (L2)
Вспомогательные размеры указаны в скобках
Гнездовой соединитель Luer lock (L2) |
Обозначение | Наименование | Размер (мм, если не указано иное) |
минимальный | номинальный | максимальный |
B | Угол профиля наружной резьбы на ненесущей поверхности против отрыва (градусы) | 0,0° | - | - |
E | Глубина гнездового конуса <a> | 7,500 | - | 10,500 |
| Наибольший наружный диаметр резьбы (диаметр в вершине резьбы) для размера элемента резьбы. Это определяет диаметр наименьшего цилиндра глубиной 5,5 мм от лицевой стороны соединителя, который охватывает внешние поверхности внешних элементов соединителя. Данный диаметр не должен быть больше максимального на расстоянии 5,5 мм от поверхности ступицы | 7,730 | - | 7,830 |
| Второстепенный наружный диаметр резьбы (диаметр в основании резьбы). Данный диаметр не должен увеличиваться выше максимального на расстоянии 5,5 мм от поверхности ступицы | 5,515 | - | 6,730 |
M | Ширина профиля резьбы по вершине | 0,300 | - | - |
N | Ширина профиля резьбы у основания при диаметре, соответствующем максимальному  (6,730) | - | - | 1,200 |
P | Номинальный шаг двухзаходной правой резьбы (вспомогательный размер) (шаг 5 мм) | - | (2,500) | - |
Q | Расстояние от поверхности соединителя до основания резьбы на стороне, не несущей нагрузку | - | - | 0,300 |
R | Радиус или фаска на входе гнездового конуса | - | - | 0,500 |
| Угол профиля наружной резьбы на опорной поверхности против отрыва (градусы) | 25,0° | - | 30,0° |
Конструкция и размеры профиля резьбы (  , B и M) могут отличаться от указанных при условии, что соединитель соответствует требованиям функциональных характеристик раздела 6. Примечание - Конструкция и размеры профиля резьбы (  , B, M и P) не считаются важными для обеспечения характеристик несоединимости. Гнездовой соединитель Luer lock должен иметь размеры и допуски гнездового соединителя Luer slip, указанные на рисунке B.2 и в таблице B.2, за исключением случаев, указанных в данной таблице. -------------------------------- <a> Данный размер также определяет протяженность соединителя. |

Рисунок B.6 - Гнездовой
соединитель Luer lock
с наконечниками под прямым углом к оси (L2), вариант A
Таблица B.6
Размеры гнездового
соединителя Luer lock (L2), вариант A
Вспомогательные размеры указаны в скобках
Гнездовой соединитель Luer lock (L2), вариант A |
Обозначение | Наименование | Размер (мм, если не указано иное) |
минимальный | номинальный | максимальный |
B | Угол профиля наружного наконечника на ненесущей поверхности против отрыва (градусы) | 0,0° | - | - |
E | Глубина гнездового конуса <a> | 7,500 | - | 10,500 |
| Диаметр большого наружного наконечника (диаметр на вершине наконечника) | 7,730 | - | 7,830 |
| Малый наружный диаметр наконечника (диаметр в основании наконечника). Данный диаметр не должен быть больше максимального на расстоянии 5,5 мм от торца ступицы | 5,515 | - | 6,730 |
M | Ширина профиля наконечника по вершине | 0,300 | - | - |
N1 | Расстояние от лицевой стороны соединителя до переднего конца наконечника, когда он ввинчивается в штекерный соединитель на диаметре, соответствующем 6730 мм | - | - | 1,200 |
N2 | Расстояние от лицевой стороны соединителя до заднего конца наконечника, когда он ввинчивается в штекерный соединитель на диаметре, соответствующем 6730 мм | - | - | 2,070 |
Q | Расстояние от лицевой стороны соединителя до основания наконечника | - | - | 0,300 |
| Угол профиля внешнего наконечника на опорной поверхности против отрыва (градусы) | 25,0° | - | 30,0° |
X | Длина хорды у основания наконечника в плоскости, перпендикулярной к оси соединителя, измеряется на хорде окружности диаметром 7000 мм | - | - | 3,500 |
Y | Длина хорды на конце наконечника в плоскости, перпендикулярной к оси соединителя | 2,710 | - | - |
Конструкция и размеры профиля резьбы (  , B и M) могут отличаться от указанных при условии, что соединитель соответствует требованиям функциональных характеристик раздела 6. Гнездовой соединитель Luer lock с наружными наконечниками должен иметь размеры и допуски гнездового соединителя Luer slip, указанные на рисунке B.2 и в таблице B.2, за исключением случаев, указанных в данной таблице. -------------------------------- <a> Данный размер также определяет протяженность соединителя. |

Таблица B.7 содержит размеры данной фигуры. Данный вариант предназначен только для применения в конструкции соединителей из
твердых материалов.
Рисунок B.7 - Гнездовой
соединитель Luer lock
с наконечниками под прямым углом к оси (L2), вариант B
Таблица B.7
Размеры гнездового
соединителя Luer lock (L2), вариант B
Вспомогательные размеры указаны в скобках
Гнездовой соединитель Luer lock (L2), вариант B |
Обозначение | Наименование | Размер (мм, если не указано иное) |
минимальный | номинальный | максимальный |
B | Угол профиля наружного наконечника на ненесущей поверхности против отрыва (градусы) | 0,0° | - | - |
E | Глубина гнездового конуса <a> | 7,500 | - | 10,500 |
H | Большая наружная диагональ наконечника (диагональ на вершине наконечника) | 7,700 | - | 7,800 |
| Малый наружный диаметр наконечника (диаметр в основании наконечника). Данный диаметр не должен быть больше максимального на расстоянии 5,5 мм от торца ступицы | 5,515 | - | 5,700 |
М | Ширина профиля наконечника по вершине | - | - | 0,270 |
N | Ширина профиля наконечника при диаметре, соответствующем 6730 мм | - | - | 1,300 |
Q | Расстояние от лицевой стороны соединителя до основания наконечника | - | - | 0,300 |
| Угол профиля внешнего наконечника на опорной поверхности против отрыва (градусы) | 25,0° | - | 30,0° |
X | Длина хорды у основания наконечника в плоскости, перпендикулярной к оси соединителя, измеряется на хорде окружности диаметром 7000 мм | - | - | 5,000 |
Z | Ширина по наконечникам в плоскости под прямым углом к оси соединителя | 6,400 | - | 6,500 |
Конструкция и размеры профиля резьбы (  , B и M) могут отличаться от указанных при условии, что соединитель соответствует требованиям функциональных характеристик раздела 6. Примечание - Конструкция и размеры профиля резьбы (  , B и M) не считаются важными для обеспечения характеристик несоединимости. Гнездовой соединитель Luer lock с наружными наконечниками должен иметь размеры и допуски гнездового соединителя Luer slip, указанные на рисунке B.2 и в таблице B.2, за исключением случаев, указанных в данной таблице. -------------------------------- <a> Данный размер также определяет протяженность соединителя. |

Таблица B.8 содержит размеры данной фигуры. Данный вариант предназначен только для применения в конструкции соединителей из
твердых материалов.
Рисунок B.8 - Гнездовой
соединитель Luer lock
с наконечниками под прямым углом к оси (L2), вариант C
Таблица B.8
Размеры гнездового
соединителя Luer lock (L2), вариант C
Вспомогательные размеры указаны в скобках
Гнездовой соединитель Luer lock (L2) с наружной резьбой |
Обозначение | Наименование | Размер (мм, если не указано иное) |
минимальный | номинальный | максимальный |
| Диаметр большого наружного наконечника (диаметр на вершине наконечника) | 7,700 | - | 7,800 |
X | Длина хорды у основания наконечника в плоскости, перпендикулярной к оси соединителя, измеряется на хорде окружности диаметром 7000 мм | - | - | 5,000 |
Гнездовой соединитель Luer lock с наружными наконечниками должен иметь размеры и допуски гнездового соединителя Luer slip, как указано на рисунке B.2 и в таблице B.2, а также вида B-B рисунка B.7 и в таблице B.7, за исключением случаев, указанных в данной таблице. |
(обязательное)
ЭТАЛОННЫЕ СОЕДИНИТЕЛИ
C.1 Общие требования к эталонным соединителям
Эталонные
соединители должны быть изготовлены из коррозионно-стойких
твердых материалов с шероховатостью поверхности
Ra
[3], не превышающей 0,8 мкм на критических поверхностях.
Примечание - Эталонные соединители, изготовленные в соответствии с допусками приложения C ИСО 80369-7:2016, считаются соответствующими следующим рисункам.
C.2 Эталонные соединители
На
рисунке C.1 все внешние края наконечника или резьбы должны иметь радиус от 0,15 до 0,20 мм (если не указано иное).
R - радиус или фаска, не превышающие 0,5 мм
Рисунок C.1 - Гнездовой эталонный
соединитель Luer lock
для испытания штекерных соединителей Luer на утечки,
устойчивость к разъединению откручиванием, формированию
щелей под действием нагрузки и характеристики несоединимости
R - радиус или фаска, не превышающие 0,5 мм
Минимальная длина штекерного конуса 10,5 мм требуется для испытания
несоединяемых характеристик. Минимальная длина штекерного конуса 7,5 мм может применяться для испытаний на функциональные характеристики по
разделу 6.
Примечание - Конусность 0,06:1.
Рисунок C.2 - Штекерный эталонный
соединитель Luer slip
для испытания гнездовых соединителей Luer на утечки,
устойчивость к разъединению при приложении продольной
нагрузки, формированию щелей под действием нагрузки
и характеристики несоединимости
На
рисунке C.3 все наружные кромки наконечника или резьбы должны иметь радиус от 0,15 до 0,20 мм (если не указано иное).
R - радиус или фаска, не превышающие 0,5 мм
Рисунок C.3 - Гнездовой эталонный
соединитель Luer lock
для испытания штекерного соединителя Luer на устойчивость
к разъединению при приложении продольной нагрузки
и устойчивость к поворачиванию
--------------------------------
<a> Максимальное расстояние от конца штекерного
соединителя Luer lock до первого полного профиля внутренней резьбы (см.
таблицу B.3, размер t).
<b> Двухзаходная, правая резьба с шагом 2,5 мм.
R - радиус или фаска, не превышающие 0,5 мм
Примечание - Данный эталонный
соединитель не может быть использован для испытания характеристик
несоединимости в зависимости от наружного диаметра его выступа, поскольку соответствующий ему определенный диапазон

широк, и один эталонный
соединитель не является репрезентативным.
Рисунок C.4 - Штекерный эталонный
соединитель Luer lock
для испытания гнездового соединителя Luer на утечки,
формирование щелей под действием нагрузки, устойчивость
к разъединению откручиванием и характеристики несоединимости
R - радиус или фаска, не превышающие 0,5 мм
Минимальная длина штекерного конуса 10,5 мм, требующаяся для проверки характеристик несоединимости.
Минимальная длина штекерного конуса 7,5 мм может быть применена для испытаний на функциональные характеристики по
разделу 6.
Примечание 1 - Конусность 0,06:1.
Примечание 2 - Данный эталонный
соединитель не может использоваться для испытания характеристик
несоединимости в зависимости от наружного диаметра его выступа, поскольку его соответствующий определенный диапазон

широк, и один эталонный
соединитель не является репрезентативным.
Рисунок C.5 - Гнездовой эталонный
соединитель Luer slip
для испытания штекерных соединителей Luer на утечки,
формирование щелей под действием нагрузки, устойчивость
к разъединению при приложении продольной нагрузки
и характеристики несоединимости
--------------------------------
<a> Максимальное расстояние от конца штекерного
соединителя Luer lock до первого полного профиля внутренней резьбы (см.
таблицу B.3, размер t).
<b> Двухзаходная, правая резьба с шагом 2,5 мм.
R - радиус или фаска, не превышающие 0,5 мм
Рисунок C.6 - Штекерный эталонный
соединитель для испытания
гнездового соединителя Luer lock на устойчивость
к разъединению при приложении продольной нагрузки
и на устойчивость к поворачиванию
(справочное)
ОЦЕНКА МЕДИЦИНСКИХ ИЗДЕЛИЙ И ИХ ПОКАЗАТЕЛЕЙ С СОЕДИНЕНИЯМИ
В РАМКАХ ДАННОГО ПРИМЕНЕНИЯ
Таблица D.1 содержит примеры
медицинских изделий и
принадлежностей для внутрисосудистого или подкожного
применений. Таблица содержит оценку рабочей группой важных показателей
медицинских изделий и
принадлежностей в отношении предполагаемого
соединения. Каждое
соединение оценивается по следующим показателям или подгруппам:
a) шприцевые соединения;
b) игольчатые соединения;
c) соединения набора инфузионных трубок;
d) соединения портов набора инфузионных трубок;
e) соединения механизма удержания (например, баллона), используемые для удержания инвазивных медицинских изделий на месте;
f) соединения внутривенного катетера;
g) соединения порта внутривенного катетера;
h) запорные соединения;
i) переходные соединения;
j) соединения адаптера для приготовления лекарственных средств.
Таблица D.1
Примеры
медицинских изделий с
соединениями в рамках
данного применения и их показатели
Деталь/компонент, к которому применяется соединитель | Показатель | Диапазон расхода, мл/мин | Тип текучей среды | Тип соединения | Нарушение терапии | Кровотечение у пациента из-за потери жидкости | Нарушенный сбор образцов | Инфекционный контроль | Функциональность |
Воздух | Жидкость | Соединение | Разъединение | Необходимо фиксирование | Необходимо скольжение | Необходим контроль расхода |
Шприц | 1 | От 0 до 1200 | Да | Да | Да | Да | Да | Нет | Да | Да | Да | Да | Да |
Игла | 2 | От 0 до 1200 | Да | Да | Да | Да | Да | Да | Да | Да | Да | Да | Да |
Набор инфузионных трубок | 3 | От 0 до 1200 | Да | Да | Да | Да | Да | Да | Да | Да | Да | Да | Да |
Порт набора инфузионных трубок | 4 | От 0 до 1200 | Да | Да | Да | Да | Да | Да | Нет | Да | Да | Да | Да |
Механизм удержания (например, баллон), используемый для удержания инвазивных медицинских изделий на месте | 5 | От 0 до 1200 | Да | Да | Да | Да | Да | Нет | Нет | Нет | Да | Да | Да |
Внутривенный катетер | 6 | От 0 до 1200 | Да | Да | Да | Да | Да | Да | Да | Да | Да | Да | Да |
Порт внутривенного катетера | 7 | От 0 до 1200 | Да | Да | Да | Да | Да | Да | Да | Да | Да | Да | Да |
Задвижка | 8 | От 0 до 1200 | Да | Да | Да | Да | Да | Да | Нет | Да | Да | Да | Да |
Адаптер | 9 | От 0 до 1200 | Да | Да | Да | Да | Да | Да | Да | Да | Да | Да | Да |
Адаптер для приготовления лекарственных средств | 10 | От 0 до 1200 | Да | Да | Да | Да | Да | Нет | Нет | Да | Да | Да | Да |
(справочное)
КРАТКОЕ ИЗЛОЖЕНИЕ ТРЕБОВАНИЙ К ЭКСПЛУАТАЦИОННОЙ ПРИГОДНОСТИ
СОЕДИНИТЕЛЕЙ LUER ДЛЯ ВНУТРИСОСУДИСТЫХ
ИЛИ ПОДКОЖНЫХ ПРИМЕНЕНИЙ
E.1 Профиль пользователя
Профиль пользователя представляет собой сводку психических, физических и демографических характеристик предполагаемой группы пользователей, а также любых особых характеристик, которые могут иметь отношение к проектным решениям, таких как профессиональные навыки и требования к работе.
К пользователям соединителей Luer для внутрисосудистых или подкожных применений относятся клинические, лабораторные или немедицинские работники, использующие, т.е. эксплуатирующие или обращающиеся с медицинским изделием, включая, помимо прочего, технический, ремонтный и обслуживающий персонал, пациентов или других непрофессиональных лиц. Ожидается, что пользователи выполнят предназначенные действия при предполагаемом применении медицинского изделия, принадлежности, процесса или услуги в соответствии со спецификациями, инструкциями и информацией, предоставленными изготовителем.
Понятие "пользователи" включают следующее:
a) клинические пользователи, такие как:
1) врачи, специализирующиеся в области анестезиологии, нейрорадиологии, педиатрии, онкологии, гематологии/сестринского дела, отделения неотложной помощи, медицины, интервенционной радиологии или в качестве помощника врача,
2) медсестры всех уровней, включая сертифицированную зарегистрированную медсестру-анестезиолога (CRNA) и так далее,
3) фельдшеры,
4) лица, осуществляющие уход на дому, патронажные сестры, родственники;
b) неклинические пользователи, такие как технический, ремонтный и обслуживающий персонал;
c) in vitro диагностическая лаборатория и пользователи аптек, отвечающие за приготовление лекарственных средств, наполнение шприцев и резервуаров, хранение и отпуск лекарственных средств.
Таблица E.1
| Пациенты как пользователи | Клинические пользователи | Неклинические пользователи | In vitro диагностическая лаборатория и пользователи аптек |
Пользовательские навыки | Без подготовки | Обширная клиническая подготовка | Ограниченная клиническая подготовка | Биоинженеры, центральная обработка |
Контакт с пациентом | Прямой контакт с пациентом | Прямой контакт с пациентом | Прямой контакт с пациентом | Нет контакта с пациентом |
E.2 Сценарии использования
Сценарии использования соединителей Luer для внутрисосудистых или подкожных применений могут различаться в зависимости от группы пользователей и состоять из множества дополнительных применений соединителей в различных подобластях.
Краткое изложение сценариев использования по группам
пользователей представлено в
таблице E.2.
Таблица E.2
Сценарий использования подобласти | Пациенты как пользователи | Клинические пользователи | Неклинические пользователи | In vitro диагностическая лаборатория и пользователи аптек |
1 Парентерально |
Химиотерапия | X | X | X | X |
Инсулин, подкожно | X | X | X | - |
Инфузия, размещение внутривенного катетера | - | X | X | X |
Приготовление лекарственных средств | X | X | X | X |
Инъекции | X | X | X | X |
Парентеральное питание, в том числе TPN (полное парентеральное питание) | X | X | X | X |
2 Экстракорпоральный |
Диализ | - | - | - | - |
Перитонеальный диализ | X | X | X | X |
Гемодиализ | X | X | X | - |
ЕСМО (экстракорпоральная мембранная оксигенация) | - | X | - | - |
Инвазивный мониторинг давления | - | X | - | - |
ICP, мониторинг внутричерепного давления | - | X | - | - |
IABP, внутриаортальная баллонная контрпульсация | - | X | - | - |
Вентрикулярное вспомогательное устройство, VAD | - | X | - | - |
Сердечно-легочный шунт | - | X | - | - |
Сердечные катетеры | - | X | - | - |
Быстрые инфузоры | - | X | - | - |
Напорные инфузоры радиологического маркера | - | X | - | X |
3 Промывание |
Уход за раной | X | X | X | - |
Аспирация | X | X | X | - |
Сбор образцов | X | X | X | - |
4 Механизм удержания (например, баллон) (как газа, так и жидкости) |
Катетеры Фолея | X | X | X | - |
Ректальные катетеры | X | X | X | - |
PEG (чрескожная эндоскопическая гастростомия) | X | X | X | - |
Трахеальные трубки | - | X | - | - |
Ларингеальная маска Airways | - | X | - | - |
Трахеостомические трубки | X | X | X | - |
5 Порты |
Подкожный | X | X | X | X |
Контроль над болью | X | X | X | X |
Желудочные бандажи | X | X | X | - |
Наполнение имплантата | - | X | X | - |
6 Кровь |
Сбор образцов | X | X | X | X |
Переливание | X | X | X | - |
Донорство/кровопускание | X | X | X | - |
7 Приготовление лекарственных средств |
Добавить смесь | X | X | X | X |
Смешение | X | X | X | X |
8 Прочее |
Катетеры для термодилюции | - | X | - | - |
E.3 Среды применения
E.3.1 Учреждения
Учреждения включают в себя: больницы, операционные, палаты для пациентов, дома, родильные дома, отделения интенсивной терапии, кабинеты врачей, клиники боли, аптеки, полевые госпитали, транспортные системы, инфузионные клиники, помощь на дому, службы неотложной медицинской помощи.
E.3.2 Применение температуры
Для соединителей Luer предполагают следующие температурные условия:
a) температура окружающей среды - от минус 40 °C до плюс 60 °C (для применения в полевых условиях в службах неотложной медицинской помощи);
b) температура тела - до 42 °C;
c) лечение гипотермией - 10 °C (для терапевтического охлаждения повреждений спинного мозга);
d) лечение гипо/нормо/гипертермией - от 10 °C до 43 °C (для лечения ЕСМО).
E.4 Прочие показатели
Для соединителей Luer предполагают следующие прочие показатели:
a) эксплуатационная пригодность в условиях стресса (игнорирование меток, попытка принудительной подгонки);
b) близость жидкостей, использование перчаток;
c) близость прочего оборудования с соединителями (например, сфигмоманометров, газоанализаторов).
E.5 Общие потребности пользователей
Для соединителей Luer предполагают следующие показатели потребностей пользователя:
a) минимальное обучение пользователей применению соединителей в системе здравоохранения;
b) легкость манипулирования без использования инструментов;
c) простота сборки/разборки с управлением кончиками пальцев, особенно во влажной среде или с использованием перчаток;
d) неправильное соединение с другими соединителями малого диаметра, не предназначенными для одинаковой цели в среде применения не допускается (ИСО 80369-1);
e) не должен протекать при нормальном применении;
f) безопасность/целостность соединения, невозможность непреднамеренного саморазъединения;
g) малая "мертвая зона";
h) легкость прохождения жидкости:
1) скорость лимитирующих факторов,
2) максимальный расход:
i) сердечно-сосудистое оборудование, разведенная кровь: 4 л/мин
при 300 кПа с динамической вязкостью 6,89 мПа/с для предотвращения
гемолиза,
ii) оборудование для диализа, кровь: 600 мл/мин при давлении
на 400 мм рт. ст. ниже атмосферного и
iii) внутривенный насос, водные растворы: 1200 мл/мин
при давлении 300 мм рт. ст.;
3) вязкость растворов
i) водная,
ii) химиотерапия,
iii) стероиды,
iv) гипербарические местные анестетики;
i) методы "игла через иглу", игольчатые стилеты (проводники, периферические катетеры и так далее).
Примечание - Требования к диаметру просвета относятся к медицинскому изделию и могут потребовать проведения оценки рисков, связанных с медицинским изделием, для обеспечения различных возможностей;
j) совместимы со средами дезинфекции, обеззараживания, стерилизации, обработки;
k) соединители Luer необходимы для удовлетворения нескольких потребностей пользователя, таких как:
1) необходимость совмещения шприца с трехходовым краном,
2) необходимость предотвращения изменения ориентации иглы во время
соединения,
3) когнитивное различие между соединителями Luer slip
и соединителями Luer lock, для предотвращения неправильного восприятия
того, что соединитель Luer slip заблокирован,
4) легкая и малозаметная игольчатая ступица,
5) небольшие дополнительные затраты (маркировка/закупка) и
6) необходимость учета видимых путей прохождения жидкости
в конкретных медицинских изделиях.
(справочное)
КРАТКОЕ ИЗЛОЖЕНИЕ ТРЕБОВАНИЙ К КОНСТРУКЦИИ СОЕДИНИТЕЛЯ LUER
ДЛЯ ВНУТРИСОСУДИСТЫХ ИЛИ ПОДКОЖНЫХ ПРИМЕНЕНИЙ
Таблица F.1 представляет собой краткое изложение требований к конструкции
соединителя Luer для внутрисосудистых или подкожных применений.
Таблица F.1
Конкретные требования к конструкции
соединителя Luer
для внутрисосудистых или подкожных применений
| Критерии | Требования | Примечания |
1 | Тип среды | a) жидкость b) газ c) жидкость и газ | c) | - |
| Диапазон рабочего давления | максимальное давление минимальное давление | 300 кПа | - |
субатмосферный? (да/нет) | Да, 80 кПа |
3 | Диапазон нормированного давления | минимум максимум | | - |
4 | Есть ли необходимость в испытании на утечку? | a) нет b) да Ссылка на метод испытаний | b) | - |
5 | Диапазон нормированного расхода | минимум | 0 мл/мин | - |
максимум | 1200 мл/мин |
6 | Диапазон внутренних диаметров (сквозное отверстие) | минимум | 0 мм | - |
максимум | 2,9 мм |
7 | Диапазон нормированных температур | минимум | -40 °C | - |
максимум | 60 °C |
8 | Минимальный диапазон диаметров сопряжения соединителя | минимум максимум | - | Не совместим с другими новыми соединителями малого диаметра |
9 | Общее устройство | a) плоскопараллельное кольцевое уплотнение b) плоскопараллельное, другое уплотнение c) коническое d) другое (указать) | c) d) | - |
10 | Метод закрепления | a) выступ b) пробка c) другое (указать) | Отсутствует | - |
11 | Быстрое разъединение? | a) нет b) да i) работа одной рукой ii) работа двумя руками | a) | - |
12 | Положительное фиксирование/элемент разблокировки? | a) нет b) да | b) | - |
13 | Необходимо визуальное указание состояния фиксирования? | a) нет b) да | a) | - |
14 | Необходимо указание доказательств фальсификации? | a) нет b) да | a) | - |
15 | Необходим шприц в применении? | a) нет b) да | b) | - |
16 | Необходимо отсутствие острых краев? | a) нет b) да | b) | - |
17 | Минимальное осевое усилие при нормальном применении, чтобы оставаться прикрепленным | Усилие | 23 Н соединитель Luer slip 32 Н соединитель Luer lock | - |
| Ссылка на метод испытания | ИСО 594-1 ИСО 594-2 |
18 | Конструкционные материалы (кроме уплотнений) | a) твердый материал i) металл ii) стекло iii) немного пластичный | a) Модуль > 3433 МПа | - |
b) полутвердый материал i) самый пластичный | b) 700 МПа < Модуль < 3433 МПа |
19 | Необходимость применения полутвердого материала? | a) нет b) да, сопрягаемая деталь соединителя (кроме уплотнителя) | a) или b) | - |
20 | Совместимость с МРТ (MRI)? | a) нет, с маркировкой b) нет, без маркировки c) да, с маркировкой d) да, без маркировки | b) или d) | - |
21 | Сопротивление растрескиванию под напряжением? | a) нет b) да Указать ограничения | b) | - |
22 | Как внешне соединитель отличить от соединителя Luer? (описать) | Не применимо | Это соединитель Luer |
23 | Предложение по цветовому кодированию? | a) нет b) да Ссылочный стандарт | a) | - |
24 | Этикетирование/символы/ маркировка? | a) нет (например, не для внутривенного) b) да | a) | - |
25 | Другой метод для указания предполагаемого применения? | a) нет b) да Указать метод | a) | - |
26 | Рассмотрена биосовместимость? | a) нет b) да | b) | - |
27 | Варианты повторного применения | a) многократное применение пациентами b) одноразовое применение пациентом c) одноразовое применение d) не для повторного применения (указать способ автоматического вывода из работы) | a) b) или c) | - |
28 | Требуется обеззараживание? | a) нет, только одноразовое применение b) да, очистка и дезинфекция; указать метод c) да, очистка и стерилизация; указать метод | a) b) или, например, изопропиловый спирт c) | - |
29 | Как достигается несовместимость с ИСО 80369-2? | a) по размеру b) другое Указать метод | a) | - |
30 | Как достигается несовместимость с ИСО 80369-3? | a) по размеру b) другое Указать метод | a) | - |
31 | Как достигается несовместимость с ИСО 80369-5? | a) по размеру b) другое Указать метод | a) | - |
32 | Как достигается несовместимость с ИСО 80369-6? | a) по размеру b) другое Указать метод | a) b) | Возможно неправильное соединение штекерного N1; см. G.2.2 |
33 | Как достигается несовместимость с ИСО 80369-7? (ИСО 594-1 и ИСО 594-2) | a) по размеру b) другое Указать метод | Это соединитель Luer | - |
(справочное)
КРАТКОЕ ИЗЛОЖЕНИЕ ОЦЕНКИ КОНСТРУКЦИИ СОЕДИНИТЕЛЯ LUER
ДЛЯ ВНУТРИСОСУДИСТЫХ ИЛИ ПОДКОЖНЫХ ПРИМЕНЕНИЙ
Соединители, соответствующие настоящему стандарту, были разработаны и изготовлены в соответствии с теми же существенными требованиями к конструкции и размерам, что и
соединители, соответствующие предыдущему изданию ИСО 80369-7, а также отозванным стандартам
[3],
[4].
Соединители, представленные в настоящих стандартах, успешно изготавливаются в качестве компонентов медицинских изделий уже более 100 лет.
G.2 Краткое изложение инженерного анализа конструкции
G.2.1 Анализ несоединимости
Был выполнен инженерный анализ трехмерного автоматизированного проектирования (CAD) с применением вычислительного анализа и трехмерных твердотельных моделей всех допусков и условий материала (
предел минимума материала,
номинал и
предел максимума материала) для всех соединителей, представленных стандартами серии ИСО 80369
[10],
[11],
[13]. Посредством инженерного анализа было показано, что
соединители малого диаметра, указанные в настоящем стандарте,
несоединимы с другими
соединителями, указанными в стандартах серии ИСО 80369, за исключением следующего. В
таблице G.1 кратко изложены возможные неправильные соединения.
Планируется технический отчет для более полного описания процесса инженерного анализа CAD.
Таблица G.1
Краткое изложение возможного неправильного
соединения
из анализа CAD
Соединитель Luer | Соединитель, вызывающий озабоченность | Краткое изложение | Ссылки |
Штекерный | | Возможно неправильное соединение | |
Гнездовой slip | | Физические испытания в соответствии с ИСО 80369-1:2018, приложение B (за исключением использования всех пластиковых деталей), не выявили соединение | |
Гнездовой slip | | Физические испытания в соответствии с ИСО 80369-1:2018, приложение B (за исключением использования всех пластиковых деталей), не выявили соединение | |
<a> N1 и N2 согласно ИСО 80369-6:2016. <b> E1 согласно ИСО 80369-3:2016 [11]. |
G.2.2 Штекерный соединитель Luer к штекерному N1
При инженерном анализе внутренний диаметр жидкостного просвета штекерного
соединителя Luer контактирует с уплотняющими поверхностями штекерного
соединителя N1, как указано в ИСО 80369-6:2016, в
LMC, и, таким образом, данные
соединители взаимно не соответствуют испытаниям характеристик
несоединимости по ИСО 80369-1:2018, приложение B.
Рисунок G.1 иллюстрирует данное неправильное соединение.
1 - штекерный соединитель Luer, 2 - штекерный N1
Рисунок G.1 - Иллюстрация неправильного соединения
штекерного соединителя Luer со штекерным N1
Испытания проводились в соответствии с методом испытаний ИСО 80369-6:2016, приложение H. Соединение не протекает, таким образом эти соединители взаимно не проходят данное испытание характеристик несоединимости.
Оба соединителя расположены дистально по отношению к пациенту при клиническом применении в непосредственной близости от пациента. В этой среде данное неправильное соединение позволит соединить инфузионный источник к инфузионному источнику, который не представляет опасности для пациента. В аптеке данное неправильное соединение может привести к перекрестному наполнению сосудистыми и нейроаксиальными лекарственными средствами.
Данное неправильное соединение оценивается как приемлемый риск.
G.2.3 Гнездовой соединитель Luer slip к гнездовому E1
Испытания проводились в соответствии с методом испытаний приложения B ИСО 80369-1:2018 при замене соединителей с пределом минимума материала (LMC) и материалом с наихудшим модулем изгиба (от 700 до 720 МПа) как для эталонного гнездового соединителя Luer slip, так и для оцениваемого соединителя E1. Комитеты считают эту модификацию метода испытаний более консервативной.
Испытание показало, что соединители несоединимы.
G.2.4 Гнездовой соединитель Luer slip к штекерному фиксированному N1
Испытания проводились в соответствии с методом испытаний приложения B ИСО 80369-1:2018.
Испытание показало, что соединители несоединимы.
G.3 Краткое изложение проверки (верификации) конструкции
По причине долгой и успешной практики широкого клинического применения комитеты пришли к выводу, что нет необходимости в дальнейшей оценке данных систем соединителей в соответствии с процессами и процедурами стандарта ИСО 80369-1:2018, раздел 7. Несмотря на это испытания функциональных характеристик проводилось на испытуемых образцах, которые были доступны на рынке в то время и включали компоненты, изготовленные из следующих материалов.
Соединитель Luer из двух более мягких полимеров:
- соединители из двух полипропиленов (PP) с номинальным модулем упругости (при растяжении) 700 и 950 МПа.
Соединитель Luer из трех более твердых полимеров:
- соединители из стиролакрилонитрила (SAN) с номинальным модулем упругости (при растяжении) 3800 МПа;
- соединители из акрилонитрил-бутадиен-стирола (ABS) с номинальным модулем упругости (при растяжении) 2400 МПа;
- соединители из поликарбоната (PC) с номинальным модулем упругости (при растяжении) 2344 МПа.
Соединитель Luer из двух металлов:
- соединители из латуни и нержавеющей стали.
Данный диапазон модуля охватывает доступные распространенные материалы, наиболее часто используемые для внутрисосудистых и подкожных применений, и соответствует требованиям раздела 4 ИСО 80369-1:2018.
Испытания функциональных характеристик было проведено в соответствии с ИСО 80369-20:2015, как того требует
раздел 6, с использованием 60 образцов на группу испытания.
Заключение:
Результаты испытания на функциональные характеристики показывают, что конструкция
соединителя Luer соответствует требованиям к функциональным характеристикам, указанным в
разделе 6, с использованием
методов испытаний, определенных в ИСО 80369-20:2015.
G.4 Краткое изложение валидации конструкции
Соединитель Luer из настоящего стандарта, как правило, имеет ту же конструкцию, что и текущая конструкция соединителя согласно ИСО 594.
Текущая конструкция соединителя применяется для внутривенных соединений в клинических условиях с 1930 года. Предполагаемое применение соединителей Luer согласно ИСО 594 для внутривенных и подкожных соединений такое же, как и соединителей Luer согласно настоящему стандарту.
Соединители малого диаметра, определенные в ИСО 80369-6, были подвержены испытаниям в ходе исследования человеческого фактора (как описано в ИСО 80369-6:2016, G.4), которое продемонстрировало, что вероятность неправильного соединения между штекерным соединителем Luer и штекерным соединителем N1 по ИСО 80369-6 была уменьшена до минимального возможного значения.
Данные исследования, наряду с мероприятиями по валидации CAD
(G.2), гарантируют, что вероятность неправильного соединения
соединителя Luer со всеми
соединителями, указанными в настоящей серии стандартов, была снижена до приемлемого уровня, насколько это практически возможно, с конструкцией
соединителей Luer, указанной в настоящем стандарте.
Кроме того, поскольку клиническое применение соединителей Luer, указанных в настоящем стандарте, такое же, как ранее указано для соединителей по ИСО 594, дальнейшие исследования эксплуатационной пригодности не посчитали необходимыми.
G.5 Краткое изложение обзора конструкции
Соединители Luer, соответствующие настоящему стандарту, также соответствуют ИСО 594-1
[1] и ИСО 594-2
[2].
Комитеты рассмотрели оценку конструкции соединителей Luer на основе результатов, представленных в настоящем приложении.
Таким образом, обзор конструкции позволяет сделать вывод о наличии значительных, объективных инженерных, технических и клинических доказательств, подтверждающих соответствие соединителя Luer для предполагаемого применения.
(справочное)
ССЫЛКА НА СУЩЕСТВЕННЫЕ ПРИНЦИПЫ
Настоящий стандарт подготовлен для поддержки существенных принципов безопасности и функциональных характеристик соединителей малого диаметра, предназначенных для
внутрисосудистых или
подкожных применений медицинских изделий и связанных с ними
принадлежностей в соответствии с ИСО 16142-1:2016
[9]. Настоящий стандарт предназначен для целей оценки соответствия.
Соответствие настоящему стандарту является одним из способов демонстрации соответствия конкретным существенным принципам ИСО 16142-1:2016
[9]. Возможны другие средства. В
таблице H.1 разделы настоящего стандарта сопоставлены с существенными принципами ИСО 16142-1:2016.
Таблица H.1
Соответствие существенных принципов, приведенных
в ИСО 16142-1:2016, разделам настоящего стандарта
Существенный принцип, приведенный | Соответствующие разделы настоящего стандарта | Квалификационные замечания/примечания |
8.5 | | Данный существенный принцип частично обеспечивается тем, что соединитель не протекает и может быть соединен только с предназначенными для этого медицинскими изделиями и принадлежностями |
12.1 | | - |
17.4 | | - |
17.5 | | - |
(справочное)
ССЫЛКА НА ОБЩИЕ ТРЕБОВАНИЯ К БЕЗОПАСНОСТИ
И ФУНКЦИОНАЛЬНЫМ ХАРАКТЕРИСТИКАМ
Настоящий стандарт подготовлен в поддержку общих требований к безопасности и функциональным характеристикам
Регламента (EU) 2017/745
[15]. Настоящий стандарт предназначен для целей оценки соответствия.
Соответствие настоящему стандарту является одним из способов демонстрации соответствия конкретным общим требованиям к безопасности и функциональным характеристикам (GSPR)
Регламента (EU) 2017/745. Возможны другие средства. В
таблице I.1 разделы настоящего стандарта сопоставлены с общими требованиями к безопасности и функциональным характеристикам
Регламента (ЕС) 2017/745.
Примечание - Если в
таблице I.1 отсутствуют общие требования к безопасности и функциональным характеристикам, это означает, что они не рассматриваются в настоящем стандарте.
Таблица I.1
Соответствие настоящего стандарта общим требованиям
к безопасности и функциональным характеристикам
Общие требования к безопасности и функциональным характеристикам (GSPR) Регламента (EU) 2017/745, приложение I [15] | Соответствующие разделы настоящего стандарта | Квалификационные замечания/примечания |
| | Данные GSPR частично покрываются обеспечением того, что соединитель не протекает и может быть соединен только с предназначенными для этого медицинскими изделиями и принадлежностями |
| | - |
| | - |
| | - |
Для изделий, которые также являются машинами и оборудованием согласно
статье 2(a) Директивы 2006/42/EC
[16] о безопасности машин и оборудования в соответствии с
элементом 12 статьи 1 Регламента (EU) 2017/745
[15], приведена
таблица I.2, которая детализирует соответствующие существенные требования по охране здоровья и безопасности согласно
Директиве 2006/42/EC о безопасности машин и оборудования в той мере, в какой они более конкретны, чем требования
Регламента (EU) 2017/745 вместе с соответствующими разделами настоящего стандарта.
Таблица I.2
Соответствие настоящего стандарта соответствующим
существенным требованиям по охране здоровья и безопасности
машин и оборудования
| Соответствующие разделы настоящего стандарта | Квалификационные замечания/примечания |
| | - |
(справочное)
ТЕРМИНОЛОГИЯ. АЛФАВИТНЫЙ УКАЗАТЕЛЬ ОПРЕДЕЛЕННЫХ ТЕРМИНОВ
вспомогательный размер ................................................
3.1
изготовитель .......................................... ИСО 14971:2019, 3.9
малый диаметр ...................................... ИСО 80369-1:2018, 3.13
медицинское изделие .................................. ИСО 14971:2019, 3.10
метод испытания .................................... ИСО 80369-20:2015, 3.1
несоединимость ..................................... ИСО 80369-1:2018, 3.10
номинальное (значение) .............................. ИСО 80369-1:2018, 3.8
нормальное применение .................................................
3.5
нормированный .........................................................
3.6
ответственная организация .......................... ИСО 80369-1:2018, 3.12
оценка риска ......................................... ИСО 14971:2019, 3.20
пациент ............................................ ИСО 80369-1:2018, 3.11
полутвердый материал ..................................................
3.8
пользователь ....................................... МЭК 62366-1:2015, 3.24
наименьший предел по материалу (MMC) ................ ИСО 80369-1-2018, 3.7
наибольший предел по материалу (LMC) ................ ИСО 80369-1:2018, 3.7
предполагаемое применение ............................. ИСО 14971:2019, 3.6
применение .......................................... ИСО 80369-1:2018, 3.2
принадлежность ...................................... ИСО 80369-1:2018, 3.1
проверка (проверено) (верификация (верифицировано)) .. ИСО 14971:2019, 3.31
профиль пользователя .............................. МЭК 62366-1:2015, 3.29
процедура ............................................ ИСО 14971:2019, 3.13
процесс .............................................. ИСО 14971:2019, 3.14
риск ................................................. ИСО 14971:2019, 3.18
соединение .......................................... ИСО 80369-1:2018, 3.3
соединитель ......................................... ИСО 80369-1:2018, 3.4
соединитель Luer ......................................................
3.2
соединитель Luer lock .................................................
3.4
соединитель Luer slip .................................................
3.3
твердый материал ......................................................
3.7
типовое испытание .................................. ИСО 80369-20:2015, 3.2
(справочное)
СВЕДЕНИЯ О СООТВЕТСТВИИ ССЫЛОЧНЫХ МЕЖДУНАРОДНЫХ СТАНДАРТОВ
НАЦИОНАЛЬНЫМ И МЕЖГОСУДАРСТВЕННЫМ СТАНДАРТАМ
Таблица ДА.1
Обозначение ссылочного международного стандарта | Степень соответствия | Обозначение и наименование соответствующего национального, межгосударственного стандарта |
ISO 14971:2019 | IDT | |
ISO 80369-1:2018 | IDT | ГОСТ Р ИСО 80369-1-2022 "Соединители малого диаметра для жидкостей и газов, используемые в здравоохранении. Часть 1. Общие требования" |
ISO 80369-6:2016 | IDT | ГОСТ Р ИСО 80369-6-2023 "Соединители малого диаметра для жидкостей и газов, используемые в здравоохранении. Часть 6. Частные требования к соединителям нейроаксиального применения" |
ISO 80369-20:2015 | IDT | ГОСТ Р ИСО 80369-20-2022 "Соединители малого диаметра для жидкостей и газов, используемые в здравоохранении. Часть 20. Общие методы испытаний" |
IEC 62366-1:2015 | IDT | ГОСТ Р МЭК 62366-1-2021 "Изделия медицинские. Часть 1. Проектирование медицинских изделий с учетом эксплуатационной пригодности" |
Примечание - В настоящей таблице использовано следующее условное обозначение степени соответствия стандартов: - IDT - идентичные стандарты. |
| | Luer conical fittings with a 6% (Luer) taper for syringes, needles and certain other medical equipment - Part 1: General requirements [Детали соединительные с конусностью 6% (Люэра) для шприцев, игл и другого медицинского оборудования. Часть 1. Общие требования] |
| | Luer conical fittings with a 6% (Luer) taper for syringes, needles and certain other medical equipment - Part 2: Lock fittings [Детали соединительные с конусностью 6% (Люэра) для шприцев, игл и другого медицинского оборудования. Часть 2. Люэровские наконечники] |
| ISO 4287 | Geometrical Product Specifications (GPS) - Surface texture: Profile method - Terms, definitions and surface texture parameters [Геометрические характеристики изделий (GPS). Структура поверхности. Профильный метод. Термины, определения и параметры структуры поверхности] |
| ISO 8536-4 | Infusion equipment for medical use - Part 4: Infusion sets for single use, gravity feed (Устройства инфузионные медицинского назначения. Часть 4. Инфузионные наборы одноразового применения с подачей самотеком) |
| ISO 8637 (series) | Extracorporeal systems for blood purification (Экстракорпоральные системы для очистки крови) |
| ISO 8638 | Cardiovascular implants and extracorporeal systems - Extracorporeal blood circuit for haemodialysers, haemodiafilters and haemofilters (Сердечно-сосудистые имплантаты и экстракорпоральные системы. Экстракорпоральный контур кровообращения для гемодиализаторов, гемодиафильтров и гемофильтров) |
| ISO 10209:2012 | Technical product documentation - Vocabulary - Terms relating to technical drawings, product definition and related documentation (Техническая документация на продукцию. Словарь. Термины, относящиеся к техническим чертежам, определение продукции и связанная с этим документация) |
| ISO 11040-4 | Prefilled syringes - Part 4: Glass barrels for injectables and sterilized subassembled syringes ready for filling (Шприцы, предварительно заполненные. Часть 4. Стеклянные цилиндры для инъекционных растворов и стерилизованные шприцы в сборе, готовые к заполнению) |
| ISO 16142-1:2016 | Medical devices - Recognized essential principles of safety and performance of medical devices - Part 1: General essential principles and additional specific essential principles for all non-IVD medical devices and guidance on the selection of standards (Изделия медицинские. Важнейшие принципы обеспечения безопасности и эксплуатационных характеристик медицинских изделий. Часть 1. Общие и дополнительные специфические важнейшие принципы для всех медицинских изделий, кроме изделий для диагностики in vitro, и руководство по выбору стандартов) |
| ISO 80369-2:2021 | Small-bore connectors for liquids and gases in healthcare applications - Part 2: Connectors for breathing systems and driving gases applications (Соединители малого диаметра для жидкостей и газов, используемые в здравоохранении. Часть 2. Соединители для дыхательных систем и приводных газов) |
| ISO 80369-3:2016+AMD1:2019 | Small-bore connectors for liquids and gases in healthcare applications - Part 3: Connectors for enteral applications (Соединители малого диаметра для жидкостей и газов, используемые в здравоохранении. Часть 3. Соединители для энтеральных применений) |
| IEC 60601-1:2005+AMD1:2012 | Medical electrical equipment - Part 1: General requirements for basic safety and essential performance (Изделия медицинские электрические. Часть 1. Общие требования к безопасности и основным функциональным характеристикам) |
| IEC 80369-5 | Small-bore connectors for liquids and gases in healthcare applications - Part 5: Connectors for limb cuff inflation applications (Соединители малого диаметра для жидкостей и газов, используемые в здравоохранении. Часть 5. Соединители для накачивания манжеток конечностей) |
| CEN/CR 13825, Luer connectors - A report to CEN CHeF from the CEN forum task group "Luer fittings" |
| (EU) 2017/745, (2017) Regulation (EU) 2017/745 of the European Parliament and of the Council of 5 April 2017 on medical devices. OJ L 117, Official Journal of the European Union, pp. 1 - 175 |
| (EC) 2006/42, (2006) Directive 2006/42/EC of the European Parliament and of the Council of 17 May 2006 on machinery. OJ L 157, Official Journal of the European Union, pp. 24 - 86 |
--------------------------------
УДК 006.83:006.354 | |
Ключевые слова: медицинские изделия, соединители малого диаметра для внутрисосудистых или подкожных применений в здравоохранении, менеджмент риска, изготовитель, валидация |