Главная // Актуальные документы // ГОСТ Р (Государственный стандарт)
СПРАВКА
Источник публикации
М.: Стандартинформ, 2009
Примечание к документу
Документ включен в Перечень стандартов, в результате применения которых на добровольной основе обеспечивается соблюдение требований технического регламента Таможенного союза "О безопасности низковольтного оборудования" (ТР ТС 004/2011) (Решение Комиссии Таможенного союза от 16.08.2011 N 768).

Документ утратил силу с 1 января 2013 года в связи с изданием Приказа Росстандарта от 13.12.2011 N 1151-ст. Взамен введен в действие ГОСТ IEC 60745-2-11-2011.

Документ включен в Перечень документов в области стандартизации, в результате применения которых на добровольной основе обеспечивает соблюдение требований Федерального закона от 27.12.2009 N 347-ФЗ "Технический регламент о безопасности низковольтного оборудования" (Приказ Росстандарта от 14.09.2010 N 3546).

Документ включен в Перечень документов в области стандартизации, содержащих правила и методы исследований (испытаний) и измерений, в том числе правила отбора образцов, необходимые для применения и исполнения технического регламента о безопасности машин и оборудования, а также для осуществления оценки соответствия (Распоряжение Правительства РФ от 05.08.2010 N 1328-р).

Документ включен в Перечень документов в области стандартизации, содержащих правила и методы исследований (испытаний) и измерений, в том числе правила отбора образцов, необходимых для применения и исполнения Федерального закона от 27.12.2009 N 347-ФЗ и осуществления оценки соответствия (Распоряжение Правительства РФ от 29.07.2010 N 1284-р).

Введен в действие с 1 января 2010 года.

Взамен ГОСТ Р 50636-94 (МЭК 745-2-11-84).
Название документа
"ГОСТ Р МЭК 60745-2-11-2008. Машины ручные электрические. Безопасность и методы испытаний. Часть 2-11. Частные требования к пилам с возвратно-поступательным движением рабочего инструмента (лобзикам и ножовочным пилам)"
(утв. Приказом Ростехрегулирования от 15.12.2008 N 410-ст)

"ГОСТ Р МЭК 60745-2-11-2008. Машины ручные электрические. Безопасность и методы испытаний. Часть 2-11. Частные требования к пилам с возвратно-поступательным движением рабочего инструмента (лобзикам и ножовочным пилам)"
(утв. Приказом Ростехрегулирования от 15.12.2008 N 410-ст)


Содержание


Утвержден и введен в действие
Приказом Ростехрегулирования
от 15 декабря 2008 г. N 410-ст
НАЦИОНАЛЬНЫЙ СТАНДАРТ РОССИЙСКОЙ ФЕДЕРАЦИИ
МАШИНЫ РУЧНЫЕ ЭЛЕКТРИЧЕСКИЕ
БЕЗОПАСНОСТЬ И МЕТОДЫ ИСПЫТАНИЙ
ЧАСТЬ 2-11
ЧАСТНЫЕ ТРЕБОВАНИЯ К ПИЛАМ
С ВОЗВРАТНО-ПОСТУПАТЕЛЬНЫМ ДВИЖЕНИЕМ
РАБОЧЕГО ИНСТРУМЕНТА (ЛОБЗИКАМ И НОЖОВОЧНЫМ ПИЛАМ)
Hand-held motor-operated electric tools.
Safety and test methods. Part 2-11. Particular
requirements for reciprocating saws (jig and sabre saws)
IEC 60745-2-11:2003
Hand-held motor-operated electric tools - Safety -
Part 2-11: Particular requirements for reciprocating saws
(jig and sabre saws)
(IDT)
ГОСТ Р МЭК 60745-2-11-2008
Группа Г24
ОКС 25.140.20;
ОКП 48 3331
Дата введения
1 января 2010 года
Предисловие
Цели и принципы стандартизации в Российской Федерации установлены Федеральным законом от 27 декабря 2002 г. N 184-ФЗ "О техническом регулировании", а правила применения национальных стандартов Российской Федерации - ГОСТ Р 1.0-2004 "Стандартизация в Российской Федерации. Основные положения".
Сведения о стандарте
1. Подготовлен Открытым акционерным обществом "Институт механизированного инструмента" (ОАО "ВНИИСМИ") на основе собственного аутентичного перевода стандарта, указанного в пункте 4.
2. Внесен Техническим комитетом по стандартизации ТК 262 "Инструмент механизированный и ручной".
3. Утвержден и введен в действие Приказом Федерального агентства по техническому регулированию и метрологии от 15 декабря 2008 г. N 410-ст.
4. Настоящий стандарт идентичен международному стандарту МЭК 60745-2-11:2003 "Ручные электрические инструменты с приводом от электродвигателя. Безопасность. Часть 2-11. Частные требования для пил возвратно-поступательного действия (лобзиков и ножовочных пил)" (IEC 60745-2-11:2003 "Hand-held motor-operated electric tools - Safety - Part 2-11: Particular requirements for reciprocating saws (jig and sabre saws)").
Наименование настоящего стандарта изменено относительно наименования указанного международного стандарта для приведения в соответствие с ГОСТ Р 1.5-2004 (пункт 3.5).
При применении настоящего стандарта рекомендуется использовать вместо ссылочного международного стандарта соответствующий ему национальный стандарт Российской Федерации, сведения о котором приведены в дополнительном Приложении 1.
5. Взамен ГОСТ Р 50636-94 (МЭК 745-2-11-84).
Информация об изменениях к настоящему стандарту публикуется в ежегодно издаваемом информационном указателе "Национальные стандарты", а текст изменений и поправок - в ежемесячно издаваемых информационных указателях "Национальные стандарты". В случае пересмотра или отмены настоящего стандарта соответствующее уведомление будет опубликовано в ежемесячно издаваемом информационном указателе "Национальные стандарты". Соответствующая информация, уведомление и тексты размещаются также в информационной системе общего пользования - на официальном сайте Федерального агентства по техническому регулированию и метрологии в сети Интернет.
Введение
Настоящий стандарт относится к комплексу стандартов, устанавливающих требования безопасности ручных электрических машин и методы их испытаний.
Настоящий стандарт применяют совместно с ГОСТ Р МЭК 60745-1-2005 "Машины ручные электрические. Безопасность и методы испытаний. Часть 1. Общие требования", который идентичен международному стандарту МЭК 60745-1:2003 "Ручные электрические инструменты с приводом от электродвигателя. Безопасность. Часть 1. Общие требования".
Настоящий стандарт устанавливает частные требования безопасности и методы испытаний пил с возвратно-поступательным движением рабочего инструмента (лобзиков и ножовочных пил), которые дополняют, изменяют или заменяют соответствующие разделы, подразделы, пункты, таблицы и рисунки МЭК 60745-1:2003 (ГОСТ Р МЭК 60745-1-2005).
Номера разделов, пунктов, таблиц и рисунков соответствуют приведенным в МЭК 60745-2-11:2003.
ИС МЕГАНОРМ: примечание.
Требования к методам испытаний, выделенные курсивом в официальном тексте документа, в электронной версии документа отмечены знаком "&"; примененные термины, выделенные полужирным шрифтом в официальном тексте документа, в электронной версии документа отмечены знаком "#".
В настоящем стандарте приняты следующие шрифтовые выделения:
- требования к методам испытаний - курсив;
- примененные термины - полужирный шрифт.
Изменение наименования раздела 3 вызвано необходимостью приведения в соответствие с ГОСТ Р 1.5-2004.
1. Область применения
По МЭК 60745-1 со следующим изменением:
1.1. Дополнение
Настоящий стандарт распространяется на пилы возвратно-поступательного действия (далее - пилы).
Перечень машин, на которые распространяется настоящий стандарт, не ограничивается лобзиками и ножовочными пилами.
2. Нормативные ссылки
По МЭК 60745-1.
3. Термины и определения
По МЭК 60745-1 со следующим изменением:
3.101. #Пила возвратно-поступательного действия# (reciprocating saw): машина, предназначенная для пиления различных материалов пильным(ыми) полотном (полотнами), совершающими возвратно-поступательные или колебательные движения.
3.102. #Лобзик# (jig saw): пила возвратно-поступательного действия, оснащенная направляющей плитой и имеющая возможность установки под углом к обрабатываемому материалу.
3.103. #Ножовочная пила# (sabre saw): пила возвратно-поступательного действия с направляющей плитой или без нее, а при ее наличии пила имеет возможность установки под углом к обрабатываемому материалу.
4. Общие требования
По МЭК 60745-1.
5. Общие условия испытаний
По МЭК 60745-1.
6. В стадии рассмотрения
7. Классификация
По МЭК 60745-1.
8. Маркировка и инструкции
По МЭК 60745-1.
9. Защита от контакта с токоведущими частями
По МЭК 60745-1.
10. Пуск
По МЭК 60745-1.
11. Потребляемая мощность и ток
По МЭК 60745-1.
12. Нагрев
По МЭК 60745-1.
13. Ток утечки
По МЭК 60745-1.
14. Влагостойкость
По МЭК 60745-1.
15. Электрическая прочность
По МЭК 60745-1.
16. Защита от перегрузки трансформаторов
и соединенных с ними цепей
По МЭК 60745-1.
17. Надежность
По МЭК 60745-1.
18. Ненормальный режим работы
По МЭК 60745-1.
19. Механическая безопасность
По МЭК 60745-1 со следующими изменениями:
19.1. Замена:
а) Для лобзиков
Для предотвращения непреднамеренного прикосновения к движущимся частям, находящимся выше направляющей плиты, должно быть предусмотрено защитное устройство.
&Испытание проводят осмотром и нижеследующим испытанием:
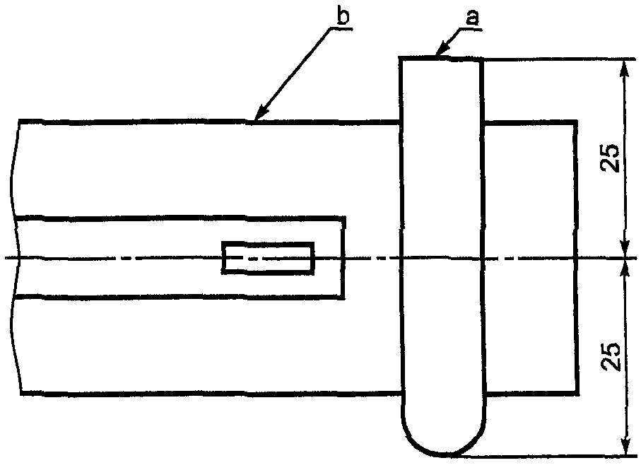
Лобзик настраивается на выполнение пропила под прямым углом. Испытательный палец (см. рисунок 101a) помещается поверх направляющей плиты в соответствии с рисунками 101b и 101c. Продольная ось испытательного пальца должна быть сориентирована перпендикулярно по отношению к кромке зубьев пильного полотна и посередине по отношению к плоскости пильного полотна. При перемещении испытательного пальца к пильному полотну не должно быть возможным его прикосновения к кромке зубьев.&
а) Испытательный палец
Примечание. Для упрощения верхняя часть лобзика не изображена.
b) Вид сбоку с указанием положения
и направлением движения испытательного пальца
c) Вид сверху направляющей плиты
с положением испытательного пальца
a - испытательный палец; b - направляющая плита
Рисунок 101. Испытательный щуп
б) Для других видов пил с возвратно-поступательным движением пильного полотна
Для предотвращения непреднамеренного прикосновения к движущимся частям должно быть предусмотрено защитное устройство.
&Испытание проводят осмотром.&
Если пила сконструирована так, что зона захвата (удержания пилы рукой) находится вблизи или позади пильного полотна, то в продолжение пильной кромки пильного полотна должен быть установлен барьер высотой не менее 6 мм с измерением от поверхности захвата. В барьере нет необходимости, если электрический инструмент снабжен дополнительной передней рукояткой.
20. Механическая прочность
По МЭК 60745-1.
21. Конструкция
По МЭК 60745-1.
22. Внутренняя проводка
По МЭК 60745-1.
23. Комплектующие изделия
По МЭК 60745-1.
24. Присоединение к источнику питания
и внешние гибкие шнуры
По МЭК 60745-1.
25. Зажимы для внешних проводов
По МЭК 60745-1.
26. Заземление
По МЭК 60745-1.
27. Винты и соединения
По МЭК 60745-1.
28. Пути утечки тока, воздушные зазоры
и расстояния по изоляции
По МЭК 60745-1.
29. Теплостойкость, огнестойкость и стойкость
к образованию токоведущих мостиков
По МЭК 60745-1.
30. Коррозийная стойкость
По МЭК 60745-1.
31. Радиация, токсичность и подобные опасности
По МЭК 60745-1.
Приложение K
(обязательное)
БАТАРЕЙНЫЕ (АККУМУЛЯТОРНЫЕ) МАШИНЫ И АККУМУЛЯТОРЫ
K.1.1. Дополнение:
Все пункты настоящего стандарта относятся к приложению, если нет других указаний.
Приложение L
(обязательное)
БАТАРЕЙНЫЕ (АККУМУЛЯТОРНЫЕ) МАШИНЫ И АККУМУЛЯТОРЫ,
ПРЕДУСМОТРЕННЫЕ ДЛЯ ПОДСОЕДИНЕНИЯ К СЕТИ
ИЛИ НЕИЗОЛИРОВАННЫМ ИСТОЧНИКАМ ПИТАНИЯ
L.1.1. Дополнение:
Все пункты настоящего стандарта относятся к приложению, если нет других указаний.
Приложение 1
(справочное)
СВЕДЕНИЯ О СООТВЕТСТВИИ
НАЦИОНАЛЬНОГО СТАНДАРТА РОССИЙСКОЙ ФЕДЕРАЦИИ
ССЫЛОЧНОМУ МЕЖДУНАРОДНОМУ СТАНДАРТУ
Таблица 1.1
Обозначение ссылочного
международного стандарта
Обозначение и наименование соответствующего
национального стандарта
МЭК 60745-1:2003
ГОСТ Р МЭК 60745-1-2005. Машины ручные
электрические. Безопасность и методы
испытаний. Часть 1. Общие требования
БИБЛИОГРАФИЯ
По МЭК 60745-1.