Главная // Актуальные документы // ГОСТ Р (Государственный стандарт)
СПРАВКА
Источник публикации
М.: Стандартинформ, 2008
Примечание к документу
Документ утратил силу с 1 января 2013 года в связи с изданием Приказа Росстандарта от 13.12.2011 N 1427-ст. Взамен введен в действие ГОСТ IEC 60332-1-3-2011.

Документ включен в Перечень национальных стандартов, содержащих правила и методы исследований (испытаний) и измерений, в том числе правила отбора образцов, необходимые для применения и исполнения технического регламента о безопасности объектов внутреннего водного транспорта и осуществления оценки соответствия (Распоряжение Правительства РФ от 29.06.2011 N 1100-р).

Документ включен в Перечень документов в области стандартизации, содержащих правила и методы исследований (испытаний) и измерений, в том числе правила отбора образцов, необходимых для применения и исполнения Федерального закона от 27.12.2009 N 347-ФЗ и осуществления оценки соответствия (Распоряжение Правительства РФ от 29.07.2010 N 1284-р).

Документ включен в Перечень национальных стандартов, содержащих правила и методы исследований (испытаний) и измерений, в том числе правила отбора образцов, необходимых для применения и исполнения Федерального закона от 22.07.2008 N 123-ФЗ и осуществления оценки соответствия (Распоряжение Правительства РФ от 10.03.2009 N 304-р).

Введен в действие с 1 июля 2008 года.
Название документа
"ГОСТ Р МЭК 60332-1-3-2007. Испытания электрических и оптических кабелей в условиях воздействия пламени. Часть 1-3. Испытание на нераспространение горения одиночного вертикально расположенного изолированного провода или кабеля. Проведение испытания на образование горящих капелек/частиц"
(утв. Приказом Ростехрегулирования от 21.11.2007 N 324-ст)

"ГОСТ Р МЭК 60332-1-3-2007. Испытания электрических и оптических кабелей в условиях воздействия пламени. Часть 1-3. Испытание на нераспространение горения одиночного вертикально расположенного изолированного провода или кабеля. Проведение испытания на образование горящих капелек/частиц"
(утв. Приказом Ростехрегулирования от 21.11.2007 N 324-ст)


Содержание


Утвержден и введен в действие
Приказом Ростехрегулирования
от 21 ноября 2007 г. N 324-ст
НАЦИОНАЛЬНЫЙ СТАНДАРТ РОССИЙСКОЙ ФЕДЕРАЦИИ
ИСПЫТАНИЯ ЭЛЕКТРИЧЕСКИХ И ОПТИЧЕСКИХ КАБЕЛЕЙ
В УСЛОВИЯХ ВОЗДЕЙСТВИЯ ПЛАМЕНИ
ЧАСТЬ 1-3
ИСПЫТАНИЕ НА НЕРАСПРОСТРАНЕНИЕ ГОРЕНИЯ
ОДИНОЧНОГО ВЕРТИКАЛЬНО РАСПОЛОЖЕННОГО
ИЗОЛИРОВАННОГО ПРОВОДА ИЛИ КАБЕЛЯ.
ПРОВЕДЕНИЕ ИСПЫТАНИЯ НА ОБРАЗОВАНИЕ
ГОРЯЩИХ КАПЕЛЕК/ЧАСТИЦ
Tests on electric and optical fibre cables under fire
conditions. Part 1-3. Test for vertical flame propagation
for a single insulated wire or cable.
Procedure for determination of flaming droplets/particles
IEC 60332-1-3:2004
Tests on electric and optical fibre cables under fire
conditions - Part 1-3: Test for vertical flame propagation
for a single insulated wire or cable -
Procedure for determination of flaming droplets/particles
(IDT)
ГОСТ Р МЭК 60332-1-3-2007
Группа Е49
ОКС 29.060.20;
ОКП 35 0000
Дата введения
1 июля 2008 года
Предисловие
Цели и принципы стандартизации в Российской Федерации установлены Федеральным законом от 27 декабря 2002 г. N 184-ФЗ "О техническом регулировании", а правила применения национальных стандартов Российской Федерации - ГОСТ Р 1.0-2004 "Стандартизация в Российской Федерации. Основные положения".
Сведения о стандарте
1. Подготовлен Открытым акционерным обществом "Всероссийский научно-исследовательский, проектно-конструкторский и технологический институт кабельной промышленности" (ОАО "ВНИИКП") на основе собственного аутентичного перевода стандарта, указанного в пункте 4.
2. Внесен Техническим комитетом по стандартизации ТК 46 "Кабельные изделия".
3. Утвержден и введен в действие Приказом Федерального агентства по техническому регулированию и метрологии от 21 ноября 2007 г. N 324-ст.
4. Настоящий стандарт идентичен международному стандарту МЭК 60332-1-3:2004 "Испытания электрических и оптических кабелей в условиях воздействия пламени. Часть 1-3. Испытание на нераспространение горения одиночного вертикально расположенного изолированного провода или кабеля. Проведение испытания на образование горящих капелек/частиц" (IEC 60332-1-3:2004 "Tests on electric and optical fibre cables under fire conditions - Part 1-3: Test for vertical flame propagation for a single insulated wire or cable - Procedure for determination of flaming droplets/particles").
При применении настоящего стандарта рекомендуется использовать вместо ссылочных международных стандартов соответствующие им национальные стандарты Российской Федерации, сведения о которых приведены в дополнительном Приложении B.
5. Введен впервые.
Информация об изменениях к настоящему стандарту публикуется в ежегодно издаваемом информационном указателе "Национальные стандарты", а текст изменений и поправок - в ежемесячно издаваемых информационных указателях "Национальные стандарты". В случае пересмотра (замены) или отмены настоящего стандарта соответствующее уведомление будет опубликовано в ежемесячно издаваемом информационном указателе "Национальные стандарты". Соответствующая информация, уведомление и тексты размещаются также в информационной системе общего пользования - на официальном сайте Федерального агентства по техническому регулированию и метрологии в сети Интернет.
1. Область применения
Настоящий стандарт устанавливает метод испытания для оценки степени образования падающих горящих капелек/частиц от одиночного вертикально расположенного электрического изолированного провода или кабеля или оптического кабеля в заданных условиях воздействия пламени.
Примечание 1. При необходимости испытание по настоящему стандарту можно проводить одновременно с испытанием по стандарту МЭК 60332-1-2.
Рекомендуемые требования по оценке результатов испытаний приведены в Приложении A.
Настоящий стандарт устанавливает метод испытания при воздействии пламенем газовой горелки мощностью 1 кВт с предварительным смешением газов, который является методом общего применения, но приведенный метод не может быть применен для испытания одиночных изолированных проводов или кабелей небольших размеров (сечением менее 0,5 мм2) из-за возможности плавления токопроводящей жилы или при испытании оптических кабелей небольших размеров из-за возможности обрыва кабеля до окончания испытания.
2. Нормативные ссылки
В настоящем стандарте использованы нормативные ссылки на следующие международные стандарты:
МЭК 60332-1-1:2004. Испытания электрических и оптических кабелей в условиях воздействия пламени. Часть 1-1. Испытание на нераспространение горения одиночного вертикально расположенного изолированного провода или кабеля. Испытательное оборудование
ИСО 187:1990. Бумага, картон и целлюлоза. Стандартные условия внешней среды для кондиционирования и испытания и метод контроля условий внешней среды и кондиционирования образцов.
3. Термины и определения
В настоящем стандарте применены следующие термины с соответствующими определениями:
3.1. Источник зажигания (ignition): источник энергии, вызывающий горение.
3.2. Деструктивные отделения при горении (flaming debris): вещество, стекающее или отделяющееся от образца при проведении испытания и падающее ниже конца образца, продолжая гореть при падении, и воспламеняющее фильтровальную бумагу под ним.
4. Испытательное оборудование
4.1. Общие положения
Используют испытательное оборудование по МЭК 60332-1-1.
4.2. Источник зажигания
Источник зажигания должен соответствовать МЭК 60332-1-1, 4.3.
4.3. Фильтровальная бумага
В качестве фильтровальной бумаги используют неокрашенную целлюлозную бумагу плотностью (80 +/- 15) г/м2 с содержанием золы менее 0,1%. Фильтровальная бумага должна быть кондиционирована в соответствии с требованиями ИСО 187.
5. Проведение испытания
5.1. Образец
Образец представляет собой отрезок изолированного провода или кабеля длиной (600 +/- 25) мм.
5.2. Кондиционирование
Перед испытанием образцы выдерживают не менее 16 ч при температуре (23 +/- 5) °C и относительной влажности (50 +/- 20)%.
Если изолированный провод или кабель покрыт краской или лаком, перед кондиционированием образец выдерживают в течение 4 ч при температуре (60 +/- 2) °C.
5.3. Расположение образца и фильтровальной бумаги
Образец выпрямляют и закрепляют при помощи медной проволоки соответствующего диаметра к двум горизонтальным опорам в вертикальном положении в центре металлической камеры (МЭК 60332-1-1, 4.2) так, чтобы расстояние между нижним краем верхней опоры и верхним краем нижней опоры составляло (550 +/- 5) мм. Кроме того, образец должен быть расположен так, чтобы его нижний конец находился на расстоянии около 50 мм от дна камеры (рисунок 1).
1 - металлическая камера; 2 - опорный стержень
и крепление медной проволокой; 3 - образец;
A - расстояние от дна камеры до нижнего конца образца
(около 50 мм)
Рисунок 1. Расположение образца в испытательной камере
Вертикальная ось образца должна располагаться в центре камеры (т.е. на расстоянии 150 мм от боковых стенок и 225 мм от задней стенки).
Два листа фильтровальной бумаги размером [(300 +/- 10) x (300 +/- 10)] мм помещают плашмя один на другой на основание металлической камеры не более чем за 3 мин до начала испытания.
Фильтровальную бумагу располагают в центре под образцом.
5.4. Воздействие пламени
Меры безопасности
Необходимо принять меры, чтобы обезопасить персонал и в процессе проведения испытания не допустить:
a) возникновения пожара или взрыва;
b) вдыхания дыма и/или токсичных продуктов, особенно если горят галогенные материалы;
c) контакта с токсичными остатками сгорания.
5.4.1. Расположение пламени
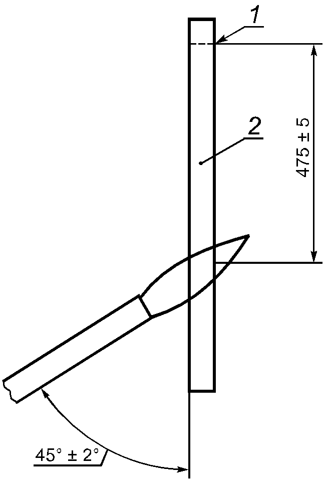
Откалиброванную горелку (МЭК 60332-1-1, 4.3) включают и устанавливают требуемый расход газа и воздуха. Горелка должна быть расположена так, чтобы кончик внутреннего конуса пламени синего цвета касался поверхности образца на расстоянии (475 +/- 5) мм от нижнего края верхней горизонтальной опоры, при этом ось сопла горелки должна быть под углом 45° +/- 2° к вертикальной оси образца (рисунок 2).
1 - нижний край верхней опоры; 2 - образец
Рисунок 2. Приложение пламени горелки к образцу
Место воздействия пламени для плоских кабелей должно быть в средней части плоской стороны кабеля.
5.4.2. Продолжительность испытания
Пламя должно действовать на образец непрерывно в течение времени, зависящего от диаметра образца в соответствии с таблицей 1.
Таблица 1
Время воздействия пламени
┌──────────────────────────────────┬──────────────────────────────────────┐
│ Наружный диаметр образца <a>, мм │ Время воздействия пламени <b>, с │
├──────────────────────────────────┼──────────────────────────────────────┤
│ D <= 25 │ 60 +/- 2 │
│ 25 < D <= 50 │ 120 +/- 2 │
│ 50 < D <= 75 │ 240 +/- 2 │
│ D > 75 │ 480 +/- 2 │
├──────────────────────────────────┴──────────────────────────────────────┤
│ <a> При испытании кабелей некруглого сечения (например плоских│
│кабелей) определяют периметр кабеля и рассчитывают эквивалентный диаметр│
│круглого кабеля. │
│ <b> Для плоских кабелей, имеющих соотношение большой и малой осей│
│более 17:1, значения времени воздействия пламени находятся в стадии│
│рассмотрения. │
└─────────────────────────────────────────────────────────────────────────┘
В конце испытания горелку удаляют, а пламя гасят.
6. Оценка результатов
В течение испытания фиксируют:
a) воспламенилась ли фильтровальная бумага или нет;
b) если фильтровальная бумага воспламенилась, период времени воспламенения фильтровальной бумаги до прекращения ее горения.
Приложение A
(справочное)
РЕКОМЕНДУЕМЫЕ ТРЕБОВАНИЯ ПО ОЦЕНКЕ РЕЗУЛЬТАТОВ ИСПЫТАНИЙ
Требования по оценке результатов испытаний для конкретного типа или класса изолированного провода или кабеля должны предпочтительно быть указаны в стандарте или технических условиях на конкретный провод или кабель. В случае отсутствия каких-либо требований рекомендуется в качестве минимально допустимого уровня принять требования, указанные ниже.
Изолированный провод или кабель считают выдержавшим испытание, если в течение испытания фильтровальная бумага не воспламенилась.
Если образец не выдержал испытание, проводят еще два испытания. Если в результате двух повторных испытаний получены удовлетворительные результаты, изолированный провод или кабель считают выдержавшим испытание.
Приложение B
(справочное)
СВЕДЕНИЯ О СООТВЕТСТВИИ
НАЦИОНАЛЬНЫХ СТАНДАРТОВ РОССИЙСКОЙ ФЕДЕРАЦИИ
ССЫЛОЧНЫМ МЕЖДУНАРОДНЫМ СТАНДАРТАМ
Таблица B.1
Обозначение ссылочного
международного стандарта
Обозначение и наименование соответствующего
национального стандарта
МЭК 60332-1-1:2004
электрических и оптических кабелей в условиях
воздействия пламени. Часть 1-1. Испытание
на нераспространение горения одиночного
вертикально расположенного изолированного
провода или кабеля. Испытательное оборудование
МЭК 60332-1-2:2004
электрических и оптических кабелей в условиях
воздействия пламени. Часть 1-2. Испытание на
нераспространение горения одиночного вертикально
расположенного изолированного провода
или кабеля. Проведение испытания при
воздействии пламенем газовой горелки мощностью
1 кВт с предварительным смешением газов
ИСО 187:1990
<*>
<*> Соответствующий национальный стандарт отсутствует. До его
утверждения рекомендуется использовать перевод на русский язык данного
международного стандарта. Перевод данного международного стандарта
находится в ОАО "ВНИИКП".
БИБЛИОГРАФИЯ
МЭК 60332-1-2:2004. Испытания электрических и оптических кабелей в условиях воздействия пламени. Часть 1-2. Испытание на нераспространение горения одиночного вертикально расположенного изолированного провода или кабеля. Проведение испытания при воздействии пламенем газовой горелки мощностью 1 кВт с предварительным смешением газов (IEC 60332-1-2:2004. Tests on electric and optical fibre cables under fire conditions - Part 1-2: Test for vertical flame propagation for a single insulated wire or cable - Procedure for 1 kW pre-mixed flame)