Главная // Актуальные документы // ГОСТ Р (Государственный стандарт)
СПРАВКА
Источник публикации
М.: Стандартинформ, 2008
Примечание к документу
Документ утратил силу с 1 января 2013 года в связи с изданием Приказа Росстандарта от 13.12.2011 N 1425-ст. Взамен введен в действие ГОСТ IEC 60332-1-1-2011.

Документ включен в Перечень документов в области стандартизации, содержащих правила и методы исследований (испытаний) и измерений, в том числе правила отбора образцов, необходимых для применения и исполнения Федерального закона от 27.12.2009 N 347-ФЗ и осуществления оценки соответствия (Распоряжение Правительства РФ от 29.07.2010 N 1284-р).

Документ включен в Перечень национальных стандартов, содержащих правила и методы исследований (испытаний) и измерений, в том числе правила отбора образцов, необходимых для применения и исполнения Федерального закона от 22.07.2008 N 123-ФЗ и осуществления оценки соответствия (Распоряжение Правительства РФ от 10.03.2009 N 304-р).

Введен в действие с 1 июля 2008 года.

Взамен ГОСТ Р МЭК 332-1-96 в части испытательного оборудования.
Название документа
"ГОСТ Р МЭК 60332-1-1-2007. Испытания электрических и оптических кабелей в условиях воздействия пламени. Часть 1-1. Испытание на нераспространение горения одиночного вертикально расположенного изолированного провода или кабеля. Испытательное оборудование"
(утв. Приказом Ростехрегулирования от 21.11.2007 N 322-ст)

"ГОСТ Р МЭК 60332-1-1-2007. Испытания электрических и оптических кабелей в условиях воздействия пламени. Часть 1-1. Испытание на нераспространение горения одиночного вертикально расположенного изолированного провода или кабеля. Испытательное оборудование"
(утв. Приказом Ростехрегулирования от 21.11.2007 N 322-ст)


Содержание


Утвержден и введен в действие
Приказом Ростехрегулирования
от 21 ноября 2007 г. N 322-ст
НАЦИОНАЛЬНЫЙ СТАНДАРТ РОССИЙСКОЙ ФЕДЕРАЦИИ
ИСПЫТАНИЯ ЭЛЕКТРИЧЕСКИХ И ОПТИЧЕСКИХ КАБЕЛЕЙ
В УСЛОВИЯХ ВОЗДЕЙСТВИЯ ПЛАМЕНИ
ЧАСТЬ 1-1
ИСПЫТАНИЕ НА НЕРАСПРОСТРАНЕНИЕ ГОРЕНИЯ ОДИНОЧНОГО
ВЕРТИКАЛЬНО РАСПОЛОЖЕННОГО ИЗОЛИРОВАННОГО ПРОВОДА
ИЛИ КАБЕЛЯ. ИСПЫТАТЕЛЬНОЕ ОБОРУДОВАНИЕ
Tests on electric
and optical fibre cables under fire conditions.
Part 1-1. Test for vertical flame propagation
for a single insulated wire or cable. Apparatus
IEC 60332-1-1:2004
Tests on electric
and optical fibre cables under fire conditions -
Part 1-1: Test for vertical flame propagation
for a single insulated wire or cable - Apparatus
(IDT)
ГОСТ Р МЭК 60332-1-1-2007
Группа Е49
ОКС 29.060.20
ОКП 35 0000
Дата введения
1 июля 2008 года
Предисловие
Цели и принципы стандартизации в Российской Федерации установлены Федеральным законом от 27 декабря 2002 г. N 184-ФЗ "О техническом регулировании", а правила применения национальных стандартов Российской Федерации - ГОСТ Р 1.0-2004 "Стандартизация в Российской Федерации. Основные положения".
Сведения о стандарте
1. Подготовлен Открытым акционерным обществом "Всероссийский научно-исследовательский, проектно-конструкторский и технологический институт кабельной промышленности" (ОАО "ВНИИКП") на основе собственного аутентичного перевода стандарта, указанного в пункте 4.
2. Внесен Техническим комитетом по стандартизации ТК 46 "Кабельные изделия".
3. Утвержден и введен в действие Приказом Федерального агентства по техническому регулированию и метрологии от 21 ноября 2007 г. N 322-ст.
4. Настоящий стандарт идентичен международному стандарту МЭК 60332-1-1:2004 "Испытания электрических и оптических кабелей в условиях воздействия пламени. Часть 1-1. Испытание на нераспространение горения одиночного вертикально расположенного изолированного провода или кабеля. Испытательное оборудование" (IEC 60332-1-1:2004 "Tests on electric and optical fibre cables under fire conditions - Part 1-1: Test for vertical flame propagation for a single insulated wire or cable - Apparatus").
При применении настоящего стандарта рекомендуется использовать вместо ссылочных международных стандартов соответствующие им национальные стандарты Российской Федерации, сведения о которых приведены в дополнительном Приложении A.
5. Взамен ГОСТ Р МЭК 332-1-96 в части испытательного оборудования.
Информация об изменениях к настоящему стандарту публикуется в ежегодно издаваемом информационном указателе "Национальные стандарты", а текст изменений и поправок - в ежемесячно издаваемых информационных указателях "Национальные стандарты". В случае пересмотра (замены) или отмены настоящего стандарта соответствующее уведомление будет опубликовано в ежемесячно издаваемом информационном указателе "Национальные стандарты". Соответствующая информация, уведомление и тексты размещаются также в информационной системе общего пользования - на официальном сайте Федерального агентства по техническому регулированию и метрологии в сети Интернет.
1. Область применения
Настоящий стандарт устанавливает требования к испытательному оборудованию, применяемому при проведении испытания на нераспространение горения одиночного вертикально расположенного электрического изолированного провода или кабеля или оптического кабеля в условиях воздействия пламени.
Порядок проведения испытания и рекомендуемые требования по оценке его результатов (Приложение A) приведены в МЭК 60332-1-2.
2. Нормативные ссылки
В настоящем стандарте использована нормативная ссылка на следующий международный стандарт:
МЭК 60695-11-2:2003. Испытания на пожарную опасность. Часть 11-2. Испытательное пламя. Пламя, образуемое источником номинальной мощностью 1 кВт при сгорании предварительно подготовленной смеси. Испытательное оборудование, расположение горелки при испытании, руководство.
3. Термины и определения
В настоящем стандарте применен следующий термин с соответствующим определением:
3.1. Источник зажигания (ignition source): источник энергии, вызывающий горение.
4. Испытательное оборудование
4.1. Составные части оборудования
Испытательное оборудование состоит из следующих частей:
a) металлической камеры (4.2);
b) источника зажигания (4.3);
c) помещения для испытания (4.4).
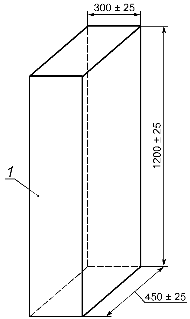
4.2. Металлическая камера
Используют металлическую камеру (рисунок 1) без передней стенки высотой (1200 +/- 25) мм, шириной (300 +/- 25) мм и глубиной (450 +/- 25) мм. Верх и дно камеры должны быть закрытыми.
1 - открытая передняя сторона
(все остальные стороны закрыты)
Рисунок 1. Испытательное оборудование - металлическая камера
4.3. Источник зажигания
Источник зажигания должен соответствовать требованиям МЭК 60695-11-2 (в котором приведен также метод проверки и регулирования пламени), за исключением того, что в горелке в качестве топлива должен использоваться технический пропан, более 95% <*>.
Примечание. В МЭК 60695-11-2 имеется ссылка на МЭК 60695-2-4/0, требования которого должны быть учтены.
--------------------------------
<*> Допускается использовать смесь пропан-бутан.
4.4. Помещение для испытания
Испытательную камеру и источник зажигания размещают в помещении, в котором нет сквозняков, но имеются системы удаления токсичных газов, выделяемых при горении. В помещении, где проводят испытание, должна поддерживаться температура (23 +/- 10) °C.
Примечания. 1. Если в качестве закрытого помещения без сквозняков используют обычный вытяжной шкаф, то он должен иметь устройство отключения, позволяющее работать при выключенном вытяжном вентиляторе. Некоторые вытяжные шкафы не оборудуют таким устройством.
2. При проведении испытания в вытяжном шкафу рекомендуются следующие операции, обеспечивающие безопасность работы:
a) выключить вытяжной вентилятор, наглухо закрыть выходное отверстие;
b) опустить переднюю дверцу вытяжного шкафа, оставив такой зазор, чтобы можно было установить горелку в требуемом положении;
c) убедиться в безопасности работы оператора;
d) не перемещать дверцу вытяжного шкафа во время испытания;
e) в конце испытания перед открытием дверцы вытяжной шкаф следует полностью проветрить.
Приложение A
(справочное)
СВЕДЕНИЯ О СООТВЕТСТВИИ
НАЦИОНАЛЬНЫХ СТАНДАРТОВ РОССИЙСКОЙ ФЕДЕРАЦИИ
ССЫЛОЧНЫМ МЕЖДУНАРОДНЫМ СТАНДАРТАМ
Таблица A.1
┌────────────────────────┬────────────────────────────────────────────────┐
│ Обозначение ссылочного │ Обозначение и наименование соответствующего │
│международного стандарта│ национального стандарта │
├────────────────────────┼────────────────────────────────────────────────┤
│МЭК 60332-1-2:2004 │ГОСТ Р МЭК 60332-1-2-2007. Испытания │
│ │электрических и оптических кабелей в условиях │
│ │воздействия пламени. Часть 1-2. Испытание │
│ │на нераспространение горения одиночного │
│ │вертикально расположенного изолированного │
│ │провода или кабеля. Проведение испытания при │
│ │воздействии пламенем газовой горелки мощностью │
│ │1 кВт с предварительным смешением газов │
├────────────────────────┼────────────────────────────────────────────────┤
│МЭК 60695-11-2:2003 │ <*> │
├────────────────────────┴────────────────────────────────────────────────┤
│ <*> Соответствующий национальный стандарт отсутствует. До его│
│утверждения рекомендуется использовать перевод на русский язык данного│
│международного стандарта. Перевод данного международного стандарта│
│находится в ОАО "ВНИИКП". │
└─────────────────────────────────────────────────────────────────────────┘
БИБЛИОГРАФИЯ
МЭК 60332-1-2:2004. Испытания электрических и оптических кабелей в условиях воздействия пламени. Часть 1-2. Испытание на нераспространение горения одиночного вертикально расположенного изолированного провода или кабеля. Проведение испытания при воздействии пламенем газовой горелки мощностью 1 кВт с предварительным смешением газов (IEC 60332-1-2:2004 "Tests on electric and optical fibre cables under fire conditions - Part 1-2: Test for vertical flame propagation for a single insulated wire or cable - Procedure for 1 kW premixed flame")
МЭК 60695-2-4/0:1991 <*>. Испытания на пожарную опасность. Раздел 4/лист 0. Испытания диффузионным пламенем и пламенем, образуемым при сгорании предварительно приготовленной смеси (IEC 60695-2-4/0 "Fire hazard testing - Part 2: Test methods - Section 4/Sheet 0: Diffusion type and premixed type flame test methods").
--------------------------------
<*> Стандарт МЭК 60695 находится в процессе перенумерации своих частей и разделов. Ожидается, что стандарт МЭК 60695-2-4/0 будет иметь номер МЭК 60695-11-1.