Главная // Актуальные документы // ГОСТ Р (Государственный стандарт)СПРАВКА
Источник публикации
М.: Стандартинформ, 2011
Примечание к документу
Документ утратил силу с 01.12.2021 в связи с изданием
Приказа Росстандарта от 20.08.2021 N 739-ст. Взамен введен в действие
ГОСТ ISO 3471-2015.
Документ включен в
Перечень международных и региональных (межгосударственных) стандартов, а в случае их отсутствия - национальных (государственных) стандартов, в результате применения которых на добровольной основе обеспечивается соблюдение требований технического
регламента Таможенного союза "О безопасности машин и оборудования" (ТР ТС 010/2011) (
Решение Коллегии Евразийской экономической комиссии от 09.03.2021 N 28).
Документ включен в
Перечень стандартов, в результате применения которых на добровольной основе обеспечивается соблюдение требований технического
регламента Таможенного союза "О безопасности машин и оборудования" (ТР ТС 010/2011) и в
Перечень стандартов, содержащих правила и методы исследований (испытаний) и измерений, в том числе правила отбора образцов, необходимые для применения и исполнения требований технического
регламента Таможенного союза "О безопасности машин и оборудования" (ТР ТС 010/2011) и осуществления оценки (подтверждения) соответствия продукции (
Решение комиссии Таможенного союза от 18.10.2011 N 823).
Документ
введен в действие с 1 января 2011 года.
Название документа
"ГОСТ Р ИСО 3471-2009. Национальный стандарт Российской Федерации. Машины землеройные. Устройства защиты при опрокидывании. Технические требования и лабораторные испытания"
(утв. и введен в действие Приказом Ростехрегулирования от 03.12.2009 N 550-ст)
"ГОСТ Р ИСО 3471-2009. Национальный стандарт Российской Федерации. Машины землеройные. Устройства защиты при опрокидывании. Технические требования и лабораторные испытания"
(утв. и введен в действие Приказом Ростехрегулирования от 03.12.2009 N 550-ст)
Утвержден и введен в действие
Приказом Федерального
агентства по техническому
регулированию и метрологии
от 3 декабря 2009 г. N 550-ст
НАЦИОНАЛЬНЫЙ СТАНДАРТ РОССИЙСКОЙ ФЕДЕРАЦИИ
МАШИНЫ ЗЕМЛЕРОЙНЫЕ
УСТРОЙСТВА ЗАЩИТЫ ПРИ ОПРОКИДЫВАНИИ
ТЕХНИЧЕСКИЕ ТРЕБОВАНИЯ И ЛАБОРАТОРНЫЕ ИСПЫТАНИЯ
Earth-moving machinery. Roll-over protective structures.
Technical requirements and laboratory tests
ISO 3471:2008
Earth-moving machinery - Roll-over protective structures -
Laboratory tests and performance requirements
(IDT)
ГОСТ Р ИСО 3471-2009
Дата введения
1 января 2011 года
Цели и принципы стандартизации в Российской Федерации установлены Федеральным
законом от 27 декабря 2002 г. N 184-ФЗ "О техническом регулировании", а правила применения национальных стандартов Российской Федерации -
ГОСТ Р 1.0-2004 "Стандартизация в Российской Федерации. Основные положения".
1. Подготовлен Открытым акционерным обществом "Центральный научно-испытательный полигон строительных и дорожных машин" (ОАО "ЦНИП СДМ") на основе собственного аутентичного перевода на русский язык стандарта, указанного в пункте 4.
2. Внесен Техническим комитетом по стандартизации ТК 267 "Строительно-дорожные машины и оборудование".
3. Утвержден и введен в действие Приказом Федерального агентства по техническому регулированию и метрологии от 3 декабря 2009 г. N 550-ст.
4. Настоящий стандарт идентичен международному стандарту ИСО 3471:2008 "Машины землеройные. Устройства защиты при опрокидывании. Технические требования и лабораторные испытания" (ISO 3471:2008 "Earth-moving machinery - Roll-over protection structure - Laboratory tests and performance requirements").
При применении настоящего стандарта рекомендуется использовать вместо ссылочных международных стандартов соответствующие им национальные стандарты Российской Федерации, сведения о которых приведены в дополнительном
Приложении ДА.
Информация об изменениях к настоящему стандарту публикуется в ежегодно издаваемом информационном указателе "Национальные стандарты", а текст изменений и поправок - в ежемесячно издаваемых информационных указателях "Национальные стандарты". В случае пересмотра или отмены настоящего стандарта соответствующее уведомление будет опубликовано в ежемесячно издаваемом информационном указателе "Национальные стандарты". Соответствующая информация, уведомление и тексты размещаются также в информационной системе общего пользования - на официальном сайте Федерального агентства по техническому регулированию и метрологии в сети Интернет.
При разработке настоящего стандарта первоначально был выполнен анализ требований, предъявляемых к устройствам защиты от опрокидывания (ROPS) для машин среднего класса. После того как критерии ROPS были определены, машины малого и большого классов вошли в общий типоразмерный ряд землеройно-транспортных машин.
Эти критерии носят линейный и экспоненциальный характер в зависимости от массы. Для машин малого класса экспоненциальный характер изменяется на линейный в зависимости от массы машины. Для машин большого класса экспоненциальный характер применим только к машинам очень большой массы и превращается в линейную функцию по мере уменьшения массы.
В качестве нового критерия была внесена продольная сила. Ситуация складывается таким образом, что к конструкции ROPS могут быть предъявлены требования к боковой и вертикальной нагрузкам, но должны быть определены приемлемые требования и к продольной нагрузке. В этой связи критерий продольной силы устанавливает ее значение, равное 80% боковой силы.
Подобный подход не дает полную информацию о деформации конструкции, подобную той, какая будет иметь место при реальном опрокидывании. Однако данные, получаемые при исследовании ROPS по такой методике, могут быть представлены в виде функции параметров опрокидывания, так же, как и при аналитических расчетах, в основе которых лежит вариант совместимости ROPS с рамой машины.
Настоящий стандарт устанавливает точные требования к металлическим устройствам защиты от опрокидывания (ROPS), а также последовательные и воспроизводимые методики оценки соответствия этим требованиям в лабораториях, проводящих испытания с использованием статического нагружения представительного образца.
Примечание 1. Устройства могут также обладать свойствами FOPS (устройства защиты от падающих предметов).
Стандарт применим к ROPS, устанавливаемым на следующих мобильных машинах, управляемых оператором в положении сидя, как это определено в ИСО 6165, и имеющих массу 700 кг и более:
- бульдозер;
- фронтальный погрузчик;
- экскаватор-погрузчик;
- карьерный самосвал;
- трубоукладчик;
- тракторный блок (одноосный тягач) комбинированной машины (например, скрепер, землевоз с шарнирно-сочлененной рамой);
- грейдер;
- уплотнитель мусора;
- каток;
- траншейный экскаватор.
Стандарт не распространяется на сиденья тренажеров или дополнительные сиденья оператора, установленные на машине.
Примечание 2. Ожидается, что для сидящего оператора с ремнем безопасности защита от опрокидывания будет обеспечена при условии движения вперед с начальной скоростью 0 - 16 км/ч по твердой глинистой поверхности с максимальным уклоном 30° в направлении движения и при повороте на 360° относительно продольной оси машины и без потери сцепления на уклоне.
Примечание 3. Настоящий стандарт может быть использован как руководство при производстве устройств защиты от опрокидывания, если будет решено обеспечить такую защиту для тех или иных машин специального назначения.
В настоящем стандарте использованы нормативные ссылки на следующие стандарты:
ИСО 148-1:2006. Материалы металлические. Испытание на удар по Шарпи на маятниковом копре. Часть 1. Метод испытания (ISO 148-1:2006 Metallic materials. Charpy pendulum impact test. Part 1. Test method)
ИСО 898-1:1999. Механические свойства крепежных изделий из углеродистой и легированной стали. Часть 1. Болты, винты и шпильки (ISO 898-1:1999 Mechanical properties of facteners made of carbon steel and alloy steel. Part 1. Bolts, screws and studs)
ИСО 898-2:1992. Механические свойства крепежных изделий. Часть 2. Гайки с установленными значениями контрольной нагрузки. Крупная резьба (ISO 898-2:1992 Mechanical properties of fasteners. Part 2. Nuts with specified proof load values. Coarse thread)
ИСО 3164:1995. Машины землеройные. Лабораторные испытания по оценке устройств защиты. Требования к пространству, ограничивающему деформацию (ISO 3164:1995 Earth-moving machinery. Laboratory evaluations of protective structures. Specifications for deflection-limiting volume)
ИСО 5353:1995. Машины землеройные, тракторы и машины для сельского и лесного хозяйства. Контрольная точка сиденья (ISO 5353:1995 Earth-moving machinery, and tractors and machinery for agriculture and forestry - Seat index point)
ИСО 6165:2006. Машины землеройные. Основные типы. Идентификация, термины и определения (ISO 6165:2006 Earth-moving machinery. Basic types. Vocabulary)
ИСО 9248:1992. Машины землеройные. Единицы измерения размеров, эксплуатационных показателей производительности и допуски на измерения (ISO 9248:1992 Earth-moving machinery; units for dimensions, performance and capacities, and their measurement accuracies).
В настоящем стандарте применены следующие термины с соответствующими определениями:
3.1. Опорная плита (стенд) (bedplate): основной несущий элемент, на котором закрепляется рама машины с целью проведения испытаний.
3.2. Граничная плоскость (BP) (boundary plane): плоскость, определяющая вертикальную проекцию спины, бока, колен оператора на DLV.
Примечание. Граничные плоскости используются при определении точки приложения нагрузки.
3.3. Объем ограничения деформации (DLV) (deflection-limiting volume): фигура с прямоугольными очертаниями, по размерам приблизительно соответствующая антропометрическим данным оператора (мужчина высокого роста в положении сидя, в обычной одежде и защитном шлеме) и определяющая предельно допустимую деформацию.
Примечание. См. ИСО 3164.
3.4. Деформация ROPS (deflection of ROPS): перемещение ROPS, монтажной системы и секции рамы, измеренное в точке приложения нагрузки (LAP) и исключающее эффект любого перемещения средств измерения.
3.5. Устройство защиты от падающих объектов (FOPS) (falling-object protective structure): система конструктивных элементов, расположенных таким образом, чтобы обеспечить защиту оператора от падающих предметов (например, деревьев, кусков скальной породы, небольших бетонных блоков, инструмента).
3.6. Верхняя часть DLV (head portion of DLV): верхняя часть прямоугольной секции DLV, в пределах от 270 до 330 мм, размеры которой определяются в соответствии с ИСО 3164.
3.7. Боковая имитируемая наземная плоскость LSGP (lateral simulated ground plane): плоскость, повернутая на угол 15° в сторону удаления от DLV, на которую ложится бок машины.
Примечание. Образуется при повороте вертикальной плоскости, параллельной продольной осевой линии машины, относительно горизонтальной линии, проходящей через наиболее удаленную точку верхнего элемента ROPS, к которому приложена боковая нагрузка (см.
рисунок 6). LSGP определяется для ненагруженного ROPS и перемещается вместе с элементом, к которому приложена нагрузка, до угла 15° относительно вертикали.
3.8. Устройство распределения нагрузки LDD (load distribution device): устройство, используемое для предотвращения местного проникновения элементов ROPS в точке приложения нагрузки (LAP).
3.9. Точка приложения нагрузки LAP (load application point): точка (или точка в определенном диапазоне) на структуре ROPS, к которой прикладывается сила (F) испытательной нагрузки.
3.10. Рама машины (machine frame): основное металлическое шасси или главные несущие нагрузку элементы машины, которые выходят за пределы ее основной части и на которые непосредственно монтируется ROPS.
3.11. Монтажные элементы (mounting system): все кронштейны, сварные узлы, соединения и другие устройства, которые обеспечивают крепеж ROPS к раме машины.
3.12. Образец для испытаний (representative specimen): ROPS, монтажные узлы и рама машины (полностью или частично), используемые для испытаний, материалы для которых могут выбираться в соответствии со спецификацией изготовителя продукции.
3.13. Устройство защиты от опрокидывания ROPS (roll over protective structure): система конструктивных элементов, предназначенная для уменьшения риска нанесения повреждений оператору в случае опрокидывания управляемой им машины при условии применения ремней безопасности.
Примечание 2. По возможности включая такие элементы, как подрамник, кронштейн, опора, болт, шпилька, подвеска или амортизатор.
Примечание 3. Ненагруженные элементы (стойки) во внимание не принимают.
3.13.1. Трубчатый каркас (rollbar ROPS): ROPS, имеющее одну или две стойки, каркасные или собранные из отдельных деталей и не имеющие консольных конструктивных элементов.
3.13.2. Одностоечное ROPS (двухстоечное) ROPS [one-post (two-post) ROPS]: ROPS, имеющее одну или две стойки, каркасные или собранные из отдельных деталей и один или два консольных воспринимающих нагрузку конструктивных элемента.
3.13.3. Многостоечное ROPS (multiple-post ROPS): ROPS, имеющее более двух стоек, каркасных или собранных из отдельных деталей, соединенных конструктивными элементами, воспринимающими нагрузку.
Примечание. Оно может содержать нагруженные консольные конструктивные элементы.
3.14. Конструктивный элемент ROPS (ROPS structural member): элемент, выполненный из металла, воспринимающий нагрузку или поглощающий энергию.
3.15. Имитируемая наземная плоскость SGP (simulated ground plane): плоскость, имитирующая плоскую поверхность грунта, на которую ложится машина после опрокидывания.
3.16. Соединительная муфта S (Socket S): элемент, воспринимающий сосредоточенную нагрузку устройства распределения нагрузки (LDD).
3.17. Вертикальная проекция DLV (vertical projection of DLV): вид сверху на поперечное сечение стоек, образующих внешние углы DLV с размерами в соответствии с ИСО 3164, за исключением секции для ног.
3.18. Вертикальная имитируемая наземная плоскость VSGR (vertical simulated ground plane): плоскость, определяемая контактом с верхней частью поперечины ROPS и той передней или задней частью машины, которая обеспечивает опору для перевернутой машины.
Примечание. VSGR применяется для трубчатого каркаса ROPS как с одной, так и с двумя стойками ROPS. VSGR может изменяться при деформации ROPS.
В настоящем стандарте применены следующие условные обозначения:
U - энергия, поглощаемая конструкцией, зависящая от рекомендуемой изготовителем максимальной массы и выраженная в джоулях;
F - усилие нагрузки, выраженное в ньютонах;
m - рекомендуемая изготовителем максимальная масса машины, выраженная в кг.
Максимальная масса, рекомендуемая изготовителем, включает в себя массу машины в рабочем состоянии, с заправкой всех емкостей, с учетом массы рабочего оборудования, инструмента и ROPS. Прицепное оборудование, например катки и прицепные скреперы, не учитывается.
Для скрепера с трактором и землевоза с шарнирно-сочлененной рамой рекомендуется учитывать только максимальную массу тракторного блока (ведущий движитель). В большинстве случаев это тракторный блок, но может быть и секция, содержащая ROPS, или передвижная секция с ROPS машины. Поворотные шкворни, сцепки и компоненты управления, используемые для буксировки, не входят в массу машины.
Для самосвалов с жесткой рамой из максимальной массы машины исключается масса кузова и масса полезной нагрузки, если выбран критерий "исключая массу кузова". Когда выбран критерий "включая массу кузова", максимальная масса машины включает массу кузова, но исключает массу полезной нагрузки.
Для катков и уплотняющих машин масса материала, который прилипает в процессе уплотнения, исключается из максимальной массы машины.
Примечание. Грунт, ветки, строительный мусор и т.д., которые часто прилипают или лежат на машине, не являются составной частью машины. Этот материал должен быть отодвинут, вывезен, вынесен любым способом, поскольку в соответствии с техническими требованиями он не может быть включен в массу машины.
L - длина ROPS, мм.
L не применяется к трубчатому каркасу.
Для одно- или двухстоечных ROPS с консольно нагружаемыми конструктивными элементами L является продольным расстоянием от наружной поверхности ROPS до наружной поверхности самого удаленного нагруженного элемента верхней части ROPS (см.
рисунки 1,
4 и
5). Это не относится к конструктивным элементам ROPS, закрывающим полностью вертикальную проекцию DLV.
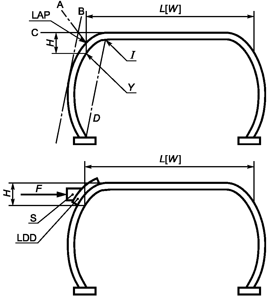
Обозначения
BP - граничные плоскости DLV;
E - осевая линия верхнего конструктивного элемента ROPS;
F - сила нагрузки;
H - толщина верхнего конструктивного элемента;
L - длина ROPS;
LAP - точка приложения нагрузки;
LDD - устройство распределения нагрузки;
S - соединительная муфта;
W - ширина.
Примечание. LDD может выходить за пределы H.
Рисунок 1. Пример с точкой бокового приложения
нагрузки (LAP) двухстоечного ROPS
Для составных опор ROPS L - наибольшее продольное расстояние между наружными сторонами передней и задней стоек (см.
рисунок 2).
Обозначения
BP - граничные плоскости DLV;
E - горизонтальная осевая линия верхнего конструктивного элемента;
F - сила нагрузки;
L [W] - длина [ширина] ROPS;
LDD - устройство распределения нагрузки;
S - соединительная муфта.
Примечание. Компоненты LAP и LDD представлены на
рисунке 1. Две соединительные муфты на этом рисунке показывают, что для одновременного приложения силы может быть использовано более одной из них.
Рисунок 2. Пример места приложения нагрузки (LAP)
для четырехстоечного ROPS
Для конструктивных элементов специальной формы L - проекция линий на вертикальную плоскость, образующуюся при пересечении внешней поверхности конструктивных элементов горизонтальную плоскость на расстоянии H (см.
рисунок 3).
Обозначения
A - биссектриса угла, образованного двумя касательными линиями (B и C);
B - касательная линия, параллельная D, на наружной поверхности искривленного элемента ROPS;
C - касательная к поверхности верхнего конструктивного элемента ROPS;
D - прямая, соединяющая концы искривленного элемента с сопряженными элементами;
F - сила нагрузки;
H - высота зоны приложения нагрузки;
I - пересечение искривленной поверхности с плоской поверхностью;
LDD - устройство распределения нагрузки;
L [W] - длина (ширина) ROPS для фиксирования LAP;
LAP - точка приложения нагрузки;
S - соединительная муфта;
Y - пересечение вертикальной линии LAP с внутренней поверхностью вертикального элемента.
Примечание 1. Угол между A и B равен углу между A и C.
Примечание 2. Детали LAP и LDD (см.
рисунок 1).
Примечание 3. Высота H для искривленных элементов определена в
6.4.3.
Рисунок 3. Примеры ROPS с искривленными
и лучевыми элементами
Для конструктивных элементов изогнутой формы L определяется при пересечении плоскости A с внешней поверхностью вертикального элемента. Плоскость A определяется биссектрисой угла, образованного при пересечении плоскостей B и C. B является касательной к внешней поверхности, параллельной плоскости D. Плоскость D является плоскостью, разрезающей пересекающиеся изогнутые элементы ROPS со смежными элементами. Плоскость C является плоскостью, на которую проецируется поверхность верхнего конструктивного элемента ROPS (см.
рисунок 3).
W - ширина ROPS, мм.
Для трубчатого каркаса ROPS W является шириной между наружными сторонами конструктивных элементов.
Для одно- или двухстоечных ROPS с консольными нагруженными конструктивными элементами ширина W является той их частью (см.
рисунки 1,
4 и
5), которая накрывает по меньшей мере вертикально проецируемую ширину DLV и измеряется в верхней части ROPS поверхности наружных конструктивных элементов.
Обозначения
BP - граничные плоскости DLV;
E - осевая линия в вертикальной плоскости верхнего конструктивного элемента ROPS;
F - сила нагрузки;
L - длина ROPS;
LDD - устройство распределения нагрузки;
S - соединительная муфта;
W - ширина ROPS.
Примечание. Детали LAP и LDD (см.
рисунок 1).
Рисунок 4. Пример одностоечного ROPS
Обозначения
BP - граничные плоскости DLV;
E - осевая линия в вертикальной плоскости верхнего конструктивного элемента ROPS;
F - сила нагрузки;
LDD - устройство распределения нагрузки;
PLC - линия, параллельная продольной осевой линии машины;
S - соединительная муфта;
W - ширина ROPS.
Примечание 1. Устройство распределения нагрузки (LDD) предотвращает местное проникновение элементов ROPS в точке приложения нагрузки (LAP). Соединительная муфта (S) обеспечивает приложение нагрузки в заданной точке. Для примера см. детали LAP и LDD на
рисунке 1.
Примечание 2. Типовой, но не обязательный план, применимый к любому ROPS.
Рисунок 5. Продольная сила
Обозначения
a - элемент верхней рамы, к которому прикладывается боковая нагрузка;
b - самая дальняя точка на конце элемента a верхней рамы;
c - вертикальная линия, проходящая через точку b;
d - вертикальная плоскость, параллельная осевой линии машины, проходящая через линию c;
LSGP - боковая имитируемая наземная плоскость;
DLV - объем ограничения деформации.
Рисунок 6. Определение боковой имитируемой плоскости грунта
Для других ROPS ширина W является наибольшей общей шириной между наружными сторонами левой и правой стоек, измеренной в верхней части ROPS от наружных сторон нагруженных конструктивных элементов (см.
рисунок 3).
Для ROPS с лучевыми конструктивными элементами W определяется проекцией H на вертикальную плоскость поверхности наружных конструктивных элементов.
Для ROPS с изогнутыми конструктивными элементами W определяется пересечением плоскости A с наружной поверхностью вертикального элемента. Поверхность плоскости A определяется биссектрисой угла, образованного пересечением плоскостей B и C. B образует касательную линию на наружной поверхности, параллельную плоскости D. Плоскость D является плоскостью, рассекающей изогнутые элементы ROPS в месте их стыковки со смежными элементами. Плоскость C является плоскостью, накрывающей поверхность верхнего конструктивного элемента ROPS (см.
рисунок 3).

- отклонение ROPS, мм.
H - высота зоны приложения нагрузки, мм.
Для прямого элемента H - расстояние от верха до низа элемента (см.
рисунок 1).
Для изогнутого элемента H - расстояние по вертикали от верха элемента на вертикальной плоскости до точки L, где она пересекается с внутренней поверхностью элемента в точке Y (см.
рисунок 3).
Для лучевого конструктивного элемента H - три ширины по вертикали верхнего элемента (см.
рисунок 3).
5. Оборудование и методы испытаний
5.1. Общие требования
Требования определяют устойчивость к воздействию силы в боковом, вертикальном и продольном направлениях и энергию, поглощаемую в боковом направлении. Имеются ограничения на величину отклонения при боковой, вертикальной и продольной нагрузке.
5.2. Средства измерений
Системы, используемые для измерения массы, силы и отклонения, должны соответствовать ИСО 9248, за исключением того, что погрешность измерения силы и отклонения должна быть в пределах +/- 5% их максимальных значений.
5.3. Испытательное оборудование
Приспособления должны обеспечивать надежное крепление представительного образца к платформе стенда и реализовать требуемую боковую, вертикальную и продольную нагрузку в соответствии с требованиями таблицы 1.
Таблица 1
Зависимости для усилия и энергии
┌───────────────────┬──────────────────┬──────────────────┬────────────┬──────────────────┐
│Масса машины m, кг │ Усилие │ Энергия │ Усилие при │ Усилие │
│ │ при боковом │ при боковом │вертикальном│ при продольном │
│ │ нагружении F, Н │ нагружении U, Дж │ нагружении │ нагружении F, Н │
│ │ │ │ F, Н │ │
├───────────────────┴──────────────────┴──────────────────┴────────────┴──────────────────┤
│1) Гусеничные землеройно-транспортные машины: бульдозер, погрузчик, │
│трубоукладчик и траншейный экскаватор │
├───────────────────┬──────────────────┬──────────────────┬────────────┬──────────────────┤
│ │ │ 1,25│ │ │
│ 700 < m <= 4630 │ 6m │13000(m/10000) │ 19,61m │ 4,8m │
│ │ 1,2 │ 1,25│ │ 1,2 │
│ 4630 < m <= 59500 │70000(m/10000) │13000(m/10000) │ │56000(m/10000) │
│ m > 59500 │ 10m │ 2,03m │ │ 8m │
├───────────────────┴──────────────────┴──────────────────┴────────────┴──────────────────┤
│2) Грейдер │
├───────────────────┬──────────────────┬──────────────────┬────────────┬──────────────────┤
│ │ │ 1,25│ │ │
│ 700 < m <= 2140 │ 6m │15000(m/10000) │ 19,61m │ 4,8m │
│ │ 1,1 │ 1,25│ │ 1,1 │
│ 2140 < m <= 38010 │70000(m/10000) │15000(m/10000) │ │56000(m/10000) │
│ m > 38010 │ 8m │ 2,09m │ │ 6,4m │
├───────────────────┴──────────────────┴──────────────────┴────────────┴──────────────────┤
│3) Колесные землеройно-транспортные машины: погрузчик, бульдозер, │
│уплотняющая машина, погрузчик с бортовым поворотом, │
│экскаватор-погрузчик и траншейный экскаватор │
├───────────────────┬──────────────────┬──────────────────┬────────────┬──────────────────┤
│ │ │ 1,25│ │ │
│ 700 < m <= 10000 │ 6m │12500(m/10000) │ 19,61m │ 4,8m │
│ │ 1,2 │ 1,25│ │ 1,2 │
│10000 < m <= 128600│60000(m/10000) │12500(m/10000) │ │48000(m/10000) │
│ m > 128600 │ 10m │ 2,37m │ │ 8m │
├───────────────────┴──────────────────┴──────────────────┴────────────┴──────────────────┤
│4) Одноосные тягачи: скрепер, землевозы с шарнирно-сочлененной рамой │
├───────────────────┬──────────────────┬──────────────────┬────────────┬──────────────────┤
│ │ │ 1,25│ │ │
│ 700 < m <= 1010 │ 6m │20000(m/10000) │ 19,61m │ 4,8m │
│ │ 1,2 │ 1,25│ │ 1,2 │
│ 1010 < m <= 32160 │95000(m/10000) │20000(m/10000) │ │76000(m/10000) │
│ m > 32160 │ 12m │ 2,68m │ │ 9,6m │
├───────────────────┴──────────────────┴──────────────────┴────────────┴──────────────────┤
├───────────────────┬──────────────────┬──────────────────┬────────────┬──────────────────┤
│ │ │ 1,25 │ │ │
│ 700 < m <= 10000 │ 5m │9500(m/10000) │ 19,61m │ 4m │
│ │ 1,2 │ 1,25 │ │ 1,2 │
│10000 < m <= 53780 │50000(m/10000) │9500(m/10000) │ │40000(m/10000) │
│ m > 53780 │ 7m │ 1,45m │ │ 5,6m │
├───────────────────┴──────────────────┴──────────────────┴────────────┴──────────────────┤
│6) Самосвалы с жесткой рамой, исключая кузов
<b> │
├───────────────────┬──────────────────┬──────────────────┬────────────┬──────────────────┤
│ │ │ 1,25│ │ │
│ 700 < m <= 1750 │ 6m │15000(m/10000) │ 19,61m │ 4,8m │
│ │ 1,2 │ 1,25│ │ 1,2 │
│ 1750 < m <= 22540 │85000(m/10000) │15000(m/10000) │ │68000(m/10000) │
│22540 < m <= 58960 │ 10m │ 1,84m │ │ 8m │
│ │ 0,2 │ 0,32 │ │ 0,2│
│58960 < m <= 111660│413500(m/10000) │6145(m/10000) │ │330800(m/10000) │
│ m > 111660 │ 6m │ 1,19m │ │ 4,8m │
├───────────────────┴──────────────────┴──────────────────┴────────────┴──────────────────┤
│7) Самосвалы с жесткой рамой, включая кузов
<c> │
├───────────────────┬──────────────────┬──────────────────┬────────────┬──────────────────┤
│ │ │ 1,25 │ │ │
│ 700 < m <= 10000 │ 6m │6000(m/10000) │ 19,61m │ 4,8m │
│ │ 1,2 │ 1,25 │ │ 1,2 │
│10000 < m <= 21610 │60000(m/10000) │6000(m/10000) │ │48000(m/10000) │
│21610 < m <= 93900 │ 7m │ 0,73m │ │ 5,6m │
│ │ 0,2│ 0,63│ │ 0,2│
│93900 < m <= 113860│420000(m/10000) │16720(m/10000) │ │336000(m/10000) │
│ m > 113860 │ 6m │ 0,68m │ │ 4,8m │
├───────────────────┴──────────────────┴──────────────────┴────────────┴──────────────────┤
│8) Самосвалы с жесткой рамой - комбинация ROPS и кузова
<d> │
├───────────────────┬──────────────────┬──────────────────┬────────────┬──────────────────┤
│ │ │ 1,25 │ │ │
│ 700 < m <= 10000 │ 3,6m │3600(m/10000) │ 11,77m │ 2,9m │
│ │ 1,2 │ 1,25 │ │ 1,2 │
│10000 < m <= 21610 │36000(m/10000) │3600(m/10000) │ │28000(m/10000) │
│21610 < m <= 93900 │ 4,2m │ 0,44m │ │ 3,4m │
│ │ 0,2│ 0,63│ │ 0,2│
│93900 < m <= 113860│252000(m/10000) │10000(m/10000) │ │202000(m/10000) │
│ m > 113860 │ 3,6m │ 0,41m │ │ 2,9m │
├───────────────────┴──────────────────┴──────────────────┴────────────┴──────────────────┤
│ <a> В массу m не входит незакрепленный груз, который может отделиться │
│от машины во время опрокидывания. │
│ <b> Масса m включает массу машины, но без кузова или массы полезной │
│нагрузки. │
│ <c> Масса m включает массу машины и массу кузова, но без массы │
│полезной нагрузки. Те части, на которые приходится нагрузка, должны │
│полностью закрывать вертикальную проекцию DLV. Боковая и вертикальная LAP │
│должны находиться на выступающей части, которая определяется очертаниями │
│ROPS. Продольная нагрузка должна быть приложена к поверхности, которая │
│получит наибольшую деформацию в направлении оператора. │
│ <d> Масса m включает массу машины и массу кузова, но без массы │
│полезной нагрузки. Боковая, продольная и вертикальная нагрузка не должны │
│быть приложены одновременно к ROPS и/или кузову. Единственным ограничением │
│по порядку приложения к структурным элементам шести нагрузок является: │
│вертикальная после боковой и продольная после вертикальной. См. рисунки │
└─────────────────────────────────────────────────────────────────────────────────────────┘
5.4. Типичные элементы, присоединяемые к опорной раме
5.4.1. ROPS может быть смонтировано на раме машины и проверено в условиях работы этой машины. В то же время для получения результата полнокомплектная машина не обязательна. Рама машины и предназначенное для испытаний ROPS образуют единую конструкцию, включающую в себя те узлы рамы, которые воспринимают энергию опрокидывания машины. Все съемные окна, панели, двери и другие ненесущие элементы следует демонтировать, чтобы исключить их воздействие на результаты испытаний. Кабина, не интегрированная с ROPS, в стенд не включается.
Если отсутствует полнокомплектная рама машины для испытаний FOPS и ROPS, возможно использование неполной рамы. Эта неполная рама должна быть как можно более приближенной к оригиналу с точки зрения прочности и жесткости.
Для неполной рамы машины или ее точной копии требуется проверка на жесткость и прочность рамы машины, чтобы быть уверенным, что она способна воспринимать в процессе испытаний машины энергию, проходящую через ROPS без разрушения.
Объект испытаний должен быть смонтирован на стенде таким образом, чтобы жесткость конструкции была эквивалентна жесткости монтажа на комплектной раме машины.
Оценка жесткости и прочности рамы машины должна выполняться при каждом испытании, когда используется неполная рама или копия рамы. Копия этой оценки должна храниться у изготовителя.
5.4.2. Объект испытаний закрепляется на стенде таким образом, чтобы элементы крепления системы к стенду подверглись минимальной деформации в процессе испытаний. Объект испытаний не должен иметь дополнительной опоры на стенде, кроме предусмотренной первоначальным креплением. Монтажные приспособления не должны препятствовать деформации рамы машины в зоне, где смонтировано ROPS. Это делается для того, чтобы энергия воспринималась только объектом испытаний, а не монтажными приспособлениями.
5.4.3. В процессе испытаний любые элементы подвески ходовой части должны быть заблокированы, чтобы исключить их воздействие на деформацию объекта испытаний при нагружении. Элементы крепления ROPS к раме машины и линия приложения нагрузки должны быть в определенном положении и функционировать с момента начала испытаний.
5.4.4. Крепеж опорной плиты и рамы машины должен быть непосредственно на или рядом с опорами переднего и заднего мостов.
Для шарнирно-сочлененных машин, если при испытаниях используют обе полурамы, шарнир следует заблокировать так, чтобы они располагались по прямой линии.
Если при испытаниях используют только ту полураму, к которой крепится ROPS, то крепления располагают на месте сочленения или вблизи него и опоры оси или крайнем конце рамы.
Для одноосных тягачей опора располагается на ведущем мосту.
Гусеничные машины должны закрепляться на стенде через корпуса бортовых передач и/или рамы гусеничных тележек.
Примеры приведены на рисунках 7 -
13.
<a> Контакт со стендом отсутствует.
Примечание. Типовое, но необязательное расположение.
Рисунок 7. Крепление тракторной
секции (ведущей секции) на стенде
<a> Рама не имеет контакта со стендом.
Примечание. Типовое, но необязательное расположение.
Рисунок 8. Крепление гусеничного бульдозера
Обозначения
A - любое сочленение заблокировано;
AC - осевая линия.
<a> Рама не имеет контакта со стендом.
Примечание. Типовое, но необязательное расположение.
Рисунок 9. Крепление автогрейдера
с шарнирно-сочлененной рамой (рама в сборе)
Обозначения
AC - осевая линия.
Примечание. Типовое, но необязательное расположение.
Рисунок 10. Крепление на стенде
шарнирно-сочлененной полурамы
Обозначения
LA - стрела погрузчика
<a> Рама не имеет контакта со стендом.
Примечание. Типовое, но необязательное расположение.
Рисунок 11. Крепление погрузчика с бортовым поворотом
<a> Рама не имеет контакта со стендом.
Примечание. Типовое, но необязательное расположение.
Рисунок 12. Крепление рамы землевоза, исключая кузов
Обозначения
BP - граничные плоскости DLV;
F - сила нагрузки;

- вертикальная сила нагрузки, равномерно распределенная поперек LDD;
LAP - точка приложения нагрузки;
W - ширина ROPS.
Примечание. Типовое, но необязательное расположение.
Рисунок 13. Нагружение жесткой рамы землевоза,
включая кузов
6. Методика нагружения при испытаниях
6.1. Общие требования
6.1.1. Все точки приложения нагрузки должны быть определены и промаркированы на конструкции перед приложением нагрузки.
6.1.2. Нагрузки должны быть определены в соответствии с
таблицей 1 и нагружение должно быть проведено в такой последовательности: боковое, вертикальное и продольное.
6.1.3. Не допускается приведение в порядок или ремонт между нагружениями.
6.1.4. Нагрузка должна прикладываться через S и LDD. Гнездо должно обеспечить неограниченное движение ROPS в процессе нагружения. LDD используется для защиты местного проникновения конструктивных элементов ROPS. S и LDD не должны мешать вращению ROPS.
6.1.5. LDD не должно контактировать со структурными элементами на расстоянии H.
6.2.1. LDD должно охватывать L в местах, где отсутствуют задние пересекающиеся элементы, что позволяет рассредоточить нагрузку без изгиба. В других случаях, длина устройства распределения нагрузки не должна превышать 80% длины L. На
рисунке 3 показана длина L для искривленной поверхности.
6.2.2. Для трубчатых ROPS LAP должна находиться на поверхности верхней боковой поперечной балки.
6.2.3. Для одно- или двухстоечных ROPS LAP следует располагать по длине L и ограничивать вертикальной проекцией ближайшей стороны или кромки DLV. LAP не должна располагаться в пределах длины L/3, измеренной от задней наружной плоскости ROPS. Если точка располагается на расстоянии L/3 между задней плоскостью ROPS со стороны стойки и пересечением DLV граничной плоскостью (BP), ближайшей к плоскости с боковым конструктивным элементом, LAP должна быть отодвинута от стороны стойки до BP DLV (см.
рисунок 1).
6.2.4. Для ROPS, имеющего более двух стоек, LAP должна быть размещена между вертикальными проекциями передней и задней BP DLV (см.
рисунок 2).
6.2.5. Если сиденье оператора смещено относительно продольной оси машины, нагружение должно производиться с внешней стороны бокового конструктивного элемента, ближайшего к сиденью. Если сиденье оператора установлено на продольной оси и если структура ROPS смонтирована так, что при правостороннем и левостороннем нагружении получаются различные зависимости между усилием и деформацией, выбор стороны нагружения должен соответствовать наиболее тяжелым условиям нагружения объекта испытаний.
6.2.6. Исходное направление приложения нагрузки должно быть горизонтальным и перпендикулярным к вертикальной плоскости, проходящей через продольную ось машины. Допускается при продолжительном действии нагрузки деформации объекта испытаний изменения направления нагрузки.
6.2.7. Нагружение может считаться статическим, если деформация LAP не более 5 мм/с. Величина силы и деформации LAP должна быть записана при возрастании деформации в пределах не более 15 мм. Нагружение должно продолжаться до тех пор, пока не будет достигнут уровень силы и энергии, определяемый
таблицей 1. Методика расчета энергии U определяется кривой (см. рисунок 14). Для расчета энергии используется деформация ROPS по линии приложения силы.
Обозначения
F - сила;

- деформация;
U - энергия.
Рисунок 14. Зависимость сила-деформация
при испытаниях под нагрузкой
Деформация монтажной системы ROPS и рамы машины может быть включена в общую деформацию; однако деформация всех средств измерения должна быть исключена.
6.3. Вертикальное нагружение
6.3.1. Вертикальную нагрузку прикладывают в верхней части ROPS после прекращения бокового нагружения.
6.3.2. Для всех ROPS центр вертикальной нагрузки должен располагаться в той же вертикальной плоскости, которая перпендикулярна продольной линии симметрии ROPS, так же как и при боковой нагрузке (см.
6.2), определяемой для конструкции перед деформацией.
6.3.3. Нагружение ROPS обеспечивается посредством равномерного распределения нагрузки относительно продольной оси LDD.
Пример вертикального нагружения показан на
рисунке 15.
Обозначения
B1, B2 - устройства блокировки противолежащих ходовых рам;

- вертикальная сила, равномерно распределенная поперек LDD;
LDD - устройство распределения нагрузки
Рисунок 15. Пример вертикального нагружения
6.3.4. Скорость нагружения должна быть такой, чтобы нагружение считалось статическим в соответствии с критериями, определенными в
6.2.7. Нагружение должно продолжаться до тех пор, пока не будет достигнуто значение силы, определяемой
таблицей 1.
Конструкция должна выдерживать эту нагрузку в течение 5 мин или до прекращения любой деформации, какой бы малой она не была.
6.4. Продольное нагружение
6.4.1. Продольное нагружение ROPS производится после вертикального нагружения.
6.4.2. Продольная нагрузка прикладывается к верхним конструктивным элементам ROPS вдоль продольной осевой линии ROPS. LAP устанавливается в месте пересечения передней и верхней плоскостей. Если поверхности изогнуты, используется место пересечения плоскостей, включающих касательные линии, которые проходят через среднюю точку дуги верхнего и фронтального конструктивных элементов (см.
рисунок 3).
6.4.3. Продольная нагрузка должна прикладываться в соответствии с
рисунками 1 -
5, предшествуя боковой нагрузке. Устройство распределения нагрузки должно работать на всю ширину, если нет задних (передних) поперечных балок, способных передавать нагрузку без прогиба. Во всех других случаях устройство не должно распределять нагрузку на длине, превышающей 80% ширины W ROPS (см.
рисунок 3).
6.4.4. Для всех машин направление нагрузки (спереди или сзади) должно быть выбрано в том месте на объекте испытаний, к которому предъявляются наиболее жесткие требования. Начальное направление нагружения должно быть горизонтальным и параллельным продольной осевой линии машины. При определении направления приложения продольной нагрузки необходимо принимать во внимание следующее:
a) устройство ROPS, расположенное над DLV, должно защитить оператора от эффекта раздавливания в процессе продольной деформации;
b) свойства машины и ее конструктивных элементов должны обеспечивать противостояние продольной деформации ROPS и ограничивать деформацию продольных компонентов при нагружении ROPS;
c) эксперимент должен обеспечить контроль возможности продольного опрокидывания или свидетельствовать о частичном повороте машины относительно продольной оси и реальном опрокидывании.
6.4.5. Диапазон деформации должен быть таким, чтобы нагружение можно было считать статическим в соответствии с критериями, которые указаны в
6.2.7. Это нагружение должно продолжаться до тех пор, пока величина нагрузки не достигнет уровня, указанного в
таблице 1.
7. Критерии температуры и материала
7.1. Основные требования к ROPS
Дополнительно к требованиям по нагружению необходимо выполнять требования к температуре элементов испытываемой конструкции и материалам, чтобы ROPS могло противостоять хрупкому разрушению. Для удовлетворения этих требований необходимо, чтобы все структурные элементы ROPS были изготовлены из материалов, имеющих механические свойства, указанные в 7.2 и
7.3. В этом случае испытания могут быть проведены при любой требуемой температуре. В любом случае прочность должна соответствовать требованиям
7.4.
7.2. Конструктивные элементы ROPS
Конструктивные элементы, за исключением тонкостенных, должны быть изготовлены из сталей, которые соответствуют или превышают ударную нагрузку по методу Шарпи в соответствии с
таблицей 2. Любой тонкостенный стальной конструктивный элемент должен отвечать требованиям
7.3. Альтернативно требования к температуре и материалам могут быть применены ко всем конструктивным элементам при температуре минус 18 °C и ниже, если по спецификации и гарантиям материалы, которые будут впоследствии изготовлены для ROPS, по прочностным характеристикам будут подобны тем, которые были применены на образце, подвергнутом испытаниям.
Таблица 2
Минимальная ударная вязкость по методу Шарпи
для образцов с V-образным надрезом
Размер образца, мм | Поглощаемая энергия |
при минус 30 °C, Дж | |
| 11 | 27,5 |
10 x 9 | 10 | 25 |
10 x 8 | 9,5 | 24 |
| 9,5 | 24 |
10 x 7 | 9 | 22,5 |
10 x 6,7 | 8,5 | 21 |
10 x 6 | 8 | 20 |
| 7,5 | 19 |
10 x 4 | 7 | 17,5 |
10 x 3,3 | 6 | 15 |
10 x 3 | 6 | 15 |
10 x 2,5 <a> | 5,5 | 14 |
<a> Предпочтительный размер образца. Размер образца должен быть не меньше, чем наибольший предпочтительный размер образца, материал которого будет разрешен к применению. <b> Значение энергии при минус 20 °C в 2,5 раза больше, чем при минус 30 °C. К другим факторам, влияющим на энергию удара, относятся, например, направление прокатки, предел текучести, структура и сварка. Это следует учитывать при выборе стали. |
Примечание. Оценка по методу Шарпи является начальным контролем качества, и указанная температура не имеет прямого отношения к условиям эксплуатации.
Могут быть использованы материалы поставщика и организации, которая сертифицировала продукцию. У поставщика или разработчика документов могут содержаться все документы на материалы, используемые для конструктивных элементов.
Образцы должны быть прямолинейными и выбраны из полосового проката, трубчатых или фасонных заготовок перед гибкой или сваркой для использования в ROPS. Образцы, вырезаемые из трубчатого или фасонного проката, должны быть взяты из середины наибольшей по размеру боковой стороны и не должны иметь сварных швов (см. ИСО 148).
Необходимо принимать во внимание следующие требования по методу Шарпи:
- для стали с толщиной листа менее или равной 2,5 мм максимальное содержание углерода должно быть 0,2%;
- для спокойных мелкозернистых сталей (fully killed, fine grained steel) с толщиной листа от 2,5 до 4,0 мм максимальное содержание углерода должно быть 0,2%.
Болты, используемые в конструкциях, должны быть с метрической резьбой класса 8.8, 9.8 или 10.9 в соответствии с ИСО 898-1 или эквивалентные. Гайки, используемые в конструкциях, должны быть с метрической резьбой класса 8 или 10 в соответствии с ИСО 898-2 или эквивалентные.
Примечание. Болты с метрической резьбой, превышающей класс 10.9 (см. ИСО 898-1) или эквивалентные им, должны проходить строгий контроль качества во избежание хрупкого или вязкого разрушения.
Должны быть выполнены следующие требования:
a) установленное значение усилия и энергии при боковом нагружении, вертикальная несущая способность и требования к усилию при продольном нагружении должны соответствовать или превышать значения, полученные при испытании отобранного образца. Зависимости для определения этих значений приведены в
таблице 1;
b) усилие и энергия при боковом нагружении не могут достигнуть своих значений одновременно. Значение одного из этих показателей может в какой-то момент времени опережать другой. Если усилие опережает энергию, усилие можно уменьшить, но затем снова увеличить до заданного значения, если энергия достигла или превысила расчетное значение;
c) во время бокового, вертикального или продольного нагружения ни один из элементов ROPS не должен проникать в DLV. Ограничения по деформациям являются обязательными;
d) за исключением ситуации, рассмотренной в f), LSGP, как это показано на
рисунке 6, не должна проникать в DLV (вертикальная стойка) в течение всего времени действия бокового усилия;
e) VSGP не должна проникать в DLV в течение всего времени действия вертикального усилия в трубчатый каркас ROPS, одно- или двухстоечное ROPS (см.
рисунок 16);
f) при боковом нагружении со стороны сиденья оператора, смонтированного вне продольной оси машины или при продольном нагружении в направлении ограждения оператора, ROPS должно отклоняться под действием прикладываемой нагрузки, при этом допускается поворот верхней части DLV на 16° вперед относительно индексированной точки сидения (SIP), как установлено в ИСО 5353, предотвращая проникновение элементов ROPS или LSGP только при боковой нагрузке. Поворот DLV вперед не должен превышать 16°, если же мешают какие-либо элементы машины или средства управления, этот угол должен быть уменьшен (см.
рисунок 17);
g) если продольную нагрузку прикладывают в направлении, противоположном указанному в
f) (например, когда ограждение оператора противоположно отклонению ROPS под действием нагрузки), поворот DLV не разрешается;
h) ROPS не должно отрываться от рамы при опрокидывании машины (имеется в виду отделение ROPS, системы его монтажных устройств или рамы машины). В случае если имеет место частичный отрыв, ROPS должно обладать способностью противодействовать полному отделению от машины при заданных силовых и энергетических уровнях.
Рисунок 16. Пример неприемлемого проникновения VSGP в DLV
Обозначения
SIP - ось, относительно которой поворачивается спинка сиденья
Рисунок 17. Допустимое вращение
верхней части DLV относительно SIP
9.1. Общая информация
Информация о ROPS, соответствующих требованиям настоящего стандарта, должна быть внесена в заводскую табличку в соответствии с 9.2 и 9.3.
9.2. Требования к заводской табличке
Табличка должна быть определенного типа и быть постоянно закреплена на конструкции ROPS.
Табличка должна быть расположена на конструкции таким образом, чтобы ее текст можно было легко читать и так, чтобы она была защищена от негативных погодных воздействий.
9.3. Содержание таблички
Табличка должна содержать следующую информацию:
a) наименование и полный адрес изготовителя ROPS, где применяется, кто является его уполномоченным представителем;
b) обозначение ROPS, если имеется
<1>;
c) обязательная маркировка, если это необходимо
<1>,
<2>;
d) обозначение серии или типа/модели машины, для которой предназначен ROPS;
e) серийный номер, если имеется
<1>;
f) год изготовления, т.е. год окончания процесса монтажа
<1>;
g) максимальная масса машины m, при которой конструкция ROPS отвечает всем техническим требованиям настоящего стандарта;
h) номер(а) стандарта(ов), техническим требованиям которого(ых) соответствует устройство;
i) прочая информация, которая может быть полезной (например, указания по монтажу, ремонту или замене информации).
--------------------------------
<1> Относится к ROPS, проданному тем производителем ROPS, который не является основным производителем.
<2> Для машин и их узлов, которые должны поставляться на рынок Европейского Экономического Сообщества, где Советом Европы (СЕ) предписано маркировать их в соответствии с Европейской Директивой (Директивами), например, касающейся машиностроения.
Результаты испытаний должны быть оформлены с использованием типового протокола, который приведен в Приложении A.
(обязательное)
ПРОТОКОЛ ИСПЫТАНИЙ ROPS
A.1. Общая часть
Образец заполнения протокола приведен ниже. Вся содержащаяся в этом приложении информация должна быть включена в протокол.
A.2. Идентификация
A.2.1. Машина
Тип:
Производитель:
Номер модели:
Серийный номер:
Номер рамы машины:
A.2.2. ROPS
Производитель:
Модель:
Серийный номер (если он есть):
Часть номера, относящаяся к раме ROPS:
Информация, представляемая изготовителем
Максимальная рекомендуемая масса: ... кг
Расположение DLV
A.4. Критерии
Сила боковой нагрузки: ... Н
Энергия боковой нагрузки: ... Дж
Сила вертикальной нагрузки: ... Н
Сила продольной нагрузки: ... Н
A.5. Результаты испытания
Следующие уровни силы и энергии были достигнуты или превышены без проникновения конструктивных элементов ROPS или SGP (где применимо) в DLV.
A.5.1. Боковая нагрузка
Максимальное усилие, которое было достигнуто или превышено при выполнении энергетических требований: ... Н
Достигнутая поглощенная энергия: ... Дж
A.5.2. Вертикальная нагрузка
Максимальное достигнутое усилие: ... Н
A.5.3. Продольная нагрузка
Максимальное достигнутое усилие: ... Н
A.5.4. Температура и материал
Испытание было проведено с ROPS и элементами рамы машины, выдержанными до температуры: ... °C
(Заполняется только в том случае, если максимальная температура была выше минус 18 °C)
Требования к прочности на удар по методу Шарпи с V-образным надрезом конструктивных металлических элементов ROPS были проверены на образцах размером ... мм x ... мм.
Поглощенная энергия составила: ... Дж
Класс прочности гайки:
Класс прочности болта:
A.5.5. Использование специальной подвески или амортизационной системы
Производитель:
Модель:
Идентификационный номер изделия:
A.5.6. Кривая зависимости сила-деформация при испытаниях под нагрузкой
Кривая зависимости сила-деформация, полученная в результате реальных испытаний, должна быть включена в протокол испытаний.
A.5.7. Фотография образца
В протокол должны быть включены фотографии образца до и после испытаний по каждому из критериев (боковая, вертикальная и продольная нагрузка).
A.6. Аттестационное заявление
Минимальные технические требования
ГОСТ Р ИСО 3471 были соблюдены при проведении данного испытания на машине с максимальной массой ... кг
Дата испытания:
Наименование и адрес места проведения испытания:
Дата подписания протокола:
(справочное)
ИЗМЕНЕНИЯ В ЧЕРТЕЖАХ, НАТУРНЫЕ ИСПЫТАНИЯ И КОРРЕКТИРОВКА
B.1. Изменения в чертежах
Все изменения в чертежах ROPS или рамы машины требуют проведения натурных испытаний до тех пор, пока не будет доказано, что:
a) все, даже небольшие, изменения в чертежах были проверены в ходе натурных испытаний и
b) изменения не оказали отрицательного влияния на эксплуатационные свойства ROPS и рамы машины.
B.2. Переделка или ремонт
Любая структура ROPS, которая получила различимую деформацию, не должна быть повторно использована.
Любые изменения или ремонт защитной конструкции не разрешаются, за исключением тех, которые узаконены изготовителем. Конструкции, которые подверглись изменению или ремонту без должного оформления, не соответствуют настоящему стандарту.
B.2. Альтернатива натурным испытаниям
Теоретический анализ свойств основной конструкторской документации ROPS не может быть альтернативой натурным испытаниям.
(справочное)
СВЕДЕНИЯ О СООТВЕТСТВИИ ССЫЛОЧНЫХ МЕЖДУНАРОДНЫХ СТАНДАРТОВ
ССЫЛОЧНЫМ НАЦИОНАЛЬНЫМ СТАНДАРТАМ РОССИЙСКОЙ ФЕДЕРАЦИИ
Таблица ДА.1
Обозначение ссылочного международного стандарта | Степень соответ- ствия | Обозначение и наименование соответствующего национального стандарта |
ИСО 148-1:2006 | - | |
ИСО 898-1:1999 | MOD | "Болты, винты и шпильки. Механические свойства и методы испытаний" |
ИСО 898-2:1992 | MOD | ИСО 898-6:1994) "Гайки. Механические свойства и методы испытаний" |
ИСО 3164:1995 | IDT | Защитные устройства. Характеристика объема ограничения деформации при лабораторных испытаниях" |
ИСО 5353:1995 | - | <*> |
ИСО 6165:2006 | - | <*> |
ИСО 9248:1992 | - | <*> |
<*> Соответствующий национальный стандарт отсутствует. До его утверждения рекомендуется использовать перевод на русский язык данного международного стандарта. Перевод данного международного стандарта находится в Федеральном информационном фонде технических регламентов и стандартов. Примечание. В настоящей таблице использованы следующие условные обозначения степени соответствия стандартов: - IDT - идентичные стандарты; - MOD - модифицированные стандарты. |
[1] ИСО 6683. Машины землеройные. Ремни безопасности и места крепления ремней безопасности. Технические требования и лабораторные испытания.