Главная // Актуальные документы // ГОСТ Р (Государственный стандарт)
СПРАВКА
Источник публикации
М.: Стандартинформ, 2011
Примечание к документу
Документ утратил силу с 1 июля 2014 года в связи с изданием Приказа Росстандарта от 17.12.2013 N 2299-ст. Взамен введен в действие ГОСТ EN 13897-2012.

Введен в действие с 1 января 2012 года.
Название документа
"ГОСТ Р ЕН 13897-2011. Национальный стандарт Российской Федерации. Материалы кровельные и гидроизоляционные гибкие битумосодержащие и полимерные (термопластичные или эластомерные). Метод определения водонепроницаемости после растяжения при пониженной температуре"
(утв. и введен в действие Приказом Росстандарта от 13.05.2011 N 73-ст)

"ГОСТ Р ЕН 13897-2011. Национальный стандарт Российской Федерации. Материалы кровельные и гидроизоляционные гибкие битумосодержащие и полимерные (термопластичные или эластомерные). Метод определения водонепроницаемости после растяжения при пониженной температуре"
(утв. и введен в действие Приказом Росстандарта от 13.05.2011 N 73-ст)


Содержание


Утвержден и введен в действие
Приказом Росстандарта
от 13 мая 2011 г. N 73-ст
НАЦИОНАЛЬНЫЙ СТАНДАРТ РОССИЙСКОЙ ФЕДЕРАЦИИ
МАТЕРИАЛЫ КРОВЕЛЬНЫЕ И ГИДРОИЗОЛЯЦИОННЫЕ
ГИБКИЕ БИТУМОСОДЕРЖАЩИЕ И ПОЛИМЕРНЫЕ
(ТЕРМОПЛАСТИЧНЫЕ ИЛИ ЭЛАСТОМЕРНЫЕ)
МЕТОД ОПРЕДЕЛЕНИЯ ВОДОНЕПРОНИЦАЕМОСТИ
ПОСЛЕ РАСТЯЖЕНИЯ ПРИ ПОНИЖЕННОЙ ТЕМПЕРАТУРЕ
Roofing and hydraulic-insulating flexible, bitumen-based
and polymeric (thermoplastic or elastomer) materials.
Method for determination of watertightness after
stretching at low temperature
EN 13897:2004
Flexible sheets for waterproofing - Bitumen, plastic
and rubber sheets for roof waterproofing - Determination
of watertightness after stretching at low temperature
(IDT)
ГОСТ Р ЕН 13897-2011
Группа Ж19
ОКС 91.100.99
Дата введения
1 января 2012 года
Предисловие
Цели и принципы стандартизации в Российской Федерации установлены Федеральным законом от 27 декабря 2002 г. N 184-ФЗ "О техническом регулировании", а правила применения национальных стандартов Российской Федерации - ГОСТ Р 1.0-2004 "Стандартизация в Российской Федерации. Основные положения".
Сведения о стандарте
1. Подготовлен Учреждением Научно-исследовательский институт строительной физики Российской академии архитектуры и строительных наук (НИИСФ РААСН) на основе аутентичного перевода указанного в пункте 4 европейского стандарта, выполненного Открытым акционерным обществом "Центр методологии нормирования и стандартизации в строительстве" (ОАО "ЦНС").
2. Внесен Техническим комитетом по стандартизации ТК 465 "Строительство".
3. Утвержден и введен в действие Приказом Федерального агентства по техническому регулированию и метрологии от 13 мая 2011 г. N 73-ст.
4. Настоящий стандарт идентичен европейскому стандарту ЕН 13897:2004 "Материалы гибкие гидроизоляционные - Материалы кровельные и гидроизоляционные битумосодержащие и полимерные (термопластичные или эластомерные) - Определение водонепроницаемости после растяжения при пониженной температуре" (EN 13897:2004 "Flexible sheets for waterproofing - Bitumen, plastic and rubber sheets for roof waterproofing - Determination of watertightness after stretching at low temperature").
При применении настоящего стандарта рекомендуется вместо ссылочного европейского стандарта использовать соответствующий ему национальный стандарт Российской Федерации, сведения о котором приведены в дополнительном Приложении ДА.
Наименование настоящего стандарта изменено относительно наименования европейского стандарта для приведения в соответствие с ГОСТ Р 1.5-2004 (пункт 3.5).
5. Введен впервые.
Информация об изменениях к настоящему стандарту публикуется в ежегодно издаваемом информационном указателе "Национальные стандарты", а текст изменений и поправок - в ежемесячно издаваемых информационных указателях "Национальные стандарты". В случае пересмотра (замены) или отмены настоящего стандарта соответствующее уведомление будет опубликовано в ежемесячно издаваемом информационном указателе "Национальные стандарты". Соответствующая информация, уведомление и тексты размещаются также в информационной системе общего пользования - на официальном сайте Федерального агентства по техническому регулированию и метрологии в сети Интернет.
Введение
Применение настоящего стандарта, устанавливающего метод определения водонепроницаемости гибких кровельных и гидроизоляционных битумосодержащих и полимерных (термопластичных или эластомерных) материалов после растяжения при пониженной температуре, позволяет получить адекватную оценку качества материалов, производимых в Российской Федерации и странах ЕС, обеспечить конкурентоспособность российской продукции на международном рынке, активизировать участие Российской Федерации в работе по международной стандартизации.
Настоящий стандарт применяют, если заключенные контракты или другие согласованные условия предусматривают применение материалов с характеристиками, гармонизированными с требованиями европейских стандартов, а также в случаях, когда это технически и экономически целесообразно.
1. Область применения
Настоящий стандарт распространяется на кровельные и гидроизоляционные гибкие битумосодержащие и полимерные (термопластичные или эластомерные) материалы (далее - материалы), предназначенные для устройства однослойной гидроизоляции с механическим креплением, и устанавливает метод определения их водонепроницаемости после растяжения при пониженной температуре.
Настоящий стандарт может применяться при испытании материалов другого назначения.
2. Нормативные ссылки
В настоящем стандарте использована ссылка на следующий европейский стандарт:
ЕН 13416:2001. Материалы гибкие гидроизоляционные - Материалы кровельные и гидроизоляционные битумосодержащие и полимерные (термопластичные или эластомерные) - Правила отбора образцов (EN 13416:2001 "Flexible sheets for waterproofing - Bitumen, plastic and rubber sheets for roof waterproofing - Rules for sampling").
3. Термины и определения
В настоящем стандарте использованы термины и определения, применяемые в стандартах на материалы конкретных видов.
4. Сущность метода
Образец растягивают при пониженной температуре до заданного относительного удлинения (в процентах). Затем образец в растянутом состоянии подвергают испытанию на водонепроницаемость при комнатной температуре с использованием вакуумной насадки и мыльного раствора.
5. Средства испытаний
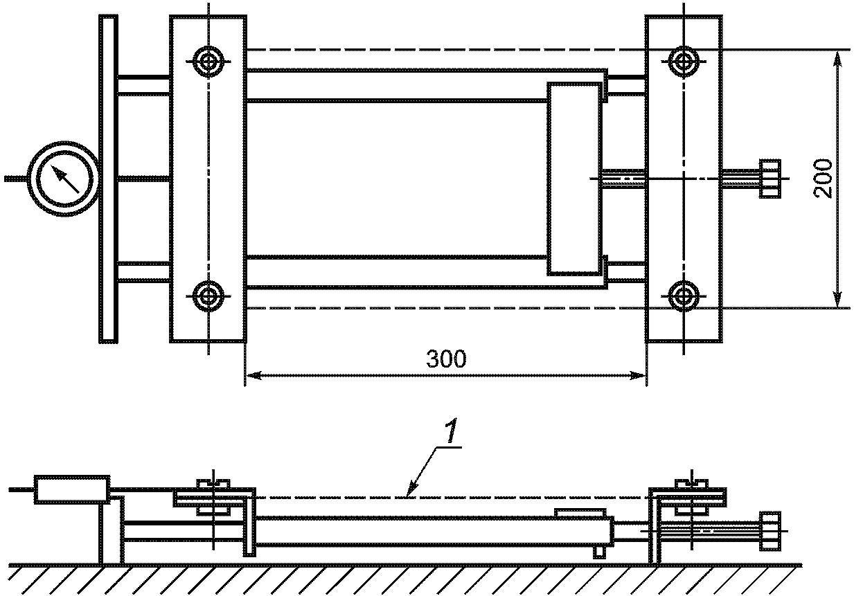
5.1. Устройство для растяжения образца
Схема устройства для растяжения образца, снабженного двумя зажимами для закрепления образца, приведена на рисунке 1. Один из зажимов может перемещаться в плоскости образца для его растяжения до заданного относительного удлинения и фиксирования образца в растянутом состоянии. Способ крепления образца в зажимах должен обеспечивать равномерное распределение силы растяжения по всей ширине образца, а также исключать его выскальзывание из зажимов при проведении испытания.
1 - образец
Рисунок 1. Устройство для растяжения образца
5.2. Индикатор растяжения с круговой шкалой
Индикатор с круговой шкалой для регистрации значения растяжения с ценой деления не более 0,1 мм.
5.3. Камера для кондиционирования
Камера с температурой минус (10 +/- 2) °C для кондиционирования устройства с растянутым образцом.
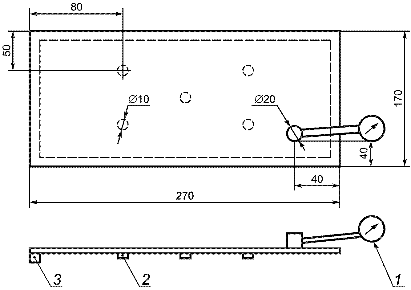
5.4. Вакуумная насадка
Вакуумная насадка для испытания на водонепроницаемость образца после его растяжения, схема которой приведена на рисунке 2, может быть изготовлена из органического стекла толщиной ~= 5 мм.
1 - манометр; 2 - опора высотой 2 - 3 мм;
3 - резиновая прокладка высотой 5 мм
Рисунок 2. Вакуумная насадка для определения
водонепроницаемости после растяжения
5.5. Вакуумный насос
Вакуумный насос, обеспечивающий создание отрицательного давления (15 +/- 3) кПа.
5.6. Манометр
Манометр, установленный на вакуумной насадке, с ценой деления не более 0,2 кПа.
6. Отбор образцов
Отбор образцов проводят в соответствии с требованиями ЕН 13416.
7. Подготовка образцов
Из полосы материала, отобранной для испытаний, вырубают два образца в продольном направлении и два образца в поперечном направлении; размер образцов ~= 200 x 420 мм.
Образцы вырубают равномерно по ширине или длине полотна материала на расстоянии не менее 100 мм от края полотна.
Перед проведением испытаний образцы выдерживают не менее 24 ч при температуре (23 +/- 2) °C и относительной влажности (50 +/- 20)%.
8. Методика проведения испытаний
Испытуемый образец в ненапряженном состоянии устанавливают в устройство для растяжения так, чтобы расстояние между зажимами по показанию индикатора было (300 +/- 2) мм.
Для облегчения закрепления образец во время установки поддерживают снизу по всей его длине с помощью металлической пластины.
Температура устройства и образца при его установке должна быть (23 +/- 2) °C.
Затем устройство для растяжения с установленным образцом помещают в камеру для кондиционирования с температурой минус (10 +/- 2) °C и выдерживают при этой температуре в течение 2 ч +/- 10 мин.
Не вынимая устройства из камеры для кондиционирования, приводят в действие подвижный зажим со скоростью перемещения (15 +/- 3) мм/мин и растягивают образец до заданного значения относительного удлинения (соотношение значений относительного удлинения и соответствующих показаний индикатора растяжения приведено в таблице 1), после чего устройство с образцом переносят в помещение с температурой воздуха (23 +/- 2) °C.
Таблица 1
┌───────────────────────┬────────────────────────┬────────────────────────┐
│ Исходное расстояние │Относительное удлинение,│ Показания индикатора │
│ между зажимами, мм │ % │ растяжения, мм │
├───────────────────────┼────────────────────────┼────────────────────────┤
│ 300 │ 1 │ 3 │
│ 300 │ 5 │ 15 │
│ 300 │ 10 │ 30 │
└───────────────────────┴────────────────────────┴────────────────────────┘
Через 5 - 10 мин образец подвергают испытанию на водонепроницаемость; для этого на верхнюю поверхность образца наносят мыльный раствор, прикладывают к ней вакуумную насадку и создают разность давлений на поверхностях образца (15 +/- 3) кПа. Если в течение 60 с на верхней поверхности образца не появятся мыльные пузыри, образец считают выдержавшим испытание на водонепроницаемость.
В случае разрыва образца вблизи зажимов растягивающего устройства результаты испытаний не учитывают и проводят повторные испытания.
9. Обработка результатов испытаний
За величину водонепроницаемости после растяжения при пониженной температуре принимают значение относительного удлинения в процентах, при котором четыре из четырех испытанных образцов остаются водонепроницаемыми.
10. Отчет об испытаниях
Отчет об испытаниях должен содержать:
a) данные, необходимые для идентификации испытуемого материала;
b) ссылку на настоящий стандарт и отклонения от его требований;
c) информацию об отборе образцов в соответствии с разделом 6;
d) информацию о подготовке образцов в соответствии с разделом 7;
e) информацию о методике проведения испытаний в соответствии с разделом 8;
f) результаты испытаний;
g) дату проведения испытаний.
Приложение ДА
(справочное)
СВЕДЕНИЯ О СООТВЕТСТВИИ ССЫЛОЧНОГО ЕВРОПЕЙСКОГО СТАНДАРТА
НАЦИОНАЛЬНОМУ СТАНДАРТУ РОССИЙСКОЙ ФЕДЕРАЦИИ
Таблица ДА.1
┌──────────────────────┬────────────┬─────────────────────────────────────┐
│Обозначение ссылочного│ Степень │ Обозначение и наименование │
│европейского стандарта│соответствия│ соответствующего национального │
│ │ │ стандарта │
├──────────────────────┼────────────┼─────────────────────────────────────┤
│ЕН 13416:2001 │ IDT │ГОСТ Р ЕН 13416-2008 "Материалы │
│ │ │кровельные и гидроизоляционные гибкие│
│ │ │битумосодержащие и полимерные │
│ │ │(термопластичные или эластомерные). │
│ │ │Правила отбора образцов" │
├──────────────────────┴────────────┴─────────────────────────────────────┤
│ Примечание. В настоящей таблице использовано следующее условное│
│обозначение степени соответствия стандартов: │
│ IDT - идентичные стандарты. │
└─────────────────────────────────────────────────────────────────────────┘